| Похожие рефераты | Скачать .docx | Скачать .pdf |
Курсовая работа: Обезвреживание и утилизация отходов в производстве пластмасс
1. Переработка отходов термопластов. Источник отходов пластмасс
Производство пластических масс является одной из наиболее быстро развивающихся областей промышленности. В связи с непрерывным возрастанием объема производства и потребления пластмасс увеличивается и количество их отходов. По источникам образования отходы можно разделить на две большие группы: отходы производства и отходы потребления.
В первую группу входят отходы, образующиеся при производстве и переработке полимеров: слитки и куски полимеров, литники, обрезки, дефектные изделия. Отходы переработки термопластов полностью используются как вторичное полимерное сырье. Образующиеся при синтезе полимеров небольшие слитки также перерабатываются во вторичные материалы; в ближайшее время намечается организовать переработку и крупногабаритных слитков.
Во вторую группу входят отходы потребления, которые в свою очередь подразделяются на технические отходы (отходы промышленного потребления) и бытовые отходы (отходы бытового потребления). К отходам технического назначения относятся детали, утратившие в процессе эксплуатации первоначальные показатели свойств: шестерни, втулки, рычаги, радиотехнические изделия, изоляция проводов, теплоизоляция, строительные погонажные изделия и т. д. Бытовые отходы представляют собой изношенные изделия, утратившие потребительские свойства: тара и упаковка, пленка, детали мебели и т. п. Иногда очень трудно установить принадлежности изношенного изделия к тому или иному виду отходов. Отходы технического назначения состоят из самых разнообразных термопластов, в бытовых отходах преобладают полиолефины (55—62%). стирольные пластики (18—28%) и поливинилхлорид (6—11%).
Использование отходов термопластов, образующихся при их переработке в изделия, не представляет особых затруднений. Другое дело переработка бытовых отходов. В этом случае трудности возникают при организации сбора и при сортировке отходов по видам пластмасс. Поэтому трудоемкость переработки бытовых отходов не всегда окупается и часто их сжигают с утилизацией тепла.
2. Технология переработки отходов
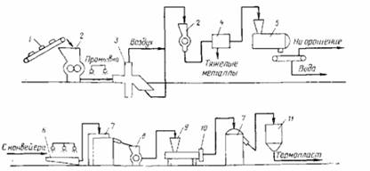
Общая технологическая схема переработки отходов.
Переработка отходов пластмасс может осуществляться различными методами. Но общая схема их переработки включает следующие операции: предварительную сортировку и очистку отходов, измельчение, отмывку и сепарацию, классификацию отходов по видам пластмасс, сушку, грануляцию, переработку гранулята в изделие.
Загрязненные отходы, которые могут содержать резину, металлы, стекло и другие материалы, с помощью конвейера / подаются на дробилку предварительного измельчения 2. Измельченные отходы промываются и пневмотранспортом направляются в воздушный разделитель 3, в котором отделяются тяжелые металлы. Далее отходы дополнительно измельчаются во второй дробилке и проходят через магнитный сепаратор 4 для удаления оставшихся металлов. Затем измельченные отходы еще раз промывают водой и сушат в центробежной сушилке 7. Высушенные отходы перемешивают в турбинной мельнице 8 для предотвращения комкования и подают в экструдер 9, в котором с помощью таблетирующего устройства 10 материал превращается в таблетки. Получение вторичных полимеров по данной схеме является трудоемким и дорогостоящим процессом, который не получил большого распространения. В основном он применяется для переработки бытовых отходов.

Общая технологическая схема переработки отходов:
Переработка отходов измельчением и экструзией.
При измельчении отходы термопластов—литники, кромки листов, отходы вакуумформовочных производств, дефектные изделия и другие поступают в дробилки, где измельчаются и крошку с размером частиц около 2 мм. Наиболее распространенным типом оборудования для дробления являются измельчители ножевого типа, в которых измельчение происходит в уз ком зазоре (0,1—0,5 мм) между неподвижными ножами, закрепленными внутри статора, и ножами, установленными на вращающемся роторе. В табл. 8.1 приведены технические характеристики некоторых типов измельчителей пластмасс.
Для дробления хрупких материалов (полистирол, многие реактопласты) эффективны измельчители, конструкция которых основана на ударном, ударно-режущем или ударно-импульсном действии. Промышленностью выпускаются универсальные дезинтеграторы-активаторы, в которых благодаря высокой скорости удара (до 310 м/с) и многорядности расположения ударных элементов достигается высокая производительность при измельчении полимеров — от 20 кг/ч до 50 т/ч.
Для измельчения вязкоупругих полимеров, таких, как поли амиды, термопластичные полиуретаны, фторопласты, и других в последнее время все большее применение находят измельчители, снабженные установками для глубокого охлаждения материала—до температур ниже температуры хрупкости измельчаемых полимеров. В качестве охлаждающего агента используется жидкий азот с температурой —196 °С, что ниже температуры хрупкости большинства полимерных материалов.
Измельчение при пониженных температурах имеет ряд преимуществ: благодаря охлаждению и инертной среде исключается термодеструкция полимера, предотвращается окисления продукта, резко возрастает степень измельчения, повышается производительность процесса и снижаются удельные энергозатраты.
Полученная на измельчителях крошка поступает на переработку в изделия, чаще всего в виде смеси со свежим материалом.

Технологическая схема переработки отходов методом экструзии:
1— измельчитель; 2 — бункер; 3 - магнитный желоб; 4- экструдер; 5 охлаждающая ванна; 6— гранулятор
Широко применяется также экструзионный метод переработки отходов. Отходы поступают в дробилку 1 из которой крошка пневмотранспортом подается в бункер-смеситель 2. Далее, пройдя магнитный желоб 3 для отделения металлических примесей, измельченный материал поступает в бункер экструдера 4. Экструдат в виде жгута или ленты после охлаждения в ванне 5 режется в грануляторе 6 на гранулы.
Установки для переработки отходов экструзионным методом, например линия ЛГВТ9Х120, имеет производительность до 200 кг/ч.
При измельчении пленочных отходов, обрезков пенопластов, имеющих низкую насыпную плотность, их предварительно уплотняют. Для этой цели применяются, например, дисковые уплотнители, представляющие собой грануляторы с фрикционными дисками, один из которых вращается, а другой установлен неподвижно. Спекание и уплотнение отходов происходят за счет теплоты трения, выделяющейся при вращении диска. После спекания полученная масса в виде жгута с потоком холодного воздуха подается в ножевую дробилку.
Для переработки отходов полиэтиленовой пленки применяется комплексная линия производительностью П5 кг/ч, в состав которой входят узлы измельчения отходов, их уплотнения и последующей грануляции.

Технологическая схема переработки от.ходон полиэтиленовой пленки; 1 — гранулятор; 2 — охлаждающая ванна, 3 - экструдер: 4 —клинкер; 5 - измельчитель отходов
Измельчение осуществляется в ножевой роторной дробилке с трехсекционным ротором, после чего измельченные отходы пневмотранспортером через дозирующий питатель подаются в уплотняющий конусно-шнековый экструдер с гранулирующей головкой и далее после охлаждения режутся на гранулы размером 3X4 мм.
Переработка отходов вальцово-каландровым методом.
Этим способом перерабатывают отходы термопластов без их предварительного разделения. Метод заключается в вальцевании и каландровании материала и получении плит и листов, которые могут быть использованы для изготовления линолеума, тары, мебели. Хорошие пластикация и гомогенизация материала обеспечивают получение изделий с достаточно высокими прочностными показателями. В качестве примера можно привести переработку отходов производства шлангов и различных прокладок (уплотнители дверей домашних холодильников и т. п.) из пластифицированного ПВХ. Образцы изделий поступают на вальцы, на которых происходит их пластикация и гомогенизация в течение 20—30 мин. При переработке нпзкопластифицированных отходов температура рабочего валка 160°С, холостого 150°С, для высокопластифицированных соответственно 120 п 115°С; коэффициент фрикции 1,25—1,30. Полученные листы поступают на изготовление плиток для пола.
Автоклавный метод переработки отходов.
Этот метод применяется для переработки изношенных изделий из полиамидов, а также путанки, лоскута и других отходов прядильного, трикотажного и швейного производств, использующих полиамидные волокна и ткани.
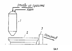
По этому методу загрязненные изделия (в основном рыболовные сети) загружают в специальную стиральную машину с объемом бака 700 л и промывают горячим растворе,м кальцинированной соды в течение 20 мин. Далее сети отмываются от щелочи горячей и холодной водой, отжимаются в центрифуге и сушатся до содержания влаги не более 3% Подготовленные таким образом изделия поступают в автоклав на переплавку. Автоклав представляет собой вертикальный цилиндрический аппарат с рубашкой для теплоносителя — смеси днфенила с дифенилоксидом, позволяющего поддерживать температуру расплава около 250 °С. Во избежание деструкции полиамида плавление проводится под азотом. Расплав полиамида собирается в коническом днище автоклава и через фильеру выпускается в охлаждающую ванну длиной 8—10 м в виде ленты. Затвердевшая лента поступает в дробилку, в которой режется на крошку 10X 5 мм.
Полученный вторичный полиамид можно перерабатывать в изделия без смешения с исходным материалом. Принципиальная схема узла плавления отходов показана на рис. 8.4.
Композиционные материалы с использованием отходов пластмасс.
Композиции на основе смесей отходов термопластов в качестве связующего и различных наполнителей (отходов деревообрабатывающей промышленности, бумажно-слоистых пластиков, стеклопластиков и др.) находят широкое применение в промышленности. Смешением отходов полистирольных пластиков с отходами деревообрабатывающей промышленности с последующим прессованием получают плиты, используемые в строительстве и в производстве деталей мебели. Кроме того, широко применяются композиции из отходов АБС-пластиков и бумажно-слоистых пластиков, которые получают путем холодного смешения компонентов в скоростных смесителях с дальнейшей экструзией. Гранулы перерабатываются литьем под давлением или прессованием в изделия неответственного назначения.
Отходы термопластов могут применяться п как модифицирующие добавки для полимеров. Например, низкомолекулярные отходы полиэтилена используются в композициях с полистирольными пластиками для повышения их эластичности. Так, при добавлении 2% отходов полиэтилена к полистиролу ударная вязкость его возрастает с 28 до 43 кДж/м2 .
Все более широкое применение находят полимерные отходы для изготовления звукоизоляционных плит и панелей, герметиков, применяемых в строительстве зданий и гидротехнических сооружений. Один из методов получения строительных плит заключается в прессовании смеси отходов и песка в соотношении 1:1. Песок просеивают, нагревают до 500°С, добавляют к смеси отходов, смешивают при 150°С в течение 25 мин и массу прессуют. По такой же технологии получают композиции отходов пластмасс с мелом, стеклянным волокном, асбестом и другими минеральными наполнителями. Полимерные отходы и наполнители подсушивают при 120°С в течение 2 ч, затем пластицируют в смесителе при 250— ЗОО^С в течение 15 мин, выгружают при 180°С в формы и прессуют.

Полученные материалы имеют хорошие прочностные показатели и обладают высокой стойкостью к истиранию, что позволяет использовать их в качестве настила для полов. Для улучшения внешнего вида в композиции добавляют на стадии смешения пигменты, например оксид железа, оксид хрома, желтый крон и др.
Строительные материалы можно получать путем смешения в расплаве отходов полиэтилена, полипропилена или с цементом с последующей разливкой массы в формы и охлаждением. Изготовленные таким образом элементы строительных конструкций имеют высокую прочность и стойкость к горению.
Композиционные материалы на основе отходов пластмасс применяются для герметизации швов между панелями зданий, для покрытия частей сооружений, работающих под водой, для получения гидроизоляционных покрытий, герметизирующих лент и т. д.
3. Утилизация и обезвреживание отходов пластмасс
В некоторых случаях отходы полимеров нельзя переработать во вторичный гранулят или композиционные материалы, что связано с высокой степенью их загрязнения. Это относится прежде всего к городскому мусору, в котором доля пластмассовых отходов (пленка, пакеты и другие виды упаковки) довольно значительна. Наиболее рациональными методами утилизации отходов в подобных случаях являются термические методы. Термической утилизации подвергаются также загрязненные бытовые отходы.
Термические методы утилизации можно разделить на две группы: термодеструкцию полимеров с получением твердых, жидких и газообразных продуктов и сжигание с утилизацией тепла.
Методом термической деструкции отходов полиэтилена низкой плотности получают воска — парафиновые углеводороды с молекулярной массой 500—8000 и температурой плавления 80—120°С. Деструкция осуществляется в термодеструкторе при температуре 500°С. Технологическая схема включает следующие стадии: дозировку отходов ПЭ в экстру-дер, плавление и подачу в термодеструктор, деструкцию отходов, охлаждение продукта в теплообменнике, отделение легколетучих побочных продуктов, фильтрование и усреднение готового продукта в расплаве и выгрузку образовавшихся восков. Изменением температуры по зонам экструдера и частоты вращения шнека можно регулировать молекулярную массу продукта.
Получаемые таким образом воска используются для пропитки бумаги, картона и тканей, для получения тонких покрытий, для заполнения форм при литье металла, в производстве печатных красок, лыжных мазей и т. п.
Пиролиз — это каталитическое термическое разложение отходов полимеров при температурах 300—800°С с получением различных углеводородов: газообразного топлива, керосина, газолина, тяжелых масел и других продуктов. Ряд полимеров (полиметилметакрилат, полистирол и др.) разлагается с высоким выходом мономера.
Полиметилметакрилат был первым полимером который впервые использовали на практике для получения мономера. Термическая деструкция отходов ПММА осуществляется при 380—400 °С с выходом мономера 95%. Технологическая схема предусматривает подачу дробленых отходов в бункер, дозировку их в обогреваемый горизонтальный реактор с червячным транспортером, в котором происходит пиролиз ПММА. Пары мономера конденсируются в холодильнике, после чего мономер направляется на очистку и ректификацию.
Пиролиз отходов полистирола проводится при 700—800°С с выходом стирола 75—85%- При низкотемпературном пиролизе (370°С) выход снижается до 62%.
Пиролиз полиолефинов при 300—360°С протекает с очень малым выходом исходных мономеров. При одном из методой пиролиза ПЭНД при 400—450С С, давлении 6,7 кПа получается смесь газолина и керосина с выходом 92%.
Сжигание как метод утилизации применяется для обработки отходов (прежде всего бытового мусора), в котором количество пластмассовых материалов (в основном полиэтилена, полипропилена, полистирола, поливинилхлорида) относительно велико. Теплотворная способность ПЭ, ПП, ПС и ПВХ оценивается следующими значениями (в кДж/кг):
Полиэтилен 46,5
Полипропилен 46,2
Полистирол 40,7
Поливинилхлорид 19,0
Сжигание осуществляется в печах котельных установок, вырабатывающих пар.
Следует отметить, что часть пластмассовых отходов никак не перерабатывается, их закапывают в землю — подвергают захоронению. Разработаны различные методы захоронения не утилизируемых отходов пластмасс — чаше всего на полигонах с расчетным сроком эксплуатации не менее 25 лет. За это время пластмассовые отходы подвергаются полному разрушению и не представляют опасности для окружающей среды.
Похожие рефераты:
Переработка одноразовых шприцов
Повышение качества полиэтиленовых газопроводных труб
Отходы производства в строительстве
Госстандарт России по электрооборудованию
Установка для переработки отходов слюдопластового производства
Обращение с отходами на ООО ПАП "Транспорт–Экспресс"
Проблемы утилизации списанных боеприпасов
Перспективы развития экологического сознания школьников при изучении темы "Полимеры" в курсе химии
Вторичная переработка пластмасс как пример безотходной технологии
Обзорная справка « Проблемы утилизации отходов »
Загрязнение окружающей среды промышленными предприятиями и защита от загрязнения
Разработка школьного элективного курса "Полимеры вокруг нас"