| Похожие рефераты | Скачать .docx |
Курсовая работа: Расчет кожухотрубного теплообменника
1. Тепловой расчет
Цель теплового расчета – определение необходимой площади теплопередающей поверхности, соответствующей при заданных температурах оптимальным гидродинамическим условиям процесса и выбор стандартизованного теплообменника [1].
Из основного уравнения теплопередачи:
, (1)
где F – площадь теплопередающей поверхности, м2 ;
Q – тепловая нагрузка аппарата, Вт;
K – коэффициент теплопередачи,
;
– средний температурный напор, К.
1.1 Определение тепловой нагрузки аппарата
В рассматриваемой задаче нагревание воды осуществляется в горизонтальном теплообменнике теплотой конденсирующего пара, поэтому тепловую нагрузку определим по формуле [6]:
, (2)
где Gхол
– массовый расход воды, кг/с,
;
Схол – средняя удельная теплоемкость воды, Дж/(кг×К);
Тк , Тн – конечная и начальная температуры воды, К;
– коэффициент, учитывающий потери теплоты в окружающую среду при нагревании,
= 1,05.
Средняя температура воды:
0
С ,
Этому значению температуры соответствует
![]()
.
Тогда
Вт,
с учетом потери
Вт.
1.2 Определение расхода пара и температуры его насыщения
Расход пара определим из уравнения:
, (3)
где D – расход пара, кг/с;
r – скрытая теплота конденсации пара, Дж/кг.
По [2, прил. LVII] при Рп = 0,3 МПа, r = 2171×103 Дж/кг, Тк = 133 0 С.
Из формулы (3) следует, что
кг/с.
1.3 Расчет температурного режима теплообменника
Цель расчета – определение средней разности температур
и средних температур теплоносителей tср1
и tср2
. Для определения среднего температурного напора составим схему движения теплоносителей.
Тн = 191,7 0 С Пар Тк = 191,7 0 С
tк = 96 0 С Вода tн = 40 0 С
0
С
0
С
Так как
, то
0
С.
Температура пара в процессе конденсации не изменяется, поэтому tср1
= Тп
= 191,7 0
С, а средняя температура воды : tср 2
= tср 1
-
tср
= 191,7-123,7=68 0
С.
1.4 Выбор теплофизических характеристик теплоносителей
Теплофизические свойства теплоносителей определяем при их средних температурах и заносим в таблицу 1.
Таблица 1 Теплофизические свойства теплоносителей

1.5 Ориентировочный расчет площади поверхности аппарата. Выбор конструкции аппарата
Ориентировочным расчетом называется расчет площади теплопередающей поверхности по ориентировочному значению коэффициента теплопередачи К, выбираемому из [1, табл. 1.3]. Принимаем К= 800 Вт/(м2 ×К), поскольку теплота передаётся от конденсирующего пара к воде, тогда ориентировочное значение площади аппарата по формуле (1)
м2
.
Так как в аппарате горячим теплоносителем является пар, то для обеспечения высокой интенсивности теплообмена со стороны воды, необходимо обеспечить турбулентный режим движения и скорость течения воды в трубках аппарата. Принимаем число Рейнольдса Re = 12000.
Для изготовления теплообменника выберем трубы стальные бесшовные диаметром 25х2 мм.
Необходимое число труб в аппарате n, обеспечивающее такую скорость, определим из уравнения:
, (4)
где n – количество труб в аппарате, шт.;
d – внутренний диаметр труб, м;
G – массовый расход воды, кг/с;
- динамическая вязкость, Па·с;
Re – число Рейнольдса.
Из формулы (4):
шт.
Такому числу труб n = 39 шт. и площади поверхности аппарата F = 18,3 м2 по [1, табл. 1.8] ГОСТ 15118-79 и ГОСТ 15122-79 наиболее полно отвечает кожухотрубчатый двухходовой теплообменник диаметром 325 мм, с числом труб 28 в одном ходе, длиной теплообменных труб 4000 мм и площадью поверхности F = 17,5 м2 .
Проверим скорость движения воды в трубах аппарата:
м/с.
Значение скорости находится в рекомендуемых пределах, поэтому выбор конструкции аппарата закончен.
1.6 Приближенный расчет коэффициентов теплоотдачи и коэффициента теплопередачи
Приближенным расчетом называется расчет коэффициентов
и К по формулам, не учитывающим влияние температуры стенки теплопередающей поверхности на интенсивность теплоотдачи [1].
Коэффициент теплоотдачи при конденсации водяного пара на пучке вертикальных труб без учета температуры стенки рассчитывается по формуле [1, с. 24]:
, (5)
где G – массовый расход конденсирующегося пара, G = 6,24·10-1 кг/с;
n – число труб в аппарате с наружным диаметром d, шт;
– теплопроводность, плотность и вязкость конденсата при температуре конденсации.
По формуле (5)
.
Режим движения воды в трубках аппарата:
– турбулентный, так как Re>104
.
Для расчета процесса теплоотдачи в закрытых каналах при турбулентном режиме движения и умеренных числах Прандтля (Рr< 80) рекомендуется уравнение [1, с. 23]:
, (6)
где
– критерий Нуссельта;
– критерий Рейнольдса;
– критерий Прандтля;
– отношение, учитывающее влияние направления теплового потока (нагревание или охлаждение) на интенсивность теплоотдачи.
Отношение
принимаем равным 1, тогда по формуле (6):
, а
.
Принимаем тепловую проводимость загрязнений со стороны греющего пара [2, табл. ХХХI]:
,
а со стороны воды [2, табл. ХХХI]:
,
,
.
Тогда

Или
,
где
– сумма термических сопротивлений всех слоев, из которых состоит стенка, включая слои загрязнений.
Так как теплообменная трубка тонкостенная (dвн
>
), то для расчета коэффициента теплопередачи применяют формулу для плоской стенки
, (7)
где
– коэффициенты теплопередачи со стороны пара и воды,
;
– сумма термических сопротивлений.
По формуле (7)
.
Расчетная площадь поверхности теплообмена по формуле (1):
м2
.
Площадь поверхности теплообмена выбранного теплообменного аппарата F=17,5 м2 , что отвечает требуемой поверхности, т.е. для выполнения уточненного расчета оставляем ранее выбранный в ориентировочном расчете аппарат.
1.7 Уточненный расчет коэффициентов теплоотдачи. Окончательный выбор теплообменного аппарата
Уточненным называется расчет коэффициентов теплоотдачи с учетом температуры стенки.
Расчет температуры стенки ведем методом последовательных приближений.
Первое приближение.
Задаемся значением температуры стенки со стороны пара, равным
= 1000
С.
Расчет коэффициента теплоотдачи при конденсации пара с учетом температуры стенки на пучке вертикальных труб будем вести по формуле [1, с. 24]:
, (8)
где
,
,
,
- плотность, теплопроводность, удельная теплота конденсации, динамическая вязкость пленки при
;
- разность температур стенки и конденсирующегося пара;
- длина труб.
Температура пленки:
0
С.
Для
= 16,5 0
С:
= 59,06·10-2
Вт/(м·К);
= 998,7 кг/м3;
= 2460,85 ·103
Дж/кг;
= 1108 ·10-6
Па·с.
По формуле (8):
Вт/(м2
·К).
Удельная тепловая нагрузка со стороны пара:
![]()
Рассчитываем температуру стенки со стороны воды [1, с.16]:
, (9)
По формуле (9):
0
С.
При этой температуре для воды [2, табл. ХXXIX]
(Рrст2 )І = 2,48.
С учетом температуры стенки
;
.
Удельная тепловая нагрузка со стороны воды:
![]()
Сравнивая (q1 )I с (q2 )I , приходим к выводу, что 91571,5>>52088, поэтому расчет температуры стенки продолжаем, задаваясь другим значением температуры стенки со стороны пара.
Второе приближение
Задаемся температурой стенки со стороны пара (tст1 )II = 105 0 С.
Температура пленки:
0
С, тогда
= 133-105 = 28 0
С
Для
= 14 0
С:
= 58,46·10-2
Вт/(м·К);
= 999,2 кг/м3;
= 2467,6 ·103
Дж/кг;
= 1186 ·10-6
Па·с.
По формуле (7):
Вт/(м2
·К).
Удельная тепловая нагрузка со стороны пара:
![]()
Рассчитываем температуру стенки со стороны воды по формуле (9):
0
С.
При этой температуре для воды [2, табл. ХXXIX]
(Рrст2 ) = 2,158.
С учетом температуры стенки:
;
.
Удельная тепловая нагрузка со стороны воды:
![]()
И во втором приближении разница между (q1 )ІІ и (q2 )II более 5%
![]()
Расчет продолжаем, определяя tст1 графически по пересечению линий q1 =f(tст1 ) и q2 =f(tст2 )
По найденному графически температуре (tст1 )ІІІ =104,15С выполняем третий, проверочный расчет.
Температура пленки:
0
С, тогда
= 133-104,5 = 28,85 0
С
Для
= 14,425 0
С:
= 58,56·10-2
Вт/(м·К);
= 999,15 кг/м3
;
= 2466·103
Дж/кг;
= 1173 ·10-6
Па·с.
По формуле (7):
Вт/(м2
·К).
Удельная тепловая нагрузка со стороны пара:
![]()
Рассчитываем температуру стенки со стороны воды по формуле (9):
0
С.
При этой температуре для воды [2, табл. ХXXIX]
(Рrст2 )= 2,1.
С учетом температуры стенки:
;
.
Удельная тепловая нагрузка со стороны воды:
![]()
Сравнивая (q1 )III с (q2 )ІІІ , приходим к выводу, что отклонение
![]()
т.е. не превышает 5%, поэтому расчет можем считать законченным.
Удельные тепловые потоки по обе стороны стенки равны (рис.2)

Рис. 2 Схема процесса теплопередачи
По формуле (7) коэффициент теплопередачи:
.
Площадь поверхности аппарата определяем по формуле (1):
м2
,
По [1, табл. 1.8] ГОСТ 15122-79 окончательно выбираем двухходовой аппарат диаметром d=325 мм, с числом труб n = 56 шт, с длиной теплообменных труб L = 4000 мм и F = 17,5 м2 .
1.8 Обозначение теплообменного аппарата
1) Диаметр кожуха D = 325 мм по [1, с. 29] ГОСТ 9617-76.
2) Тип аппарата ТНВ – теплообменник с неподвижными трубными решётками вертикальный.
3) Условное давление в трубах и кожухе – 0,3 МПа.
4) Исполнение по материалу – М1 .
5) Исполнение по температурному пределу – 0 – обыкновенное.
6) Диаметр трубы d= 25 мм.
7) Состояние поставки наружной трубы – Г – гладкая.
8) Длина труб L= 4,0 м.
9) Схема размещения труб – Ш – по вершинам равносторонних треугольников.
10) Число ходов – 2.
Группа исполнения – А.
Теплообменник
гр. А ГОСТ 15122-79.

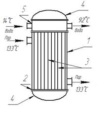
Рис. 3. Вертикальный двухходовой кожухотрубчатый теплообменник
1-кожух; 2-трубная решетка; 3-трубка, 4-крышка, 5-распределительнаякамера
2. Конструктивный расчет
Цель конструктивного расчета теплообменных аппаратов с трубчатой поверхностью теплообмена – расчет диаметров штуцеров и выбор конструкционных материалов для изготовления аппаратов, трубных решеток, способ размещения и крепления в них теплообменных трубок и трубных решеток к кожуху; конструктивной схемы поперечных перегородок и расстояния между ними; распределительных камер, крышек и днищ аппарата; фланцев, прокладок и крепежных элементов; конструкций компенсирующего устройства, воздушников, отбойных щитков, опор и т.п [1, стр.42].
2.1 Выбор конструкционных материалов для изготовления аппарата
Материал выбирают по рабочим условиям в аппарате: температуре, давлениям, химическим свойствам теплоносителей и др. При выборе материала пользуемся рекомендациями [1, табл. 2.2] и ГОСТ 15199-79, 15120-79, 15121-79, в которых указаны материалы основных деталей в зависимости от группы материального исполнения.
Группа материального исполнения – М1 . Материал: кожуха – В Ст3сп5 ГОСТ 14637-79; распределительной камеры и крышки – В Ст3сп5 ГОСТ 14637-89; трубы – сталь 10 ГОСТ 8733-87 [1, табл. 2.2].
2.2 Выбор трубных решеток, способ размещения и крепления в них теплообменных труб и трубных решеток к кожуху
Трубные решетки изготавливаются обычно цельными, вырезкой из листа. Для надежного крепления трубок в трубной решетки её толщина Sр( min ) (в мм) должна быть не менее [1, с. 45]
, (11)
где с – прибавка для стальных трубных решеток, мм, с = 5 мм;
dн – наружный диаметр теплообменных трубок, мм, dн = 25 мм.
По формуле (11):
мм.
Толщину трубной решетки выбираем в зависимости от диаметра кожуха аппарата и уловного давления в аппарате [1, табл. 2.3]:
Sр = 27 мм.
Размещение отверстий в трубных решетках, их шаг регламентируется для всех теплообменников ГОСТ 9929-82.
По [1, с. 46] определяем шаг при размещении труб по вершинам равносторонних треугольников: при dн = 25 мм, t = 32 мм; отверстия под трубы в трубных решетках и перегородках размещают в соответствии с ГОСТ 15118-79 [1, табл. 2.6].
Размещение отверстий в трубных решетках выбранного аппарата показано на рис. 3.

Рис. 4 Размещение отверстий в трубных решетках
Основные размеры для размещения отверстий под трубы 25 х 2 мм в трубных решетках выбираем по [1, табл. 2.7], диаметр предельной окружности, за которой не располагают отверстия под трубы:
D0 = 287 мм,
2R = 281 мм,
Число отверстий под трубы в трубных решетках и перегородках по рядам:
0 ряд – 6
1 ряд – 9
2 ряд – 8
3 ряд – 7
4 ряд – 4
Общее число труб в решетке – 56 шт.
Отверстия в трубных решетках выполняем гладкими. По ГОСТ 15118-79 под трубы с наружным диаметром 25 мм установлен диаметр 25,5 мм.
Крепление труб в трубной решетке должно быть прочным, герметичным и обеспечивать их легкую замену. Применяем для крепления труб способ развальцовки с последующей отбортовкой (рис. 4).

Рис.5 Крепление труб в трубной решетке развальцовкой споследующей отбортовкой
Конец трубы, вставленной с минимальным зазором в отверстие трубной решетки, расширяется изнутри раскаткой роликами специального инструмента, называемого вальцовкой.
По [1, табл. 2.8] в соответствии с ГОСТ 26291-94 принимаем минимальную толщину стенки корпуса S = 6 мм.
2.3 Выбор конструктивной схемы поперечных перегородок и расстояния между ними. Отбойники
Применяем внутренние поперечные перегородки с диаметрально чередующимся в них сегментными средами для поддержания расстояния между трубами (рис. 6).

Рис.6 Конструктивная схема поперечных перегородок
Диаметр отверстий для труб в перегородках 28 мм [1. с. 57]. Номинальный диаметр поперечных перегородок Dп =310 мм [1. с.58].
Неподвижные трубные решетки занимают место во впадинах фланцев корпуса и крышек (рис. 7).

Рис. 7 Узел крепления неподвижной трубной решетки: 1 – решетка трубная; 2 – фланец; 3 – прокладка;4 – трубка теплообменная; 5 – кожух; 6 – крышка.
Для того чтобы теплообменники лучше работали, необходимо обеспечить минимальный зазор между корпусом и перегородкой. Номинальный диаметр Dп поперечных перегородок принимают в зависимости от внутреннего диаметра аппарата [1, с. 58]: Dп = 310 мм при D=315 мм. Максимальное расстояние между перегородками принимаем по [1, с. 58] равным 800 мм, а минимальная толщина перегородок [1, с. 59] 8 мм.
Взаимное расположение поперечных перегородок фиксируют несколькими стяжками между ними. Стяжки придают пучку жесткость и дополнительную прочность, обеспечивают удобства его сборки. Они представляют собой тяги из круглого прутка, пропущенные через отверстия перегородок и трубных решеток. В промежутке между перегородками надеты распорные трубки. Число стяжек принимаем в зависимости от диаметра аппарата [1, с. 59]:
диаметр стяжек – 12 мм,
число стяжек – 4.
При входе среды (пара) в межтрубное пространство теплообменника часто устанавливают отбойник, который защищает от местного износа трубы, расположенные против входного штуцера (рис. 7).

Рис. 8 Схема размещения отбойника
Отбойник выполняют в виде круглой пластины. Его размер должен быть не меньше внутреннего диаметра штуцера D1 , т.е. [1, с. 59].
¸20),
D = 200+15=215 мм.
Отбойник не должен создавать излишнее гидравлическое сопротивление, поэтому расстояние от внутренней поверхности корпуса до отбойника должно быть [1, с. 59]:
,
мм.
2.4 Выбор крышек и днищ аппарата
Крышки и днища теплообменных аппаратов выбираем в зависимости от диаметра кожуха. Наиболее распространенной формой днищ и крышек является эллиптическая форма с отбортовкой на цилиндр (рис. 8).

Рис. 9 Днище эллиптическое с отбортовкой
По [3, табл. 16.1] выбираем размеры днища эллиптического отбортованного стального диаметром 800 мм:
Sd = 6 мм, Нd = 81 мм, hу = 25 мм.
Днище 325 х 6-25 ГОСТ 481-58 [3, табл. 16.1].
Выбранное днище используем для изготовления входной и выходной крышек аппарата.
Марка стали – 09 Г 2 С [3, табл. 16.1].
2.5 Расчет диаметров штуцеров, выбор фланцев, прокладок и крепежных элементов
Присоединение трубопроводов к теплообменным аппаратам бывает разъемным и неразъемным. Разъемное присоединение труб осуществляется при помощи фланцевых резьбовых штуцеров. При диаметре трубопроводов более 10 мм применяют фланцевые штуцеры.
Диаметр штуцера зависит от расхода и скорости теплоносителя [1, с. 64]:
, (12)
где V – объемный расход теплоносителя, м3 /с;
– скорость движения теплоносителя в штуцере, м/с;
S – площадь поперечного сечения штуцера, м2
,
.
Скорости движения теплоносителей в штуцерах выбирают по [1, табл. 1.4], принимая их несколько большими, чем в аппарате.
Диаметр штуцера:
, (13)
Диаметр штуцеров для входа и выхода воды рассчитываем по уравнению (13), принимая скорость движения воды в штуцерах равной 2,0 м/с.
м.
Принимаем dш = 50 мм.
Диаметр штуцеров для насыщенного водяного пара и конденсата, расход которых D = 6,24·10-1 кг/с.
Тогда объемный расход пара:
м3
/с,
а конденсата:
м3
/с.
Тогда, принимая скорость пара в штуцере
м/с, получаем:
м.
Принимаем dп = 100 мм.
Скорость конденсата в штуцере
м/с, тогда
м.
Принимаем dк = 32 мм.
Принимаем штуцера со стальными плоскими приварными фланцами с соединительным выступом (тип 1 – рис. 10).

Рис. 10 Фланец для штуцеров
Выбираем по Dу и ру = 0,6 МПа [3, табл. 21.9].
Основные размеры фланцев:
· фланцы штуцеров для ввода и вывода воды – Фланец 50-3 ГОСТ 1255-67: Dу = 50 мм, Dб =110 мм, Dф = 140 мм, h = 13 мм, z = 4 шт, dб =12мм;
· фланец штуцера для ввода водяного пара – Фланец 100-3 ГОСТ 1255-67: Dу =100 мм, Dб = 170 мм, Dф = 205 мм, z = 4 шт, h = 15 мм, dб = 16 мм;
· фланец штуцера для вывода конденсата – Фланец 30-3 ГОСТ 1255-67: Dу =32 мм, Dб = 90мм, Dф = 120 мм, h = 15 мм, z = 4 шт, dб = 18 мм.
Для присоединения крышек к корпусу аппарата используем тип 2 диаметром 325 мм (рис. 10).

Рис. 11 Фланец для аппарата
По [3, табл. 21.9] выбираем основные размеры фланцев для аппарата: фланец I-325-3 ГОСТ 1235-67: Dб = 395 мм, Dф = 435 мм, h = 20 мм, dб = 20 мм, z = 12т; прокладка – паронит ГОСТ 481-80.
2.6 Проверка необходимости установки компенсирующего устройства
Жесткое крепление трубных решёток к корпусу аппарата и труб в трубной решетке обуславливает возникновение температурных усилий в трубах и корпусе (кожухе) при различных температурах их направления и может привести к нарушению развальцовки труб в решетках, продольному изгибу труб и другим неблагоприятным явлениям.
В случае если трубы нагреваются сильнее, чем кожух, они становятся длиннее кожуха и давят на трубные решетки, стремясь удлинить и сам корпус (кожух). Если напряжения, возникающие при этом в материале трубок и кожуха, превышают допустимые, то появляется необходимость установки компенсирующего устройства (линзы, плавающей головки и т.п.).
По данным [1 табл.1.7] допускаемая разность температур кожуха и труб (не требующая установки компенсирующего устройства) при давлении Рy
1,6 МПа составляет 60 о
С.
Для рассматриваемого теплообменного аппарата температура стенки трубок
0
С.
(см. подраздел 1.7), а минимальная температура кожуха может быть принята равной температуре пара, т.е. tст (к) = 133 о С.
Разность температур кожуха и трубок
0
С,
следовательно, установка компенсирующего устройства не требуется.
2.7 Опоры аппарата
Химические аппараты устанавливают на фундаменты или специальные несущие конструкции при помощи опор. Тип опоры выбирают в зависимости от конструкции оборудования, нагрузки и способа установки. При установке вертикальных аппаратов широко применяются лапы на полу или на фундаментах. При наличии нижних опор аппарат устанавливают на три или четыре точки, при подвеске между перекрытиями – на три лапы и более.
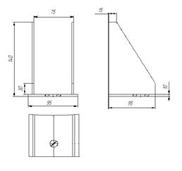
Расчетную нагрузку, воспринимаемую опорой аппарата, определяют по максимальной силе тяжести его в условиях эксплуатации или гидравлического испытания (при заполнении аппарата водой) с учетом возможных дополнительных внешних нагрузок от силы тяжести трубопроводов, арматуры и т. д. Вес аппарата (с жидкостью) делится на число "лап", и по допустимой нагрузке на опору выбирают ее основные размеры по [1, табл. 2.13].
Принимаем число лап равным 3, а допустимую нагрузку равную 4000 Н.По [1, табл. 2.13] выбираем основные размеры опор вертикального аппарата при допустимой нагрузке 4000 Н: a=75 мм, a1 =95 мм, b=95 мм, с=20 мм, c1 =50 мм, h=140 мм, h1 =10 мм, S1 =5 мм, k=15 мм, k1 =25 мм, d=12 мм.

Рис. 12 Опора вертикального аппарата
3. Гидравлический расчет
Цель гидравлического расчета – определение величины сопротивлений различных участков трубопроводов и теплообменника и подбор насоса, обеспечивающего заданную подачу и рассчитанный напор при перекачке воды.
Теплоносители должны подаваться в теплообменный аппарат под некоторым избыточным давлением для того, чтобы преодолеть гидравлическое сопротивление аппарата и системы технологических трубопроводов за аппаратом, переместить теплоноситель из одной точки пространства в другую (например, поднять его) и иметь возможность сообщить ему дополнительную скорость. При этом теплоноситель должен обладать достаточной энергией в заданной точке технологической схемы.
Потери энергии жидкостью и газами при их движении, обусловленные внутренним трением, определяют величину гидравлического сопротиления [1, с. 79].
3.1 Расчет гидравлических сопротивлений трубопроводов и аппаратов, включенных в них
Теплообменные аппараты включаются в трубопроводы, входящие в состав насосных установок, образующих технологические схемы различных пищевых или химических отраслей промышленности. Расчету принадлежит схема насосной установки, предлагаемая в задании на проектировании.
Различают два вида гидравлических сопротивлений (потерь напора): сопротивление трения и местные сопротивления:
и
. Для расчета потерь напора по длине пользуются формулой Дарси-Вейсбаха [2]:
,
где
- гидравлический коэффициент трения;
- длина трубопровода, по которому протекает теплоноситель, м;
d – диаметр трубопровода, м;
- скоростной напор,м.
Для расчета потерь напора в местных сопротивлениях применяют формулу Вейсбаха:
,
где
- коэффициент местных сопротивлений;
- скоростной напор за местным сопротивлением.
3.1.1 Разбивка трубопровода насосной установки на участки:
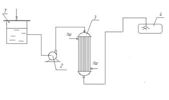
Гидравлическому расчету подлежит схема, представленная на рис. 12.

Рис. 12 – Схема насосной установки
1 –емкость; 2 – насос; 3 – теплообменник; 5 – стерилизуемый аппарат.
Трубопровод состоит из всасывающей и напорной линий. Всасывающая линия – трубопровод от нижней части емкости до насоса. Напорная линия – участок трубопровода от насоса до теплообменника, теплообменник 3, участок от теплообменника 3 до стерилизуемого аппарата 4.
3.1.2 Определение геометрических характеристик участков трубопровода, скоростей и режимов движения в них теплоносителя
Диаметры всасывающего и напорного трубопроводов определим из уравнения расхода (12), принимая по [1, табл. 1.4] скорость во всасывающем трубопроводе
м/с, а в напорном –
м/с.
м.
По ГОСТ 8732-78 [4, таб. 2.34] выбираем трубу для всасывающего трубопровода диаметром 70 мм.
Скорость движения воды на всасывающем участке трубопровода:
м/с,
а режим движения
– турбулентный, так как Re>104
[6, с.43].
где
м2
/с – кинематический коэффициент вязкости при t=140
С.
м
По ГОСТ 8732-78 [4,таб. 2.34] выбираем трубу для напорного трубопровода диаметром 50 мм.
Скорость движения воды на напорном участке трубопровода
м/с.
Режим движения воды на напорном участке трубопровода от насоса до теплообменника
– турбулентный, так как Re>104
[6, с. 43].
Режим движения воды на напорном замкнутом участке трубопровода, включающего теплообменник и стерилизуемый аппарат.
- турбулентный, так как Re>104
,
где
м2
/с - кинематическая вязкость воды при t = 92°С
3.1.3 Расчет сопротивлений трубопроводов и аппаратов, включенных в них
Всасывающий участок трубопровода
При турбулентном режиме движения гидравлический коэффициент трения
может зависеть и от числа Рейнольдса, и от величины шероховатости трубы.
Рассчитаем гидравлический коэффициент трения
для гидравлически гладких труб по формуле Блазиуса:
. (14)
.
Проверим трубу на шероховатость, рассчитав толщину вязкого подслоя
и сравнив ее с величиной абсолютной шероховатости стальной бесшовной новой трубы:
,
м,
, значит, труба гидравлически гладкая и
. На всех остальных участках трубопровода будем считать трубы гидравлически гладкими.
По формуле Дарси-Вейсбаха
, (15)
м.
Согласно схеме насосной установки (рис. 12) на всасывающей линии имеются следующие местные сопротивления: два плавных поворота на 90
–
,[1, табл. 3.3]. Следовательно,
, а по формуле Вейсбаха:
, (16)
где
– коэффициент местных сопротивлений;
– скоростной напор за местным сопротивлением.
м.
Суммарные потери напора на всасывающем участке трубопровода:
м.
Участок напорного трубопровода от насоса до теплообменника
![]()
м.
Согласно расчетной схеме (рис. 12) на напорном участке трубопровода от насоса до теплообменника имеется два местных сопротивления: два плавных поворота –
[1, табл. 3.3].
Поэтому
м.
Суммарные потери напора на участке напорного трубопровода от насоса до теплообменника:
м.
Теплообменник
![]()
м.
Определим напор, теряемый в местных сопротивлениях теплообменника (рис. 13).

Рис. 13 – Коэффициенты местных сопротивлений теплообменника
Предварительно вычислим площади потока в различных участках.
1.Площадь поперечного сечения штуцера:
м2
;
2. Площадь поперечного сечения крышки (свободного сечения аппарата)
м2
;
3. Площадь поперечного сечения 56 труб теплообменника:
м2
.
Скорости и скоростные напоры в соответствующих сечениях:
м/с;
м;
м/с;
м;
м/с;
м.
Коэффициенты местных сопротивлений:
а) при входе потока через штуцер в крышку (внезапное расширение):
;
б) при входе потока из крышки в трубы (внезапное сужение):
;
в) при выходе потока из труб в крышку (внезапное расширение):
;
г) при входе потока из крышки в штуцер (внезапное сужение):
.
Вычисляем потери напора в местных сопротивлениях:
а) при входе потока через штуцер:
м;
б) при входе потока из крышки в трубы первого хода аппарата:
м;
в) при выходе потока из труб в крышку:
м;
г) при выходе потока из крышки через штуцер:
м;
д) при повороте из одного хода в другой на 180° (
=2,5):
м.
Суммарные потери напора в местных сопротивлениях теплообменника:

Общие потери напора (по длине и в местных сопротивлениях теплообменника):
м.
Диаметр напорного трубопровода dн = 0,05 м совпадает с диаметрами штуцеров dш = 0,05 м, следовательно при входе и выходе из теплообменника потерь напора не будет .
Участок напорного трубопровода от теплообменника до стерилизуемого аппарата
.
м.
Участок напорного трубопровода от теплообменника до стерилизуемого аппарата включает следующие местные сопротивления: 6 плавных поворот на 900
. Тогда сумма коэффициентов местного сопротивления
.
м.
м.
Суммарные потери напора в насосной установке (сети)
м
3.2 Определение требуемого напора насоса
Требуемый напор насоса определяем по формуле:
, (17)
где Н=8м– высота подъёма жидкости в насосной установке (от насоса), м,
hвс – высота всасывания насоса, hвс = 0,5 м;
Рк – давление в стерилизуемом аппарате , Рк = 0,55 МПа;
Рат – атмосферное давление, Рат = 9,81×104 Па;
– суммарные потери напора в сети,
= 9,17 м.
По формуле (17):
м.
3.3 Выбор типа и марки насоса по расчетному напору и заданной подаче
По полю характеристик V – Н насосов для чистой воды [8, c. 328] по заданной подаче V = 4×10-3 м3 /с (14,4 м3 /ч) к рассчитанному требуемому напору Нтр =64,4 м выбираем насос по ГОСТ 22247-96: К 290/18б-У2, n=1450 об/мин.
3.4 Построение характеристик насоса и трубопровода. Определение рабочей точки насоса
По каталогу насоса для химических производств [6] строим рабочие характеристики выбранного насоса – зависимости Н = f(V), N = f(V), h = f(V).
Для построения характеристики трубопровода рассмотрим его уравнение (17).
Первые два слагаемых уравнения являются величиной постоянной и определяют собой статистический напор, тогда
,
где
м.
Так как трубопровод эксплуатируется в квадратичной зоне сопротивлений (Re >105 ), то зависимость потерь напора в трубопроводе от изменения скоростей носит квадратичный характер, т.е.
, (18)
где в – коэффициент пропорциональности, определяемый по координатам т. А, лежащей на этой кривой.
Н = f(V), η=f(V)
Для этой точки имеются:
м3
/с – (по заданию);
НД = Нтр = 64,4м
м.
Отсюда
.
Уравнение кривой сопротивления трубопровода, выражающее собой потребные напоры насоса при подаче различных расходов по заданному трубопроводу
![]()
Задаваясь различными значениями расходов V, рассчитываем соответствующие им значения Нтр = f(V).
Результаты расчета сводим в таблицу 2.
Таблица 2 Характеристики трубопровода
| V | Нст , м | |||
| м3 /с | м3 /ч | |||
| 0 | 0 | 55,3 | 0 | 55,3 |
| 0,0011 | 4 | 0,69 | 55,99 | |
| 0,0016 | 6 | 1,46 | 56,76 | |
| 0,0022 | 8 | 2,76 | 58,06 | |
| 0,0028 | 10 | 4,47 | 59,77 | |
| 0,0039 | 14 | 8,67 | 63,97 | |
| 0,0044 | 16 | 11,03 | 66,33 | |
| 0,0050 | 18 | 14,25 | 69,55 | |
| 0,0055 | 20 | 17,24 | 72,54 | |
По данным таблицы 2 строим характеристику трубопровода Нтр = f(V), отложив на оси ординат величину Нст =55,3 м.
Точка пересечения характеристик насоса и трубопровода определяет рабочую точку А. Координаты рабочей точки:
VА
= 16 м3
/ч = 0,0044 м3
/с; Н = 66 м;
%;
Ne
=
кВт.
Так как VА = 16 м3 /ч больше заданной подачи VА =14,4 м3 /ч, то необходимо отрегулировать работу насоса на сеть одним из способов: прикрытием задвижки на напорной линии (дросселирование); уменьшением частоты вращения вала рабочего колеса насоса; обрезкой рабочего колеса.
Заключение
Расчет курсового проекта состоит из трех основных расчетов: теплового, конструктивного и гидравлического.
В тепловом расчете определили необходимую площадь теплопередающей поверхности, в нашем случае F = 17,5 м2
, которая соответствует заданной температуре и оптимальным гидродинамическим условиям процесса. По полученным расчетным путем данным выбрали теплообменник
гр. А ГОСТ 15122-79.
В конструктивном расчете произвели расчет диаметров штуцеров, выбрали конструкционные материалы для изготовления аппаратов, трубных решеток, способ размещения и крепления в них теплообменных трубок и трубных решеток к кожуху; конструктивную схему поперечных перегородок и расстояния между ними; распределительные камеры, крышки и днища аппарата; фланцы и прокладки.
В гидравлическом расчете выбрали необходимый насос по полученному требуемому напору, в нашем случае Hтр =64,4 м и заданная подача V=4·10-3 м3 /с (234 м3 /ч) выбираем насос CR 15-6, мощность которого 5,5 кВт, который обеспечивает заданную подачу и рассчитанный напор при перекачке воды.
Список использованных источников
1. Логинов А.В. Процессы и аппараты химических и пищевых производств (пособие по проектированию) / А.В. Логинов, Н.М. Подгорнова, И.Н. Болгова. – Воронеж: ВГТА, – 2003. – 264 с.
2. Павлов К.Ф. Примеры и задачи по курсу процессов и аппаратов химической технологии: Учеб. пособ. для студ. химико-технол. спец. вузов / К.Ф. Павлов, П.Г. Романков, А.А. Носков; Под ред. П.Г. Романкова. – 8-е изд., перераб. и доп. – Л.: Химия, 1976. – 552 с.
3. Лащинский А.А. Основы конструирования и расчета химической аппаратуры. Справочник / А.А. Лащинский, А.Р. Толчинский; Под ред. Н.Н. Логинова. – 2-е изд; перераб. и доп. – Л.: Машиностроение, 1970. – 753 с.
4. Ю.И. Дытнерский, Г.С. Борисов, В.П. Брыков. Основные процессы и аппараты химической технологии: пособие по проектированию / Под ред. Ю.И. Дытнерского, 2-е изд., перераб. и допол. – М.: Химия, 1991. – 496 с.
5. Насосы и насосные установки пищевых предприятий: Учеб. пособие / А.В. Логинов, М.Н. Слюсарев, А.А. Смирных. – Воронеж: ВГТА, 2001. – 226 с.
6. А.Г Касаткин Основные процессы и аппараты химической технологии: Учебник для вузов.- 10-е изд., стереотипное, доработанное. Перепеч. С изд. 1973г.- М.: ООО ТИД "Альянс", 2004.-753с.
Похожие рефераты:
Фреоновая рассольная двухступенчатая холодильная установка
Пуск в работу питательного электронасоса после ремонта
Проект реконструкции цеха первичной переработки нефти и получения битума на ОАО «Сургутнефтегаз»
Продвижение прогрессивных систем энергосбережения в Украине в сегменте (ТН) тепловых насосов
Установки погружных центробежных насосов (УЭЦН)
Отчет о практике специальности Разработка и эксплуатация нефтегазовых месторождений
Установка для переработки отходов слюдопластового производства
Реконструкция теплообменника в цехе N2 ЗАО "Каустик" с целью повышения эффективности
Усовершенствование технологии установки висбрекинга
Техническое перевооружение цеха по ремонту насосно-компрессорных труб