| Похожие рефераты | Скачать .docx |
Курсовая работа: Световое излучение в ультрафиолетовой, видимой и инфракрасной областях спектра
План
Введение
1. Формирование катодолюминесцентного излучения
1.1 Генерация неравновесных носителей заряда
1.2 Движение и рекомбинация неравновесных носителей
2. Пространственное разрешение катодолюминесцентной микроскопии
3. Методика экспериментальных исследований
4. Информативность сигнала катодолюминесценции
4.1 Интенсивность сигнала интегральной катодолюминесценции
4.2 Спектральный состав сигнала катодолюминесценции
Заключение
Литература
Введение
Явление катодолюминесценции (КЛ) — возникновение светового излучения в ультрафиолетовой, видимой и инфракрасной областях спектра под действием электронного облучения — известно давно. Первоначально интерес к этой области был связан с исследованием и использованием люминофоров. В процессе решения практической задачи создания оптимальных покрытий экранов электронно-лучевых трубок были исследованы процессы излучательной рекомбинации и особенности зонной структуры полупроводниковых соединений. Сам же метод катодолюминесценции, наряду с другими методами, такими, как фотолюминесценция, оптическое поглощение и отражение света, занял прочное место в исследовательской практике при изучении зонной структуры твердого тела (главным образом тех энергетических уровней, которые принимают участие в процессах излучательной рекомбинации).
В последнее время в связи с быстрым развитием оптоэлектроники интерес к катодолюминесценции существенно возрос. Создание высокоэффективных полупроводниковых лазеров и светодиодов, представляющих собой многослойные структуры с толщиной слоев в единицы или десятки микрометров, потребовало разработки новых методов, которые обладали бы высокой локальностью и позволяли бы контролировать внутри этих слоев распределение центров излучательной рекомбинации, создаваемых направленным введением активных примесей в процессе выращивания. В этом смысле большие возможности предоставила растровая электронная микроскопия.
Особенности построения изображения в растровом электронном микроскопе (РЭМ) заключаются в его существенных отличиях от общеизвестных оптических и просвечивающих электронных микроскопов. В РЭМ, схема которого приведена на рис. 1, отсутствует отображающая оптическая система, которая в других микроскопах обеспечивает однозначное соответствие между точками объекта и точками изображения.

В РЭМ электромагнитные линзы лишь служат для формирования тонкого электронного зонда (до 2 нм), который с помощью отклоняющей системы заштриховывает весь наблюдаемый участок объекта рядом параллельных строк - растром, аналогичным растру в телевизионной трубке.
В результате взаимодействия электронов первичного пучка с объектом возникает целый ряд явлений — вторичная электронная эмиссия, характеристическое рентгеновское излучение, катодолюминесценция и др. (рис 2), каждое из которых может быть использовано для модуляции интенсивности на экране.

Исследование изображений в РЭМприиспользовании различных сигналов позволяет при минимальных требованиях к образцу получать многообразную информацию, например, при использовании эмиссии вторичныхэлектронов — о топографии поверхности и распределении электрических имагнитных полей, при использовании отраженных электронов — о составе объекта и, наконец, при использовании эффекта каналирования первичных электронов пучка — о кристаллической структуре объекта.
Сфокусированный электронный зонд позволяет существенно ограничить (локализовать) область генерации света и таким образом уже исследовать распределение люминесцентных свойств по поверхности объекта. Последнее стало возможным при использовании растрового электронного микроскопа из-за предоставляемой им возможности получения электронно-микроскопического изображения объекта в люминесцентном сигнале и точного позиционирования электронного зонда на поверхности объекта по его изображению.
Для формирования изображения может использоваться любой вторичный сигнал от объекта, возникающий из-за электронного облучения объекта, например сигнал от вторичных электронов, светового и рентгеновского излучения и др. Яркость данной точки изображения определяется величиной используемого сигнала, исходящего из соответствующей точки объекта. Для построения изображения необходимо однозначное соответствие между положениями электронного зонда на объекте и точкамиизображении на экране.
Другим отличием РЭМ является возможность одновременного получения изображений одного и того же объекта в различных сигналах, а также присущая РЭМ очень большая глубина резкости (в 10-100 раз больше, чем у оптического микроскопа), что исключает специальные требования к качеству поверхности исследуемого объекта. Единственным условием для получения изображения в РЭМ является наличие достаточной электропроводности по поверхности объекта, обеспечивающей возможность стекания вносимого электронным зондом электрического заряда, что в случае диэлектриков достигается напылением на объект тонкой металлической пленки.
1. Формирование катодолюминесцентного излучения
Катодолюминесценция – это эмиссия света, которая производится атомом возбужденным электроном с высокой энергией. Способностью к катодолюминесценции обладают газы, молекулярные кристаллы, органические люминофоры, кристаллофосфоры, однако только кристаллофосфоры стойки к действию электронного пучка и дают достаточную яркость свечения. Именно они и применяются в качестве катодолюминофоров.
Катодолюминесценция обнаружена в середине 19 в. до открытия электрона; пучок электронов, вызывающий свечение стеклянных стенок вакуумированных трубок, называли катодными лучами, и поэтому само свечение было названо катодолюминесценцией. Как физическое явление впервые начал изучать Уильям Крукс (W. Crookes) в 70-х гг. 19 в.
Три фундаментальных процесса участвуют в создании КЛ-эмиссии. Это - генерация, движение и рекомбинация неравновесных носителей заряда. Рассмотрим эти процессы в отдельности.
1.1 Генерация неравновесных носителей заряда
Падающие на объект быстрые облучающие электроны за счет взаимодействия с материалом объекта претерпевают потери энергии и тормозятся. Для упрощения оценок потерь энергии обычно используется модель непрерывной передачи энергии от первичного электрона объекту и средняя потеря энергии электроном на единицу пути вдоль траектории s за счет действия всех механизмов потерь энергии выражается формулой Бете:
(1)
где е - заряд электрона,
- число Авогадро,
- плотность материала объекта, А - атомный вес, Z - атомный номер, Е - средняя энергия электрона и J - средний потенциал ионизации.
В области потерь энергии, которую еще называют областью возбуждения, протекают вызываемые электронной бомбардировкой разнообразные вторичные процессы за счет электронных переходов в объекте. Размер области возбуждения близок по величине к глубине проникновения первичных электронов Re и может быть оценен по формуле:
(2)
где A измеряется в г моль-1
,
– в г см-3
и E0
– в кэВ. На рисунке 3 приведены зависимости величины Re
от энергии падающих электронов для некоторых материалов.

Форма области возбуждения зависит от атомного номера материала объекта и изменяется от грушеподобной для материалов с низким атомным номером, становясь далее близкой к сферической для материалов с 15 < Z < 40 и полусферической для материалов с более высоким атомным номером. Следует отметить существенную разницу в форме и размерах области возбуждения для тонкоплёночных и массивных объектов (рис. 4).

Размеры области, где имеет место тот или иной вторичный процесс, иначе, области генерации сопутствующего ему сигнала определяются энергией активации данного процесса. В полупроводниках рассеянная в объекте энергия падающих электронов может частично пойти на образование неравновесных электронно-дырочных пар, вызывая тем самым существенное увеличение числа подвижных носителей заряда. Валентные электроны могут переводиться с различных уровней валентной зоны на различные уровни зоны проводимости, но лежащие выше максимального уровня электронов, рожденных за счет тепловой генерации, из-за чего средняя энергия образования одной электронно-дырочной парыEi несколько превышает ширину запрещенной зоны Eg и равна:
,(3)
где 0 < M < 1 эВ и зависит от материала объекта, оставаясь независимой от энергии падающих электронов. Значения Ei для некоторых материалов следующие (в скобках приведены значения Eg при 300 К): InSb — 0.42 эВ (0.16 эВ), РЬS — 2.05 эВ (0.41 эВ), GaAs — 4.6 эВ (1.43 эВ), CdTe —4.65 эВ (1.5 эВ), GаР - 7.8 эВ (2,24 эВ). В электронном микроскопе средняя энергия образования одной электронно-дырочной пары существенно меньше энергии падающего электрона и один электрон с энергией 10-20 кэВ по траектории своего движения в объекте может создать несколько тысяч электронно-дырочных пар. Эта величина является фактором генерации и дается выражением:
,(4)
где
описывает потери энергии за счет отражения электронов от объекта.
Помимо генерации электронно-дырочных пар быстрые электроны пучка могут приводить к локальному разогреву объекта и изменению структуры и свойств облучаемой области, особенно в сфокусированном режиме работы микроскопа, вызывая, например, изменение люминесцентных характеристик.
1.2 Движение и рекомбинация неравновесных носителей
Возникшие неравновесные носители заряда в полупроводнике приобретают направленное движение за счет диффузионных и дрейфовых процессов и одновременно рекомбинируют из-за возвращения электронов в свободные состояния в валентной зоне, в результате чего исчезают свободный электрон и свободная дырка. В условиях термодинамического равновесия процессы генерации и рекомбинации полностью уравновешиваются. В зависимости от механизма различают три вида рекомбинации: межзонная рекомбинация, рекомбинация через локальные центры и поверхностная рекомбинация. В зависимости от того, на что расходуется выделяемая при рекомбинации энергия, рекомбинация может быть излучательной с испусканием кванта света и безызлучательной с передачей энергии решетке (образование фононов) или третьему свободному носителю, в последнем случае она называется ударной или рекомбинацией Оже.
При непрерывном облучении и неподвижном электронном зонде на образце в последнем в результате этих процессов создается стационарное распределение неравновесных электронов и дырок, подчиняющееся в простейшем случае трехмерному диффузионному уравнению, которое для полупроводника p-типа имеет вид:
(5)
с граничным условием на поверхности
,(6)
где
- плотность неосновных неравновесных носителей заряда; D— коэффициент диффузии;
- время жизни неосновных носителей заряда;
- скорость поверхностной рекомбинации;
-функция генерации неравновесных носителей заряда (функция источника), определяемая параметрами электронного зонда и процессами рассеяния электронов в объекте, или иными словами, функция распределения плотности потерь энергии электронов в объекте; z - координата, направленная в глубь образца. Уравнение (5) справедливо при выполнении следующих двух условий:
1)время жизни
не зависит от
, что выполняется достаточно хорошо при малом уровне возбуждения, т.е. когда
, где
— равновесная концентрация дырок;
2)внутренние электрические поля в объекте отсутствуют, т.е. электроны и дырки двигаются только за счет диффузии.
Интенсивность КЛ-эмиссии
обычно принимается пропорциональной
и записывается в виде:
,(7)
где A и B учитывают соответственно поглощение КЛ-излучения при его выходе через толщу объекта и его отражение от поверхности границы раздела объект-вакуум, а
является внутренним квантовым выходом, равным отношению темпа излучательной рекомбинации к полному темпу рекомбинации, являющемуся суммой темпа излучательной рекомбинации и темпов по всем каналам безызлучательной рекомбинации. Величина
обычно выражается через времена жизни
(излучательное) и
(безызлучательное):
,где
,
откуда
(8)
Для расчета
по формуле (7) необходимо знать точное решение уравнения (3). В настоящее время существуют точные аналитические расчеты для однородного материала, когда диффузионная длина неосновных носителей заряда
постоянна, и простых граничных условий (4) для точечного источника и для сферического с постоянной плотностью пар. При расчетах часто принимают
Этими результатами можно пользоваться и при произвольной функции источника, но только в тех случаях, когда границы располагаются от источника на расстояниях, больших L и превышающих размеры области генерации пар.
Помимо интенсивности КЛ-эмиссия характеризуется спектральным составом излучения. Энергия фотонов и, таким образом, спектр КЛ-излучения содержат сведения о характеристических энергетических уровнях, имеющихся в объекте. Излучательные переходы можно разделить на два класса: собственные (фундаментальные) и примесные. К собственным переходам относятся переходы зона-зона с выделением фотона с энергией, равной Eg , где Eg - ширина запрещенной зоны, и рекомбинация свободного экситона с выделением фотона с энергией
hv=Eg - Ex ,
где Ex — энергия ионизации экситона. В не прямозонных полупроводниках, таких как, например, GaP, фундаментальное излучение очень слабое, поскольку в отличие от прямозонных полупроводников, таких как GaAs, при рекомбинации электрона и дырки обязательно должно происходить образование фонона, а появление дополнительной частицы резко уменьшает вероятность процесса (рис. 5). Поэтому собственное излучение в не прямозонных полупроводниках относительно слабое, особенно в сравнении с излучением, связанным с примесями и дефектами.

К примесным переходам относятся переходы через уровни, расположенные внутри запрещенной зоны, которые возникают за счет присутствия в материале атомов различных примесей, в том числе доноров и акцепторов, или структурных дефектов и могут быть мелкими, расположенными у краев зон, или глубокими, расположенными ближе к середине запрещенной зоны. Рекомбинанионной эмиссии с первых соответствуют фотоны с энергией близкой к Eg , рекомбинационной эмиссии со вторых — фотоны с энергией существенно меньшей, чем Eg . При комнатной температуре такое излучение может быть сделано гораздо более интенсивным, чем собственное, даже в прямозонных материалах. Такие примеси, активирующие люминесценцию, называют активаторами, и этим часто пользуются в терминологии, связанной с люминофорами. В присутствии примесей могут образовываться связанные на них экситоны, при рекомбинации которых возникают фотоны с энергией
,
где
— энергия связи экситона с примесным атомом,
— энергия эмиттируемых фононов и m — число фононов. В реальных материалах доминирующим излучением является излучение за счет примесных переходов через уровни примесей и дефектов.
2. Пространственное разрешение катодолюминесцентной микроскопии
Помимо основных спектроскопических характеристик системы анализа светового излучения, таких как полная спектральная передаточная характеристика системы, спектральное разрешение и предельная чувствительность, установка для исследования микро катодолюминесценции характеризуется еще одним очень важным параметром, а именно, величиной пространственного разрешения или локальностью сбора информации, т.е. минимальным расстоянием между двумя деталями объекта, которые можно различить по сигналу КЛ-эмиссии.
Разрешение в катодолюминесцентном режиме РЭМ зависит не столько от размера сечения первичного электронного пучка на объекте, сколько от размера области генерации электронно-дырочных пар с последующей их диффузией. В материалах с большим квантовым выходом размер реальной области генерации пар может существенно превышать размеры первоначальной области генерации пар под действием электронов пучка за счет фотонного переноса — явления возбуждения неравновесных носителей заряда за счет перепоглощения и переизлучения собственного рекомбинационного излучения, когда в результате акта излучение — поглощение электронно-дырочная пара «перемещается» в объекте на пролетаемое фотоном расстояние. В отсутствие явления переизлучения область генерации пар практически совпадает с областью диссипации энергии первичных электронов, и дальнейшее перемещение пар происходит за счет диффузии. При значительной диффузионной длине размер области инжектированных носителей может существенно превышать размер сечения первичного электронного пучка на объекте.
Из-за малости сигнала КЛ, особенно у материалов с малым внутренним квантовым выходом, для работы в режиме локальной КЛ используют повышенные (10-6 — 10-8 А) токи электронного зонда. Это приводит к уширению электронного пучка на объекте и вносит дополнительную лепту в ухудшение пространственного разрешения. Пространственное разрешение в этом режиме можно выразить как геометрическую сумму поперечного размера электронного зонда на объекте, поперечного размера области рассеивания энергии электронов зонда, которая полагался равной глубине проникновения электронов в объект Re , — и диффузионной длины неосновных носителей заряда L. Такая оценка давала завышенное значение пространственного разрешения, а на практике реализовывалось гораздо более высокое значение разрешения. Например, для n-GaPс L=3,5 мкм при 20 кВ реально было получено разрешение в 1.5 мкм вместо 6 мкм, получаемых при расчете методом геометрической суммы.
Позже была построена формальная теория пространственного разрешения в режиме локальной КЛ, основанная на критерии разрешения двух точек в просвечивающей электронной микроскопии, где провал между двумя максимумами на изображении еще разрешаемых двух точек достигает 25%. Для локальной КЛ под разрешением понималось минимальное расстояние между двумя тонкими люминесцирующими слоями в не люминесцирующей матрице, когда при сканировании пучка поперек слоев в сигнале КЛ (отклике) провал посередине изображения этих слоев достигал 25 %.
Оказалось, что определяемая таким образом величина пространственного разрешения очень близка к значению полуширины отклика сигнала КЛ на тонкий люминесцирующий слой в объекте, т.е. ширины отклика на уровне 0,5 от максимального значения сигнала, достигаемого при нахождении электронного зонда непосредственно на люминесцирующем слое. При теоретическом расчете отдельно учитывался вклад рассеяния первичных электронов в объекте (конечного размера области генерации пар в объекте) в пренебрежении диффузией пар и вклад диффузии пар в пренебрежении размерами области генерации пар, которая в этом случае считалась точечной. Из-за малости вклада, обусловленного конечными размерами электронного зонда на объекте, влиянием этого фактора пренебрегалось.
При учете лишь конечных размеров реальной области генерации пар диффузионная длина Lполагалась равной нулю. Отклик сигнала КЛ при сканировании поперек тонкого люминесцирующего слоя содержит узкую центральную часть с повышенным значением сигнала, полуширина которой и определяет величину пространственного разрешения (рис. 6).

Рассчитанные методом Монте-Карло нормированные отклики сигнала КЛ ICL (x) при сканировании поперек тонкого люминесцирующего слоя в матрице GaAs для разных ускоряющих напряжений: 1-10, 2-20, 3-30, 4-40 и 5-50 кВ при отсутствии диффузии неравновесных носителей заряда.
В данном случае это является вкладом в пространственное разрешение за счет рассеяния первичных электронов в объекте и зависит от ускоряющего напряжения микроскопа, как показано на рис. 7 (зависимость полуширины δ распределения ICL (x) от ускоряющего напряжения для различных полупроводниковых материалов в отсутствие диффузии неравновесных носителей заряда: 1-Si, 2-GaP, 3-PbS и GaAs)для различных материалов объекта, причем вид этой зависимости различен для материалов с разными атомными номерами, что является следствием различия в процессах рассеяния в объекте электронов пучка: в легких материалах (Si) преобладают мало угловые неупругие рассеяния, в тяжелых (PbS, GaAs) — упругие рассеяния на большие углы.
Получаемое при таких расчетах значение пространственного разрешения можно рассматривать как предельно достигаемое разрешение, реализуемое либо на материалах с малыми по сравнению с размерами области генерации пар диффузионными длинами, либо при работе микроскопа в импульсном режиме с регистрацией сигнала КЛ лишь в начальный момент возбуждающего электронного воздействия, пока не произошло существенного диффузионного расплывания неравновесных носителей заряда.

Происходящее в этом случае "улучшение" пространственного разрешения по сравнению со стационарным случаем, естественно, тем более заметно, чем больше значение диффузионной длины (при этом следует учитывать необходимое увеличение времени накопления сигнала при регистрации из-за существенного уменьшения его интенсивности).
Позже был предложен новый метод экспериментальной оценки размера области генерации электронно-дырочных пар. Для этого они использовали структуру из AlAs/GaAs с тремя квантовыми ямами, поперек которых проводилось сканирование и регистрировался отклик сигнала КЛ. В таком образце исключался эффект диффузии носителей заряда и повышалось разрешение до 50 нм. Полученные авторами отклики был и похожи на отклики, представленные на рис. 6.
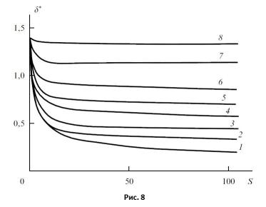
Расчет аналогичного отклика сигнала КЛ для точечного источника генерации пар с учетом диффузии (L ≠ 0) показал зависимость полуширины распределения от скорости поверхностной рекомбинации, которая с приближением источника к поверхности объекта становилась все более выраженной (рис. 8). На рис. 8 изображена зависимость полуширины δ* =δ/L распределения ICL (x) от приведенной скорости поверхностной рекомбинации S=𝜐s τ/L для различных значений приведенной глубины залегания точечного источника Z0 =z0 /L: 1-Z=0; 2 - 0.05; 3 - 0.1; 4 - 0.2; 5 - 0.3; 6 - 0.5; 7 - 1.0 и 8 - 2.0.

Наличие поверхностной рекомбинации приводит к оттоку носителей на поверхность и к последующей там безызлучательной их рекомбинации, за счет чего уменьшаются диффузионное "расплывание" носителей и полуширина распределения сигнала КЛ, при этом также происходит снижение интенсивности и самого сигнала КЛ. Это "обужение" кривой отклика сигнала КЛ за счет наличия поверхностной рекомбинации для массивного объекта в приближении точечного источника генерации пар может достигать семи крат. Наличие поверхностной рекомбинации приводит к тому, что в приповерхностных слоях объекта время жизни неосновных носителей отличается от его значения в глубине объема τbulk и приобретает некоторое эффективное значение:
,
где τs — время жизни за счет рекомбинации па поверхности. Роль поверхностной рекомбинации существенно возрастает при работе с тонкими объектами. Здесь уже нужно принимать во внимание действие двух поверхностей, ограничивающих объект сверху и снизу. В этом случае даже при отсутствии рекомбинации в объеме
,
где tявляется толщиной образца, и если даже отсутствует рекомбинация в объеме, т.е. τbulk =∞, то время жизни будет определяться лишь присутствием поверхностей, чему будет соответствовать диффузионная длина, равная
.
Другой возможный путь улучшения разрешения заключается в прикладывании к объекту магнитного поля, направленного вдоль электронного пучка. Сила Лоренца в этом случае препятствует диффузионному размытию избыточных носителей. Впервые это было предложено Спиваком.
За счёт присутствия различных структурных дефектов происходит сильная модуляция КЛ. Из этого следует, что режим КЛ в РЭМ может быть с успехом использован для контроля структурного совершенства полупроводниковых слоев с целью повышения эффективности изготавливаемых из них полупроводниковых приборов, что особенно важно для приборов с гетеропереходами.
При снижении температуры объекта интенсивность рекомбинационного излучения резко возрастает. Это происходит из-за уменьшения доли безызлучательных переходов при охлаждении. Таким образом, переход к азотным и, особенно, гелиевым температурам дает возможность исследования люминесценции материалов с малым внутренним квантовым выходом. В не прямозонных структурах при наличии нескольких механизмов рекомбинации с изменением температуры может измениться сам механизм рекомбинации.
3. Методика экспериментальных исследований
Стандартная экспериментальная установка включает обычный РЭМ или его просвечивающий аналог, систему сбора светового излучения и его вывода за пределы колонны микроскопа (коллекторная система), систему спектрального анализа КЛ-излучения (обычно монохроматор) и систему регистрации. Коллекторная система чаще всего является зеркально-линзовой и конструируется так, чтобы собрать световое излучение с объекта как можно полнее. В качестве детекторов светового излучения при работе в видимой области спектра используют фотоэлектронные умножители, а в ближней инфракрасной области — твердотельные фотодетекторы.
Обычные, наиболее распространенные режимы работы такой установки — регистрация КЛ-изображения объекта и регистрация спектра КЛ-излучения. В первом случае используется либо полный сигнал КЛ и излучение попадает на фотодетектор, минуя монохроматор, либо сигнал КЛ в фиксированном спектральном интервале, так называемый сигнал монохроматической КЛ, для получения которого КЛ-излучение перед попаданием на фотодетектор пропускается через соответствующим образом настроенный монохроматор. В этом режиме сканирование осуществляется электронным зондом по поверхности объекта. Во втором случае электронный зонд неподвижен и установлен на определенную, выбранную точку объекта, а монохроматор сканирует по заданному спектральному диапазону. Таким образом, получают спектр КЛ-излучения из данной точки объекта.
Первые работы по локальной катодолюминесценции выполнялись в рентгеновских микроанализаторах. Для сбора и вывода КЛ излучения использовался световой микроскоп, вмонтированный в камеру объекта (рис. 9). Регистрация проводилась с помощью ФЭУ: либо непосредственно на выходе светового микроскопа (интегральная КЛ), либо после прохода излучения через монохроматор (спектральная КЛ).

Если, кроме зеркал, использовались призмы и линзы светового микроскопа, то это ограничивало спектральный диапазон пропускаемого излучения видимой областью спектра. Интегральную (полную интенсивность излучения) КЛ можно регистрировать, устанавливая световод, подсоединенный к ФЭУ, или просто сами фотоприемники (например, из Ge и PbS) в непосредственной близости к объекту. Фотоприемники можно располагать и под образцом, если он достаточно тонкий. В этом случае реализуется метод КЛ «на просвет», что позволяет наблюдать структурные дефекты в толще материала. Другим способом вывода излучения КЛ из камеры объекта является использование параболического зеркала и фокусирующей линзы (рис. 10). Эффективность сбора КЛ излучения такой системы достигала 95%. Системы, использующие зеркала и линзы, являются сложными в юстировке. Однако в отличие от систем с гибким световодом (например, эллиптическое зеркало, в фокусах которого размещены объект и торец выводящего излучение световода (рис. 11)) они позволяют оптимальным образом завести излучение в щель монохроматора, использовав полностью его угловую апертуру.

Регистрация спектра при использовании монохроматоров происходит последовательно по спектральному диапазону. Применение оптических многоканальных анализаторов (ОМА) позволило перейти от последовательного накопления информации к одновременному по всему спектральному диапазону или по всем временным интервалам импульса релаксации КЛ.

В обоих случаях дисперсия излучения по спектру или по времени трансформировалась в пространственную дисперсию (в первом случае с помощью монохроматора с удаленной щелью на выходе, во втором — с помощью стрейк-камеры); далее эта пространственная картина одновременно считывалась ОМА и накапливалась в различных каналах многоканального анализатора одновременно. Это позволяет существенно сократить время регистрации информации и исключить влияние нестабильностей режима работы установки, которое может быть значительным при длительном времени последовательной регистрации.
В настоящее время, для исследования катодолюминесценции в растровом электронном микроскопе, более широкое распространение получили системы с использованием эллиптического зеркала. На рисунке 12 показана схема исследования CL-излучения с помощью эллипсоидального зеркала.
Во время эксперимента, исследуемая область образца, лежит в первом фокусе эллипсоида (фокусное расстояние f1). Достоинства этой схемы в том, что образец остается видимым для других детекторов, что позволяет проводить одновременно дополнительные измерения (например, EDX-анализ), без внесения каких-либо изменений в образце или в данной системе. Ограничения возникают только из-за определенной геометрии камеры СЭМ.

Излучаемый свет от образца отражается от зеркала и попадает на второй фокус системы (фокусное расстояние f2), проходя через окно в стенке камеры СЭМ без дополнительных оптических компонентов. Здесь сфокусированный пучок света попадает в монохроматор через входную щель (модели SEM-CL), или непосредственнона детектор CL-системы (модели SEM-CL View). В качестве детекторов могут применяться фотоэлектронные умножители или ПЗС матрицы. Весь оптический путь защищен от постороннего света. Зеркало в данной системе является подвижным.
Для регистрации КЛ излучения, и построения цветного изображения объекта используется схема с параболическим зеркалом, показанная на рис. 13.

Идея заключается в том, что спектр катодолюминесценции разделяется фильтрами на три цветовых канала. Каждый канал чувствителен к "своему" спектральному интервалу - красный (R), зеленый (G) и синий (B). Модуляцией яркости и оттенков цветов, с помощью трех соответствующих видеосигналов - R, G и B, можно создать цветное изображение люминесцирующего микрообъекта. Цветовой контраст можно использовать как микро характеристику материала, для отображения дефектов, измерения их плотности, анализа люминесценции центров и состава, проверки динамики процессов кристаллизации и участия примесей в процессе роста кристаллов и пленок и т.д.
Существует сравнительно новый, и хорошо исследованный вид люминесценции, с яркостью, в тысячи раз превышающей яркость других видов люминесценции - импульсная катодолюминесценция (ИКЛ). ИКЛ возбуждается при облучении диэлектриков наносекундными пучками электронов с энергией 100-200 кэВ при потоке импульсной мощности пучка более 10 МВт/см2 .
ИКЛ характеризуется следующими особенностями:
-возбуждение люминесценции осуществляется в воздухе при комнатной температуре без специальной подготовки образцов;
-в образцах не возникают необратимые дефекты;
-люминесценция имеет стабильный информативный спектр;
-высокая чувствительность к содержанию примесных ионов;
-возможность проведения анализа чистоты и дефектного состава образцов.
Направления исследований и применения эффекта ИКЛ:
-неразрушающий люминесцентный анализ;
-исследование механизмов миграции энергии возбуждения и трансформации примесных ионов;
-разработка и изготовление настольных автоматизированных импульсных катодолюминесцентных спектрографов.
Примером технической реализации прибора на основе эффекта ИКЛ является спектроанализатор «КЛАВИ». В кристаллах, стекле, керамике, порошке и жидкости люминесценция возбуждается электронным пучком длительностью 1,5 нс с энергией электронов 140-150 кэВ и током 0,3 кА. Область регистрируемого спектра люминесценции – 360 - 850 нм. Прибор отличается компактностью и малым уровнем электромагнитных помех, что делает возможным его интеграцию с комплексом компьютерной обработки спектров, оперативное развертывание и использование в нестационарных условиях.
4. Информативность сигнала катодолюминесценции
Иногда спектральные изменения КЛ по тем или иным причинам бывают столь незначительными, что определить их по самим спектрам не удается. В другом случае, области образца, испускающие КЛ различного спектрального состава, бывают случайно распределенными по образцу и неразличимы ни в интегральной КЛ, ни в других режимах РЭМ. В этих случаях полезно использовать аналог обычной флуоресцентной световой микроскопии — режим цветной КЛ в РЭМ, регистрируя непосредственное цветное КЛ изображение, на котором можно различать ничтожно малые изменения в спектре. Этот метод можно использовать и для фазового анализа. Высокая чувствительность человеческого глаза к изменению цветности может быть использована также для повышения информативности любого изображения путем цветокодирования.
К характеристикам сигнала КЛ, которые несут полезную информацию об объекте, в основном относятся полная интенсивность КЛ-излучения, так называемая интегральная интенсивность и спектральный состав сигнала КЛ. Рассмотрим примеры получаемой информации при регистрации этих характеристик.
4.1 Интенсивность сигнала интегральной катодолюминесценции
Это наиболее просто регистрируемая характеристика сигнала КЛ. Изображение в этом случае представляет собой не что иное, как карту распределения по поверхности объекта темпа фотонной эмиссии, причины изменения которого при переходе с одного места объекта на другое могут быть различными.
Интенсивность КЛ-излучения зависит от нескольких параметров, каждый из которых может иметь неоднородное распределение по поверхности объекта.
Например, наличие на поверхности металлических контактов приводит к изменению степени потерь энергии электронами зонда непосредственно в основном материале объекта и соответственно к изменению люминесцентных характеристик по поверхности объекта. Наличие пленок загрязнений или вариации толщины диэлектрических покрытий могут приводить к вариациям степени отражения света от границы объект—вакуум при его выходе из объекта. Имеется большое число факторов, влияющих на соотношение эффективности каналов излучательной и безызлучательной рекомбинации в различных местах объекта, что сказывается на локальных люминесцентных характеристиках. К ним относятся, например, тип и концентрация легирующей примеси и наличие дефектов структуры. Последние чаще всего проявляют себя как центры безызлучательной рекомбинации и выглядят на изображении в виде темных пятен.
4.2 Спектральный состав сигнала катодолюминесценции
Спектр КЛ-излучения несет информацию о механизмах излучательной рекомбинации, которые имеют место в данной области объекта. Выделяя с помощью монохроматора тот или иной участок спектра, соответствующий определенному механизму излучательной рекомбинации, и используя этот сигнал для построения изображения, получают карту распределения данного рекомбинационного механизма по поверхности объекта. Такая картина будет представлять собой карту распределения отдельных фаз по поверхности объекта, если каждой фазе соответствует КЛ-эмиссия в определенном участке спектра. Такой режим можно использовать для неразрушающего контроля многослойных структур, если каждый слой характеризуется своим диапазоном длин волн КЛ-излучения. При наличии более чем двух фаз наглядным является цветное представление изображения, например методом цветной КЛ, при которой также легко заметить взаимное проникновение фаз одной в другую.
Внесенные деформации могут приводить к появлению темных точек на изображении из-за появления центров безызлучательной рекомбинации, связанных со структурными дефектами, а также, образованию новых излучательных центров, связанных с перераспределением в деформационном поле атомов примесей.
Успехи методов эпитаксиального выращивания привели к созданию специальных высокосовершенных гетероструктур, таких, как структуры с квантовыми ямами, в которых чередуются слои полупроводниковых материалов с разной шириной запрещенной зоны и где можно создать условия для возникновения квантоворазмерного эффекта. Квантовая яма представляет собой тонкий слой узкозонного материала, помещенный между слоями широкозонного материала, и является дня носителей заряда двумерной структурой. В первом приближении энергетические положения электронов в квантовой яме могут быть рассчитаны с помощью квантовой механики. Важными люминесцентными свойствами таких ям являются, во-первых, сильная зависимость энергии эмитируемого фотона от толщины слоя ямы, во-вторых, поскольку в слое ямы удерживаются как электроны, так и дырки, там формируются экситоны с сильной связью, а так как экситоны имеют тенденцию рекомбинировать излучательно, то эффективность излучательной рекомбинации в слое ямы велика вплоть до комнатных температур. Насколько высока чувствительность излучения к изменению толщины слоя ямы, говорит тот факт, что изменение толщины слоя на высоту лишь одного монослоя смещает положение экситонного пика на несколько нанометров, что легко поддается измерению.


Поэтому предложено использовать экситон в квантовой яме для контроля нарушения границ слоя ямы. Таким образом, получая изображения в монохроматической КЛ, на границах раздела удалось обнаружить гигантские (в несколько нанометров) островки роста толщиной в один монослой (рис. 15).
В КЛ-режиме, меняя ускоряющее напряжение и наблюдая спектры, можно реализовать уникальную возможность метода и получать информацию об объекте в третьем измерении. Она незаменима при изучении ионно-имплантированных объектов, так как глубина проникновения в объект 1—20-кэВ электронов сравнима с глубиной проникновения 50—200-кэВ ионов, обычно используемых в полупроводниковой технологии. Исследования (рис. 16) подтвердили вторичный эффект вбивания имплантированных атомов, поскольку полоса люминесценции с энергией 1,2 эВ на вызванных ими дефектах наблюдалась с глубин на несколько сот нанометров больше проекции пробега имплантированных ионов на нормаль к поверхности (110 нм).
Получение спектров локальной КЛ при низких температурах открывает новые возможности анализа отдельных участков объекта. Действительно, за исключением полос излучения, соответствующих рекомбинациям зона-зона и свободного экситона, а также рекомбинации через локализованные состояния в запрещенной зоне, образованные дислокациями, все остальные полосы излучения обусловлены рекомбинацией с участием примесных атомов. Для каждого полупроводникового материала создаваемые примесями уровни в запрещенной зоне могут быть табулированы и, если переходы через эти уровни являются излучательными, по соответствующим им линиям в спектре излучения можно судить о наличии данной примеси в анализируемом объеме объекта, т.е. осуществлять качественный микроанализ, аналогичный рентгеноспектральному, но с чувствительностью на несколько порядков выше (предел обнаружения оценивается концентрацией 1014 см-3 и даже ниже). При использовании метода "цветной" катодолюминесценции этот предел может быть еще снижен за счет повышенной чувствительности глаза к вариациям цвета.
Что касается количественного КЛ-микроанализа, то в отличие от рентгеноспектрального, где количественные методы хорошо разработаны, здесь практически отсутствуют теоретические разработки и не найдены зависимости, связывающие концентрацию примеси, интенсивность КЛ-излучения и параметры зонной структуры. Существенное затруднение вызывает учет роли безызлучательной рекомбинации и контроль эффективного уровня возбуждения. Одним из возможных путей в этом направлении является сравнение интенсивности рассматриваемой линии с интенсивностью некоторой другой линии-репера, которая определяется временем жизни носителей. В качестве репера может служить (в условиях линейной рекомбинации) линия собственной люминесценции, а если это невозможно, то группа линий или полоса краевого излучения. Полоса в спектре, соответствующая межзонной рекомбинации, в некоторых случаях также может быть использована для определения состава, но уже самой матрицы. Одно из преимуществ использования для этого спектров локальной КЛ по сравнению с рентгеноспектральным анализом это возможность реализации более высокого пространственного разрешения за счет использования более низких ускоряющих напряжений.
Следует напомнить еще об одной уникальной возможности КЛ-метода, который позволяет исследовать кинетику процессов возгорания и гашения люминесценции. Знание времени жизни неравновесных носителей на различных уровнях очень важно с фундаментальной и прикладной точек зрения. Теоретически этот вопрос решить очень трудно из-за большого количества параметров. Локальная КЛ с временным разрешением сочетает преимущество электронно-зондового прибора в исследовании небольших объемов объекта с возможностью исследования процессов захвата при наблюдении за поведением отдельных линий и полос в спектре КЛ со временем.
полупроводник люминесценция легирующий излучение
Заключение
Методом локальной КЛ в настоящее время исследуются самые различные объекты: полупроводники, диэлектрики, металлы, полимерные и синтетические ткани и волокна, ракетное топливо, нитевидные монокристаллы и многие другие.
Методы локальной катодолюминесценции нашли широкое применение для исследования объектов различной природы, в том числе геологических и даже биологических. Так, в применимости к геологическим объектам методы локальной КЛ позволили выявить фазовый состав вулканического стекла, образцов почв, глин и лунного реголита. Имеется большой обзор по исследованиям геологических образцов методом локальной катодолюминесценции.
В данной работе была опущена тема использования КЛ-методики для исследования теологических и биологических объектов, поскольку они зачастую требуют специфических методик препарирования образцов непосредственно перед помещением их в микроскоп.
Что касается ближайших перспектив развития КЛ-микроскопии, то здесь, по-видимому, следует отметить следующее.
1.Переход от качественных методов к количественным. Это касается как определения значений отдельных электрофизических параметров объекта, так и концентрациилюминесцирующихпримесей.Учитывая,что чувствительность КЛ-анализа во много раз (по крайней мере,в105 раз) выше чувствительности локального рентгеноспектральногомикроанализа,КЛ-методика позволила бы контролировать реально используемые концентрации легирующих примесей в ряде полупроводников.
2.Расширение рабочего диапазона длин волн исследуемого КЛ-излучения в область ближнего ультрафиолетового и инфракрасного излучений. В последнем случае необходима разработка специальных фотоприемников с большой рабочей площадкой и повышенной чувствительностью.
Литература
1 . B.G. Yacobi, D.B. Holt. Cathodoluminescence Microscopy of Inorganic Solids New York. Springer. 1990.
2. Петров В. И. Соросовский образовательный журнал. 1997. №10. С.126-132.
3. Иванов С. Наноиндустрия. Низковольтная растровая электронная микроскопия для исследования наноматериалов. 2009. №4. с.66-70.
4. http://www.optec.zeiss.ru/electro/
5. http://www.gatan.com
6. http://www.emsystems.biz
7. http://www4.nau.edu/microanalysis/Microprobe-EM/Signal_Detection.html
8. http://www.geos.ed.ac.uk/facilities/sem/CL.html
9. http://spie.org/
Похожие рефераты:
Фотоэлектрические свойства нитрида алюминия
Фотоэлектромагнитный эффект и его применение в устройствах функциональной электроники
Химия, элементы таблицы Менделеева
Лекции по твердотельной электронике
Ответы к экзаменационным билетам по физике 11 класс (ответы к 29 билетам)
Владимира Иннокентьевича Бабецкого (3 семестр)
Билеты по физике за весь школьный курс