| Похожие рефераты | Скачать .docx |
Реферат: Кристаллы в природе
Содержание
ВВЕДЕНИЕ 3
Тепловые и механические свойства твёрдых тел
I . Симметрия кристаллов
1.1 Как растут кристаллы 5
1.2 Идеальная форма кристаллов 7
1.3 Закон постоянства углов 7
1.4 О симметрии 8
1.5 Симметрия кристаллов 9
1.6 Пространственная решётка 10
1.7 Экспериментальное исследование строение кристаллов 11
II . Силы взаимодействия и строение кристаллов
2.1 Природа сил связи в кристаллах 16
2.2 Структура кристаллов 17
2.3 Структура атомных кристаллов 18
2.4 Полиморфизм 19
2.5 Энергия связи молекул в кристалле 19
2.6 Поверхностная энергия кристалл 21
III . Тепловые свойства твёрдых тел 23
IV . Механические свойства твёрдых тел
4.1 Деформация и механические свойства материалов 29
4.3 Теоретическая оценка характеристик механических свойств
твёрдого тела и сравнение её с результатами эксперимента 30
4.4 Точечные дефекты и причины их образования 31
4.5 Линейные дефекты (дислокации) 32
4.6 Экспериментальные методы изучения дефектов кристаллов 33
4.7 Влияние дислокаций и других дефектов на механические свойства материалов и на процесс деформирования 34
4.8 Повышения прочности материалов 36
Электрические и магнитные свойства твёрдых тел
V . Электрические свойства твёрдых тел
5.1 Классическая электронная теория электропроводности металлов 36
5.2 Диэлектрики 37
5.3 Квантование энергии электронов в атоме 39
5.4 Элементы зонной теории кристаллов 41
5.5 Распределение электронов по энергиям в твёрдом теле 42
5.6 Электропроводность твёрдых тел на основе зонной теории 44
5.7 Электропроводность полупроводников 45
5.8 Контактные явления 47
5.9 Термоэлектрические явления 49
5.10 Зависимость сопротивления контакта от внешнего напряжения 51
5.11 p-n-p-переход. Транзисторы 54
VI . Магнитные свойства веществ
6.1 Элементарные носители магнетизма 56
6.2 Орбитальный и спиновый магнитные моменты электрона 57
6.3 Классификация тел по магнитным свойствам 58
6.4 Диамагнетики. Влияние магнитного поля на орбитальное движение электронов 59
6.5 Парамагнетизм 60
6.6 Ферромагнетизм. Элементарные носители ферромагнетизма 61
6.7 Ферромагнетизм и кристаллическая решётка. Доменная структура ферромагнетиков 62
6.8 Антиферромагнетизм и ферримагнетизм (ферриты) 63
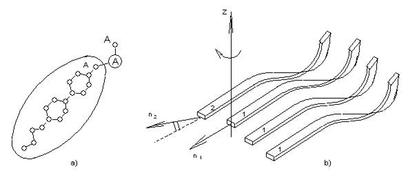
VII Жидкие кристаллы
7.1 Нематическая жидкость 65
7.2 Холестерическая жидкость 68
7.3 Жидкие кристаллы-растворы 70
7.4 Смектическая жидкость 72
7.5 Эффект Фледерикса 73
7.6 Избирательное отражение света холестериком 77
7.7 Оптические свойства 78
VII Кристаллы в жизни 79
VIII Экспериментальная часть 81
Литература 83
ВВЕДЕНИЕ
Одним из современных основных твердых конструкционных материалов является сталь. Много ли стали потребляет в год один человек? Если посмотреть вокруг себя, то сначала может показаться, что не так уж и много: вилка и нож , гвозди и шурупы, дверные ручки и замки. Но для полной оценки потребления необходимо вспомнить о велосипедах и автомашинах, о трубах водопровода и газопровода, рельс железных дорог и вагонах, станках на фабриках и заводах, о линиях электропередач и о многом - многом другом. Общая цифра, определяющая потребление стали в нашей стране на одного человека, оказывается довольно внушительной - примерно 0,5 т. в год. При таком уровне потребления человек за 70 лет жизни использует около 35 т. стали. Это количество стали примерно в 500 раз превышает массу самого человека!
Кристаллы возникают, как продукты жизнедеятельности организмов. В морской воде растворены различные соли. Многие морские животные строят свои раковины и скелеты из кристаллов углекислого кальция - арагонита . Кристалл обычно служит символом неживой природы. Однако грань между живым и неживым установить очень трудно, и понятие «кристалл» и «жизнь» не являются взаимоисключающими. Кристаллы и живой организм представляют собой примеры осуществления крайних возможностей в природе. В кристалле неизменными остаются не только атомы и молекулы, но также их взаимное расположение в пространстве. В живом организме не только не существуют сколько-нибудь постоянной структуры в расположении атомов и молекул, но ни на одно мгновение не остаётся неизменным его химический состав. В процессе жизнедеятельности организма одни химические соединения разлагаются на более простые, другие сложные соединения синтезируются из простых. Но при всех химических процессах, протекающих в живом организме, этот организм остаётся самим собой в течение десятков лет! Более того, потомки каждого живого организма являются удивительно близкой его копией! Следовательно, в клетках любого живого или растения что-то постоянное, неизменное, способное управлять химическими процессами, протекающими в них.
Такими носителями «программы» процессов, протекающих в живой клетке, оказались молекулы дезоксирибонуклеиновая кислота (ДНК). В клетках человеческого организма одна такая молекула имеет несколько сантиметров. Молекулы укладываются внутри клеток. Молекулы ДНК также несут в себе полную информацию о строении и развитии всего живого организма из одной только клетки. Диаметр ДНК 2*10-9 м. Такие молекулы с точки зрения физики рассматриваются как особый вид твёрдого тела - одномерные апериодические кристаллы. Следовательно, кристалл - это не только символ неживой природы. Но и основа жизни на Земле.
Структура жидких кристаллов - растворов имеет огромное значение для жизнедеятельности организма, например для циркуляции крови, переноса ею кислорода, функционирование клеток мозга, для работы разнообразных клеточных мембран. Дефекты структур мембраны приводят к заболеванию организма. Образование холестерических и тем более жидких смектических кристаллов в крови вызывает сердечно-сосудистые заболевание. При неблагоприятной концентрации различных компонентов в желчи образуются сначала не полностью твёрдые кристаллы, а затем и «камни».
Природные кристаллы всегда возбуждали любопытство у людей. Их цвет, блеск и форма затрагивали человеческое чувство прекрасного, и люди украшали ими себя и жилище. С давних пор с кристаллами были связаны суеверия; как амулеты, они должны были не только ограждать своих владельцев от злых духов, но и наделять их сверхъестественными способностями. Позднее, когда те же самые минералы стали разрезать и полировать, как драгоценные камни, многие суеверия сохранились в талисманах «на счастье» и «своих камнях», соответствующих месяцу рождения. Все драгоценные природные камни, кроме опала, являются кристаллическими, и многие из них, такие, как алмаз, рубин, сапфир и изумруд, попадаются в виде прекрасно ограненных кристаллов. Украшения из кристаллов сейчас столь же популярны, как и во время неолита.
Одно из новых научно – технических направлений, сформировавшихся на наших глазах, - космическое материаловедение: получение новых веществ и материалов и улучшение их веществ в невесомости.
Наибольший интерес с точки зрения рентабельности производства в космосе представляют те вещества и материалы, к которым предъявляются повышенные требования в отношении их структурного совершенства и однородности.
Особое место среди них занимают монокристаллы полупроводников, получаемые обычно в наземных условиях кристаллизацией из расплавов в специальных высокотемпературных печах, после переплавка этих кристаллов осуществляется в условиях космоса.
Учеными обсуждалась ситуация кристаллизация звезд называемых белыми карликами. Теория эволюции звезд предсказывает, что когда белый карлик был молодым, в его недрах шли ядерные реакции, и он был довольно – таки горячим. После того как ядерные реакции кончились, температура в звезде могла быть еще около 107 К, при достаточно высоких температурах карлик мог и не быть кристаллическим. По мере его остывания должна пройти кристаллизация. В кристаллизующейся звезде внутренние области все время остаются горячее наружных, поэтому кристаллическая структура – «корка» - возникает сначала именно снаружи, а уже потом «прорастает» в глубь карлика. При кристаллизации выделяется энергия.
Тепловые и механические свойства твёрдых тел
I . Симметрия кристаллов
1.1 Как растут кристаллы.
Крупные одиночные кристаллы, имеющие свою правильную форму, в природе встречаются очень редко. Но такой кристалл можно вырастить в искусственных условиях.
Кристаллизация может происходить из раствора, расплава, а также из газообразного состояния вещества.
Рассмотрим кристаллизацию из расплава.
Для того чтобы вырастить один монокристалл, применяется следующий способ. Тигель с расплавом медленно опускается сквозь отверстие в вертикальной трубчатой печи. Кристалл зарождается на дне тигеля, так как оно раньше попадает в область более низких температур, а затем постепенно разрастается по всему объёму расплава. Дно тигеля специально делают узким, заострённым на конус, чтобы в нём мог расположиться только один кристаллический зародыш (рис.1).

рис. 1 рис. 2
Этот способ часто применяется для выращивания кристаллов цинка, серебра, алюминия, меди и других металлов, а также хлористого натрия, бромистого калия, фтористого лития и других солей. За сутки можно вырастить кристалл каменной соли массой порядка килограмма.
Второй способ: Тончайший порошок окиси алюминия из зёрен размером 2-100 мкм высыпается тонкой струёй из бункера, проходит через кислородно-водородное пламя, плавится и в виде капель попадает на стержень из тугоплавкого материала. Температура стержня поддерживается несколько ниже температуры (2030). Капли окиси алюминия охлаждаются на нём и образуют корку спекшейся массы корунда. Часовой механизм медленно (10-20мм/ч) опускает стержень, и на нём постепенно вырастает неогранённый кристалл корунда (рис 2).
Теперь рассмотрим кристаллизацию из раствора.
В данном объёме той или иной жидкости при постоянной температуре и давлении может раствориться не больше определённого количества того или иного кристаллического вещества. Полученный при этом раствор называют насыщенным. Кристалл, помещённый в насыщенный раствор, не будет ни расти, ни растворяться в нём. Если повысить температуру жидкости, то растворимость её повышается, поэтому имеющееся количество растворённого вещества уже не будет насыщать раствор. Кристалл, помещённый в ненасыщенный раствор, начнёт в нём растворяться. Если насыщенный раствор охладить, он станет пересыщенным. Пересыщенные растворы могут сохраняться в замкнутых сосудах долгое время, не кристаллизуясь. Однако достаточно попасть в раствор малейшей частицы кристалла, как раствор немедленно начнёт кристаллизоваться.
Таким образом, пересыщение раствора является необходимым, но достаточным условием для кристаллизации. Чтобы кристаллизация началась, нужно внести в раствор затравку - небольшой кристалл растворённого вещества.
Из раствора кристалл выращивают обычно таким образом.
Вначале в воде растворяют достаточное количество кристаллического вещества. При этом раствор подогревают до тех пор, пока вещество полностью не растворится. Затем раствор медленно охлаждают, переводя его тем самым в пересыщенное состояние. В пересыщенный раствор подмешивают затравку.
Если, в течение всего времени кристаллизации, поддерживать температуру и плотность раствора одинаковыми во всём объёме, то в процессе роста кристалл примет правильную форму.
Сделаем опыт:
Закипятим 400г. воды и растворим в ней 400г. медного купороса. Горячий раствор отфильтровываем через ватку. И раствор остывает до комнатной температуры. В это время на проволоку наматываем нитку и приклеиваем маленький кристаллик. И опускаем нашу фигурку в пересыщенный раствор. Через сутки мы видим, что наша фигурка облеплена кристалликами.
Сделаем такой же раствор только из соли: 1 кг соли на 500л воды и опустим полиэтиленовую ёлку. Увидим, что вся ёлка похожа на осыпанную снегом ель.
На форму кристалла, получаемого из раствора, влияют многие факторы: конвекционные потоки жидкости, степень пресыщения жидкости, наличие примесей и т.д.
Степень переохлаждения раствора значительно изменяет форму кристаллов. В сильно переохлаждённых жидкостях кристаллы растут всегда в виде причудливой совокупности длинных игл.
Кристаллы образуются также непосредственно из пара или газа . При охлаждении газа электрические силы притяжения объединяют атомы или молекулы в кристаллическое твердое вещество. Так образуются снежинки; воздух, содержащий влагу, охлаждается, и прямо из него вырастают снежинки той или иной формы.
Один из экспонатов уникальной коллекции крупных кристаллов, приобретенной в Бразилии французским национальным музеем естественной истории.(рис. в конце роботы).
Условия образования гигантских кристаллов и их происхождения до сих пор не находят достаточно полного объяснения.
Удивительно уже и то, что крупные кристаллизации всегда сконцентрированы в особых формациях – в так называемых пегматитовых жилах.
В точном определении пегматиты - разнозернистые, главным образом крупнозернистые породы магматического происхождения. Пегматиты характеризуются очень разнообразным и сложным минеральным составом, включающим наряду с минералами общими с материнской магматической породой (кварц, полевой шпат, слюда) также редкие и рассеянные элементы (литий, бериллий, цезий, ниобий, тантал, рубидий и другие). Пегматитовые породы - источник многих полезных ископаемых.
В особых условиях кристаллизации расплавленной магмы, когда застывание происходило на умеренных глубинах, достаточно медленно и в спокойной обстановке, образовывались пегматитовые жилы, которые содержат полости, благоприятные для формирования крупных кристаллов. Вот в этих-то пегматитах и можно обнаружить кристаллы многих драгоценных минералов: бериллы, самые разнообразные гранаты, сподумены, турмалины, эвклазы, топазы.
Огромная величина кристаллов – самая поразительная черта пегматитовых жил. Здесь встречаются поистине кристаллы-гиганты. Так, кристалл дымчатого горного хрусталя, представленный во французской коллекции, весит 4050 килограммов. Крупнейшим кристаллом мира считается найденный на Мадагаскаре кристалл берилла массой 380 тонн, длинной 18 метров и 3,5 метра в поперечнике.
1.2 Идеальная форма кристаллов
Форму, которую принимает монокристалл тогда, когда при его росте устранены все случайные факторы, называют идеальной.
Идеальная форма кристалла имеет вид многогранника. Такой кристалл ограничен плоскими гранями, прямыми рёбрами и обладает симметрией. Как и всякий многогранник, кристалл имеет некоторое число граней р , рёбер r , вершин е, причём эти числа связаны между собой соотношением р +е =r +2. В форме правильных многогранников кристаллизуется сравнительно небольшое число кристаллов. В форме куба кристаллизуется поваренная соль, сернистый цинк, в форме октаэдров – алмаз, в форме ромбического додекаэдра – гранат.
1.3. Закон постоянства углов - основной закон кристаллографии
Кристаллы одного и того же вещества могут иметь весьма разнообразную форму. Форма кристалла, как указывалось выше, зависит от условия кристаллизации. Цвет не является характерным признаком кристаллов данного вещества, но он очень сильно зависит от примесей. Однако кристаллографы установили:
В кристаллах одного вещества углы между соответственными гранями всегда одинаковы [закон постоянства углов].
Грани могут отличаться между собой по форме и всё-таки считаться равными, если они обладают одинаковыми физическими и химическими свойствами.
Закон постоянства углов утверждает, что двугранный угол, образованный гранями а и b (рис3) в различных кристаллах данного вещества, будет один и тот же. Соответственно во всех кристаллах данного вещества будут равны между собой и двугранные углы, образованные гранями а и с , b и с .

рис. 3
1.4. О симметрии
С явлением симметрии мы часто встречаемся в окружающей жизни.
Если тело можно мысленно пересечь плоскостью так, что каждой точке а, тела с одной стороны плоскости, будет соответствовать точка b , лежащая по другую сторону плоскости, притом так, что прямая аb , соединяющая эти две точки, перпендикулярна плоскости и делится этой плоскостью пополам, то это тело обладает зеркальной симметрией. Сама плоскость называется в этом случае плоскостью симметрии.
Кроме зеркальной симметрии, тела могут обладать ещё поворотной симметрией . Тело обладает поворотной симметрией, если при повороте на соответствующий угол все части фигуры совмещаются друг с другом. Ось, вокруг которой происходит вращение тела, называют осью симметрии. Смотря по тому, сколько раз совместится фигура сама с собой при полном обороте вокруг оси, ось симметрии имеет различный порядок (1, 2, 3 и т.д.).
Тела могут обладать ещё центром симметрии . Центр симметрии - точка в середине тела, относительно которой любая точка тела имеет другую соответствующую её точку, лежащую на таком же расстоянии от центра в противоположном направлении.
1.5. Симметрия кристаллов
Идеальные формы кристаллов симметричны. По выражению известного русского кристаллографа Е.С.Федерова (1853-1919), «кристаллы блещут симметрией».
В кристаллах можно найти различные элементы симметрии: плоскость симметрии, ось симметрии, центр симметрии.
Рассмотрим симметрию некоторых кристаллических форм. Кристаллы в форме куба (NaCl, KCl и др.) имеют девять плоскостей симметрии, три из которых проходят параллельно граням куба, а шесть по диагоналям. Кроме того, куб имеет три оси симметрии 4-ого порядка, четыре оси 3-его порядка и шесть осей 2-го порядка (рис 4)

рис. 4
Кроме того, он имеет центр симметрии. Всего в кубе 1+9+3+4+6=23 элемента симметрии. У кристаллов медного купороса имеется лишь центр симметрии, других элементов у них нет.
В 1867г. впервые со всей очевидностью русский инженер и кристаллограф А.В. Гадолин доказал, что кристаллы могут обладать лишь 32 видами симметрии.
1.6. Пространственная решётка
Симметрия, закон постоянства углов и ряд других свойств кристаллов привели кристаллографов к догадке о закономерном расположении частиц, составляющих кристалл. Они стали представлять, что частицы в кристалле расположены так, что центры тяжести их образуют правильную пространственную решётку. Например, кристалл поваренной соли NaCl состоит из совокупности большого числа ионов Na+ и Cl- , определённым обзором расположенных друг относительно друга. Если изобразить каждый из ионов точкой и соединить их между собой, то можно получить геометрический образ, рисующий внутреннюю структуру идеального кристалла поверенной соли, его пространственную решётку (рис.5). Пространственные решётки различных кристаллов различны.
рис.5

а б в г
рис. 6
Понятие о пространственной решётке кристалла оказалось очень плодотворным, оно позволило объяснить ряд свойств кристалла.
Например, что кристалл, имеющий идеальную форму, ограничен плоскими гранями и прямыми рёбрами.
Этот факт можно объяснить тем, что плоскости и рёбра идеального кристалла всегда проходят через узлы пространственной решётки.
Пространственная решётка позволяет объяснить и основной закон кристаллографии - закон постоянства углов.
Однако плодотворность представления внутреннего строения кристалла в виде пространственной решётки наиболее наглядно проявляется в объяснении симметрии кристаллов. Всё разнообразие видов симметрии кристаллов может быть доказано на основе симметрии пространственных решёток. Симметрия кристаллов является следствием симметрии пространственной решётки.
Доказательство этого факта имело значения для науки. Работы Е.С. Федорова превратили кристаллографию в стройную теоретическую науку, возвысив её в конце XIX века. Над всеми науками о строении твёрдых тел.
1.7. Экспериментальные исследования строения кристаллов
С древнейших времён кристаллы поражали человеческое воображение своим исключительным геометрическим совершенством. Наши предки видели в них творения ангелов или подземных духов. Первой попыткой научного объяснения формы кристаллов считается произведение Иоганна Кеплера «О шестиугольных снежинках» (1611). Кеплер высказывал предположение, что форма снежинок (кристалликов льда) есть следствие особых расположений составляющих их частиц. Спустя три века было окончательно установлено, что специфические особенности кристаллов связаны с особыми расположениями атомов в пространстве, которые аналогичны узорам в калейдоскопах. Все различные законы таких расположений были выведены в 1891 году нашим соотечественником Е.С.Федеровым (1853-1919). Правильные формы кристаллических многогранников легко объясняются в рамках этих законов. И сами эти законы настолько красивы, что не раз служили основой для произведений искусства.
С геометрической точки зрения расположения атомов в пространстве представляется системой точек, соответствующих их центрам. Поэтому задачу можно поставить так: требуется найти геометрические условия, выделяющие системы точек с «кристаллической структурой», причем эти условия должны быть физически оправданы. Последнее весьма существенно, коль скоро мы хотим выявить причины упорядоченного расположения атомов в кристаллах.
Простейшим геометрическим свойством систем точек, соответствующих центром атомов в любых атомных совокупностях является дискретность.
Условия дискретности . Расстояние между любыми двумя точками системы больше некоторой фиксированной величины r . Физическая очевидность этого условия не вызывает сомнений.
Стремление атомов равномерно расположиться в пространстве, можно отразить следующим ограничением на соответствующую систему точек:
Условия покрытия . Расстояние от любой точки пространства до ближайшей к ней точки системы меньше некоторой фиксированной величины R.
Название этого условия объясняется тем, что если система точек ему удовлетворяет, то шары радиуса R с центрами в этих точках покрывают всё пространства.
Условия дискретности не позволяют точкам системы располагаться слишком густо, а условия покрытия – слишком редко. Совместно эти два требования обеспечивают примерно равномерное расположение точек в пространстве. Системы точек, удовлетворяющие этим двум условиям одновременно, называются системами Делона , в память о Б.Н.Делоне (1890-1980), впервые выделившем эти системы.
Симметрия кристаллов специфична. Например, среди кристаллических многогранников, имеющих оси симметрии 5-го порядка (то есть «самосовмещающихся» при поворотах на угол 2π/5 около этих осей). Как объяснить такую привередливость кристаллических форм?
В1783 году французский аббат Р.Ж.Гаюи, минеролог по призванию, высказал предположение, что всякий кристалл составлен из параллельно расположенных равных частиц, смежных по целым граням. (рис.7)

рис. 7
В 1824 году ученик великого Гаусса, профессор физики во Фрайбурге Л.А.Зеебер для объяснения расширения кристаллов при нагревании предложил заменить многогранники Гаюи их центрами тяжестей. Такие системы точек были названы «решетками». Плоские сетки решётки, связанные преобразованиями симметрии, неотличимы друг от друга. Поэтому при росте кристалла соответствующие им грани растут одинаково. Так симметрия кристалла повторяет симметрию решётки. В том же году немецкий учёный А.Зибер предложил составлять кристаллы из регулярно расположенных маленьких сфер, взаимодействующих подобно атомам. Плотная упаковка таких сфер соответствует минимуму потенциальной энергии их взаимодействия.
Но не все известные о кристаллах факты укладывались в рамки решётчатой модели. Один из таких фактов - это существование нецентросимметричных кристаллических многогранников, таких как кристалла драгоценного камня турмалина.
Известный немецкий кристаллограф Л.Зонке в 1879 году высказал предположение, что частицы в кристаллах располагаются по правильным системам.
Представление о пространственной решётке кристалла оставалось гипотезой до тех пор, пока в 1912 г. не были получены первые экспериментальные данные, полностью подтверждающего её.
Подтверждение правильности представления о внутреннем строении кристаллов стало возможным после открытия в 1895г. немецким физиком В.Рентгеном (1854-1923) лучей, которые были названы им Х-лучами и которые теперь все называют рентгеновскими.
В 1912г. другой немецкий физик Макс Лауэ (1879-1960) предложил использовать рентгеновские лучи для исследования внутреннего строения кристаллов. Схема метода такова. Узкий пучок рентгеновских лучей пропускают через монокристалл. За монокристаллом расположена фотопластинка, завернутая в чёрную бумагу. После проявления фотопластинки на ней кроме центрального пятна-следа рентгеновских лучей, прошедших через монокристалл без отклонения, видны другие, определённым образом расположенные пятна, которые получены в результате рассеяния лучей от атомных плоскостей кристалла. Даже не умея расшифровать рентгенограмму, мы по её виду можем догадаться о том, что в расположении частиц в кристалле есть определённая закономерность. Специалист по этой рентгенограмме легко определит порядок симметрии той оси в кристалле, которая расположена параллельно рентгеновским лучам, и рассчитает ряд параметров, характеризующих его пространственную решётку.
Позднее были разработаны другие методы исследования кристаллов с помощью рентгеновских лучей.
Остановимся ещё на одном из них - порошковом методе. Пучок монохроматических рентгеновских лучей падает на образец из спрессованного поликристаллического вещества и рассевается атомными плоскостями кристалла в виде системы поверхностей конусов, осью которых является направление первичного пучка. Плёнка располагается концентрично образцу, и на ней конусы отражённых пучков оставляют след в виде серии концентричных колец. По расстоянию между этими линиями можно вычислить межплоскостные расстояния в кристалле и определить вид элементарной его ячейки.
Эти исследования блестяще подтвердили структуры пространственных решёток кристалла, предсказанные Е.С.Федоровым ещё в 1890г. на основе законов симметрии. Е.С.Федоров имел счастье дожить до триумфа своей теории.
Последние десятилетия для исследования кристаллов наряду с рентгеновскими лучами используют пучки электронов и нейтронов. Электронный пучок рассеивается атомами гораздо сильнее, чем рентгеновские лучи. Вследствие этого электронографический метод чувствительнее. Однако, по этой же причине электроны могут проникать в вещество лишь на очень малое расстояние и поэтому электронографический метод используется, прежде всего, для исследования структур тонких плёнок. На рисунке 8 и 9 приведены электронограммы тонких листов золота и меди. Большую роль в науке кристаллографии сыграл В.И.Вернадский. Это русский ученый, который родился в Петербурге в 1863г. При изучении В.И.Вернадским «мертвого вещества», кристаллов и минералов, он сумел уловить цельность, но неоднородность мира (пространства). Он исходил не из общих рассуждений, а осмысливал конкретные научные данные кристаллографии. В.И.Вернадский считал, что кристалл – это особая активная среда, особая форма пространства. Другими словами: нет однородного пространства мира (всеобщего эфира), а есть множество его форм, состояний. Кристалл – одно из состояний, для которого характерна неоднородность физических свойств в разных направлениях.
Точно также В.И.Вернадский пытался увидеть историческую роль минералов.

рис. 8 рис. 9
Он считал минералы остатками тех химических реакций, которые происходили в разных точках земного шара; эти реакции идут согласно известным законам, и которые, скорее всего, находятся в тесной связи с общими изменениями, какие претерпевает Земля как планета. В.И.Вернадский пытался связать эти разные фазисы Земли с общими законами небесной механики. На основании этих скупых данных в виде осколков различных элементов он пробует понять развитие планеты и космоса.
Вакуум при жизни В.И.Вернадского понимался преимущественно как отсутствие в данном объеме каких-либо частиц (атомов, молекул, ионов газа). Однако В.И.Вернадский считал, что вакуум не есть пустота с температурой абсолютного нуля, а есть активная область максимальной энергии нам доступного Космоса. То есть, пустоты нет. Под эти размышления подходит гипотеза, предполагающая самопроизвольное рождение атомов в космическом вакууме. Она хорошо объясняет некоторые природные явления, но требует отказа от закона сохранения энергии (точнее, ничтожных по величине отклонений от закона). Однако никто не мешает предположить, что эта энергия, сосредоточенная в вакууме, имеет принципиально другую природу. С этих позиций очень своевременно звучат слова В.И.Вернадского: «Об этих пространствах с рассеянными атомами и молекулами правильнее мыслить не как о материальной пустоте «вакуума», но как о концентрации своеобразной энергии, в рассеянном виде содержащей колоссальные запасы материи и энергии...»
С начала XX века стало преобладать понятие о едином и неразделимом пространстве - времени. Но если пространство и время — части единого целого, то нельзя делать научные выводы о времени, не обращая внимания на пространство. Все особенности пространства отражаются так или иначе во времени. Наконец, возникает вопрос: охватывает ли пространство-время всю научную реальность? Есть ли явления вне пространства-времени? По мнению В.И.Вернадского, такими объектами могут быть кванты — мельчайшие неделимые порции энергии. Натуралист наблюдает реальные объекты, подвластные времени, изменяющиеся непременно, как ни медленно проходили бы подобные изменения. Эти превращения чаще всего не сводимы к механическому перемещению. Это «внутренние» преобразования, которые остаются вне внимания физиков, вырабатывающих свое представление о пространстве-времени на основе теории относительности. В.И.Вернадский придавал особое значение принципу единства пространства-времени. Геологические объекты обладают разнообразными свойствами, структурными особенностями. Одно из проявлений такой разнородности — различные, реальные кристаллические пространства. В их пределах по-разному организована материя (атомы, молекулы), по-разному проявляется симметрия. Реальное пространство планеты крайне неоднородно, мозаично... Такая формулировка по старинке предполагает разделение пространства и времени. А если научно доказано их единство, то следует говорить о мозаичности пространства - времени. Когда мы исследуем структуру различных видов реального пространства, как утверждает В.И.Вернадский, надо иметь в виду возможность структурных особенностей времени для каждого такого вида.
II Силы взаимодействия и строение кристаллов
2.1.Природа сил связи в кристаллах.
Различные типы кристаллов и возможное расположение узлов (точка, относительно которой атом (молекула) совершает колебания ) в пространственной решётке изучает кристаллография. По характеру сил, которые действуют между частицами, находящимися в узлах решётки кристалла, различают четыре типичные кристаллические структуры: ионную, атомную, молекулярную и металлическую.
ИОННАЯ кристаллическая структура характеризуется наличием положительных и отрицательных ионов в узлах решётки. Силами, которые удерживают ионы в узлах такой решётки, являются силы электрического притяжения и отталкивания между этими ионами.
Разноимённо заряжённые ионы в ионной решётке расположены ближе друг другу, чем одноимённо заряжённые, поэтому силы притяжения между ионами решётки преобладают над силами отталкивания. Этим и обуславливается значительная прочность кристаллов с ионной решёткой (рис10).

рис. 10
При плавлении веществ с ионной кристаллической решёткой из узлов решётки в расплав переходят ионы, которые становятся свободными носителями зарядов. Поэтому такие расплавы являются хорошими проводниками электрического тока.
АТОМНАЯ кристаллическая структура характеризуется наличием нейтральных атомов в узлах решётки, между которыми имеется ковалентная связь.
Современный уровень физики позволяет рассчитать вероятность пребывания электрона в то или иной области пространства, занятого атомом. Эту область пространства можно изобразить в виде электронного облака, которое гуще там, где электрон бывает чаще, т.е. где больше вероятность пребывания электрона (рис 11).

Электронные облака валентных электронов двух атомов, образующих молекулу с ковалентной связью, перекрываются, оба валентных электрона (по одному от каждого атома) обобществляются, т.е. принадлежат обоим атомам одновременно, и большую часть времени проводят между атомами, связывая их в молекулу (рис 12).Эта связь сильная.
МОЛЕКУЛЯРНАЯ кристаллическая структура отличается пространственной решёткой, в узлах которой находятся нейтральные молекулы вещества. Силами, удерживающими молекулы в узлах этой решётки, являются силы межмолекулярного взаимодействия. Эти силы слабые. Твёрдые вещества с молекулярной решёткой легко разрушаются при механическом воздействии и имеют низкую температуру плавления. Примерами веществ с молекулярной пространственной решёткой является нафталин, твёрдый азот и большинство органических соединений.
МЕТАЛЛИЧЕСКАЯ кристаллическая структура отличается наличием в узлах решётки положительно заряженных ионов металла. У атомов всех металлов валентные электроны, т.е. наиболее удалённые от ядра атома, очень слабо связаны с атомами. Электронные облака таких периферийных электронов перекрывают сразу много атомов в кристаллической решётке металла. Это означает, что валентные электроны в кристаллической решётке металла не могут принадлежать одному и даже двум атомам, а обобществляются сразу многими атомами. Такие электроны практически могут беспрепятственно двигаться между атомами.
Таким образом, каждый атом в твёрдом металле теряет свои периферийные электроны, и атомы превращаются в положительно заряженные ионы, а оторвавшиеся от них электроны движутся между ионами по всему объёму, занятому кристаллом.
Что же касается вандерваальсовой связи, то она всегда примешивается к ионно-ковалентной связи. Ведь хотя внутренние оболочки всех атомов всегда заполнены, вследствие движения электронов центр их отрицательного заряда может не совпадать с центром положительно заряжённого ядра.
2.2.Структура кристаллов
Для ионных, металлических и вандерваальсовых сил взаимодействия характерны их симметричность силы связи в молекулярных и металлических кристаллах.
Симметричный характер сил связи приводит к тому, что ионы оказываются плотно упакованными. Расположения частиц в таких кристаллах подобно плотной упаковки шаров в некотором объёме. Для того чтобы разобраться в структуре кристаллов, рассмотрим законы плотной упаковки шаров.
Остановимся на случае, когда все шары одинаковы. Первый слой шаров можно уложить плотно единственным образом так, как показано на рисунке 13. Каждый шар имеет при этом 6 соседей.

рис. 13
Шары второго слоя, для того чтобы они легли наиболее плотно, должно быть помещены в лунки первого слоя. Заполнить все лунки шарами того же самого размера нельзя, поэтому лунки заполняются через одну. Предположим, лунки отмеченные крестиком, остались пустыми, а лунки, отмеченные точками, заполнены шарами, очевидно, характер плотной упаковки не изменился бы, если бы шарами заполнили лунки, отмеченные крестиком.
Плотную упаковку из трёх слоёв можно сделать двумя различными способами. Действительно, чтобы получить плотнейшую упаковку, мы должны укладывать шары третьего слоя в лунки второго слоя. Однако шары третьего слоя при этом можно расположить либо так, что центры их будут лежать над лунками первого слоя, либо так, чтобы центры их лежали над центрами шаров первого слоя. Эти две трёхслойные постройки имеют одинаковую плотность упаковки, но структурно они отличаются друг от друга. Первой из них соответствует гранецентрированная кубическая элементарная ячейка, второй - гексанальная. При этом каждый атом, находящийся внутри упаковки, имеет 12 соседей.
2.3. Структура атомных кристаллов
Молекулярные, ионные и металлические кристаллы имеют плотноупакованные структуры вследствие того, что силы связи имеют симметричный характер. Кроме того, для этих сил не существует предельного числа атомов, на которые они могут действовать.
Ковалентные связи имеют совершенно другой характер. Они определяют число возможных «соседей» атома в кристалле и носят, кроме того, направленный характер. Например, атом углерода в кристалле может иметь только четырёх соседей, ибо он может образовывать только четыре ковалентные связи с окружающими его атомами. Кроме того, электронные облака валентных электронов имеют определённое расположение в пространстве; при «обобществлении» электронов электронные облака, частично перекрываясь, выстраиваются в цепочку и вынуждают атомы занять вполне определённое положение в пространстве. В результате каждый атом углерода оказывается в вершине правильного тетраэдра. Таким образом, структура атомных кристаллов не является плотноупакованной. Она определяется числом и видом ненасыщенных связей атомов.
2.4. Полиморфизм
Ни у кого не вызывает удивления тот факт, что разные вещества, имея различный химический состав, обладают весьма отличными друг от друга свойствами. Гораздо удивительнее то, что некоторые вещества, обладая, весьма различными свойствами, имеют одинаковый химический состав. Возьмём, например, олово. Это металл с характерным блеском, белого цвета, ковкий, обладающий, как и все металлы, хорошей электропроводностью и теплопроводностью. И рядом какое-то порошкообразное вещество серого цвета. Кажется, что между ними общего? А между тем химический анализ показывает, что этот порошок тоже олово.
Или алмаз - одно из самых твёрдых веществ, диэлектрик. Искусные руки ювелира превращают его в бриллиант, сверкающий драгоценный камень, играющий всеми своими гранями. Что общего у него с графитом - черным, легко расслаивающимся, электропроводным? А между тем химический анализ показывает, что графит, как и алмаз, представляет собой углерод в чистом виде.
Отличие алмаза от графита, серого олова от белого объясняется различием их кристаллических структур. У алмаза пространственная решётка объёмная, у графита - плоская, слоистая.

алмаз графит
Свойства веществ иметь две различных кристаллические структуры называются полиморфизмом.
Полиморфизм присущ практически все веществам. При одних условиях (температура и давления) энергетически выгодны одни структуры, при других - другие. Так, например, белое олово при низких температурах превращается в серое. Полиморфные превращения некоторых веществ возможны лишь при очень высоких давлениях.
2.5. Энергия связи молекул в кристалле
Рассмотрим взаимодействие двух частиц. На большом расстоянии частицы практически не взаимодействуют между собой. При сближении атомов появляются как силы притяжения между ними, так и силы отталкивания. Силы притяжения и силы отталкивания по-разному зависят от расстояния r между частицами. При уменьшении расстояния между частицами силы отталкивания возрастают быстрее, чем силы притяжения. На рисунке 16 линиями 1 и 2 изображена зависимость этих сил от расстояния между этими частицами. Силы притяжения действуют между разноимёнными зарядами и потому являются отрицательными, силы отталкивания действуют между одноимёнными зарядами и являются положительными. Линия 3 изображает зависимость результирующей этих сил от расстояния между частицами. результирующая сила взаимодействия вначале проявляет себя как сила притяжения. На расстоянии r0 , равном приблизительно сумме радиусов молекул, сила отталкивания равна силе притяжения, и результирующая сила становится равной нулю. При дальнейшем сближении молекул результирующая сила является силой отталкивания и возрастает с уменьшением расстояния очень быстро.
Зная зависимость характера сил связи от расстояния, можно установить зависимость потенциальной энергии взаимодействия частиц от расстояния. При бесконечно большом расстоянии между частицами потенциальная энергия равна нулю. При сближении частиц надо учитывать действующую между ними силу притяжения. Работа этой силы положительна, она влечёт за собой увеличение кинетической энергии частиц и уменьшение потенциальной энергии их взаимодействия. Так происходит до расстояния r = r0 . При дальнейшем уменьшении расстояния между частицами силы притяжения будут преобладать над силами отталкивания (рис14).

рис. 14 рис. 15
Силы отталкивания, действуя в направлении, противоположном движению частицы, совершают отрицательную работу, в результате чего потенциальная энергия взаимодействия возрастает, причём очень резко. В точке r = r0 потенциальная энергия имеет минимальное значение, а сила взаимодействия равна нулю.
Кривая потенциальной энергии взаимодействия двух частиц изображена на рисунке 15.
В кристалле все частицы находятся на таких расстояниях друг от друга, которые соответствуют минимуму их потенциальной энергии. Кроме того, частицы обладают кинетической энергией теплового движения. Для того чтобы разорвать силы связи между двумя частицами, надо совершить работу, равную U0 . величину U0 называют энергией связи двух частиц.
Знания энергии связи частиц позволяет объяснить, почему при одной и той же температуре одни вещества находятся в твёрдом, другие- в жидком, а третьи- в газообразном состоянии. Известно, что для одноатомных молекул энергия теплового движения Е=3/2RТ, где R- постоянная Больцмана; Т - абсолютная температура. Если при данной температуре энергия теплового движения гораздо больше энергии связи, вещество будет находиться в газообразном состоянии. Если же энергия теплового движения меньше энергии связи, то вещество находится в твёрдом состоянии. В жидком состоянии энергия связи и энергия теплового движения частиц имеют одинаковый порядок.
2.6. Поверхностная энергия кристалла
Частицы кристалла, находящиеся на его поверхности, обладают избыточной потенциальной энергией подобно тому, как ею обладают молекулы, находящиеся в поверхностном слое жидкости.
Избыток потенциальной энергии, которой обладают частицы поверхностного слоя кристалла, называют поверхностной энергией кристалла.
Коэффициент поверхностного натяжения кристаллов, имея величину порядка 10-5 дж/см2 , оказывается различным не только для разных кристаллов, но и для разных граней одного и того же кристалла.
Поверхностная энергия граней оказывает существенное влияние на форму, которую будет иметь кристалл при естественном своём образовании. Кристалл при своём росте принимает такую форму, при которой его поверхностная энергия имеет наименьшее назначение. Вследствие этого скорости роста граней пропорциональны поверхностным энергиям этих граней. Быстрорастущие грани кристалла в процессе роста постепенно исчезают (рис 16). В результате кристалл всегда оказывается ограниченным гранями с малой поверхностной энергией.
Этим и объясняется так называемой явление регенерации кристаллов. Если спилить вершины кристалла, а затем погрузить его в пересыщенный раствор, то кристалл будет расти так, что его искусственно созданные грани с большим значением коэффициентом поверхностного натяжения начнут расти быстрее других, и будут уничтожаться. В результате кристалл «восстановит» свою форму.

рис. 16
На поверхностную энергию кристалла значительное влияние оказывают адсорбционные плёнки (адсорбция - явление прилипания к поверхности твёрдого тела молекул других веществ). Поверхностно-активные вещества уменьшают поверхностную энергию кристалла, снижая его прочность. Это явление многосторонне используют и учитывают в промышленности. На токарных станках применяют для охлаждения водные эмульсии. Добавления поверхностно-активного вещества в эмульсию снижает прочность обрабатываемой детали, что позволяет увеличить скорость резания, снизить изнашиваемость режущего инструмента и т.д. При разведке нефти порою приходится бурить в твёрдых горных породах нефтяные скважины длиной в несколько километров. Это требует особо прочных буров, но и они быстро выходят из строя. При нагнетании в скважину в качестве промывочной жидкости специально подобранных растворов поверхностно-активных веществ, процесс бурения заметно облегчает и резко повышает его экономичность.
Влияния поверхностно-активных веществ на прочность кристаллов открыто и изучено советским учённым П.А.Ребиндером и его учениками и носит эффект Ребиндера.
III. Тепловые свойства твёрдых тел
Все вещества в природе – и твёрдые, и жидкие, и газообразные - состоят из большого числа очень маленьких частиц: молекул и атомов, которые находятся в непрерывном хаотичном, или тепловом движении. Характер движения частиц вещества в различных агрегатных состояниях неодинаков. Объясняется это тем, что силы взаимодействия между частицами зависят от расстояний между ними. Несмотря на то, что природа и величины сил взаимодействия между частицами для разных агрегатных состояний различны, характер изменения этих сил с расстоянием одинаков для всех веществ. Из графика (рис16) видно, что силы взаимодействия быстро убывают с расстоянием и уже на расстоянии, равном 2-3 диаметрам атома, практически становятся равным нулю. Наиболее сильно частицы взаимодействуют с соседними частицами.
Взаимодействующие частицы обладают взаимной потенциальной энергией. Графиком потенциальной энергии (рис17) представляет собой так называемую «потенциальную яму». Наибольшую глубину эта «яма» имеет в положении равновесия. Это означает, что устойчивое положение равновесия взаимодействующих частиц соответствует минимальному значению потенциальной энергии, что вполне согласуется с общим принципом: система устойчива, если она обладает минимум энергии.
Потенциальная энергия в положении равновесия характеризует прочность связи частиц, поэтому её называют энергией связи. Эта величина показывает, какую работу нужно совершить, чтобы удалить частицы друг от друга на такое расстояние, на котором не проявляется их взаимодействие.
«Глубина» потенциальной «ямы» определяет возможность существования вещества в различных агрегатных состояниях. Как известно мерой кинетической энергии неупорядоченного теплового движения частиц служит величина RТ.
В твёрдом теле взаимодействующие частицы находятся сравнительно близко друг от друга 10-10 м. Для них минимальная потенциальная энергия взаимодействия много больше кинетической энергии теплового движения. Поэтому движения частиц твёрдого тела представляет собой беспорядочные колебания относительно положений равновесия - узлов кристаллической решётки. Если частица твёрдого тела смещается из положения равновесия, то силы стремятся вернуть частицу в исходное положение равновесие. Двигаясь в обратном порядке, частица по инерции проходит положения равновесия и вновь стремится вернуться в него под действием силы. Это движение частицы около положения равновесия будет повторяться многократно, она будет совершать колебательные движения с некоторой частотой. Кроме того, силы связи с разными соседними частицами могут быть различными. Поэтому за период частица совершит довольно сложное движение. Таким же будет колебание и остальных частиц решётки.
Волны, возникающие в кристалле, имеют определённую длину, которая зависит от размеров кристалла и его упругих свойств. Механизм распространения этих волн аналогичен механизму распространения звуковых волн, а скорость распространения совпадает со скоростью звука. Частота их может быть различной: от 102 до 1013 гц.
При абсолютном нуле движение частиц кристаллической решётки должно прекратится, поскольку при этой температуре отсутствует тепловое возбуждение. Однако противоречить законам квантовой механики, согласно которым частицы даже при абсолютном нуле не может находиться в покое. При этой температуре система частиц, составляющих кристаллическую решётку, будет иметь некоторое наименьшее значение энергии, называемой нулевой энергией.
Все тела при нагревании расширяются.
При повышении температуры увеличивается амплитуда колебаний атомов в узлах кристаллической решётки. Поскольку это увеличение амплитуды одинаково для всех атомов твёрдого тела, среднее расстояние между двумя соседними атомами не изменяются, и увеличение амплитуды колебаний при повышении температуры само по себе не ведёт к тепловому расширению.
Для выяснения природы теплового расширения обратимся к графику потенциальной энергии взаимодействия двух частиц твёрдого тела
(рис. 17).
Кривая потенциальной энергии асимметрична вблизи r0 , т.е. её форма отличается от параболы.

рис. 17
График зависимости потенциальной энергии от смещения в этом случае представляет собой параболу. В случае твёрдого тела вид кривой потенциальной энергии свидетельствуют о том, что силы, действующие между частицами, не являются квазиупругими. Именно этот факт и является причиной теплового расширения твёрдых тел. Отметим на графики потенциальной энергии значение полной энергии. Пусть полная энергия Е1 соответствует температуре Т1 , а полная энергия Е2 температуре Т2 , причём Т2 >Т1 .
При температуре Т1 частица будет отклоняться влево до точки А1 и в право до точки В1 . При этом среднее положение колеблющейся частицы не совпадает с r0 , а сместится вправо и примет значение r1 . при более высокой температуре Т2 частица будет отклоняться от А2 до В2 , а среднее положение примет значение r2 . Таким образом, при возрастании температуры увеличивается расстояние между узлами кристаллической решётки, т.е. происходит тепловое расширение тела.
Известно, что при нагревании твёрдого тела от 0°С до температуры t°С его удлинение пропорционально первоначальной длине и температуре:
∆l=αl0 ∆t.
Изменения объёма тела также пропорционально его первоначальному объёму и температуре:
∆V=βV0∆t.
Приведённые формы справедливы лишь для поликристаллических тел. Для поликристаллов и для монокристаллов, обладающих кубической симметрией, β=3α.
Монокристаллы обладают анизотропией теплового расширения.
Так, если нагревать шар из монокристалла, то он превратится в эллипсоид. Анизотропия свойств монокристаллов и теплового расширения является следствием того, что частицы, образующие кристалл, располагаются в правильном порядке. При таком их расположении частицы вдоль различных направлений размещаются с разной плотностью. Если через узлы решётки провести плоскости, то густота расположения частиц на этих плоскостях различна. Поэтому силы взаимодействия и среднее расстояния между частицами монокристалла могут оказаться различными в разных направлениях, а это приводит к анизотропии.
Однако небольшое их расширение ведёт к возникновению в теле значительных напряжений.
Теплоёмкость тела показывает, на какую величину изменяется его внутренняя энергия при изменении температуры на один градус.
С=∆Е/∆Т,
где ∆Е- изменения внутренней энергии тела при изменении температуры на ∆Т .
Внутренняя энергия неметаллических кристаллических тел складывается из кинетической энергии колебательного движения частиц, находящихся в узлах решётки, и энергии их взаимодействия.
Рассмотрим твёрдое тело, имеющее одноатомную решётку, и выясним, от каких величин зависит его теплоёмкость.
Если предположить, что смещение атомов решётки относительно положений равновесия невелико, то можно считать, что они совершают колебание под действием квазиупругой силы F=-kx. Тогда потенциальная энергия смещённого атома определится по формуле U=kx2 /2, кинетическая - по формуле Ек =mV2 x /2, а полная энергия E=U+Ek =kx2 /2+mv2 x /2.
При колебаниях атома происходит непрерывный переход его кинетической энергии в потенциальную, и наоборот. При этом за время, равное периоду колебаний, потенциальная энергия дважды будет иметь максимальное значение и дважды нулевое. То же самое можно сказать и о кинетической энергии. Её значение за период два раза будет равно нулю и дважды – равно максимальному значению. Поэтому можно утверждать, что при данной температуре средняя потенциальная энергия и средняя кинетическая энергия колебательного движения атома кристаллической решётки равны друг другу:
mv2 x /2=kx2 /2.
Полная энергия колебательного движения атома в узлах кристаллической решётки равна полной энергии, приходящейся на одну степень свободы, умноженной на число степеней свободы
E=3kT.
Для внутренней энергии одного моля вещества:
Eμ =EN0 ,
где N0 -постоянная Авогадро.
Полученное равенство означает, что молярная теплоёмкость всех одноатомных кристаллических твёрдых тел приблизительно равна 25дж/(моль*град). Экспериментально это соотношение установлено в 1819 году. Оно носит названия закона Дюлонга и Пти. Это справедливо для неметаллических решёток.
В металлах содержится большое число свободных электронов. Элементы совершают беспорядочное движение. Подобно молекулам газа, они образуют электронный газ. Поэтому нужно ещё учитывать движение свободных электронов. Электроны обладают кинетической энергией и имеют три степени свободы. На каждую степень свободы приходится средняя кинетическая энергия, равная 1/2кТ. Полная энергия одного электрона равна Е=3/4кТ. Энергия электронов в моле вещества Еμ =N0 -3/2kT=3/2кТ.
Электронная теплоёмкость твёрдого тела
Сμ = ∆Eμ /∆Т=37,5дж/моль*град.
Как следует из формулы закона Дюлонга и Пти, теплоёмкость твёрдых тел не зависит от температуры. Однако опыты показывают, что на самом деле теплоёмкость твёрдых тел уменьшается с понижением температуры и стремится к нулю при приближении температуры к абсолютному нулю.
Классическая теория теплоёмкости не позволяет объяснить, почему теплоёмкость твёрдого тела зависит от температуры, и определить область температур, в которой выполняется закон Дюлонга и Пти. Здесь на помощь приходит квантовая теория теплоёмкости, которая была разработана А.Эйнштейном.
Согласно этой теории, атомы, находящиеся в узлах кристаллической решётки, колеблются независимо друг от друга с одинаковой частотой, равной примерно 1013 гц. Энергия колеблющегося атома излучается не непрерывно, а порциями. Величина порции энергии определяется выражением ε=hν, где h - постоянная Планка, а ν - частота колебания атома.
При высоких температурах, когда энергия теплового движения частицы, приходящаяся на одну степень свободы, велика. В этом случае выполняется закон Дюлонга и Пти.
При низких температурах, для которых выполняется неравенство hν>kT, энергия теплового движения недостаточна для возбуждения колебаний атомов, поэтому некоторые атомы «вырезают», т.е. не участвуют в колебательном движении, а это ведёт к уменьшению теплоёмкости. Температура, при которой начинается уменьшение теплоёмкости, может быть определена hν=kT; T=hν/k.
Теория теплоёмкости А. Эйнштейна была уточнена П.Дебаем. А.Эйнштейн считал, что атомы в узлах кристаллической решётки колеблются независимо друг от друга и частота их колебаний одинакова. П.Дебай учел, что атомы в твёрдом теле связаны между собой и что все они не могут колебаться с одинаковой частотой.
Согласно теории П.Дебая, температура, при которой начинается уменьшение теплоёмкости, можно определить из условия равенства тепловой энергии, приходящейся на одну степень свободы, максимальной энергии колебания атома: hνmax =кТ.
Эту температуру называют характеристической температурой Дебая и обозначают буквой Ө=кνмакс /к.
П.Дебай также доказал, что при температурах, близких к абсолютному нулю, молярная теплоёмкость пропорциональна кубу температуры. Такая зависимость наблюдается при температурах, меньше Ө/50. эту закономерность называют законом кубов Дебая.
Таким образом, при Т>Ө справедлив закон Дюлонга и Пти, Ө> T >Ө/50 теплоёмкость зависит от температуры, однако количественный характер этой зависимости пока не установлен, при Т<Ө/50 справедлив закон кубов Дебая.
Теплопроводностью называют перенос тепла от одного тела к другому или от одной части тела к другой.
Для объяснения механизма теплопроводности следует учитывать как свойства кристаллической решётки, так и свойства свободных электронов. Причем теплопроводность металлов имеет преимущественно электронный характер, т.е. она осуществляется за счёт переноса энергии свободными электронами. Теплопроводность кристаллической решёткой осуществляема значительно меньше электронной теплопроводности. При достаточно высоких температурах решёточная теплопроводность металлов составляет 1-2% от электронной теплопроводности.
Получим уравнения для описания теплопроводности.
Пусть две части тела с температурой Т1 и Т2 , причём Т1 >Т2 . тогда от части тела с температурой Т1 к части тела с температурой Т2 будет перенесено некоторое количество теплоты. Обозначим через ∆Q количество теплоты, переносимое за единицу времени через единичную площадку в направлении, перпендикулярной этой площадке. Получим, прямо пропорциональное изменение температур на единицу длины: ∆ Q =- k ∆ T /∆ x ,
где ∆Т- разность температур частей тела; ∆Т/∆х- изменение температуры на единицу длины; к- коэффициент теплопроводности.
Каждое вещество характеризуется своим коэффициентом теплопроводности, поэтому его величина зависит от внутреннего строения вещества. Чем больше электронов участвует в переносе тепла, тем больше коэффициент теплопроводности; чем быстрее эти электроны движутся, тем больше количество теплоты может быть перенесено за единицу времени; чем дольше электроны будут двигаться без столкновений, тем коэффициент теплопроводности больше. Он также зависит от удельной теплоемкости вещества твёрдого тела.
У неметаллов, не имеющих свободных электронов. Передача тепла происходит за счёт теплового движения частиц, образующих кристаллическую решётку.
Монокристаллы диэлектриков обладают свойством анизотропии теплопроводности так же, как они обладают анизотропией теплового расширения.
IV Механические свойства твёрдых тел
4.1. Виды деформаций.
Атомы и молекулы твёрдых тел находятся в равновесных положениях, в которых результирующая сила равна нулю. При сближении атомов преобладает сила отталкивание, а при их удалении от положения равновесия- сила притяжения. Это обусловливает механическую прочность твердых тел, т.е. их способность противодействовать изменению формы и объёма. Растяжению тел препятствуют силы межатомного притяжения, а сжатия- силы отталкивания.
Среди деформаций, возникающих в твердых телах, различают пять основных видов: растяжения, сжатие, сдвиг, кручение и изгиба, а также деформации бывают упругими и пластическими.
4.2. Теоретическая оценка характеристик механических свойств твёрдого тела и сравнение её с результатами эксперимента.
Зная поверхностную энергию кристалла, и исходя из представлений о строении идеального кристалла, можно теоретически рассчитать основные характеристики механических свойств. Так, например, чтобы рассчитать предел прочности при растяжении образца, необходимо найти силу F, при которой происходит разрыв материала, т.е. нарушается силы взаимодействия между плоскостями в кристалле.
А=F*∆l,
Где ∆l- расстояние, на которое надо удалить плоскости друг от друга, чтобы преодолеть силы их взаимного притяжения.
С другой стороны, разрушения всегда связано с образованием новой поверхности, т.е. с увеличением поверхностной энергии. Как известно, поверхностную энергию можно определить, умножив коэффициент поверхностного натяжения на площадь поверхности. Таким образом, работа, которая совершается при разрыве образца, т.е. при образовании новой поверхности
A=α*2S
Приравниваем выражения и получим: 2αS=F∆l, откуда сила, при которой происходит разрыв материала,
F=2αS/∆l.
Зная силу F, можно определить предел прочности, т.е. то напряжения, при котором происходит разрыв:
σ = F/S; σ =2αS/∆lS; σ = 2α/∆l.
Чтобы показать, как найти модуль Юнга, характеризующий упругие свойства материала, надо предположить, что до самого разрыва образца деформация остаётся упругой, т.е. справедлив закон Гука: σ =Eε.
Следовательно, при абсолютном удлинении ∆α, найдём относительную деформацию ε = ∆α/α.
Следовательно модуль Юнга равен Е= σ/ε.
Мы видим, что только часть механических свойств можно более или менее точно объяснить, исходя из модели идеального газа. Поэтому была выдвинута гипотеза о том, что причина расхождения теоретических расчётов и экспериментальных результатов заключается в несовершенстве кристаллической решётки. Эта гипотеза нашла своё блестящее подтверждение в последующих экспериментальных исследованиях.
Таким образом, некоторые механические свойства материалов не связаны со структурными несовершенствами. Эти свойства называют структурно – нечувствительными свойствами. Те же механические свойства, которые тесно связаны со структурными несовершенствами кристаллов или с дефектами кристаллов, называют структурно - чувствительными свойствами.
4.3.Точечные дефекты и их образования
Точечные дефекты - это нарушение кристаллической решётки в изолированных друг от друга точках. К точечным дефектам относятся вакансии, т.е. такие узлы решётки, в которых нет атомов (дырки) (рис48а). Точечными дефектами могут быть атомы внедрения, т.е. лишние атомы, поместившиеся в промежутках между атомами, расположенными в узлах кристаллической решётки (рис 48б). Это могут быть и примеси (инородные атомы), занимающие места в решётке (рис48в). Размеры точечных дефектов примерно равны диаметру атома.
Образования дефектов: в результат теплового движения атомов и их взаимодействия возможны отклонения энергии отдельных атомов от среднего значения, при котором атом удерживается в узле кристаллической решётки. При этом большие отклонения от средней величины менее вероятны, чем малые отклонения. Однако большие отклонения, превышающие среднее значение энергии на несколько порядков всё-таки возможны.
Дефекты могут появиться также в процессе роста кристалла.
Образование точечных дефектов возможно в процессе роста кристалла и из-за флуктуации энергии.
Экспериментально подтверждает наличие точечных дефектов в кристаллах явление диффузии в твёрдых телах.
На самом деле, в кристалле без дефектов никакой диффузии не должно было бы быть. Если атомы колеблются около узлов кристаллической решётки и не «покидают» эти положения, то не может быть проникновения атомов одного кристалла в другой.
Между тем установлено, что диффузия в твёрдых телах происходит, хотя и в меньших масштабах, чем в газах и жидкостях. Особенно интересно, что интенсивность этого процесса растёт с увеличением температуры.
Согласно этой теории диффузия в кристаллах происходит за счёт движения атомов внедрения, движения вакансии или какого-либо обмена местами между атомами. Для того чтобы атомы внедрения «перебрались» в другие промежутки между узлами, а вакансии - в другие узлы, необходимо, чтобы атомы, составляющие непосредственное окружение точечного дефекта, «расступились». При повышении температуры атомы «расступаются» чаще и дефекты перемещаются по кристаллу быстрее, а следовательно, и процесс диффузии происходит быстрее. Кроме того, с ростом температуры увеличивается и число точечных дефектов. Однако определяющим фактором в увеличении интенсивности диффузии при увеличении температуры является не рост числа дефекта, а их продвижение.
4. 4 Дислокации
Дислокации - это перемещения. Различают два вида дислокаций: краевую и винтовую. Краевая дислокация ( рис24).


рис. 24 рис. 25
Искажение кристаллической структуры вызвано тем, что, и части объёмного кристалла в процессе его роста возникла лишняя атомная «полуплоскость». Искажения сосредоточено в основном вблизи нижнего края «полуплоскости» «лишних» атомов. Под дислокацией в подобных случаях понимают линию, проходящую вдоль края лишней атомной «полуплоскости».
Искажение сосредоточено вблизи дислокационной линии. На расстоянии же нескольких атомных диаметров в сторону искажения настолько малы, что в этих местах кристалл имеет почти совершенную форму. Искажения возле края «лишней полуплоскости» вызваны тем, что ближайшие атомы как бы «пытаются» согласовать своё расположение с резким обрывом «лишней полуплоскости».
Любая царапина на поверхности кристалла может стать причиной краевой дислокации. Действительно, царапину на поверхности кристалла можно рассматривать как нехватку одной атомной плоскости. В результате теплового движения атомы из соседних областей могут перейти на поверхность, а дислокация тем самым переместится во внутрь.
Винтовая дислокация ( рис 25).
Образования винтовой дислокации можно представить таким образом. Мысленно надрежем кристалл по плоскости и сдвинем одну его часть относительно другой по этой плоскости на один период решётки параллельно краю надреза. При этом линия искажения пойдёт вдоль края разреза. Эту линию и называют винтовой дислокацией. При винтовой дислокации лишнего ряда атомов нет. Искажение пространственной решётки кристалла состоит в том, сто атомные ряды изгибаются и меняют своих соседей.
Установлено, что винтовые дислокации чаще всего образуются во время роста кристалла. Однако приложение напряжений может увеличить число винтовых дислокаций.
Дислокации, как и точечные дефекты, могут перемещаться по кристаллической решётке. Однако движение дислокаций связано с большими ограничениями, так как дислокация всегда должна быть непрерывной линией. Возможны два основных вида движений дислокаций: переползание и скольжение. Переползание дислокаций происходит благодаря добавлению или удалению атомов из лишней полуплоскости, что бывает вследствие диффузии. При скольжении дислокации, лишняя полуплоскость, занимавшая определённое положение в кристаллической решётке соединяется с атомной плоскостью, находящейся под плоскостью скольжения, а соседняя атомная плоскость становится теперь лишней полуплоскостью. Такое плавное скольжения линии дислокации вызывается действием напряжений сдвига, приложенных к поверхности кристалла.
Наблюдения показывают, что перемещение дислокаций в реальном кристалле в одних случаях может быть облегчённо, в других – затруднённо, в зависимости от характера тех искажений, которые вносит дислокация в кристаллическую решётку.
4.5. Экспериментальные методы изучения дефектов кристаллов
В настоящее время с помощью ионного проектора и электронного микроскопа получают фотографии структуры кристаллов с имеющимися в них дефектами. Для изучения дефектов кристаллов используют также метод протравливания. На поверхность кристалла наносят химические травители, которые наиболее активно взаимодействуют с теми областями кристалла, в которых сосредоточены наибольшие искажения, вызванные дислокациями.
В результате травления на поверхности кристалла появляются ямки, свидетельствующие о наличии дислокации в этом месте. Ямки рассматривают в обычный оптический микроскоп. Этот метод используют для определения плотности дислокаций. На рисунке 26 представлена схема фотографии травления чисто отполированной поверхности германия.

рис. 26
Интересен также метод моделирования процессов, связанных с взаимодействиями дислокаций. Для этого используют пузырьковую модель кристалла. Такую модель получают выдуванием через мыльный раствор воздушных пузырьков диаметром от 1 до 2 мм. При определённых способах приготовления раствора и выдувания пузырьков можно получить модель совершенной кристаллической структуры (рис27). Производя в этой модели некоторые возмущения, моделируют дефекты и процессы, связанные с ними (рис28).

рис.27 рис. 28
4.6. Влияние дислокации и других дефектов на механические свойства материалов и на процесс деформирования
Изучение дефектов кристаллов имеет важное практическое значение, так как механические свойства твёрдых тел, их пластичность, сопротивление деформированию связаны с дислокациями и другими дефектами в кристаллах.
Экспериментальное изучение механических свойств материалов показывает, что чистые металлы в большинстве являются мягкими и пластичными. Пластичность кристаллов, их относительно малая прочность определяется возникновением дислокаций в процессе роста кристалла. При группировке точечных дефектов образуются микротрещины. Хрупкое разрушение происходит в том случае, если пластическое течение затруднено в виду затруднения дислокаций микротрещинами и другими дефектами, присутствующими в исходном состоянии и возникающими в процессе деформации.
В практике обращает на себя внимания и такой вид разрушений, как усталостное . Усталость-это вид разрушения материала, происходящих в течение продолжительного времени под действием периодически изменяющихся нагрузок при таких напряжениях, которые не приводят к разрушению при статических нагрузках.
В настоящее время хорошо известны основные особенности усталости и меры, которые должны быть приняты для предотвращения её появления. Острые надрезы и переходы на поверхности, отверстия под заклёпки, царапины, коррозия приводят к заметному снижению усталостной прочности машин. Хорошее качество поверхности и защита от коррозии способствует увеличению сопротивления усталости. Однако, несмотря на наличие таких эффективных средств исследования, как электронная микроскопия, многое в механизме усталости остаётся неясным. Усталость является особенно серьёзной проблемой для металлов и сплавов, так как эти материалы широко используются в машинах и конструкциях, подвергающихся действию периодически меняющихся нагрузок.
Итак, на прочность кристаллических материалов влияют дислокации, их движение и взаимодействие, а также другие дефекты, встречающиеся в кристаллах.
4.7. Повышение прочности материалов
Дислокации и их движение оказывают большое влияние на прочность материалов, снижая их сопротивление деформированию, делая их пластичнее. Однако взаимодействие дислокаций между собой, а также с препятствиями другой природы уменьшает подвижность дислокаций. Это приводит к уменьшению пластичности и к повышению прочности материалов. Можно графически представить влияние дислокации на сопротивление сдвигу (рис29).

рис. 29
Здесь по оси абсцисс отложена плотность дислокаций, а по ординате -сопротивление сдвигу. Минимальное сопротивление сдвигу определяется некоторой критической плоскостью дислокации ркр , приближённо оцениваемой 107 -108 см -2 . из анализа этой кривой следует, что можно повышать прочность, повышая плотность дислокаций. Этот способ повышения прочности называют наклёпом . При наклёпе в результате взаимодействия дислокаций их дальнейшее движение затрудняется. Наклёп проводят, накатывая заготовку между валками. Валки оказывают на заготовку большое давление и раскатывают её в плоские листы. В результате этого увеличивается число дислокаций, а следовательно у этих листов повышается сопротивления пластической деформации.
Если продолжить анализ кривой, то можно сделать вывод, что прочность можно повысить и другим способом, уменьшая плотность дислокаций, приготовляя образцы металлов в виде очень тонких нитей (толщина 2-10мм), так называемых усов, удалось поднять прочность в чистой меди, например, до 7*109 н/м2 , против реальной величины сопротивления сдвигу 105 н/м2 .
Таким образом, изучение структуры твёрдого тела и улучшение на этой основе тех или иных механических свойств материалов в зависимости от их
практического назначения приводят к качественному изменению самих материалов, к прочности и долговечности конструкций и машин.
Электрические и магнитные свойства твёрдых тел
V . Электрические свойства твёрдых тел
По способности проводить электрический ток все вещества в природе условно делят на три основных класса: проводники, полупроводники и диэлектрики.
5.1. Классическая электронная теория электропроводности металлов
Если металлическую пластинку, вдоль которой течет постоянный электрический ток, поместить в перпендикулярное к ней магнитное поле, то между гранями, параллельными направлениям тока и поля возникает разность потенциалов U=j1 -j2 . Она называется Холловской разностью потенциалов.
Основная идея этой теории состоит в том, что электроны в металле свободны и образуют своеобразный электронный газ, подобный идеальному газу.
При столь большой концентрации электронов их взаимодействие между собой, как и с ионами решётки металла, очень велико. Однако средняя сила, действующая на каждый электрон со стороны всех остальных электронов и ионов, равных нулю, и поэтому в известном приближении такой электрон можно рассматривать как свободный, который взаимодействует с ионами решётки только при упругих соударениях. Следовательно, электронный газ, подобно идеальному газу, обладает лишь кинетической энергией mv2 T /2=3/2kT, где m - масса электрона; v2 T - средняя квадратичная скорость его движения; k -постоянная Больцмана; Т - абсолютная температура. Это выражение позволяет определить среднюю квадратичную скорость теплового движения электрона:
VT =√v2 T =√3kT/m.
Хаотическое тепловое движение электронов и непрерывные столкновения с ионами кристаллической решётки приводят к тому, что нельзя указать преимущественного направления движения заряда - в проводнике нет электрического тока. Следовательно, ток может появиться лишь при наличии электрического поля, сообщающего всем электронам некоторую добавочную, «дрейфовую» скорость, направленную вдоль поля.
Одним из успехов классической электронной теории является также объяснения связи между электропроводностью металлов и их теплопроводностью. Действительно, обладая энергией теплового движения, электроны проводимости участвуют в переносе тепла в металле, и, чем выше концентрация электронов, от которой зависит электропроводность, тем больше и теплопроводность металла. Прямая пропорциональная зависимость электропроводности и теплопроводности была установлена опытным путём И.Видеманом и Р.Францем ещё в 1853г. Открытый ими закон имеет вид: x/γ=AT, х - коэффициент теплопроводности; Т- абсолютная температура; А-константа. На основе электронной теории Лоренца вычислил величину этой константы.
В 1901 г. Физик Э.Рике поставил следующий опыт. Через три металлических цилиндра (медный, алюминиевый, медный), одинакового радиуса, которые плотно соприкасались друг с другом хорошо отшлифованными торцевыми поверхностями, в течении очень долгого времени пропускали ток. При этом через цилиндры прошёл заряд 3,5*10 -6 к. тщательное взвешивание цилиндров до опыта и после него показало, что масса их не изменилась. Это позволило установить, что электропроводность металлов обусловлена перемещением таких заряжённых частиц, которые являются общими для всех металлов.
В 1912 году советские физики Л.И.Мандельштам и Н.Д.Папалекси на опыте по наблюдению инерционного движения заряжённых частиц в металлическом проводнике подтвердили, что в металле имеются такие частицы, которые слабо связаны с кристаллической решёткой.
В 1916 году американские физики Толмен и Стюарт, применив чувствительный гальванометр вместо телефона, показали, что частицы, образующие инерционный ток при торможении катушки, имеют отрицательный электрический заряд, а также вычислили удельный заряд этих частиц e/m. Они получили 4,8*1017 ед., что оказалось близким к значению удельного заряда электрона, вычисленному в опытах по отклонению пучка электронов в электрических и магнитных полях. Таким образом, в работах Толмена и Стюарта электронная теория проводимости металлов получила строгое экспериментальное обоснование.
Однако было обнаружено, что основная идея этой теории - наличие в металле электронного газа, подобно идеальному, - находится в противоречии с некоторыми опытными фактами.
Молярная теплоёмкость металла, вычисленная на основе электронной теории, должна быть равна 37,5дж/(моль*град), а та же теплоёмкость, полученная экспериментально,- 25 дж/моль*град. Такой же результат можно получить и теоретически, если предположить, что электронный газ не обладает теплоёмкостью. Подобное предположение выглядит очень странным, так как согласно электронной теории температура металла определяется не только энергией колебания атомов в решётке. Но и энергией движения электронов.
5.2. Диэлектрики
В 1880 г. французские учёные-физики Пьер и Жак Кюри открыли пьезоэлектрический эффект.
Пьезоэлектрический эффект заключается в следующем. Если из кристалла кварца (кварц-диэлектрик) вырезать определённым образом пластинку и поместить её между двумя электродами, то при сжатии кварцевой пластинки на электродах появятся равные по величине, но различные по знаку заряды.
Если изменить направление силы, действующей на пластинку (вместо того чтоб сдавить кварц его будут растягивать), то изменяются и знаки зарядов на электродах: на том электроде, где при сжатии возникал положительный заряд, при растяжении появится отрицательный. При этом, чем больше сила, сжимающая или растягивающая пластинку, тем больше и величина зарядов, возникающая на электродах.
В середине XIX в. были также обнаружены диэлектрики, которые подобно остаточной поляризацией. Такие диэлектрики по аналогии с термином «магнит» назвали электретами .
Самое характерное свойство электретов - способность нести на своих противоположных сторонах заряды различного знака, которые могут сохраняться в течение весьма длительного времени. Так, для электретов из карнаубского воска и его смесей это время составляет годы, керамические электреты сохраняют заряд в течение двух лет, электреты из полимеров имеют время жизни месяцы.
Объяснить этот обширный экспериментальный материал об электрических свойствах диэлектриков стало возможным тогда, когда появилась теория, объясняющая строение твёрдых тел, связи между их структурными частицами.
Есть такие твёрдые тела, у которых центры положительных и отрицательных зарядов отдельных атомов или молекул совпадают.
Если такие вещества поместить в электрическое поле, то возникает «электрическая деформация» структурных частиц, т.е. электрическое поле смещает электрические заряды, входящие в состав диэлектрика, от тех положений, которые они занимали в отсутствие поля. Так, например, если диэлектрик состоит из нейтральных атомов, то в присутствии поля их электронные оболочки смещаются относительно положительно заряжённых ядер. Если кристаллическая решётка твёрдого тела состоит из положительно и отрицательно заряжённых ионов, например, решетка NaCl, то в электрическом поле ионы равных знаков смещаются относительно друг друга. В результате упругого смещения каждой пары зарядов образуется система, обладающая некоторым дополнительным моментом p=ql, а весь диэлектрик поляризуется.
Поляризация диэлектрика численно характеризуется дипольным моментом единицы объёма Р , который равен произведению числа элементарных диполей N, содержащих в единице объёма вещества, на величину момента элементарного диполя.Что дипольный момент единицы объёма диэлектрика пропорционален напряжённости электрического поля внутри диэлектрика.
Помимо неполярных диэлектриков, существует большой класс диэлектриков, молекула которых и при отсутствии внешнего электрического поля обладают дипольным моментом. Постоянный дипольный момент могут иметь многие молекулы, у которых центры симметрии составляющих их положительных и отрицательных зарядов не совпадают друг с другом. Типичными представителями полярного твёрдого диэлектрика служат лед, твердая соляная кислота, органическое стекло и др.
При помещении полярного диэлектрика в электрическое поле происходит ориентация полярных молекул так, чтобы их оси совпадали с направлением линий напряжённости электрического поля. Однако тепловое движение частиц вещества препятствует такой ориентации. В результате действия поля и теплового движения устанавливается равновесное состояние, при котором полярные молекулы приобретают в среднем некоторую направленную ориентацию, а весь диэлектрик благодаря этому приобретает дипольный момент в направлении поля, т.е. поляризуется.
Рассмотренный вид поляризации называют ориентационной или дипольной. В этом виде поляризации, в отличие от поляризации смещения, существенную роль играет температура диэлектрика.
Диэлектрическая проницаемость полярных диэлектриков больше, чем у неполярных, так как у них по существу наблюдаются оба вида поляризации: ориентационная и упругая поляризация смещения.
Если внешнее поле убрать, то полярные и неполярные диэлектрики деполяризуются, т.е. поляризация их практически исчезает.
Существует третий тип диэлектриков, у которых наблюдается самопроизвольная поляризация. В этом случае внутри диэлектрика, без какого бы то ни было воздействия внешнего поля, самопроизвольно возникают однородно поляризованные области, так называемые домены . В отсутствии внешнего поля направления дипольных моментов областей различны. При наложении поля происходит «ориентация» доменов и весь диэлектрик поляризуется. Так как каждый домен имеет большой дипольный момент, то диэлектрическая проницаемость таких диэлектриков обычно очень велика, порядка 104 . диэлектрики такого типа называют сегнетоэлектриками.
Сегнетоэлектрики отличаются от других диэлектриков рядом специфических свойств.
Если у полярных и неполярных диэлектриков дипольный момент единицы объёма вещества пропорционален напряжённости электрического поля Е, то у сегнетоэлектриков такая линейная зависимость между Р и Е существует только в слабых полях (рис 30). При увеличении напряжённости поля дипольный момент Р возрастает в соответствии с кривой АВ, а при некотором значении Е изменение дипольного момента прекращается. Это состояние называют насыщением. В состоянии насыщения все домены сегнетоэлектрика располагаются вдоль поля, и дальнейшее увеличение поля Е уже не приводит к увеличению поляризации. Если после этого начать уменьшать величину напряжённости поля до нуля, то поляризация кристалла будет изменяться не по начальной кривой ОВ, а по кривой ВD и при напряжённости поля, равной нулю, кристалл останется поляризованным.
Такое явление называется диэлектрическим гистерезисом. Величину поляризации, определяемую отрезком ОD при Е=0, называют остаточной поляризацией.
Таким образом, зависимость поляризации от напряжённости переменного электрического поля для сегнетоэлектриков описывается кривой BDFLHB, называемой петлей гистерезиса. По петле гистерезиса можно определить величину спонтанной поляризации.
Однако при увеличении температуры свойства сегнетоэлектриков изменяются и при некоторой температуре, называемой температурой Кюри, происходит исчезновение спонтанной поляризации.
Сегнетоэлектрики применяют при изготовлении лазеров и в запоминающих устройствах электронно-вычислительных машин.
5.3. Квантовая энергия электронов в атоме
Для объяснения электрических свойств металлов и диэлектриков, применялись совершенно не связанные между собой теории, основанные на различных моделях. Лишь с применением квантово – механических представлений удалось создать единую, современную теорию твёрдого состояния, или зонную теорию.

рис. 30
С самого начала надо иметь в виду, что законы движения макроскопических тел неприменимы для описания поведения атомных частиц. А вот энергия электронов в атомах, молекулах кристалла не может иметь произвольных значений. В квантовой механики показывается, что энергии электронов в таких случаях могут принимать лишь определённые, дискретные значения. Это означает что если при расстоянии между ядром и электроном r1 (рис 31) Энергия электрона Е1 , то при расстоянии r2 энергия электрона станет Е2 , причём ∆Е=Е2 -Е1 имеет совершенно определённое значение. Электрон не может иметь энергию, большую Е1 , но меньшую Е2 . О величинах, которые могут принимать лишь ряд определённых дискретных значений, говорят, что они квантованы . К таким величинам относятся энергия электронов в атомах, молекулах и кристаллах (рис.31).
На рис 31 представлены диаграмма уровней энергии атома водорода, или энергетический спектр атома водорода. Самый низкий уровень энергии Е1 соответствует ближайшему расположению электрона от ядра и характеризует основное, или нормальное состояние атомов. Такую энергию имеет атом, если он получает энергию извне. В основном состоянии изолированный атом может пребывать сколь угодно долго. Все энергетические уровни, начиная со второго, соответствуют возбуждённым состояниям атома. Эти значения энергии электрон в атоме водорода может иметь, если он приобретает дополнительную энергию за счёт воздействия каких-либо внешних факторов равную ∆Е=Еm -Еn , где m и n- номера верхнего и нижнего энергетических уровней, между которыми осуществляется переход электрона.
рис.31
Находится в возбуждённом состоянии долгое время атом не может, и поэтому он самопроизвольно переходит в нормальное состояние, отдавая излишек энергии ∆Е=Еn -Еm в виде электромагнитных излучений (света).
На этой диаграмме видно также, что энергия электрона в атоме водорода имеет отрицательное значение. Это означает, что нулевая энергия соответствует состоянию, в котором находится неподвижный электрон, удалённый на бесконечно большое расстояние от ядра и не взаимодействующий с ним.
При рассмотрении энергетического спектра атома следует обратить внимание также и на то, что при увеличении главного квантового числа n происходит сближение уровней энергии. При достаточно большом n можно считать, что энергия атома практически не квантуется, а изменяется непрерывно. В этом находит своё выражение принцип соответствия , установленный Н.Бором в 1922г.
5.4. Элементы зонной теории кристаллов
Как изменится эта диаграмма для двухатомной молекулы, состоящей из двух атомов.
По мере сближения каждый атом - его электроны, ядро - испытывает увеличивающее силовое воздействие со стороны электрических полей электронов и ядра другого атома. Это взаимодействия между атомами приводит к тому, что вместо одного энергетического уровня, одинаково для двух изолированных атомов, возникают два близко расположенных, но не совпадающих уровня. В таких случаях говорят, что происходит расщепление энергетических уровней электронов.
Следовательно, в энергетическом отношении образование двух атомов молекулы означает, что для каждого электрона обоих атомов появилась возможность принимать вдвое больше значений энергии, чем в изолированном состоянии.
Если теперь будут сближаться 3,4,5 или вообще N атомов, то в результате их взаимодействия вместо каждого энергетического уровня, одинаково для всех N изолированных атомов, появится 3,4,5 или N близких, но не совпадающих уровней, которые образуют энергетическую полосу или зону разрешённых значений энергии .
Таким образом, разрешённая энергетическая зона состоит из N близких уровней, где N-общее число атомов твёрдого тела. В 1м3 твёрдого тела находится 1028 -1029 атомов. Такой же порядок величины имеет и число уровней в зоне. Так как электроны принадлежат всему кристаллическому телу, то можно сказать, что зоны энергии характеризуют возможные значения энергии электронов всех атомов тела, а диаграмму разрешённых значений энергии называют энергетическим спектром твёрдого тела .
Однако не все уровни, соответствующие различным значениям главного квантового числа n, расщепляются одинаково. При сближении атомов электрического поля в первую очередь действуют на валентные электроны, которые к тому же слабее связаны с ядрами своих атомов, чем утренние электроны. Поэтому энергетические уровни валентных электронов расщепляются уже при расстояниях между атомами 10 -9 м, а ширина образующейся зоны разрешённых значений энергии – примерно нескольких электрон-вольт.
Влияние электрических полей взаимодействующих атомов на утренние электроны очень слабые. Поэтому энергетические состояния внутренних электронов практически такие же, как и в изолированных атомах. Слабое расщепление энергетических уровней внутренних электронов происходит при расстояниях между взаимодействующими атомами, много меньшими периода кристаллической решётки(10 -10 м).
Разрешённые энергетические зоны твёрдого тела разделены друг от друга промежутками – областями энергии, которые электроны не могут иметь по законам квантовой механики. Эти области называют зонами запрещённых значений энергии. Ширина запрещённых зон соизмерима по величине с шириной разрешенных зон. Более возбуждённые уровни изолированных атомов дают разрешённые зоны большей ширины. С увеличением энергии ширина разрешённых энергетических зон увеличивается, а ширина запрещённых зон уменьшается. Таким образом, для любого твёрдого тела характерна зонная структура энергетических уровней электронов, или зонный энергетический спектр.
5.5. Распределение электронов по энергиям в твёрдом теле
Рассмотрим атом водорода. В возбуждённом состоянии электрон находится недолго и, испуская излишек энергии, переходит в нормальное, невозбуждённое состояние, характеризуемое наименьшей из всех возможных значений энергией. Состояние с наименьшей энергией - устойчивое состояние. Очевидно, что стремление перейти в энергетически более устойчивое состояние, т.е. «занять» найнизший из всех возможных энергетических уровней, характерно для электронов и многоэлектронных атомов. Означает ли это, что все электроны многоэлектронных атомов имеют в устойчивом состоянии одну и туже энергию? Ответить на этот вопрос позволяет основное правило квантовой механики - принцип Паули, в соответствии с которым невозможно «скопление» электронов на самом низком энергетическом уровне. Принцип Паули утверждает, что в любой системе взаимодействующих частиц в одном и том же энергетическом состоянии не могут находиться более двух электронов.
В соответствии с принципом Паули электроны «занимают» попарно все энергетические уровни, начиная с самого нижнего. Таким образом, принцип Паули регулирует распределение электронов по энергиям в любой системе, содержащей множество электронов, как в изолированных многоэлектронных атомах, так и в твёрдых телах.
Рассмотрим распределение электронов по энергиям в твёрдом теле. Мы знаем, что образование молекулы из двух изолированных атомов в энергетическом отношении означает образование двух близко расположенных подуровней вместо одинаковых уровней энергии изолированных атомов. Если в изолированных атомах этому уровню энергии соответствовало по одному электрону, то при образовании молекулы оба электрона будут иметь наименьшую из всех возможных значений энергию. В подобных случаях говорят, что электроны «расположатся» на самом низком энергетическом уровне, т.е. согласно принципу Паули они оба «расположатся» на нижнем подуровне, а верхний подуровень окажется «пустым». Если бы каждый изолированный атом имел по два электрона, соответствующих данному уровню энергии, то при образовании молекулы эти четыре электрона «расположились» бы попарно на обоих подуровнях.
Распределение электронов по энергиям справедливо лишь в том случае, если твёрдое тело будет находиться при температуре абсолютного нуля, не подвергаясь никаким внешним воздействиям.
Что же произойдёт, если такое твёрдое тело подвергнуть нагреванию, освещению или облучению ультрафиолетовыми, рентгеновскими лучами или просто создать внутри него электрическое поле? Так как кристалл при этом получает энергию извне, то и энергия электронов должна увеличиваться. С позиции квантовой механики это означает, что электроны получают возможность перейти в новое состояние, соответствующее более высокому энергетическому уровню, если порция энергии, получаемая твёрдым телом извне, достаточна для перевода электронов на один из возбуждённых уровней энергии.
Такая возможность представляется в первую очередь электронам валентной зоны, так как для перехода электронов из заполненных целиком зон, лежащих ниже валентных, нужна слишком большая энергия возбуждения. Следовательно, основную роль во всех энергетических процессах в твёрдом теле играют, в первую очередь, внешние валентные электроны, или с точки зрения зонной теории процессы, разыгрывающиеся в валентной и свободной зонах. Поэтому, как правило, на зонной диаграмме изображают только валентную и свободную зоны.
Нетрудно показать, что при нагревании кристалла до комнатной температуры или под действием электрического поля источника тока электрон приобретает энергию, достаточную лишь для внутризонных переходов.
5.6. Электропроводность твёрдых тел на основе зонной теории
Зонная теория впервые позволила объяснить многие явления в твёрдых телах с единых позиций. Рассмотрим с позиции зонной теории механизм электропроводности кристаллов.
Электрическим током называют упорядоченное движение заряжённых частиц в веществе под действием сил электрического поля. Электрическое поле, действуя на электроны, ускоряет их на расстоянии свободного пробега λ и сообщает им энергию, равной работе электрической силы Е на перемещении λ. Электрический ток возникает лишь в том случае, если верхняя энергетическая зона не полностью занята электронами, т.е. число подуровней энергии в зоне превышает число электронов. Такую зону называют зонной проводимости. Таким образом, если валентная зона не полностью занята электронами, то твёрдое тело всегда будет проводником электрического тока. Этот случай заполнения валентной зоны соответствует металлам, входящим в первую группу периодической системы Д.И.Менделеева. Ведь у них имеется всего по одному валентному электрону. В твёрдом теле из N таких атомов будет и N валентных электронов. Но, располагаясь в валентной зоне твёрдого тела по 2 электрона на уровень, они займут только половину, т.е. N/2 уровней из N возможных.
Для металлов второй группы периодической системы полностью заполненная валентная зона перекрывается с какой-нибудь незаполненной зонной.
Верхний занятый электронами металла энергетический уровень при Т=0 К называют уровнем Ферми . Энергия Ферми Еф составляет приближённо 10 эв. Уровень Ферми играет большую роль в квантовых представлениях о твёрдом теле.
Рассмотрим теперь энергетический спектр твёрдого тела. В валентной зоне все энергетические уровни полностью заняты электронами, а свободные уровни отделены от валентной зоны зоной запрещённых значений энергии ∆Е. Обычные электрические поля не могут сообщить электрону валентной зоны энергию ∆Е, достаточную для преодоления запрещённой зоны и перевода его в свободную зону, где он мог бы уже увеличивать свою энергию. Следовательно, в таких твёрдых телах электропроводность не может иметь место при отсутствии внешних возбуждений и нулевой температуре. Однако в реальных условиях температура твёрдых тел отличается от нуля, поэтому эти тела обладают некоторой энергией теплового движения. Есть кристаллы, для которых энергии теплового движения при обычных температурах недостаточна, чтобы электрон мог преодолеть запрещённую зону энергии (кТ<∆Е). Поэтому при наложении электрического поля электропроводность в таких твёрдых телах не может иметь место даже при высоких температурах. Такие твёрдые тела не проводят электрический ток и их называют диэлектриками.
У некоторых кристаллов ширина запрещённой зоны сравнительно мала и энергия теплового движения оказывается достаточной для «заброса» части электронов из валентной зоны в свободную. В таком твёрдом теле электрическое поле вызывает ток, т.е. электроны, попавшие в свободную зону, и электроны в валентной зоне получать возможность переходить на более высокие незанятые уровни энергии. Такие твёрдые тела называются полупроводниками .
Для полупроводников в отличие от металлов число носителей тока, которые могут участвовать в электропроводности, существенно зависит от температуры. При высоких температурах электропроводность полупроводников приближается к электропроводности металлов, так как при больших значениях энергии теплового движения число выброшенных в свободную зону электронов очень велико и они вместе с электронами валентной зоны все могут принять участие в электропроводности. Но, с другой стороны, все полупроводники при Т=0 К становятся диэлектриками. Отсюда следует, что полупроводники занимают промежуточное положение между металлами и диэлектриками. Этим и объясняется их название.
Однако следует заметить, что и диэлектрики при очень высоких температурах начинают проводить ток. Поэтому деление твёрдых тел на полупроводники и диэлектрики в достаточной мере условно, но практика даёт возможность, хотя и условно, разграничить их по ширине запрещенной зоны. Если у твёрдого тела ∆Е>6эв, то оно - диэлектрик, а если ∆Е<6эв - полупроводник. Наиболее широкий класс полупроводников, как показывают теория и опыт, имеет ширину запрещённой зоны ∆Е<2эв.
Полупроводники могут стать электропроводными также под действием падающего на них электромагнитного излучения, так как электромагнитное излучение тоже обладает энергией, достаточной для перевода электронов из валентной зоны в зону проводимости.
5.7. Электропроводность полупроводников
Как известно, полупроводник-это твёрдое тело с ковалентной связью между атомами. При абсолютном нуле температуре все связи между атомами заполнены, в веществе нет зарядов, способных перемещаться под действием приложенного электрического поля. При увеличении температуры в полупроводнике возникают носители зарядов двух типов: электроны и дырки.
Рассмотрим электропроводность полупроводника с энергетической точки зрения. Чистый полупроводник при абсолютном нуле температуры и при отсутствии внешнего воздействия описывает энергетической диаграммой, в которой валентная зона полностью заполнена, а в свободной зоне нет электронов. Полупроводник подобен диэлектрику. Если к такому проводнику подводить энергию извне, то часть электронов, находящиеся в валентной зоне, получив дополнительную энергию, равной ширине запрещённой зоны, попадёт в свободную зону. Благодаря наличию большого количества свободных уровней в свободной зоне свободные электроны легко изменяют свою энергию под действием электрического поля. Это движение свободных электронов и представляет собой электрический ток в полупроводнике. Кроме этого, с уходом электронов из валентной зоны в свободную создаются условия для перемещение электронов в самой валентной зоне. При этом оказывается, что движение в такой почти полностью заполненной зоне эквивалентно может быть описано движением «пустых» мест – «дырок», если им приписать положительный знак. Под действием электрического поля энергия «дырок» тоже изменяется, и общий ток в полупроводнике равен I=Iэл +Iдыр .
Так как в чистом полупроводнике число электронов равно числу дырок, то и те и другие принимают участие в электропроводности в равной мере. Такую электропроводность полупроводников называют собственной .
Все сказанное выше относится к химически чистым полупроводникам, у которых электропроводность обеспечивается примесями. В качестве примесей используют элементы III и V групп периодической системы элементов Д.И.Менделеева. Пяти - валентные привесные атомы имеют на внешнем слое 5 электронов. Для образования ковалентной связи с окружающими атомами полупроводника необходимо всего 4 электрона. Остаётся один электрон, который не участвует в образовании сильной ковалентной связи. Это электрон слабо связан со своим атомом смеси: сила взаимодействия между электроном и ионом атома примеси при попадании последнего в полупроводник в соответствии с законом Кулона уменьшается в ε = (10÷18) раз. Поэтому достаточно малой энергии, чтобы электрон от атома примеси последний превращается в положительный ион, хотя сам полупроводник остаётся электрически нейтральным. Энергия, необходимая для того, чтобы пятый электрон стал свободным, много меньше энергии, необходимой для появления свободного электрона из валентной зоны. Этот факт говорит о том, что уровень энергии Еd такого электрона лежит чуть ниже «дна» свободной зоны (рис32).
Этот уровень Еd характеризует все «пятые» электроны атомов примеси, так как эти электроны находятся в одинаковых условиях.
Уровень энергии характеризует как энергетическое состояние электронов, слабо связанных с атомом примеси, так и энергетическое состояние самих атомов примеси. Ширина запрещённой зоны ∆Еd от «дна» свободной зоны, определяет энергию, необходимую для возбуждения атома примеси и превращение его в положительный ион. Положительный заряд такого иона примеси - «связанный» заряд, он не может перемещаться от одного атома примеси к другому.
Если увеличить температуру кристалла германия с пятивалентной примесью,
начиная с абсолютного нуля, то в первую очередь в свободную зону начнут переходить электроны с примесного уровня, так как ∆Еd <<∆E. Такие переходы начнут уже при Т=5°К, потому что ∆Еd =0,01эв. И только при более высокой температуры электроны из валентной зоны будут переходить в свободную.
Ясно, что в таких условиях число свободных электронов всегда будет превышать число «дырок» в валентной зоне, которые образовались за счёт части электронов, ушедших из валентной зоны в зону проводимости.
Если в таком примесном полупроводнике создать электрическое поле, то электропроводность будет осуществляться в основном за счёт свободных электронов. Таким образом, пятивалентные примеси служат поставщикам свободных электронов, поэтому их называют донорами , а полупроводники с такими примесями - полупроводниками п-типа.

рис. 32 рис. 33
Атомы элементов из III группы периодической системы имеют всего три валентных электрона, которые образуют парные электронные связи с тремя атомами германия. Одна электронная связь с четвёртым атомом германия остаётся незаполненной. Заполнение связи может произойти, если электроны атомов германия получать небольшую энергию возбуждения. Атом примеси, присоединивший электрон, становится отрицательным ионом. При этом на месте ушедшего от атома германия электрона образуется дырка.
Рассматривая такой полупроводник с энергетической точки зрения, можно увидеть, что уровень энергии, характеризующее энергетическое состояние всех атомов трёхвалентной примеси с точки зрения захвата электронов для заполнения связей, находится чуть выше «потолка» валентной зоны, так как атомы примеси захватывают немного возбуждённые электроны из валентных состояний. ∆Еа - ширина зоны, отделяющий уровень примеси Еа от потолка валентной зоны(рис 33). При этом ∆Еа <<∆Е. с увеличением температуры в первую очередь начнутся переходы электронов из валентной зоны на примесный уровень Еа. При значительно более высоких температурах электроны будут переходить из валентной зоны в свободную. Отсюда ясно, что при температуре число дырок в валентной зоне всегда больше, чем число электронов в свободной зоне. Если в таком проводнике будет осуществляться преимущественно за счёт дырок валентной зоны.
Трёхвалентные примеси «захватывают» электроны, поэтому их называют акцепторами , а полупроводники с такими примесями – полупроводниками р-типа.
5.8. Контактные явления
Если говорить языком электронной теории, то два разнородных металла отличаются друг от друга различной концентрацией электронов и различной работой выхода (Авых ), а полупроводники разных типов - ещё и основными носителями тока. Исходя из зонной теории можно сказать, что два разнородных металла отличаются друг от друга энергией Ферми - верхним занятым электронами уровнем.
Что произойдёт, если сблизить два разнородных металла или два полупроводника с различным типом проводимости или металл и полупроводник до межатомного расстояния? Оказывается, что при этом обнаружат себя весьма интересные явления, которые получили названия контактных .
При контакте двух металлов вследствие теплового движения электроны, энергия которых достаточна для того, чтобы покинуть металл, начнут проходить через границу раздела металлов. Чем меньше работа выхода металла, тем больше число таких электронов. Итак, при контакте двух металлов возникает двойной электрический слой.
С возникновением двойного электрического слоя условия движение электронов через границу раздела металлов изменяются. Теперь электроны движутся во внутреннем электрическом поле, электрические силы которого тормозят переход электронов из металла 1 в металл 2 (рис34)

рис. 34
и «помогают» электронам, переходящим из металла 2 в металл 1. Так продолжается до тех пор, пока не наступит «динамическое равновесие» - непрекращающееся движение электронов из одного металла в другой никак не изменяет возникшей между металлами контактной разности потенциалов ∆φ=φ1 -φ2 .
При контакте двух полупроводников n-типа вследствие теплового движения диффундируют в полупроводник р-типа. Встреча электрона с дыркой приводит к уничтожению дырки, т.е. при встрече электроны рекомбинируют с дырками. В результате этого атомы примеси становятся отрицательными ионами. В тонком слое полупроводника р-типа вблизи контакта образуется избыточный отрицательный заряд. Дырки из полупроводника р-типа также вследствие теплового движения диффундируют в полупроводник n-типа, частично рекомбинируют с электронами, в результате чего в тонком слое полупроводника n-типа создаётся избыточный положительный заряд.
Возникший в месте контакта двойной электрический слой создаёт электрическое поле напряжённостью Евн , которое препятствует движению основных носителей заряда из одного полупроводника в другой. Поскольку в контактном слое мало носителей тока, он обладает повышенным электрическим сопротивлением и препятствует прохождению электрического тока через контакт полупроводников. По этой причине двойной контактный слой называют ещё запирающим . Контакт двух полупроводников разных типов называют также р-n-переходом.
5.9 Термоэлектрические явления
К сожалению, контакт двух металлов с его разностью потенциалов ∆φ нельзя использовать как источник электрической энергии не потому, что ∆φ мало, а потому, что в замкнутой цепи, составленной из различных металлов, находящихся при одинаковой температуре, сумма всех контактных разностей потенциалов равна нулю.
Сформулированный выше вывод справедлив лишь при условии, что температуры контактирующих металлов одинаковы.
Но если в замкнутом контуре, составленном из двух металлических проводников, контакты имеют различные температуры, то сумма контактных разностей потенциалов будет отлична от нуля. Это означает, что в контуре будет действовать электродвижущая сила, которую называют термоэлектродвижущей, а в замкнутом контуре установится электрический ток, называемый термоэлектрическим.
Термоэлектродвижущая сила ε пропорциональна разности температур контактов: ε =α(Т1 -Т2 ).
Явление термоэлектричества было открыто около 150 лет назад голландским физиком Зеебеком и давно используется в лабораторной технике для измерения температур. Принципиальная схема термоэлектрического термометра показана на рис (35).
рис.35
Металлы 1 и 2, составляющие термопару, подбирают так, чтобы чувствительность её была наибольшей. Один спай помещают в место, температуру которого нужно измерить, а температуру другого спая поддерживают постоянной. При не очень точных измерениях второй спай находится просто в воздухе. При точных измерениях его погружают в сосуд Дьюара, заполненный, например, жидким азотом или тающим льдом. К клеммам аб подключают чувствительный гальванометр. Термопары позволяют измерять как очень высокие, так и очень низкие температуры, которые невозможно измерить обычным жидкостным термометром.
Для увеличения чувствительности вместо одной термопары берут несколько термопар, соединенных последовательно. Э.д.с. полученной термобатареи равна сумме э.д.с. отдельных термопар. Термостолбики монтируют так, что все нечётные спаи находятся на поддерживающей рамке, а все чётные - в середине рамки. Рамка с термобатареей помещена внутрь закрытого металлического кожуха, имеющего небольшое оконце, через которое падающее на термостолбик излучение нагревает чётные спаи термобатареи. Если подсоединить такой термостолбик к проекционному гальванометру, то можно убедится, что он обнаруживает тепловое излучение человеческой руки, удалённой от него на расстоянии нескольких метров. Такое излучение вызывает разность температур спаев лишь около миллионной доли градуса.
Термоэлемент можно использовать для превращения тепла, нагревающего горячий спай, в электрическую энергию. Однако при этом значительная часть тепла отдаёт холодным спаем окружающей среде, теряет за счёт хорошей теплопроводности металлов, поэтому доля тепла, превращаемого в электрическую энергию, невелика. Величина же термоэлектродвижущей силы таких элементов незначительна, так как у металлов число свободных электронов и их энергия практически не зависят от температуры. К.п.д. таких термоэлементов не превышает 0,5% . Поэтому они непригодны в качестве генераторов электрической энергии.
Дальнейший шаг на пути создания термоэлементов с более высоким к.п.д. - создание термоэлемента из двух полупроводников. Идея создания полупроводниковых термоэлементов принадлежит советскому физику академику А.Ф.Иоффе.
Конструктивно полупроводниковый термоэлемент может быть оформлен так, как показано на рисунке 36
рис.36
верхние концы полупроводниковых брусочков 1 и 3 с разным типом проводимости замкнуты медной пластинкой 2. П-образные, стальные пластины радиатора 4 предназначены для отвода теплоты и поддержания необходимой разности температур при работе термоэлемента. Медная пластина 2, замыкающие горячие концы полупроводников, не оказывает влияния на величину термо-э.д.с. такого термоэлемента, так как оба конца её находятся при одной и той же температуре.
Величина термо-э.д.с. в полупроводниковых термоэлементах больше, чем у металлических термопар, не только за счёт меньшей теплопроводности полупроводников. Основная причина состоит в том, что в полупроводниках нагревание увеличивает не только кинетическую энергию электронов и дырок, но и их концентрацию.
В результате повышения концентрации основных носителей тока – электронов в полупроводнике n–типа (рис37) и дырок в полупроводнике р-типа(рис 38) и увеличение энергии их движения изменяется распределение зарядов в внутри полупроводника: основные носители тока «устремляются» к холодному концу, «обнажая» ионы примеси. Такое перераспределение зарядов влечёт за собой образования внутреннего электрического поля, которое по мере возрастания замедляет движение зарядов от горячего конца к холодному. В результате совместного действия этого поля и соответствующей разности температур устанавливает равновесие, характеризуемое определённой разностью потенциалов между нагретым и холодным концами полупроводника. Если включить такой полупроводник в цепь и замкнуть её, то в цепи появится ток.

рис. 37 рис. 38
При прохождении тока через цепь, состоящую из двух спаянных металлов, наблюдается эффект, обратный явлению термоэлектричества, т.е. температура одного из контактов повышается, а другого - понижается. Этот эффект был обнаружен в 1834 году французским физиком Пельтье. Изменив направление тока в термобатареи, можно холодильник превратить в генератор. На основе явления Пельтье разработан термоэлектрический способ отоплений.
5.10. Зависимость сопротивления контакта от внешнего напряжения
Двойной электрический слой, возникающий вдоль поверхности соприкосновения двух металлов, двух полупроводников или металла и полупроводника, обладает ещё способностью изменять электрическое сопротивление в зависимости от направления внешнего электрического поля источника тока.
Подсоединим контакт двух металлов 1 и 2(рис 39) к источнику постоянного тока. Если к металлу 1 подсоединить плюс, а к металлу 2 – «-» источника, то тогда направление электрического поля источника и направление внутреннего электрического поля в двойном электрическом слое будут одинаковыми. Суммарное электрическое поле ещё больше затруднит движение электронов в контактном слое.

рис. 39
Толщина двойного слоя и контактная разность потенциалов возрастут. Можно сказать, что увеличилось сопротивления контактного слоя, так как ток в цепи уменьшится.
Если к металлу 2 присоединить положительный, а к металлу 1-отрицательный полюс источника, то направление внешнего электрического поля и электрического поля контактного слоя будут противоположны. Суммарное электрическое поле напряжённостью Е=Евнеш -Евнут оказывает меньшее тормозное воздействие на движущиеся электроны, и преимущественное движение электронов из металла 1 в металл 2 станет более активным. Толщина двойного электрического слоя и контактная разность потенциалов уменьшатся, что равносильно уменьшению электрического сопротивления контакта.
Приложенное внешнее напряжение источника тока называют прямым , если оно уменьшает сопротивление контакта, и обратным , если оно увеличивает его сопротивление.
Однако при контакте двух металлов изменение концентрации электронов при прямом и обратном напряжении не очень заметно. Ведь концентрация электронов в металлах огромна – порядка 1028 м-3 . Поэтому явление зависимости сопротивления двойного электрического слоя от приложенного напряжения особенно ярко проявляется при контакте двух полупроводников с различным типом проводимости.
Если внешнее электрическое поле направить навстречу внутреннему, то под действием сил этого поля основные носители зарядов устремляются к р-n-переходу, внедряются в него, насыщают его(рис40). В результате этого сопротивления р-n-перехода уменьшается. В цепи установится значительный ток, созданный основными носителями тока.
Если к р-n-переходу приложить внешнее напряжение так, чтобы напряжённость тока, была направлена в ту же сторону, что и напряжённость двойного слоя, то часть основных носителей тока под действием сил этого поля уйдёт из приконтактной области к соответствующим полюсам и нейтрализует там (рис41)

рис. 40 рис. 41
Следовательно, приконтактная область ещё больше обеднится основными носителями тока, а это означает сопротивления р-n-перехода значительно возрастёт. Ток во всей цепи будет очень малым, так как он определяется лишь движением не основных носителей тока, которых немного по сравнению с основным.
Зависимость тока в цепи, содержащей р-n-переход, от напряжения источника тока изображена на рисунке 42.
рис.42
При прямом напряжении сила, начиная с некоторого значения, почти линейно зависит от напряжения. Следовательно сопротивления р-n-перехода сначала постепенно уменьшается, а затем остаётся почти постоянным. При обратном напряжении на некотором участке ток почти не зависит от приложенного напряжения. Это говорит о том, что сопротивление р-n-перехода возрастает пропорционально приложенному напряжению. Обратный ток, созданный не основными носителями, незначителен: он будет тем меньше, чем меньше не основных носителей в полупроводнике.
При больших обратных напряжениях, порядка нескольких сотен вольт, сила тока резко возрастает, наблюдается пробор р-n-перехода. Толщина запорного слоя очень мала (10-5 см), а напряжённость поля в нем достигает тысяч вольт на метр. Столь сильное поле может освобождать связанные электроны, вырывая их из кристаллической решётки, что вызывает резкое увеличение числа не основных носителей тока. Запорный слой разрушается, и обратный ток резко возрастает.
5.11. р- n -р-переход. Транзисторы.
Полупроводниковые приборы используют для усиления и генерации переменных токов и напряжений. Таки приборы получили названия кристаллических триодов или транзисторов. Чаще всего для устройства полупроводниковых триодов применяют германий и кремний. Это связано с тем, что длина свободного пробега электронов в них больше, чем в других полупроводниках. Кроме этого, кристаллы германия и кремния обладают большой механической прочностью, химической устойчивостью. Важным свойством этих полупроводников является относительно медленная рекомбинация дырок и электронов, поэтому запряжённые частицы противоположных знаков проникают сквозь тонкие слои этих кристаллов без воссоединения друг с другом.
Наиболее распространённым типом транзистора является плоскостной триод. Для изготовления плоскостного триода в монокристалл германия или кремния вводят соответствующие примеси таким образом, что создают прослойку дырочного полупроводника между двумя слоями электронного. В зависимости от этого различают триоды на основе
п -полупроводников (тип р-п -р) (рис43).
При соединении полупроводников с разным типом проводимости на границе раздела образуется область, обедненная носителями

рис. 43 рис.44
тока (запирающий слой ). Наличие трёх полупроводников в плоскостном триоде приводит к образованию двух запорных слоёв по обе стороны среднего полупроводника. Таки образом, полупроводниковый триод в отличие от диодов содержит два электронно-дырочных перехода. Он как бы представляет собой два диода, соединённых последовательно, навстречу друг другу.
Но нельзя представить себе транзистор как простую совокупность двух обычных полупроводниковых диодов. Дело в том, что у транзистора ток, текущий через второй переход, в то время как у двух отдельных диодов ток в каждом из их зависит только от величины и полярности приложенного к нему напряжения и совсем не зависит от состояния другого диода.
Для того чтобы полупроводник триод начал усиливать, его надо соединить с двумя внешними источниками тока так, чтобы один электронно-дырочный переход был включён в прямом направлении, а второй - в обратном (рис44).
Переход, включаемый в пропускном направлении, называют эмиттерным, а переход, включаемый в запорном направлении – коллекторным.
Электроды называют соответственно эмиттером и коллектором. Электрод, соединённый со средним проводником, называют основанием или базой.
VI Магнитные свойства вещества.
6.1 Элементарные носители магнетизма
В первой половине XIX в. французский физик Ампер предложил, что особого магнитного поля, не обусловленного электрическими токами, вообще не существуют. По мысли Ампера, магнитные свойства вещества связаны с текущими внутри молекул вещества молекулярными токами. В веществе как бы существуют элементарные магнитики - замкнутые молекулярные токи. Их взаимное расположение и ориентация определяют магнитные свойства вещества.
В настоящее время гипотеза Ампера получила убедительное обоснование и вскрыта физическая сущность этих элементарных «магнитиков».
Атомы вещества обладает магнитными свойствами, в частности, потому, что в нём вокруг положительно заряжённого ядра обращаются электроны. Движущиеся вокруг ядра электроны можно представить как элементарные «магнитики», так как круговой электрический ток создаёт магнитное поле, аналогичное магнитному полю постоянного магнита.
На рисунке 45,а изображён простейший атом, состоящий из ядра и обращающегося вокруг него электрона. Электрический ток, эквивалентный движению электрона (рис 45,б).

а б рис. 45
На этом же рисунке показано и соответствующее круговому току магнитное поле. Направление линий индукции определяется правилом буравчика.
Однако магнитные свойства атома связаны не только с орбитальным движением электронов. Элементарные частицы, электроны, протоны и нейтроны, входящие в состав атома, сами обладают магнитными свойствами. Все они в свою очередь представляют собой тоже элементарные «магнитики», но разные по своим магнитным свойствам.
Магнитные свойства изолированного атома определяются магнитными свойствами в первую очередь электронов, хотя определённую лепту вносят протоны и нейтроны. В случае же твёрдого тела, представляющего совокупность огромного числа атомов, магнитные свойства его определяются не только элементарными частицами, принадлежащими данному атому, но и взаимодействием частиц атомов.
6.2. Орбитальные и спиновые магнитные моменты электрона
Для характеристики магнитного поля электрона, движущегося по замкнутой орбите, вводят понятие орбитального магнитного момента Р0 . Это векторная величина, измеряемая произведением элементарного тока I на величину обтекаемой им площади S (Р0 =SI). Направление орбитального магнитного момента Р0 определяется правилом буравчика.
Электрон, движущийся по орбите, обладает также и механическим моментом импульса L0 .
Движущаяся со скоростью v материальная точка массы m обладает импульсом Р=mvr. Величина этого вектора L, а направление его определяется правилом буравчика.
Электрон кроме орбитального магнитного момента обладает и орбитальным механическим моментом, при этом Р0 и L0 направлены в противоположные стороны.
Величину Горб , равную отношению Р0 к L0 , называют гиромагнитным отношением. Для электрона, обращающегося по орбите вокруг ядра, Горб =е/2m, где е - заряд электрона, а m - его масса.
В настоящее время доказано, что электрон, помимо орбитальных магнитных и механических моментов, обладает ещё и собственными магнитными и механическими моментами, получившими название спиновых моментов Рспин и L спин .
Первоначально спиновые моменты связывали с вращением электрона вокруг своей оси. Благодаря этому и возник термин «спин». Но оказалось, что такое представление неправомерно. Величина спинового магнитного момента Рспин , рассчитанная по значению заряда электрона и скорости его предполагаемого вращения, не совпадает со значением Рспин, полученным экспериментально. Законы движения электронов более сложны и не могут быть описаны на основе классических представлений.
Электрон обладает рядом свойств, которые характеризуются не только его зарядом и массой, но также спиновым магнитным моментом и собственным механическим моментом; Рспин и L спин электрона такие же неотъемлемые характеристики электрона, как его заряд е и масса m .
Рспин и Lспин характеризуются спиновым гиромагнитным отношением: Гспин = Рспин / Lспин =е/m, т.е. Гспин =2Горб .
Собственным магнитным моментом обладают также протоны и нейтроны. Но их собственные магнитные моменты на три порядка меньше спинового магнитного момента электрона. Естественно, в первом приближении можно пренебречь магнитными моментами протонов и нейтронов, т.е. магнитным моментом ядра. В электронной теории магнетизма считают, что магнитные свойства атома целиком определяются электронами.
Полный магнитный момент атома Рат представляет собой геометрическую сумму орбитальных и спиновых магнитных моментов электронов, принадлежащих данному атому. Если в атоме Z электронов, то Рат =∑z 1 P0 +∑z 1 Рспин .
В случае твёрдых тел результаты этого сложения зависят т взаимодействия частиц в твёрдом теле. Разные вещества обладают различными магнитными свойствами.
6.3 Классификация тел по магнитным свойствам
Cамое простое деление тел по магнитным свойствам сводится к выделению слабомагнитных и сильномагнитных тел. известно также деление веществ по магнитным свойствам на диамагнетики, парамагнетики, ферромагнетики, антиферромагнетики и ферримагнетики .
Впервые деление веществ по магнитным свойствам предложил уже более ста лет назад М.Фарадей. Он помещал образцы различных веществ в неоднородное магнитное поле и обнаружил, что часть из них втягивается из области с малой индукцией в область большей индукции и устанавливается вдоль линии индукции поля, а часть выталкивается из области магнитного поля с большим значением индукции, устанавливаясь поперёк линии индукции. первую группу он назвал парамагнетикой(вдоль), вторую- диамагнетикой(поперёк).
Среди парамагнетиков бала обнаружена группа веществ, обладающая особо сильными свойствами, как бы сверхпарамагнетики. К ним в первую очередь относятся железо, никель и кобальт. впоследствии их выделили в особый класс ферромагнитных веществ.
Все эти вещества характеризуются различной магнитной проницаемостью μ: для диамагнетиков μ<1, для парамагнетиков μ>1, но и в том и в другом случае μ лишь незначительно отличаются от единицы. для ферромагнетиков μ>>1. Но не только в этом отличие ферромагнитных свойств.
Магнитная проницаемость ферромагнетиков μ не является постоянной величиной, а зависит от индукции внешнего поля В0 . Характер данной зависимости приведён на рисунке 45в.

рис.45в
Ферромагнетики обладают остаточным магнетизмом, т.е. могут сохранять намагниченность и при отсутствии внешнего намагничивающего поля.
Для ферромагнетиков характерен магнитный гистерезис - явление, возникающее при перемагничивании ферромагнитного образца. Сущность магнитного гистерезиса состоит в том, что изменение намагничивание образца I отстаёт от изменений индукции магнитного поля В0 . При этом I=В-В0 =(μ-1)В0 . при некоторой температуре, называемой точкой Кюри, ферромагнетик теряет ферромагнитные свойства и превращается в обычный парамагнетик.
6.4. Диамагнетизм. Влияние магнитного поля на орбитальное движение электронов
Атомы диамагнитных веществ, при отсутствии внешнего намагничивающего поля не имеют магнитного момента. Орбитальные и спиновые моменты всех электронов этих атомов скомпенсированы. Если же диамагнитное тело поместить в магнитное поле, то в нём возникнет дополнительный магнитный момент, направленный против поля. Как это объяснить?
Объяснение основано на применении к атому, помещённому в магнитное поле, правило Ленца. В момент включения магнитного поля или внесении диамагнитного вещества в область, где поле уже есть, в атомах должны возникнуть индукционные токи. В действительности в атоме движутся электроны, а магнитное поле как-то изменяет движение этих электронов и эквивалентный этому движению электронов ток. Но для простоты объяснения будем говорить об индукционном токе. Согласно правилу Ленца направление индукционного тока таково, что поле, им созданное, направлено против намагничивание поля В0 . Возникший дополнительный орбитальный магнитный момент электрона направлен против поля. Данный эффект продолжается и после исчезновения э.д.с. индукции, когда магнитное поле не меняется. Объясняется это отсутствием сопротивления движению электронов в атоме, вследствие чего индукционный ток в нём не затухнет и после исчезновения э.д.с.
Если орбитальные магнитные моменты разных электронов в атоме могут скомпенсировать друг друга, то дополнительные магнитные моменты электронов, направленные у всех электронов против поля, суммируются, т.е. возникает суммарный дополнительный магнитный момент атома.
Возникновения диамагнетизма можно объяснить ещё и изменением частоты обращения электрона вокруг ядра.
Рассмотрим случай, когда плоскость орбиты электрона перпендикулярна к вектору В0 магнитного поля (рис46). На электрон в этом случае, кроме кулоновской силы Fк , действует сила Лоренца Fл , равная evB0 . Равнодействующая сила при этом равна либо сумме, либо разности Fк и Fл , поэтому и центростремительное ускорение в этих двух случаях различно. Оно или увеличится или уменьшится, соответственно изменяется и частота обращения электрона вокруг ядра. Это изменение частоты и обусловливает появления дополнительного магнитного момента, так как изменяется сила эквивалентного тока.
рис. 46
Во всех же других случаях происходит так называемая прецессия электронной орбиты в магнитном поле.
Диамагнитный эффект присущ всем атомам без исключения, но по величине он незначителен. Обнаружить диамагнитный момент удаётся лишь в том случае, когда он не подавляется более сильным парамагнитным эффектом.
Диамагнетиками являются все инертные газы, а также металлы (медь, серебро, золото, бериллий, цинк, кадмий, бор, галлий, свинец, сурьма, висмут и др.).
6.5. Парамагнетизм
У парамагнетиков атомы и молекулы имеют постоянный магнитный момент, т.е. магнитные моменты частиц, их составляющих, не скомпенсированы. Такие атомы и молекулы в магнитном поле ведут себя как магнитная стрелка, устанавливаясь по полю.
При рассмотрении поведения парамагнитных веществ в магнитном поле надо учитывать, что магнитное поле ориентирует магнитные моменты атомов, а тепловое движение, наоборот, оказывает дезориентирующее действие. В результате действия обоих факторов устанавливается некоторое распределение магнитных моментов тела.
На рисунке 48 показаны магнитные моменты атомов парамагнетика при отсутствии внешнего магнитного поля.

рис. 48 рис. 49
Магнитные моменты отдельных атомов ориентированы равновероятно и по всем направлениям и средний магнитный момент всего тела равен нулю.
На рис 49 показано, как при действии внешнего магнитного поля в парамагнетике возникает преимущественное направление элементарных магнитных моментов. Средний момент тела теперь отличен от нуля, и тело намагничивается по полю. Очевидно, что степень ориентации магнитных моментов по полю зависит от величины индукции поля.
Для парамагнетиков характерна некоторая зависимость намагниченности от температуры.
Парамагнитных веществ много, это некоторые газы (N2 , О2 и др.), соли лантаноидов, железа, кобальта, никеля, а также многие металлы (щелочные металлы, магний, кальций, алюминий, хром, молибден, марганец, платина, палладий) и др.
6.6. Ферромагнетизм. Элементарные носители ферромагнетизма.
Носители ферромагнетизма были установлены с помощью опытов по гиромагнитным явлениям. В этих опытах определялась гиромагнитное отношение Г.
Рассмотрим один из самых интересных гиромагнитных опытов - опыт Эйнштейна и де Газа, осуществлённый в 1915г. В этом опыте железный цилиндр помещали в соленоид и подвешивали на тонкой кварцевой нити по оси соленоида (рис50).
По соленоиду можно было пропускать ток. На кварцевой нити укрепляли зеркальце, на которое направляли луч света. После отражения от зеркальца этот луч попадал в виде «светового зайчика» на экране. При малейших закручиваниях нити поворачивалось и зеркальце, а световой зайчик на экране смещался. Получился весьма чувствительный индикатор закручивание нити. Чтобы разобраться в опыте Эйнштейна и де Газа, необходимо уяснить сущность закона сохранения импульса. Оказывается, каждое вращающееся тело обладает некоторым моментом импульса Р, который определяется скоростями и расстояниями тел или частиц тел относительно оси вращения. Чем больше скорости v (или ω) и расстояние точки от оси вращения, тем больше величина Р.
Установлено, что если на тело не действуют никакие силы, способные изменять его вращения, то момент импульса Р сохраняется (Р=const). Ряд опытов и часто наблюдаемые в жизни явления очень хорошо подтверждают законы сохранения момента импульса. Наиболее простой пример - вращение фигуриста. Если фигурист вращается, то стоит ему прижать руку к телу, как угловая скорость его вращения возрастёт. Если же наоборот раскинет руки, то угловая скорость его вращения уменьшится. Дело в том, что момент импульса при вмещении фигуриста не должен изменяется. Но эта величина зависит от угловой скорости ω и расстояния от оси вращения r. Поэтому, когда фигурист прижимает руки, r уменьшается, ω - возрастает.
Обратимся теперь к интересующему нас опыту Эйнштейна и де Газа. Если намагнитить стержень, пропустив по соленоиду ток определённого направления, то все орбитальные и спиновые моменты в сердечнике должны сориентироваться по полю.

рис. 50
Определённым образом должны сориентироваться и механические моменты атомов. Если же теперь сердечник перемагнитить, изменив направление тока в соленоиде, то должна произойти переориентация, как магнитных моментов, так и их механических моментов. А стержень в результате этого должен вращаться. Однако возникшие в опыте Эйнштейна и де Газа при такой его постановке эффект весьма незначителен и учёные усилили его, воспользовавшись явлением механического резонанса. На соленоид подавалось переменное напряжение, частота которого совпадала с частотой собственных крутильных колебаний системы. Световой зайчик в этом случае смещался вполне заметно.
В опыте Эйнштейна и Де Газа было определенно гиромагнитное отношение Г. Оно оказалось равным е/m, т.е. ферромагнетизм обусловлен не орбитальными, а спиновыми магнитными моментами.
6.7. Ферромагнетизм и кристаллическая решётка. Доменная структура ферромагнетиков.
Возникает вопрос: почему у парамагнетиков не появляются свойства, присущие ферромагнетикам, ведь спиновые магнитные моменты есть и у электронов атомов парамагнетиков. Оказывается, дело не только в наличии нескомпенсированных спиновых магнитных моментов электронов, но и в существовании особого взаимодействия между этими электронами в теле.
Ферромагнетизм присущ не любым веществам и веществам не в любом состоянии, а возможен лишь в кристаллическом состоянии некоторых веществ и при температурах ниже некоторой температуры, определённой для данного вещества. Это - вещества, у которых в электронной оболочке есть незаполненные внутренние слои, в них и получаются нескомпенсированные спиновые моменты.
Объяснения сильной намагниченности ферромагнетиков впервые пытался дать русский физик Б.Л.Розинг, который в 1892 г. высказал предположение о том, что в ферромагнетиках под действием особых сил возникают определённые намагниченные участки. В 1902г. французский физик П.Вейс высказал гипотезу о наличии в ферромагнитном кристалле областей - доменов, которые намагничены до насыщения. При отсутствии внешнего магнитного поля магнитные моменты отдельных доменов направлены различно и общий магнитный момент тела равен нулю. В магнитном поле эти намагниченные участки ориентируются по полю.
Гипотеза Вейса о доменной структуре ферромагнетиков получила теоретическое обоснование лишь в 1935г. в работах советских физиков Л.Ландау и Е.Лившица.
Было установлено, что существуют особые силы, описываемые квантовой механикой, которые заставляют все спины внутри домена выстраиваться параллельно.
Хотя линейные размеры доменов невелики (от 10-2 до 10-5 см), их удаётся наблюдать в микроскопе. Ещё в 1931 г. советские физики Н.Акулов и М.Дехтяр, а также независимо от них американский физик С.Биттер предложил метод наблюдения доменной структуры ферромагнетиков, получивший название метода порошковых фигур. Поверхность кристалла ферромагнетика полируют и наносят на неё каплю водной суспензии тонко измельчённого ферромагнитного порошка, частицы которого оседают на границах доменов. Благодаря этому они становятся видимыми в микроскоп.
6.8. Антиферромагнетизм и ферримагнетизм (ферриты).
У ферромагнетиков есть домены, в которых все спины ориентированы параллельно (рис52,а). В 1933г. Л.Ландау предсказал, что должны существовать вещества, у которых спины в доменах ориентированы антипараллельно (рис52,б). Такие вещества действительно существуют(MnO, MnS,NiCr и др.), и они получили название антиферромагнетиков. Пока эти вещества не получили практического применения, но теоретическое их изучение представляет очень большой интерес.
а б рис. 52
Кристаллическую решётку антиферромагнетика можно рассматривать в простейшем случае как совокупность двух пространственных решёток, как бы «вдвинутых» одна в другую. Каждую из таких решёток называют подрешёткой. Ориентация магнитных моментов в каждой подрешётке одинаковая у всех элементов подрешётки, а во «вдвинутых» друг в друга подрешётках - антипараллельная.
Каковы же свойства антиферромагнетиков? При низких температурах магнитная проницаемость этих веществ мала. С ростом температуры наблюдается увеличение значения магнитной проницаемости μ. Но есть определённая температура, при которой вещество теряет свои антиферромагнитные свойства и при более высокой температуре ведёт себя уже как обычный парамагнетик. Эта точка у антиферромагнетиков, аналогичная точке Кюри для ферромагнетиков, получила название точки Неля .
Антиферромагнетики трудно отличить от других магнитных веществ. Легче всего это сделать путём определения зависимости магнитной проницаемости вещества от температуры. Если у вещества есть максимум проницаемости при некоторой температуре, то это антиферромагнетик. Эта температура - точка Неля.
Большое практическое значение приобрели вещества, получившие название ферритов . Чтобы понять свойства феррита, представим себе кристалл, структура которого соответствует двум подрешеткам, причём эти подрешётки имеют магнитные моменты, различные по величине и противоположные по направлению. Полные компенсации магнитных моментов в этом случае не происходит. Такое вещество ведет себя подобно ферромагнетику, но с более сложной зависимостью намагниченности от температуры.
Ферриты представляют собой твёрдые растворы, состоящие из окиси железа и окиси одного или нескольких металлов. Получают их спеканием при температуре 900 - 1400°С мелкораздробленных и перемещённых окислов. Применяют их в основном в приборах, работающих на токах сверхвысоких частот, в тех случаях, когда надо понизить потери в сердечниках катушек. Ферриты - полупроводники, их удельное сопротивление значительно больше удельного сопротивления металлических ферромагнетиков. Магнитная проницаемость их достаточно велика.
VII Жидкие кристаллы .
Удивительный мир жидких кристаллов открылся глазами ученых сравнительно давно. Но за последние 15-20 лет произошёл огромный скачок в понимании природы жидкокристаллического состояния физических свойств этих веществ, их роли в современной науке и технике. И сейчас уже нет сомнений в том, что без этих материалов, разнообразных по своим свойствам, высокоэкономичных, сравнительно простых в изготовлении и применении, дальнейший научно-технический прогресс не может обойтись.
Самые первые сведения о таких веществах были сообщены в 1888 году австрийским ботаником Ф.Рейницером, который синтезировал необычные кристаллы. При их нагревании получалась жидкость, которая в зависимости от температуры была то мутной, то прозрачной, то приобретала синеватый цвет. Немецкий физик О.Леман начал систематическое изучение таких веществ и установил, что открыто особое состояние, присущее многим органическим соединениям. Жидкие кристаллы делятся на нематическую жидкость, холестерическую и смектическую жидкость.
7.1.Нематическая жидкость .
Жидкости сильно отличаются от газов и твёрдых кристаллов. Атомы или молекулы, из которых состоит жидкость, не могут разойтись на сколь угодно большое расстояние друг от друга. Это означает, что в жидкости очень важны силы притяжения между атомами или молекулами. То же самое можно сказать и о твёрдом кристалле, но в кристалле эти силы настолько велики, что атомы вынуждены занимать в нём определённые места, образуя трёхмерную кристаллическую решётку. В такой решётке всегда имеются выделенные направления, называемые осями кристалла. Вдоль этих направлений атомы располагаются в строго периодическом порядке. В обычной жидкости нет никаких выделенных направлений, она не обладает собственной формой, потому что молекулы жидкости не столь прочно связаны друг с другом и могут перемещаться в пространстве – перескакивать с места на место.
Таким образом, в текучей жидкости молекулы только в среднем находятся на некотором характерном расстоянии друг от друга. Ответ на вопрос, как взаимодействуют между собой молекулы и чему равно среднее расстояние а между ними, дает квантовая механика. Оказывается, что на больших расстояниях между молекулами их взаимодействие определяется силами притяжения, а на очень
малых расстояниях – силами отталкивания
Следовательно, молекулы не могут сблизиться на сколь угодно малое расстояние из-за очень больших сил отталкивания - в этом случае говорят, что молекулы не могут проникать друг в друга.
На расстоянии а , примерно равном размеру молекул, сила, взаимодействующая между молекулами, становится равной нулю.
Так устроена обычная жидкость, состоящая из относительно простых молекул или атомов. Однако нас поджидает замечательное открытие, если молекулы имеют ярко выраженную анизотропную форму, то есть если у молекул можно четко выделить какие-нибудь характерные оси.

рис.53
Такие молекулы схематически изображены на рис53. В них атомы располагаются не, как попало, а выстроены вдоль определённой линии (рис53а) или лежат в выделенной плоскости (рис53,б).
Взаимодействие молекул такой формы приводит к тому, что в жидком состоянии они не только удерживаются на некотором среднем расстоянии друг от друга, но могут сохранять определённый порядок в своём относительном расположении – длинные оси молекул (рис54а) или плоскости молекул (рис54б)

рис. 54
оказываются параллельными друг другу. В такой необычной жидкости появляется особое направление, как в твёрдом кристалле, вдоль которого ориентируются выделенные оси молекул. Это сходство между кристаллом и описанной удивительной жидкостью и провело к соединению двух понятий в одно новое – «жидкий кристалл». А жидкое состояние (рис54) называют нематическим жидким кристаллом. Название «нематичекий» образовано от греческого слова νήμά - нить. В жидких кристаллах под микроскопом видны тонкие подвижные нити, которые представляют собой дефекты структуры. В идеальном жидком кристалле таких нитей нет.
Рассмотрим теперь силы, действующие в нематической жидкости. Эти силы - электрического происхождения. Интересно, что сила притяжения возникает между двумя атомами или молекулами, которые сами по себе являются электрически нейтральными. Посмотрим, как это получается.
Представим себе, что по какой-то причине в атоме произошло смещение отрицательно заряжённого электронного облака относительно положительно заряжённого ядра. Такой атом можно рассматривать как совокупность двух разноименных точечных зарядов, одинаковых по абсолютной величине, находящихся на некотором расстоянии друг от друга (55а). Подобную систему зарядов называют электрическим диполем. В окрестности атома-диполя возникает электрическое поле. Напряжённость этого поля быстро убывает при удалении от атома, но вблизи атома поле достаточно велико. Если в окрестности атома I попадает нейтральный атом II (55б), то электрическое поле атома I должно сместить заряды электронов и ядра атома II (55б). Такое относительное смещение зарядов в атоме II должно в свою очередь, создавать электрическое поле, поддерживающее разделение зарядов в атоме I. Из рисунка 55 б видим, что разноименно заряжённые частицы атомов должны притягивать друг друга. При сближении атомов между ними начинают действовать силы отталкивания. На расстоянии, примерно равном размеру атомов, силы взаимодействия между атомами равны нулю. Точно такое же рассуждение мы можем провести и в отношении двух молекул, состоящих из нескольких десятков атомов. Нейтральные молекулы должны притягивать друг друга за счёт образования электрических диполей-атомов.

рис 55
Действительно, молекулы должны притягиваться. Но как? Ясно, что по описанным выше причинам большая часть атомов молекулы стремится оказаться вблизи атомов другой молекулы, так как только в этом случае силы взаимодействия между молекулами обращаются в нуль. Но такая ситуация возможна только тогда, когда длинные оси молекул параллельны друг другу. Таким образом, возникает определённый порядок в ориентации молекул и появляется выделенное направление. Это направление можно характеризовать единичным вектором (рис53,54).
Разумеется, такое параллельное расположение выделенных осей молекул возможно только при достаточно низкой температуре, когда тепловые толчки не настолько сильны, чтобы разрушить ориентационный порядок в системе молекул. При повышении температуры обязательно наступает момент, когда хаотическое тепловое движение молекул становится преобладающим и нематический порядок разрушается.
Таким образом, система таких особых молекул может иметь два состояния: обычное (изотропное) жидкое - при высоких температурах и анизотропное жидкое – при низких температурах. Подчеркнём, что нематический жидкий кристалл может быть действительно жидким, как вода, то есть центры масс молекул не образует в данном случае какую-то правильную решётку, как в кристалле, а располагаются хаотично в пространстве и могут в нём свободно перемещаться. В то же время ориентация молекул в этой жидкости подчиняется строгому порядку. Интересно, что нематическая жидкость, образуемая молекулами вытянутой формы известна уже много десятков лет, в то время как нематическая жидкость из дискообразных молекул открыта только в 1979-1980 года.
7.2.Холестерическая жидкость.
Структура холестерической жидкости во многом сходна с нематической, но имеет одно существенное отличие. Можно сказать, что холестерик обладает нематическим состоянием послойно, то есть состоит из стопки нематических слоёв(рис56а). но оси этих параллельных друг другу слоёв развёрнуты на некоторый угол, причём для двух соседних слоёв этот угол составляет малую величину α=0,5°. Расстояние между соседними слоями примерно равно поперечному размеру молекулы а. если двигаться вдоль оси Z, перпендикулярной плоскости слоёв, то через число слоёв N=π/а ориентация молекул станет такой же, как и в самом первом слое. Расстояние h=а*2π/а, через которое повторяется ориентация молекул в пространстве, представляет собой удвоенный период своеобразной решётки (рис56б). Величину h принято называть шагом спирали, которую образуют в пространстве концы молекул, лежащих в последовательных слоях.
Описанная периодическая решётка – её называют холестерической спиралью - удивительна тем, что чёткая периодичность в ней касается только ориентации молекул. В то же время в каждом нематическом слое молекулы могут свободно перемещаться, меняться местами; словом, холестерическая жидкость свободно течёт вдоль таких плоскостей, но спираль при этом почти не нарушается.

рис. 56
Молекулы могут перемещаться и из слоя в слой, поворачиваясь при этом на угол α, но это даётся им не так легко. Всё это и определяет особые свойства холестерической жидкости, схожие за свойствами твёрдого кристалла. Особенности структуры холестерической жидкости наиболее сильно проявляются при изменении температуры вещества, и при различных внешних воздействиях. Холестерическая спираль обладает яркими оптическими свойствами, чувствительна к малейшим повреждениям столь своеобразной решётки. Всё это вызвало громадный интерес к изучению и применению холестерических жидких кристаллов. Чем вызвана такая структура холестерика?
Объяснения заключается в особенности строения молекул, из которых состоят эти вещества. Молекулы холестерика - почти такие же, как в нематической жидкости, но имеют на своём конце небольшой отросток (рис57а). Этот отросток образуется обычно одним или несколькими атомами, которые выступают из основной плоскости, содержащей подавляющее большинство атомов молекулы. Симметрия молекулы нарушается из-за отростка и напоминает симметрию руки, которая бывает только правой и только левой.
Как сказывается такая форма молекул на ориентационном порядке жидкости? Подобные молекулы можно расположить параллельно друг другу в определённой плоскости, например в плоскости, в которойлежат сами молекулы. Именно эти плоскости и образуют отдельные слои холестерика (рис57б). А как могут быть «пристроены» друг к другу эти слои? Очевидно, что молекулы слоя 2 могут быть параллельны молекулам слоя 1, если слои расположены друг от друга на расстоянии, примерно равном высоте отростков. В этом случае отростки не мешают молекулам оставаться параллельными.

рис. 57
Если расстояние между слоями меньше высоты отростков, то векторы n1 и n2 не могут быть строго параллельны – мешают отростки. Поэтому между векторами n1 и n2 имеется малый угол α.
Таким образом, мы приходим к выводу, что несимметричные молекулы должны образовывать стопку нематических слоёв, причём от слоя к слою молекулы должны поворачиваться на определённый угол α. В зависимости от того, как изогнуты отростки отдельных молекул, холестерические спирали могут быть либо правыми, либо левыми.
7.3.Жидкие кристаллы-растворы.
Жидкокристаллическое состояние можно получить и при растворении подходящих веществ в растворителе, например в воде, который сам по себе не образует жидкий кристалл. При этом получается самые разные жидкие кристаллы. Если молекулы растворяемого вещества имеют форму стержня – получается нематическая жидкость; если у стержнеобразных молекул имеются отростки - холестерическая жидкость. Можно получить и более сложные состояния.
В таких жидких кристаллах важную роль играют не только силы притяжения между молекулами, но и силы отталкивания молекул на близких расстояниях. Роль сил отталкивания можно наглядно представить себе следующим образом. В большом объёме при высокой температуре молекулы, например стержнеобразные, не подчиняются никакому ориентационному порядку, то есть поворачиваются в пространстве как угодно. Но чтобы при всевозможных поворотах молекулы не мешали друг другу, надо каждой молекуле отвести в жидкости определённый объём. Этот объём представляет собой кубик с размером ребра, примерно равным длине молекулы l; в пределах такого кубика с объёмом l3 молекула действительно может быть ориентирована как угодно.
Поместим теперь тоже число молекул при той же температуре в меньший объём, то есть повысим плотность системы. В результате на каждую молекулу станет приходиться объём, меньший, чем l3 . Как будут размещаться молекулы в этом случае? Естественно, они смогут разместиться в меньшем объёме, если не будут поворачиваться как угодно, задевая друг друга, а займут более или менее параллельные положения. Если размер поперечного сечения молекул а заметно меньше l и на каждую молекулу приходится объём ~а2 l, то все молекулы должны быть ориентированы одинаково, так как только в этом случае они не задевают друг друга. Но это может лишь произойти в случае очень высокой плотности. При средней плотности, когда на каждую молекулу приходится объём, меньший, чем l3 , но больший чем а2 l, ориентационный порядок будет неполным, но заметным. И связан этот порядок с тем, что молекулы не могут из-за сильного отталкивания проникать друг в друга.
Плотность стержнеобразных молекул можно изменять без заметного изменения общего объёма жидкости, когда такие молекулы растворяются в каком-нибудь обычном растворителе, например в воде. Повышая содержание воды в соответствующем растворе, мы получаем обычную неориентированную жидкость. При очень малом же содержании растворителя образуется нематическая или холестерическая жидкость, в зависимости от деталей структуры молекул. Растворы полимерных молекул являются как раз нематическими жидкими кристаллами.
Работу клеток живого организма во многом определяют жидкие кристаллы-растворы, которые образуются из специальных молекул. Эти молекулы устроены более сложно. Их взаимодействие друг с другом и с молекулами растворителя характеризуются силами отталкивания и силами электростатического притяжения. Она состоит из небольшой головки (рис58а), представляющей собой электрический диполь, и длинного незаряжённого хвоста.

рис.58
Напомним, что молекулы воды - тоже электрические диполи. Противоположно заряжённые концы диполей притягиваются друг к другу, и поэтому молекулярные головки притягивают воду. В тоже время хвосты молекул химически устроены так, что они отталкивают воду, как молекулы жиров или воска.
7.4. Смектическая жидкость.
Строение особых молекул, описанных выше, объясняет большое разнообразие структуры жидких кристаллов-растворов. Например, при определённой концентрации таких молекул в воде могут получаться жидкие кристаллы, в которых молекулы не только одинаково ориентируется, но и образуют жесткую кристаллическую решетку. Только эта решетка лишь отчасти похожа на обычную решётку твёрдого тела, периодическую в трёх взаимно перпендикулярных направлениях. Таких направлений в особых жидких кристаллах может быть только два или даже одно.
На рисунке 58,б изображена стопка слоёв, образующихся при не очень малой концентрации молекул в воде. Хвосты молекул как бы «прячутся» от воды за оболочками из дипольных головок. Вода является прослойкой между двойными слоями молекул. Стопка таких слоёв образует кристаллическую решётку, периодическую только в одном направлении - вдоль оси Z. В этом направлении жесткость решётки почти такая же, как в твёрдом теле, в то время как в поперечных направлениях слои могут свободно скользить, то есть вдоль слоёв система ведёт себя как жидкость. Такая структура сродни мылу, поэтому такие жидкие кристаллы называются смектическими. Они похожи на холестерики своей слоистостью, но периоды решёток в этих двух случаях различны. В холестериках период составляет несколько тысяч ангстрем, а в смектиках - несколько десятков ангстрем (что соответствует длине молекулы).
При определенной концентрации раствора возникает кристаллическая решётка, периодическая в двух направлениях. При этом дипольные молекулы собираются в жидкие столбики или «нити», которые и образуют такую решётку, похожую на стопку карандашей (рис59,а). Подобные отчасти твёрдые кристаллы существуют не только в растворах. Ими могут быть и отдельные вещества, изменяющие своё состояние при изменении температуры. При этом обычно с понижением температуры состояния меняются в такой последовательности: обыкновенная жидкость – нематическая жидкость или холестерик - смектик - твёрдый кристалл. Долгое время не находили жидкокристаллических веществ с решётками, периодическими в двух направлениях, но недавно были обнаружены и они.
На рис 59,б такая решётка, образованная жидкими столбиками дискообразных молекул. Интересно, что в последнем случае существует и ориентационный порядок: плоскости дисков в столбике параллельны друг другу, хотя центры дисков располагаются хаотически вдоль оси жидкого столбика.

рис. 59
7.5.Эффект Фредерикса .
Наибольшее впечатление производят оптические свойства жидких кристаллов, сделавшие эти объекты столь популярными. В жидких кристаллах направление оптических осей можно изменять с помощью самых разных воздействий, в том числе электрическими или магнитными полями. Эффект изменения направления ориентации молекул в нематической жидкости под действием поля наблюдался ещё в предвоенные годы известным советским учёным В.Фредериксом и носит теперь его имя. Пользуясь популярными сейчас электронными часами и калькуляторами на жидких кристаллах, вы наблюдаете это явление - эффект Фредерикса.
Прежде чем описать эффект Фредерикса, необходимо напомним, что такое поляризованный свет. В луче поляризованного света вектор напряжённости электрического поля Е колеблется вдоль единственного направления. Обычный естественный свет не имеет такой определённой поляризации, так как он состоит из всевозможных волн, каждая из которых имеет произвольное направление колебаний вектора Е, а все вместе они составляют неполяризованный световой пучок. Особые кристаллы – поляризаторы - преобразуют неполяризованный свет в линейно поляризованный, поскольку они могут пропускать сквозь себя только волны, в которых вектор Е ориентирован совершенно определённо по отношению к оптической оси поляризатора. Например, кристалл турмалина пропускает сквозь себя лишь свет, поляризованный вдоль оптической оси этого кристалла, в то время как волны с перпендикулярной поляризацией им сильно поглощаются.
Если на пути светового пучка расположить два поляризатора, оси которых параллельны, то свет пройдёт сквозь оптическую систему, показанную на рис60а, а если оси поляризаторов скрещены, то свет сквозь эту систему пройти не сможет (рис60б).
рис.60
Поместим теперь между двумя скрещёнными поляризаторами два стекла, а между ними - нематическую жидкость, предварительно слегка пополировав стекла вдоль определённого направления. Такая полировка стёкол нужна для того, чтобы сориентировать в заданном направлении оптическую ось жидкого кристалла (n). Например, при параллельной полировке стёкол молекулы, прилипшие к стёклам параллельно микробороздам на стеклянной поверхности, задают благодаря описанным межмолекулярным взаимодействиям такую же ориентацию вектора n и в глубине слоя нематической жидкости (рис61а). Если неполированные стёкла предварительно обработать специальными химическими веществами, то можно добиться ориентации оси n перпендикулярно стеклянной поверхности (рис61б).
Наконец, если полированные стёкла развернуть перпендикулярно друг другу, то можно получить закрученную по толщине слоя ориентацию вектора n (рис61в).
Как же проходит поляризованный свет сквозь ориентированный слой нематической жидкости и сквозь изображённые оптические системы вообще? Если поляризация света параллельна оси n, то свет проходит сквозь жидкий кристалл, не изменяя своей поляризации (61а). То же происходит и в случае, если поляризация света перпендикулярна оптической оси (рис61б). В случае закрученной ориентации n поляризация света также поворачивается вслед за осью n (рис61в).
Что же происходит в слое жидкого кристалла при прохождении через него света? В жидком кристалле, поле проходящей световой волны приводит к разделению зарядов в молекулах и возникновению дипольных колебаний.
Предположим, что в молекуле кристалла электроны легко смещаются вдоль длинной оси молекулы, то есть вдоль направления n. Тогда в случае, изображённом на рисунке 61а, по толщине слоя распространяются падающая волна и вторичные волны, причём векторы Е в волнах совпадают по направлению. В случае, изображённом на рисунке 61б диполи не образуются и вторичные волны не излучаются; значит, падающая волна проходит, не ослабляясь. Наконец, в случае 61в поляризация света изменяет своё направление в соответствии с поворотом оптической оси n по толщине слоя. Поворот вектора Е в такт с осью n обеспечивает излучение вторичных волн, не ослабляемое на любой глубине слоя. (это интерференционное явление возможно тогда, когда на пути светового луча находятся многочисленные диполи - источники вторичных волн, то есть когда толщина слоя намного больше длины волны света).
Так свет проходит сквозь слой нематической жидкости и доходит до второго поляризатора. И здесь возникает уже знакомая нам ситуация. В случаях а и б (рис61) свет сквозь оптическую систему пройти не может, а в случае в (рис61) он проходит беспрепятственно. А теперь представим себе промежуточный случай, когда оси n на стенках скрещены между собой, но в толще слоя, благодаря какому-то воздействию, они повернулись почти перпендикулярно стёклам. В этой ситуации свет практически не проходит сквозь второй поляризатор. Остался ещё один шаг до массового применения подобной системы. Надо научится управлять оптической осью нематической жидкости так, чтобы в отсутствии воздействия эта ось ориентировалась, как на рисунке 61в, а при включении воздействия она наклонялась на заметный угол, как на рисунках 61,б и г. После выключения воздействия, молекулы занимают свои прежние позиции, вследствие условий на стеклянных поверхностях и взаимодействий между собой.
Оказалось, что именно в нематическом жидком кристалле это очень просто сделать с помощью электрического поля, заключив слой между полированными стёклами, на которые нанесены прозрачные электроды.
рис.61
Подключив к этим электродам слабенькую батарейку и замкнув цепь, мы сделаем нашу оптическую систему светонепроницаемой, а разомкнув цепь – прозрачной, что и осуществил впервые Фредерикс.
Почему электрическое поле поворачивает молекулы так, как нам нужно, и сколь сильным оно при этом должно быть?
Ответ на первую часть вопроса легко дать с помощью рисунка 62.
Пусть молекула, у которой диполь легко образуется вдоль длинной оси, находится в электрическом поле и между векторами Е и n имеется некоторый угол. Тогда в образовавшемся диполе на заряды +Q и –Q действуют силы F+ =+QE и F- = -QE; таким образом, возникает пара сил, создающая крутящий момент.
Этот момент сил и поворачивает молекулу так, чтобы она своей длинной осью ориентировалась вдоль вектора Е.
рис.62
Здесь важно заметить, что на самом деле необходимо повернуть одновременно очень большое число таких молекул, но при этом нет необходимости поворачивать каждую молекулу в отдельности. Поскольку молекулы, взаимодействующие между собой, ориентированы одинаково, то достаточно толкнуть одну, чтобы другие дружно повернулись вслед за первой. Поэтому для осуществления описанного эффекта необходимое некоторое конечное значение разности потенциалов на электродах – пороговое напряжение. Это пороговое значение определяется из условия равенства моментов двух сил: силы, действующие со стороны электрического поля, и возвращающей силы взаимодействия между молекулами, которая стремится ориентировать молекулы так, как сориентированы молекулы, прилипшие к стеклу. Оказывается, что независимо от толщины слоя, пороговое напряжение может составлять доли вольта, причём толщина слоёв составляет сотую долю миллиметра. Это во много раз меньше, чем требуется для получения таких же оптических эффектов в твёрдых кристаллах, что и обусловило громадный практический интерес к жидким кристаллам при создании циферблатов всевозможных типов.
7.6.Избирательное отражение света холестериками
Важнейший оптический эффект, наблюдаемый в холестерической жидкости, заключается в избирательном отражении света слоем холестерика. Холестерические плоскости, как и обычные кристаллические плоскости, могут отражать падающие на них волны. Волны, отражённые разными плоскостями, могут при интерференции, и ослаблять, и усиливать друг друга. Если свет падает перпендикулярно плоскостям, то условие усиления таково: между соседними эквивалентными плоскостями должно укладываться строго пол волны падающего света. Мы хотим, чтобы колебания, отражённых от первой и второй плоскостей, проходили в одинаковых фазах, то есть значение электрического поля Е в каждой точке и в любое время были одинаковы. При этом амплитуда Ео обеих волн складываются - происходит усиления света. Так будет если волна 2 (рис64,б), вошедшая в кристалл, на пути от первой ко второй плоскости и обратно отстанет от волны 1 ровно на длину волны λ. Но в холестерике такие плоскости находятся на расстоянии h/2 друг от друга. Поэтому условие усиления в данном случае есть h/2=λ/2, или h=λ.
Свойство холестерика отражать свет с избранной длинной волны (h=λ) обуславливает соответствующую окраску вещества, которая зависит от шага холестерической спирали. А шаг спирали очень сильно зависит от температуры. Обычно вещество при высокой температуре (в изотропном состоянии) бесцветно, затем, в момент перехода в холестерик (при меньшей температуре), синеет и при дальнейшем понижении температуры последовательно приобретает все цвета спектра, от синего до красного. Это означает, что по мере охлаждения холестерической жидкости шаг спирали увеличивается, а при нагревании - уменьшается. Такое поведение холестерической спирали нетрудно объяснить.
В силу особенностей взаимодействия молекул с отростками оси n1 и n2 не могут образовать между собой слишком малый угол. Но с повышением температуры в результате тепловых колебаний молекул в каждом нематическом слое увеличивается разброс молекулярных ориентаций относительно выделенного направления n. Оси отдельных молекул в нематическом слое оказываются не параллельными выделенному направлению n. Поэтому при нагревании угол между осями n1 и n2 соседних слоёв должен увеличиваться, чтобы тепловые колебания не приводили к критическому угловому сближению молекул. Увеличение угла α, характеризующего закручивание осей n в пространстве, и вызывает уменьшение шага холестерической спирали по мере увеличения температуры.
Выше описанное явление лежит в основе широкого применения холестериков в качестве простых и эффективных термоиндикаторов для медицинской диагностики, отыскания повреждений в сложных электронных схемах, контроля температурного поля в лопатках турбин и т. п. Сейчас синтезированы холестерические вещества, в которых весь спектр цветов, от красного до синего, наблюдается при изменении температуры всего на 0,01 градуса, что говорит о большой чувствительности устройств на их основе. Шаг холестерической спирали также очень чувствителен к содержанию примесей в холестерике, и поэтому эти вещества могут служить надёжными индикаторами загрязнений в атмосфере.
Нематические жидкости нашли широкое применение и в совсем другом плане. Оказывается, полимерные нити, получаемые из хорошо ориентированного нематического раствора полимерных молекул, приобретают огромную прочность. Это объясняется тем, что в таких нитях практически все молекулы хорошо «подогнаны» друг к другу, то есть их главные оси параллельны между собой, а это многократно усиливает межмолекулярные сцепления. Такие полимерные нити служат прекрасным средством упрочнения самых ответственных узлов в механизмах, машинах и аэрокосмических конструкциях, работающие при очень высоких температурах и нагрузках.
7.7 Оптические свойства.
В 1669 году ученый Э.Бартолин сообщил о своих опытах с необычными прозрачными кристаллами, привозимыми моряками из Исландии. Он обнаружил, что луч света при прохождении сквозь кристалл расщепляется на два луча. Так было обнаружено явление двойного лучепреломления. Через 20 лет Х. Гюйгенс исследовал свойства исландского шпата и дал объяснение этого явления на основе волновой теории света. Он вёл понятие оптической оси кристалла, превращение вокруг которой отсутствует анизотропия. Дальнейшие исследования Гюйгенса подвели к открытию явления поляризации света. Французские физики Э.Маллюса-Брюсса в 1808 году, опираясь на корпускулярную теорию света Ньютона ввели понятия – поляризованный свет. Для исследования электромагнитной волны с определённой волной используют поляризатор. В их роли выступает тот же кристалл исландского шпата или турмалина.
Для исследования строения кристаллов используют явления дифракции рентгеновских лучей и нейтронов. Длина волны рентгеновского излучения соизмерима с межатомными. Если на кристалл направить рентгеновские лучи, то возникнет дифракционная картина, которую в 1912 году наблюдал Лауэ.
VIII. ЭСПЕРИМЕНТАЛЬНАЯ ЧАСТЬ
Проведём эксперимент по выращиванию кристаллов из пересыщенного раствора путём охлаждения зимой.
Приготовим насыщенный раствор, и в домашних условиях будем выращивать кристалл из каменной соли:
1. Нагреем воду до кипения и выльем 1 литр воды в ёмкость и растворим 2 кг соли.
2. Отфильтруем раствор.
3. Остудим раствор до комнатной температуры(15°С), где после остывания будет находиться 100 г избыточного количества соли.
4. Из соли выберем самый большой и прозрачный кристалл, прикрепим к искусственной ёлке.
5. Опустим эту ёлочку в наш раствор. И исследуем.
Рассмотрим такую таблицу:
| дни |
Температура °С |
Кол-во воды в л. |
наблюдения |
| 1 день |
15 |
0,9 |
Появились кристаллики на верхушке елки. |
| 2 день |
15 |
0,8 |
Кристаллики появляются ещё в некоторых местах. |
| 3 день |
10 |
0,8 |
Кристаллизация прекратилась. |
| 4 день |
10 |
0,75 |
кристаллизация не наблюдалась |
| 5 день |
10 |
0,7 |
Кристаллизация началась с верхушки. |
| 6 день |
15 |
0,6 |
Интенсивно началась кристаллизация. |
| 7 день |
15 |
0,65 |
Кристаллизация началась сверху вниз. |
| 8 день |
20 |
0,55 |
Начался кристаллизоваться низ елки. |
| 9 день |
20 |
0,45 |
Отчетливо видны кристаллики. |
| 10 день |
20 |
0,3 |
Вся елка была в кристаллах. |
| 11 день |
20 |
0,2 |
Кристаллики стали увеличиваться. |
| 12 день |
15 |
0,2 |
Кристаллизация прекратилась. |
| 13 день |
15 |
0,15 |
Кристаллики начали увеличиваться, но незначительно. |
| 14 день |
15 |
0,1 |
Кристаллизация почти прекратилась. |
| 15 день |
15 |
- |
Кристаллизация прекратилась. |
Теперь проведём такой же опыт летом с медным купоросом. 200мл воды добавим 350г медного купороса. При температуре 25°С кристалл вырос за сутки.
Можем сделать вывод, что растворимость любах веществ зависит от температуры. Растворимость с повышением температуры увеличивается, а с понижением – уменьшается.
Но так как эти опыты проводились в лабораторных условиях, то кристаллики были с дефектами. Для создания более совершенных кристаллов, необходимо обеспечить другие условия, такие как: повышенную температуру, определённую влажность и давление.
КРИСТАЛЛЫ В ЖИЗНИ
Оптика. Опираясь на законы оптики, ученые искали прозрачный бесцветный и бездефектный минерал, из которого можно было бы шлифованием и полированием изготавливать линзы. Нужными оптическими и механическими свойствами обладают кристаллы неокрашенного кварца, и первые линзы, в том числе и для очков, изготавливались из них. Даже после появления искусственного оптического стекла потребность в кристаллах полностью не отпала; кристаллы кварца, кальцита и других прозрачных веществ, пропускающих ультрафиолетовое и инфракрасное излучение, до сих пор применяются для изготовления призм и линз оптических приборов.
Диэлектрики. Один из способов контроля ответственных деталей механизмов и машин – ультразвуковая дефектоскопия. Главный элемент УЗД дефектоскопа – кварцевая пластинка. Отраженная дефектом звуковая волна создает переменное электрическое поле (Эффект Холла). Пьезоэлектрический эффект в сильной степени проявляется в кристаллах титана, свинца, его производных. Такие кристаллы – основа пьезоэлектрических микрофонов и телефонов. Они преобразуют давление в электродвижущую силу в манометрах, служат для стабилизации частоты радиопередатчиков, измерения механических напряжений и вибраций.
Сегнетоэлектрики. Кристаллические вещества, обладающие уникальными свойствами, например, способностью к самопроизвольной электрической поляризации, которая может возникать даже в отсутствии внешнего поля. Впервые это свойство было обнаружено И.В. Курчатовым и П.П.Кобяко при исследовании кристаллов сегнетовой соли (NaKC4 H4 O6 *4H2 О). Сегнетоэлектрики характеризуются анизотропией. Температура, ограничивающая область сегнетоэлектрических свойств – точка Кюри. Причина таких свойств сегнетоэлектриков – взаимодействие входящих в них кристаллы молекул приводит к самопроизвольной поляризации диэлектриков. Важное практическое значение - емкость конденсатора пропорциональна ε диэлектрика, помещенного между обкладками. Поэтому используя диэлектрик с большой ε можно получить малогабаритные конденсаторы. В технике применяют сегнетоэлектрические конденсаторы на основе титаната бария, у которого точка Кюри примерно 133°С, диэлектрическая проницаемость ε примерно равна 6000 – 7000.
Полупроводниковые кристаллы позволяют создавать сложные электронные полупроводниковые приборы, интегральные схемы. Новая область техники называют твердотельной электроникой.
Лазерная технология. В 1955 году Басов, Прохоров, Таунсон (США) создают генератор квантов электромагнитного излучения (мазер) сантиметрового диапазона. А в 1960г. Мейманом запущен первый генератор оптического диапазона. Важнейшую роль в получении лазерного луча играл кристалл рубина (Al2 O3 ) с добавкой хрома. Лазеры нашли широкое применение в промышленности для различных видов обработки материалов, сверление отверстий, сварки тонких изделий. Основная область применения маломощных импульсных лазеров с микроэлектроникой, в электровакуумной промышленности, машиностроении, медицине.
В настоящее время электронная промышленность предъявляет к (германию, кремнию, антимонид индию, антимонид галлию, арсенид галлию, гранатам, лейкосапфирам) материалам очень высокие требования: необходимо монокристаллы с малой радиальной и осевой неоднородностью распределение легирующей примеси с плотностью дислокаций. Производство подобных материалов в наземных условиях затрудняется из-за неконтролируемого характера гравитационной конвекции, температурных напряжений, влияния стенок тигля. Именно поэтому мы можем ждать существенного улучшения свойств кристаллов при их выращивании в невесомости.
Для проведения технологических экспериментов с материалами в космосе созданы специальные электронагревательные установки.
Список литературы
1.Банн Ч.Кристалл. Их роль в природе и науке.-М.,1970г.
2.Вейль Г.Симметрия.-М.,1968г.
3.Шубников А.В. и Парвов В.Ф. Зарождение и рост кристаллов.-М.,1999г.
4.Китайгородский А.И. и Федин Э.И. Атомное строение и свойства твёрдых тел.-М.,1963г.
5.Даниленко В.М. Что такое твёрдое тело?-Киев,1983г.
6.Холден А. Что такое ФТТ. Основы современной физики твёрдого тела.-М.,1971г.
7.Ходаков Ю.В.Архитектура кристаллов.-М.,1980г.
8.Детлаф А.А.Курс физики.-М.,1973г.
9.Бушманов Б.Н., Хромов Ю.А. Физики твёрдого тела.-М.,1971г.
10.Вайнберг Д.В., Писаренко Г.С.Механические колебания и их роль в технике-М.,1977г.
11.Уэрт Ч., Томсон Р.Физика твёрдого тела.-М.,1989г.
12.Фейнман Р., Лейтон Р., Сэндс М.Фейнмановские лекции по физике.-М.,1966г.
13.Киренский Л.В.Магнетизм.-М.,1992г.
14.Карцев В.П. Магнит за три тысячилетия.-М.,1968г.
15.Вонсовский С.В. Мегнетизм.Современные представления.-М.,1993г.
16.Кабардин О.Ф. Факультативный курс физики.-М.,1974г.
17.Пикин С. Жидкие кристаллы.-М.,1981г.
18.Галиулин Р.В. Как устроены кристаллы.-М.,1983г.
19.Брук Ю.М.,ГеллерБ.И. Белые карлики-кристаллические звезды.-М.,1987г.
20.Осипьян Ю.Я., Никитенко В.И. Дислокационная физика твердого тела.-М.,1985г.
Похожие рефераты:
Лекции по твердотельной электронике
Концепции современного естествознания
Билеты по физике за весь школьный курс
Ответы к экзаменационным билетам по физике 11 класс (ответы к 29 билетам)
Владимира Иннокентьевича Бабецкого (3 семестр)
Углубленные экзаменационные билеты по физике и ответы (11 класс)
Оптическая спектроскопия кристаллов галита с природной синей окраской