| Похожие рефераты | Скачать .docx |
Дипломная работа: Організація технології аварійно-відновлювальних робіт на залізницях
Східноукраїнський національний університет
імені Володимира Даля
Кафедра організації перевезень і управління на залізничному транспорті
ПОЯСНЮВАЛЬНА ЗАПИСКА
До дипломної роботи бакалавра на тему:
Організація технології аварійно-відновлювальних робіт на залізницях
Студент групи РТ-243
Зайченко Н.В.
Керівник роботи
доц. Кузьменко С.В
Луганськ 2008
Реферат
Кваліфікаційна робота, 70 стор., 9 рис., 5 табл., 14 літ. джер., 4 арк. креслень.
В роботі охарактеризована структура аварійно-відбудовної служби й основні принципи організації відбудовних робіт, а саме: аварійно-відбудовні підрозділи та основні принципи організації відбудовних робіт.
Розглянуті відбудівні засоби, які використовуються на залізницях, такі як вантажопідйомні крани, тягачі, бульдозери, накат очне устаткування.
Розглянута технологія відбудівних робот та охорона праці при веденні робіт залізничними кранами.
Ключові слова:
відбудівний поїзд, локомотив, вагон, залізничний кран, бульдозер, накаточне устаткування
Зміст
Вступ
1. Структура аварійно-відбудовної служби й основні принципи організації відбудовних робіт
1.1 Аварійно-відбудовні підрозділи
1.2 Основні принципи організації відбудовних робіт
2. Відбудовні засоби
2.1. Вантажопідйомні крани
2.2 Тягові засоби
2.3 Накаточне устаткування
3. Технологія відбудовних робіт
3.1 Характеристика сходів з рейок рухомого складу
3.2 Основні принципи вибору способів постановки рухливого складу на рейки
3.3 Нормативи часу на піднімання і збирання рухомого складу. Терміни служби відбудовної техніки
3.4 Піднімання рухомого складу вантажопідйомними кранами
3.5 Постановка на рейки рухомого складу за допомогою гідроустановки й домкратів
3.6 Постановка на рейки рухомого складу за допомогою накаточного устаткування
3.7 Розрахунок необхідних тягових зусиль при виконанні робіт тяговими засобами
4. Охорона праці при веденні робіт для кранівників (машиністів) стрілових самохідних залізничних кранів
Висновки
Література
Вступ
Аварії й катастрофи на залізницях завдають значної шкоди залізничному транспорту, є причиною тривалих перерв у русі поїздів. Кожна хвилина перерви або припинення маневрової роботи викликають непоправні втрати, тому надзвичайно важливо якнайшвидше відновити рух. Це завдання покликані вирішувати відбудовні підрозділи залізниць. При необхідності залучаються технічні засоби й працівники органів МВС, цивільної оборони, військових підрозділів, медичних установ й інших відомств. Настільки широке коло наслідків, що беруть участь у ліквідації, залізничних транспортних події обумовлений, насамперед, фактором часу й тим, що при великих сходах рухомого складу рятувальні й відбудовні роботи здійснюються, як правило, у надзвичайно складних умовах, що вимагають високої організованості й уміння використати технічні засоби для збирання рухомого складу, що зійшов, вантажів і відновлення зруйнованого шляху, контактний мережі й засобів зв'язку.
Аналіз статистичних даних про залізничні транспортні події показує, що швидкість відновлення руху залежить від ступеня готовності особового складу відбудовного поїзда до виїзду, ефективності організації його просування до місця події й виконання відбудовних робіт у можливо більше короткі строки. Час із моменту виклику відбудовних поїздів до прибуття до місця події становить у середньому 140 хв., т. з, більше 2 г, причому діапазон значень по мережі доріг досить широкий - від 20 хв. до 5 г і більше. Тривалість ліквідації наслідків сходу рухомого складу - величина змінна, багато в чому залежна від особливостей сходу, умов виконання робіт, виду й ефективності використання відбудовних засобів, а також від професійних навичок особового складу.
При ліквідації наслідків залізничних транспортних подій застосовують різні вантажопідйомні, тягові й інші машини й механізми, різне оснащення й устаткування. Для прискорення ведення робіт раціоналізатори відбудовних поїздів створюють засобу малої механізації й спеціальні пристосування, ефективні способи, застосування яких при підйомі й розтаскуванні рухомого складу, що зійшов з рейок, спрацьовуються на практиці. Причому на кожній залізниці ці питання вирішуються індивідуально.
В цілому ж на мережі накопичений багатий досвід ведення відбудовних робіт: від вибору оптимальних рішень складних завдань до їхнього кваліфікованого здійснення на практиці. У той же час цей досвід не є надбанням всіх підрозділів відбудовних засобів і тим більше починаючих працівників. Наявні в дуже обмеженій кількості роботи висвітлюють лише окремі питання цієї проблеми. Технічні характеристики відбудовних засобів, застосовуваних при ліквідації наслідків сходу з рейок рухомого складу, також не повною мірою дають подання про можливості цих засобів. У дійсній книзі робиться спроба заповнити зазначені прогалини в технічній літературі й на основі вивчення наявного досвіду, аналізу роботи відбудовних засобів залізниць дати ряд рекомендацій з їхнього змісту й оснащеності, організації роботи при ліквідації наслідків транспортних подій, а головне - розкрити технологію піднімання й збирання рухомого складу при ліквідації наслідку його сходу з рейок, а також у випадках значного захаращення шляхи при аваріях і катастрофах.
1. СТРУКТУРА АВАРІЙНО-ВІДБУДОВНОЇ СЛУЖБИ Й ОСНОВНІ ПРИНЦИПИ ОРГАНІЗАЦІЇ ВІДБУДОВНИХ РОБІТ
1.1 Аварійно-відбудовні підрозділи
Для ліквідації наслідків залізничних транспортах подій, і в першу чергу для відновленні перерваного руху поїздів, на мережі доріг функціонують наступні аварійно-відбудовні підрозділи; відбудовні й пожежні поїзди, аварійно-польові команди (АПК), аварійно-відбудовні летючки контактної мережі, зв'язку й СЦБ. Відновлення шляху покладені на дистанцію шляхи.
Відбудовний поїзд (ВП) є спеціальним формуванням, призначеним для ліквідації наслідків сходу з рейок і зіткнень рухомого складу, а також для надання допомоги при стихійних лихах. Відбудовні поїзди перебувають на балансі відділення залізниці. Відбудовні й пожежні поїзди включені в єдину систему по діях у надзвичайних ситуаціях, тому до них пред'являються підвищені вимоги по змісту ефективності роботи.
Пункти постійної дислокації відбудовних поїздів затверджує Головне керування по безпеці руху екології Укрзалізниці але поданню залізниць. Без узгодження із Укрзалізницею їхнє скасування не допускається. Відстань між пунктами дислокації відбудовних поїздів повинне бути не більше 200 км.
Порядок обслуговування й утримання рухомого складу й технічних засобів регламентується Положенням про відбудовний поїзд залізниць, а порядок виконання відбудовних робіт Інструкцією з організації відбудовних робіт при ліквідації наслідків катастроф, аварій і сходів рухомого складу на залізницях.
Колії стоянок відбудовних поїздів на станціях їхньої дислокації повинні мати двосторонні виходи. Це значно підвищує мобільність поїздів і прискорює їхнє відправлення.
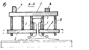
Схема формування відбудовного поїзда затверджується Головним ревізором по безпеці руху залізниці. Відбудовні поїзди формуються зі спеціально обладнаних вантажних і пасажирських вагонів, вантажопідйомних кранів на залізничному ходу. Тягова техніка, механізми, устаткування, інвентар, матеріали розмішаються у вагонах і на платформах. Комплектування поїзда рухомим складом, технічними засобами здійснюється з таким розрахунком, щоб він міг випливати до місця виклику з максимально припустимою швидкістю. До складу відбудовного поїзда входить наступний рухомий склад: вагон-гараж для тракторів і бульдозерів; вагон-електростанція; платформа для тягачів і бульдозерів великої потужності; вантажний критий вагон або вагон ЦМВ для розміщення оснащення, накаточних башмаків, домкратів, пересувні електростанції й інше встаткування; вантажний критий вагон для розміщення такелажного встаткування, інвентарного й захисного одягу й інших приналежностей; пасажирський вагон (ЦМВ), переустаткований для перевезення й відпочинку кранових бригад; пасажирський вагон (ЦМВ), переустаткований під їдальню (у цьому ж вагоні розміщаються санітарний і штабний відсіки); платформа для розміщення запасних вагонних візків; платформа під стрілу крана. Число пасажирських вагонів, вагонів-гаражів і платформ визначається наявністю у відбудовному поїзді вантажопідйомних кранів, тракторів і тягачів. Зразкова схема відбудовного поїзда показана на рис. 1.1.
Всі вагони відбудовного поїзда, як правило, пофарбовані в зелені кольори й повинні мати написи станції дислокації. Відбудовні поїзди обладнаються поїзним радіозв'язком і внутрішнім зв'язком; оснащення їхніми механізмами, устаткуванням, інвентарем і матеріалами здійснюється відповідно до Положення про відбудовний поїзд. Розміщають устаткування, пристосування й матеріали в порядку, що забезпечує їхня схоронність, безпеку руху, гарну доступність, швидкість і зручність вивантаження. При цьому повинні дотримуватися правила й норми охорони праці й техніки безпеки, вимоги виробничої естетики. Особливу увагу варто обертати на необхідність забезпечення рухомого складу відбудовних поїздів гарним внутрішнім і зовнішнім висвітленням, різними потужними джерелами світла, устаткування знімними й висувними сходами, підйомно-транспортними механізмами для полегшення вивантаження й навантаження.
В останні роки відбудовні поїзди оснащуються потужними вантажопідйомними кранами типу ЕДК, тракторами, бульдозерами, тягачами, електростанціями й гідравлічними установками. Весь рухомий склад замінений на чотиривісні вагони, обладнані роликовими підшипниками. Практично всі пасажирські й вантажні вагони переустатковані по типовому проекту з урахуванням вимог їхнього використання для відбудовних робіт. Процес переозброєння відбудовних поїздів триває й у цей час. Планомірно виробляється заміна тягачів могутнішими, обладнаними спеціальними лебідками, вводяться нові пристосування й механізми, що полегшують і прискорюють ведення відбудовних робіт.


Рис. 1.1 Схема формування відновлюючого поїзда.
1-кран ЄДК 2000; 2-платформа противісна; 3-такелажний критий вагон;4 - вагон ЦМВ для кранових бригад; 5 - ЦМВ-їдальня; 6 - тягача БГТ; платформа; 7-платформа для трактора ДЕТ – 250; 8-вагон гідравлічного встаткування розміщення бульдозера З-100; 9-вагон шляхового встаткування; 10-вагон- електростанція; 11- вагон-гараж для розміщення бульдозера З-100; 12-вагон ЦМВ для кранових бригад; 13-подстрілова платформа; 14-кран ЕДК-50
Великий внесок у цю справу вносять раціоналізатори й винахідники. Впровадженню їхніх пропозицій багато в чому сприяють наявні у відбудовних поїздах майстерні (механічні, столярні, зварювальні, ковальські й т.д.). При відбудовних поїздах відділень залізниць функціонують навчальні полігони, на яких спрацьовуються навички ведення відбудовних робіт і проводиться випробування знову створених пристосувань і засобів малої механізації.
Для створення умов праці, побуту, проведення технічних занять і культурно-масових заходів є службово-побутові приміщення. У кращих підрозділах це, як правило, типові або спеціально спроектовані будинки із класами для навчання, гаражними відсіками, санітарно-побутовими приміщеннями, виробничими відділеннями й т.д. Для технічного обслуговування вантажопідйомних кранів передбачені оглядові канави.
Практика ведення відбудовних робіт внесла деякі корективи у формування відбудовних поїздів. Наприклад, з високою ефективністю працює на Жовтневій залізниці відбудовний поїзд станції Волховстрой, сформований на базі дизель-поїзда із краном ЕДК-300, бульдозером Д-355А («Комацу») на платформі. Виправдало себе в роботі створення при відбудовних поїздах аварійно-відбудовних летючок на базі автомобілів які укомплектовуються різними піднімальними засобами й пристосуваннями. Такі летючки ефективно використовуються для піднімання рухомого складу, що зійшов з рейок, на станціях, до яких є під'їзди.
У відбудовному поїзді станції Підмосковна Московської дороги, наприклад, летючка створена на базі вантажного автомобіля зі спеціально обладнаним кузовом, у якому перебувають механізми й устаткування, гідравлічна установка, різні пристосування для виконання робіт з піднімання рухомого складу за допомогою гідравлічних домкратів.
У ряді відбудовних поїздів практикується створення пересувних летючок на базі тягачів з додатковим устаткуванням їхнім спеціальним кузовом для розміщення механізмів, пристосувань і перевезення робочої сили. У цей час для цих цілей стали надходити всюдиходи на базі військової техніки БМП («Березина»).
Більшу допомогу при ліквідації наслідків сходу з рейок рухомого складу роблять аварійно-польові команди, які розміщуються, як правило, на великих станціях. Місця їхнього розташування, порядок комплектування технічними засобами й матеріалами, призначення бригадира АПК, прикріплення працівників, їхнього навчання й матеріального стимулювання визначає начальник відділка залізниці. Необхідне обладнання АПК розміщається в чотиривісних вантажних вагонах або в закритих приміщеннях на спеціальних стелажах. При цьому повинен бути обумовлений порядок доставки обладнання й механізмів до місця робіт (на локомотиві, дрезині, автомобілі). Наявний в АПК набір устаткування, пристосувань й інструментів дозволяє багато операцій виконувати до прибуття відбудовних поїздів, а часом і без його виклику. У багатьох випадках за допомогою АПК здійснюється постановка на рейки рухомого складу, що зійшов. Якщо перегін звільнити за допомогою АПК неможливо, то до прибуття відбудовного поїзда вони проводять підготовчі роботи.
Для ліквідації пожеж, що виникли в результаті сходів рухомого складу з рейок, залучаються пожежні поїзди, які також є спеціальними формуваннями Укрзалізниці. Відповідно до Положення про пожежні поїзди на залізничному транспорті вони призначаються для гасіння пожеж на об'єктах а в рухомому складі залізничного транспорту, а також для надання допомоги при аваріях, катастрофах, повенях й інших стихійних лихах у межах їхніх тактико-технічних можливостей.
Пожежні поїзди перебувають у віданні воєнізованої охорони, укомплектовуються особовим складом у відповідності із затвердженими Укрзалізниці штатними нормативами й оснащуються пожежною технікою, спорядженням, пожежно-технічним озброєнням, інструментом, засобами пожежогасіння, сигналізації й зв'язку, а також засобами індивідуального захисту особового складу.
Відбудовні й пожежні поїзди забезпечуються звичайними засобами індивідуального захисту: фільтруючими й ізолюючими протигазами (ГП-4, ГП-5, ГП-5М, ИП-4), респіраторами, легенями ізолюючими костюмами (Л-1).
Пункти стоянки й ділянки виїзду пожежних поїздів установлюються керівництвом залізниць і затверджуються Укрзалізницею. Ділянка виїзду визначається з розрахунку часу (не більше 1,5 г), необхідного для доставки пожежного поїзда на кінцевий пункт, що обмежує ділянку. Устаткування рухомого складу пожежних поїздів виробляється на залізницях і заводах по проектах, затвердженим Укрзалізницею. Рухомий склад пожежних поїздів складається на балансі відділення дороги (по місцю дислокації) і ремонтується в строки, установлені Укрзалізницею для вагонів спеціального призначення.
Успішне ведення відбудовних робіт на залізничному транспорті багато в чому залежить від рівня підготовки працівників відбудовних підрозділів. Велике значення має впровадження передового досвіду кращих відбудовних поїздів у справі вдосконалювання технічних засобів і технологій ведення відбудовних робіт, а також професійна підготовка керівних кадрів.
По лінії Укрзалізниці і залізниць проводяться мережні й дорожні семінари, у яких беруть участь заступники ревізорів по безпеці руху доріг і відділення по відбудовних засобах, працівники наукових, навчальних, проектно-конструкторських організацій залізничного транспорту, начальники відбудовних поїздів. Крім того, при галузевих інститутах підвищують кваліфікацію ревіння тори по безпеці руху доріг.
На залізницях організуються курси по підготовці електрозварювачів, аккумуляторщиків, газорезників, такелажників і працівників інших професій для відбудовних поїздів. Технічне й практичне навчання працівників ВП,
аварійно-польових команд і прикріпленого резерву проводиться безпосередньо у відбудовних поїздах і на учбово-тренувальних полігонах відділень доріг.
Положення про відбудовний поїзд передбачає проведення практичних занять по вивченню технології найшвидшої ліквідації наслідків сходів і зіткнень рухомого складу, а також правил, інструкцій з охорони праці й техніку безпеки. План проведення цих занять складається начальником відбудовного поїзда, узгоджується з ревізором по безпеці руху відділення й затверджується головним інженером відділення дороги.
Практичні заняття з основним штатом відбудовних поїздів й аварійно-польових команд проводяться щомісяця з відпрацьовуванням навичок по використанню техніки й різних пристосувань при сходах з рейок рухомого складу. На них випробовуються й перевіряються виготовлені персоналом ВП пристосування й механізми.
Велику роль у придбанні навичок і необхідних знань при веденні відбудовних робіт грають учбово-тренувальні полігони, які, як правило, розташовуються на невеликій відстані від місця стоянки відбудовного поїзда.
На учбово-тренувальних полігонах не рідше 1 разу в 6 міс проводяться навчання основного й приписного штату ВП, ЛПК, командного складу відділення дороги й підприємств із наступним розбором дій всіх учасників навчання.
Практичні заняття на полігонах дають можливість підвести підсумки теоретичного навчання працівників, сприяють удосконалюванню організації відбудовних робіт. При раптових виїздах на учбово-тренувальні полігони особовий склад здобуває навички, необхідні для найшвидшого розгортання відбудовних засобів.
На практичних заняттях створюються різні ситуації сходу з рейок рухомого складу й імітуються різні руйнування верхньої будови колії, контактної мережі. Практичне навчання дозволяє виявити недоліки в підготовці працівників і техніки, перевірити правильність обраного варіанта відбудовних робіт, чіткість взаємодії особового складу ВП, АПК й інших служб. Заняття на учбово-тренувальних полігонах дають об'єктивний матеріал для складання технологічних карт по виробництву відбудовних робіт. Розробляються поіменні графіки робіт, строго регламентуючий час і черговість операцій. Це дисциплінує особовий склад, підвищує його організованість, забезпечує чітке виконання робіт у стислий термін. Заняття на навчальних полігонах сприяють розвитку творчої активності працівників ВП.
На деяких залізницях учбово-тренувальні полігони мають шляховий розвиток, що складається із двох трьох шляхів, достатню територію для випробування тягової техніки й розміщення комплекту каліброваних блоків (вантажів) для статичного й динамічного випробування кранів, а також практичного придбання навичок по підніманню й пересуванню вантажів. Для динамічного й статичного випробування кранів є спеціальна площадка з бетонним покриттям на базовому полігоні відбудовних ПОС і ДОП відділення дороги.
На полігонах використається різний по типу рухомий склад, виключений з інвентарю або відставлений від експлуатації, на якому практично спрацьовуються різні прийоми й операції по його підніманню й збиранню, а так само, як уже було сказано, випробовуються виготовлені пристосуванні й механізми.
Як приклад можна принести учбово-тренувальний, полігон відбудовного поїзда станції Дарниця Південно-Західної залізниці, план якого наведений на рис. 1.2. Полігон має шляховий розвиток із трьох шляхів. Шлях І, на якій покладені залізобетонні шпали, призначений для випробування вантажопідйомних кранів, має довжину 200 м і площадку 3 (45x40 м) із щебеневим покриттям. Усередині споруджена площадка 2 менший розміри (23x15 м) з бетонним покриттям, на якій установлюються вантажопідйомні крани для їх статичного й динамічного випробування. На основній площадці розмішений побір каліброваних блоків масою від 2,5 до 80 т (загальна маса 320 т). Шлях ІІ довжиною 250 м з тупиком, виконаним у вигляді торцевої рампи, і ділянкою контактної мережі призначений для стоянки відбудовного поїзда й спуска тягачів, тракторів, бульдозерів. Шлях ІІІ призначений для стоянки списаного рухливого складу. Він складається із чотирьох ділянок з рейками типу Р50 і Р65 на дерев'яних і залізобетонних шпалах, а також з ділянки з контактною мережею. По периметрі навчального полігона влаштована закільцована ґрунтова дорога 6*, призначена для обкатки й роботи тягових засобів, із пристроєм переїзду 4 у горловині шляху полігона. У горловині шляху побудована переїзна будка 7, до якої підключена електроенергія для опалення электротенами. Будка телефонізована, має зовнішній звуковий і світловий повторювач.

Рис. 1.2 Схематичний план учбово-тренувального полігона відбудовного поїзда станція Дарниця Південно-Західної залізниці
1-опора контактної мережі; 2-площадка 23*15м(бетон); 3-площадка 40*45м (щебені); 4-переїзд; 5-шляхи полігона; 6-ґрунтова дорога; 7-будка.
Ефективна організація практичного й теоретичного навчання працівників відбудовних поїздів, їхнє творче відношення до справи, внесення в процес навчання елементів змагання - все це застава успішної діяльності колективу відбудовного поїзда.
1.2 Основні принципи організації відбудовних робіт
Обсяг аварійно-відбудовних робіт, а отже, і час на ліквідацію наслідків транспортних подій визначаються числом одиниць, що зійшли з рейок, рухомого складу, ступенем його руйнування, характером накопичення, станом шляху, контактної мережі, засобів зв'язку й СЦБ, характером вантажу і його розташуванням, метеоумовами, а також відстанню від місця події до відбудовного поїзда, часом його просування.
Трудомісткість відбудовних робіт значно зростає, якщо схід рухомого складу з рейок відбувається в тунелях, глибоких виїмках, на мостах (особливо з їхнім руйнуванням); при знаходженні у вагонах, що зійшли, небезпечних і горючих вантажів, виникненні пожеж і вибухів; при сході з рейок рухомого складу поблизу населених пунктів, відкритих і закритих складів з легкозаймистими й горючими рідинами й іншими небезпечними матеріалами, скельних масивів, боліт і водойм. При найбільш важких катастрофах, коли є постраждалі, обсяг і характер відбудовних робіт докорінно міняються, тому що всі сили й засоби в цих випадках спрямовані насамперед на ведення рятувальних робіт.
Головним завданням відбудовних робіт є найшвидше відновлення руху поїздів або маневрової роботи при мінімальних втратах матеріальних цінностей і збереженні життя, здоров'я людей. Виходячи із цього завдання й будується організація відбудовних робіт.
Аналіз показує, що випадки сходу з рейок рухомого складу по своїх характеристиках один на іншій не схожі. Проте при ліквідації наслідків залізничних транспортних подій вироблені певні загальні принципи організації відбудовних робіт. На їхній основі весь процес відновлення руху можна розділити на наступні основні етапи.
1. Збір інформації про подію. Первісне завдання локомотивної бригади потерпілу аварію поїзда, укладача й інших працівників, що перебувають на місці події - вчасно передати диспетчерові точну інформацію про те, що трапилося,. При цьому особливо важливо визначити чи є потерпілі; наявність у поїзді небезпечних вантажів і вогнищ пожежі; характер сходу, рельєф місцевості, профіль колії; ступінь ушкодження рухомого складу, шляху, контактній мережі, засобів СЦБ і зв'язку; розташування й тип рухомого складу, що зійшов з рейок, стан і розташування вантажу; наявність габариту по сусідньому шляху. Повна інформація дає можливість прийняти правильне рішення й початкової стадії організації відновлення руху, визначити, скільки необхідно відправити до місця робіт відбудовних поїздок, інших технічних засобів і матеріалів, яку вибрати послідовність ведення робіт. Кожна неточність інформації, найменше зволікання з її передачею, вивченням й ухваленням рішення - це вже певні втрати, і чималі.
Диспетчери, члени локомотивної бригади й інші особи, які пов'язані з передачею й одержанням інформації з місця події, повинні чітко представляти її цінність для відбудовного процесу. На жаль, цієї чіткості не завжди вдасться домогтися. Правильно роблять ті керівники ревізорського апарата й начальники виконавчих поїздів, які проявляють ініціативу й періодично проводять зустрічі з диспетчерами, локомотивними бригадами й працівниками станції, на яких акцентують увагу на цьому питанні.
2. Збір і доставка відбудовних засобів до місця події. При одержанні інформації про наслідки події приймаються негайні міри до відправлення на місце аварії відбудовного поїзда, ЛПК, а при необхідності засобів швидкої медичної допомоги й пожежної охорони. Залежно від обстановки залучаються підрозділи МВС, Цивільної оборони, техніка й засоби підприємств й організацій інших відомств. При цьому багато чого залежить від завчасно відпрацьованого плану залучення сил і засобів (з урахуванням місцевих умов), грамотних і чітких дій всіх причетних осіб й їхньої тренованості.
Рішення про число, що відправляють до місця події відбудовних і пожежних поїздів, а також кількості людських ресурсів і матеріалів приймає начальник відділка залізниці, а при більших обсягах робіт - начальник залізниці. До остаточного визначення ситуації до місця події необхідно направляти відбудовні поїзди суміжних ділянок.
Відправлення відбудовного поїзда зі станції повинне бути забезпечене не пізніше чим через 30 хв. після одержання наказу в робочий час і через 40 хв. - в інший час доби. Проходження відбудовних і пожежних поїздів до місця події забезпечується переважно перед усіма поїздами. Відповідальність за своєчасне їхнє відправлення, безперешкодний пропуск до місця роботи й назад несуть: у межах відділення дороги - черговий по відділенню, на дорозі - старший дорожній диспетчер оперативно-розпорядницького відділу служби перевезень.
Склад відбудовного поїзда оглядається працівниками пункту технічного обслуговування вагонів. На електрифікованих ділянках відбудовний поїзд із пунктів стоянки, як правило, повинен бути відправлений тепловозом. При відправленні відбудовного поїзда електровозом необхідно на проміжній або кінцевій станції зробити його заміну на тепловоз. У всіх випадках при сході або ушкодженні рухомого складу з легкогорючими вантажами на місце події направляється пожежна техніка (пожежні поїзди, машини).
Якщо в поїзді, що потерпів катастрофу або аварію, є ушкоджений рухомий склад з небезпечними вантажами, відбудовний поїзд супроводжує начальник станції або його заступник. При цьому начальникові ВП вручається наказ поїзного диспетчера, із вказівкою мер обережності виходячи з аварійних карток на небезпечні вантажі.
Якщо вантажопідйомний кран відбудовного поїзда має обмеження швидкості, то він відправляється окремим локомотивом слідом за відбудовним поїздом у супроводі кранової бригади. У виняткових випадках, на вимогу начальника ВП, ці крани можуть бути відправлені в складі відбудовного поїзда з дотриманням установленого обмеження швидкості його проходження.
Відправлення відбудовного поїзда чи окремо вантажопідйомного крана й тягової техніки на ліквідацію наслідків катастроф або сходу рухомого складу, що відбулися на сусідній залізниці, виробляється по тому ж регламенту, але після одержання заявки від цієї дороги. Оплата використання відбудовних засобів у таких випадках виробляється за рахунок дороги, що зажадала ці засоби, однак це не повинне бути перешкодою з надання допомоги, оскільки будь-яка затримка при проведенні відбудовних робіт обертається незмірно більшими втратами, причому не для однієї дороги.
Відправлення відбудовного поїзда на під'їзні колії підприємств промислового залізничного транспорту здійснюється при одержанні заявок і виробляється з дозволу головного ревізора залізниці з безпеки руху або його заступника й вказівці начальника відділення залізниці.
Поїзний диспетчер зобов'язаний у кожному випадку при передачі наказу про відправлення відбудовного поїзда вказати ступінь його негабаритності й забезпечити умови безпечного пропуску по ділянці, керуючись при цьому діючими інструкціями й правилами.
При проходженні відбудовного поїзда по декількох ділянках і відділенням дороги поїзний диспетчер у встановленому порядку сповіщає диспетчерів сусідніх ділянок про негабаритність у відбудовному поїзді.
Виклик відбудовних засобів контактної мережі здійснюється тільки за наказом чергового по відділенню через енергодиспетчера.
Поїзний диспетчер, на ділянці якого відбувся схід рухомого складу, зобов'язаний:
вчасно підготувати найближчі станції й ділянку для безперешкодного просування відбудовного поїзда й при необхідності забезпечити необхідну кількість тепловозів із складальними бригадами;
забезпечити оперативне просування відбудовних поїздів, повідомляючи по поїзному радіозв'язку начальникам ВП, отримані додаткові відомості про характер сходу, число вагонів, що зійшли, ступеня їхнього ушкодження, наявності вагонів з небезпечними вантажами й т.д. Зупинка відбудовних поїздів у шляху проходження допускається тільки для посадки робітників, що направляють на відбудовні роботи, заміни локомотивів і видачі машиністові документів на заняття перегону. Швидкість руху відбудовних поїздів по ділянці повинна відповідати встановленій швидкості з урахуванням обмеження залежно від стану шляху;
до прибуття відбудовного поїзда організувати збирання стоячих на рейках вагонів хвостової й головної частин постраждалого поїзда, забезпечуючи здатність шляхів, для виробництва маневрів з відбудовними поїздами, що прибувають до місця події.
Практика збору й доставки відбудовних засобів до місця події показує, що втрати часу при цьому допускаються з наступних причин: не визначена заздалегідь документально й не налагоджена на практиці система оперативного збору працівників відбудовних засобів; відсутні засобу зв'язку (телефони й інші пристрої) для забезпечення термінового виклику працівників, коли вони перебувають вдома; відсутній другий вихід відбудовного поїзда з місця його дислокації.
3. Організація відбудовних робіт на місці події. У випадку сходу з рейок одиночного рухомого складу після прибуття на місце події АПК, летючки або відбудовного поїзда (при необхідності) вибирається найбільш прийнятний варіант піднімання рухомого складу. При прибутті відбудовного поїзда керівництво роботами по підніманню рухомого складу здійснює начальник поїзда. При сході великої кількості вагонів, як правило, супроводжуваному руйнуванням шляху, контактної мережі, засобів зв'язку й пристроїв СЦБ, до організації відбудовних робіт пред'являються підвищені вимоги.
Перш ніж приступити до операцій, безпосередньо пов'язаним з підніманням і збиранням рухомого складу, що зійшов, перевіряють закріплення рухомого складу, що перебуває на рейках, обгороджують і роблять ретельне обстеження місця сходу. Після цього керівник робіт разом з керівниками відділів відділення дороги, підприємств і відбудовних поїздів намічає план дій. План повинен передбачати мобілізацію необхідної техніки й устаткування відділення залізниці, територіальних організацій, підприємств і військових частин із залученням робочої сили для ведення робіт.
Рекомендується передбачити наступні заходи:
весь обсяг робіт умовно розділити на окремі ділянки, до кожного з яких прикріпити техніку, робочу силу й призначити відповідального керівника. Якщо обсяг робіт великий, передбачається змінне їхнє виконання з визначенням часу зміни й місця відпочинку бригад;
кожному керівникові ділянки встановити строк виконання певного обсягу робіт, передбачаючи при цьому вимоги по забезпеченню чіткої взаємодії в роботі й дотриманню правил техніки безпеки;
забезпечити працюючим харчуванням у безпосередній близькості від робочих місць, у дощову погоду - можливість зміни одягу, взуття, сушіння її;
забезпечити весь фронт робіт гарним висвітленням, а також засобами гучномовного зв'язку, причому в першу чергу керівників ділянок;
установити час збору в штабному пункті керівників ділянок для оперативного коректування ходу робіт.
На місці робіт, як правило, створюється два штабних пункти, один із яких є основним. У багатьох відбудовних поїздах є типові штабні пункти, у комплект яких входять намет, пульт й апаратури зв'язку, столик, стільці. Важливо правильно вибрати місце розташування основного штабного пункту, для того щоб був гарний огляд.
Роботи повинні виконуватися в певній послідовності, що відповідає прийнятому плану. У першу чергу забирають рухомий склад і вантажі, що перебувають поза габаритом. Залежно від характеру вантажу визначають порядок охорони його й збирання, намагаючись не допустити зайвих втрат.
У міру звільнення земляного полотна від рухомого складу, що зійшов, приступають до ремонту шляху, установці ушкоджених опор контактної мережі, відновленню засобів зв'язку й пристроїв СЦБ. Важливо, щоб ці роботи не відкладалися на період повного збирання рухомого складу, необхідно по можливості здійснювати їх паралельно.
Перед початком відбудовних робіт, так само як й у період їхнього виробництва, окрема група працівників займається збором матеріалу, необхідного для розслідування причин того, що відбулося (фотографування об'єктів, складання схем, забезпечення схоронності необхідних деталей, опитування очевидців і т.п.).
У ході відбудовних робіт визначають додаткову потребу в матеріалах, організують їхню доставку на місце. Особливу увагу приділяють організації руху в цих умовах: відправленню й проходженню вагонів з ушкодженим рухомим складом, дотриманню габаритів, швидкості руху й т.п.
Кожен керівник відділу, відділення, служби виконує свої функції в строгій відповідності з вимогами Інструкції з організації відбудовних робіт при ліквідації наслідків катастрофи, аварії й сходів рухомого складу на залізницях. Для оперативного керівництва ліквідацією наслідків катастроф, аварій, сходів і зіткнень рухомого складу, відновлення перерваного руху поїздів, забезпечення вивозу пасажирів, постачання матеріалами, механізмами, устаткуванням і харчуванням, виділення й доставки додаткової кількості робітників, а у випадку сходу рухомого складу з небезпечними вантажами - визначення найменування цього вантажу, виклику фахівців, доставки спецодягу й захисних засобів до місця події, рішення інших питань із відправниками вантажу у відділенні залізниці створюється оперативна група під керівництвом першого заступника начальника відділення залізниці. У неї входять працівники галузевих відділів. У керуванні дорогою також створюється оперативна група на чолі з першим заступником начальника залізниці.
Склад оперативних груп у відділенні залізниці встановлюється завчасно начальником відділення, а на залізниці - начальником залізниці. Збір груп здійснюється при більших катастрофах й у випадку стихійних лих. Оперативні групи повинні мати точну інформацію про поїзне положення й хід ведення відбудовних робіт і використати всі наявні види зв'язку для організації допомоги й прискорення ведення робіт.
Після закінчення відбудовних робіт відкриття руху поїздів робить начальник відділення залізниці встановленим порядком.
Таким чином, організація відбудовних робіт включає: виявлення обсягів цих робіт; вибір схеми й установлення черговості їхнього виробництва, розробку планів по організації відновлення; забезпечення необхідними людськими й матеріально-технічними ресурсами; керування всіма підрозділами, що приймають участь у відбудовних роботах; забезпечення охорони й огородження місць провадження робіт (вантажів), пожежної безпеки й охорони навколишнього середовища. У цілому процес відбудовних робіт повинен забезпечити розгортання й виконання робіт з мінімальною витратою часу, ведення робіт цілодобово, змінно, широким фронтом з таким розрахунком, щоб всі засоби механізації використалися ефективно протягом усього періоду відновлення руху.
Заключним етапом є розбір проведених робіт, на якому відзначаються позитивні сторони, розкриваються недоліки, що негативно вплинули на хід відбудовних робіт. Найбільш характерними й повторюваними недоглядами є наступні:
при відправленні й проходженні ВП до місця події не повною мірою використовується радіозв'язок для додаткового збору інформації, що дозволила б вчасно підготувати необхідні пристосування, механізми й техніку до вивантаження;
освітлювальні апаратури не завжди готується заздалегідь, у світлий час доби, що при настанні темряви веде до втрати часу;
при значному обсязі робіт не розподіляють особовий склад і прикріплений резерв по змінах. Відсутність змінності, а отже, періодичності надання відпочинку веде до зниження продуктивності праці;
не завжди бувають продумані питання організації харчування, доставки до місця робіт у жаркий час прохолодних напоїв, у холодний час - гарячого харчування, а також питання організації сушіння одягу й взуття, забезпечення особового складу теплим одягом, рукавицями, плащами, брезентовими костюмами, що різко знижує темпи ведення відбудовних робіт;
дуже часто при роботі тягачами й локомотивами для розтаскування рухомого складу бракує потрібної кількості заплетених тросів. Їх запас повинен постійно контролюватися й поповнюватися;
відсутні необхідні для відновлення матеріали, які варто замовляти з місця, заздалегідь визначати строки доставки й здійснювати контроль за цим;
найчастіше великий обсяг робіт виконується без поділу робітників на групи із прикріпленими до них командирами. Безплановість, відсутність відповідальних за певну ділянку;
роботи й виконання конкретних завдань сповільнюють хід відбудовних робіт;
неможливо діяти узгоджено й чітко при виконанні великого обсягу робіт без добре налагодженого гучномовного зв'язку штабу, відновлення руху з керівниками окремих груп робітників, а також внутрішнього зв'язку з технікою (кранами, тракторами й тягачами);
при значних захаращеннях найчастіше вчасно не продумуються питання, пов'язані з необхідністю розрізування зруйнованого рухомого складу й збирання вантажу із зони події. Для звільнення шляху від цистерн варто заздалегідь подбати про перекачування наливних вантажів і транспортуванню цистерн із місця робіт при дотриманні протипожежних мір;
при прибутті на сусідні станції декількох ВП не завжди продумується порядок розміщення рухомого складу, у результаті губиться маневреність, можливість відокремити вагони з усім необхідним для ведення робіт. Весь зайвий рухомий склад повинен бути прибраний на сусідні станції або повернутий до місця дислокації;
вчасно закінчення відбудовних робіт заздалегідь не визначається порядок звільнення перегону й сусідніх станцій від рухомого складу, а також черговість відправлення поїздів. Для забезпечення безпеки руху необхідно по найбільше «вузьких» місцях розставити відповідальних командирів, у тому числі з контролю за регламентом пересування поїздів, станом відновленого шляху (відповідно з встановлюваними швидкостями руху);
по закінченні відбудовних робіт багато керівників відділень доріг випустять із уваги питання збирання залишків вантажів і рухомого складу, що зійшов. На місці події в найкоротший строк не повинне залишитися ніяких слідів від проведених робіт.
При сході й руйнуванні рухомого складу, завантаженого смердючими, нафтоналивними й тим більше небезпечними вантажами, не завжди приймаються міри для попередження влучення їхніх залишків у найближчі водойми й зіткнення із ґрунтовими водами. Обвалування місць розливу вантажів й інші роботи, по захисту місцевості повинні бути здійснені в першу чергу після прибуття відбудовних засобів на місце події.
2. ВІДБУДОВНІ ЗАСОБИ
2.1 Вантажопідйомні крани
Кранами називають вантажопідйомні машини періодичної (перериваної) дії, що піднімають вантажі й переміщають їх на порівняно невеликі відстані. Широке поширення при ліквідації наслідків сходу з рейок рухомого складу одержали вантажопідйомні крани на залізничному ходу.
Із введенням в експлуатацію нового рухомого складу й впровадженням нових технологій експлуатації залізничного транспорту змінилися вимоги до кранів на залізничному ходу. Електрифікація залізниць ставить перед заводами-виготовлювачами додаткові завдання з проектування й виготовлення нового покоління залізничних кранів. Така робота проводиться вітчизняними й закордонними фахівцями. Основним постачальником кранів до 1991р. було підприємство комбінату важкого машинобудування «ТАКРАФ», багато років спеціалізувалося на їхньому виробництві.
Крани на залізничному ходу повинні відповідати всім вимогам, пропонованим до рухомого складу, з експлуатації на залізницях країни. Надійна й безпечна робота кранів залежить від чіткого й грамотного виконання особовим складом відбудовних поїздів нормативних і службових документів, що регламентують технічний стан і правила експлуатації кранів. Такими документами є Правила пристрою й безпечної експлуатації вантажопідйомних кранів, посадові інструкції машиніста крана, стропальника.
Крани відбудовних поїздів можуть випливати для виконання робіт, як у складі поїзда, так і з окремим локомотивом.
Габаритні розміри кранів на залізничному ходу відповідають вимогам Правил технічної експлуатації залізниць і габариту рухомого складу.
При одержанні крана з заводу або з іншої організації він повинен бути зареєстрований в інспекції котлонадзору з обов'язковою оцінкою в паспорті крана. Відповідним наказом призначаються особи, відповідальні за вантажопідйомні крани, за їх справний технічний стан і за безпечне провадження робіт по переміщенню вантажів. В експлуатацію крани вводяться наказом начальника відділка залізниці. На крани наносяться наступні трафаретні написи: реєстраційний номер, дата наступного часткового технічного його огляду, дата наступного повного технічного огляду крана, вантажопідйомність (на обоймі гака), а також напис з техніки безпеки.
З вимог до кранів на залізничному ходу, зазначених у нормативних документах з експлуатації кранів, особливо варто виділити вимоги, що стосуються їхнього проїзду по мінімально припустимих кривих ділянках і через сортувальні гірки. Для кожного крана мінімальний радіус кривої зазначений у його паспорті. Щоб уникнути сходу з рейок залізничного крана працівники відбудовних поїздів повинні вміти визначати радіус кривої ділянки шляху (рис 2.1). Він визначається по зовнішній рейці А. Для цього відміряють довжину хорди b рейки А , рівну 20 м (між крапками 1 й 2 натягають тонкий дріт або рибальську волосінь довжиною 20 м). Потім визначають відстань, а між дротом і рейкою А . Від цієї відстані залежить радіус кривої: R=1000b2 ∕8a.
Значення радіуса кривої залежно від значень, а наведені в табл. 2.1. Через особливості конструкції стріли неприпустимо пропускати залізничні крани відбудовних поїздів через сортувальні гірки, тому що це може привести до ушкодження стріли.
Таблиця 2.1
Значення радіуса кривої ділянки шляху
| а,мм |
R,мм |
а,мм |
R,мм |
а,мм |
R,мм |
а,мм |
R,мм |
| 33 |
1500 |
71 |
700 |
143 |
350 |
277 |
180 |
| 42 |
1200 |
83 |
600 |
167 |
300 |
333 |
150 |
| 50 |
1000 |
100 |
500 |
200 |
250 |
416 |
120 |
| 63 |
800 |
125 |
400 |
250 |
200 |
500 |
100 |
Розчіпні важелі автозчеплень між крахом і проти ваговою платформою повинні бути відокремлені. Щоб уникнути саморозчеплення підстрелової платформи й крана автозчепний пристрій повинен мати запобіжне пристосування.
Наступною вимогою, на яку необхідно звернути увагу фахівців з експлуатації кранів, є надійна підготовка ділянок (залежно від місцевих умов) для встанови кранів на опори (аутригери). Необхідно чітко знати, на якій відстані від укосів, канав й інших нерівностей місцевості (табл. 2.2) припустимо встановлювати опори крана.
Після установки крана на опори й навішення противаг поворотну частину необхідно розгорнути на 360° з метою визначення стійкого положення крана щодо опор і площадки. При цьому контроль за станом крана й площадки виробляється після проходження поворотної частини крана над кожною опорою. Особливу увагу варто звернути на правильне укладання шпальних кліток під опори. При цьому нижній ряд шпал повинен укладатися перпендикулярно рейці. У жодному разі не можна використати шпали із тріщинами, зламами й іншими ушкодженнями й вадами (відколи, гнилі ділянки, надрізи й т.д.).
У всіх випадках експлуатації кранів на електрифікованих ділянках шляху, а також під лініями електропередачі необхідно строго дотримуватися вимог електробезпечності, а при роботі з небезпечними вантажами - вимоги правил безпеки під час перевезення небезпечних вантажів.
Далі дамо більш докладну характеристику основних вантажопідйомних кранів.
Кран ЕДК-2000 (рис. 2.1) вантажопідйомністю 250 т, що реалізує її при вильоті стріли 8 м, дозволяє піднімати локомотиви, вантажні й пасажирські вагони.
Таблиця 2.2
Припустимі відстані від основного укосу канави до найближчої опори крана
| Глибина канави, м |
Відстань залежно від видів ґрунту, м |
||||
| піщаний |
супіщаний |
суглинний |
глинистий |
лісовий, сухий |
|
| 1 |
1,5 |
1,25 |
1,0 |
1,0 |
1,0 |
| 2 |
3,0 |
2,4 |
2,0 |
1,5 |
2,0 |
| 3 |
4,0 |
3,6 |
3,25 |
1,75 |
2,5 |
| 4 |
5,0 |
4,4 |
4,0 |
3,0 |
3,0 |
| 5 |
6,0 |
5,3 |
4,75 |
3,5 |
3,5 |
Вильотом стріли називається відстань від осі обертання крана до центра вантажопідйомного гака. Нижче наведена технічна характеристика крана ЕДК-2000.
Максимальна вантажопідйомність на гаку, т:
головному......................................................................................250
допоміжному...................................................................................90
Мінімальна вантажопідйомність на гаку, т;
головному.......................................................................................22
допоміжному...................................................................................18
Максимальний виліт стріли гака, м:
головного.........................................................................................19
допоміжного....................................................................................23
Мінімальний виліт стріли гака, м:
головного........................................................................................8,0
допоміжного...................................................................................9,5
Швидкість підйому вантажу, м/хв.:
головним гаком до 100 т................................................................2,4
250 т.......……………………....………............................................1,1
допоміжним гаком до 45 т...……………………………..…...........7,5
90 т......………………………………...............................................3,7
Тривалість підйому стріли від її мінімального до максимального вильоту, хв...……………………………………..........................................4,1
Довжина крана по осях автозчеплення, м......……………...........15.22
Довжина підстрілової платформи, м......……………….….............24,3
Мінімальний радіус проїзду кривих ділянок
шляху (у складі поїзда), м......……………………………………….120
Максимальне навантаження на опору, тс......………………………270
Маса крана, т:
без противаг......................................................................................180
с двома противагами........................................................................260
Максимальна швидкість вітру при роботі крана па опорах, м/с...21,5
Максимальна швидкість проходження в рухомому складі, км/г....100
Відповідальним вузлом крана ЕДК-2000 є вантажопідйомна стріла. У транспортному положенні стріла одним кінцем опирається на упор, що розміщений на спеціальній противаговій платформі, а інший її кінець перебуває на поворотній частині крана. При русі крана в кривих ділянках шляху коренева частина стріли перемішається на опорних плитах. Для зняття навантаження на плитах ковзання стріли між ходовою платформою й стрілою встановлений зрівняльний буферний пристрій, що верхньою частиною сковзає по плиті й приймає на себе навантаження стріли. При підйомі й опусканні стріли фіксацію буферного пристрою необхідно здійснювати, строго виконуючи вимоги, викладені в інструкції з обслуговування крана.
На противаговій самохідній платформі розташовані дизель-генераторна установка й дві противаги з механізмами пересування, які навішуються спеціальним пристосуванням на задню поворотну частину крана.
Керування краном здійснюється з кабіни машиніста, що перебуває на поворотній частині. Керування виносними опорами виробляється з пультів керування, розміщених на ходовій рамі крана. При роботі крана на електрифікованих ділянках контактні проведення доводиться демонтувати. З огляду на більші можливості кранів ЕДК-2000, доводиться миритися із цим недоліком.

Рис. 2.1 Кран ЕДК-2000
а-загальний вид; б- схема розміщення крана на опори
Кран ЕДК-2000 має механізм головного підйому вантажопідйомністю 250 т, допоміжного підйому вантажопідйомністю 90 т. Його вантажопідйомність залежно від вильоту стріли показана в табл. 2.3.
Таблиця 2.3
Вантажопідйомність крана ЕДК-2000 при базі опор 9X9
| Виліт стріли, м |
Вантажопідйомність, т |
|||||
| Головний підйом |
Допоміжний підйом |
|||||
| без противаги |
с противагами |
без противаги |
с противагами |
|||
| одним |
двома |
одним |
двома |
|||
| 8,0 |
105 |
210 |
250 |
- |
- |
- |
| 9,0 |
89 |
180 |
216 |
- |
- |
- |
| 9,5 |
- |
- |
- |
85 |
90 |
90 |
| 10,0 |
74 |
152 |
192 |
85 |
90 |
90 |
| 11,0 |
63 |
127 |
173 |
70 |
90 |
90 |
| 12,0 |
55 |
108 |
157 |
60 |
90 |
90 |
| 13,0 |
49 |
93 |
142 |
53 |
90 |
90 |
| 14,0 |
44 |
82 |
128 |
47 |
85 |
90 |
| 15,0 |
38 |
72 |
115 |
41 |
77 |
90 |
| 16,0 |
34 |
65 |
102 |
36 |
69 |
90 |
| 17,0 |
28 |
58 |
90 |
31 |
62 |
81 |
| 18,0 |
25 |
53 |
80 |
28 |
56 |
74 |
| 19,0 |
22 |
48 |
70 |
25 |
50 |
68 |
| 20,0 |
- |
- |
- |
22 |
46 |
63 |
| 21,0 |
- |
- |
- |
21 |
43 |
59 |
| 22,0 |
- |
- |
- |
19 |
40 |
57 |
| 23,0 |
- |
- |
- |
18 |
38 |
55 |

Рис. 2.2 Висота підйому й глибина спуска вантажопідйомних гаків крана ЕДК-2000 залежно від вильоту стріли
Висота підйому й глибина спуска вантажопідйомних гаків залежно від вильоту стріли наведені на рис. 2.2. Докладна деталізація вузлів і механізмів крана ЕДК-2000 й інших кранів дана в інструкціях для експлуатації кранів.
2.2 Тягові засоби
Відбудовні поїзди оснащені тягачами БТТ-1. БТС-2, Т-34, ГТУ (Т-55), тракторами ТТ-4, Т-100. Т-140, Т-180, ДЭТ-250, Т-330 і бульдозерами Д-355А-3 («Комацу»). Всі зазначені трактори й тягачі є гусеничними машинами, використовуються як тягові засоби. Тягачі БТТ-1, БТС-2, АТТ. Т-55 і деякі Т-34 обладнані тяговими лебідками, що дозволяє використовувати їх у важкодоступних місцях: болотистої, гірської місцевості, глибоких виїмках і т.д. Перераховані тягачі й трактори можуть використовуватися із застосуванням поліспаста для збільшення сили тяги.
Кожна тягова одиниця призначена для рішення певного кола завдань при виконанні відбудовних робіт. Малопотужна тягова техніка й бульдозери, найчастіше використовуються при збиранні зі шляхи деталей локомотивів і вагонів (візка, колісні нари, частини кузовів після оброблення їхнім автогеном, різні вантажі й т.п.), а також для доставки до місця робіт людей й устаткування (тягові троси, накаточні башмаки, устаткування для різання й зварювання металу й ін.). Крім того, за певних умов використовуються трактори Т 100 і Т-180 для перекидання вагонів шляхом раскантовки, коли руху заважають один-два вагона й рельєф місцевості дозволяє застосувати такий варіант.
При відновленні зруйнованого шляху (особливо в зимових умовах) як планувальник застосовується бульдозер З-100 разом з бульдозером «Комацу», що розпушує й зрушує убік залишки зруйнованого шляху; при цьому легкий бульдозер планує основу земляного полотна для укладання нової колійної решітки.
Велику роботу тягачі й бульдозери виконують при збиранні рухомого складу з перегонів після ліквідації наслідків аварійних ситуацій і відкриття руху поїздів. При великих сходах рухомого складу на місці робіт буває велика кількість деталей вагонів, різних вантажів і т.д. Для їхнього збирання з перегонів плануються технологічні «вікна», а це викликає скасування поїздів. Щоб обійтися без «вікон», за допомогою тягової техніки методом волочіння, вантажі й зруйнований рухомий склад збирають на найближчій станції або під'їзній колії для відправлення за призначенням. Особливо продуктивно працює в таких випадках трактор-трелювальник ТТ-4, що має більшу маневреність і достатню швидкість. Трактор ТТ-4, що застосовується звичайно на лісорозробках, крім свого прямого призначення, з успіхом застосовується для ліквідації наслідків сходу з рейок рухомого складу. Його конструктивні особливості: наявність лебідки, лафета й базових площадок для кріплення різного навісного устаткування - дають широкі можливості для застосування при відбудовних роботах. Крім того, трелювальний трактор застосовується для доставки матеріалів верхньої будови колії, гідравлічного встаткування, накаточних башмаків й інших технічних засобів до місця відбудовних робіт. Модернізацією деяких вузлів трактора можна розширити область його застосування.
Тягачі на базі танків і військової техніки БТТ, АТТ, БТС в основному застосовуються для розчищення й скидання рухомого складу з шляху з метою найшвидшого відкриття руху поїздів. Т-34 застосовують як тягову одиницю (через поліспаст) і як упор. При сходах рухомого складу у виїмках використовують установлений на тягачі напрямний ролик для зміни напрямку тягового троса у вертикальній площині. Крім цього, на Т-34, БТТ, БТС установлюють спеціальну платформу для перевезення людей, доставки встаткування до місця робіт. На тягачах є один комплект накаточних башмаків, набір тягових тросів, сполучні скоби й устаткування для різання металу. Тягачі БТТ, БТС застосовуються, як правило, для скидання рухомого складу з використанням наявної лебідки із силою тяги 25 тс (через блок - 50 тс і більше). Варто мати на увазі, що робота прямо (без застосування лебідки) приводить до виходу з ладу ходових механізмів. На цих машинах також улаштована вантажна платформа (кузов) для перевезення встаткування до місця робіт.
Більш сучасні тягачі ГТУ-1 (ГТУ-1-005) на базі танка Т-55 мають відвал з гідравлічним приводом, що дозволяє забирати з шляху сипучі вантажі, зрушувати частини рухомого складу, готовити земляне полотно для укладання рейкових ґрат. На вантажній платформі встановлений кран-укосина вантажопідйомністю 1 т (на ГГУ-1 -кран з гідроприводом вантажопідйомністю 5-7 т), що дозволяє вантажити деталі й дрібні вантажі й транспортувати їх на значні, відстані.
Потужні трактори Т-330, ДЭТ-250, бульдозер японської фірми «Комацу» Д-355А-3 (мал. 2.16), трактор Т-500 призначені в основному для розтаскування більших груп вагонів, що зійшли з рейок. Застосовують ці трактори по одному, а також з'єднаними з двох послідовно або паралельно. При з'єднанні тракторів Т-330 цугом потрібно враховувати одну особливість: спереду в цього трактора є фаркопні гаки, призначені тільки для буксирування.
Гусеничний трактор Т-500 розвиває тягове зусилля 50 тс, обладнаний потужною лебідкою, якірним пристроєм і бульдозерним відвалом. На цих тракторах монтують пересувний маніпулятор, що має потужні захоплення, за допомогою яких виробляється збирання окремих деталей рухомого складу й розваленого вантажу. У кабіні передбачені необхідні зручності для водія. Керування всіма механізмами - гідравлічне.
Бульдозер Д-355А-3 - сама потужна сучасна машина із широкими можливостями для проведення відбудовних робіт. Установлені на цьому тракторі відвал з гідравлічним приводом і спеціальний рихлитель дозволяють, крім розтаскування рухомого складу, робити роботи з відбудови шляху, особливо там, де залізнична колія на залізобетонних шпалах, і в зимову пору року. Зруйнований шлях рихлителем забирають із земляного полотна, роблять попереднє планування, потім малопотужним бульдозером роблять остаточне планування й укладають нову колійну решітку колієукладачем.
2.3 Накаточне устаткування
Поряд з основною технікою (крани на залізничному ходу, тягачі, трактори, гідравлічні установки), у відбудовних поїздах широко використовуються механізми й різні пристосування, що полегшують і прискорюють відбудовні роботи. Як правило, ці механізми й пристосування розробляються раціоналізаторами й заслуговують на увагу для широкого використання у відбудовних поїздах мережі залізниць.
Повсюдне застосування при постановці на рейки рухомого складу одержало накаточне устаткування. Аналіз відбудовних робіт на залізницях країни показує, що приблизно половина рухомого складу, що зійшов з рейок, накочується за допомогою накаточних башмаків. При їхньому застосуванні не потрібна значна робоча сила, більших витрат часу через простоту технології; не потрібно знімати напругу з контактної мережі й демонтувати її, як це потрібно при роботі кранів. В окремих випадках при використанні однієї лише пари (комплекту) накаточних башмаків можна накотити кілька вагонів. Їхнє застосування більш економичне, ніж застосування основної відбудовної техніки. Слід також зазначити, що накаточні башмаки є основним устаткуванням аварійно-польових команд і летючок.
У відбудовних поїздах застосовуються накаточні башмаки різних типів: накладні (суцільнозварного, литого й розбірні), типу «горбуша», стикові, універсальні (використовувані як накладні й стикові), стрілочні (для піднімання на хрестовині й у корені пера). Крім того, у комплекті з накладними башмаками застосовуються напрямні башмаки для наближення колісних пар до рейки при сходах на залізобетонних шпалах, а також накаточні пристосування «туфелька» для піднімання вагонів, що мають однобічний схід, внаслідок розширення шляху. Такі накаточні башмаки, як «горбуша», морально застаріли й на багатьох дорогах практично не використовуються.
Таблиця 2.4
Технічні характеристики накаточного устаткування
| Тип накаточного устаткування |
Ширина прийомної частини, мм |
Довжина, мм |
Висота накладної частини, мм |
Маса одного башмака, кг |
| Накладний сталевий башмак для рейок Р50 |
682 |
1090 |
235 |
170 |
| Розбірний накладний сталевий башмак для рейок Р65 |
700 |
1360 |
300 |
265 |
| Накладний стиковий сталевий башмак для рейок Р50 |
400 |
1380 |
235 |
153 |
| Універсальний накладний титановий зварений башмак |
707 |
1369 |
282 |
86 |
| Універсальні литі титанові башмаки: Перша модель |
707 |
1369 |
282 |
94 |
| Друга модель |
707 |
1369 |
282 |
85 |
| Третя модель |
740 |
1000+30 |
250 |
75 |
| Крестовинні титанові накаточні башмаки |
330 |
1200 |
200 |
50 |
| Пристосування, виготовлені з титану: Стрілочні клини |
200 |
500 |
160 |
8 |
| «пастка» |
1000 |
1100 |
180 |
60 |
| «туфелька» |
160 |
450 |
190 |
5 |
Особливо ефективні універсальні накаточні башмаки виготовлені з титанових сплавів із клиновими кріпленнями. Їхнє застосування полегшує праця працівників відбудовних поїздів. Як видно з табл. 2.4, маса одного накаточного сталевого башмака досягає 265 кг, а титанового - 85-94 кг. Тому при доставці (переносі) сталевих накаточних башмаків потрібно 5-6 чол., а титанових - 2-3 чол. Більше зручним є спосіб закріплення титанових башмаків. Нижче наведені найпоширеніші типи накаточних башмаків.
Накладні башмаки сталеві (рис. 2.3) застосовуються для накочування рухомого складу, у тому числі й навантаженого, що відійшло від рейок на відстань до 300 мм. При більшій відстані рухомий склад необхідно спочатку наблизити до рейок способом, показаним на рис. 2.4. Комплект накладних накаточних башмаків складається з лівого й правого башмаків. Усередині колії шляху завжди розташовують широкі захоплення башмаків. Успіх у роботі при накочуванні на рейки рухомого складу, що зійшов, залежить від правильної установки й надійного кріплення накаточних башмаків. Башмаки кріпляться до залізничної колії милицями, спеціальними скобами, клинами. Накаточний башмак при укладанні повинен обов'язково всією своєю нижньою площиною щільно лягати на головку рейки.

Рис. 2.3 Сталеві накладні накаточні башмаки

Рис. 2.4 Наближення колісних пар за допомогою контррейки

Рис. 2.5. Стикові накаточні башмаки
Рис. 2.6. Спеціальні (крестовинні) накаточні башмаки
Накладні накаточні башмаки для різних типів рейок по конфігурації однакові, а відрізняються по висоті лабетів, довжині й масі (див. табл. 2.4).
Для накочування рухомого складу на важкий тип рейок, а також на рейки, покладені на залізобетонні шпали, застосовують розбірні накаточні башмаки, які в зібраному виді нічим не відрізняються від звичайних накладних башмаків.
Розбірні башмаки складаються із трьох частин (корпус, вузьке й широке захоплення), маса найлегшої з яких 68кг. Кріплять їх спеціальними пристроями під головку рейки. Використовують аналогічно накладним накаточним башмаком.
Стикові башмаки (рис. 2.5) із всіх видів накаточних башмаків є більш ефективними й надійними в роботі. З їхньою допомогою можна накочувати всі типи рухомого складу на прямих і кривих ділянках шляху. На прямих ділянках шляху башмаки встановлюють у стик до рейок, отрихто-ваним у напрямку до колісних пар, що зійшли. Так само встановлюють башмаки й на кривих ділянках шляху, але ланки рейок, до яких вони кріпляться, попередньо випрямляють і рихтують для більш зручного наїзду колісних пар на накаточний башмак. Стикові башмаки для рейок Р50 можуть застосовуватися й для рейок більш важкого типу з використанням металевих підкладок під підошви башмаків товщиною 15-20 мм.
Спеціальні (крестовинні) накаточні башмаки (рис. 2.6) застосовують для накочування рухомого складу, що зійшов, у межах стрілочного переводу. Вони встановлюються й закріплюються між рамною рейкою й гостряком.

Рис. 2.7 Уніфіковані титанові накаточні башмаки: а-вид зверху; б-вид збоку; в-вид з торця; 1-висувні клини; 2-платформа; 3-висувні сухарі; 4-напрямні виступи; 5-накаточна поверхня; 6-ребра жорсткості; 7-прокладка.

Рис. 2.8 Установка напрямних башмаків: 1-накаточний башмак; 2- напрямний башмак

Рис. 2.9 Напрямний башмак для наближення, рухомого складу що зійшов з рейок: 1-властиво башмак (захват); 2-відрізок рейки
Уніфіковані титанові накаточні башмаки (рис. 2.7) можуть виготовлятися методом зварювання або лиття. Ці башмаки легко переносяться на місце установки. Клинове кріплення дозволяє встановити ці башмаки в найкоротший термін. Для установки уніфікованого накаточного башмака на рейку необхідно висунути назовні висувні сухарі 3 , накласти на рейку башмак, всунути всередину висувні сухарі 3 , поставити при необхідності металеву прокладку 7 між головкою рейки й башмаком (для рейок Р50), потім поставити й забити по обидва боки під головку рейки клини 1 , які забезпечують надійне кріплення башмака.
Особливу значимість при використанні накаточного устаткування здобувають виготовлені раціоналізаторами різні пристосування. Характеристики деяких з них наведені в табл. 2.4.
Для накочування електровозів і тепловозів застосовуються спеціальні пристосування — напрямні башмаки (рис. 2.8). Вони забезпечують рівномірний підйом і напрямок руху колісних пар, охороняють механічну частину локомотива від ушкодження, перешкоджають скиданню накаточного башмака шляхоочисником локомотива. Напрямний башмак 2 укладають одним кінцем під бандаж колісної пари, а іншим — на накаточний башмак 1 і кріплять до шпал.
Коли колісні пари рухомого складу виходять за кінці шпал, для наближення їх до рейок також застосовується напрямний башмак (рис. 2.9), що складається із башмака 1 , прикріпленого до відрізка рейки 2 . Він встановлюється під колісні пари вагона. Напрямні башмаки застосовуються в сполученні з накаточними башмаками, за допомогою яких вагон встановлюється на рейки.
При накочуванні рухомого складу, що зійшов з рейок, покладених на залізобетонних шпалах, прийомна частина накаточних башмаків не вловлює колісні пари, якщо вони вийшли за копиці шпал, оскільки кінці шпал не дозволяють візку розгорнутися й наблизитися до рейок. При розвороті й підтягуванні колісних пар тросом залізобетонні шпали зриваються з болтів і руйнують шлях. У цьому випадку застосовують накаточні приставки «пастка», які й призначені для наближення колісних пар до накаточних башмаків і дозволяють накочувати рухомий склад при видаленні від шляху, не руйнуючи його. При розширенні шляху використається пристосування «туфелька».
3. ТЕХНОЛОГІЯ ВІДБУДОВНИХ РОБІТ
3.1 Характеристика сходів з рейок рухомого складу
Характер й обсяг робіт по збиранню рухомого складу, що зійшов з рейок, залежать від обставин, які викликали цей схід: зіткнення, несправність шляху, несправності в ходових або зчіпних пристроях рухомого складу, неправильне керування поїздом, зіткнення з автотранспортними засобами, наїзд на сторонні предмети й ін. Не в меншому ступені це залежить також від швидкості руху, числа одиниць рухомого складу в поїзді або групі маневрового состава. На характер сходу можуть вплинути й раптово виниклі під час сходу перешкоди, наприклад розворот візка, що зійшов з рейок, упор його деталей у шпальні ґрати з наступним накопиченням вагонів, що зійшли.
Найбільш частими, але з меншими наслідками є сходи одиночних вагонів або окремих груп з 2—4 вагонів. Найчастіше вони відбуваються на станціях при розпуску з гірок через несправності шляхів, стрілочних переводів або «перескакування» через гальмовий башмак, у більшості випадків при незначних швидкостях руху, і з цієї причини вони не закінчуються падінням вагонів набік і розвалом вантажу. Зіткнення при виробництві маневрів нерідко закінчуються більше складними сходами, аж до перекидання рухомого складу й телескопічного з'єднання. На перегонах сходи з рейок одиночного рухомого складу або груп з малим числом вагонів відбуваються дуже рідко. В основному вони мають місце на станціях і кваліфікуються у відповідності з наступними наслідками: схід локомотива або вагона з рейок однією колісною парою; схід одним візком; схід всіма візками без їхнього викиду з-під рами рухливого складу; схід всіма візками з викидом однієї з-під рами й заглибленням кінця вагона в земляне полотно; схід з викидом всіх візків, падінням рухливого складу набік або перекиданням.
Сходи з рейок рухомого складу, які відбуваються через зіткнення, можуть закінчуватися перерахованими вище наслідками, але з додатковими руйнуваннями головному й бічній частинах локомотива або вагона. Нерідко в останніх випадках зіткнення й сходи закінчуються пожежею.
Сходи з рейок одиночного рухомого складу в більшості випадків ліквідуються аварійно-польовими командами за допомогою накаточних засобів і маневрового або поїзного локомотива. У тих випадках, коли таким способом підняти рухомий склад не представляється можливим, викликається відбудовний поїзд і піднімання здійснюється способами, які будуть розглянуті нижче.
Найбільш складними наслідками закінчуються катастрофи, аварії, сходи й зіткнення поїздів і рухомого складу при більших швидкостях як на перегонах, так і на станціях. Як правило, великі катастрофи закінчуються складними завалами, які можуть собою представляти: групу вагонів, відкинутих і перекинутих з розвалом вантажу; групу вагонів, нагромаджених у кілька ярусів на невеликій площі з телескопічним з'єднанням металевих конструкцій упереміш із розваленим і розлитим вантажем.
На насипах у більшості випадковий й особливо на кривих ділянках шляху рухомий склад повністю або частково може бути відкинутий за межі габариту. У глибоких виїмках покидькові рухомого складу за межі габариту будуть перешкоджати укоси, у зв'язку із чим обсяг завалів у виїмках за інших рівних умов буде більшим, ніж на насипах.
Характер завалів багато в чому залежить від причин зіткненні й сходів рухомого складу. При лобових і бічних зіткненнях, як правило, утворяться складні завали з руйнуванням і телескопічним з'єднанням рухомого складу, значним розвалом або розливом вантажу. Це відбувається в основному через проїзди заборонних сигналів, порушень правил прийому й відправлення поїздів, несправностей пристроїв СЦБ, відходу вагонів зі шляхів станції, а також зіткнень поїздів з вагонами, що зійшли з рейок на сусідньому шляху. Меншим обсягом захаращень характеризуються випадки сходу з рейок рухомого складу при несправному шляху, через зношування деталей або вузлів вагонів, хоча й у цих випадках багато чого залежить від конкретних обставин. Найбільш складні накопичення відбуваються при сході з рейок або зіткненнях рухомого складу в тунелях, на мостах, а також двох зустрічних поїздів. Характерна схема рухомого розташування рухомого складу після сходу вагонів двох зустрічних поїздів показана на мал. 3.1.

Рис. 3.1 Характерне розташування рухомого складу вантажних поїздів після сходу з рейок
З обсягу й характеру завалів рухомого складу визначається час відновлення руху. Воно складається з ряду складових, у тому числі із часу на збір і доставку відбудовних засобів до місця події, розтаскування й піднімання рухомого складу, відновлення шляху, контактної мережі, засобів зв'язку й СЦБ. Багато в чому тривалість відбудовних робіт залежить від оснащеності відбудовних поїздів і порядку організації робіт.
3.2 Основні принципи вибору способів постановки рухливого складу на рейки
Найбільше часто повторювані випадки розташування, що зійшло з рейок рухомого складу наступні:
вагон або локомотив має схід з рейок одного колеса-візка, одного візка повністю або всіх візків. Можливі випадки, коли один візок або обидві візки при сході вийшли з конструктивного шкворневого зчленування з рамою вагона, але перебувають під кузовом рухомого складу, що зійшов, і розташовуються уздовж або поперек шляху. Можливий і такий варіант, коли один з візків або обидві візки вибиті з-під рухомого складу й перебувають на узбіччі або в міжколіях; вагон або локомотив перебуває під кутом до шляху; вагон або локомотив перекинуть і лежить на боці.
Постановка на рейки рухомого складу, що поодиноко зійшов, жадає від виконавців високої майстерності й професіоналізму. Можливо без яких-небудь додаткових ушкоджень рухомого складу й вантажів поставити його на рейки або, у крайньому випадку, поза габаритом. Проте в окремих випадках, на особливо напружених ділянках, з метою швидшого відновлення руху поїздів приймаються рішення про скидання локомотива, що зійшов з рейок, або вагона під укіс. Зрозуміло, це робиться у виняткових випадках із прийняттям всіх можливих заходів щодо зниження додаткових руйнувань рухомого складу й збереженню вантажу. У більшості ж випадків, і особливо на станціях, коли повністю рух не переривається, єдино правильним рішенням буде поставити рухомий склад на рейки. Роботу цю можна виконати за допомогою накаточних башмаків, домкратів, вантажопідйомного крана, причому як при автономному їхньому використанні, так й у відповідних сполученнях цих засобів.
Аналіз накопиченого досвіду відбудовних робіт показує, що, незважаючи на різноманіття можливих варіантів сходу з рейок рухомого складу, є ряд рекомендацій, які допомагають зупинитися на більше раціональному рішенні при виборі способу й механізмів для постановки на рейки або збирання рухомого складу, що зійшов з рейок, вибір варіанту піднімання й необхідних технічних засобів здійснюється залежно від характеру сходу рухомого складу, рельєфу місцевості й наявних поблизу комунікацій, будинків, енергомереж й інших споруджень.
У всіх випадках, коли при сході з рейок візка рухомого складу не вийшли з конструктивного зчленування з рамою, а також не розгорнулися стосовно осі шляху, найбільш прийнятним способом постановки на рейки є накочування рухомого складу за допомогою накаточних башмаків. Не виключається використання накаточних башмаків у сполученні з домкратами й іншими спеціальними пристосуваннями. Найбільше ефективно використаються гідравлічні установки, які дозволяють здійснювати піднімання поїзда-состава-сполуки-рухлив-складу й постановку на рейки.
Застосування накаточних башмаків у значній мірі1 залежить від відстані колісних пар, що зійшли, до рейкової колії, стану шляху в місці сходу, від цілісності конструкції візкового вузла і його зчленування з рамою й можливо тільки при наявності на місці відбудовних робіт локомотива або тягача.
Якщо рухомий склад у результаті сходу перевернувся або лежить на боці, піднімання варто здійснювати вантажопідйомним краном (при необхідності з попереднім розтаскуванням рухомого складу за габарит за допомогою локомотива або тягача) або за допомогою гідравлічних установок і домкратів, наявних на озброєнні відбудовних поїздів.
Для постановки на рейки рухомого складу, що зійшов, як правило, застосовуються вантажопідйомні крани на залізничному ходу й у меншому ступені - на автоходу. До речі, якби ВП мали на озброєнні вантажопідйомні крани на автомобільному ході, то витрати часу на виробництво відбудовних робіт були б значно нижче. Кран на автомобільному або гусеничному ході можна широко використати «з поля», доставляти до місця роботи із шосейних доріг, а на гусеничному ходу - і по бездоріжжю.
Особливу значимість вантажопідйомні крани здобувають при веденні відбудовних робіт у глибоких виїмках, горловинах станцій у випадках, що коли зійшли вагони або локомотиви перебувають на боці, з викинутими з під них ходовими візками.
Обмежуючими факторами застосування вантажопідйомних кранів є несправність або відсутність шляху поблизу місця сходу, а також відсутність можливості для установки крана на опори. На установку крана в робоче положення потрібно багато часу, обмежені його можливості на електрифікованих ділянках, та в певних умовах вантажопідйомні крани є виправданим й єдиним засобом виробництва робіт.
Перед ухваленням рішення про вибір механізмів і способу постановки на рейки рухомого складу, що зійшов, варто уважно оглянути шлях, ходові частини рухомого складу, звернувши при цьому увага на характер сходу (у якому положенні - вертикальному або похилому перебуває рухомий склад), а також на стан вантажу. При цьому в кожному окремому випадку необхідно переконатися в забезпеченні безпеки провадження робіт. Неодмінною умовою є попереднє звільнення рухомого складу, що зійшов, від зчеплених з ним або телескопічно з'єднаних вагонів.
Виходячи з фактора часу при виборі способу постановки на рейки рухомого складу необхідно в першу чергу робити ставку на механізми й засоби, які є поблизу місця події. Якщо ж постановку на рейки або збирання рухомого складу цими засобами здійснити не можна, то до місця сходу викликається відбудовний поїзд.
Правильне розміщення наявних на місці сходу рухомого складу відбудовних засобів, уміла організація їхньої роботи, раціональне використання локомотивів дозволяють швидше завершити відбудовні роботи й відкрити рух. Покажемо на конкретних прикладах можливе розміщення відбудовних засобів при сходах з рейок вантажних складів.
3.3 Нормативи часу на піднімання і збирання рухомого складу. Терміни служби відбудовної техніки
Винятково важливе значення для визначення строків виконання аварійно-відбудовних робіт й оцінки працездатності відбудовних поїздів мають нормативи витрат часу на піднімання й збирання рухомого складу залежно від його маси, поперечного профілю земляного полотна та умов місцевості. Дані про масу рухомого складу дають можливість правильно підібрати вид відбудовних технічних засобів й їхня кількість для піднімання вагонів і локомотивів, що зійшли з рейок.
Для випадків складних сходів рухомого складу з рейок розроблені норми середньої тривалості по його підніманню й збиранню залежно від маси. Ці норми призначені для визначення строку розчищення одиночного конкретного завалу. Вони розроблені на основі витрат часу на виконання кожної операції циклу переміщення вагону або секції локомотива із завалу за межі габариту наближення будов.
Для визначення нормативів з підйому конкретних одиниць рухомого складу залежно від умов їх сходячи з рейок і тину технічних засобів, використовуваних у технологічному процесі, використають Технологічну інструкцію для піднімання рухомого складу й Норми часу й технологічні процеси на піднімання рухомого складу. Нормативи, розроблені ВНІІЖТом, наведені в табл. 3.3-З.10. Вони не враховують час на підготовчі роботи.
На основі даних табл. 3.1-3.10 розроблені технологічні карти по підніманню й збиранню рухомого складу.
Наведені нормативи на піднімання й збирання рухомого складу розроблені для умов роботи при температурі вище 0 °С, нормальному природному висвітленні, відсутності задимленності й радіоактивного зараження місцевості. При розчищенні завалів в умовах низьких температур, у темний час доби, при сильній задимленості й радіоактивному зараженні місцевості необхідно застосовувати відповідні поправочні коефіцієнти, розроблені відповідно до вимог ЕНіР.
У зимовий час застосовуються наступні поправочні коефіцієнти, що враховують температуру зовнішнього повітря:
t, °С...... 0 ÷ - 10 - 10 ÷ - 20 - 20 ÷ - 30 – 30 ÷ - 40 нижче -40
Коефіцієнт. . 1,1 1,17 1,25 1,33 1,5
Замір температури повітря виробляється два рази в зміну (наприкінці другого й кінці п'ятого годин роботи). Поправочні коефіцієнти враховують вплив наступних факторів на продуктивність праці: скрутність рухів робітника теплим одягом, незручність роботи в рукавицях при необхідності дотику до холодного металу й т.п.; зниження видимості; зледеніння взуття, матеріалів, конструкцій, інструментів; необхідність у процесі роботи періодичного очищення робочого місця, матеріалів від снігу й льоду. Перерва для обігрівання робітників не враховується.
По оцінках медиків, температура шкіри особи, рівна 6°С, є дискомфортною в такому ступені, що при тривалому перебуванні на відкритому повітрі через кожні 45—50 хв- необхідний обігрів у теплому приміщенні.
При температурі шкіри особи нижче 0°С відбувається другий ступінь обмороження, що супроводжується побелінням шкіри. Перебування на відкритому повітрі в таких умовах понад 20 мни стає небезпечним.
Для визначення граничних значень температур шкіри особи необхідно користуватися графіком.
Якщо крапка перетинання температури повітря й швидкості вітру лежить на кривій 2 або вище її, то необхідно обігрів через кожні 45-50 хв. Якщо ж крапка перетинання лежить на кривій або вище її, то необхідні перерви через кожні 20 хв роботи.
У залежності від умов виконання відбудовних робіт застосовуються наступні поправочні коефіцієнти: у заметіль або сильний дощ-1,2, при великій скупченості рухомого складу- 1,5, при роботі в засобах індивідуального захисту також 1,5.
При роботі в темний час доби до нормативів застосовують поправочний коефіцієнт 1,4, що передбачає достатню натренованість особового складу при роботі в таких умовах.
До висвітлення місця робіт з розчищення завалів у темний час доби пред'являються наступні вимоги: освітлювальні установки повинні працювати надійно, незалежно від погоди й пори року й забезпечувати гарну видимість завалу, маршрутів переміщення елементів завалу у відвали, а також машин, механізмів, пристосувань й інструментів, застосовуваних у роботі; освітленість на поверхні землі повинна бути не менш 10 лк; розміщення світильників повинне забезпечувати рівномірний розподіл освітленості й припустиме значення сліпучої дії, що досягається застосуванням переносних телескопічних щогл висотою 8-10 м з лампами потужністю 1000-1500 Вт, установлюваних через кожні 50- 70 м ділянки шляху, що розчищає, поза маршрутами руху технічних коштів. Особливу увагу варто обертати на світлове позначення габаритів машин, що рухаються, і перешкоди на шляху їхнього руху.
Необхідно враховувати, що в темний час доби утруднене правильне визначення відстані до машин, що рухаються, погіршується видимість сигналів, особливо при забрудненні навколишнього середовища вихлопними газами, у результаті погіршуються умови для безпечної роботи людей.
Від кліматичних факторів залежать терміни служби відбудовної техніки, причому вплив цих факторів по-різному не тільки на види техніки, але й на вузли й агрегати машин одного виду. Строки експлуатації відбудовної техніки, використовуваної в різних кліматичних зонах, неоднакові. Одним з найбільш істотних факторів є температурний режим зовнішнього повітря. Помітне зменшення надійності більшості видів техніки спостерігається при температурах нижче 00 С. Основні причини цього - недостатня холодостійкість металу, конструктивні недоліки деталей і вузлів, невідповідність технології виготовлення виробів умовам їхньої експлуатації в різних зонах, недосконалість двигунів. Оскільки для описаної в даній книзі відбудовної техніки досліджень у цій області не проводилося, можна скористатися даними табл. 3.11 про характерні руйнування деталей різних машин, що працюють у північних районах.
3.4 Піднімання рухомого складу вантажопідйомними кранами
Як ми вже відзначали, вантажопідйомні крани на залізничному ходу використають при проведенні відбудовних робіт у тих випадках, коли інші технічні засоби використати по різних причинах неможливо або недоцільно (наприклад, щоб не зашкодити рухомий склад, зберегти перевезений вантаж, запобігти розливу небезпечних вантажів), крім того, коли застосування інших технічних засобів не може бути здійснене через особливість місцевості, характеру забудови в місці сходу, ушкодження ходових частин рухомого складу. У кожному конкретному випадку технологія використання вантажопідйомних кранів залежить від маси й характеристики вантажу, його розмірів і розташування, характеру ділянки шляху (з урахуванням його електрифікації), стану рухомого складу, що зійшов.
Існує безліч способів і прийомів застосування вантажопідйомних залізничних кранів для піднімання рухомого складу й вантажів. У даній книзі наведені найбільш характерні (типові) способи й прийоми. Кожен спосіб складається з технологічних операцій, дослідження яких дозволило розробити узагальнені технологічні карти процесу піднімання рухомого складу залежно від характеру сходу рухомого складу і його характеристики, а також від типу й технічних можливостей вантажопідйомних кранів.
Заслуговує на увагу проведення робіт з піднімання рухомого складу зі зруйнованим ходовим візком, особливо коли кран відбудовного поїзда подається до вагона, у якого вона зруйнована із протилежної сторони від поданого крана, а його вантажопідйомність не дозволяє підняти повністю кузов вагона. У цьому випадку найбільш прийнятної є наступна технологія заміни зруйнованого візка (рис. 3.2).
Із протилежної сторони від крана під буферний брус вагона викладають шпальну клітку. З боку візка А краном піднімають кузов вагона. При цьому візок А звільняється від шворня. На неї встановлюють спеціальний перехідний п’ятник, і візок А перекочується убік зруйнованого візка Б. Хребтовою балкою кузов вагона встановлюють на візок А. Кран опускає кузов вагона на шлях, візок Б звільняється від ваги кузова вагона.
Шпальну клітку розбирають і за допомогою блоку, закріпленого за рейки, візок Б тросом витягають з-під вагона за допомогою крана або локомотива (рис. 3.2.). Після видалення візка Б знову викладають шпальну клітку під буферний брус. Вагон піднімають краном, візок А встановлюють на місце візка Б. Вагон опускають краном на шлях, звільняючи шпальну клітку, що потім забирають. На місце візка А встановлюють запасний візок В.

Рис. 3.2.Заміна зруйнованого візка вантажного вагона за допомогою вантажопідйомного крана, що прибув з боку справного візка.
3.5 Постановка на рейки рухомого складу за допомогою гідроустановки й домкратів
Вивчення накопиченого досвіду використання гідравлічних установок при відбудовних роботах дозволяє зробити деякі узагальнюючі висновки й рекомендації. Загальний принцип виробництва відбудовних робіт за допомогою гідравлічної установки полягає в тім, що локомотив, що зійшов з рейок, або вагон разом з візками, прикріпленими до нього спеціальними пристосуваннями, піднімається за один кінець, переміщається поперек осі шляху й установлюється колісними парами на рейки.
Залежно від характеру сходу й виду рухомого складу спосіб піднімання й постановки його на рейки в кожному окремому випадку визначається індивідуально. Проте окремі складові цих способів однотипна й істота їх зводиться до наступного.
Піднімання з наступним переміщенням рухомого складу варто здійснювати тільки при знаходженні його у вертикальному положенні. Якщо локомотив або вагон нахилені до земляного полотна, їх треба попередньо поставити (вивісити) у вертикальне положення.
Якщо локомотив або вагон при сході має один візок на рейках, то перед підніманням той кінець рухомого складу повинен бути закріплений (підкладеними гальмовими башмаками або дерев'яними клинами під обидві сторони кожного колеса) від можливого переміщення.
Локомотив, що піднімає гідроустановкою, чи вагон повинен бути звільнений від сторонніх предметів (шпал, шматків рейок і т.п.), а також від зчленування із сусіднім рухомим складом. Точка опори штока домкрата повинна бути вибрана на локомотиві або вагоні з таким розрахунком, щоб під час піднімання не відбулося їхнього перекидання. Між опор тієї поверхні рами рухомого складу, штоком домкрата і його підошвою обов'язково встановлюють прокладки, як правило, з фанери. Зазначені запобіжні заходи є обов'язковими й повинні щораз контролюватися керівником робіт.
У всіх варіантах використання гідроустановки для постановки рухомого складу, що зійшов з рейок, основними операціями є наступні.
Роблять зборку гідроустановки, що складається з моста, роликового візка, вантажопідйомного домкрата й домкратів горизонтального переміщення. Ця установка надалі буде йменуватися гідровузлом підйому й переміщення рухомого складу. Висота підйому домкрата вантажопідйомністю 120/60 т становить 730 мм, домкрата вантажопідйомністю 60/30 т - 755 мм і домкрата безперервної дії вантажопідйомністю 60 т - 525 мм, а вантажопідйомністю 120 т -610 мм.
Щоб зібрати гідровузол під одним з кінців локомотива або вагона, нерідко доводиться здійснювати попереднє піднімання його одиночними домкратами. При цьому варто строго стежити за тим, щоб при підніманні забезпечувалася стійкість рухомого складу, тобто дотримувалися умови трьох точок опори й рівномірного розподілу навантажень на кожну сторону об'єкта, що піднімає.
Більші ускладнення виникають для попереднього піднімання в тих випадках, коли кінець рухомого складу через викид з-під нього візка заривається в земляне полотно. У цих випадках доцільно застосовувати спеціальні пристосування. Так у відбудовному поїзді, що дислокується на станції Кривий Ріг-Головний Придніпровської залізниці, пристосування для підйому вагона за автозчеплення (мал. 3.10) виготовлено з листового заліза товщиною 24 мм. На пристосування в місці установки домкрата надівається підкладка, зображена на малюнку як окрема деталь. У найбільш слабкому перетині по обидва боки приварені ребра твердості А, з однієї сторони приварений упор Б. За допомогою цього пристосування домкратом піднімають вагон за автозчеплення, потім під нього мостять шпальну клітку. Після цього монтують гідровузол і вже з його допомогою здійснюють подальші операції по ліквідації наслідків сходу.
Піднімання здійснюється, як правило, за один кінець локомотива або вагона. При цьому візок кінця, що піднімає, повинна бути попередньо прикріплена до рами рухомого складу спеціальними пристосуваннями. Крім того, деталі й вузли візка повинні бути зафіксовані прокладками з таким розрахунком, щоб при вертикальному підйомі вони не переміщалися щодо рами візка. Якщо візок перебуває від рухомого складу, що зійшов, на відстані, що не дозволяє зробити її прикріплення до рами локомотива або вагона, то попередньо варто наблизити їх. Це робиться локомотивом або тягачем, а також за допомогою зібраного гідровузла. У випадках коли, візок що зійшов, ушкоджений, використовується запасний візок.
Піднімання одного кінця рухомого складу робиться домкратом на висоту, що дозволить безперешкодно здійснити поперечне переміщення. Для вертикального підйому локомотива або навантаженого вагона використаються гідравлічні домкрати вантажопідйомністю 120/60 т, а для порожніх вагонів - 60/30 т. Для поперечного переміщенні використовуються циліндри, що створюють зусилля поршня стільник «від себе» 10 тс, «на себе»-6 тс. Для локомотивів і навантажених вагонів для цієї мети застосовується установка із двох таких циліндрів.
При зпуску рухомого складу, що зійшов, на рейки необхідно стежити за правильністю зчленування шкворневого вузла (п’ятника й підп'ятника), за технічним станом вузлів і деталей візків, а у локомотивів варто оглянути ковзуни.
Якщо локомотив або вагон після сходу з рейок перебуває нa відстані від шляху більше 1 м, то його піднімання й поперечне переміщення будуть здійснюватися з перестановкою гідровузла. Це викликано обмеженням переміщення роликового візка по опорній поверхні моста. У додатку 2 (табл. П.2,8-П.2.13) наведені технологічні карти піднімання рухомого складу, що зійшов з рейок одиночного. У них включена технологія підготовки до роботи гідравлічної установки й збирання її після закінчення робіт, а також найбільше часто повторювані варіанти її використання при ліквідації наслідків сходу з рейок рухомого складу.
3.6 Постановка на рейки рухомого складу за допомогою накаточного устаткування
Аналіз статистичних даних про роботу відбудовних поїздів показує, що накаточне устаткування використається в 60% випадків постановки на рейки рухомого складу, що зійшов з них. Розглянемо основні способи використання накаточного устаткування.
Накочування навантаженого вагона, що зійшов з рейок одним візком, розгорнутої під кутом щодо осі шляху (мал. 3.3,а).
Технічні засоби: накаточні (титанові) уніфіковані башмаки (одна пара), тяговий трос діаметром 43 мм із петлями на кінцях, маневровий тепловоз ЧМЭЗ.
Технологія накочування: огляд місця сходу; доставка устаткування, пристосувань, інструмента; установка накаточних башмаків; стропування кінцями тягового троса петлями до букси й автозчеплення вагона, а середньою частиною троса - до автозчеплення локомотива; підтягування вагона до накаточних башмаків з одночасним вирівнюванням візка; зняття троса з букси візка і його стропування за автозчеплення локомотива; накочування вагона; розбирання кріплення, зняття накаточних башмаків і троса; доставка й навантаження їх у вагон.
Накочування навантаженого вагона, що зійшов з рейок обома візками; колісні пари візків у різнонаправлених «ножицях» (мал. 3.3,6).
Технічні засоби ті ж самі. Додаткові засоби - друга пара накаточних башмаків.
Технологія накочування наступна. До установки накаточних башмаків візка повинні бути розгорнуті так, щоб перші колісні пари були притиснуті до рейок. Для цього застосовується подовжений трос із петлями на кінцях. Один кінець троса чіпляють за буксу першої колісної пари першого візка (по ходу накочування), а іншої - за першу буксу другого візка, як показано на рис. 3.3.,б.

Рис. 3.3. Основні способи постановки на рельси рухомого складу за допомогою нокаточного устаткування:
1-локомотив; 2-автозчеп рухомого складу; 3-тяговий трос; 4-накладні накаточні башмаки; 5-«пастка»; 6-рейкова стяжка; 7-«туфелька»; 8-напрямні кутки; 9-крестовинні накаточні башмаки; 10-стикові накаточні башмаки.
Середню частину троса пропускають через голівку автозчеплення локомотива. Після наближення колісних пар до рейок установлюють накаточні башмаки під першими колісними парами обох візків (по ходу накочування).
Після установки накаточних башмаків роблять підтаскування вагона до башмаків. Як тільки перші колісні пари накотяться на накаточні башмаки, по рації подають команду машиністові локомотива про припинення руху (підтаскування припиняється). Трос із букс колісних пар знімають й автозчеплення локомотива з'єднують із автозчепленням вагона прямо або через трос. Після цього триває накочування вагона й постановка його на рейки через обидва накаточних башмака. Даний спосіб прискорює постановку на рейки вагона, тому що операція по розвороті візків і накочуванню здійснюється одночасно з обома візками.
Накочування навантаженого вагона, що зійшов з шляху із залізобетонними шпалами обома візками, колісні пари яких вийшли за кінці шпал (рис. 3.3.,в).
Технічні засоби: локомотив, одна пара накаточних башмаків, трос із петлями на кінцях, а також «пастка».
Розглянемо особливості накочування й установки встаткування. «Пастка» розташовується від першої колісної пари по ходу накочування, причому встановлюють її біля колісної пари тоді, коли колісна пара буде притиснута до кінців залізобетонних шпал.
Накаточні башмаки встановлюють від «пастки» на відстані, рівному 1,5-2 відстаням між центрами колісних пар візків. У цьому випадку тяговий трос одним кінцем петлею чіпляють за автозчеплення вагона, що піднімає, пропускають через автозчеплення локомотива й іншим кінцем чіпляють за буксу колісної пари, що перебуває за кінцями шпал. Після цього роблять накочування вагона.
Накочування припиняється, коли перша колісна пара буде перебувати на накаточному башмаку. Після цього трос знімають із букси, петлею чіпляють за автозчеплення й далі робиться накочування вагона на рейки. При цьому задній візок іде по сліду першої й через «пастку» повинна накотитися на рейки. У випадку якщо другий візок відхилиться від сліду першого візка, необхідно петлю троса зняти з автозчеплення вагона й зачепити за першу буксу другого візка, а потім здійснювати накочування аналогічно першому візку.
Накочування навантаженого вагона, що зійшов, у районі «кореня пера» стрілочного переводу здійснюється за допомогою спеціальних крестовинних накаточних башмаків різних типів.
Накочування вагона, що зійшов обома візками через розширення шляху, причому перший візок зійшов обома колісними парами, а друга — однією стороною провалившись усередину колії (рис. 3.3., г).
Для накочування першого візка тяговий трос одним кінцем петлею кріплять за автозчеплення вагона, пропускають за автозчеплення локомотива й чіпляють за буксу першої колісної пари візка. Установлюють накаточні башмаки, і після цього здійснюється підтаскування вагона. Як тільки колісна пара накотиться на башмак, трос із букси знімають, чіпляють за автозчеплення й роблять подальше накочування на рейки.
Для накочування другого візка встановлюється пристосування, назване «туфелька». Накочування колісних пар другого візка здійснюється саме через «туфельку». До початку накочування рейковий шлях стягається рейковою стяжкою.
Накочування навантаженого вагона, що зійшов обома візками в хрестовині стрілочного переводу (рис. 3.3.,д).
Технічні засоби: одна пара крестовинних накаточних башмаків, тяговий трос діаметром 43 мм із петлями на кінцях, маневровий локомотив, похилі куточки, встановлені в торець контррейки й хрестовини.
Складність накочування полягає в перекиданні колісних пар через контррейку для наступної постановки їх на шлях. Для цього й застосовуються спеціальні крестовинні башмаки, встановлені в районі контррейки.
При підході другого візка, що зійшло, до крестовинних накаточних башмаків щековина візка заклинюється о торець контррейки або хрестовини з наступним розворотом. Для усунення цього в торець контррейки й хрестовини встановлюють напрямні куточки 8. В іншому технологія накочування така ж сама, як і на звичайні накладні накаточні башмаки.
Постановка на рейки навантаженого вагона, що вийшов за призму тупика (рис. 3.3., є).
У випадку виходу навантаженого вагона за призму тупика застосовуються стикові накаточні голови, які встановлюються на кінці рейок. Технологія постановки на рейки нічим не відрізняється від технології накочування рухливого складу, описаної в попередніх способах.
Заслуговує на увагу спосіб постановки на рейки рухомого складу, що зійшов, на кривих ділянках шляху. На кривих ділянках шляху, а також при накочуванні рухливого складу із тривісними ходовими візками необхідно робити накочування через дві пари накаточних башмаків. При цьому відстань між першою й другою парами накаточних башмаків, установлених на рейки, повинне дорівнювати відстані між першими й другими колісними парами ходового візка.
3.7 Розрахунок необхідних тягових зусиль при виконанні робіт тяговими засобами
Тягове зусилля F, необхідне для переміщення рухомого складу на ґрунті, залежить від виникаючих при цьому сил опору:
F=Fтр + Fріз + Fоп ,
де Fтр –сила тертя кузова на ґрунті; Fріз — сила опору різанню ґрунту стінкою або виступаючими частинами вагона або локомотива, Fоп ,- сила опору призми волочіння.
Сила тертя кузова вагона по ґрунті залежить від маси вагона й коефіцієнта тертя металу на грунті: Fтр = Qf, де Q — маса вагона, т; f — коефіцієнт тертя (для піщаного ґрунту й чорнозему — 0,73-0,75, для глинистого ґрунту, щебінки — 0,84-0.85, для мокрого глинистого ґрунту - 0,4).

Рис. 4.1 Графік залежності тягового зусилля F від маси одиниці рухомого складу Q:
Потрібно зробити волочіння критого навантаженого вагона, маса кузова якого 23 т, вантажу -65 т, загальна маса 88 т. Візка вагона масою 8 т у розрахунок не приймаємо, оскільки вони, як правило, при кантуванні від'єднуються від вагона. Тому масу вагона приймаємо 80 т (виключення становлять пасажирські вагони, де візок не від'єднуються). Сила тертя вагона при волочінні по чорнозему
Fтр =80*0,75=60 тс.
З наведеного прикладу видно, що тягове зусилля в цьому випадку повинне бути не менше 60 тс. Відповідно підбирають трос, яким будуть причіпляти цей вагон.
Сила тертя вагона на ґрунті залежить і від кута ухилу шляху переміщення α:
Fтр =Qf/(cosα±sinα)
Знак ( + ) відповідає за переміщення вагона нагору, знак (-)-униз під ухил.
Сила опору різанню ґрунта залежить від щільності ґрунту й від ширини й товщини зрізу:
Fріз = Kbh,
де b — ширина різання, м; h — глибина різання, м;К— коефіцієнт, що враховує вид ґрунту (для піщаного ґрунту — 7,0, суглинку й супесі— 11,0, глинистого— 17,0).
4. ОХОРОНА ПРАЦІ ПРИ ВЕДЕННІ РОБІТ ДЛЯ КРАНІВНИКІВ (МАШИНІСТІВ) СТРІЛОВИХ САМОХІДНИХ ЗАЛІЗНИЧНИХ КРАНІВ
Перед початком роботи кранівник повинен перевірити наявність посвідчення на право проведення робіт у стропальника, якщо стропальник уперше стає до роботи з ним. Якщо для стропування вантажів призначені працівники, які не мають посвідчення стропальника, то кранівник не повинен ставати до роботи.
Під час роботи механізмів кранівник та його помічник не повинні відволікатися від своїх прямих обов'язків, а також здійснювати чистку, змащування і ремонт механізмів.
При обслуговуванні крана кранівником та його помічником, а також при наявності на крані стажиста, жоден з них не має права відходити від крана навіть на короткий час, не попередивши про це один одного. При короткочасній відсутності помічника кранівника парового крана, кранівник повністю бере на себе обслуговування парового котла. Забороняється залишати працюючим паровий котел без догляду навіть на короткий час. У разі потреби відлучитися, кранівник зобов'язаний зупинити двигун, який приводить до руху механізми крана, замкнути на замок регулятор пари парових кранів.
У разі відлучення кранівника, його помічнику, стажисту або іншим особам керувати краном не дозволяється.
Входити на кран і сходити з нього під час його роботи не дозволяється.
Перед тим як здійснити будь-який рух краном, кранівник зобов'язаний пересвідчитися, що його помічник і стажист перебувають у безпечних місцях, а в зоні роботи крана немає сторонніх людей.
При раптовому припиненні постачання струму до електричного крана, кранівник повинен поставити штурвали або рукоятки контролерів у нульове положення і вимкнути рубильник у кабіні.
При включенні механізмів кранівник повинен подати попереджувальний сигнал. Ця вимога повинна виконуватись також, якщо у роботі механізмів крана була перерва.
Пересування крана під ЛЕП повинно здійснюватись при опущеній стрілі (у транспортному положенні). Знаходження стріли у будь-якому робочому стані у цьому випадку забороняється.
При переміщенні крана з вантажем, положення стріли і вантажопідіймальність крана повинні встановлюватися відповідно до вказівок, що містяться в інструкції з монтажу та експлуатації крана. У разі відсутності вказівок, а також при переміщенні крана без вантажу, стріла повинна бути встановлена вздовж колії. Здійснювати одночасно переміщення крана і поворот стріли не дозволяється. Винятки дозволяються для залізничних грейферних кранів, що працюють на прямолінійній ділянці колії.
Кранівник зобов'язаний встановлювати кран на додаткові (виносні) опори, якщо це вимагається за характеристикою крана, при цьому він повинен стежити, щоб опори були справні і під них підкладені міцні та стійкі підкладки або вимощені клітки зі шпал; залізничні крани при цьому повинні бути укріплені всіма наявними рейковими захватами.
Кран необхідно встановлювати на всі додаткові опори, передбачені для даної характеристики крана. Підкладати під додаткові опори нестійкі підкладки, які можуть руйнуватися або з яких може зісковзнути опора при підійманні вантажу чи повороті крана, не дозволяється.
Забороняється перебування кранівника в кабіні крана при встановленні його на додаткові опори і при переведенні їх у транспортне положення. Ця вимога не поширюється на крани, в яких виконання зазначених операцій здійснюється тільки з кабіни крана автоматично.
Підкладки під додаткові опори автомобільного або пневмоколісного крана повинні бути інвентарною приналежністю крана і постійно знаходитись на крані. Якщо заводом-виготовлювачем передбачено зберігання стропів і підкладок під додаткові опори на неповоротній частині крана, то знімання їх перед роботою й укладання на місце повинен здійснювати особисто кранівник, працюючий на даному крані.
Установлення кранів для виконання будівельно-монтажних робіт повинно проводитись згідно з проектом виконання робіт, з вимогами якого мають бути під розписку ознайомлені кранівники, котрі керують кранами під час виконання робіт.
Кранівник повинен установлювати стріловий самохідний кран на спланованому і підготовленому майданчику з урахуванням категорії і характеру грунту. Установлювати крани для роботи на свіжонасипаному, неутрамбованому грунті, а також на майданчику з нахилом, що перевищує вказаний в їх паспорті, не дозволяється.
При встановленні залізничного крана для робіт на криволінійній ділянці колії (на кривій) без пересування, кранівник зобов'язаний укріпити його всіма наявними рейковими захватами, а при встановленні його на ухилі, крім того, зобов'язаний підкласти під колеса гальмові башмаки і закріпити кран ручним гальмом.
Робота на несправних залізничних коліях і місцях, де не забезпечується надійна стійкість крана, не дозволяється. Про помічену несправність залізничної колії машиніст зобов'язаний сповістити працівника, відповідального за безпечне проведення робіт вантажопідіймальними кранами.
Спільна робота по переміщенню і підійманню вантажу двома або кількома кранами допускається в окремих випадках і повинна здійснюватися згідно з проектом або технологічною картою, розробленими спеціалізованою організацією. В них повинні бути наведені схеми стропування і переміщення вантажу із зазначенням послідовності виконання операцій, положення вантажних канатів, а також міститися вимоги до підготовки і стану колії та інші вказівки щодо безпечного підіймання і переміщення вантажів. Робота повинна здійснюватися під безпосереднім керівництвом працівника, відповідального за безпечне проведення робіт вантажопідіймальними кранами, чи спеціально призначеного інженерно-технічного працівника, при цьому навантаження, що припадає на кожний кран, не повинно перевищувати його вантажопідіймальність.
ВИСНОВКИ
В роботі охарактеризована структура аварійно-відбудовної служби й основні принципи організації відбудовних робіт, а саме: аварійно-відбудовні підрозділи та основні принципи організації відбудовних робіт.
Розглянуті відбудівні засоби, які використовуються на залізницях, такі як вантажопідйомні крани, тягачі, бульдозери, накат очне устаткування.
Розглянута технологія відбудівних робот та охорона праці при веденні робіт залізничними кранами.
ЛІТЕРАТУРА
1. Болотный В.Я. Совершенствование схем и технологии работы железнодорожных станций: Учебное пособие для вузов. – М.: Транспорт, 1986. – 280 с.
2. Боровикова М.С. Организация движения на железнодорожном транспорте:
3. Учебник для техникумов и колледжей ж.-д. транспорта. – М.: Маршрут, 2003. – 368 с.
4. Братковский И.М., Болотин З.М. Ревизия и контроль пассажирских поездов. — М.: Транспорт, 1999.
5. Кочнев Ф.П. Пассажирские перевозки на железнодорожном транспорте: Учебник для вузов ж.-д. транспорта.- 6-е изд., перераб. и доп.- М.: Транспорт, 1980.-496 с.
6. Организация железнодорожных пассажирских перевозок: Учеб. пособие для студ. учреждений сред. проф. образования / А.А. Авдовский, А.С. Бадаев, К.А. Белов и др.; Под ред. В.А. Кудрявцева. – М.: Издательский центр «Академия», 2004. – 256 с.
7. Правдин Н. В. и др. Технология работы вокзалов и пассажирских станций. — М.: Транспорт, 1990.
8. Совершенствование пассажирских перевозок на железнодорожном транспорте/ А.А.Колесов, Б.А. Таулин, И.Н. Шапкин, В.Г. Шубко – М.: Транспорт, 1991. – 143 с.
9. Шибер Р.А., Круглый Г.Т. Устройство и ремонт вагонов. - М. : Транспорт, 1975.
10. Экономика железнодорожного транспорта; Под редакцией Ф.П. Мулюкина. М.: Транспорт, 1975.
11. Карягина Н.С. Охрана труда в вагонном хозяйстве. - М.: Транспорт, 1978.
Похожие рефераты:
Увеличение грузооборота порта путем внедрения новой конструкции спредера крана
Проектування монолітного п’ятнадцятиповерхового будинку
Вибір вуглезавантажувальних вагонів при проектуванні коксохімічних заводів
Детский ясли-сад на 140 мест с бассейном
Модернізація колії з укладанням рейкових плітей довжиною з блок-дільницю
Проектування вагона-хопера для перевезення зерна
Разработка 4-этажного оздоровительного комплекса "Звезда" в п. Новомихайловке
Организация перевозок скоропортящихся грузов на направлении Унгены-Москва
Розрахунок магістрального конвеєрного штреку
Организация работы железной дороги
Електроустаткування баштового крану