| Похожие рефераты | Скачать .docx |
Курсовая работа: Зчеплення автомобіля Волга ГАЗ-3110
Тема: Зчеплення автомобіля “ВОЛГА ГАЗ – 3110”
Передмова
У даній курсовій роботірозглянута будова, призначення та принцип дії зчеплення автомобіля “Волга” ГАЗ - 3110 з вказівкою основних несправностейта методів їх усуненнята рекомендації по технічному оглядузчеплення даного автомобіля.
Курсова робота містить розрахунки і правила по техніці безпеки при ремонті.
Курсова робота призначена для виконання навчального плану, а також при вивчені предметів: “Правила дорожнього руху”, “Будова і експлуатація автомобілів”, “Основи керування автомобілів”.
Історія відкритого акціонерного товариства "ГАЗ" (раніше "Горьковський автомобільний завод") бере свій початок у 1929 р.
1 січня 1932 р. автозавод вступив у лад діючих, а вже 29 січня 1932 р. з конвеєра зійшов перший автомобіль-вантажівка ГАЗ-АА.
З грудня 1932 р. на автозаводі почалася зборка легкового автомобіля середнього класу ГАЗ-А.
Перші автомобілі моделей ГАЗ-А і ГАЗ-АА виготовлялися по кресленнях американської фірми "ФорД". У 1933 р. з'явився автобус службового призначення ГАЗ-03-30. Наприкінці 1934 р. на конвеєр стала тривісна вантажівка ГАЗ-ААА. Пізніше з'явився самоскид ГАЗ-410. А в 1937 р. почався випуск санітарного автобуса ГАЗ-55. На базі автомобіля ГАЗ-А був створений пікап ГАЗ-4 із суцільнометалевою кабіною і металевою платформою на 500 кг вантажу. Пікапи ГАЗ-4 стали сходити з конвеєра в 1933 р.
Новою віхою в історії заводу стало створення й освоєння легкового автомобіля М-Г
У перші післявоєнні роки в ряді новинок стояла вантажівка ГАЗ-51, їхній масовий випуск почався в січні 1946 р., бездоганно надійний, раціональний, економічний. Він протримався на конвеєрі 29 років і, незважаючи на свій поважний вік, дотепер зустрічається на дорогах. Другим був освоєний автомобіль ГАЗ М-20, знаменита "Перемога". Перша партія була зібрана в червні 1946 р.
Всюдихід ГАЗ-69 у 1953 році перемінив свого попередника ГАЗ-67. "Волга" ГАЗ-21, що встала на конвеєр наприкінці 1956 року, особливим, класичним для нас автомобілем.
У 1959 році прийшов час і для нового флагмана підприємства, їм стала "Чайка" ГАЗ-13. Дизайн машини навіяний зразками американських виробників, тодішніх законодавців автомобільної моди.
60-І роки - період відновлення гами вантажних автомобілів. Моделі ГАЗ-52, ГАЗ-5 З А, ГАЗ-66 і їхні модифікації утворили сімейство третього покоління вантажних автомобілів ГАЗ.
У ці ж роки велася розробка автомобіля "Волга" ГАЗ-24, що був запущений у масове виробництво в 1970 році.
"Двадцять четверта" відрізнялася строгістю форм, простотою, величчю і завжди була втіленням якості, достоїнства і престижу. Висока міцність кузова і ходової частини ГАЗ-24 зробила цей автомобіль незамінним для роботи в якості "таксі". З 98-сильним двигуном ГАЗ-24 розвивав швидкість до 140 км/година, розганявся з місця до 100 км/година за 23 секунди (проти 34 секунд у ГАЗ-21).
У 1984 році був зібраний перший вантажний автомобіль ГАЗ-4301 з дизельним двигуном повітряного охолодження.
Для приватних власників з 1985 року ГАЗ випускав модернізований варіант "двадцять четвертої", автомобіль з індексом ГАЗ-24-10.
Паралельно з випуском моделі ГАЗ-24 почалося серійне виробництво "Волги" ГАЗ-3102.
Цікаво, що на перших партіях автомобілів ГАЗ-3102 установлювався двигун з форкамерно-факельним запалюванням. Через свою винятковість кілька років "тридцять перша" використовувалася тільки державними і партійними структурами як службовий автомобіль.
В другій половині 80-х за урядовим завданням почалася розробка нового представницького легкового автомобіля ГАЗ-3105, що згодом став дрібносерійним.
У цій роботі описується автомобіль «Волга» ГАЗ-3 і 10.
Легковий автомобіль "Волга" ГАЗ-3110 призначений для експлуатації по дорогах із твердим покриттям. Цей автомобіль випускається з травня 1997 р. Для задоволення різних вимог споживачів випускається кілька основних модифікацій базового автомобіля ГАЗ-3110.
Автомобіль "Волга" ГАЗ-310221 з кузовом "універсал", призначений для перевезення дрібних вантажів і людей. Кузов автомобіля має три ряди сидінь. При складанні сидінь 2 і 3-го рядів утворюється рівна площадка для вантажу. Для поліпшення доступу до вантажу в задній частині кузова маються п'яті двері. У зв'язку зі збільшеним навантаженням автомобіль має посилені задні ресори.
Автомобіль медичної служби "Волга" ГАЗ-310231 призначений для перевезення хворих і виїзду лікаря з метою надання термінової медичної допомоги. Приміщення для перевезення хворих відділено від кабіни водія перегородкою і має незалежний нагрівник. Автомобіль обладнаний фарою-шукачем і сигнальним ліхтарем з емблемою Червоного Хреста,
Крім основних модифікацій, ВАТ "ГАЗ" випускає велике число комплектацій автомобіля "Волга", що відрізняються установкою двигунів (ЗМЗ-402, ЗМЗ-4021, ЗМЗ-4062), системи кондиціонування повітря, варіантами обробки (стандартна чи поліпшена), наявністю устаткування для роботи в якості таксі.
Волга" ГАЗ-3110 - це практичний і безпечний автомобіль на усі випадки життя. Являючись солідною діловою машиною в робочий час, ГАЗ-3110 у вільний час без труднощів перетворюється у відмінний сімейний автомобіль - великий, зручний, місткий і невибагливий. Приємне відчуття просторого салону, м'яка підвіска, дуже зручні передні сидіння сучасної конструкції сприяють підтримці тонусу і гарного настрою водія і пасажирів навіть у далекій дорозі. Додайте сюди об'ємний і зручний для завантаження багажник "десятки", її найвищу серед автомобілів СНД ступінь активної і пасивної безпеки, і ви одержите дійсний сімейний автомобіль, здатний задовольнити цілому ряду ваших вимог.
Ходові якості і маневреність автомобіля поліпшені за рахунок застосування гідропідсилювача руля. А дискові гальма передніх коліс дозволяють зменшити гальмовий шлях і забезпечують високу ефективність гальмування в умовах підвищеного термонавантаження.
ЗМІСТ
Передмова
1. Будова та принцип дії щеплення
1.1 Технічне обслуговування щеплення
2. Ремонт та методи відновлення деталей щеплення
3. Питання менеджменту та маркетингу
4. Охорона праці
5. Розрахунковий силовий баланс
6. Загальна будова щеплення
6.1 Повна характеристика автомобіля
Висновок
Список використаної літератури
1. Будова та принцип дії щеплення
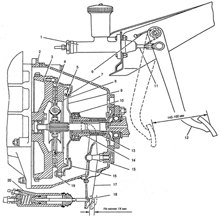
Сцепление (рис. 1.1) автомобиля ГАЗ-3110 сухое, однодисковое, постоянно замкнутое, состоит из двух основных частей: ведущего диска в сборе (кожух, нажимной диск, нажимная диафрагменная пружина, соединительные пластины, опорные кольца) и ведомого диска в сборе с фрикционными накладками.

Рисунок 2.1Сцепление и привод выключения сцепления
1- главный цилиндр выключения сцепления; 2 - картер сцепления;3 -маховик; 4 - ведомый диск сцепления; 5,7 - опорные кольца; 6 - оттяжная пружина педали; 8 - нажимной диск; 9 - пружина нажимная диафрагменная; 10 - подшипник выключения сцепления; 11 - толкатель главного цилиндра; 12 - педаль; 13 - поролоновые кольца; 14 - муфта выключения сцепления; 15 - шаровая опора; 16 - кожух; 7 - вилка выключения сцепления; 18 - толкатель рабочего цилиндра; 19 - пластины соединительные; 20 - рабочий цилиндр.
Управление сцеплением осуществляется посредством привода выключения сцепления (подвесная педаль, главный и рабочий цилиндры гидропривода) и механизма выключения (вилка выключения сцепления и муфта выключения с подшипником в сборе).
Располагается сцепление и механизм его выключения в колоколообразном алюминиевом картере, крепящемся к фланцу блока двигателя 10-ю болтами. Нижняя часть торца картера сцепления закрыта фланцем усилителя, крепящегося одновременно к блоку двигателя и торцу картера сцепления для обеспечения повышенной жесткости системы блок двигателя - картер сцепления. Центрирование картера сцепления относительно оси коленвала двигателя осуществляется с помощью 2-х штифтов, запрессованных во фланец блока двигателя и входящих в отверстия на картере сцепления.
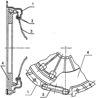
Ведущий диск (рис. 1.2, 1.3). Кожух сцепления 16 закреплен на маховике коленчатого вала двигателя шестью центрирующими (специальными) болтами. Усилие нажимной диафрагменной пружины 9 создает необходимую силу трения на поверхностях фрикционных накладок и обеспечивает передачу крутящего момента от маховика через нажимной диск 8, кожух и соединительные пластины 5 смотри(рис. 2.2) на ведомый диск сцепления и первичный вал коробки передач.

Рисунок 1.2Ведущий диск сцепления в сборе
1-кожух; 2- опорное кольцо; 3- поджимная диафрагменная пружина;4- нажимной диск; 5- соединительные пластины.
Нажимная диафрагменная пружина 3 (рис. 245) представляет собой тарельчатый усеченный конус, имеющий за счет прорезей в центральной и внутренней части двенадцать лепестков, выполняющих роль рычажков выключения сцепления.

Рисунок 1.3 Детали ведущего диска
1 - кожух; 2 - опорное кольцо; 3 - поджимная диафрагменная пружина;4 - нажимной диск; 5 - соединительные пластины.
Наружная неразрезанная часть внутренним диаметром зажимается между двумя опорными кольцами 2 за счет загибки 12 усиков, выполненных на кожухе. При их загибке нажимная пружина на специальном приспособлении должна быть зафиксирована в плоском состоянии. Опорные кольца выполняют роль шарнира, относительно которого происходит поворот неразрезанной верхней части диафрагменной пружины при нажатии на концы лепестков. Наружным диаметром диафрагменная нажимная пружина опирается на кольцевой выступ нажимного диска и отжимает нажимной диск в сторону маховика. Соединительные пластины (3 группы по 3 пластины в группе) одним концом приклепаны к выступам нажимного диска, а другим - к кожуху сцепления. С их помощью происходит передача крутящего
1.1 Технічне обслуговування зчеплення
У процесі експлуатації зчеплення не вимагає яких-небудь регулювань. Регулювання положення важелів вимикання в одній площині виконують тільки на заводі чи при ремонті зчеплення.
У процесі експлуатації необхідно вчасно заміняти зношені фрикційні накладки диска зчеплення, у зв'язку з чим через 80-100 тис. км пробігу автомобіля в нормальних умовах і через 40-50 тис. км пробігу автомобіля в тяжких умовах(наприклад, автомобіль таксі) необхідно перевірити відстань між маховиком і натискним диском при включеному зчепленні. Якщо ця відстань менш 6 мм, то необхідно зняти диск для огляду і заміни фрикційних накладок.
Довговічність і надійність роботи зчеплення у великій мері залежить від правильного і вмілого користування їм. Для цього необхідно:
- виключати зчеплення потрібно швидко, до упору педалі в підлогу;
- включати зчеплення потрібно плавно, не допускаючи як кидка зчеплення, що супроводжується смиканням автомобіля, так і уповільненого включення з тривалою пробуксовкою;
- не тримати зчеплення виключеним при включеній передачі і працюючому двигуні на автомобілі, що стоїть, (на переїзді, у світлофора і т.д.). Обов'язково використовувати в таких випадках "нейтраль" у коробці передач і цілком включене зчеплення;
- не тримати ногу на педалі зчеплення при русі автомобіля;
- не використовувати пробуксовку зчеплення, як спосіб утримання автомобіля на підйомі;
- рушати з місця на 1-ій передачі.
Догляд за зчепленням полягає в періодичній перевірці і доливці при необхідності робочої рідини в бачок головного циліндру, а також у заміні накладок ведомого диска при їхньому зносі й у заміні робочої рідини в гідроприводі. Як робоча рідина використовується гальмова рідина "Роса", "Томь" чи "Нева". Зміна рідини виконується один раз у два роки. Обсяг - 0,18 л.
Після прокачування необхідно перевірити переміщення зовнішнього кінця вилки при натисканні на педаль до відмовлення, що повинне бути не менш 14 мм. Менша величина переміщення кінця вилки не забезпечує повного вимикання зчеплення і вказує:
на наявність повітря в гідравлічній системі;
на можливе перекриття компенсаційного отвору головного циліндра крайкою манжети;
на закупорку компенсаційного отвору через засмічення.
У цих випадках необхідно прокачати систему, замінити манжету чи промити головний циліндр.
Про ступені зношеності фрикційних накладок можна судити (при знятому картері зчеплення) по відстані між маховиком і натискним диском при включеному зчепленні. Якщо ця відстань складає менш 6 мм, то доцільно зняти відомий диск для огляду і заміни фрикційних накладок. Рекомендується при цьому по можливості замінити ведомий диск у зборі з накладками.
Для проведення вимірів необхідно установити автомобіль на яму і зняти нижню штамповану частину картера зчеплення.
Перевірка стану деталей зчеплення
Після розбирання деталі зчеплення необхідно ретельно промити і піддати уважному огляду, звернувши увагу на надійність заклепувальних з'єднань, відсутність погнутості, зношеності, тріщин, забоїн і обломів на ведучому і дисках, пружинних пластинах, кільцях, натискній пружині, маточині, кожусі, вилці вимикання зчеплення і на інших деталях механізму.
Фрикційні накладки диска, а також фрикційну шайбу гасителя крутильних коливань необхідно замінити, якщо на їхніх поверхнях маються сліди перегріву, тріщини чи сильне замаслення, а також якщо відстань від поверхні накладок зчеплення до голівок заклепок менш 0,2 мм.
При відсутності на ведучому диску видимих ушкоджень, задирів, кільцевих канавок на поверхні натискного диска, ізносу кінців пелюстків пружини і т.п. необхідно перевірити розташування кінців пелюстків пружини і натискне зусилля. Для цього закріпити ведучий диск на робочу поверхню маховика, помістивши між ними 3 рівномірно розташовані шайби товщиною 8 мм. Розмір від торця до кінців повинний бути 42,5±2 мм, відхилення від положення в одній площині ±0,25 мм, при необхідності підігнути пелюстки, рисунок 2.7.

Рисунок 2.7 - Регулювання кінців пелюстків і перевірка натискного зусилля
1 - маховик; 2 - натискний диск; 3 - шайба
При переміщенні кінців пелюстків на 8,5 мм відхід натискного диска повинний бути не менш 1,3 мм.
Перемістити кінці пелюстків на 10 мм і забрати шайби. Замірити зусилля на кінцях пелюстків, відпускаючи їх до одержання відстані між площиною маховика і натискного диска 6 і 8 мм. В обох випадках зусилля повинне бути не менш 200 кг/с.
Перевірка стану деталей гідравлічного приводу вимикання зчеплення.
Деталі гідравлічного приводу необхідно ретельно промити в гальмовій чи рідині в спирті, продути стисненим повітрям і оглянути.
Усі гумові манжети, що ущільнюють, повинні бути м'якими й еластичними. Затверділі і набряклі манжети, що мають на робочих поверхнях видири і тріщини непридатні до подальшої експлуатації, їх необхідно замінити
На дзеркалах робочого і головного циліндрів не повинно бути рисок, раковин, задирів і значних зносів. Невеликі сліди корозії і незначне вироблення дзеркала циліндра допускається усувати шліфуванням чи хонінгуванням із шорсткістю не нижче Ra= 0,63 і розмірами внутрішнього діаметра не більш 25,15 мм для робочого циліндра і не більш 22,2 мм для головного циліндра з обов'язковим застосуванням нових манжет, що ущільнюють.
На приєднувальних конусах і на різьбленні штуцерів не повинно бути механічних ушкоджень (тріщин, ум'ятин, забоїн).
Кінці штовхальників і сферичні поверхні поршнів не повинні мати нерівномірного вироблення. При правильному сполученні штовхальника з поршнем слід від їхнього контакту на сферичній поверхні поршня повинний бути у виді суцільної плями і знаходитися в центрі зазначеної поверхні.
2. РЕМОНТ ТА МЕТОДИ ВІДНОВЛЕННЯ ДЕТАЛЕЙ ЗЧЕПЛЕННЯ
Таблиця 2.1 Характерні несправності зчеплення та способи їх усунення.
| НЕСПРАВНІСТЬ | ПРИЧИНА НЕСПРАВНОСТІ | МЕТОД УСУНЕННЯ | |
| І | ІІ | ІІІ | |
| Неповне вимикання зчеплення – зчеплення "веде” чи не включаються, або включаються з зусиллям передачі | При цьому необхідно враховувати, що передача заднього ходу 5-ти східчастої коробки постачена синхронізатором, що робить широко розповсюджену оцінку "ведення" зчеплення по тріску при включенні передачі заднього ходу на 4-х східчастій коробці передач неможливої. Якщо зчеплення не "веде", то при роботі двигуна на холостих обертах, включеній прямій передачі в коробці передач і виключеному зчепленні вторинний вал коробки передач не повинний обертатися. Для проведення перевірки необхідно зняти карданну передачу і вставити в задній картер коробки передач окрему ковзну вилку карданної передачі для запобігання течі олії. | ||
Наявність повітря в системі гідравлічного приводу. Заїдання маточини ведомого диска на шліцах ведучого вала. Короблення ведомого диска. Неодночасне натискання підшипника вимикання зчеплення на кінці пелюстків діафрагменної пружини |
Прокачати систему гідравлічного приводу зчеплення, переконатися, що переміщення кінця вилки не менш 14 мм. Усунути заїдання на шліцах (зачистити шліци) Замінити ведомий диск чи виправити його. Відрегулювати положення кінців пелюстків діафрагменної пружини в одній площині | ||
| Неповне включення зчеплення - зчеплення буксує (відчувається специфічний запах, спостерігається уповільнений розгін, падіння швидкості руху, уповільнений подолання підйомів | Ослаблення зусилля натискної діафрагменної пружини. Замаслення фрикційних накладок ведомого диска. Надмірний знос фрикційних накладок (до заклепок), робочих поверхонь маховика і натискного диска Засмічено чи перекрито крайкою манжети компенсаційний отвір головного циліндра через набрякання манжети |
Замінити ведучий диск у зборі. Замінити ведомий диск чи фрикційні накладки. У випадку невеликого замаслювання промити поверхні накладок гасом і зачистити дрібною шкуркою. Замінити фрикційні накладки чи відомий диск Замінити маховик натискний диск, або усунути на них задири і кільцеві риски механічною обробкою з урахуванням рекомендацій. Промити робочою рідиною циліндр чи замінити манжету | |
| І | ІІ | ІІІ | |
| Неплавне включення зчеплення | Замаслення фрикційних накладок ведомого диску. Знос фрикційних накладок (до заклепок). Заїдання маточини відомого диска на шліцах первинного вала. Неодночасне натискання підшипника вимикання зчеплення на пелюстки натискної пружини. Втрата пружності пластинчастих пружин ведомого диска |
Замінити фрикційні накладки. Замінити ведомий диск чи фрикційні накладки. Усунути заїдання на шліцах. Відрегулювати взаємне розташування кінців пелюстків. Замінити ведомий диск | |
| Вібрація і шуми в трансмісії при русі | Поломка чи знос деталей демпферного пристрою ведомого диска. Знос фрикційної шайби чи ослаблення натискної пружини фрикційного гасителя | Замінити ведомий диск у зборі. Замінити фрикційну шайбу чи пружину гасителя | |
| Писк" і шум у зчепленні при працюючому двигуні | Вихід з ладу підшипника вимикання зчеплення | Замінити підшипник. Перевірити і відновити співвісність картера зчеплення і колінчатого валу | |
| Скрип при натисканні на педаль зчеплення при непрацюючому двигуні | Відсутнє змащення чи зносилися пластмасові втулки осі педалі зчеплення | Змазати пластмасові втулки колоїдно-графітним препаратом (ОСТ 08-420-74) чи замінити зношені новими | |
| Вимикання зчеплення відбувається тільки при різкому натисканні на педаль. При плавному натисканні - педаль легко доходить до упора, зчеплення не виключається | Забруднення чи великий знос дзеркала головного циліндра. Великий знос манжети поршня головного циліндра | Промити, а при зносі замінити головний циліндр Замінити манжету | |
| І | ІІ | ІІІ | |
| Зниження рівня рідини в наповнювальному бачку головного циліндра вимикання зчеплення | Знос чи затвердіння манжети поршня робочого циліндра, підтікання рідини. Порушення герметичності з'єднання трубопроводу з головним і робочим циліндрами – підтікання рідини | Замінити манжету. Підтягти сполучні гайки | |
Для проведення ремонтних робіт, зчеплення можна зняти з автомобіля, не знімаючи двигун. Для цей автомобіль варто установити на естакаду, підйомник чи оглядову яму.
Для зняття зчеплення необхідно:
- від’єднати систему випуску газів від впускної труби, коробки передач і кузова і зняти з автомобіля;
- зсередини кузова за допомогою викрутки зняти вставку консолі передню, підняти ущільнювач важеля коробки передач, відвернути ковпак, розташований на горловині механізму переключення передач і витягти важіль нагору;
- відвернути болти кріплення робочого циліндра до картера і підняти нагору робочий циліндр зі штовхальником, не від'єднуючи його від трубопроводу;
- відвернути болт кріплення рамки чохла качани вимикання зчеплення і вийняти вилку;
- зняти карданну передачу;
- заглушити отвір у задньому картері коробки передач, якщо олія з коробки передач не зливалася;
- від’єднати від коробки передач проводу вмикача світла заднього ходу і датчика швидкості;
- від’єднати поперечку задньої опори двигуна від кронштейнів лонжерона;
- відвернути гайки шпильок кріплень коробки передач до картера зчеплення і зняти коробці передач разом з муфтою вимикання зчеплення;
- відвернути болти кріплення і зняти картер зчеплення;
- закріпити одним болтом стартер на фланці блоку двигуна щоб уникнути його випадання;
- поступово відвернути болти кріплення кожуха зчеплення до маховика і зняти ведучий і відомий диски.
Для зняття гідравлічного приводу з автомобіля необхідно:
- від’єднати від робочого циліндра вимикання зчеплення трубопровід;
- злити рідина з гідравлічної системи через кінець трубопроводу в чисту судину;
- від’єднати і зняти робочий циліндр вимикання зчеплення і штовхальник робочого циліндра;
- зняти відтяжну пружину педалі вимикання зчеплення;
- від’єднати штовхальник головного циліндра від педалі, вийняти дві пластмасові втулки з вушка штовхальника;
- розшплінтувати і відвернути гайку осі педалей зчеплення і гальма;
- зняти з осі педаль зчеплення, вийняти дві пластмасові втулки з голівки педалі;
- від’єднати від головного циліндра вимикання зчеплення трубопровід і зняти трубопровід;
- від’єднати і зняти головний циліндр вимикання зчеплення.
Ведучий диск зчеплення в процесі експлуатації не ремонтується (ремонт виконуватись тільки на заводі-виготовлювачі), а при його непридатності заміняється новим.
При розбиранні ведомого диска зчеплення необхідно:
віджати вусики натискної пружини демпфера так виходу з пазів відбортовки фрикційної шайби демпфера і повернути натискну пружину на 45";
- зняти пружину, тепло ізолюючу і фрикційну шайби. При необхідності заміни фрикційних накладок варто висвердлити заклепки, не ушкоджуючи пружинні пластини, а потім вибити їх.
При розбиранні головного циліндра необхідно:
- зняти кришку і сітчастий фільтр наповнювального бачка головного циліндра;
- вивернути штуцер кріплення бачка до корпуса, зняти бачок і прокладку штуцера;
- зняти з корпуса і зрушити до вушка штовхальника гумовий захисний чохол;
- вийняти з корпуса головного циліндра стопорне кільце завзятої шайби;
- вийняти з корпуса головного циліндра завзяту шайбу і штовхальник;
- вийняти з корпуса головного циліндра поршень з ущільнювальними манжетами, клапан поршня, поворотну пружину з тримачем, зворотний клапан із упорним кільцем.
Щоб уникнути ушкодження ущільнювальних манжет для видалення поршня необхідно підвести стиснене повітря в отвір приєднання трубопроводу.
Штуцер головного циліндра з прокладкою при розбиранні відвертати не слід, якщо на автомобілі не спостерігалося підтікання через нього робочої рідини.
При розбиранні робочого циліндра необхідно:
- від’єднати від робочого циліндра гумовий захисний чохол і вийняти штовхальник разом з чохлом;
- зняти чохол зі штовхальника;
- вийняти з корпуса робочого циліндра стопорне кільце;
- вийняти поршень з ущільнювальною манжетою з робочого циліндра.
Щоб уникнути ушкодження поршня і манжети при розбиранні циліндра необхідно підвести стиснене повітря в отвір приєднання трубопроводу до циліндра.
- зняти з поршня ущільнювальну манжету;
- вийняти з циліндра пружину;
- вивернути з робочого циліндра клапан прокачування;
- зняти з клапана гумовий захисний ковпачок.
При зборці відомого диска зчеплення необхідно:
- при приклепуванні пластинчастих пружин до диска, а також фрикційних накладок до пластинчастих пружин попередньо необхідно уставити всі заклепки в отвори деталей, що склепуються;
- приклепати фрикційні накладки до пластинчастих пружин алюмінієвими заклепками. Після розвальцьовування на голівках заклепок не повинно бути надривів і тріщин. Відстань від голівки заклепки до поверхні накладки повинна бути не менше 1 мм;
- зібрати фрикційний гаситель, для чого:
- установити фрикційну шайбу демпфера і тепло ізолюючу шайбу;
- установити натискну пружину таким чином, щоб два її вусики розташовувалися на краях довгих відбортовок фрикційної шайби;
- зжати натискну пружину і повернути її на 45°, щоб два її вусики розташувалися в пазах відбортовки фрикційної шайби.
Зусилля пружини гасителя при стиску до розміру 1,5 мм повинне бути 650-800 Н (65-80 кг/с).
Ведомий диск із новими накладками необхідно перевірити на биття площини тертя, рисунок 2.7.
Биття накладок диска, заміряне в краю диска, повинне бути не більш 0,7 мм. При більшій величині биття, диск необхідно правити за допомогою спеціального оправлення. Потім диск необхідно піддати статичному балансуванню, застосовуючи спеціальні балансировочні грузики, що вставляють в отвори пластини відомого диска і розклепують. Кількість грузиків повинна бути не більш трьох. Голівки грузиків повинні бути розташовані з боку фрикційного гасителя. Припустимий дисбаланс відомого диска повинний бути не більш 10 г/см

Рисунок 2.7 – Перевірка биття та правка ведомого диска
Зборка гідравлічного приводу вимикання зчеплення виконується у порядку, зворотному розбиранні. Перед зборкою дзеркало циліндра повинне бути змазане касторовою олією чи свіжою гальмовою рідиною.
При зборці головного циліндра необхідно перевірити, що поворотна пружина легко повертає поршень у вихідне положення. Далі варто перевірити за допомогою м'якого дроту діаметром 0,3-0,5 мм чи не перекриває манжета компенсаційний отвір. Використання головного циліндра з перекритим компенсаційним отвором неприпустимо. При зборці циліндра потрібно переконатися, що пружина легко переміщає поршень у циліндрі. Пінополіуретанове кільце просочити касторовою олією.
Установка діафрагменного зчеплення на автомобіль
Установка зчеплення на автомобіль виконується у порядку, зворотної зняттю:
- перед установкою закласти змащення Літол-24 в отвір кулькопідшипника первинного вала коробки передач, встановленого в маховик і протерти поверхню тертя маховика і натискного диска шматком чистої тканини, змоченої в бензині; - при установці зчеплення на місце відомий диск повинний бути звернений фрикційним гасителем до маховика (на диску мається напис УПЕРЕД), а мітки на кожусі зчеплення і на маховику повинні бути сполучені щоб уникнути порушення балансування;
- при установці необхідно зцентрувати ведомий диск стосовно осі колінчатого вала. Для цього в шліцьовий отвір відомого диска вставити спеціальне оправлення рисунок 2.8, таким чином, щоб її кінець ввійшов у кулькоподшипник маховика й отвір картера зчеплення.

Рисунок 2.8 – Оправка для установки ведомого диска
Для цієї мети можна також використовувати запасний первинний вал;
- затягувати болти кріплення кожуха до маховика потрібно рівномірно (щоб уникнути короблення кожуха) моментом 2,0-2,5 Н*м (0,20-0,25 кгс*м).
Звернути особливу увагу, щоб при установці важеля переключення коробки передач було забезпечене проходження різьбової частини горловини механізму переключення через отвір в ущільнювачі кожуха підлоги і затиснення ущільнювача на різьбовій горловині ковпаком важеля переключення передач.
- при установці вилки вимикання зчеплення забезпечити правильне положення лапок на лисках муфти вимикання зчеплення, показане на мал. 2.1
Установка гідроприводу на автомобіль виконується у порядку, зворотному зняттю.
Заповнення системи гідроприводу рідиною і видалення повітря має виконуватись у наступному порядку:
- заповнити бачок головного циліндра гальмовою рідиною до нормального рівня (15-20 мм нижче верхньої крайки бачка);
- зняти захисний ковпачок з голівки клапана прокачування робочого циліндра і надягти на голівку гумовий шланг;
- занурити вільний кінець шланга в гальмову рідину, налити в скляну судину, ємністю не менш 0,5 л, заповнений на половину висоти;
- створити в системі тиск, різко натиснувши 4-5 разів з інтервалом 1-2 сек. на педаль зчеплення;
- утримуючи педаль натиснутою, відвернути на 1/2 - 3/4 обороту клапан прокачування робочого циліндра, стежачи за тим, щоб вільний кінець шланга залишався зануреним у рідину. Рідина з пухирцями повітря буде виходити в судину;
- після того, як витікання рідини в судину припиниться, загорнути клапан до відмовлення, а потім відпустити педаль;
- перевірити наявність рідини в бачку головного циліндра. Не допускати під час прокачування зниження рівня рідини в бачку більш ніж на 2/3 від нормального і додавати рідину в міру потреби;
- повторювати зазначені вище операції прокачування доти, поки не буде виходити зі шланга рідина без пухирців повітря;
- утримуючи педаль натиснутої, загорнути клапан прокачування робочого циліндра до відмовлення і плавно відпустити педаль;
- зняти з голівки клапана шланг;
- надягти на голівку клапана гумовий ковпачок;
- долити рідину в бачок головного циліндра до нормального рівня.
Не можна доливати в бачок рідину, випущену при прокачуванні системи, тому що в ній міститься повітря. Цю рідину можна використовувати тільки після відстоювання протягом доби і фільтрації.
3. ПИТАННЯ МЕНЕДЖМЕНТУ ТА МАРКЕТИНГУ
Таблиця 3 .1 - ПРАЙС-КАТАЛОГ на запасні частини до автомобілів ГАЗ -3110 на ЛЮТИЙ 2003 р. (Ціна у російських рублях)
№ по каталогу |
Назва деталі |
Ціна |
|
І |
Б |
НІ |
|
31104-1601015 |
КАРТЕР ЗЧЕПЛЕННЯ |
/ 567,20 |
|
4215-1601015 |
КАРТЕР |
1 327,20 |
|
52-04-1601048 |
РАМКА ЧОХЛА |
5,64 |
|
24-1601072-10 |
ПІДШИПНИК 6-360710 |
200,40 |
|
4173,1601090 |
ЦИСКЗЧЕПЛ НАЖИМ |
828,00 |
|
4301-1601090-20 |
ДИСК С КОЖУХОМ |
1 316,40 |
|
31104-1601090 |
ДИСК ВЕДУЧИЙ |
1 958,40 |
|
ЗІ 104-16011 15 |
ПРУЖИНА |
130,80 |
|
4301-1601115-20 |
ПРУЖИНА НАЖИМНА |
202,80 |
|
40637,1601130 |
ЦИСКЗЧЕПЛ ВЕД |
313,20 |
|
406,1601138 |
НА КЛАДКА ДИСКА ЗЧЕПЛ |
35,76 |
|
4061,1601150 |
ПРУЖИНА ДЕМПФЕРА |
3972,00 |
|
3307-1601180 |
МУФТА |
122,40 |
|
4301-1601180 |
МУФТА 3 ВИЛКОЮ |
1 254,00 |
|
31104-1601200 |
ВИЛКА ЗЧЕПЛЕННЯ |
40,08 |
|
3105-1601215 |
ОПОРА ВИЛКИ |
11,29 |
|
52-1601230-10 |
ШЛАНГ ЗЧЕПЛЕННЯ |
13,44 |
|
52-04-1601250 |
МАСЛЬОНКА |
1,13 |
|
24-1601256 |
КІЛЬЦЕ |
0,84 |
|
52-1601260-А |
КРОНШТЕЙ МА СЛЬОНКИ |
1,38 |
|
21 А. 160 1264 |
ШДСИЛЮВА Ч ПРАВИЙ |
40,20 |
|
21 А. 1601 265 |
ПЩСИЛЮВА Ч ЛІВИЙ |
40,20 |
|
4301-1601301 |
ШАЙБА ПРУЖИН. КОН |
1,79 |
|
3302-1602010 |
ПЕДАЛЬ ЗЧЕПЛЕННЯ |
34,56 |
|
41-1602036 |
ВТУЛКА |
5,89 |
|
3302-42-1602042 |
ПЛАСТИНА |
3,52 |
|
3302-1602054 |
ВІСЬ ПЕДАЛЕЙ |
43,32 |
|
3307-1602055 |
ВІСЬ ПЕДАЛІ |
14,40 |
|
24-1602066-01 |
ПРОУШИНА |
15,00 |
|
3302-1602098 |
ПРУЖИНА ПЕДАЛІ ЗЧЕ |
2 884,80 |
|
4301-1602290 |
ЦИЛІНДР ГОЛОВНИЙ |
157,20 |
|
4301-1602293 |
ШТУЦЕР |
13,80 |
|
4301-1602295 |
ПРОКЛАДКА |
2,28 |
|
4301-1602296 |
ШТУЦЕР БАЧКА |
6,77 |
|
ї |
її |
III |
|
4301-1602297 |
КІЛЬЦЕ ОПОРНОЕ |
7,35 |
|
3111-1602300 |
ЦИЛІНДР ГОЛОВ ЗЧЕПЛЕН |
602,40 |
|
3111-1602340 |
БА ЧОК ГОЛОВ ЦИЛІНДРА |
9,41 |
|
49Б- 16023 70 |
ШТУЦЕР |
31,08 |
|
4301-1602390 |
КЛАПАН ГОЛ. ЦИЛІНДРА |
16,56 |
|
3307-1602408 |
КРОНШТЕЙН 3 ПЕДАЛЛЮ |
295,20 |
|
24-1602410-1 |
ПЕДАЛЬ В ЗБОРІ |
21,36 |
|
3111-1602500 |
РОБОЧИЙ ЦИЛИНДР 34. |
301,20 |
|
31029-1602510-50 |
ЦИЛІНДР ВИМКН.ЗЧЕПЛ |
132,00 |
|
4301-1602510 |
ЦИЛІНДР ПРИВОДУ |
165,60 |
|
3102-1602510 |
ЦИЛІНДР |
124,80 |
|
3110-1602514 |
ПОРШЕНЬ |
25,92 |
|
24-1602514-01 |
ПОРШЕНЬ ЦИЛІНДРА |
18,84 |
|
3111-1602516 |
МАНЖЕТА |
2,16 |
|
3110-1602522-10 |
ШТОВХАЛЬНИК |
12,36 |
|
24-10-1602522 |
ШТОВХАЛЬНИК |
9,78 |
|
31029-1602522-50 |
ВІСЬ |
10,03 |
|
24-10-1602528 |
КОВПАК ЗАХИСНИЙ |
2,88 |
|
24-1602534 |
КІЛЬЦЕ ЗАХИСНЕ |
0,36 |
|
4301-1602540 |
КОРПУС |
2,63 |
|
3111-1602548 |
МАНЖЕТА |
2,76 |
|
21А-1602552 |
КЛАПАН |
0,31 |
|
3111-1602554 |
МАНЖЕТА |
2,14 |
|
21А-1602554 |
МАНЖЕТА |
1,69 |
|
4301-1602556-01 |
КІЛЬЦЕ УПОРНЕ |
2,20 |
|
21А-1602560 |
ПРУЖИНА ВОЗВРАТНА |
1,75 |
|
21А-1602562 |
ПРУЖИНА |
688,80 |
|
3307-1602578 |
ШЛАНГ ВІД БА ЧКА |
5,70 |
|
4301-1602580 |
ТРУБКА |
48,96 |
|
3302-1602580 |
ТРУБКА |
78,96 |
|
33021-1602580 |
ТРУБКА |
28,80 |
|
3111-1602580 |
ЩЛАНГРОБ. ЦИЛІНДРА |
62,40 |
|
3307-1602580 |
ТРУБКА |
30,12 |
|
24-1602580-20 |
ТРУБКА |
53,88 |
|
31029-1602580-50 |
ТРУБКА |
65,16 |
|
3102-90-1602584-50 |
КРОНШТЕЙН |
3,90 |
|
24-1602584-10 |
КРОНШТЕЙН |
5,02 |
|
3302-1602590 |
ШЛАНГ ГНУЧКИЙ ЗЧЕПЛ |
57,60 |
|
І |
П |
III |
|
24-1602590 |
ШЛАНГ ЗЧЕПЛЕННЯ |
¥5,72 |
|
31029-1602590-50 |
ШЛАНГ 3 ЧЕПЛЕННЯ |
35,88 |
|
24-1602596-10 |
ПРУЖИНА |
2 422,80 |
|
3302-1602618 |
РОЗПІРКА КРОНШТЕЙНА |
14,40 |
|
24-10-1602801 |
ПЕДАЛЬ ЗЧЕПЛЕННЯ |
3,38 |
|
Таблиця 4,2 - Ціни за ремонт та технічне обслуговування автомобіля
Послуга |
Ціна, гри |
Заміна зчеплення |
600 |
Заміна ведучого диску зчеплення |
115 "^ |
Заміна ведомого диску зчеплення |
60 |
Заміна картера зчеплення |
275 |
Заміна муфти вижимного підшипника |
12 |
Заміна накладок ведомого диску зчеплення |
15 |
Заміна головного циліндру зчеплення |
40 |
Заміна робочого циліндру зчеплення |
15 |
Заміна шланга приводу зчеплення |
12 |
Заміна тросу приводу зчеплення |
8 |
Адреси підприємств на яких можливо придбати деталі.
І. " Укравтозапчастини " м. Вінниця вул. Мичурина 56.
2. Магазин " Кар Мен " м. Вінниця вул. 1 Травня 59.
3. Фірма "ВГШНТЕР" м. Вінниця вул. 1 Травня, 60.
4. ВІННИЦЯАВТОТРАНС м. Вінниця вул. Хмельницьке шосе, 23.
5. ВІСТ АС, ВКФ м. Вінниця вул. 50-річчя Перемоги 35, 3-й поверх.
6. ВТН, ППм. Вінниця вул. 600-річчя 25.
7. ФІРМА ДРІАДА, м. Вінниця вул. Максимовича, 35.
8. ФІРМА КАПІТАН м. Вінниця вул. І. Богуна 92.
9. КОЙТАКТ ВО м. Вінниця вул. Чехова 7.
10.АВТОМАГАЗИН "ЛАДА" м. Вінниця вул. 600-річчя 36. 11 .ЛОРД ПП м. Вінниця просп. Юності 14 а. 12. Авторинок "ВінАвто".
4. Охорона праці
При експлуатації автомобіля потрібно дотримуватись елементарних вимог по техніці безпеки та охорони навколишнього середовища, оскільки автомобіль являється потенційним забруднювачем середовища. Отже для використання автомобіля з найменшим впливом на навколишнє середовище та завдання меншої шкоди людині потрібно виконувати вимоги Охорони праці, виробничої санітарії та заходів з екології навколишнього середовища.
Під охороною праці розуміють систему законодавчих актів і відповідних їм заходів, спрямованих на збереження здоров'я і працездатність трудящих.
Систему організаційних і технічних заходів і засобів, що запобігають виробничий травматизм, називають технікою безпеки.
Систему організаційних, гігієнічних і санітарно-технічних заходів і засобів, що запобігають захворюваність працюючих, називають виробничою санітарією.
При технічному обслуговуванні і ремонті автомобілів необхідно приймати міри проти їхнього самостійного переміщення. Забороняється технічне обслуговування і ремонт автомобілів із працюючим двигуном (крім випадків регулювання двигуна).
Підйомно-транспортне устаткування повинне бути в справному стані і використовуватися тільки по своєму прямому призначенню. До роботи з цим устаткуванням допускаються обличчя, що пройшли відповідну підготовку й інструктаж.
Під час розбирання і зборки вузлів і агрегатів необхідно застосовувати спеціальні знімачі і ключі.
Забороняється захаращувати деталями і вузлами проходи між робочими місцями, а також збирається велика кількість деталей на місцях розбирання.
Підвищену небезпеку представляють операції зняття й установки пружин, оскільки в них накопичена значна енергія. Ці операції необхідно виконувати на стендах чи за допомогою пристосувань, що забезпечують безпечну роботу.
Гідравлічні і пневматичні пристрої повинні бути постачені запобіжними і пропускними клапанами. Робочий інструмент повинний знаходитися в справному стані.
Приміщення, у яких робітник повинний знаходитися під автомобілем, повинні бути обладнаними оглядовими канавами, естакадами з направляючими запобіжними ребордами або підйомниками.
Припливно-витяжна вентиляція повинна забезпечувати видалення виділюваних парів і газів і приплив свіжого повітря.
Робочі місця повинні бути забезпечені природним і штучним висвітленням, достатнім для безпеки виконання робіт.
Загальні вимоги по охороні праці :
1. Встановити автомобіль в горизонтальне положення.
2. Виключити ймовірність самовільного руху автомобіля.
3. Виконуючи будь-які роботи біля автомобіля потрібно працювати лише у спецодязі.
4. Двигун повинен бути охолодженим для запобігання опіків.
5. Забороняється мити руки етиловим спиртом.
6. При потраплянні шкідливих речовин на шкіру потрібно промити місце ураження великою кількістю проточної води.
На території підприємства повинні бути обладнані санітарно-побутові приміщення: гардеробні, душові, умивальники (з обов'язковою наявністю гарячої води при роботі з етилованим бензином).
5. Розрахунок силового балансу автомобіЛя
Дано:
H = 140м;
L = 1030 м;
Pyx на ІV- ій передачі;
Дорожнє покриття – сухий асфальт.

Рисунок 5.1. - Схема сил які діють на автомобіль.
Сила ваги визначається за формулою:
G = mg , ( 1 )
де m = 1400 кг - маса спорядженого автомобіля;
g = 9,8 - прискорення вільного падіння;
G= 1400 ´ 9,8 = 13720 (Н)
Крутизна підйому визначається за формулою:
I = Н / L ´ 100%, ( 2 )
де Н = 140м - висота підйому;
L = 1030м - довжина підйому;
І = 140/1030 ´ 100%= 13,6%
Отже,
Pn = G i [Н]
Сила опору підйому ( 3 )
Pn = 13720 ´ 0,136 = 1865,92 ( Н )
Потужність яку необхідно затратити на подолання підйому:
Nn = G ´ і ´ v , ( 4 )
де v - середня швидкість, яка визначається як, максимальна
швидкість на ІV передачі ділена на 2, дорівнює 12,5 м/с.
Nп = 13720 ´ 0,136 ´ 12,5 = 2332,4 (Вт)
Сила опору кочення:
зчеплення автомобіль гідравлічний привід
Рк =f ´ G , ( 5 )
де f- коефіцієнт опору кочення, який визначається за формулою:
f = f0 ( l + v/1500), ( 6 )
де f0 - коефіцієнт опору кочення, для мокрого ґрунту = 0,025
f = 0.035(1 + 12,5/1500) = 0.025
отже, Рк = 0,025 ´ 13720 = 345,8 ( Н )
Потужність яку необхідно витратити для подолання сили опору кочення:
Nк = f ´ G ´ v , ( 7 )
Nк =0,025´13720´12,5 = 4322,5 ( Вт )
Cила опору повітря визначається за такою формулою :
Рпов = Кпов ´ Fпов ´ v2 , ( 8 )
де Кпов - коефіцієнт опору повітря;
Fпов - площа лобового опору автомобіля, яка визначається за формулою:
Fпов = 0,02 ´ Ва ´ На , ( 9 )
де Ва = 1800 ширина технічної лінії;
На = 1422 висота автомобіля;
Fпов = 0,02 ´ 1,8 ´ 1,422 = 0,051 ( м2 )
Рпов = 0,02 ´ 0,051 ´ 156,25 = 0,159 (Н)
Потужність необхідна для подолання опору повітря:
Nпов = Рпов ´ V , ( 10 )
де Рпов - сила опору повітря;
V - швидкість руху автомобіля = 65 км/год;
Nпов = 0,159 ´ 18,05 = 2,87 (Вт)
Силовий баланс визначається за формулою:
Рт = Рn + Рпов + Ркоч , ( 11)
Рт = 1865,92 + 0,159 + 345,8 = 2211,9 (Н)
Nт = Nп + Nпов + Nкоч , ( 12 )
Nт = 2332,4 +2,87+4322,05 = 6657,32 (Вт)
Сила тяги визначається за формулою:
Pз = ( Мкр ´ ікп ´ ігп ) / R ´ ђ ( 13 )
де Мкр - крутячий момент двигуна;
ікп - передаточне число коробки передач = 1;
ігп - передаточне число головної передачі = 3,9;
R - радіус колеса (м) = 0,327 ;
ђ - коефіцієнт корисної дії трансмісії = 0,92.
Рз = ( 318,3´1´3,9)/0,327 ´0,92 = 4137,9 (Н)
Крутний момент двигуна визначається за формулою
Мкр = 9,55(N/n) , ( 14 )
де N - потужність двигуна 150000 ( Вт );
n - кількість обертів колінчатого вала двигуна = 4500 об/хв.
Мкр = 9,55 ´ ( 150000/4500 ) = 318,3 ( Н )
6.1 ПОВНА ТЕХНІЧНА ХАРАКТЕРИСТИКА АВТОМОБІЛЯ
Таблиця 7.2 - Основні технічні характеристики автомобіля ГАЗ-3110
| Показники | Дані | |||||
| Двигун | ЗМЗ-4062 | |||||
| Максимальна швидкість, км/год | 175 | |||||
| Контрольна витрата палива (улітку, для справного автомобіля, після пробігу 5000 км, з частковою масою 2- чол), л/100 км: при швидкості 90 км/год при швидкості 1 20 км/год | 8,8 11,8 | |||||
Кількість місць (корисне навантаження) |
5 |
|||||
Маса спорядженого автомобіля, кг |
1400 |
|||||
Повна маса автомобіля, кг |
1790 |
|||||
| Припустима маса вантажу в багажнику (при навантаженні 5 чол), кг | 50 | |||||
| Припустима маса встановленого на даху багажника з вантажем, кг | 50 | |||||
| Припустима повна маса буксуемого причепа, не більш, кг: не обладнаного гальмами обладнаного гальмами | 700 1300 | |||||
| Габаритні розміри автомобіля, мм: довжина ширина висота (без навантаження) | 4885 1800 1476 | |||||
| Колісна база, мм | 2800 | |||||
| Колія коліс: мм передніх задніх | 1500 1444 | |||||
| Найменший дорожній просвіт, мм: | 156 | |||||
| Найменший радіус повороту по колії переднього зовнішнього колеса, м | 5,8 | |||||
| Вибіг автомобіля зі швидкістю 50 км/год, | 500 | |||||
| Двигун ЗМЗ-4062 | ||||||
| Тип - з упорскуванням палива | ||||||
| Число і розташування циліндрів ІМЙпвК | 4 рядне | |||||
| Діаметр циліндрів і хід поршня, мм ч ; ^ЗЧ| Ф» -ч | 92x86 | |||||
| Робочий обсяг циліндрів, л ^^^Кі^^^^- | 2,3 | |||||
| Ступінь стиску $1^$^ ~**ЩІ | 9.5 | |||||
| Порядок роботи циліндрів ^^^^Ц^' | 1-3-4-2 | |||||
| Максимальна потужність, квг (л. с.) чВШУ | 150 | |||||
| Максимальний крутний момент, (кгс*м) ^ ~"~ | 21,0 | |||||
| Сорт бензину | АИ-93 | |||||
| Трансмісія | ||||||
| Зчеплення | Однодискове, сухе, з гідравлічним приводом вимикання | |||||
| Коробки передач | Механічна, п'ятиступенева з синхронізаторами на всіх передачах або чотирьохступенева, з синхронізаторами на всіх передачах переднього ходу | |||||
| Передаточні числа коробки передач | 4-східчастої | 5 -східчастої | ||||
| 1 передача | 3,5 | 3,618 | ||||
| 2 передача | 2,26 | 2,188 | ||||
| 3 передача | 1,45 | 1,304 | ||||
| 4 передача | 1 | 1 | ||||
| 5 передача | - | 0,794 | ||||
| задній хід | 3,54 | 3,28 | ||||
| Карданна передача | Двохвальна, із проміжною опорою | |||||
| Задній міст | 3 нероз'ємним картером | |||||
| Головна передача | Конічна, гіпоідна, передаточне число - 3,9 | |||||
| Ходова частина | ||||||
| Передня підвіска | Незалежна, на важелях пружинами | з циліндричними | ||||
| Задня підвіска | На подовжніх напівеліптичних ресорах | |||||
| Амортизатори | Гідравлічні, телескопічні, двосторонньої дії | |||||
| Колеса | Штамповані, дискові, 6 | ,5] х 15Н2 | ||||
| Шини | Радіальні, безкамерні, 195/65 К.15 9Ш | |||||
| Рульове керування | ||||||
| Кермовий механізм | Глобоідний, передаточне число 19,1 | |||||
| Кермовий стовпчик | 3 пристроєм проти викрадення | |||||
| Кермове колесо | 3 енергопоглинаючим елементом | |||||
| Кузов | ||||||
| Триоб' ємний, металевий, несущої конструкції. | ||||||
| Тип | Седан | |||||
| Кількість дверей | 4 | |||||
| Гальмові системи | ||||||
| Робоча гальмова система: передні гальмові механізми | Дискові, зі скобою, що плаває | |||||
| задні гальмові механізми | Барабанні | |||||
| привод | Гідравлічний двоконтурний з головним циліндром типу "тандем", датчиком аварійного падіння рівня гальмової рідини і регулятором тиску в системі задніх гальм | |||||
| підсилювач | Вакуумний, діє на головний циліндр | |||||
| Стояночна гальмівна система | Привід механічний. Діє на гальм робочої системи. Важіль передніми сидіннями | колодки задніх на підлозі між | ||||
| Електроустаткування | ||||||
| Напруга бортової мережі | 12 В, мінусові виводи приладів електроустаткування з'єднані з | корпусом | ||||
| Акумуляторна батарея | Стандартна, ємністю не менш 55 А -ч. | |||||
| Генератор для двигуна ЗМЗ-4062 | 9422.3701 чи 2502.3771 | |||||
Висновок
При виконанні даної курсової роботи я детально ознайомився з будовою та принципом дії зчеплення автомобіля “Волга” ГАЗ - 3110.
Навчився визначати неполадки та методи їх усунення, виконувати технічне обслуговування зчеплення та дізнався про технології та матеріали, які використовують при виготовлені деталей зчеплення та методи відновлення деталей.
Вивчив правила яких необхідно обов’язково дотримуватись при виконанні технічного обслуговування, ремонту чи інших робіт біля автомобіля. А також навчився розраховувати силовий баланс автомобіля при різних умовах руху в залежності від погодних умов (покриття дороги, швидкості руху, передачі на якій здійснюється рух та місцевості).
Література
1. К.А. Амаев, Е.З Маковская. Автомобили и мотоциклы. «Экономика» 1970
2. А.М.Баклушкин, В.Б.Реутов. Руководство по ремонту, эксплуатации и ТО автомобиля “Волга” ГАЗ – 3110. Каталог деталей. “Колеско” Москва 2002.
3. В.Ф.Кісліков, В.В. Лущик. Будова й експлуатація автомобілів. Підручник для учнів професійно-технічних закладів освіти. 2-ге видання, Київ “Либідь” 2000.
4. В.М. Кленіков, М.М.Ільїн. Підручник шофера І класу. 2-ге видання, Техніка, Київ, 1975.
5. Інформація з мережі «Інтернет».
WWW: www.avtoal.ru/lord.htm (оригинальный прайс- лист)
WWW: GAS; Волга ГАЗ-3110#expl.htm
Похожие рефераты:
Технологічне забезпечення відновлення дисків сошників зернових сівалок
Гальмівна система автомобіля ГАЗ-53
Двигун автомобіля ЗІЛ-130 (поршнева група)
Технічне обслуговування та ремонт муфти зчеплення
Газобалонна установка автомобіля ГАЗ
Устройство, работа, неисправности, ремонт сцепления атомобиля КамАЗ
Проект дільниці по технічному огляду та ремонту для двигуна автомобіля Chery Elara
Діагностика системи запалення ДВЗ