| Похожие рефераты | Скачать .docx |
Курсовая работа: Ремонт автомобиля: восстановление, массовое обслуживание, технологический процесс
Федеральное агентство по образованию (Рособразование)
Архангельский государственный технический университет
Кафедра эксплуатации автомобилей и машин лесного комплекса
Курсовая работа
по дисциплине: Технологические процессы ТО и ремонта автомобилей
Ремонт автомобиля: восстановление, массовое обслуживание, технологический процесс
Архангельск 2008
Исходные данные
Вариант 38
Среднее время (Т1) пребывания автомобиля в состоянии S1…………Тn
Среднее время (Т2) пребывания автомобиля в состоянии S2…………0,35Тn
Среднее время (Т3) пребывания автомобиля в состоянии S3…………0,24Тn
Среднее время (Т4) пребывания автомобиля в состоянии S4…………0,25Тn
Входящий поток, авт/ч (пуассоновский)
Продолжительность обслуживания, одного треб.
(распределение экспоненциальное)0,15
Обслуживающая система r = m-R=2
Количество каналов обслуживания - 1
Предприятие СТО
Вид работ сист. эл/обор.
Марка автомобилей Москвич
Реферат
Пояснительная записка к курсовой работе выполнена на 20 листах и содержит 6 рисунков, технологическую карту на ремонт электрооборудования а/м Москвич.
Пояснительная записка состоит из четырёх основных частей.
В первой части рассматривается процесс восстановления. Она является основополагающим разделом курса и дает основные понятия для дальнейшего изучения предмета.
Вторая часть дает понятие о различных видах и свойствах процессов.
В третьей части рассматриваются системы массового обслуживания и определяются параметры функционирования заданной СМО.
Четвертая часть дает понятие об организации технологического процесса ТО и ремонта. В ней разрабатывается технологическая карта, организация технологического процесса для принятой СМО, предложенный документооборот и планировочное решение для принятой СМО.
Содержание
1. Процесс восстановления
1.1 Понятие о процессе восстановления
1.2 Ведущая функция потока восстановления
1.3 Параметр потока отказов
2. Случайные Марковские процессы
2.1 Понятие случайных Марковских процессов
2.2 Свойства простейших процессов
2.3 Циклические процессы
2.4 Определение для заданных условий вероятности нахождения автомобиля в состояниях S1, S2, S3, S4
2.5 Выводы
3. Системы массового обслуживания
3.1 Классификация систем массового обслуживания
3.2 Определение параметров функционирования заданной СМО
3.3 Выводы
4. Организация технологического процесса ТО и Р
4.1 Технологическая карта
4.2 Организация технологического процесса для принятой СМО
4.3 Документооборот
4.4 Планировочное решение для принятой системы массового обслуживания
Литература
1. Процесс восстановления
1.1 Понятие о процессе восстановления
Для рациональной организации производства ТО и Р необходимо знать сколько отказов данного вида будет поступать на участки ремонта в течение смены, недели, месяца, будет ли это количество постоянным или переменным и от каких факторов оно зависит. То есть речь идёт не только о надёжности конкретного автомобиля, но о надёжности групп автомобилей данной модели, колонны, АТП.
При отсутствии этих данных невозможно рационально организовать производство ТО и Р, то есть рассчитать количество рабочих, размеры производственных площадей, а также расходы запасных частей и материалов.
Взаимосвязи между показателями надёжности автомобилей и суммарным потоком отказов для групп автомобилей изучают с помощью теории восстановления, то есть возникновения и устранения отказов и неисправностей.
Допустим, что проводится наблюдение за группой автомобилей в составе n-автомобилей, и фиксируются моменты возникновения однородных отказов. Очевидно, что наработки на отказ случайны для каждого автомобиля и описываются соответствующими функциями: F(x) – вероятность отказов, f(x) – плотность вероятности, во вторых – независимо у разных автомобилей и в третьих – при устранении отказов на постах Р безразлично у какого автомобиля отказ и какой он по счёту.
n
![]()
![]()
![]()
![]()
![]()
![]()
1 авт. x,l
![]()
![]()
![]()
2 авт. x,l
![]()
![]()
![]()
![]()
2 авт. x,l
![]()
![]()
![]()
3 авт. x,l
![]()
n авт. x,l
![]()
![]()
Рисунок 1. Поток отказов поступающих на посты ТР
К важнейшим характеристикам теории восстановления относятся:
а) Средняя наработка автомобиля до 1-го отказа
; (1)
б) Средняя наработка до k-го отказа
; (2)
в) Средняя наработка между отказами
, (3)
; (4)
г) Коэффициент полноты восстановления ресурса
Коэффициент полноты восстановления ресурса характеризует возможность сокращения ресурса после ремонта, то есть характеризует качество произведённого ремонта. Он определяется отношением последующей наработки на отказ к предыдущей.
, (5)
в общем виде:
, (6)
0 < η < 1.
В настоящее время для различных агрегатов и видов работ коэффициент η колеблется от 0,3 до 0,8.
Сокращение ресурса после ремонта вызывается следующими причинами:
1. Заменой в агрегате только отказавшей детали;
2. Использованием при ремонте запасных частей и материалов иного качества, чем при изготовлении автомобиля, например восстановленных запасных частей;
3. Уровнем организации и технологии ремонта.
1.2 Ведущая функция потока восстановления Ω( x )
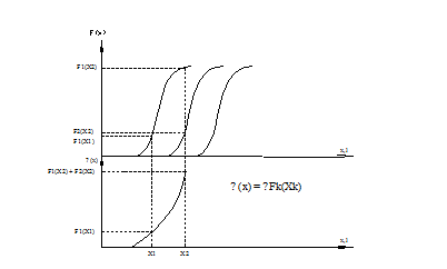
Ведущая функция потока восстановления определяет общее накопленное количество первых и последующих отказов автомобиля к моменту наработки xили l.
Как видно из рисунка 2 из-за вариации наработок на отказ происходит их смещение, а функции F1(x), F2(x), F3(x) частично накладываются друг на друга.

Рисунок 2. Вероятность и ведущая функция потока отказов
1.3 Параметр потока отказов ω( x )
Параметр потока отказов – это относительное число отказов, приходящееся на единицу времени или пробега автомобиля.
, (7)
, (8)
где f(x) – плотность вероятности возникновения отказов.
При характеристике надёжности автомобилей число отказов обычно относят к пробегу (на 1000 км), а при характеристике потока отказов – ко времени их работы.
Необходимо отметить, что ведущая функция и параметр потока отказов аналитически определяются лишь для некоторых законов распределения, например:
· для экспоненциального закона
, (9)
, (10)
; (11)
· для нормального закона
, (12)
где
- нормированная функция для ![]()
. (13)
Параметр потока отказов может быть определён на основании экспериментальных данных следующим образом:
, (14)
где
- суммарное число отказов m-автомобилей в интервале пробега от x1 до x2;
- это, соответственно, ведущая функция потока отказов при пробеге x1 и x2.
Определение потока отказов по данным о надёжности является прямой задачей, но возможна и обратная задача – по параметру потока отказов рассчитать количество отказов.
. (15)
Суммарный пробег группы автомобилей, имеющих надёжность
:
. (16)
Исходя из выше изложенного, для организации работы ТО и ТР важно уметь правильно определить и прогнозировать параметры потока отказов.
В общем случае параметры потока отказов не постоянны во времени:
. (17)
На практике наблюдается три основных случая изменения параметра потока отказов:
1. Полное восстановление ресурса после отказа
,
; (18)
, (19)
; (20)
Неполное, но постоянное восстановление ресурса после каждого отказа (
)
; (21)
2. Последовательное снижение коэффициентов полноты восстановления ресурса
. (22)
В этом случае параметр потока отказов непрерывно возрастает, что приводит к повышенной нагрузке на ремонтные подразделения АТП.
2. Случайные Марковские процессы
2.1 Понятие случайных Марковских процессов
Случайный процесс называется Марковским, если вероятность будущего состояния системы, отвечающее данному процессу, зависит только от её состояния в настоящий момент времени и не зависит от того в каких состояниях она была в прошлом.
Действительно работоспособность автомобиля в будущем зависит только от фактического технического состояния, к которому автомобиль может прийти по-разному.
В теории технической эксплуатации наибольшие привилегии находят цепи Маркова и Марковские последовательности.
В цепях Маркова чётко определены состояния системы S1, S2, S3, …, Sn. Переход из одного состояния в другое осуществляется в дискретные моменты времени t1, t2, t3, …, tnи определяется переходными вероятностями.
Цепи Маркова хорошо иллюстрируются графом состояния системы, на котором отмечены состояния системы, а стрелками указаны направления переходов. Если указаны вероятности переходов, то такой граф называется размеченным графом.
|
![]() |
![]()
![]()
![]()
![]()
![]()
![]()
![]()
|
|
|
![]()
![]()
![]()
![]()
![]()
Рисунок 3. Размеченный граф состояния системы
При исследовании случайных процессов большое значение имеют Марковские процессы с дискретным состоянием и непрерывным временем.
Марковские процессы с непрерывным временем характеризуются случайными моментами возможных переходов из одного состояния в другое. При этом переход происходит мгновенно. Такой дискретный процесс с непрерывным временем представляет собой поток событий, например, поток автомобилей с отказами, поступающих на посты ТР или поток отказавших агрегатов, поступающих в цеха и на посты.
Для такого процесса рассматривается плотность вероятности перехода
за время
из состояния Siв состояние Sj:
, (23)
если
мало ![]()
. (24)
Если
не зависит от
, то такой процесс называется однородным, в противоположном случае – неоднородным.
Имея данные по плотности вероятности переходов можно рассчитать вероятности всех состояний системы в разные моменты времени, т.е. определить вероятности
,
,
, …,
.
Эти вероятности определяются из системы дифференциальных уравнений Колмогорова, составленных по следующим правилам:
1. В левой части уравнения производные вероятности соответствующего состояния, например:
; (25)
2. Правая часть содержит столько членов, сколько переходов связано с данным состоянием;
3. Каждый член правой части уравнения равен произведению плотности вероятности перехода на вероятность того состояния, из которого переход осуществляется;
4. Знак плюс ставится перед членами правой части уравнений при переходе в данное состояние, знак минус – при переходе из данного состояния.
, (26)
, (27)
, (28)
. (29)
Так называемые предельные состояния, при
, определяются из приведённой системы уравнений, у которых левая часть приравнивается к 0, т.е.:
. Эти конечные вероятности характеризуют среднее время пребывания системы в соответствующих состояниях ![]()
2.2 Свойства простейших процессов
Среди Марковских процессов важное практическое значение имеет так называемый простейший или Пуассоновский поток событий, который обладает 3-мя важными свойствами:
1. Стационарность;
2. Отсутствие последействия;
3. Свойство ординарности.
Это свойство состоит в том, что вероятность попадания того или иного числа событий на участки времени длиной
зависит только от длины этого участка и не зависит от того, где именно но оси
расположен этот участок.
Это означает, что интенсивность или плотность потока отказов для простейшего потока является величиной постоянной.
,
. (30)
Для первого и второго случаев стабилизация потока отказов происходит с определённого момента времени, для третьего случая – на каждом интервале. Поэтому такой поток событий считается стационарным.
Для стационарного потока число событий за интервал
в общем виде определяется:
. (31)
Пример:
По данным наблюдений наработка до первого отказа подвески автомобиля МАЗ-509, работающего в тяжёлых условиях, составляет
=7 тыс. км. Коэффициент восстановления ресурса после ремонта
=0,47.
=250 км,
=40 автомобилей.
Определить число отказов подвески автомобилей МАЗ-509, поступающих на посты ремонта за сутки.
![]()
![]()
![]()
![]()
Отсутствие последействия
Состоит в том, что вероятность появления того или иного числа отказов в любом промежутке времени
не зависит от появления событий в предшествующий момент времени.
Свойство ординарности
Состоит в том, что вероятность попадания на элементарный отрезок времени
двух или более событий одновременно мало вероятно по сравнению с появлением одного события.
Поток событий, у которого выполняются все три условия, называется простейшим или Пуассоновским.
На практике суммирование 6-8 элементарных потоков приводит к образованию простейшего или близкого к нему потока событий.
Для простейшего потока вероятность возникновения определяемого числа отказов в течение времени tопределяется по закону Пуассона:
, (32)
где
- параметр потока отказов;
- число отказов;
- время
Можно принять
ч, тогда
- среднее число отказов за 1ч,
. (33)
В ранее рассмотренном примере было установлено, что в среднем в смену на посты ремонта будет поступать 3 отказа подвески автомобиля. Но т.к. отказы по отдельным автомобилям возникают случайно, то фактическое число отказов будет отличаться от среднего. Используя формулу Пуассона, определим вероятность возникновения различного числа отказов:
,
,
,
,
,
,
,
,
.

Рисунок 4. Вероятность возникновения отказов
Из рисунка 4 видно, что при среднем числе требований на ремонт = 3, вероятность того, что в некоторые смены число требований меньше среднего, т.е. < 3, будет 42%, равно среднему – 22%, больше среднего – 36%. Следовательно расчёт площадей производственных помещений, оборудования, рабочей силы исходя из средней потребности может вызвать или неполную загрузку оборудования или необходимость ожидания автомобилей в очереди.
В зависимости от стоимости простоя автомобиля в ожидании ремонта, а рабочей силы и оборудования в ожидании автомобилей, требующих ремонта, определяют оптимальную пропускную способность постов, участков, цехов ТО и Р. Эта задача решается с использованием теории массового обслуживания.
Характерным признаком закона Пуассона является равенство среднего и дисперсии:
. (34)
Коэффициент вариации:
. (35)
С увеличением среднего числа отказов, поступающих на посты, коэффициент вариации сокращается, и закон распределения становиться более симметричным, что благоприятно сказывается на организации ТО и Р автомобилей:
среднее число отказов 1 2 3 4 5 9 25
коэффициент вариации 1 0,71 0,58 0,50 0,45 0,30 0,22
Следовательно, централизация ТО и Р, которая приводит к увеличению программы работ, является одним из направлений совершенствования технической эксплуатации автомобилей.
2.3 Циклические процессы
Если в Марковском процессе с непрерывным временем дискретные состояния связаны между собой в одно кольцо и имеют односторонние переходы, то такой процесс называется циклическим.
|
|
|
|
![]() |
|||
![]() |
![]()
![]()
Рисунок 5. Циклический процесс: S1 – автомобиль исправен и работает; S2 – автомобиль ожидает ремонта; S3 – автомобиль находится в ремонте; S4 – автомобиль исправен и ожидает работы после ремонта.
Плотности вероятностей перехода из одного состояния в другое
односторонние.
Для предельных вероятностей:
. (36)
При переходе из 1-го состояния во 2-е:
; (37)
при переходе из 2-го в 3-е:
; (38)
при переходе из 3-го в 4-е:
; (39)
при переходе из 4-го в 1-е:
. (40)
Решая эту систему получим:
; (41)
; (42)
; (43)
. (44)
Т.к. рассматриваемый процесс Пуассоновский, среднее время пребывания системы:
; (45)
; (46)
; (47)
; (48)
. (49)
2.4 Определение для заданных условий вероятности нахождения автомобиля в состояниях S1, S2, S3, S4.



![]()
Заданный объём перевозок определяет поток требований на ТО и ремонт. Для нашего случая вероятность нахождения автомобиля в ремонте 19%, а вероятность нахождения автомобиля в ожидании ремонта 13%. Чтобы автомобиль меньше времени ожидал ремонта нужно добиться повышения пропускпой способности поста. Этого можно добиться, используя более производительное оборудование и рациональную организацию процессов ТО и ремонта.
Для маркетинговой службы нужно добиться снижения вероятности нахождения автомобиля в ожидании работ. Для моего случая она составляет 14%. Маркетинговой службе нужно искать клиентов, пользующихся услугами предприятия, расширять ассортимент выполняемых услуг и т.п.
3. Системы массового обслуживания
Системы, в которых переменными и случайными являются моменты поступления заявок обслуживания и продолжительность самого обслуживания, называются системами массового обслуживания (СМО).
Совокупность очереди и каналов обслуживания образуют систему массового обслуживания.

Рисунок 6. Система массового обслуживания
В приведённом примере 1 очередь и 3 канала обслуживания.
Примерами СМО технической эксплуатации являются посты ТР, поточные линии, цеха, склады запасных частей и т.д.
Входящий поток представляет собой случайный процесс, который, как правило, описывается законом Пуассона.
Требования (заявки) могут быть однородными и неоднородными.
Обслуживающие аппараты – это совокупность отдельных рабочих или бригад с необходимым оборудованием, средствами механизации, инструментом, оснасткой.
При проведении ТО используются бригады рабочих, при ТР на постах, как правило, выполняет 1 человек, а в цехах и на участках – 1 мастер.
Выходящий поток, как правило, состоит из обслуженных автомобилей.
3.1 Классификация систем массового обслуживания
СМО различают по числу каналов «n»:
n= 1 – одноканальная система,
n> 1 – многоканальная система.
Под каналом обслуживания понимают однородный по устройству участок, предназначенный для выполнения заранее установленного вида работ. Например – пост мойки – это одноканальная система, а несколько постов смазки – многоканальная.
Вторым классифицирующим признаком является характер обслуживания.
Различают системы с ожиданием и отказами. В системе с отказами требования покидают систему не обслуженными, если в момент их поступления все каналы заняты. В системе с ожиданием, требования, поступившие в момент, когда все каналы заняты, становятся в очередь и ожидают освобождения одного из каналов.
Если никаких ограничений на ожидание нет, то такая система называется системой с неограниченным ожиданием. По такой системе проводится обслуживание и ремонт в АТП.
В ряде случаев накладываются ограничения на время ожидания или длину очереди. Такие системы называются системами с ограниченным ожиданием.
Если требования обслуживаются в порядке их поступления, то такие системы называются системами без приоритета.
Если часть требований обслуживается вне очереди, то такие системы называются СМО с приоритетами.
По типу обслуживающего аппарата могут быть:
· Однотипные системы (универсальные);
· Разнотипные системы (специализированные).
По структуре системы бывают замкнутые и открытые. Замкнутые – это такие, когда входящий поток зависит от числа обслуживаемых автомобилей, открытые – наоборот не зависит.
3.2 Определение параметров функционирования заданной СМО
В качестве показателей эффективности работы СМО используют следующие параметры:
1. Интенсивность обслуживания
;
где
- время обслуживания, ч.
2. Приведённая плотность потока
;
где
- параметр потока отказов.
3.Вероятность того, что все посты свободны
![]()
4. Вероятность образования очереди:
![]()
5. Вероятность отказа в обслуживании:
![]()
6. Относительная пропускная способность:
![]()
![]()
7. Абсолютная пропускная способность:
![]()
8. Среднее число занятых каналов:
![]()
9. Среднее число требований находящихся в очереди:
.
10. Среднее время нахождения в очереди:
![]()
11. Издержки от функционирования системы:
![]()
где
- стоимость простоя обслуживающего канала,
- среднее количество занятых каналов,
руб.
Исходя из выполненных расчётов можно сделать вывод, что СМО работает не слишком хорошо. 85 % автомобилуй будут обслужены, а 15% покинут систему необслуженными. Система недозагружена, т.к. вероятность того, что пост свободен = 0,366,поэтому маркетинговой службе необходимо позаботиться о привлечении клиентов, разработать более действенную рекламу и другие мероприятия. В среднем в очереди будет находиться 0,5 требования, среднее время нахождения в очереди 6 минут.
4. Организация технологического процесса ТО и Р
4.1 Технологическая карта
Таблица. Карта – схема. Замена генератора. Общая трудоемкость 32.0 чел. мин. Исполнитель: слесарь по ремонту автомобилей 3 разряда.
№ выпол. работы |
Наименование и содержание работы |
Кол-во мест воздействий |
Место выполнения |
Приборы, инструменты приспособл. |
Технологич. требования |
| СНЯТИЕ ГЕНЕРАТОРА | |||||
| 1 | Открыть капот | 2 | В салоне, сверху спереди | - | - |
| 2 | Отвернуть винты и отсоединить провода от клемм генератора | 3 | Сверху в моторном отсеке | Отвёртка 4 мм. | На время работы отсоединить клемму (+) аккумуляторной батареи от электрооборудования автомобиля |
| 3 | Отсоединить шланг отопителя от водяного насоса | 1 | Сверху в моторном отсеке | Отвёртка 4 мм. | Отверстия шланга отопителя и водяного насоса закрыть резиновыми пробками. |
| 4 | Отсоединить от раструба шланг забора воздуха | 1 | То же | То же | - |
| 5 | Отвернуть болты крепления регулировочной планки генератора и снять планку вместе с шайбой и скобой | 2 | -»- | Ключ гаечный открытый 12 мм | - |
| 6 | Снять ремни со шкива привода генератора | 2 | -»- | - | Для снятия ремней со шкива генератора его повернуть в сторону блока цилиндров |
| 7 | Отвернуть гайки болтов крепления генератора, вынуть болты и шайбы, снять генератор в сборе с кронштейна | 4 | Сверху в моторном отсеке | Ключи гаечные открытые 14 мм, 17 мм. | - |
| УСТАНОВКА ГЕНЕРАТОРА | |||||
| 8 | Установить генератор на кронштейн, вставить болты с шайбами и завернуть гайки крепления болтов крепления генератора | 4 | Сверху в моторном отсеке | Ключи гаечные открытые 14 мм, 17 мм, головка сменная 17 мм, динамометрический ключ мод. ДК-25 | Момент затяжки гаек 45-60 Н.м (4,5-6,0 кгс.м) |
| 9 | Завернуть болт крепления нижнего конца установочной планки к корпусу водяного насоса | 1 | Сверху в моторном отсеке | Ключ гаечный открытый 12 мм. | На болт предварительно установить пружинную шайбу, болт окончательно не затягивать |
№ выпол. работы |
Наименование и содержание работы |
Кол-во мест воздействий |
Место выполнения |
Приборы, инструменты приспособл. |
Технологич. требования |
| 10 | Установить приводные ремни на шкивы генератора и водяного насоса, натянуть их с помощью установочной планки | 2 | То же | Ключ гаечный открытый 12 мм, монтажная лопатка, линейка измерительная 300 мм, прибор мод. КИ-8920 | Прогиб ремней вентилятора и генератора при нажатии на ремень с усилием 40 Н должен быть в пределах 8-10 мм. |
| 11 | Присоединить провода к клеммам генератора | 3 | Сверху в моторном отсеке | Отвёртка 4 мм. | Гайка зажима клеммы (+) и винт клеммы «Ш» должны быть затянуты с пружинными и плоскими шайбами. |
| 12 | Присоединить шланг отопителя к водяному насосу | 1 | Сверху в моторном отсеке | Отвёртка 4 мм. | - |
| 13 | Присоединить к раструбу шланг забора воздуха | 1 | То же | - | - |
| 14 | Закрыть капот | 2 | Сверху, спереди | - | Капот плавно опустить вниз,затем, слегка нажав, защёлкнуть замком капот |
4.2 Организация технологического процесса
В соответствии с приложением о ТО и ремонте подвижного состава автомобильного транспорта, обеспечивающие в эксплуатации работоспособности автомобилей осуществляется инженерно-технической службой предприятия на основе применения: нормативов ТО и ремонта, учитывающих условия эксплуатации и приспособленности к ним подвижного состава; унификацией и типизацией технологического оборудования, технических процессов, с учетом применяемых форм организации ТО и ремонта. Как мы уже знаем, основным элементом производственно- технической базы (ПТБ) является рабочий пост и рабочее место.
На специализированных постах используются микропроцессорная – и робототехника (диагностика). За счет специализации производства достигается рост производительности труда путем снижения трудоемкости по двум категориям затрат времени.
1. Оперативного времени (на выполнение технологических операций).
2. Подготовительного времени (на ознакомление с порученной работой, на подготовку оборудования к работе, обслуживание рабочего места).
Снижение затрат оперативного времени может достигаться путём повышения квалификации, высокой организации труда на рабочем месте, используя высокопроизводительного оборудования, инструмента.
Сокращение подготовительного времени достигается за счёт оптимального расположения средств труда относительно объекта, сокращение номенклатуры оборудования.
4.3 Документооборот
Составляется 3 основных документа:
1 - это договор в двух экземпляров: один отдаётся на руки клиенту, а другой остаётся на станции.
2- квитанция об оплате. Она выдаётся на руки заказчику (сумма оплаты за услугу).
3- лист ремонта. В этом документе фиксируется наименование работ текущего ремонта, время выполнения, фамилии исполнителя, подписи ответственных за выполненную работу.
При поступлении автомобиля с требованием на ремонт, механик КТП совместно с владельцем заполняет лицевую сторону ремонтного листка, занося в неё описание внешних проявлений неисправностей (неформализованная информация), реквизиты автомобиля – гаражный номер, модель, тип кузова, цикл эксплуатации, пробег. Эта информация носит формализованный характер, для её занесения в документ используются специальные шифры. Затем в ремонтный лист заносится время и дата его оформления и табельные номера (шифр) работников, заполнявших его и их подписи. Дальнейшее оформление производится персоналом ИТС по мере принятия решения (определение необходимых ремонтно-регулировочных операций) и выполнения работ (отметки об агрегатах, узлах и деталях, снятых для замены и ремонта и о выданных запчастях и фактически выполненных работах). По завершении работ, указанных в заявке, автомобиль предъявляется владельцу или его представителю, который контролирует полноту и качество выполненных работ, проставляет подпись. Результаты обработки ремонтных листов систематизируются, и с различным уровнем обобщения докладываются руководителям АТП.
4.4 Планировочное решение для принятой системы массового обслуживания
Задача планировки производственных помещений цехов или постов заключается в обеспечении удобного в технологическом и производственном отношениях размещения оборудования на площади поста или цеха.
Указанные требования, в основном, сводятся к следующему:
1. соблюдение правильной ориентации относительно источника естественного освещения;
2. обеспечение удобства подхода к станку, работы на нём и подачи материала к нему при полной безопасности;
3. соблюдение необходимой ширины проходов между расставленным оборудованием. Исходя из вышеперечисленных требований, я спроектировал пост замены рессор автомобиля ЗИЛ.
Площадь помещения рассчитал по формуле:
, (57)
где
- площадь, занимаемая автомобилем в плане;
- количество постов;
- коэффициент, учитывающий проходы и расстановку оборудования,
=4…5.
м2
Планировочное решение для принятой системы массового обслуживания представлено далее.
- верстак слесарный
-шкаф для приборов и инструмента
-пост слесаря авторемонтника
-ящик с песком и контейнер для мусора
-передвижной пост для обслуживания электрооборудования
Литература
автомобиль восстановление неисправность технологический
1.Крамаренко Г.В. Техническое обслуживание автомобилей. – М.: Транспорт, 1968. – 400 с.
2.Кузнецов Е.С. Техническая эксплуатация автомобилей. – М.: Транспорт, 1991
3.Руководство по текущему ремонту автомобиля ЗИЛ-4331(Постовые работы).
4.Часть II. - Типография ХОЗУ Минлеспрома СССР, 1989.
Похожие рефераты:
Оборудование летательных аппаратов
Организация поста технического обслуживания и ремонта карбюраторов двигателей легковых автомобилей
Развитие сервисного обслуживания автомобилей
Исследование особенностей технической эксплуатации ходовой части автомобилей "Toyota"
Организация перевозок и управление на транспорте
Проектирование участка технического обслуживания подвижного состава ОАО "Павловский Машзавод"
Билеты на государственный аттестационный экзамен по специальности Информационные Системы
Совершенствование организации ТО подвижного состава транспортного цеха
Проект автотранспортного парка для техобслуживания автомобилей
Разработка технологии и процесса ремонта двигателей автомобиля КамАЗ 5320 на АТП
Обеспечение безопасности автотранспортных средств при автосервисном обслуживании


