| Похожие рефераты | Скачать .docx |
Реферат: Схема автоматического регулирования котельной установки
| Министерство образования Российской Федерации | |
| Белгородский государственный университет | |
| Реферат | |
| по теплотехнике | |
| на тему: «Схема автоматического регулирования котельной установки» | |
| Выполнил: | |
| Руководитель: | |
| Белгород 2000 | |
План работы
Введение_ 3
Понятие о котельной установке_ 4
Автоматическое регулирование котельных установок_ 7
Заключение_ 9
Список литературы_ 10
Введение
В современном мире трудно представить себе жизнь без использования топлива, причем не в первобытном смысле – путем сжигания и только, а с максимальным использованием его теплового потенциала. Имеется ввиду использование теплоты сгорания топлива для ведения технологических процессов а также в энергетических установках непосредственно или путем передачи ее с помощью промежуточного теплоносителя. Самые распространенные теплоносители – водяной пар и вода.
Водяной пар используют для отопления промысловых и жилых зданий и сооружений, для производства электроэнергии, вместе с горячей водой нагнетают в пласты при добыче нефти для увеличения нефтеотдачи месторождений, разогрева эксплутационных скважин, в паровых турбинах и машинах и т.д.
Можно долго перечислять сферы применения водяного пара, но в нашей работе стоит цель разобраться как получить промышленные количества водяного пара, как работает котельная установка, как происходит автоматическое регулирование котельных установок.
Понятие о котельной установке
Водяной пар соответствующего давления и температуры (или горячую воду заданной температуры) получают в котельной установке, представляющей собой совокупность устройств и механизмов для сжигания топлива и получения пара. Котельная установка состоит из одного или нескольких рабочих и резервных котельных агрегатов и вспомогательного оборудования, размещаемого в пределах котельного цеха или вне его. Общее представление о рабочем процессе котельного агрегата на жидком или газообразном топливе дает схема котельного агрегата с основными и вспомогательными устройствами.

Рисунок 1. Схема котельного агрегата
Жидкое или газообразное топливо по топливопроводам котельной 1 и котельного агрегата 2 подается в мазутные форсунки или газовые горелки 4 и по мере выхода из них сгорает в виде факела в топочной камере.
Стены топочной камеры покрыты трубами 5, называемыми топочными экранами. В результате непрерывного горения топлива в топочной камере образуются нагретые до высокой температуры газообразные продукты сгорания. Продукты сгорания снаружи омывают экранные трубы и излучением (радиацией) и частично конвективным путем передают теплоту воде и пароводяной смеси, циркулирующим внутри этих труб.
Продукты сгорания, охлажденные в топке до температуры 1000-1200°С, непрерывно двигаясь по газоходам котельного агрегата, омывают вначале разреженный пучок кипятильных труб 7, затем трубы пароперегревателя 9, экономайзера 12 и воздухоподогревателя 14, охлаждаются до температуры 150-200°С и дымососом 16 через дымовую трубу 17 удаляются в атмосферу.
Движение воздуха и продуктов сгорания по газоходам котельного агрегата обеспечивается тяго-дутьевой установкой (вентилятор 15, дымосос 16 и дымовая труба 17).
Питательная вода (конденсат и добавочная предварительно подготовленная вода) после подогрева питательным насосом подается в коллектор 13 водяного экономайзера 12. В экономайзере вода нагревается до температуры, близкой к температуре кипения при давлении в барабане котла, а иногда частично испаряется в экономайзерах кипящего типа и направляется в барабан 8 котла, к которому присоединены трубы топочных экранов 5 и фестона 7. Из этих труб в барабан котла поступает образовавшаяся пароводяная смесь. В барабане происходит отделение (сепарация) пара от воды. Насыщенный пар затем направляется в сборный коллектор 11 и пароперегреватель 9, где он перегревается до заданной температуры. Перегретый пар из змеевиков пароперегревателя поступает в сборный коллектор 10. Отсюда он через главный запорный вентиль по паропроводу котельного агрегата 18 направляется в главный паропровод 19 котельной к потребителям. Отделившаяся от пара в барабане котла вода смешивается с питательной водой, по необогреваемым опускным трубам подводится к коллекторам 6 экранов и из них поступает в подъемные экранные трубы 5 и фестон 7, где частично испаряется образуя пароводяную смесь. Полученная пароводяная смесь снова поступает в барабан котла.
Последний элемент котельного агрегата по ходу газообразных продуктов сгорания – воздухоподогреватель 14. Воздух в него подается дутьевым вентилятором 15, и после подогрева до заданной температуры по воздухопроводу 3 направляется в топку.
Управление рабочим процессом котельных агрегатов, нормальная и бесперебойная их эксплуатация обеспечиваются необходимыми контрольно-измерительными приборами, аппаратурой и средствами автоматики.
Необходимость в тех или иных вспомогательных устройствах и их элементах зависит от назначения котельной установки, вида топлива и способа его сжигания. Основными параметрами котлов являются: паропроизводительность, давление и температура питательной воды, КПД.
Автоматическое регулирование котельных установок
Система автоматического регулирования котельных установок обеспечивает изменение производительности установки при сохранении заданных параметров (давления и температуры пара) и максимального КПД установки. Кроме того, повышает безопасность, надежность и экономичность работы котла, сокращает количество обслуживающего персонала и облегчает условия его труда. Автоматическое регулирование котла включает регулирование подачи воды, температуры перегретого пара и процесса горения. При регулировании питания котла обеспечивается соответствие между расходами воды, подаваемой в котел, и вырабатываемого пара, что характеризуется постоянством уровня воды в барабане.
Регулирование питания котлов малой производительности обычно осуществляется одноимпульсными регуляторами, управляемыми датчиками изменения уровня воды в барабане. В котлах средней и большой паропроизводительности с малым водяным объемом применяются двухимпульсные регуляторы питания котла по уровню воды и расходу пара, а также трехимпульсные. Управляющие питанием котла по уровню воды, расходу пара и перепаду давлений на регулирующем клапане.
Регулирование температуры пара осуществляется регулятором, управляемым датчиками изменения температуры перегретого пара на выходе из пароперегревателя, изменения температуры пара в промежуточном коллекторе пароперегревателя и изменения температуры газов в газоходе пароперегревателя, а иногда еще датчиком изменения давления пара.
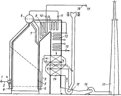
Регулирование процесса горения в топке котла (в соответствии с расходом пара) осуществляется регуляторами подачи топлива II, воздуха III и регулятором тяги IV (см. рис 3.22). Регуляторы подачи топлива II и воздуха III управляются датчиком изменения давления перегретого пара I, а регулятор тяги IV – датчиком изменения разрежения в топке 7 котла.

Рисунок 2. Схема автоматического регулирования котельной установки
1 — бункер угля; 2 — шаровая мельница; 3 — сепаратор; 4 — циклон; 5 — бункер пыли: 6 — мельничный вентилятор; 7 — топка котла; |
8 — барабан котла; 9 — пароперегреватель; 10 — пароохладитель; 11 — экономайзер; 12 — воздухоподогреватель; 13 — вентилятор; 14 — дымосос; |
I — датчик измерения давления перегретого пара: II — регулятор топлива; III — регулятор воздуха; IV — регулятор тяги; V — регулятор загрузки мельницы; VI — регулятор температуры мельницы. |
В котельных установках, работающих на пылевидном топливе, осуществляется также регулирование работы пылеприготовительной системы регулятором V загрузки мельниц, обеспечивающим постоянство загрузки шаровых барабанных мельниц и регулятором VI температуры пылевоздушной смеси за мельницей.
Для предупреждения персонала о недопустимости отклонения важнейших параметров котельной установки от заданных служат звуковые и световые сигнализаторы предельных уровней воды в барабане, предельных температур перегретого пара и низшего давления питательной воды. Для обеспечения правильной последовательности операций при пуске и остановке механизмов применяется блокировка. Так, при аварийном отключении дымососов отключаются дутьевые вентиляторы и прекращается подача топлива в топку.
Заключение
Работа котельных установок должна быть надежной, экономичной и безопасной для обслуживающего персонала. Для выполнения этих требований котельные установки эксплуатируются в соответствии с правилами устройства и безопасной эксплуатации паровых котлов и рабочими инструкциями, составленными на основе правил Госгортехнадзора с учетом местных условий и особенностей оборудования.
Котел должен быть оборудован необходимым количеством контрольно-измерительных приборов, автоматической системой регулирования важнейших параметров котла, защитными устройствами, блокировкой и сигнализацией. Режимы работы котла должны соответствовать режимной карте, в которой указываются рекомендуемые технологические и экономические показатели его работы: параметры пара и питательной воды, содержание RO2 в газах, температура и разрежение по газовому тракту, коэффициент избытка воздуха и т.п. Большинство современных котельных установок полностью автоматизированы.
При нарушении нормальной работы котла в следствие неисправностей, которые могут привести к аварии, он должен быть немедленно остановлен. Капитальный ремонт котлов производится через каждые два-три года. Котел периодически подвергается техническому освидетельствованию по трем видам:
- наружный осмотр (не реже одного раза в год);
- внутренний осмотр (не реже одного раза в четыре года);
- гидравлическое испытание (не реже одного раза в восемь лет).
Список литературы
1. Кириллин В.А. и др. Техническая термодинамика: Учебник для вузов.- 4-е изд., перераб.- М.: Энергоатомиздат, 1983.
2. Поршаков Б.П., Романов Б.А. Основы термодинамики и теплотехники.- М.: Недра, 1988.
3. Тепловые схемы котлов /А.А,Паршин, В.В.Митор, А.Н. Безгрешников и др.- М.: Недра, 1987.
4. Теплотехника /под ред. В.И. Крутова.- М.: Машиностроение, 1986
5. Теплоэнергетика и теплотехника. Общие вопросы (справочник).- М.: Энергия, 1980.
Похожие рефераты:
Диплом - Проектирование котельной
Система тепло- и энергоснабжения промышленного предприятия
Перевод на природный газ котла ДКВР 20/13 котельной Речицкого пивзавода
Система автоматизации на котлоагрегатах
Проектирование диспетчерского центра котельных установок
Технология работы производственной котельной
Автоматизация котельной установки
Индивидуальное задание по изучению оборудования и процессов теплоэнергетических установок
Получение и использование электрической энергии
Описание технологического процесса систем тепловодоснабжения