| Похожие рефераты | Скачать .docx |
Курсовая работа: Насосная станция
Кафедра "Гидротехническое и энергетическое строительство"
Курсовой проект:
" Насосная станция"
Выполнил:
Руководитель:
Минск 2008
Введение
1. Обоснование схемы гидроузла машинного водоподъема
2. Определение расчетных напора и подачи насосов и выбор числа насосных агрегатов
2.1 Определение расчетного напора
2.2 Определение расчетной подачи и числа устанавливаемых агрегатов
3. Выбор насосов и приводных электродвигателей
3.1 Выбор основного насоса
3.2 Выбор электродвигателя
4. Проектирование всасывающих и напорных трубопроводов
4.1 Проектирование всасывающих трубопроводов
4.2 Проектирование напорных трубопроводов
4.2.1 Внутристанционные напорные трубопроводы
4.2.2 Внешние напорные трубопроводы
5. Составление графической характеристики совместной работы насосов и трубопроводов
6. Подбор вспомогательного оборудования
6.1. Сороудерживающие устройства
6.2. Затворы
6.3. Подъемно-транспортное оборудование
6.4. Дренажно-осушительная система
6.5. Система технического водоснабжения
6.6. Система маслоснабжения и пневматическое хозяйство
7. Конструктивно-компоновочные решения зданий насосной станции, водозаборных сооружений и их параметры
7.1. Выбор типа здания станции
7.2. Определение высотного положения основных насосных агрегатов
7.3. Определение основных размеров здания насосной станции
7.3.1 Определение высоты подземной части здания
7.3.2 Плановая компоновка и размеры насосного помещения здания станции
7.3.3 Верхнее строение здания станции
7.4 Проектирование водозаборного сооружения
Литература
Введение
Задача данного курсового проекта - составление и расчетное обоснование проекта насосной станции.
Насосными станциями называют комплексы гидротехнических сооружений и оборудования, обеспечивающие забор воды из источника, транспортировку и подъем ее к месту потребления.
Состав сооружений насосных станций, их взаимное расположение и конструктивное исполнение зависят от множества факторов: назначения, подачи и напоров, природных условий (рельеф местности, колебание уровней воды в верхнем и в нижнем бьефах, объем твердого стока, инженерно-геологические и гидрогеологические условия), наличия местных строительных материалов, технического оснащения строительной организации и др.
1. Обоснование схемы гидроузла машинного водоподъема
Компоновка сооружений насосной станции при минимальной стоимости и площади застройки должна обеспечивать наиболее благоприятные условия их эксплуатации.
В состав насосной станции входят следующие сооружения: подводящий канал, здание насосной станции блочного типа (совмещенное с водозаборным сооружением открытого типа) и машинный канал. Водозаборное сооружение - берегового типа.
Проектируемая насосная станция предназначена для орошения (работающая на машинный канал). Максимальная подача станции - 14,7 м3 /с.
Грунт основания в районе строительства - супесь.
Береговой водозабор, совмещенный со зданием насосной станции, применяется в крупных водозаборах (Q >10м3 /с) и при использовании насосов устанавливаемых под залив. Здание станции располагается на некотором удалении от берега в конце подводящего канала.
2. Определение расчетных напора и подачи насосов и выбор числа насосных агрегатов
2.1 Определение расчетного напора
Расчетный напор насоса:
(2.1)
Геодезическая высота подъема - при значительных колебаниях уровней воды в бьефах используется средневзвешенная геодезическая высота подъема
(2.2)
Расчеты по определению средневзвешенной геодезической высоты подъема удобно вести в табличной форме.
Таблица 2.1
Определение средневзвешенной геодезической высоты подъема.
| Период работы насосной станции | Число суток в периоде ti , сут. |
Расход НС QI , м3 /с |
Отметка уровня воды, м | Геодезический напор Hг i , м |
Qi Hг i ti | Qi ti | |
| ВБ | НБ | ||||||
| 4 | 30 | 4,85 | 240,95 | 206 | 34,95 | 5086,27 | 145,53 |
| 5 | 31 | 10,29 | 241,56 | 206 | 35,56 | 11343,28 | 318,99 |
| 6 | 30 | 10,29 | 241,56 | 204,8 | 36,76 | 11347,81 | 308,7 |
| 7 | 31 | 14,7 | 241,98 | 204 | 37,88 | 17261,92 | 455,7 |
| 8 | 31 | 14,7 | 241,98 | 203,8 | 38,08 | 17353,06 | 455,7 |
| 9 | 30 | 9,555 | 241,49 | 205 | 36,49 | 10459,86 | 286,65 |
| Σ | 72852,2 | 1971,27 | |||||
![]()

Отметки уровня воды в верхнем бьефе рассчитывают по глубине наполнения машинного канала в зависимости от пропускаемого расхода по кривой связи
.
|
(2.3)
i=3м/км - удельное сопротивление по длине трубопровода, l=0,29км - длина напорного трубопровода.,
- запас напора.
![]()
2.2 Определение расчетной подачи и числа устанавливаемых агрегатов
Расчетная подача насоса
определяется максимальной подачей насосной станции
и принятым числом насосных агрегатов.
(2.4)
Число рабочих насосных агрегатов определяется как отношение максимального и минимального расходов из графика водопотребления.
(2.5) ![]()
Резервные насосы предназначены для замены основных в случае выхода их из строя. На насосных станциях II категории надежности водоподачи устанавливается 1 резервный насосный агрегат при числе основных 1 - 8.
Число установленных агрегатов:
(2.6)
- число рабочих агрегатов;
3. Выбор насосов и приводных электродвигателей
3.1 Выбор основного насоса

Рисунок 3.1. Сводный график рабочих полей насосов типа В
Выбор основного насоса ведется по расчетному напору и расчетному расходу по сводным графикам полей насосов соответствующих типов. На сводный график наносится точка А с расчетными координатами Нр =40,33 м. и Qр =4,9 м3 /с. Точка А попала в зону насоса марки 1200В - 6,3/40 n=375 об/мин.

Рисунок 3.2. Рабочая характеристика насоса 1200В-6,3/40
Имея тип и марку насоса, по каталогу находят рабочую характеристику насоса. На характеристику насоса наносят точку В с координатами Нр =40,33 м. и Qр =4,9 м3 /с, которая при правильно подобранном насосе должна находиться на кривой H- Q или несколько ниже нее в пределах рабочей области. Если величины расчетного напора Нр =40,33 м и напора Н=43 м, снятого с кривой H - Q при расчетном расходе Qр =4,9 м3 /с, отличаются не более чем на 5 - 10%, насос считается подобранным.
![]()
3.2 Выбор электродвигателя
Требуемая мощность электродвигателя определяется по максимально возможной подаче насоса Qн =4,9 м3 /с, и соответствующему ей напору Нн =40,33 м.
(3.1)
К - коэффициент запаса, учитывающий возможность перегрузки двигателя (в первом приближении К=1).
ηн - КПД насоса в долях единицы, снимаемый с характеристики насоса для Qн .
![]()
![]()
Таблица 3.1
Зависимость коэффициента запаса от мощности двигателя.
| Мощность двигателя, кВТ | до 20 | 21 - 50 | 51 - 300 | более 300 |
| Коэффициент запаса К | 1,25 | 1,2 | 1,15 | 1,1 |

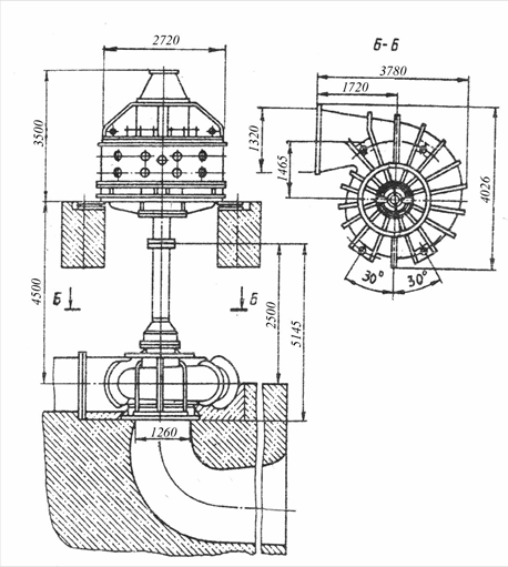
Рисунок 3.3. Схема насосного агрегата
По расчетной мощности двигателя и частоте вращения по каталогу подбирается марка электродвигателя: ВСДН-17-49-16.
4. Проектирование всасывающих и напорных трубопроводов
4.1 Проектирование всасывающих трубопроводов
При использовании на насосной станции мощных (Q > 2 м3 /с) вертикальных центробежных насосов подвод воды к ним осуществляется с помощью изогнутых всасывающих труб с давлением в них всегда выше атмосферного. Они выполняются в монолитном железобетоне в зданиях блочного типа. Число всасывающих труб равно числу установленных насосных агрегатов.

Рисунок 4.1. Всасывающая труба насоса с коленчатым подводом
Форма и размеры таких труб устанавливаются заводом изготовителем и зависят от диаметра входного патрубка.
4.2 Проектирование напорных трубопроводов
4.2.1 Внутристанционные напорные трубопроводы
Напорные трубопроводы в пределах здания станции служат для подачи воды от насосов к внешним напорным водоводам и включают в себя напорные линии насосов и соединительные трубопроводы. Для обеспечения отключения насосов от внешнего напорного трубопровода они оборудуются дисковыми затворами.
Диаметры напорных линий Dн внутри здания станции назначают по скоростям движения воды в них: при Dн > 800мм Vн = 1,8…3,0 м/с.
(4.1)
Так как значение Dн больше диаметра напорного патрубка насоса dн =1,32м, переходы выполняют в виде диффузоров длиной
(4.2)
4.2.2 Внешние напорные трубопроводы
Напорные трубопроводы служат для транспортировки воды к водовыпускным сооружениям. Трубопровод состоит из двух ниток, расстояние в свету между ними 2м для исключения подмыва при аварии.
Так как на насосной станции установлены насосы с идентичными характеристиками, график водоподачи ступенчатый и количество насосов подключенных к каждой нитке одинаковое расчетный расход этой нитки:
(4.3)
- условный постоянный расход, который проходя по напорным трубопроводам, вызывает такие потери энергии, какие вызвал бы фактический переменный расход, проходя по тем же трубопроводам за тот же период времени; n- число ниток напорного трубопровода; t- продолжительность периода, сут.
Для графика водоподачи и схемы соединения напорных трубопроводов с насосами, приведенных на рисунке эта формула будет иметь вид:
![]()

Рисунок 4.2. Схема соединения напорных трубопроводов с насосами
Для определенного
определяется диаметр напорного водовода:
(4.4)
5. Составление графической характеристики совместной работы насосов и трубопроводов
Порядок построения графической характеристики системы "насосы - трубопроводы" при параллельной работе следующий:
![]() |
Составляется схема соединений внутри насосной станции.
Рисунок 5.1. Технологическая схема насосной станции: 1 – вход в трубу плавный; 2 – переход сужающийся; 3 – колено; 4 – переход сужающийся; 5 – переход расширяющийся; 6 – задвижка; 7 – труба 8 – колено; 9 – тройник; 10 – напорные водоводы.
Определяются внутристанционные потери по формуле:
(5.1)
Где
- потери напора по длине всасывающего и напорного внутристанционного трубопроводов соответственно, которыми можно пренебречь;
- потери напора в местных сопротивлениях соответственно во всасывающем и в напорном внутристанционном трубопроводах.
Для технологической схемы насосной станции с насосами типа "В" и коленчатым подводом потери напора в местных сопротивлениях во всасывающем трубопроводе включают: потери на входе в трубу 1, в переходе сужающемся 2, 4, в колене 3.
(5.2)
- скорости соответственно на входе в трубу, в колене и в переходе сужающемся, м/с:
![]()
![]()
![]()
![]()
Потери напора в местных сопротивлениях в напорном внутристанционном трубопроводе определяются с учетом потерь напора в переходе расширяющемся 5, в дисковом затворе 6, колене 8 и тройнике присоединения к магистрали 9:
(5.3)
- скорости соответственно в переходе расширяющемся, в дисковом затворе, в колене и в ответвлении тройника, м/с.
![]()
![]()
![]()
![]()
Определяется удельное сопротивление внутристанционной линии:
(5.4)
Строится кривая внутристанционных потерь Q- Нвн. ст :
(5.5)
Определение координат кривой внутристанционных потерь удобно вести в табличной форме:
Таблица 5.1. Определение координат кривой внутристанционных потерь.
| Q, м3 /с | 0 | 1 | 2 | 3 | 4 | 5 | 6 |
| 0 | 0,044 | 0,176 | 0,396 | 0,704 | 1,1 | 1,584 |
Строится характеристика напорного трубопровода Q- Нтр1,2 :
(5.6)
к - коэффициент, учитывающий местные потери в напорном водоводе, равен 1,1; S0 =0,0001437 с2 /м5 - удельное сопротивление водовода (зависит от его диаметра); l = 290 м - длина водовода.
Определение координат кривой характеристики сопротивления одного напорного водовода удобно вести в табличной форме:
Таблица 5.2. Определение координат кривой характеристики сопротивления одного напорного водовода.
| Q, м3 /с | 0 | 1 | 2 | 3 | 4 | 5 | 6 | 7 | 8 | 9 | 10 | 11 | 12 | 13 | 14 | 15 |
| 0 | 0,04 | 0,18 | 0,41 | 0,73 | 1,14 | 1,65 | 2,24 | 2,93 | 3,71 | 4,58 | 5,54 | 6,60 | 7,74 | 8,98 | 10,3 |
Для построения этой кривой откладывается определенная ранее средневзвешенная геодезическая высота подъема (Нгср +ΔН - для станций работающих на излив) и проводится линия параллельная оси абсцисс.
Суммарная характеристика обоих водоводов строится путем сложения расходов в водоводах при постоянном напоре.
Наносится паспортная характеристика насоса Q- Н1,2,3 , строятся характеристики двух и трех параллельно работающих насосов Q- Н1+2 и Q- Н1+2+3 .
Отложив на шкале расходов заданную производительность насосной станции Qнст и поднявшись до пересечения с кривой Q- Нтр1+2 - получим точку А с координатами (Qнст ; Н1 ). Н1 - напор необходимый в начале водовода при расчетной производительности Qнст .
Далее строится точка В с координатами (Qн ; Н1 ). Qн - подача одного насоса.
В точке В к напору Н1 прибавляется величина внутристанционных потерь, соответствующих расходу одного насоса. Получается точка С, соответствующая значению полного напора насоса при максимальной производительности насосной станции.
Так как точка С не попадает на паспортную характеристику насоса, то производится обточка рабочего колеса насоса.
Изменение положения характеристики насоса обточкой рабочего колеса производится в следующей последовательности:
Строится парабола подобных режимов:
k
- параметр параболы, который находится из условия прохождения ее через точку С т.е.
(5.7)
Находятся параметры точки Е пересечения параболы с паспортной характеристикой насоса при нормальном диаметре рабочего колеса (QЕ ; НЕ ).
Таблица 5.3. Координаты параболы подобных режимов.
| Q, м3 /с | 0 | 1 | 2 | 3 | 4 | 5 | 6 |
| H, м | 0 | 1,72 | 6,88 | 15,48 | 27,52 | 43 | 61,92 |
Определяется коэффициент быстроходности насоса
(5.8)
Qн , Нн - расход и напор насоса при максимальном КПД.
Определяется диаметр рабочего колеса:
(5.9)
Процент обточки
(5.10)
при ns =199,83
Через точку С строим характеристику насоса с обточенным рабочим колесом.
(5.11)
(5.12)
Таблица 5.4. Результаты пересчета характеристики насоса при обточке рабочего колеса.
| Точки | Параметры насоса | |||
| При D =1610 мм | При Dобт =1578 мм | |||
| Q, м3 /с | Н, м | Q, м3 /с | Н, м | |
| 0 | 0,5 | 50 | 0,4900621 | 48,032175 |
| 1 | 1 | 48 | 0,9801242 | 46,110888 |
| 2 | 2 | 46 | 1,9602484 | 44,189601 |
| 3 | 3 | 45,5 | 2,9403727 | 43,709279 |
| 4 | 4 | 44,7 | 3,9204969 | 42,940764 |
| 5 | 5 | 43 | 4,9006211 | 41,30767 |
| 6 | 6 | 41 | 5,8807453 | 39,386383 |
Строится приведенная характеристика насоса, проходящая через точку В. Для этого от ординат кривой Qобт - Нобт 1,2,3 отнимаются потери hвн. ст .
Строятся приведенные кривые совместной работы параллельно включенных насосов.
Определяются величины подач и напоров при индивидуальной и параллельной работе насосов на один и два водовода.
Таблица 5.2. Величины подач и напоров при индивидуальной и параллельной работе насосов на один и два водовода.
| № | Режим работы | Н, м | Q, м3 /с |
| 1 | Индивидуальная работа на один водовод | 39,3 | 5,4 |
| 2 | Индивидуальная работа на два водовода | 38,4 | 5,8 |
| 3 | Параллельная работа двух насосов на один водовод | 41,5 | 8,75 |
| 4 | Параллельная работа трех насосов на один водовод | 42,8 | 10,2 |
| 5 | Параллельная работа двух насосов на два водовода | 39,3 | 10,75 |
| 6 | Параллельная работа трех насосов на два водовода | 40,4 | 14,7 |
6. Подбор вспомогательного оборудования
Вспомогательное оборудование включает в себя механическое оборудование и обслуживающие станцию системы и хозяйства: дренажно-осушительная система; системы технического водоснабжения и маслоснабжения; пневматическое хозяйство.
6.1. Сороудерживающие устройства
Устраиваются в виде поверхностных съемных вертикальных сороудерживающих решеток на всех водоприемных отверстиях основных насосов. Служат для предотвращения попадания в водоприемные отверстия сора и плавающих тел, а в отдельных случаях и рыбы.
Решетки систематически очищаются с помощью специальных решеткоочистительных устройств.
6.2. Затворы
Основные или рабочие затворы - служат для оперативного регулирования расходов и уровней воды, поднимаются и опускаются в текущей воде, т.е. под напором.
Ремонтные затворы - используются для временного перекрытия входных отверстий при ремонтах и осмотрах основных затворов, а также насосов и другого оборудования станции в целом.
6.3. Подъемно-транспортное оборудование
Это оборудование необходимо для монтажа, ремонта и демонтажа насосных агрегатов, другого оборудования станции.
Его грузоподъемность определяется массой наиболее тяжелой монтажной единицы умноженной на коэффициент запаса к=1,1…1,15. Масса деталей принимается в пределах до 60% от общей массы насоса или приводного электродвигателя.
Насос марки 1200В - 6,3/40 имеет массу 35 тонн, значит масса самой тяжелой детали составляет 21 тонну.
По каталогу подбирается мостовой электрический кран грузоподъемностью 30 тонн.
6.4. Дренажно-осушительная система
Дренажно-осушительная система необходима для удаления дренажной воды из подземной части здания и для откачивания воды из проточных трактов станции.
Дренажно-осушительная система включает в себя дренажные насосные установки для откачки профильтровавшейся воды в помещение агрегатной части здания станции и систему осушения или опорожнения станции.
Для насосных станций с подачей свыше 10 м3 /с подача дренажных насосов назначается Qд =10л/с.
Суммарная подача насосов системы опорожнения
(6.1)
W=35 м3 - суммарный объем воды, находящийся во всасывающей трубе и в камере осушаемого насоса при максимальном УНБ; t=5 ч - время откачки; q=1 л/с=3,6 м3 /ч.
Так как удаление дренажной воды из подземных помещений ведется периодически, в дренажно-осушительной системе устраиваются только два рабочих насоса.
6.5. Система технического водоснабжения
Предназначена для подачи технически чистой воды к устройствам насосных агрегатов, к сальниковым уплотнениям. Источник водопитания - нижний бьеф.
Подача на каждый насосный агрегат - 1 л/с, при напоре - 50 м.
В системе технического водоснабжения используют центробежные насосы консольного типа "К" - один рабочий и один резервный.
6.6. Система маслоснабжения и пневматическое хозяйство
Система маслоснабжения необходима для обеспечения маслами масляных ванн и подшипников электродвигателей, насосов, трансформаторов и других маслонаполненных электроаппаратов. Насосы подбираются из условия заполнения емкости вместимостью до 20 тонн за 2 часа, а больших емкостей не более чем за 4 часа.
Пневматическое хозяйство служит для обеспечения сжатым воздухом станции, т.е. для питания устройств очистки сороудерживающих решеток и обдувки обмоток электродвигателей, котлов маслонапорных установок, торможения агрегатов, а также для снабжения аппаратуры контроля, пневмоинструментов.
7. Конструктивно-компоновочные решения зданий насосной станции, водозаборных сооружений и их параметры
7.1. Выбор типа здания станции
Так как забор воды ведется из реки с большим колебанием уровня воды в ней 2,2 м, большой отрицательной высоты всасывания насоса и подачей более 2м3 /с, принимается заглубленное здание станции блочного типа.
7.2. Определение высотного положения основных насосных агрегатов
Отметка оси насосов определяется алгебраической суммой расчетного (минимального) уровня воды в источнике и значения допустимой геометрической высоты всасывания насоса
:
ОН=
УВmin
+Нвс
доп
, м. (7.1),
(7.2)
Напор воды соответствующий атмосферному давлению на уровне установки насоса:
(7.3)
- упругость насыщенных паров жидкости,
=0,24м при t=20о
С;
=15,5м - допустимый кавитационный запас, снимается с характеристики насоса;
=0,144м - потери напора во всасывающей линии.
ОН=203,8 - 5,8 = 198м.
7.3. Определение основных размеров здания насосной станции
7.3.1 Определение высоты подземной части здания
Высота подземной части здания насосной станции заглубленного типа определяется по формуле:
(7.4)
=0,1Нст
=1,1м - толщина фундаментной плиты;
ФП=
ОН-hн
=198 - 2,75 = 195,25 (7.5) – отметка верха фундаментной плиты;
hн =2,75 - превышение оси рабочего колеса насоса над верхом фундаментной плиты;
(7.6) - максимально возможный напор воды на конструкцию в расчетном сечении;
- допустимая геометрическая высота всасывания;
(7.7) - амплитуда колебаний уровня воды в водоисточнике;
- конструктивный запас.
![]()
7.3.2 Плановая компоновка и размеры насосного помещения здания станции
Насосные агрегаты располагаются в один ряд вдоль водоприемного фронта.
Ширина агрегатного блока принимается равной:
(7.8)
- толщина стены насосного помещения станции;
а1 =1,52м - монтажный проход;
bНА =3,78м - поперечный размер насосного агрегата;
lком =6м - длина участка внутристанционных коммуникаций;
а2 =0,5м - монтажное удаление коммуникаций от стены помещения.
Расстояние между осями агрегатов, т.е. длина агрегатного блока определяется условиями размещения насосных агрегатов и обеспечением монтажно-эксплуатационных проходов:
(7.9)
lНА =4,026м - габарит насосного агрегата в продольном направлении;
а3 =1,474м - монтажный проход между агрегатами.
Длина всего здания станции определяется проходами между торцевыми стенками и агрегатами, продольным размером самих агрегатов, их числом, расстоянием между ними, а также длиной монтажной площадки:
(7.10)
- длина монтажной площадки;
а4 =1м - проход между торцом оборудования и стеной;
n- число основных агрегатов.
7.3.3 Верхнее строение здания станции
Верхнее строение служит для размещения подъемно-транспортного оборудования, электродвигателей насосных агрегатов. Эта часть здания состоит из электромашзала с монтажной площадкой и примыкающих к нему пристроек для электротехнического оборудования, а также служебных, административных и бытовых помещений.
Конструктивно верхнее строение оформляется в виде промышленного здания каркасного типа. Оно состоит из сборных железобетонных элементов - системы колонн, ферм и ригелей покрытия, подкрановых балок на консолях.
Стены каркасных строений не несущие и выполняются из сборных стеновых панелей из легких бетонов толщиной 200 мм.
Верхнее строение насосной станции, оборудованной мостовым краном, имеет высоту:
(7.11)
hкр =3,15м - габарит кранового оборудования; hст =1м - высота строповки груза; 0,1 - минимальное расстояние от низа перекрытия до верха балки крана; hгр =3,5м - высота самой крупной транспортируемой детали; 0,5 - минимальный запас высоты от груза до установленного оборудования; hоб =3,5м - высота установленного оборудования.
Определенную высоту здания насосной станции (расстояние от уровня чистого пола до низа несущих конструкций покрытия на опоре) округляют до стандартного значения
. Пролет верхнего строения или ширина машзала также округляется до стандартного значения В=15м. Длина верхнего строения также, как и насосного помещения принимается кратной 6м
. Шаг колонн - 6м.
7.4 Проектирование водозаборного сооружения
Водозаборное сооружение открытого типа представляет собой открытые сверху камеры, разделенные бычками, между которыми устанавливаются затворы и сороудерживающие решетки. Ширину камеры принимают равной:
(7.12)
Длина камеры назначается конструктивно исходя их условия размещения служебных мостиков, сороудерживающих решеток, основных и ремонтных затворов
. Коэффициент секундного водообмена:
> 15сек. (7.13)
Глубина воды в камере при минимальном уровне воды 8,55м.
Служебные мостики устраиваются выше максимального уровня воды на 1м. Общая длина водоприемного фронта:
(7.14)
- толщина быка;
n- число камер.
Насосная станция оборудуется затворами пролетом 4,5м и высотой 11м, ширина паза 0,6м, глубина паза 0,3 м.
Сопряжение каналов с береговыми сооружениями станции обеспечивает аванкамера в виде симметрично расширяющейся (центральный угол конусности 35о ) и заглубляющейся концевой части канала (уклон дна i=0,4). Дно аванкамеры в плане представляет собой трапецию, меньшее основание которой b=6м, большее Вф =21м.
![]() |
Рисунок 7.1. Водозаборное сооружение открытого типа
Литература
1. Учебно-методическое пособие к курсовому проекту "Насосная станция" по дисциплине "Насосные станции" для студентов специальности Т. 19.04 - "Водохозяйственное строительство". Минск 2000
2. Насосы и насосные станции: Учебник / Под ред. В.Ф. Чебаевского. - М.: Агропромиздат, 1989. -416с.
3. Проектирование насосных станций и испытание насосных установок: Учеб. Пособие / Под ред. В.Ф. Чебаевского. -3-е изд., перераб. и доп. -М.: Колос, 1982. -320 с.
Похожие рефераты:
Пуск в работу питательного электронасоса после ремонта
Водоотведение поселка Песочное с доочисткой сточных вод
Южно-Ягунское нефтяное месторождение
Система водоотведения поселка с мясокомбинатом
Насосная станция второго подъема
Реконструкция котла - утилизатора КСТ-80
Усовершенствование системы водоподготовки производства этил-бензол-стирола

