| Похожие рефераты | Скачать .docx |
Курсовая работа: Дробилка молотковая
Министерство образования Республики Беларусь
Могилевский государственный технический университет
Кафедра “СДПТМиО”
Курсовой проект
по дисциплине: Строительно-дорожные машины
Дробилка молотковая
ДР-25.00.00.00
выполнил: ст. группы ПДМ -
_______________Холодцов В.И.
проверил:
_______________Белоусов Л.И.
2002
Содержание
Введение
1. Патентно-технический анализ
1.1 Анализ научно-технической информации
1.2 Патентный анализ
1.3 Обоснование принятых решений
2. Расчет основных параметров
2.1 Определение производительности
2.2 Определение мощности на привод дробилки
3. Расчеты на прочность
3.1 Расчет подшипников
3.2 Расчет сварных соединений
3.3 Расчет шпоночного соединения
4. Проведение расчетов на ЭВМ
5. Охрана труда и окружающей среды
5.1 Анализ и идентификация опасностей при работе дробилки
5.2 Технологические и организационные решений по устранению выявленных опасностей
5.3 Рекомендации по безопасной эксплуатации дробилки
Заключение
Список использованных источников
Приложение
В ведение
Для производства строительных материалов машиностроительные заводы выпускают самые разнообразные машины и оборудование, причем на ряду с созданием новых происходит непрерывное изменение и совершенствование существующих машин и общее увеличение объема их выпуска.
Большое внимание при создании новых машин и технологических линий отводится вопросам улучшения условий труда обслуживающего персонала, а именно механизации и автоматизации опасных и трудоемких процессов.
Колоссальные издержки, связанные с процессами измельчения, на современном уровне развития производства, вызывают острую необходимость разработки принципиально новых способов измельчения материалов, а также создания на их основе новых технологий и оборудования.
Дробильно-размольная техника прошла свой исторический путь развития, базируясь на достижениях современных ей наук. Это отражено в таких принципах измельчения, как шаровой, вибрационный, самоизмельчение, ударный, ударно-центробежный, струйный и другие.
Практически все существующие способы дезинтеграции осуществляются механическим путем. При этом энергетические потери огромны и избежать их можно только путем точечного или линейного силового воздействия.
Все перечисленные выше способы измельчения малоэффективны по многим показателям на современном уровне развития техники. Поэтому с целью увеличения производительности, снижения металлоемкости и материалоемкости, уменьшения капитальных затрат необходимо искать новые пути совершенствования оборудования для измельчения материалов.
1. Патентно-технический анализ
1.1 Анализ научно-технической информации
Молотковые дробилки применяются в основном для переработки каменных строительно-дорожных материалов. Но они нашли применение и в других отраслях народного хозяйства. Благодаря своим технико-экономическим параметрам они получают все большее распространение. Простота конструкции и легкость в эксплуатации, удобство профилактических и ремонтных работ выгодно отличают роторные дробилки от всех остальных.
Есть несколько принципов измельчения в роторных дробилках. В некоторых дробилках материал поступает в камеру дробления с помощью внешних питателей и разгоняется до большой скорости. Затем происходит удар материала об отбойник или специальную дробящую плиту. За счет этого происходит разрушение материала. В других дробилках разрушение происходит за счет удара о материал рабочего органа (била). Било разгоняется до скорости 30-50 м/с. При такой скорости происходит передача энергии в частицу материала, которая под этим воздействием разрушается.
1.2 Патентный анализ
Проведя анализ существующего дробильного оборудования можно сделать вывод, что самым распространенным его недостатком является высокая металлое мкость, низкая долговечность и износостойкость, а также невысокая производительность. Решать эти проблемы пробовали авторы некоторых патентов и авторских свидетельств. Рассмотрим авторское свидетельство / 1 /
Роторная дробилка используется в устройствах для дробления твердых полезных ископаемых и материалов в горнорудной, строительной, химической и других отраслях промышленности.
Дробилка включает цилиндрический корпус 1, установленный вертикально, загрузочную течку 2 с перфорированным коллектором 3 и колосниковой решеткой 4, бункер 5 для загрузки исходного продукта, разгрузочные течки. Соосно в корпусе 1 установлен лопастной ротор из отдельных лопастей 9 в виде плоских металлических пластин постоянной толщины и ширины, жестко закрепленных на втулке к цилиндрической ее поверхности и под углом a 50...60° к плоскости вращения. За лопастным ротором с зазором 17с возможностью возвратно-поступательного движения установлена колосниковая решетка 18.

Рисунок 1.1-Роторная дробилка
Цель изобретения - повышение производительности.
Указанная цель достигается тем, что в роторной дробилке, содержащей цилиндрический корпус, в котором соосно на вертикальном валу расположен лопастной ротор, бункер, загрузочная и разгрузочная течки, и привод, загрузочная течка снабжена колосниками и соединенными с источником жидкости под давлением перфорированным коллектором, при этом лопасти закреплены по винтовой линии под углом 50-60° к плоскости их вращения, а под ротором с возможностью возвратно-поступательного движения смонтирована колосниковая решетка.
Роторная дробилка включает цилиндрический корпус 1, установленный вертикально, загрузочную течку 2 с перфорированным коллектором 3 (с отверстиями о его поверхности), соединенным с источником жидкости под давлением и колосниковой решеткой 4, бункер 5 для загрузки исходного продукта, разгрузочные течки б шлама и мелких фракций, дробленого продукта 7, недробимого продукта (предмета) 8,
Соосно в корпусе 1 установлен лопастной ротор из отдельных лопастей 9 в виде металлических пластин постоянной толщины и ширины, жестко прикрепленных (например, сваркой) на втулке к цилиндрической ее поверхности и под углом а - 50...60° к плоскости вращения. Втулка крепится на валу 10 ротора шпонкой. Количество лопастей целесообразно применять от трех до шести в зависимости от диаметра корпуса и крупности исходного продукта. Вал 10 ротора посредством муфты или редуктора 11 соединен с приводом 12 и вращается в упорных подшипниках 13 и 14, расположенных соответственно в верхней и нижней частях устройства. Причем нижний упорный подшипник 14 установлен в подпятнике на раме 15 и прикрыт крышкой 16, жестко закрепленной на валу 10.
За лопастным ротором с зазором 17 установлена колосниковая решетка 18. Она снабжена направляющими 19, которые пропущены через кронштейны 20 и не допускают ее вращательного движения, позволяют фиксировать и перемещать решетку 18 в осевом направлении посредством механизма регулирования : пружины 21, шайбы 22 и гайки 23, регулируя тем величину кольцевого зазора 17. Эта величина устанавливается такой, при которой получают дробленый продукт заданной крупности, т.е. соблюдается условие прохождения материала через отверстия решетки 18 без переизмельчения.
Лопасти 9, колосники 4 загрузочной течки 2 и колосники решетки 18 изготавливаются из более твердой стали, например, легированной стали марки 60С2 или 45х с закалкой до твердости 350-400Нв.
На торцовой колосниковой решетке 18, так же как и на колосниковой решетке 4 загрузочной течки 2, контролируется и отделяется соответственно дробленый продукт и мелкая фракция, не требующие дробления. Их разгрузка после прохождения через решетки 18 и 4 осуществляется соответственно посредством разгрузочных течек 7 и 6. Дробление кускового материала происходит до определенной крупности, заданной зазором 17 между лопастями ротора и торцовой решетки 18, а также размером ее межколосникового отверстия.
При попадании в материал недробимого продукта (предмета) на решетку 18 сказывается превышающее силовое давление и под его воздействием она отходит вниз, сжимая пружину 21. Между решеткой 18 и корпусом 1 образуется кольцевая щель, в которую производится выброс порции материала вместе с недробимым продуктом (предметом) в загрузочную течку 8. Выброс порции материала и недробимого продукта обусловлен центробежными силами, взаимодействующими на эту порцию лопастным ротором. После выброса недробимого продукта (предмета) пружины 21 разжимается и по направляющим 19 решетка 18 принимает первоначальное положение, образуя с лопастью ротора заданный зазор 17.
В течке 7 часть дробленого продукта отводится вращающейся совместно с в алом 10 крышкой 16 от упорного подшипника 14, предохраняя его от забивания материалом.
Отмывка шлама и предварительный вывод из процесса дробления мелких фракций материала, минимальное его переизмельчение и вывод недробимого продукта (предмета) обеспечивает повышение качества дробленого продукта.
Патент /2/ описывает центробежную дробилку.
Использование: теплоэнергетика, при дроблении хрупких материалов. Центробежная дробилка включает корпус 1 и вертикальный вал 4 с диском 6, снабженным разгонными лопатками 7 и неподвижными дробящими элементами 9. На валу над диском установлен по крайней мере один дополнительный диск 10, выполненный аналогично основному. В дополнительных дисках выполнены отверстия 19, ограниченные в радиальном направлении обечайками 15, выступающими над поверхностью дополнительных дисков и размещенными с радиальным зазором от соответствующих неподвижных дробящих элементов. Со стороны противоположной направлению вращения ротора, выполнены дополнительные лопатки.

Рисунок 1.2- Центробежная дробилка
Изобретение относится к технике дробления хрупких материалов, например, угля, сланца и т.д. Цель изобретения - повышение производительности.
Цель достигается тем, что в центробежной дробилке, содержащей корпус, вертикальный вал на котором установлен диск с разгонными лопатками и размещенными над ними неподвижными дробящими элементами, концентрично закрепленными на корпусе и крышку с загрузочным патрубком, она снабжена, по крайней мере, одним дополнительным диском, который выполнен с выступающими над поверхностью и размещенными с радиальным зазором от соответствующих неподвижных дробящих элементов обечайками, а со стороны, противоположной направлению вращения ротора - полостями, между которыми выполнены отверстия. Для обеспечения надежности распределения материала по дискам обечайки выполнены в виде конусных участков, ось которых совпадает с осью ротора, а образующая наклонена к ней под углом 25-60°.
Внутри цилиндрического корпуса 1, на котором установлена крышка 2 с патрубком 3 подачи исходного материала, размещен вертикальный вал 4, закрепленный в подшипниках 5 и имеющий привод вращения (показан схематично). На валу 4 установлен диск 6, снабженный разгонными лопатками 7, периферийные части 8 которых размещены под неподвижными дробящими элементами-9, концентрично закрепленными на корпусе 1. Над диском 6 на валу 4 размещен дополнительный диск 10, снабженный разгонными лопатками 11, периферийные части 12 которых размещены под дополнительными неподвижными дробящими элементами 13,концентричнозакрепленными на корпусе 1.
В дополнительном диске 10 выполнены отверстия 14, ограниченные в радиальном направлении обечайками 15, выступающими над верхней поверхностью дополнительного диска 10 и размещенными с радиальным зазором от дополнительных дробящих элементов 13 (т.е. ближе к оси ротора). Со стороны, противоположной направлению вращения ротора, отверстия 14 ограничены дополнительными лопатками 16. В нижней части корпуса 1 расположена разгрузочная полость 17, имеющая в горизонтальном сечении вид двух сегментов. Неподвижные дробящие элементы 9 и 13 установлены на корпусе 1 с помощью колец 18, имеющих отверстия 19. Выступающие над поверхностью дополнительного диска 10 части обечаек 15, разгонные лопатки 11, 7 и дополнительные лопатки 16 выполнены близкими по высоте (соизмеримой с крупностью куска в исходном материале). Отверстия 14 ограничены двумя радиусами и дугами с центром на оси вала 4, т.е. в виде секторных частей круга с центральным углом.
ЦЕНТРОБЕЖНО-УДАРНАЯ ДРОБИЛКА /3/. Изобретение относится к дроблению твердых материалов и обеспечивает повышение надежности дробилки. Дробилка содержит корпус 1 с отражательными поверхностями 2, вертикальный приводной вал 7 с ротором 10, имеющим разгонные каналы 14 и установленные на осях 16 ролики-ускорители 17. В верхней части корпуса 1 установлена цилиндрическая обечайка 6, а на осях 16 закреплены ролики-сателлиты 18, контактирующие с внутренней поверхностью цилиндрической обечайки 6. Дробилка имеет загрузочный бункер 3, питающую трубу 4 и разгрузочное отверстие 5. Ротор 10 выполнен из верхнего 11 и нижнего 12 дисков и имеет загрузочное отверстие 13.

Рисунок 1.3- Центробежно-ударная дробилка
Изобретение относится к области дробления твердых материалов, а именно к центробежно-ударным дробилкам, и может быть использовано, например, в горнорудной и металлургической промышленности для дробления минерального сырья, а также в других отраслях промышленности.
Цель изобретения - повышение надежности дробилки.
Центробежно-ударная дробилка содержит корпус 1 с отражательными поверхностями 2. Корпус 1 снабжен загрузочным буккером 3 с питающей трубой 4 и разгрузочным отверстием 5. В корпусе 1 над отражательными поверхностями 2 установлена цилиндрическая обечайка 6. По оси корпуса 1 на вертикальном валу 7, приводимом во вращение от электродвигателя 8 посредством клиноременной передачи 9, установлен ротор 10, содержащий верхний 11 и нижний 12 диски, загрузочное отверстие 13, разгонные каналы 14. На периферии ротора 10 в подшипниковых опорах 15, закрепленных на верхнем 11 и нижнем 12 дисках ротора 10, установлены вертикальные оси 16. На вертикальных осях 16 между дисками 11 и 12 ротора 10 расположены ролики-ускорители 17, а над верхним диском 11 ротора 10 - ролики сателлиты 18. Ролики-сателлиты 18 находятся во фрикционном зацеплении с внутренней поверхностью цилиндрической обечайки 6.
Центробежно-ударная дробилка работает следующим образом.
Исходный материал через загрузочный бункер 3, питающую трубу 4, загрузочное отверстие 13 ротора 10 поступает в разгонные каналы 14. Ролики-сателлиты 18, откатываясь по внутренней поверхности цилиндрической обечайки 6, совершают планетарное вращательное движение и посредством вертикальных осей 16 сообщают это движение роликам-ускорителям 17. Перерабатываемый материал из разгонных каналов 14 поступает из ролики-ускорители 17, при этом линейная скорость поверхности роликов-ускорителей 17 близка к относительной скорости материала при его выходе из разгонных каналов 14, т е. относительная скорость поверхности роликов-ускорителей 17 и потока материала близка к нулю. Материал, перемещаясь совместно с поверхностью роликов-ускорителей 17, по достижении точки вылета выбрасывается с высокой абсолютной скоростью и, попадая на отражательные элементы 2, разрушается. Дробленный продукт разгружается через разгрузочное отверстие 5.
Дополнительная установка в верхней части корпуса 1 дробилки цилиндрической обечайки 6, а на вертикальных осях 16 роликов-ускорителей 17-роликов-сателитов 18, примыкающих к внутренней поверхности цилиндрической обечайки б, позволяет принудительно приводить ролики-ускорители 17 во вращение, используя для этого только основной привод дробилки. При этом, если осуществлять вращение роликов-ускорителей 17 таким образом, что линейная скорость их поверхности будет равной или близкой скорости движения материала на выходном участке разгонных каналов 14 ротора 10 дробилки, износ поверхности роликов-ускорителей 17 будет снижен. При этом заклинивание роликов-ускорителей при работе исключается, так как они приводятся во вращение принудительно, посредством фрикционной передачи, а в случае заклинивания оно будет устранено с потреблением для этого части мощного основного привода.
Для обеспечения равенства линейной скорости поверхности роликов-ускорителей 17 и относительной скорости движения материала на данном участке необходимо выбрать оптимальные геометрические параметры роликов-сателлитов 18.

Рисунок 1.4- Ударные элементы дробилки
1.3 Обоснование принятых решений
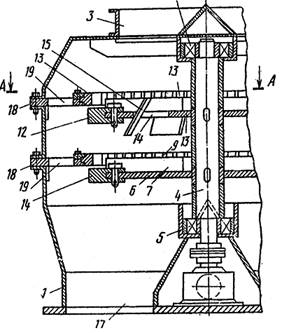
Одним из новых видов машин для дробления и измельчения строительных материалов является молотковая дробилка.
В основу конструкции положен принцип многоярусной дробилки ударного действия с вертикальной осью вращения рабочего органа. В качестве рабочих элементов применены шарнирно закрепленные ударные элементы. Между рядами ударных элементов на внутренней поверхности корпуса установлены отражатели, предотвращающие проскоки неизмельченного материала вдоль стенок корпуса. Отражатели способствуют возвращению материала в зону обработки и увеличению кратности воздействия на него.


Рисунок 1.5- Молотковая дробилка
Предложенная дробилка обладает рядом дополнительных преимуществ перед машинами ударного действия:
- меньшей удельной мощностью (на единицу продукции). Молотковые дробилки такой же производительности имеют электродвигатель в 1,5..2,0 раза большей мощности, чем центробежные дробилки;
- попадание даже крупных недробимых включений не приводит к поломке машины, так как рабочий элемент отклоняется в сторону и не препятствует их прохождению;
- более лучшими условиями ремонта, т.е. широким доступом ко всем механизмам, быстросъемностью узлов и ударных элементов;
- совмещением технологических операций, т.е. совмещением процессов дробления, смешивания и сушки;
- удалением из технологического процесса рассева по фракциям;
- способностью работать как по сухому, так и по мокрому способу.
Дробилка предназначена для переработки материалов, обладающих повышенной пластичностью.
На рисунке 1.5 представлен общий вид дробилки.
Она состоит из рабочей камеры 1 с крышкой 2 и дном 3. В крышке 2 находится загрузочное отверстие 4: а в дне 3 - выходное.
Внутри рабочей камеры 1 установлен рабочий вал закрепленный в подшипниковых опорах. На рабочем валу закреплены рабочие органы - била. Рабочий вал приводится во вращение клиноременной передачей 5 от электродвигателя 6.
Клиноременная передача 5 имеет защитный кожух.
Электродвигатель 6 закреплен на плите 7 с натяжным устройством .
На стенках рабочей камеры, имеются два ряда отбойников, предназначенных для предотвращения проскока неизмельченного материала в зазоре между стенкой корпуса и свободными концами рабочих органов.
Рабочая камера 1 имеет дверь 8, предназначенную для ремонтных работ при замене бил. Дробилка должна устанавливаться опорами 9 на раму 10 при монтаже. Обрабатываемый материал должен поступать в рабочую камеру через загрузочное отверстие в крышке в непрерывном режиме при включенном приводе (вращение рабочего вала). В рабочей камере он обрабатывается рабочими органами и через выходное отверстие дна 3 удаляется.
Регулирование степени измельчения осуществляется изменением количества (скоростью) подаваемого в зону обработки материала. Также возможна регулировка путем установки или удаления яруса бил.
2. Расчет основных параметров
Для молотковых дробилок основным критерием для расчетов является критическая линейная скорость ротора, при которой возможно разрушение материала заданной крупности.
(2.1)
где
-предел прочности материала при растяжении,
=25Мпа;
-объемная масса дробимого материала,
=1400кг/м3;
d-диаметр дробимого материала, d=0,2м.

Принимаем 40 м /с.
Исходя из рекомендаций литературы /4/, принимают диаметр дробилки:
(2.2)
Найдя необходимую скорость удара рабочего органа по измельчаемому материалу и, задавшись диаметром дробилки D=1000 мм, мы можем определить необходимую угловую скорость вращения ротора дробилки:
(2.3)
где R-радиус траектории движения ударного элемента;

Частота вращения ротора связана с угловой скоростью следующей зависимостью:
(2.4)

Длина ротора дробилки определяется следующей зависимостью:
(2.5)
Принимаем длину ротора дробилки L=800 мм.
Число бил будет зависеть от физико-механических свойств обрабатываемого материала. Большое количество ярусов будет замедлять прохождение материала через рабочую зону и, в конечном счете, сказываться на производительности. А так же пострадает качество измельчения- возможно появление эффекта переизмельчения. При малом же числе бил будет наблюдаться проскакивание частиц материала и вследствие малого воздействия на материал, он не будет достигать требуемой степени дробления. Обычно необходимое количество бил устанавливается опытным путем. Мы принимаем число бил:
Nярусов=4
Число ударных элементов также влияет на все, о чем было сказано выше. Минимальное количество должно быть не менее 2, чтобы уравновесить вал ротора. Большое их количество снижает силу удара по частицам материала. Мы принимаем:
Nэл=4.
2.1 Определение производительности
По условию задания производительность дробилки должна быть до 25 т/час. Определим производительность в кубометрах:
(2.6)
где g - объемная масса материала, g = 1,4 т/м3;
![]()
2.2 Определение мощности на привод дробилки
Для определения мощности на привод дробилки воспользуемся формулой ВНИИСтройдормаша, разработанной на основе закона поверхностей:
(2.7)
где
-энергетический показатель разрушения материала,
=3,6 Вт´час/м2;
-производительность дробилки,
=17,86м3/час;
-степень дробления,
=200/8=25;
-КПД дробилки,
=0,8;
-КПД привода,
=0,94.
![]()
Принимаем электродвигатель АИР160М6 мощностью 15 кВт
Частота вращения n=970 об/мин. Кратность пускового момента=2.
3. Расчеты на прочность
3.1 Расчет подшипников
3.1.1 Расчет подшипников ротора по статической
грузоподъемности
Расчет проведем по рекомендациям /5/ по формуле 16.28 :
Ро < Со ,(3.1)
где Ро- эквивалентная статическая нагрузка,
Со- статическая грузоподъемность подшипника.
Расчет проведем для нижнего подшипника ротора. Приведенная нагрузка определяется по формуле /6, стр 328/:
Ро=Х´R+Y´A,(3.2)
где Х- коэффициент радиальной нагрузки, Х =0,4;
R- радиальная нагрузка, R=1156Н
Y-коэффициент осевой нагрузки, Y=1;
A-осевая нагрузка-вес ротора, A=2000Н;
Ро=0,4´1156+1´2000)=2062Н
Со - величина статической грузоподъемности подшипника, для роликоподшипника конического однорядного с внутренним диаметром 90 мм она составляет Со=89600 Н.
2062 Н < 89600 Н
Таким образом, условие статической грузоподъемности подшипника выполнено.
3.1.2 Расчет подшипников по динамической грузоподъемности
Расчет подшипников по динамической грузоподъемности проведем по рекомендациям /15/ по формуле 16.30:
С < СПАСП ,(3.3)
где С -расчетная динамическая грузоподъемность,
СПАСП-паспортная динамическая грузоподъемность.
, (3.4)
где L- ресурс работы подшипников, по таблице 16.3 /5/ L=500000 часов;
- эквивалентная динамическая нагрузка,
(3.5)
где
- коэффициент безопасности, по таблице 16.3 /5/
=1,8;
- коэффициент температурных условий работы, по /5/
= 1;
Определим эквивалентную динамическую нагрузку :
![]()
Находим расчетную динамическую грузоподъемность :
![]()
Находим паспортную динамическую грузоподъемность подшипника:
С=102300 Н
Таким образом, условие динамической грузоподъемности подшипника выполнено.
3.2 Расчет сварных соединений
Касательные напряжения определяются по формуле (3.11) /5/ :
(3.6)
где F- действующая нагрузка делящаяся на количество опор,
F =0,33´6200=2046Н;
-длина флангового шва,
=140мм;
k-катет сварного шва, k =3мм;
-допускаемые напряжения,
=130 МПа.

3.3 Расчет шпоночного соединения
В соответствии со стандартом СЭВ 189 по диаметрам вала выбираем шпонки, размеры которых сведены в таблицу 3.1
Таблица 3.1- Размеры шпонок
| диаметр | сечение шпонки | рабочая длина | крутящий момент | ||
| вала, мм | b | H | шпонки lр, мм | на валах Т, H*м | |
| 52 | 16 | 10 | 55 | 170 | |
| 100 | 28 | 16 | 500 | 170 | |
Принимается, что нагрузка со стороны шпонки воспринимается равномерно как по ширине, так и по длине. Основной расчет предполагает выполнение условия прочности по смятию формула 4.1 /5/:
(3.7)
где z-число шпонок, z =1
lp-рабочая длина шпонки, lp =55 мм;
-допускаемое напряжение при смятии,
=80МПа
![]()
Условие прочности из расчета на срез шпонки:
, (3.8)
где
-допускаемые напряжения при срезе,
=100МПа
![]()
4. Проведение расчетов на ЭВМ
При помощи ЭВМ очень удобно выполнять расчеты, которые содержат большое количество однотипных вычислений. Как правило, эти вычисления отличаются небольшим изменением входных данных или изменением какого-либо расчетного параметра.
В нашем случае очень удобно провести расчет клиноременной передачи для привода ротора дробилки от электродвигателя, расположенного сверху дробилки.
Для выполнения расчетов необходимо подготовить таблицу с исходными данными:
Таблица 4.1-Исходные данные для расчета на ЭВМ
| Мощность на ведущем валу (P1), кBт | 14,25 |
| Частота вращения ведущего шкива (N1), об/мин | 970.00 |
| Желаемое передаточное отношение (U0) | 1,26 |
| Желаемое межосевое расстояние (A0), мм | 0 |
| Коэффициент суточного использования передачи | 1.00 |
| Кратковременная перегрузка передачи в процентах от номинальной | 120 |
| Коэффициент, учитывающий тип двигателя (KDV) | 1 |
| Коэффициент, учитывающий климатические условия (KK) | 1.00 |
| Поправочный коэффициент интенсивности отказов (KL) | 1 |
| Допустимое число ремней в передаче (ZMAX) | 7 |
В результате принимаем:
ОБОЗНАЧЕНИЕ ПАРАМЕТРОВ ПЕРЕДАЧИ, ИХ РАЗМЕРНОСТИ|
TSRR- СРЕДНИЙ РАСЧЕТНЫЙ РЕСУРС РЕМНЕЙ, ТЫС.ЧАС
PRB - ВЕРОЯТНОСТЬ БЕЗОТКАЗНОЙ РАБОТЫ ПЕРЕДАЧИ TSRR
NV - НОМЕР ВАРИАНТА РАСЧЕТА
SR - СЕЧЕНИЕ РЕМНЯ
D1 - ДИАМЕТР ВЕДУЩЕГО ШКИВА, ММ
U - ДЕЙСТВИТЕЛЬНОЕ ПЕРЕДАТОЧНОЕ ЧИСЛО
L - ДЛИНА РЕМНЯ, ММ
A - ДЕЙСТВИТЕЛЬНОЕ МЕЖОСЕВОЕ РАССТОЯНИЕ, ММ
DEA - ХОД НАТЯЖНОГО УСТРОЙСТВА, ММ
V - СКОРОСТЬ РЕМНЯ, М/С
Z - ЧИСЛО РЕМНЕЙ
FRZ - РАДИАЛЬНОЕ УСИЛИЕ НА ВАЛЫ ОТ РЕМНЕЙ, H
LPE - МАКСИМАЛЬНАЯ ДЛИНА ПЕРЕДАЧИ, ММ
BRE - ШИРИНА ПЕРЕДАЧИ, ММ
DE2 - НАРУЖНЫЙ ДИАМЕТР ВЕДОМОГО ШКИВА, ММ
STR - СТОИМОСТЬ РЕМНЕЙ, ТЫС.РУБ.
LH - РАСЧЕТНАЯ ДОЛГОВЕЧНОСТЬ ПЕРЕДАЧИ, ТЫС.ЧАС
P - ВЕРОЯТНОСТЬ БЕЗОТКАЗНОЙ РАБОТЫ ПЕРЕДАЧИ
ЧИСЛЕННЫЕ ЗНАЧЕНИЯ ПАРАМЕТРОВ ПЕРЕДАЧИ:
TSRR= 5.0 PBR= .981
-----------------------------------------------------------------------
:NV :SR: D1: U : L : A :DEA: V : Z :FRZ: LPE: BPE: DE2:STR: LH : P :
-----------------------------------------------------------------------
:35 : В :224: 1.3: 2240:723: 84: 11.4: 3: 2772:1048: 85: 290: 13.2: 6.5: 0.975:
5. Охрана труда и окружающей среды
5.1 Анализ и идентификация опасностей при работе дробилки
Анализируя работу дробилки для пластичных материалов, можно выделить ряд следующих основных опасностей для обслуживающего персонала:
Опасность физического воздействия:
-опасность получения травм при захвате одежды вращающимися частями дробилки;
-опасность получения электрического воздействия в случае повреждения кабелей.
Вредные психофизиологические воздействия на человека:
-дробилка является источником шума и вибрации, возникающих при вращении ротора и при разрушении материала в рабочей камере.
С точки зрения экологии представляет собой опасность для окружающей среды возможность пыления сухого материала и продуктов дробления.
5.2 Технологические и организационные решений по устранению
выявленных опасностей
На основании вышеприведенных выводов принимаем следующие технологические и организационные решения:
-при работе дробилки запрещено находиться вблизи вращающихся частей;
-периодическое обслуживание рабочего оборудования;
-ремонтные и профилактические работы проводить при отключенном электрооборудовании;
-Обязательное наличие системы заземления или зануления;
-проведение инструктажей по технике безопасности для обслуживающего оборудования.
5.3 Рекомендации по безопасной эксплуатации дробилки
5.3.1 К работе допускаются лица, имеющие соответствующую квалификацию, прошедшие инструктаж, ознакомленные с конструкцией дробилки и инструкцией по ее эксплуатации, достигшие восемнадцатилетнего возраста.
5.3.2 Во избежание несчастных случаев необходимо:
а) дробилку держать в чистоте и исправном состоянии;
б) при работе и техническом обслуживании разрешается пользоваться только исправным инструментом в соответствии с его назначением;
в) назначаются лица, ответственные за безопасную эксплуатацию и ремонт;
г) перед началом работы производится визуальный осмотр оборудования.
5.3.3 Категорически запрещается:
а) проводить ремонт оборудования при работающем приводе установки;
б) проводить ремонт оборудования без использования специальных опор;
в) работать с поврежденным оборудованием;
г) недопустимо попадание металлических предметов в рабочий орган.
Заключение
В данном курсовом проекте произведен анализ научной и патентной информации о роторных дробилках, осуществлен расчет вертикальной молотковой дробилки для пластичных материалов. Определены основные параметры дробилки и приняты размеры рабочих органов. Для обеспечения работоспособности конструкции были проведены расчеты элементов дробилки на прочность. Для привода рабочего органа была рассчитана на ЭВМ клиноременная передача. Подобран приводной электродвигатель. В разделе охраны труда и окружающей среды были выявлены основные опасности, которые могут возникнуть в процессе работы дробилки. Даны рекомендации по их устранению и недопущению.
Список использованных источников
1. А.с.1757739А1 СССР, МКИ В 02 С.Роторная дробилка. В.И. Кривощеков, В.И. Капащенко и О.А. Петровский. -№1007723; заявлено 28.03.90.; опубл. 30.08.92. Бюл. № 32. -4с.
2. А.с.1217467 СССР, МКИ В 02 С 13/18. Центробежная дробилка. В.З. Лейкин, В.П. Нерадов, П.М. Лузин и В.П. Григорьев-№1217467;заявлено 18.03.91.; опубл. 23.12.91. Бюл. № 47. - 8с
3. А.с.1674962А1 СССР, МКИ В 02 С 13/14. Центробежно-ударная дробилка. С.А. Учитель, О.М. Бобров, В.П. Лялюк, А.К. Чверкалюк и С.В. Тишков -№621372;заявлено 25.09.89.; опубл. 07.09.91. Бюл. № 33. - 3с.
4. Бауман В.А. и другие. Механическое оборудование предприятий строительных материалов, изделий и конструкций. Учебник для Вузов. М.: «Машиностроение» 1975, 351 с., ил.
5. М.Н. Иванов. Детали машин. Учеб. для машиностр. спец. вузов. - 4-е изд., перераб. - М.: Высш. шк., 1984.-336 с., ил.
-----------------------------------------------------------------------
РАСЧЕТ КЛИНОРЕМЕННОЙ ПЕРЕДАЧИ ПО КРИТЕРИЯМ:
МИНИМАЛЬНЫХ НАГРУЗОК НА ВАЛЫ, ГАБАРИТОВ И
СТОИМОСТИ РЕМНЕЙ, МАКСИМАЛЬНОЙ ДОЛГОВЕЧНОСТИ
И ВЕРОЯТНОСТИ БЕЗОТКАЗНОЙ РАБОТЫ
ИСХОДНЫЕ ДАННЫЕ ДЛЯ РАСЧЕТА
МОЩНОСТЬ НА ВЕДУЩЕМ ВАЛУ (P1), KBT 14.25
ЧАСТОТА ВРАЩЕНИЯ ВЕДУЩЕГО ШКИВА (N1), ОБ/МИН 970.00
ЖЕЛАЕМОЕ ПЕРЕДАТОЧНОЕ ОТНОШЕНИЕ (U0) 1.26
ЖЕЛАЕМОЕ МЕЖОСЕВОЕ РАССТОЯНИЕ (A0), ММ 670.00
КОЭФФИЦИЕНТ СУТОЧНОГО ИСПОЛЬЗОВАНИЯ ПЕРЕДАЧИ (KC) 1.00
КРАТКОВРЕМЕННАЯ ПЕРЕГРУЗКА ПЕРЕДАЧИ
В ПРОЦЕНТАХ ОТ НОМИНАЛЬНОЙ (KH) 100.
КОЭФФИЦИЕНТ, УЧИТЫВАЮЩИЙ ТИП ДВИГАТЕЛЯ (KDV) 1.
КОЭФФИЦИЕНТ, УЧИТЫВАЮЩИЙ КЛИМАТИЧЕСКИЕ
УСЛОВИЯ ЭКСПЛУАТАЦИИ (KK) 1.00
ПОПРАВОЧНЫЙ КОЭФФИЦИЕНТ ИНТЕНСИВНОСТИ ОТКАЗОВ (KL) 1.
ДОПУСТИМОЕ ЧИСЛО РЕМНЕЙ В ПЕРЕДАЧЕ (ZMAX) 7.
РЕЗУЛЬТАТЫ РАСЧЕТА
ОБОЗНАЧЕНИЕ ПАРАМЕТРОВ ПЕРЕДАЧИ, ИХ РАЗМЕРНОСТИ|
TSRR- СРЕДНИЙ РАСЧЕТНЫЙ РЕСУРС РЕМНЕЙ, ТЫС.ЧАС
PRB - ВЕРОЯТНОСТЬ БЕЗОТКАЗНОЙ РАБОТЫ ПЕРЕДАЧИ НА БАЗЕ TSRR
NV - НОМЕР ВАРИАНТА РАСЧЕТА
SR - СЕЧЕНИЕ РЕМНЯ
D1 - ДИАМЕТР ВЕДУЩЕГО ШКИВА, ММ
U - ДЕЙСТВИТЕЛЬНОЕ ПЕРЕДАТОЧНОЕ ЧИСЛО
L - ДЛИНА РЕМНЯ, ММ
A - ДЕЙСТВИТЕЛЬНОЕ МЕЖОСЕВОЕ РАССТОЯНИЕ, ММ
DEA - ХОД НАТЯЖНОГО УСТРОЙСТВА, ММ
V - СКОРОСТЬ РЕМНЯ, М/С
Z - ЧИСЛО РЕМНЕЙ
FRZ - РАДИАЛЬНОЕ УСИЛИЕ НА ВАЛЫ ОТ РЕМНЕЙ, H
LPE - МАКСИМАЛЬНАЯ ДЛИНА ПЕРЕДАЧИ, ММ
BRE - ШИРИНА ПЕРЕДАЧИ, ММ
DE2 - НАРУЖНЫЙ ДИАМЕТР ВЕДОМОГО ШКИВА, ММ
STR - СТОИМОСТЬ РЕМНЕЙ, ТЫС.РУБ.
LH - РАСЧЕТНАЯ ДОЛГОВЕЧНОСТЬ ПЕРЕДАЧИ, ТЫС.ЧАС
P - ВЕРОЯТНОСТЬ БЕЗОТКАЗНОЙ РАБОТЫ ПЕРЕДАЧИ
ЧИСЛЕННЫЕ ЗНАЧЕНИЯ ПАРАМЕТРОВ ПЕРЕДАЧИ:
TSRR= 5.0 PBR= .981
-----------------------------------------------------------------------
:NV:SR: D1: U : L : A :DEA: V :Z: FRZ: LPE:BPE:DE2: STR: LH : P :
-----------------------------------------------------------------------
: 1:0 : 63: Z > ZMAX :
: 2:0 : 71: Z > ZMAX :
: 3:0 : 80: Z > ZMAX :
: 4:0 : 90: Z > ZMAX :
: 5:0 :100: Z > ZMAX :
: 6:0 :112: Z > ZMAX :
: 7:0 :125: Z > ZMAX :
: 8:0 :140: Z > ZMAX :
: 9:0 :160: Z > ZMAX :
:10:0 :180: Z > ZMAX :
:11:0 :200: Z > ZMAX :
:12:А : 90: Z > ZMAX :
:13:А :100: Z > ZMAX :
:14:А :112: Z > ZMAX :
:15:А :125: Z > ZMAX :
:16:А :140: Z > ZMAX :
:17:А :160: Z > ZMAX :
:18:А :180: Z > ZMAX :
:19:А :200: Z > ZMAX :
:20:А :224:1.3:2240: 723: 84:11.4:6:2694:1043: 95:286:10.8: 33.6: .878:
:21:А :250:1.3:2240: 675: 84:12.7:5:2438:1026: 80:321: 9.0: 18.8: .930:
:22:А :280:1.3:2240: 620: 84:14.2:4:2198:1005: 65:361: 7.2: 7.1: .973:
:23:Б :125: Z > ZMAX :
:24:Б :140: Z > ZMAX :
:25:Б :160: Z > ZMAX :
:26:Б :180:1.3:2000: 682: 75: 9.1:6:3337: 947:120:232:15.6: 38.1: .863:
:27:Б :200:1.3:2000: 646: 75:10.2:5:3029: 934:101:258:13.0: 32.4: .882:
:28:Б :224:1.3:2240: 723: 84:11.4:4:2725:1045: 82:288:11.6: 22.5: .916:
:29:Б :250:1.3:2240: 675: 84:12.7:3:2451:1028: 63:323: 8.7: 7.4: .972:
:30:Б :280:1.3:2240: 620: 84:14.2:3:2254:1007: 63:363: 8.7: 17.3: .935:
:31:Б :315:1.3:2500: 687: 93:16.0:2:1994:1121: 44:408: 6.5: 2.2: .992:
:32:Б :355:1.3:2500: 615: 94:18.0:2:1843:1095: 44:458: 6.5: 4.6: .982:
:33:Б :400:1.3:2800: 691:105:20.3:2:1724:1226: 44:508: 7.3: 9.2: .965:
:34:В :200:1.3:2000: 646: 75:10.2:5:3153: 937:136:261:19.6: 17.5: .934:
:35:В :224:1.3:2240: 723: 84:11.4:3:2772:1048: 85:291:13.2: 6.5: .975:
:36:В :250:1.3:2240: 675: 84:12.7:3:2567:1031: 85:326:13.2: 15.8: .940:
:37:В :280:1.3:2240: 620: 84:14.2:2:2279:1010: 59:366: 8.8: 4.7: .982:
:38:В :315:1.3:2500: 687: 93:16.0:2:2117:1124: 59:411: 9.8: 11.9: .955:
:39:В :355:1.3:2500: 615: 94:18.0:1:1804:1098: 34:461: 4.9: .3: .999:
:40:В :400:1.3:2800: 691:105:20.3:1:1674:1229: 34:511: 5.5: .8: .997:
:41:В :450:1.3:2800: 604:105:22.9:1:1584:1197: 34:571: 5.5: 1.3: .995:
:42:В :500:1.3:3550: 885:133:25.4:1:1528:1559: 34:641: 7.0: 2.3: .991:
:43:В :560:1.3:3550: 773:133:28.4:1:1507:1518: 34:721: 7.0: 2.5: .990:
:44:В :630:1.3:4000: 872:150:32.0:1:1522:1709: 34:811: 7.8: 2.4: .991:
-----------------------------------------------------------------------
Похожие рефераты:
Установка для статической балансировки роторов методом прямого измерения статического момента
Статическая балансировка роторов
Основы проектирования и конструирования
Машины и оборудование для измельчения материалов
Оборудование летательных аппаратов
Проектирование привода общего назначения
Разработка технического предложения на модернизацию конусной дробилки ККД-1200
Машины и аппараты химических производств и предприятий строительных материалов
Червячный двухступенчатый редуктор