| Похожие рефераты | Скачать .docx |
Курсовая работа: Гомогенизатор клапанного типа
БРЯНСКАЯ ГОСУДАРСТВЕННАЯ СЕЛЬСКОХОЗЯЙСТВЕННАЯ АКАДЕМИЯ
ИНЖЕНЕРНО-ТЕХНОЛОГИЧЕСКИЙ ФАКУЛЬТЕТ
Кафедра ТЕХНОЛОГИЧЕСКОГО ОБОРУДОВАНИЯ В ЖИВОТНОВОДСТВЕ И ПЕРЕРАБАТЫВАЮЩИХ ПРОИЗВОДСТВ
КУРСОВОЙ ПРОЕКТ
по дисциплине "МЕХАНИЗАЦИЯ ПРОЦЕССОВ ПЕРЕРАБОТКИ ПРОДУКЦИИ ЖИВОТНОВОДСТВА"
Выполнил:
студент группы И-521
Лобунов Д.В.
Проверил: доцент Кузюр В.М.
Брянск 2009
Реферат
В данном курсовом проекте описана методика технологических расчетов гомогенизатора клапанного типа, которые включают в себя расчеты подтверждающие работоспособность проектируемой конструкции машины, а также технико-экономические расчеты подтверждающие целесообразность данного усовершенствования. Также представлена линия по производству пастеризованного молока, в процессе приготовления которого участвует проектируемая машина. В приложении представлены технические документы к данной машине, а также ее характеристики и справочный материал к наиболее сложным расчетом машин и аппаратов для переработки молока.
Содержание
Введение
1. Анализ современного оборудования
2. Обзор литературных источников
3. Конструкторская разработка
4. Охрана труда и безопасность проектных решений
5. Технико-экономическая оценка проекта
Заключение
Список используемой литературы
Приложение
Введение
В настоящее время, несмотря на кризис, молочная промышленность является одной из важнейших среди перерабатывающих отраслей. Тысячелетиями молоко и молочные продукты были постоянной пищей человека, но промышленное производство с его машинами и механизмами, множеством рабочих долго не вторгалось в эту область - уж очень деликатными продуктами были молоко и его производные: сливки, сметана, творог, сыр. В России товарное молочное хозяйство зародилось в конце 18 века, когда помещичьих усадьбах были организованы сыроварни с изготовлением для рынка не только сыра, но и топленого масла, сметаны творога.
Первая сыроварня начала работать в 1795 году в имении Лотошино Лотошинского уезда Смоленской области. Уже в 1866 году в селе Отроковичи Тверской губернии была открыта артельная сыроварня, а в селе Едимоново школа мастеров. С развитием капитализма в России и ростом городского населения увеличился спрос на молочные продукты, в связи, с чем молочное хозяйство принимает торговый предпринимательский характер. Крестьянскими артелями и скупщиками молока открываются мелкие кустарные молочные заводы. Развитию маслоделия и сыроделия способствовало строительство Ярославско-Вологодской и транссибирской железной дороги, а также внедрение сепараторов для получения сливок.
Первые городские молочные заводы, перерабатывающие в сутки до 120 тонн молока, были построены в 1860-1864 годах. Первый завод сгущенного молока был построен в 1891 году близ г. Оренбурга. В 20 веке была создана молочно-консервная промышленность, освоено промышленное производство мороженного, плавленых сыров. Рассмотрим историю возникновения основных технологических процессов, которые фактически определили промышленное производство молочной продукции.
| Процесс | год появления и реализации |
| Сепарирование | 1879 |
| Пастеризация | 1882 |
| Сгущение с сахаром | 1868 |
| Сгущение со стерилизацией | 1881 |
| Культивирование микроорганизмов | 1882 |
| Получение молочного сахара | 1881 |
| Гомогенизация | 1892 |
| Ультрафиолетовое облучение | 1903 |
| Сушка молока | 1885-1904 |
Отсюда можно считать, что процессы, определяющие современные технологии молочных продуктов, были предложены и получили промышленное использование более 90-100 лет тому назад. В настоящее время молочная промышленность России объединяет более 2230 предприятий, в том числе более 900 гормолзаводов около 600 сыродельных заводов, 592 маслозавода, более 100 заводов по производству сухого молока и ЗЦМ. [5]
Переход экономики на рыночные отношения обнажил недостатки существовавшей экономики, а отсутствие продуманной программы реформ породило множество новых негативных явлений. В настоящее время центральное место в экономической реформе принадлежит созданию рынка сырья и продовольствия, переработки молочного сырья и реализации готовой продукции. В молочной промышленности в 2007 году при уменьшении поступления молока для промышленной переработки по сравнению с 2006 годом на 22 %, производство молочных консервов увеличилось на 3 %, выработка сыров снизилась на - 13 %.сухих обезжиренных молочных продуктов - 16 %, цельномолочной - на 7 %. Сокращение сырьевых ресурсов вызвало снижение объемов производства молочных продуктов (в 2007 г. по сравнению 2006 г.). Так производство масла животного составило 89%, сыра жирного 90 %, цельномолочной продукции - 93 %. В целом по отрасли достигнут рост по производству сухого цельного молока на 109%, молочных консервов - на 105 %. Наметилась тенденция к стабилизации положения с выработкой цельномолочной продукции. Обновился и расширился ассортимент. По сравнению с 2006 годом увеличился выпуск пользующийся спросом продукции. Однако, как и в 2007-2008 годах, предприятия молочной промышленности испытывают острый недостаток в молочном сырье, необходимом для увеличения производства молочных продуктов.
Исходя из выше изложенного, можно сформулировать задачи, которые стоят перед молочной промышленностью в настоящее время. Необходима разработка индивидуальных планов структурной перестройки производства. Осуществление плана на основе лизинга, а также счет собственных и привлеченных денежных средств позволит создать уникальные производственные мощности по выработке молочных продуктов. Следует формировать принципиально новые системы заготовок молока, создавать условия по привлечению на переработку дополнительных объемов молочного сырья. Расширение рынков сбыта выпускаемой продукции, создание автомобильного транспорта с охлаждением - все это позволит сформировать местные производственные рынки молочной продукции.
Активный процесс становления новой культуры производственных отношений, изменений подходов в работе с людьми, формирование высококвалифицированной команды специалистов, несомненно, приведет к экономической стабилизации предприятий молочной промышленности.
Для выхода из сложившейся ситуации есть два пути. Один из них - государственные мероприятия, связанные с вложением больших материальных и финансовых средств в молочную промышленность и животноводство в настоящее время не реально. Второй путь наиболее реальный и целесообразный. Он заключается в том, что наука совместно с промышленностью должны определить рациональные этапы повышения эффективности функционирования предприятий. Роль науки в связи с этим приобретает особое значение.
В молочной промышленности приоритетными направлениями научных исследований следует считать:
- Создание ресурсосберегающих технологий по замкнутому и законченным циклам производства;
- Создание комбинированных продуктов целевого и лечебно-профилактического назначения;
- Использование обезжиренного молока, пахты и молочной сыворотки на производство продуктов питания;
- Создание новых видов микробиологических препаратов;
- Разработка новых видов тароупаковочных материалов и покрытий;
- Автоматизация и компьютеризация основных технологических процессов производства молочных продуктов. [11]
1. Анализ современного оборудования
Гомогенизация это – раздробление (диспергирование) жировых шариков путем воздействия на молоко или сливки значительных внешних усилий. В процессе обработки уменьшается жировых шариков и скорость всплывания. Происходит перераспределение оболочечного вещества жирового шарика, стабилизируется жировая эмульсия. Этот способ механической обработки молока и жидких молочных продуктов, служит для повышения дисперсности в них жировой фазы, что позволяет исключить отстаивание жира во время хранения молока развитие окислительных процессов, дестабилизацию и при интенсивном перемешивании и транспортировании.
Гомогенизация сырья способствует:
1) при производстве пастеризованного молока и сливок – приобретению однородности (вкуса, цвета, жирности);
2) стерилизованного молока и сливок – повышению стойкости при хранении;
3) кисломолочных продуктов (сметаны, кефира, йогурты и др.) – повышению прочности и улучшении консистенции белковых сгустков и исключения образования жировой пробки на поверхности продукта;
4) сгущенных молочных консервов – предотвращения выделения жировой фазы при длительном хранении;
5) сухого цельного молока – снижению качества свободного молочного жира, не защищенного белковыми оболочками, что приводит к быстрому его окислению под действием кислорода атмосферного воздуха;
6) восстановленных молока, сливок и кисломолочных напитков – созданию наполненности вкуса продукта и предупреждению появлению водянистого привкуса;
7) молока с наполнителями (какао и др.) – улучшению вкуса, повышению вязкости и снижению вероятности образования осадка. [1]
Диспергирование жировых шариков, т.е. уменьшение их размеров и равномерное распределение в молоке, достигается воздействием на молоко значительного внешнего усилия (давления, ультразвук, высокочастотная электрическая обработка и др.) в специальных машинах – гомогенизаторах.
Негомогенизированное молоко |
Давление гомогенизации P=20атм |
Давление гомогенизации P=35атм |
Давление гомогенизации P=35атм(IIступень) |
Рисунок 1-Микрофотографии молока
Наибольшее распределение в молочной отрасли получила гомогенизация молока при продавливании его через кольцевую клапанную щель гомогенизирующей головки машины.

Рисунок 2-Кольцевая клапанная щель гомогенизирующей головки
Жировые шарики, проходя через эту щель диспергируются. Необходимое давление создается насосом. При производстве цельного молока размер жировых шариков с 3 – 4 мкм уменьшается до 0,7 – 0,8 мкм. Основным узлом современных гомогенизаторов клапанного типа является гомогенизирующая головка. Она может быть одно- или двухступенчатой. Вторая ступень обычно работает при более низком давлении, чем первая. Применение одной или двух ступенчатой гомогенизации зависит от вида вырабатываемых молочных продуктов.
Двухступенчатую гомогенизацию с большим перепадом давления на обеих ступенях применяют при производстве высокожирных молочных продуктов (сливки, смеси мороженного и т. п.) она позволяет рассеивать образующиеся скопления жировых шариков. [2]
Для выработки других видов молочных продуктов, в том числе для питьевого молока, можно использовать одноступенчатую гомогенизацию.
На основании исследования влияния различных гидравлических факторов на степень дисперсности жира при гомогенизации молока. Барановским предложении следующая схема механизма дробления жидкой внутренней фазы эмульсии при проходе ее через рабочий орган (рис. 1).

Рисунок 3 – Схема процесса гомогенизации
В каждом гомогенизирующем клапане имеется место резкого изменения сечения потока на переходе из клапана седла в клапанную щель, а следовательно, и место резкого изменения скорости. На подходе к щели скорость потока равна V0 , а при входе – V1 , причем первая представляет собой величину порядка нескольких метров в секунду, а вторая – несколько сот метров в секунду.
При переходе жировой капли из зоны малых скоростей в зону высоких, передние части капли включаются в поток в щели с огромной скоростью V1 , вытягиваются и отрываются от нее, а оставшаяся часть, еще принадлежащая к потоку со скоростью V0 , продолжает проходить через пограничное сечение и постепенно отдать свой материал вновь образованным частицам.
При большей разности V1 и V0 капля может расчленяться последовательным отрывом частиц без промежуточного растягивания всей капли в цилиндр или шнур. При малой разности V1 и V0 вся капля может миновать пограничное сечение, не успев расчлениться, но окажется деформированной до неустойчивого состояния, поэтому возвращение ее к первоначальному виду в условиях потока в щели окажется невозможным. Под механическим действием потока и сил поверхностного натяжения произойдет расчленение капли на более мелкие частицы. Такое толкование механизма дробления капель объясняет экспериментально установленную зависимость степени дисперсности эмульсии от скорости в начале клапанной щели. Чем выше скорость V1 , тем интенсивнее вытягивается жидкая нить из капли в пограничной зоне, тем тоньше эта нить и мельче частица после ее распада. Зависимость дисперсности от скорости V1 объясняет связь, установленную практикой между эффектом гомогенизации и давлением, т.к. для любых данных условий скорость определяется давлением гомогенизацией. Это позволяет с достаточным основанием построить для любого гомогенизатора зависимость дисперсности гомогенизированной эмульсии от перепада давления ∆р, которое действительно для других гомогенизаторах такого же типа при условии работе на продукте с теми же свойствами.

Рисунок 4 - Зависимость между диаметром жировых шариков и давлением гомогенизации
График на рис.3 показывает, как зависит от давления гомогенизации дисперсность натурального молока при температуре гомогенизации 60
. Средний диаметр жировых шариков быстро уменьшается при повышении давлении до 12-14 МПа. В интервале 14-20 МПа средний диаметр уменьшается медленнее, при давлении выше 20 МПа дисперсность почти не уменьшается. Это вполне объяснимо с точки зрения гидравлических предпосылок процесса. Технологические результаты процесса гомогенизации находится, следовательно, в соответствии гидравлическим закономерностям.
При двухступенчатой гомогенизации молоко последовательно проходит первую ступень, а затем вторую. При переходе малых скоростей молоко переходит в зону высоких скоростей. Высота клапанной щели составляет около 0,7 мм. Скорость движения жирового шарика в нагнетательной камере гомогенизирующей головке составляет 9 м/с, а в клапанной щели – 150-200 м/с. Эффективность гомогенизации молока определяется рабочим давлением, температурой, скоростью движения продукта при прохождении через гомогенизирующую головку, конструктивными особенностями последней, составом и свойствами компонентами, образующих оболочку жировых шариков, кислотностью, а также последовательностью технологических операций. Температура молока при гомогенизации является важным параметром, влияющим на эффективность процесса. Понижение температуры гомогенизации приводит к повышению вязкости молока и образованию скоплению молочного жира и их отстаиванию. При высокой температуре гомогенизирующей головки могут образоваться белковые отложения, что отрицательно сказывается гомогенизатора. В нормативной документации температура гомогенизации при выработки большинства молочных продуктов определена в диапазоне 60 – 63
. При повышении кислотности молока снижается эффективность гомогенизации. Это объясняется тем, что уменьшается стабильность белков и образуются белковые агломераты, затрудняющие диспергирования жировых шариков. При выработки молочных продуктов можно использовать полную или раздельную гомогенизацию: при полной – гомогенизируют весь объем перерабатываемого молока; при раздельной – молоко сепарируют, полученные сливки гомогенизируют, смешивают с обезжиренным молоком и направляют на дальнейшую обработку. Раздельную гомогенизацию целесообразно применять при выработки молочных продуктов (питьевого молока, кисломолочных и д. р.), где требуется составление нормализованной молочной смеси.[3]
1.1 Технологическая линия производства пастеризованного молока
Схема технологической линии приведена на листе графической части №1

Рисунок 5 - Технологическая линия производства пастеризованного молока
1 - Центробежный насос; 2 - Пластинчатая пастеризационно-охладительная установка; 3 - Терморегулятор; 4 - Автоматический возвратный клапан; 5 - Сепаратор-нормализатор-очиститель; 6 - Гомогенизатор; 7 - Резервуар для пастеризованного молока; 8 - Машина для розлива и упаковки молока; В - Выдерживатель пластинчатой установки; П - Пастеризационная секция; IP - Первая секция регенерации; ИР - Вторая секция регенерации; ВО - Секция водяного охлаждения; РО - Секция рассольного охлаждения.
Молоко, отобранное по качеству и очищенное (на сепараторах-молокоочистителях, фильтрах различной конструкции и другом оборудовании), нормализуют по массовой доле жира при выработке нормализованного пастеризованного молока и топленого молока. Для белкового молока его дополнительно нормализуют по массовой доле сухих обезжиренных веществ.
В зависимости от производственной мощности и технической оснащенности предприятий молоко нормализуют в потоке или технологических емкостях различной вместимости. Молоко нормализуют в потоке в сепараторах-нормализаторах либо путем сепарирования части цельного молока в сепараторах-сливкоотделителях для отбора сливок (если жирность нормализованного молока меньше, чем цельного) или обезжиренного молока (если жирность нормализованного молока больше, чем цельного).
С применением сепараторов-нормализаторов молоко нормализуют следующим образом. Вначале молоко подают в секцию рекуперации пластинчатой пастеризационно-охладительной установки для подогрева, затем в сепаратор-нормализатор. Нормализованное до заданной жирности молоко направляют в секцию пастеризации, а затем в секцию охлаждения пастеризационно-охладительной установки. При отсутствии сепараторов-нормализаторов применяют сепараторы-сливкоотделители. В этом случае одну часть молока, подогретого в секции рекуперации пастеризационно-охладительной установки, направляют в сепаратор-сливкоотделитель, а другую - в сепаратор-молокоочиститель. Обезжиренный продукт на выходе из сепаратора-сливкоотделителя смешивается в потоке с цельным молоком, поступающим в трубопровод из молокоочистителя. Нормализованная смесь далее поступает в секции пастеризации и охлаждения пластинчатой пастеризационно-охладительной установки. Молоко следует нормализовать перед пастеризацией. Однако известны технологические схемы его нормализации в закрытом потоке, когда пастеризованное горячее цельное молоко повышенной жирности смешивают с пастеризованным горячим обезжиренным. Сырое цельное молоко после перемешивания из промежуточной емкости насосом перекачивается для подогрева в секцию рекуперации пастеризационно-охладительной установки, затем поступает в сепаратор-молокоочиститель и возвращается в секцию пастеризации. Часть горячего пастеризованного молока после выдерживателя подается по молокопроводу к сепаратору-сливкоотделителю. Для сепарирования подводят из общего потока рассчитанное количество молока (в зависимости от массовой доли жира в нем) через регулирующий кран.
Полученное горячее обезжиренное молоко отводят от сепаратора-сливкоотделителя по молокопроводу, где оно смешивается с цельным горячим пастеризованным молоком. Нормализованное молоко поступает в секции рекуперации, а затем охлаждения. Охлажденное нормализованное молоко собирают в технологических емкостях для проверки массовой доли жира. Нормализованное по жиру молоко подогревают, очищают и гомогенизируют. Гомогенизацию нормализованного молока можно проводить раздельно. Для этого нормализованное молоко сепарируют, а полученные сливки гомогенизируют на двухступенчатом гомогенизаторе. Гомогенизированные сливки смешиваются в потоке с обезжиренным молоком, выходящим из сепаратора-сливкоотделителя, и направляются в секцию пастеризации пастеризационно-охладительной установки. Сливки можно гомогенизировать также перед их смешиванием с обезжиренным молоком при составлении нормализованного молока. После гомогенизации нормализованное молоко пастеризуют. Режим пастеризации молока на предприятии выбирают в зависимости от имеющегося оборудования с учетом бактериальной обсемененности сырья и эффективности пастеризации. Пастеризованное молоко охлаждают и направляют на розлив и упаковывание (укупоривание) или для временного хранения в промежуточную емкость. Упакованное пастеризованное охлажденное молоко готово к реализации.
Сепаратор-молокоочиститель А1-ОЦМ-10
Предназначены для очистки молока от загрязнений, посторонних примесей и слизи c частичной пульсирующей центробежной выгрузкой осадка полузакрытого исполнения.

Рисунок 6 - Сепаратор-молокоочиститель А1-ОЦМ-10
Техническая характеристика сепаратора
Производительность, л/час 10000
Частота вращения барабана, об/мин 6500
Максимальный диаметр барабана 405
Число тарелок в барабане, шт 53
Межтарелочный зазор, мм 0,7
Угол наклона образующей тарелки, град 50
Температура сепарирования, 0 С 35-40
Мощность электродвигателя, кВт 7,5
Давление на выходе очищенного молока, МПа 0,3
Электродвигатель тип, исполнение 4А132М, М300
Габаритные размеры, мм 1375х880х1210
Масса сепаратора, кг 470
Молоко по центральной трубке поступает в тарелкодержатель барабана, откуда оно по щелеобразному каналу, образованному основанием тарелкодержателя и днищем корпуса барабана, попадает в грязевое пространство. Здесь процесс очистки начинается, а в межтарелочном пространстве завершается. Молоко, освобожденное от частиц механических примесей, по зазору между верхними кромками тарелок и тарелкодержателем поднимается в камеру, в которой расположен напорный диск, обеспечивающий выход молока из барабана и подачу в другие машины, и аппараты, предназначенные для дальнейшей технологической переработки.Пастеризационно-охладительная установка для питьевого молока.

Рисунок 7 - Пастеризационно-охладительная установка для питьевого молока
1 - уравнительный бак 2 - поплавковый регулятор уровня; 3 - центробежный насос для молока; 4 - ротаметрических регулятор; 5 - пластинчатый аппарат; 6 - сепаратор молокоочиститель; 7 - выдерживатель; 8,12 - датчики температуры; 9,10,13,14, 20,22,23 - показывающие манометры; 11 - вентиль для регулирования подачи рассола; 15 - возвратный клапан; 16 - центробежный насос для подачи горячей воды; 17 - бачок аккумулятор; 18,19 - регулирующие клапаны подачи воды. [8]
Из молокохранительного отделения молоко подается в уравнительный бак 1, который имеет поплавковый регулятор уровня 2. при работе установки постоянный уровень в уравнительном баке поддерживается регулятором, что способствует стабильной работе центробежного насоса и предотвращает перелив молока из бака. Далее молоко центробежным насосом 3 нагнетается в первую секцию рекуперации I пластинчатого аппарата 5. Между центробежным насосом и пластинчатым аппаратом установлен ротаметрических регулятор 4, который обеспечивает постоянство производительности установки. В первой секции рекуперации молоко нагревается до температуры 40-50 и поступает в сепаратор - молокоочиститель 6, где происходит его очистка. Установка может иметь один сепаратор-молокоочиститель с центробежной выгрузкой осадка или два сепаратор-молокоочистителя без центробежной выгрузки, работающих поочередно. После очистки молоко, нагреваясь до температуры 65-700 С во второй секции рекуперации II, по внутреннему каналу переходит в секцию пастеризации III, где нагревается до температуры пастеризации 76-800 С. После секции пастеризации молоко выдерживается в выдерживателе 7 и возвращается в аппарат, где предварительно охлаждается в секциях рекуперации I и II и окончательно до конечной температуры - в секциях водяного охлаждения IV и рассольного охлаждения V. На выходе из аппарата установлен возвратный клапан 15. Он регулирует направление потока пастеризационного охлажденного молока к фасовочным автоматам или в уравнительный бак для повторной пастеризации при нарушении режима пастеризации. Горячая вода для нагревания молока подается в секцию пастеризации насосом 16. Из этой секции охлажденная вода, после того как она отдаст тепло молоку, возвращается в бачок-аккумулятор 17. Вода нагревается до температуры 78-820 С паром в пароконтактном нагревателе 21. В пароконтактный нагреватель подается пар регулирующими клапанами подачи 18 и 19. На выходе пастеризационного молока из секции пастеризации установлен датчик температуры 8, который связан с автоматической системой регулирования температуры пастеризации посредством клапана 19 и возврата молока на повторную пастеризацию посредством клапана 15. Датчик температуры 12 предназначен для контроля температуры охлажденного пастеризационного молока. Установка снабжена показывающими манометрами для контроля давления молока после сепаратора-молокоочистителя 9, для контроля давления холодной воды 10, для контроля давления рассола 13, для контроля давления греющего пара 20,22 и 23.[7]
Гомогенизатор
Предназначены для дробления и равномерного распределения жировых шариков в молоке и жидких молочных продуктах. Гомогенизаторы представляют собой многоплунжерные насосы высокого давления с гомогенизирующей головкой. Гомогенизаторы состоят из следующих основных узлов: кривошипно-шатунного механизма с системой смазки и охлаждения, плунжерного блока с гомогенизирующей (одной или двумя ступенями) и манометрическими головками и предохранительным клапаном, станины с приводом. Привод осуществляется от электродвигателя с помощью клиноременной передачи. Гомогенизация осуществляется путем прохода продукта под высоким давлением, с большой скоростью через гомогенизирующую головку, представляющую собой две (одну) ступени щели между притертыми клапаном и седлом, соединенные между собой каналом. Давление в гомогенизаторе регулируется вращением винтов (от 0 до 200 атм.), изменяющих размер щели между клапаном и седлом.
В гомогенизаторах применяется принудительная система смазки наиболее нагруженных, трущихся пар в сочетании с разбрызгиванием масла внутри корпуса. Все детали, соприкасающиеся с продуктом выполнены из пищевой нержавеющей стали.

Рисунок 8 - Гомогенизатор А1 -ОГМ
Гомогенизатор для двухступенчатой гомогенизации: 1 - змеевиковый охладитель; 2 - трубопровод для подачи мела; 3 - кривошипно-шатунный механизм; 4 - гомогенизирующий клапан; 5 - блок цилиндров; 6 - муфта; 7 - станина; 8 - устройство для выдвижения электродвигателя
Упаковка молока

Рисунок 9 – Схема упаковки молока в полиэтиленовые пакеты
Автомат для упаковки молока в пакеты (мешочки): 1-рулон; 2-механизм для нанесения даты; 3-бактерицидная лампа; -формующая труба; 5-дозатор; 6 - механизм продольной сварки; 7-механизм поперечной сварки и резки пакетов; 8 -заваренный и отрезанный пакет; 9-транспортер пактов; 10- бункер; 11-фотоэлемент счетного устройства. Упаковочная бумажная лента сначала подается с рулона 1 в емкость химической обработки, которая наполнена перекисью водорода, а затем огибает направляющий ролик и проходит в зоне бактерицидной лампы 3. В формующем колесе лента свертывается в трубу 4. Бумажная труба проходит через электронагреватель, в котором быстро нагревается до 300-400°С, в результате чего мгновенно разлагается перекись водорода, и тем самым достигается надежная стерилизация пакетов. После стерилизации пакетов в бумажную трубу непрерывным потоком поступает стерилизованное и охлажденное молоко. При этом ценообразование полностью исключается. В нижней части транспортера находится механизм 7 для поштучной резки пакетов, наполненных молоком. Отрезанные пакеты подают в ковши подъемного механизма укладчика, который укреплен в основании автомата. Пакеты автоматически укладываются в специальные корзины шестигранной формы.
2. Обзор литературных источников
В настоящее время существует большое разнообразие машин для гомогенизации молочных продуктов российского и иностранного производства. К ним относятся гомогенизаторы, с одно- и двухступенчатой гомогенизирующей головкой, а также клапанные и плунжерные, с высоким и низким давлением гомогенизации. Рассмотрим некоторые варианты оборудования для гомогенизации.
Гомогенизаторы предназначены для дробления и равномерного распределения жировых шариков в молоке и жидких молочных продуктах. Гомогенизаторы представляют собой многоплунжерные насосы высокого давления с гомогенизирующей головкой. Привод их осуществляется от электродвигателей с помощью клиноременной передачи.
Гомогенизация осуществляется путем прохода продукта под высоким давлением с большой скоростью через гомогенизирующую головку, представляющую собой две ступени – щели между притертыми клапаном и седлом, соединенные между собой каналом. Давление в гомогенизаторе регулируется вращением винтов, изменяющих размер щели между клапаном и седлом. При этом на первой ступени устанавливают ѕ необходимого для конкретного продукта давления гомогенизации, на второй – рабочее давление.
Гомогенизаторы состоят из следующих основных узлов: кривошипно-шатунного механизма с системой смазки и охлаждения, плунжерного блока с гомогенизирующей и манометрической головками и предохранительным клапаном, станины с приводом. Привод гомогенизатора осуществляется от электродвигателя с помощью клиноременной передачи. Кривошипно-шатунный механизм гомогенизатора предназначен для преобразования вращательного движения, передаваемого клиноременной передачей от электродвигателя, в возвратно-поступательное движение плунжеров, которые посредством манжетных уплотнений входят в рабочие камеры плунжерного блока и, совершая всасывающие и нагнетательные ходы, создают в нем необходимое давление гомогенизирующей жидкости.
Кривошипно-шатунный механизм состоит из корпуса; коленчатого вала, установленного на двух конических роликоподшипниках; крышек подшипников; шатунов с крышками и вкладышами; ползунов, шарнирно-соединенных с шатунами при помощи пальцев; стаканов; уплотнений; крышки корпуса и ведомого шкива, консольно закрепленного на конце коленчатого вала. Внутренняя полость корпуса кривошипно-шатунного механизма является масляной ванной. В задней стенке корпуса смонтированы маспоуказатель и сливная пробка.
2.1 Гомогенизатор ОГБ-М

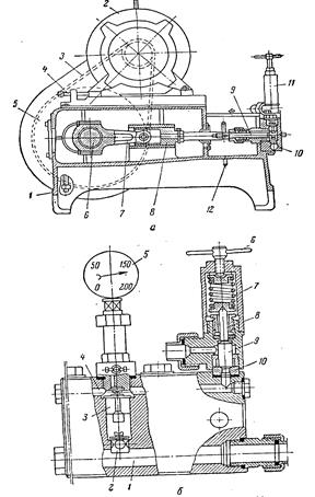
Рисунок 10 – Гомогенизатор ОГБ – М
а – общий вид: 1 – станина; 2 – электродвигатель; 3 – клиновые ремни; 4 – натяжной винт; 5 – шкив; 6 – коленчатый вал; 7 – гомогенизирующая головка; 12 – смывное приспособление; б – разрез блока цилиндров и гомогенизирующей головки: 1 – всасывающий канал; 2 – всасывающий клапан; 4 – нагнетательный канал; 5 – манометр; 6 – винт; 7 – пружина; 8 – стержень; 9 – клапан; 10 – седло.
2.2 Гомогенизатор А1-ОГМ-2,5

Рисунок 11 - Гомогенизатор А1-ОГМ-2,5
1 - станина; 2 - предохранительный клапан; 3 - манометрическая головка; 4 - плунжерный блок; 5 - манометр системы смазки; В - амперметр; 7 - гомогенизирующая головка.
Технические характеристики гомогенизатора А1-ОГМ-2,5
Производительность, л/ч 1250
Максимальное давление гомогенизации, МПа 18
Количество ступеней гомогенизации, шт 2
Количество плунжеров, шт 3
Установленная мощность двигателя, кВт 12
Габаритные размеры, мм 970×860×1400
Гомогенизаторы марки А1-ОГМ-2,5 имеют принудительную систему смазки наиболее нагруженных трущихся пар, которая применяется в сочетании с разбрызгиванием масла внутри корпуса, что увеличивает теплоотдачу. Охлаждение масла у этих гомогенизаторов производится водопроводной водой посредством змеевика, охлаждающего устройства, уложенного на дне корпуса, а плунжеры охлаждаются водопроводной водой, попадающей на них через отверстия в трубе. В системе охлаждения установлено реле протока, предназначенное для контроля за протеканием воды. В состав принудительной системы смазки входят сетчатый фильтр, маслонасос с индивидуальным приводом, распределительная коробка, предохранительный клапан и манометр для контроля давления в масляной системе. К корпусу кривошипно-шатунного механизма при помощи двух шпилек крепится плунжерный блок, который предназначен для всасывания продукта из подающей магистрали и нагнетания его под высоким давлением в гомогенизирующую головку. Плунжерный блок включает в себя блок, плунжеры, манжетные уплотнения, нижние, верхние и передние крышки, гайки, всасывающие и нагнетательные клапаны, седла клапанов, прокладки, втулки, пружины, фланец, штуцер и фильтр, который устанавливается во всасывающем канапе блока, К торцовой плоскости плунжерного блока крепится гомогенизирующая головка, предназначенная для выполнения двухступенчатой гомогенизации продукта за счет прохода его под высоким давлением через щель между клапаном и седлом клапана в каждой ступени. Гомогенизирующая головка представляет собой две одноступенчатые головки аналогичной конструкции, соединенные вместе и связанные каналом, позволяющим продукту переходить последовательно от первой ступени ко второй. Каждая из ступеней двухступенчатой гомогенизирующей головки состоит из корпуса, клапана, седла клапана и нажимного устройства, включающего стакан, шток, пружину и нажимной винт с рукояткой.
Регулировка давления гомогенизации производится вращением винтов. При установлении режима гомогенизации продукта на первой ступени устанавливают 3/4 необходимого давления гомогенизации, а затем на второй ступени вращением нажимного винта повышают давление до рабочего. На верхней плоскости плунжерного блока крепится манометрическая головка, которая предназначена для осуществления контроля давления гомогенизации, т.е. давления на нагнетательном коллекторе плунжерного блока. Манометрическая головка имеет дросселирующее устройство, дающее возможность эффективно уменьшить амплитуду колебания стрелки манометра. Манометрическая головка состоит из корпуса, иглы, уплотнения, гайки, поджимающей уплотнение, шайбы и манометра с мембранным разделителем. К торцовой плоскости плунжерного блока со стороны, противоположной креплению гомогенизирующей головки, крепится предохранительный клапан, который предотвращает повышение давления гомогенизации выше номинального. Предохранительный клапан состоит из винта, контргайки, пяты, пружины, клапана и седла клапана. На максимальное давление гомогенизации предохранительный клапан настраивается вращением нажимного винта, который передает усилие нажатия на клапан посредством пружины. Станина представляет собой сварную конструкцию из швеллеров, обшитых листовой сталью. На верхней плоскости станины устанавливается кривошипно-шатунный механизм. Внутри станины на двух кронштейнах шарнирно крепится плита, на которой устанавливается электродвигатель. С другой стороны плита поддерживается винтами, регулирующими натяжение клиновых ремней. Станина гомогенизаторов марки А1-ОГМ-2,5 устанавливается на четырех регулируемых по .высоте опорах. Боковые окна станины закрываются съемными крышками. Верхняя часть станины закрыта кожухом, предназначенным для ограждения механизмов от повреждений и придания гомогенизатору необходимой эстетической формы. Молоко или молочный продукт подается при помощи насоса во всасывающий канал плунжерного блока. Из рабочей полости блока продукт под давлением подается через нагнетательный канал в гомогенизирующую головку и с большой скоростью проходит через кольцевой зазор, образующийся между притертыми поверхностями гомогенизирующего клапана и его седла. При этом происходит диспергирование жировой фазы продукта.
В дальнейшем продукт из гомогенизирующей головки направляется по трубопроводу на дальнейшую обработку или хранение.
2.3 Гомогенизатор ГМ-0,5/20

Рисунок 12 - Гомогенизатор ГМ-0,5/20
Техническая характеристика
Производительность, л/час 500
Мощность, кВт 4
Число ступеней гомогенизации, шт 2
Давление гомогенизации, МПа 20
2.4 Вакуумный миксер-гомогенизатор

Рисунок13 - Вакуумный миксер-гомогенизатор
Установка представляет собой вакуумный реактор, с перемешивающим устройством, к которому на рециркуляцию подсоединен гомогенизатор. После загрузки основных компонентов в емкость реактора, из системы откачивается воздух, и установку включают в режим рециркуляции, в процессе которой происходит измельчение и смешивание загруженных компонентов. Встроенная в систему воронка позволяет дозагружать необходимые компоненты в процессе гомогенизации.
Основным преимуществом данной конструкции является то, что она позволяет смешивать между собой такие компоненты, которые при смешивании на открытом воздухе затвердевают еще в процессе смешивания.
2.5 Гомогенизатор СВА - 3

Рисунок 14-Гомогенизатор СВА - 3
Гомогенизатор модели СВА - 3 используется для получения мелкодисперсной, равноперемешанной, устойчивой структуры вязких продуктов, получаемых из нескольких ингредиентов. Продукт, попадая в гомогенизатор, проходит путь через узкие, постоянно меняющиеся зазоры между ротором и статором. В результате осуществляется измельчение продукта до мелкодисперсного состояния и одновременная его перекачка. Гомогенизатор применяется в пищевой, косметической, химической, фармацевтической промышленностях.
Технические характеристики гомогенизатора СВА - 3
| Производительность кг/час | до 700 |
| Масса, кг | 30 |
| Габаритные размеры, мм | 450х300х250 |
| Диаметр входа, мм | Dу –32 |
| Диаметр выхода, мм | Dу –32 |
2.6 Гомогенизаторы производства компании Bertoli Srl H5150
Рисунок 15 - Гомогенизаторы производства компании Bertoli Srl
Технические характеристики H5150.
Производительность л/час 22000
Количество плунжеров, шт. 5
Потребление энергии, кВт 160
Габаритные размеры, мм 1440х1680х2660
Технические достоинства
1. Высокая эффективность гомогенизации молока. При давлении 200 бар и температуре 65...70С эффективность гомогенизации составляет 90...95%, что на 10...15% лучше отечественных аналогов. Средний размер жировых шариков после гомогенизации - 0.85мкм.
2. Отсутствие вибраций и шумов. Опоры гомогенизатора крепятся к станине через вибропоглащающие соединения, что на практике исключает вибрации при работе. Тестовый уровень вибраций в пределах 0.45...3.0 мм/сек (для различных точек измерения), соответствует требованиям ЕС.
3. Износоустойчивость клапанной группы. Гомогенизирующая головка изготовлена из никель-хром-молибденового сплава специально для применений при высоких давлениях. Самоцентрирующиеся нержавеющие поршни. Клапаны и седла выполнены из высококачественного износоустойчивого нержавеющего сплава.
4. Фиксированная и регулируемая производительность. Гомогенизатор может быть укомплектован шкафом управления для фиксированной производительности или шкафом управления для регулируемой производительности. [15]
3. Конструкторская разработка
В настоящее время существует большое разнообразие машин для гомогенизации молочных продуктов российского и иностранного производства. К ним относятся гомогенизаторы, с одно- и двухступенчатой гомогенизирующей головкой, а также клапанные и плунжерные, с высоким и низким давлением гомогенизации.
Гомогенизация осуществляется путем прохода продукта под высоким давлением с большой скоростью через гомогенизирующую головку, представляющую собой две ступени – щели между притертыми клапаном и седлом, соединенные между собой каналом. Давление в гомогенизаторе регулируется вращением винтов, изменяющих размер щели между клапаном и седлом. При этом на первой ступени устанавливают ѕ необходимого для конкретного продукта давления гомогенизации, на второй – рабочее давление. В данном курсовом проекте рассмотрена модернизация гомогенизирующей головки, для повышения производительности которой применяется вихревой эффект. Рассмотрим конструкцию модернизируемой гомогенизирующей головки подробнее.
3.1 Гомогенизирующая головка
содержащая седло и клапан с расположенным между ними щелью, образованной концентрическими кольцевыми проточками седла и клапана, с разгрузочной камерой, расположенной в щели, проточками для подвода продукта к щели, расположенной в верхней части головки, демпфирующей полостью, встроенной в седло или клапан, отличающаяся тем, что седло и клапан выполнены с возможностью вращения в противоположные стороны под действием движущегося потока молока и установлены в подшипниках, расположенных в неподвижном корпусе, содержащем штуцер для вывода гомогенизированного продукта, при этом проточки для подвода продукта к лабиринтной щели выполнены в виде конфузора, получаемого путем растачивания седла клапана с образованием конических поверхностей, причем вершины их конусов направлены в противоположные стороны, а по всей длине конических поверхностей седла и клапана под углом к образующим выполнены круглые канавки, направленные в разные стороны у седла и клапана.
Гомогенизирующая головка работает следующим образом:
Поток продукта, например молока, под давлением подается в проточки и, двигаясь к лабиринтной щели 3, заставляет вращаться в разные стороны седло и клапан за счет расположенных на их конических поверхностях круглых канавок. Этот способствует избежанию облитерации щели, дает возможность легко регулировать размер щели в процессе гомогенизации. При протекании на большой скорости по щели поток продукта гомогенизируется, т.е. происходит измельчение грубых взвесей и крупных частиц продукта, например жировых шариков. Эффективности гомогенизации продукта способствует не только наличие щели огибаемых препятствий и поворотов, но и вращение седла и клапана в противоположные стороны. Гомогенизированный продукт выводится через патрубок.
Предложенная гомогенизируемая головка позволяет повысить качество гомогенизации за счет дополнительной турбулизации потока, обусловленной вращением седла и клапана в противоположные стороны. В результате этого значительно снижается облитерация щели, что положительно влияет на качество гомогенизации и, как следствие этого, увеличивается производительность процесса гомогенизации. [22]
3.2 Инженерные расчеты
Производительность гомогенизатора равна подаче его насоса. Для плунжерных насосов подача зависит от диаметра плунжеров и величины хода, количества плунжеров и числа оборотов коленчатого вала. При заданных параметрах машины производительность Vсек ее можно рассчитать по формуле
Vсек
=
м3
/ сек, (2.6)
где d‑ диаметр плунжера, м;
S – ход плунжера, м;
п – угловая скорость вращения коленчатого вала, об/сек;
φ – объемный к. п. д. насоса (для молока = 0,85; для вязкого продукта значительно меньше);
z – количество плунжеров.
![]()
Мощность N, необходимую для работы гомогенизатора, определяют по формуле для расчета мощности насосов
N =
Вт, (2.7)
![]()
где р0 – давление, развиваемое плунжерами гомогенизатора (давление перед клапаном), Н/м2 ;
η – механический к. п. д. гомогенизатора (= 0,75).
В результате затрат большого количества механической энергии, которая превращается в теплоту, при клапанной гомогенизации заметно нагревается продукт.
Повышение температуры продукта в гомогенизаторе можно рассчитать по формуле:
∆t =
град, (2.8)
![]()
где N ‑ потребная мощность, Вт;
Vсек – объемная производительность гомогенизатора, м3 /ceк;
ρ – плотность продукта, кг/м3 ;
С–массовая теплоемкость продукта, Дж/(кг∙ град).
Расчет и выбор конструктивных параметров гомогенизирующей головки.
Эффективность гомогенизации зависит от гидравлических условий в зоне клапанной щели. Эти условия в основном определяются давлением гомогенизации, от которого зависит скорость движения жидкости в щели и высота клапанной щели. В радиально расходящейся клапанной щели скорость потока V1 имеет наибольшее значение в начале щели на радиусе r. По мере расширения потока к выходу скорость уменьшается до величины V2 . Наибольшая теоретическая скорость V1 зависит от давления гомогенизации и может быть вычислена по формуле Торричелли:
![]()
где
– давление гомогенизации, Па;
Y - удельный вес жидкости, Н/м3
; ![]()

Действительная скорость истечения V меньше теоретической, причем величина отклонения зависит от вязкости жидкости и высоты клапанной щели. Число Re для потока жидкости не зависит от давления гомогенизации и при работе с данным продуктом остается постоянным при любых режимах работы:
![]()
где
- кинематическая вязкость, м2
/с;
Следовательно, число Re для потока в клапанной щели зависит от производительность машины, размеров клапана и вязкости жидкости. Обычно при работе гомогенизаторов число Re =25000…35000.
![]()
м
Высота клапанной щели h при работе гомогенизатора нестабильна, а изменяется в широком диапазоне в зависимости от расхода жидкости через клапан, размеров клапана, давления гомогенизации и вязкости жидкости. Ее можно определить по формуле (2):
![]()
![]()
Толщина тарелки клапана:
![]()
где р - давление гомогенизации, Па;
Па – допускаемое напряжение для материала клапана;
dk –диаметр клапана, м
![]()
где π - производительность гомогенизатора, м/с
Vd - допускаемая скорость жидкости в седле, м/с.
ΔS- площадь сечения хвостовика, м2
![]()
где
– радиус хвостовика, м2
.
Из уравнений (3), (4), (5) вычисляем толщину тарелки клапана и диаметр клапана:
![]()
![]()
![]()
При гомогенизации часть механической энергии превращается в теплоту, вследствие чего происходит повышении температуры гомогенизации продукта Δ t:
![]()
где Р - давление гомогенизации, Па
c = 3850 Дж/(кг·К) - удельная теплоемкость молока;
– 1027 кг/м3
- плотность молока, кг/м3
![]()
Средний диаметр жировых шариков, м определяется по формуле Барановского Н.В.:

где Р - давление гомогенизации, МПа
![]()
Расчет предохранительных клапанов можно свести к определению проходного сечения седла клапана с учетом вязкости обрабатываемой жидкости. Для маловязких жидкостей (молоко, соки) диаметр проходного сечения седла определяется по формуле:

где рв –давление всасывания, МПа
П – производительность, м3 /ч
δв – отношение массы перекачиваемой жидкости к массе воды

Высокое давление гомогенизации является причиной того, что клапанные гомогенизаторы поглощают много электроэнергии и отличаются большой металлоемкостью. Чтобы уменьшить расход энергии и облегчить конструкцию, за рубежом созданы гомогенизаторы "низкого давления". Режим их работы позволяет получить эффект гомогенизации, достаточный при выработке цельного гомогенизированного молока. Пружина гомогенизирующей головки должна быть достаточно жесткой, чтобы обеспечить необходимое давление гомогенизации, зависящее от усилия Р, с которым пружина действует на клапан. Связь между этим усилием, параметрами пружины и возникающим в пружине наибольшим касательным напряжением τмак выражается формулой:
![]()
где Р - усилие, действующее на пружину, Н;
D - средний диаметр витков пружины, м;
d - диаметр проволоки, м;
К - поправочный коэффициент.
Поправочный коэффициент зависит от индекса пружины:
![]()
Приближенно ![]()
Пружина должна удовлетворять условию τмак <[τ]. Допускаемые напряжения на кручение [τ] , которые зависят от механических свойств материала, колеблется в широких приделах (300-600 Н/м2 ).
При расчете задаемся индексом пружины Сп =4...5. Это дает возможность на основании формулы (9) определить диаметр проволоки:

По формуле (10) рассчитывают средний диаметр витков пружины.
Количество витков пружины гомогенизатора n = 4...6
Усилие затяжки Р определяется по формуле: Р=f · ΔP
где f – площадь сечения канала перед клапаном, м2 ;
ΔP - рабочее давление гомогенизатора, Н/м2 ;
![]()
![]()
![]()

![]()
![]()
3.3 Определение конструктивных параметров насосного блока и расчет мощности на привод
Из производительности плунжерного гомогенизатора П, м3 /с
![]()
где d - диаметр плунжера, м;
s - ход плунжера, м;
n - частота вращения, с-1 ;
z = 3 - число плунжеров;
φ - 0,85 – КПД насоса.
Найдем диаметр плунжера

Мощность, необходимая на привод, определяется по формуле для расчета мощности насосов:

V - объемная производительность гомогенизатора, м3 /с;
Ρ - 1027 – плотность продукта, кг/м3 ;
С = 3500 – массовая теплоемкость продукта, Дж/(кг·К);
![]()
![]()
Отсюда
d1
=40·![]()
Найдем диаметр ведомого шкива:
d2 =u· d1 (1-ξ) (20)
ξ - коэффициент упругого скольжения (0,01..0,02)
d2 = 2,8 · 232,26(1 - 0,02) = 637,32 мм
Значение диаметра шкивов выбираем из стандартного ряда:
d1 = 250мм, d2 = 710мм
Межосевое расстояние предварительно вычисляем по формуле:
а = 0,55 · (d1 + d2 ) + h; (21)
h - высота ремня, мм
а = 0,55 · (250+710)+13,5=541,5 мм
Длина ремня
L= 2·541.5+3.14(250+710)/2+(710-250)2 /4·541.5=2687.89 мм
Длину клиновых ремней уточняют по стандартному ряду: L=2800
Затем пересчитывают межосевое расстояние по формуле:
![]()
Угол обхвата ремнем меньшего шкива:
α1 =180° - 57(d2 - d1 )/а (24)
α2 =180° - 57(710 - 250)/602,5=136,48°
Для клиноременной передачи α1 ≥90°. С уменьшением угла обхвата снижается тяговая способность передачи.
Усилие в ремне. Окружное усилие, Н
Ft =2T/d
где Т - передаваемая мощность, Вт.
![]()
V=3.14·250·732/60·103 =9.577<25 м/с
![]()
Найдем предварительное натяжение ремня F0 , необходимое для создания силы трения между ремнем и ремнями; а также натяжение ведущей ветви F1 и ведомой ветви F2 по формулам:

где е – основание натурального логарифма;
f - коэффициент трения ремня по шкиву;

![]()

Сила натяжения в ремне создают нагрузки на валы. Равнодействующая этих сил:
![]()
![]()
Напряжения в ремне. В ведущей ветви ремня возникает наибольшее напряжение растяжения:
σ1 =F1 /A
σ1 =3067.8/230=13.34 Н/мм
Наибольшее напряжение изгибы возникает на ведущей шкивы:
σu =Eδ/d1, (30)
где Е - модуль упругости материала ремня: для резинотканевых ремней Е = 200...350 МПа
δ/d1 - относительная удлинение ремня: для плоскоременных передач δ/d1 =1/100…1/250.
σu =300·1/40=7,5 Мпа.
σмак =7,5+13,34=20,84 МПа
Найдем коэффициент тяги, который показывает, какая часть предварительного натяжения ремня F0 реализуется для передачи полезной нагрузки Fт :
![]()
φ=1566,2/2·2284,7=0,34
Расчет клиноременных передач. Основные параметры клиновых кордошнуровых ремней – формулу и размеры поперечного сечения, длину определяют в соответствии с ГОСТ 1284.1-89. Сечение ремня выбирают в зависимости от передаваемого момента. В приводах с/х машин используют ремни сечений А,В,С,Д .В нашем случае –это С. Проектный расчет передачи ведет по допустимой мощности, передаваемой одним ремнем:
Рр =р0 ·Сα ·Сu·Cl ·Cp ; (32)
Р0 - допустимая мощность , кВт, передаваемая одним ремнем при u=1,
Сu - коэффициент, учитывающий передаточное число;
Cl - коэффициент, учитывающий длину ремня;
Сα - коэффициент, учитывающий угол обхвата,
Cp - коэффициент, учитывающий режим и характер работы.
Коэффициент, учитывающий длину ремня:
Cl
=![]()
L0 - базовая длина клинового ремня:
Cl
=
=0,86
Рр =6,02·0,868·1,14·0,96·0,8=4,57 кВт.
Передаточное число ремней в передаче:

где Р - передаваемая мощность, кВт
-коэффициент, учитывающий неравномерность распределения нагрузки между ремнями.
Значение коэффициента
принимают в зависимости от предварительного числа ремней, из следующих соотношений:
z1 1 2..3 4…6
1 0,95 0,9
Предварительное число ремней:
z1 =Р/Рр (35)
z1 =15/4,57=3,3
z≥
=3,64
рекомендуется принимать z≤6, поскольку из-за погрешностей изготовления длины ремней разная и нагрузка между ними распределяется неравномерно.
Расчет на долговечность. Основная причина усталостного разрушения ремня - циклически изменяющиеся напряжения, существенно зависящие от базового числа циклов изменения напряжений Nоц и фактического числа пробегов ремня за время эксплуатации:
Nоц =3600·а Т0 ·λ, (36)
где а - число шкивов,
Т0 - наработка ремня, ч
λ - частота циклов изменения напряжений, равная частоте пробегов ремня в секунду.
Наработка ремня, ч
Т0
=(
)m
·
; (37)
где
-предел выносливости, соответствующий базовому числу циклов изменения напряжения;
m-опытный показатель;
=1;
=2.
При периодически изменяющихся нагрузках от 0 до номинального значения.
=1,5
=2,1
Т0
=(
)8
·![]()
Nоц
=3600·2·0,4·
=9850,6
Шкивы ременных передач. Конструкция шкива зависит от его размеров, материала и типа передачи. Шкивы изготавливают из чугуна, стали, легких сплавов и пластмасс. Основные размеры шкивов – диаметр и ширину обода рассчитывают, остальные размеры определяют по рекомендациям ГОСТ 17383-73 для плоских ремней и ГОСТ 20889-88 для клиновых ремней нормальных сечений. [16]
Ширина шкива клиноременной поликлиновой:
М=(n-1)l+2f; (38)
n - число канавок на шкиве.
М=(4-1)·25,5+2·17=110,5мм
Толщина обода чугунных шкивов клиновых передач: δ = (1,1…1,3)h ;
δ = (1,1..1,3)·1,43=17,16 мм. (39)
4. Охрана труда и экологическая безопасность проектных решений
Проектируемый гомогенизатор полностью отвечает требованиям ОСТ-27-00-216-75, ГОСТ 12.3.002 – 75 и ГОСТ 12.2.048-80. Гомогенизатор со всех сторон заключен в кожух, что полностью исключает производственный травматизм при его эксплуатации. Машина снабжена системой автоматического отключения при изменении какого- либо технологического параметра. Перед пуском гомогенизатора следует проверить наличие и уровень масла в масляной ванне, исправность манометра. Затем пускают воду на охлаждение плунжеров. Давление в нагнетательной камере гомогенизатора не должно превышать предела, установленного паспортом (красная черта на манометре указывает предельно допустимое рабочее давление). Гомогенизатор останавливают, если стрелка манометра делает резкие скачки или показывает давление выше допустимого уровня. До полной остановки гомогенизатора запрещается вскрывать головку, уплотнять сальники плунжеров и производить какой-либо ремонт машины или коммуникаций.
При техническом обслуживании и ремонте следует пользоваться специальным инструментом и приспособлениями. Запрещается использование случайных подручных средств.
По электробезопасности гомогенизатор К5-ОГА-10М полностью отвечает требованиям ГОСТ 12.2.007-75. Защитный кожух машины полностью исключает поражение человека электрическим током. При переходе на металлические части гомогенизатора предусмотрено зануление и автоматическое отключение машины. Наше время характеризуется тем, что практически каждый человек связан с использованием электрической энергии. Кроме этого опасность поражения электрическим током среди прочих опасностей отличается тем, что человек не может обнаружить без специальных приборов напряжение на расстоянии. Оно обнаруживается только тогда, когда человек касается токоведущих частей. Поэтому большое значение приобретают вопросы защиты обслуживающего персонала от поражения электрическим током. Для обеспечения электробезопасности на предприятиях мясной и молочной промышленности используют следующие технические способы и средства защиты:
- защитное заземление;
- зануление;
- применение малых напряжений;
- контроль изоляции обмоток;
- средства индивидуальной защиты;
- предохранительные приспособления.
Гомогенизатор является относительно безвредной с точки зрения охраны труда, машиной. В нем не используется такие потенциальные опасные вещества, как газ, пар и т.д. , не происходит выброса в атмосферу каких-либо вредных веществ. Возможность аварии при нарушении правил пуска оборудования. При пуске холодного оборудования гомогенизатора клапан должен быть открыт и давление гомогенизации должно быть равно 0. В противном случае при пуске жидкости в гомогенизатор возможно возникновение гидравлического удара, в этом случае могут быть разрушены нагнетательные клапаны гомогенизатора. Плунжерный насос должен иметь предохранительный клапан, рассчитанный на максимальное давление и манометр регистрирующий давление гомогенизации. Кроме того проектируемый гомогенизатор управляется дистанционно, в нем предусмотрен ряд автоматических блокировок в случае нарушения какого-либо технологического параметра (давление продукта, давление масла, изменение силы тока в питающей сети). Интерес представляет лишь шум, создаваемый трущимися частями машины и движущейся жидкости. [18]
4.1 Производственная санитария
Производственная санитария включает в себя: оздоровление воздушной среды и нормализацию параметров микроклимата рабочей зоне, защиту работающих от шума, вибрации, обеспечение требуемых нормативов естественного и искусственного освещения, поддержание в соответствии с санитарными требованиями территории предприятия, основных производственных и вспомогательных помещений.
4.2 Шум
Расчет уровня звукового давления создаваемого гомогенизатором при работе.
Исходные данные:
Цех: аппаратный 24246 м
Шумовая характеристика гомогенизатора по частотам
Среднегеометрические частоты, Гц. |
63 | 125 | 250 | 500 | 1000 | 2000 | 4000 | 8000 |
Уровень звуковой мощности Lр , Дб. |
91 | 91 | 84 | 88 | 93 | 86 | 78 | 82 |
Уровень звукового давления L сравниваем с ГОСТ 12.1.003-83 "ГОСТ. Шум. Общие требования". Допустимые уровни звукового давления приведены в сводной таблице (см. ниже).
Уровень звукового давления в середине помещения.
где Lр – уровень звуковой мощности от источника шума, Дб;
r – расстояние от источника шума до середины помещения, м;
В – постоянная помещения, м3 .
r = 3 м;
В = V/18,
V = 24246 = 3456 м3 – объём помещения;
- частотный множитель.
Значение коэффициента по частотам
| Частота, Гц. | 63 | 125 | 250 | 500 | 1000 | 2000 | 4000 | 8000 |
| | 0,5 | 0,5 | 0,55 | 0,7 | 1 | 1,6 | 3,0 | 6,0 |
Результаты расчетов уровня звукового давления сводим в таблицу (см. ниже).
Полученные результаты не превышают предельно-допускаемые значения уровня звукового давления.
Среднегеометрические частоты, Гц. |
63 | 125 | 250 | 500 | 1000 | 2000 | 4000 | 8000 |
Уровень звукового давления L, Дб. |
81 | 81 | 74 | 77 | 82 | 74 | 66 | 70 |
Допускаемые уровни звукового давления, Дб. ГОСТ 12.1.003-83"ССБТ" |
99 | 92 | 86 | 83 | 80 | 78 | 76 | 74 |
Электродвигатели, гомогенизаторы и пусковая аппаратура должны быть тщательно заземлены; необходимо систематически проверять состояние заземляющих устройств. Во время эксплуатации у приводов должны быть защитные кожухи. Запрещается проводить ремонт, смазку, чистку и мойку на ходу машины. Исправность предохранительного клапана и его регулирование на максимально допустимое рабочее давление надо обязательно проверять каждый раз перед работой. Рабочее давление в нагнетательной камеры регулируют штурвалом гомогенизирующей головки. Оно не должно превышать паспортного значения.
У пусковой кнопки электродвигателя привода гомогенизатора обязательно должна быть вывешена табличка с надписью "Перед включением электродвигателя пусти воду на охлаждение плунжеров". Останавливать машину только после разжатия до отказа пружины гомогенизирующей головки. При несоблюдении этого требования диафрагмы манометров выходит из строя. После работы блок цилиндра промывают на ходу машины, пропуская через него сначала теплую, затем горячую воду до тех пор, пока вода не будет выходить чистой. Затем разбирают гомогенизирующую часть и хорошо промывают в горячей воде, сушат и собирают блок.
4.3 Охрана окружающей среды
Окружающая среда является неотъемлемой составной частью жизнедеятельности человека, как с точки зрения прогресса, так и вредных его последствий. Неблагоприятное изменение таких дефицитных ресурсов планеты, как воздух, вода, плодородные почвы, природные источники питания достигли угрожающего уровня.
Государственная охрана санитарного надзора и охраны природной среды должны осуществлять постоянный контроль за соблюдением действующих предельно допустимых концентраций вредных выбросов со стороны предприятия.
Производство молочной промышленности может иметь разнообразные источники загрязнения атмосферы: выброса систем вентиляции, газообразные выбросы от технологического оборудования, выбросы автотранспорта и другое. Основными источниками загрязнения является производство сухого молока и молочных продуктов (сушильные установки, огневое калориферы); жестянобаночный цех (лужение, траление, пайка); производство казеина (дробилки, казеиносушилки); отделение мойки тары и оборудования; производство мороженого (печь для выпечки вафель); сыродельный (парафинеры, коптилки колбасного сыра) и другие.
Выбросы в атмосферу предприятием молочной промышленности можно разделить на следующие группы:
· Выбросы, образующиеся при производстве энергии и в результате использования транспортных средств;
· Выбросы, сопутствующие основным технологическим процессам;
· Выбросы вспомогательных цехов и производств.
На предприятии источниками являются сыродельный цех (парафинирование сыра), а также транспортные средства (транспортирующие сырье и готовую продукцию) и собственная котельная.
Для уменьшения загазованности воздуха площади свободные от построек благоустроены и озеленены, причем породы деревьев выбраны хвойные, обладающие ярко выраженной способностью к газопоглощению и пыле задержанию. Кроме поглощения вредных газов и паров зеленые насаждения снижают уровень шума, а также насыщают воздух кислорода. Для функционирования котельной выбрано наиболее экологически чистое топливо – газ. При сжигании топлива в состав выбросов входят только окись углерода и окиси азота, тогда как при использовании твердого топлива и мазута в выбросах присутствуют также твердые частицы (зола, сажа) и сернистый ангидрид.
Предприятия молочной промышленности расходуют чистую воду, которая в процессе её использования загрязняется различными примесями, в том числе и органическими. Органические вещества являются хорошей питательной средой для различного рода бактерий. Поэтому для поддержания хорошего санитарного состояния помещений и территорий предприятие отбросы и сточные воды немедленно удаляются с предприятия, а также через систему канализации за пределы населенного пункта. В зависимости от происхождения, вида и качественной характеристики сточные воды предприятий молочной промышленности можно подразделить на производственные (промышленные), хозяйственно – фекальные и ливневые (атмосферные) сточные воды. По степени загрязнения сточные воды подразделяют на загрязненные, условно-чистые воды образуются в результате производственных операций и загрязнена обычно составляющие молоко (молочный жир, белок).
На предприятии при мойке оборудования и производственных помещений используются моющие средства, частично растворяющие эти вещества. Сточные воды предприятия поступают в городскую канализацию и только после предварительной очистки (механической, биологической), попадают в водоемы. Качество, безопасность пищевой продукции и способность её удовлетворять физиологические потребности человека определяются соответствием ее гигиеническим нормативам, установленным санитарными правилами и нормами. Требования, которыми должны соответствовать органолептические свойства пищевой продукции, устанавливаются в нормативной и технической документации на её производство. Безопасность продовольственного сырья и пищевых продуктов в эпидемическом и радиационном отношение, а также по содержанию химических загрязнителей определяется их соответствием гигиеническим нормативам.
Гигиенические нормативы включают потенциально опасные химические соединения и биологические объекты, присутствие которых в пищевой продукции не должно превышать допустимый уровней их содержания в заданной массе (объем) исследуемой продукции. В продовольственном сырье и пищевых продуктов регламентируется содержание основных химических загрязнителей, представляющих опасность для здоровья человека. Гигиенические требования к допустимому уровню содержания токсичных элементов предъявляются ко всем видам продовольственного сырья и пищевых продуктов. Во всех видах продовольственного сырья и пищевых продуктов нормируется как глобальные загрязнители пестициды – генсахлорцикоиогексан (α-, β-, γ- изомеры) и ДДТ и его метаболиты. В продуктах животного происхождения нормализуются остаточные количества антибиотиков, применяемых в животноводстве для целей откорма, лечение и профилактики заболеваний скота. В молоке и молочных продуктах контролируются как допущенные к применению в сельском хозяйстве кормовые антибиотики – пенициллин, стрептоцин, антибиотики тетрациклиновой группы, левомицитин. С целью ограничения внутреннего облучения установлены гигиенические нормативы содержания радионуклидов. Радиационная безопасность пищевой продукции определяется её соответствием допустимым уровнем удельной активности радионуклеидов цезий – 737 и стронций – 90. Гигиенические нормы качества и безопасности, которые должны соответствовать все пищевые продукты и продовольственное сырье, приведены (приложении П). По этим показателям ежемесячно испытание продукции проводят сотрудники лаборатории Областной СЭС. Санитарно – гигиенической оценке подлежат пищевые продукты и продовольственное сырье животного происхождения после ветеринарно–санитарной экспертизы, проводимой государственной ветеринарной службой в соответствии с действующими ветеринарной –санитарными правилами и при обязательном наличии документов, выданных органами Госветслужбы. [20]
5. Технико-экономическая оценка проекта
Экономическая эффективность определяется путем сравнения общих и частных показателей вариантов проектных решений. Основным из общих показателей являются затраты труда, стоимость продукции, приведенные затраты, коэффициенты экономической эффективности капитальных вложений, срок окупаемости.
Рассчитываем стоимость материала, необходимого для производства деталей См , руб.
![]()
Где,
- средняя стоимость 1 кг материала из которого изготавливают детали, руб.(=30 руб.)
- масса изготавливаемых деталей, кг (=37кг)
См = 30◦37=1110 руб.
Фонд оплаты труда рабочих изготавливающих детали Фо , руб.
![]()
Где, Ту -трудоемкость установки детали, чел/ч(=28 чел/ч)
СЧо - средняя оплата труда рабочих машиностроительного завода, руб(=37 руб)
Фо =28◦37=1036 руб.
Отчисления в фонд 31% от фонда оплаты труда рабочих изготавливающих детали Оф , руб.
Оф =1036◦0,31=321 руб.
Затраты на производство модернизированной машины Зм , руб.
Зм = Сс + См + Оф + Фо =490 000+1110+1036+321=492467 руб.
Торговая цена модернизированной машины Цм , руб рассчитывается по формуле:
Цм =зм +ТН,
Где, ТН –торговая наценка, руб (=54345 руб.)
Цм = 492467+54345=546812 руб.
Расчеты капительных затрат по внедрению модернизированной машины. Покупка модернизированной машины Цм =546812 руб.
Монтаж модернизированной машины принимается в размере 5% от стоимости машины:
Мм =Цм ◦0,05
Мм =546812◦0,05=27340 руб.
Доставка модернизированной машины к месту работ рассчитывается и принимается 2% от стоимости машины:
Дм =Цм ◦0,02;
Дм =546812◦0,02=1096 руб.
Всего капитальных затрат по модернизации машины КЗ2 , руб,:
КЗ2 = Цм + Дм + Мм ;
КЗ2 =546812+1096+27340=575248 руб.
Критерием сравнительной экономической эффективности является минимум приведенных затрат (З). Приведенные затраты по каждому варианту представляют собой сумму текущих затрат (себестоимости) и капитальных вложений, приведенных к одинаковой размерности в соответствии с нормативом эффективности. Наиболее экономичен вариант новой техники, которому соответствуют наименьшие приведенные затраты при одинаковом объеме выполняемой полезной работы. [21]
З = С + Ен × К ® min,
С - себестоимость прибора;
C1 =490000руб. - себестоимость базовой СУ
C2 = 575248 руб. - себестоимость проектируемой СУ
К - удельные капитальные вложения в производственные фонды (определяются как нормированная величина),
K = 0,9 ´ C,
К1 = 441000 руб.,
К2 =517723руб.;
Eн - нормативный коэффициент эффективности капитальных вложений,
Ен = 0,17.
Имеем:
З1 = 490000+ 0,17´441000 = 564970 руб.,
З2 = 575248 + 0,17´517723 = 663260руб.
Минимальная оптовая цена базовой и проектируемой СУ:
Цм = Снт ´ (1 + Рс ),
где Рс - коэффициент рентабельности изделия, отражающий отношение прибыли к себестоимости продукции (Рс = 0,13¸0,2 ),
Тогда:
Цм1 = 490000 ´ (1 + 0,15) = 563500 руб.;
Цм2 = 575248 ´ (1 + 0,15) = 661535 руб.
Расчет сравнительной экономической эффективности проведем по формуле:

где З1 ,З2 - приведенные затраты на изготовление базового и проектируемого прибора;
В1 ,В2 - производительность (мощность) базового и проектируемого прибора;
В связи с уменьшением количества, брака вызванным применением проектируемой СУ, производительности базовой и проектируемой СУ соотносятся как:
В2 / В1 = 1,2
Р1 ,Р2 - доля амортизационных отчислений на реновацию (полное восстановление) базового и нового прибора;

где Тс - срок службы машины;
Р1 = 1/2 = 0,5;
P2 = 1/10 = 0,1
Эр Б’ , Эр Н - эксплуатационные расходы по базовому устройству на сопоставимый объем работы (сопоставимую мощность) и новому прибору;

где Эр б - годовые эксплуатационные расходы по базовому прибору;
При расчете годовых эксплуатационных расходов учитываются только те издержки по эксплуатации, которые претерпевают изменения при сопоставлении со сравниваемым устройством:
Эр = А + Рт + Эн ,
где А - амортизация техники, исчисляемая исходя из срока службы (Тс ):
А = Цм / Тс ;
А1 = 490000 / 2 = 245000 руб.
А2 = 575248 / 10 =57524 руб.
Рт - расходы на текущий ремонт техники, исчисляемые по нормативу в проценте к ее стоимости:
Рт = Цм ´ Нр / 100,
где Нр - норматив расхода средств на ремонт в проценте к оптовой цене (3¸7%);
Рт1 = 490000 ´ 5 / 100 = 24500 руб.
Рт2 = 575248 ´ 5 / 100 = 28762 руб.
Эн - расходы на электроэнергию:
Эн = Мт ´ Тч ´ Сэ ,
где Мт - потребляемая мощность, кВт;
Тч - время работы техники за год, ч;
Сэ - стоимость одного кВт-ч энергии;
Сэ = 2,3 руб.
Тогда:
Эн1 = 12000 ´ 3,0´ 2,3 = 82800 руб.
Эн2 = 10000 ´ 2,5 ´ 2,3 = 57500 руб.
Откуда:
Эр н = Эр2 = 1725 + 862,5 + 1875 = 317192руб.;
Эр б = Эр1 = 5750 + 575 + 2250 = 125530 руб. ,
следовательно:
Эр Б’ = 125530 ´ 1,2 = 416760 руб.
К1 ’ , К2 ’ - сопутствующие капитальные вложения для эксплуатации базового прибора на сопоставимый объем работы (сопоставимую мощность) нового прибора

Величины К1 , К2 могут приниматься укрупненно
К1,2 = 0,05 ´ 31,2 ;
Имеем:
К1 = 0,05 ´ 564970 = 28248руб.;
К2 = 0,05 ´ 663260 = 33163 руб.;
Тогда:
К’1 = 28248 ´ 1,2 = 33897руб.
- среднегодовой выпуск нового прибора,
где N - потребность народного хозяйства в проектируемом приборе;
N = 20000 шт.
Тп - период производства.
Тп = 10 лет,
![]()
Откуда сравнительная экономическая эффективность проектируемой СУ составляет:
![]()
Срок окупаемости капительных вложений То , год:
![]()
![]()
Удельная материалоемкость модернизированной машины Му2 :
![]()
Где, σм - масса машины (=0,553 т.)
![]()
Удельная материалоемкость старой машины Му =0,38
Анализируя полученные результаты, мы видим, что при незначительном уменьшении массы и удельной материалоемкости машины, сумма капитальных вложений достаточна существенна. Это говорит о том, что стоимость и изготовление деталей модернизируемого узла гомогенизатора высокая. [19]
Заключение
В ходе выполнения данного курсового проекта были решены следующие задачи:
Во-первых, это закрепление знаний, полученных за время изучения теоретического материала, а также применение этих знаний при решении данной технической задачи, а именно усовершенствование гомогенизатора клапанного типа, как следствие приобретение начальных навыков проектирования.
Во-вторых, ознакомление с технологией производства пастеризованного молока с соблюдением необходимых режимов и параметров, а также проведение необходимых технологического, энергетического, кинематического, экономического расчетов.
В-третьих, в результате выполнения данного курсового проекта, мы ознакомились с основными особенностями гомогенизаторов.
Список используемой литературы
1. Г.Н. Крусь., А.М. Шалыгина., З.В. Волокитина. " Методы исследования молока и молочных продуктов".М.: "Коло сС", 2002 г.
2. Г.Н. Крусь., А.Г. Храмцов., З.В. Волокитина., С.В. Карпычев. "Технология молока и молочных продуктов".М.:"КолосС", 2004г.
3. С.А. Бредихин., Ю.В. Космодемьянский., В.Н. Юрин. "Технология и техника переработки молока".М.: "КолосС", 2003г.
4. С.Т. Антипов., И.Т. Кретов., А.Н. Остриков., В.А. Панфилов., О.А. Ураков. "Машины и аппараты пищевых производств". М.: "Высшая школа", 2001.
5. П.Ф. Дьяченко. "Технология молока и молочных продуктов". М.: "Высшая школа", 2000 г.
6. Н.И. Томбаев. "Справочник по оборудованию предприятий молочной промышленности", М.: "Пищевая промышленность" 1972 г.
7. Л.И. Степанова. "Справочник технолога молочного производства. Технология и рецептура. Цельномолочные продукты.". СПб.: "ГИОРД" 2004 г.
8. Е.И. Березин., Т.В. Ковалева. "Машины и оборудование для цехов и предприятий малой мощности по переработке с/х. сырья", М.: "Пищпром" 1974 г.
9. Сборник технологических инструкций по производству сливочного и топленого масла.
10. А.Г. Храмцов., Э.Ф.Кравченко., С.С.Петровский. "Сборник технологических по производству сливочного и топленого масла" М.: "Легкая и пищевая промышленность", 1981 г.
11. В.П. Соколовский., Г.Г. Вольсон. "Пищевая и лечебная ценность молока и молочных продуктов", М.: "Пищевая промышленность", 1988 г.
12. В.М. Кузюр, "Методические указания по выполнению курсовой работы по дисциплине "Технология хранениия и переработки сельскохозяйсвенной продукции.""
13. И.Б. Гисин., В.И. Сирик. "Технология молока и молочных продуктов", М.: "Пищевая промышленность", 1973 г.
14. "Инструкция по микробиологическому контролю на предприятиях молочной промышленности" М.: "Пищевая промышленность", 1988 г.
15. Сурков В.Д. Технологическое оборудование предприятий молочной промышленности / В.Д. Сурков, И.Н. Липатов, Н.В. Барановский. – 2‑е изд., перераб. и доп. – М.: Пищевая промышленность, 1970. – 552с.
16. Принципы синтеза технологических схем: учебное пособие по выполнению технологической системы в дипломных и курсовых проектах / К.Ф. Красильникова, Э.И. Уютова, Ю.В .Попов, В.А. Навроцкий; ВолгГТУ. – Волгоград: РПК "Политехник", 2001. – 107с.
17. . Галат Б.Ф.Справочник по технологии молока / Б.Ф. Галат, Н.И. Машкин, Л.Г. Козага. – 2-е изд., перераб. и доп. – К.: Урожай, 1990. – 192с.
18. Афонина О.А., Иванов С.П. Методические указания по выполнению раздела “Охрана труда” в дипломных работах.
19. Алешина О.Н. Конспект лекций по курсу “Экономика производства и организация планирования.”
20. Крылов В.А., Яров В.Н. Методические указания к дипломному проектированию по курсу “Охрана труда”.
21. Бормотова В.А. Методические указания по выполнению организационно-экономической части дипломных проектов.
22. Патент РФ от 12.02.2000 "Гомогенизирующая головка", патентообладатель Воронежская Государственная Академия
ПРИЛОЖЕНИЕ
Прайс лист на запасные части к гомогенизатору А1-ОГ2М (-2,5; А1-ОГМ)
Кривошипно-шатунный механизм А1-ОГ2М (-2,5):

| Рисунок | Обозначение | Наименование | Цена с НДС, тенге |
| 1 | А1-ОГМ 01.039М | Гайка | |
| 2 | А1-ОГМ 01.038М | Винт | |
| 3 | А1-ОГМ 01.037М | Крышка | |
| 4 | А1-ОГМ 01.041М | Прокладка | |
| 5 | А1-ОГМ 01.036М | Диск | |
| 6 | А1-ОГМ 01.700М | Штуцер | |
| 7 | 1.1х25х42-1 | Манжета | |
| 8 | М6х12.56.016 | Винт | |
| 9 | 7522 | Подшипник | |
| 10 | 4х40.019 | Шплинт | |
| 11 | М20.6Н.6.016 | Гайка | |
| 12 | А1-ОГМ 01.007 | Крышка | |
| 14, 16 | А23.01-14.001 АН1 | Вкладыш (Ø 130) | |
| 17 | А1-ОГ2М 01.008 | Коленвал А1-ОГ2М | |
| А1-ОГ2М-2.5 01.006 | Коленвал А1-ОГ2М-2.5 | ||
| 18 | А1-ОГМ 01.002М | Прокладка | |
| 19 | А1-ОГМ 01.014М | Кольцо упорное | |
| 20 | 1.1-90х120-1 | Манжета | |
| 21 | М12х40.56.029 | Болт | |
| 22 | 12.65Г.029 | Шайба | |
| 23 | А1-ОГМ 01.001М | Крышка | |
| 24 | А1-ОГМ 01.033М | Болт шатунный | |
| 25 | А1-ОГМ 01.800СБ | Шатун | |
| 26 | А1-ОГМ 01.503М | Втулка | |
| 27 | М8х12 | Винт | |
| 28 | М6х16 | Винт | |
| 29 | А1-ОГМ 01.053М | Ползун | |
| 30 | А1-ОГМ 01.025М | Кольцо опорное | |
| 31 | А1-ОГ2М 01.006 | Сальник | |
| 32 | М8х20.56.029 | Болт | |
| 33 | 8.65Г.029 | Шайба | |
| 34 | М8х20 | Болт | |
| 35 | А1-ОГМ 01.013М | Крышка | |
| 36 | А1-ОГМ 01.026М | Крышка | |
| 37 | А1-ОГМ 01.011М | Палец | |
| 38 | А1-ОГМ 01.032М | Втулка | |
| 39 | 12.65Г.029 | Шайба | |
| 40 | М12х40.56.029 | Болт | |
| 41 | 01.001 | Кривошипно-шатунный механизм | |
| 42 | 01.000сб | ″―″ | |
| 43 | Корпус | 01.027 |
Блок плунжерныйА1-ОГ2М (-2,5):

| Рисунок | Обозначение | Наименование | Цена с НДС, тенге |
| 1 | К5-ОГА-1.2 02.022 | Болт | |
| 2 | К5-ОГА-1.2 02.029-01 | Шайба | |
| 3 | К5-ОГА-1.2 02.400 | Штуцер | |
| 4 | К5-ОГА-1.2 02.013 | Прокладка | |
| 5 | А1-ОГ2М 02.001 | Блок | |
| 6 | А1-ОГМ 02.019М | Плунжер А1-ОГ2М | |
| А1-ОГ2М 2.5 02.001 | Плунжер А1-ОГ2М-2.5 | ||
| 7 | К5-ОГА-1.2 02.012 | Кольцо | |
| 8 | А1-ОГМ 02.006М | Кольцо опорное | |
| 9 | А1-ОГМ 04.028А | Манжета | |
| 10 | А1-ОГМ 02.007М | Кольцо нажимное | |
| 11, 25 | К5-ОГА-1.25 02.029 | Шайба | |
| 12 | А1-ОГМ 02.004М | Болт | |
| 13 | А1-ОГМ 02.200М | Ключ | |
| 14 | А1-ОГМ 02.009М | Гайка | |
| 15 | А1-ОГ2М 02.002 | Крышка | |
| 16 | К5-ОГА-1.2 02.027 | Шпилька | |
| 17 | К5-ОГА-1.2 02.012 | Кольцо | |
| 18 | К5-ОГА-1.2 02.009 | Прокладка | |
| 19 | К5-ОГА-1.2 02.005 | Седло клапана | |
| 20 | К5-ОГА-1.2 02.006 | Втулка | |
| 21 | К5-ОГА-1.2 02.007 | Клапан | |
| 22 | К5-ОГА-1.2 02.032 | Пружина | |
| 23 | К5-ОГА-1.2 02.031 | Крышка | |
| 24 | К5-ОГА-1.2 02.300 | Гайка | |
| 26 | К5-ОГА-1.2 02.200 | Фланец | |
| 27 | А1-ОГМ 02.018М | Крышка | |
| 28 | А1-ОГМ 02.100МАСБ | Фильтр | |
| 29 | К5-ОГА-1.2 02.028 | Прокладка | |
| 30 | К5-ОГА-1.2 02.014 | Крышка | |
| 31 | К5-ОГА-1.2 02.029-02 | Шайба | |
| 32 | К5-ОГА-1.2 02.021 | Болт | |
| 33 | 02.000сб | Плунжерный блок |
Установочные размеры головки: Межцентровые расстояния отверстий 84 и 47 мм, Диаметр четырёх отверстий 14 мм.
Головка гомогенизирующая А1-ОГ2М (-2,5; А1-ОГМ):

| Рисунок | Обозначение | Наименование | Цена с НДС, тенге |
| 1 | А1-ОГМ 05.800МАСБ | Корпус | |
| 2 | К5-ОГА-1.2 05.008 | Толкатель | |
| 3 | А1-ОГМ 05.045М | Воротник | |
| 4 | А1-ОГМ 05.034М | Втулка | |
| 5 | К5-ОГА-1.2 05.012 | Прокладка | |
| 6 | А1-ОГМ 05.054МА | Кольцо | |
| 7 | А1-ОГМ 05.066МА-01 | Прокладка | |
| 8 | А1-ОГМ 05.053МА | Клапан | |
| 9 | А1-ОГМ 05.052МА | Седло клапана | |
| 10 | А1-ОГМ 05.066МА | Прокладка | |
| 11 | А1-ОГМ 05.051МА | Корпус | |
| 12 | А1-ОГМ 05.064МА-01 | Шпилька | |
| 12а | А1-ОГМ 05.064МА | Шпилька | |
| 13 | К5-ОГА-1.2 02.029-02 | Шайба | |
| 14 | А1-ОГМ 05.900МА | Гайка | |
| 15 | А1-ОГМ 05.069МА | Пружина | |
| 16 | А1-ОГМ 05.068МА | Стакан | |
| 17 | А1-ОГМ 05.062МА | Винт | |
| 18 | К5-ОГА-1.2 05.024 | Винт | |
| 19 | А1-ОГМ 05.056МА | Пята | |
| 20 | К5-ОГА-1.2 05.003 | Втулка | |
| 21 | А1-ОГМ 05.071МА | Гайка | |
| 22 | А1-ОГМ 05.061МА | Контргайка | |
| 23 | 05.005 | Седло клапана (гидр.) | |
| 24 | 05.006 | Втулка (гидр.) | |
| 25 | А1-ОГМ 05.000 | Головка гомогенизирующая (ручное управление) | |
| 26 | А1-ОГМ | Ремкомплект головки | |
| 27 | А1-ОГ2М | ″―″ |
Клапан предохранительный А1-ОГ2М (-2,5; А1-ОГМ):

| Рисунок | Обозначение | Наименование | Цена с НДС, тенге |
| 1 | К5-ОГА-1.2 07.026 | Штуцер | - |
| 2 | К5-ОГА-1.2 05.100СБ | Гайка | - |
| 3 | К5-ОГА-1.2 02.029-01 | Шайба | - |
| 4 | К5-ОГА-1.2 07.024 | Шпилька | - |
| 5 | К5-ОГА-1.2 07.014 | Фланец | - |
| 6 | А1-ОГМ 07.004М | Пружина | - |
| 7 | К5-ОГА-1.2 07.032А | Клапан | - |
| 8 | К5-ОГА-1.2 07.031А | Вставка | - |
| 9 | К5-ОГА-1.2 07.029А | Седло | - |
| 10 | К5-ОГА-1.2 05.012 | Прокладка | - |
| 11 | К5-ОГА-1.2 07.015 | Пята | - |
| 12 | К5-ОГА-1.2 07.021 | Стакан | - |
| 13 | К5-ОГА-1.2 07.025 | Гайка | - |
| 14 | К5-ОГА-1.2 07.019 | Винт | - |
| 15 | К5-ОГА-1.2 07.023 | Колпак | - |
Манометрическая головка
| Рисунок | Обозначение | Наименование | Цена с НДС, тенге |
| 1 | МТИ-160 (МП4У-400) | Манометр | |
| 2 | МТП-3М 60х60 | Манометр | |
| 3 | МТП-3М 60х6 | Манометр | |
| 4 | 5322 | Исполнительный элемент разделителя мембранного | |
| 5 | А1-ОГМ 06.000 | Манометрическая головка в сборе |
Прайс лист на гомогенизаторы
| Марка | Производительность | Примечание | Цена с НДС |
| К5-ОГ2А-500 | 500 л/час | Нерж. обшивка | 280 000 |
| К5-ОГ2А-1.25 | 1250 л/час | Нерж. обшивка | 440 000 |
| ГМ-1.25/20 | 1250 л/час | Нерж. обшивка | 470 000 |
| А1-ОГМ-2.5 | 2500 л/час | Нерж. обшивка | 490 000 |
| А1-ОГМ-5 | 5000 л/час | Нерж. обшивка | 550 000 |
| А1-ОГМ-10 | 10000 л/час | Нерж. обшивка | 1050 000 |
| М6-ОГА | 760-1520 кг/час | Нерж. обшивка | 330 000 |
ГОМОГЕНИЗАТОРЫ. ДИСПЕРГАТОРЫ
| Марка | Производительность | Примечание | Цена с НДС |
| П8-ОРД-1,5 | 1500 л/час | Договорная | |
| П8-ОРД-10М | 10000 л/час | Договорная | |
| П8-ОРД-10М-02 | 10000 л/час | Договорная | |
| П8-ОДС | 10000 л/час | Договорная |
МАСЛООБРАЗОВАТЕЛИ
| Марка | Производительность | Примечание | Цена с НДС |
| П8-ОС-2Т(мини) | от 150 до 300 кг/час | Договорная | |
| Т1-ОМ-2Т | до 700 кг/час | Договорная | |
| Я7-ОМ-3Т | до 800 кг/час | Договорная | |
| Я7-ОМ-3Т-М | до 900 кг/час | Договорная | |
| Р3-ОУА | до 1000 кг/час | Договорная | |
| Р3-ОУА-М | до 1800 кг/час | Договорная | |
| Р3-ОУА-2М | до 3000 кг/час | Договорная |
ОБОРУДОВАНИЕ ДЛЯ ВАКУУМНОЙ ОБРАБОТКИ МОЛОКА
| Марка | Производительность | Габаритные размеры, мм | Цена с НДС |
| Дезодорационная установки | |||
| П8-ОДУ-З-5 | 3000-5000 л/час | 2000 / 1000 / 3000 | Договорная |
| П8-ОДУ-З-10 | 6000-10000 л/час | 2460 / 1000 / 4100 | Договорная |
| Деаэрационная установки | |||
| П8-ОДУ-А5 | 3000-5000 л/час | 2000 / 1000 / 3000 | Договорная |
| П8-ОДУ-А10 | 6000-10000 л/час | 2460 / 1000 / 4100 | Договорная |
| Марка | Объем дозирования | Примечание | Цена с НДС |
| Фасовочно-упаковочные автоматы | |||
| М6-АР1С | 50 гр. | 460 000 | |
| М6-АР2С | 100 гр. | 460 000 | |
| М6-АР2Т | 125 / 250 гр. | 460 000 | |
| АРМ | 200 / 250 гр. | 450 000 | |
| АРМ-01 | 100 гр. | 450 000 | |
| АРМ-02 | 100 гр. | 450 000 | |
| АР1М | 250 гр. | 450 000 | |
| Разливочные автоматы | |||
| АО-111 | 0.25, 0.5, 1.0 л | Вертикальный | 245 000 |
| М6-ОРЗ-Е | 0.25, 0.5, 1.0 л | Вертикальный | 220 000 |
| Дарус-ПАК | 0.25, 0.5, 1.0 л | 45 пак/мин, с фотометкой | 380 000 |
| Банкоукладчики | |||
| МБУ-7М | произв-ть 200 шт./мин | Полуавтомат | Договорная |
| МБУ-9М | произв-ть 200 шт./мин | Полуавтомат | Договорная |
ФАСОВОЧНОЕ ОБОРУДОВАНИЕ
| Название | Примечание | Цена с НДС |
| Маслобойка | Договорная | |
| Пресс-тележка с винтовым прессом для творога | Полезная емкость от 200 л | Договорная |
| Ванна сыродельная открытого типа | Полезная емкость 1000 л | Договорная |
| Машина термоусадочная марки АТ 001 | Произ-сть: не менее 300 пак/ч | Договорная |
| Сыроизготовитель открытого типа | Полезная емкость 10000 л | Договорная |
| Пресс туннельного типа для прессования сыра | Нерж. каркас | Договорная |
| Формовочный аппарат емкостью 5, 10 и 25 м3 | Толщины пласта, мм: 65-240 | Договорная |
| Фризер мягкого мороженного "Фризер 30" | Договорная | |
| Воздухоотделитель | Договорная | |
| Счетчик молока ультразвуковой | Договорная | |
| Счетчик молока вихревой | Договорная | |
| Станция приемки и учета молока | 6300/ 10000/ 25000 л/час | от 185000 до 300 000 |
Похожие рефераты:
Характеристика технологического оборудования поточной линии производства сухого обезжиренного молока
Разработка гомогенизатора молока
Производство пастеризованного молока
Молоко и кисломолочные продукты
Расчет выработки молочной продукции
Технология производства молока на предприятии АО "ЛC" г. Кишинева
Технология производства и упаковывания мороженого
Совершенствование организации производства пастеризованного молока на ОАО "Брасовские сыры"
Оборудование для переработки молока
Технологическая линия по производству кефира
Виробництво кисломолочних напоїв
Линия производства пастеризованного молока




