| Похожие рефераты | Скачать .docx |
Курсовая работа: Разработка технологии изготовления детали из чугуна
Федеральное агентство по образованию (Рособразование)
Архангельский государственный технический университет
Кафедра технологии конструкционных
материалов и машиностроения
КУРСОВАЯ РАБОТА
По дисциплине: «Технология металлов и трубопроводо-строительных материалов»
На тему: Разработка технологии изготовления детали из чугуна
Студент: Танцюра Сергей Анатольевич
Факультет ИНиГ
Курс 3
Группа 5
Руководитель: Е.В.Фомин
Архангельск
2010
ОГЛАВЛЕНИЕ
1 РАСШИФРОВКА МАРКИ МАТЕРИАЛА
2 СПОСОБ ПОЛУЧЕНИЯ МАТЕРИАЛА
3 ТЕРМИЧЕСКАЯ ОБРАБОТКА
4 СХЕМА ОТЛИВКИ МЕТОДОМ ЛИТЬЯ В КОКИЛЬ
5 СХЕМА ОБРАБОТКИ ПОВЕРХНОСТЕЙ 3, 4, 5
6 НАЗВАНИЕ СТАНКА, ИНСТРУМЕНТА И ЗАЖИМНЫХ ПРИСПОСОБЛЕНИЙ
СПИСОК ИСПОЛЬЗОВАННЫХ ИСТОЧНИКОВ
ЗАДАНИЕ К ВЫПОЛНЕНИЮ РАБОТЫ (ВАРИАНТ 11)
Наименование детали - крышка.
Материал - СЧ 20.
Характер производства - массовый.
Обрабатываемые поверхности – 3,4,5 (рисунок 1).
1.Расшифруйте марку материала.
2.Укажите способ выплавки данного материала и обоснуйте его выбор.
3.Укажите режим ТО.
4.Нарисуйте микроструктуру материала после ТО.
5. По эскизу детали разработайте технологию ее изготовления методом литья в кокиль. Опишите последовательность операций и приведите эскиз кокиля и собранной литейной формы.
6. Приведите схемы обработки поверхностей 3, 4, 5 детали, названия и единицы величин, характеризующих рабочие движения.
7. Для каждой схемы укажите название станка, инструмента и зажимных приспособлений.
8.Приведите эскизы инструмента для обработки поверхностей 3, 4, 5.
![]() |
Рисунок 1 - Крышка
1 РАСШИФРОВКА МАРКИ МАТЕРИАЛА
Чугунами называют сплавы железа с углеродом, в которых углерода содержится свыше 2℅. В зависимости от состояния углерода в чугуне различают: белые, серые, ковкие и высокопрочные чугуны.
Серый чугун – это сплав системы Fe – C – Si , содержащий в качестве примесей марганец, фосфор и серу. Углерод в серых чугунах находится в виде графита пластинчатой формы. Химический состав серых чугунов: C – 2,4…3,8 %, Si – 1…5 %, Mn – 0,5…0,8 %, P – 0,2…0,4 %, S – до 0,12 %. Структура отливок определяется химическим составом чугуна и технологическими особенностями его термообработки. Такое название чугун получил по виду излома, который имеет серый цвет.
Структурно серый чугун состоит из металлической основы и графитовых включений. По составу металлической основы различают чугуны : серый перлитный ( П + Г); серый феррито-перлитный (Ф + П + Г); серый ферритный ( Ф + Г ). Механические свойства серого чугуна зависят от свойств металлической матрицы, формы и размеров графитовых включений. Свойства металлической матрицы чугунов близки к свойствам сталей. Графит, имеющий невысокую прочность, снижает прочность чугуна. Чем меньше графитовых включений и выше их дисперсность, тем больше прочность чугуна. Графитовые включения обуславливают уменьшение предела прочности чугуна при растяжении, его пластичности. Свойство графита образовывать смазочные пленки обусловливает снижение коэффициента трения и увеличивает износостойкости изделий из чугуна. Графит улучшает обрабатываемость чугуна резанием.
Серый чугун (ГОСТ 1412-85) маркируют буквами «С» (серый), «Ч» (чугун) и цифрами. Первая группа цифр показывает среднее значение предела прочности чугуна при растяжении, вторая – среднее значение предела прочности при изгибе.
Данный материал СЧ-20 расшифровывается как серый чугун, характеризующийся пределом прочности при растяжении в 20 МПа.
2 СПОСОБ ПОЛУЧЕНИЯ МАТЕРИАЛА
Производство черных металлов из железной руды - сложный технологический процесс, который может быть условно разделен на две стадии. На первой стадии получают чугун, а на второй - его перерабатывают в сталь.
Чугун выплавляют в доменных печах (рисунок 2). Исходными материалами для производства чугуна являются железные руды, топливо и флюсы. Железные руды - горные породы содержащие железо в виде химических соединений с кислородом и другими элементами. В состав железных руд, кроме того, входят и другие соединения в виде кремнезема, глинозема, известняка и т. п. (объединяемые общим понятием - "пустая порода"). Обычно для производства чугуна используют магнитный железняк (Fe3O4) с содержанием железа до 70%, красный железняк (Fe2О3 ), содержащий до 65% железа, и бурый железняк (2Fe2О3*2H2О), содержащий до 60% железа. Топливом в доменном процессе служит кокс, получаемый при сухой перегонке (сжигание без доступа воздуха) коксующихся каменных углей. Флюсы (плавни) - известняки, доломиты, песчаники применяют для понижения температуры плавления пустой породы и перевода ее и золы топлива в шлак.
Доменная печь представляет собой шахту, снаружи покрытую металлическим кожухом и изнутри футерованную огнеупорным кирпичом. Печь через верхнюю часть, называемую колошником непрерывно загружают шихтой, чередуя слои руды, флюса и топлива. Для поддержания горения топлива в нижнюю часть печи - горн через фурмы подают под давлением нагретый воздух.
Рисунок 2 - Схема доменной печи
1 – шахта; 2 – колошник; 3 – загрузочное устройство; 4 – металлический кожух; 5 – футеровка; 6 – цилиндрическая часть печи; 7 – заплечики; 8 – горн; 9 – шлаковая летка; 10 – чугун; 11 – летка для выпуска чугуна; 12 – воздухоподающая труба
3 ТЕРМИЧЕСКАЯ ОБРАБОТКА
чугун литье кокиль деталь
Термической обработкой называют нагревание изделия и заготовок до определенной температуры в сочетании с выдержкой при этой температуре и последующем охлаждении с заданной скоростью. Термическая обработка позволяет изменять в желательном направлении структуру и свойства машиностроительного материала в изделии, причем диапазон регулирования свойств может быть очень широким. Термическая обработка может сочетаться с химическим воздействием или пластическим деформированием, что дополнительно расширяет ее возможности. Все основные виды термической обработки, а также химико-термическая, термомеханическая и механотермические обработки основаны на протекании перекристаллизации в структуре металлического материала. Факторами, влияющими на изменение структуры и свойств материала, являются температура нагрева, его продолжительность и скорость, а также скорость охлаждения.
Серый литейный чугун подвергают термической обработке: отжигу, закалке, отпуску, поверхностной закалке, азотированию. Для чугунных отливок чаще других видов термической обработки применяют отжиг. Отжиг отливок из серого чугуна устраняет внутренние напряжения и отбел. Внутренние напряжения возникают при неравномерном охлаждении отливок и часто приводят к трещинам. Отбел — это образование твердой поверхностной корки, состоящей из цементита, на отливках из серого чугуна при литье в металлические формы. Слой цементита затрудняет обработку режущими инструментами. Отжиг для устранения внутренних напряжений выполняют путем медленного нагревания отливок до 500—550° С и выдержки при этой температуре в течение 2—5 ч с последующим медленным охлаждением вместе с печью до 250° С, а затем на воздухе. Отжиг для устранения отбела производят путем нагрева отливок до 850—870° С. Отливки выдерживают при этой температуре в течение 1—5 ч, и охлаждают сначала вместе с печью до 500° С, а затем на воздухе. В результате цементит распадается на железо и углерод, а твердость поверхностного слоя отливок снижается.
Микроструктура материала после термической обработки

а) б)
Рисунок 3 - Микроструктура серого чугуна
1 – перлит; 2 – графит отжига; 3 – феррит
4 СХЕМА ОТЛИВКИ МЕТОДОМ ЛИТЬЯ В КОКИЛЬ
Кокилем называют металлическую форму, заполняемую расплавом под действием гравитационных сил.
Сущность способа заключается в применении многократно используемой литейной формы, которая формирует конфигурацию и свойства отливки. При этом способе литья либо совсем исключается применение, либо расходуется малое количество песчаных смесей лишь на изготовление разовых стержней. В связи с этим отпадает необходимость в землеприготовительных отделениях.
Модельная оснастка при литье в кокиль включает подогреваемые стержневые ящики (для изготовления сплошных или оболочковых стержней), ящики для холоднотвердеющих стержневых смесей и т.д.
Металлическая форма обладает по сравнению с песчаной значительно большими теплоемкостью, теплопроводностью, прочностью и нулевой газопроницаемостью. Материалами для кокилей служат чугуны серые СЧ20, СЧ25 и высокопрочный ВЧ42-12; низкоуглеродистые стали 10 и 20; легированные стали 15ХМЛ и др.; алюминиевые сплавы АЛ9 и АЛ11; медь.
Наибольшее распространение получили чугунные кокили. Металлические стержни изготовляют из конструкционных углеродистых (простой) и легированных (сложной формы) сталей. Кокили небольших размеров либо отливают, либо получают обработкой резанием из поковок. Рабочие полости и элементы литниковой системы в последнем случае получают электрофизической или электрохимической обработкой. Более крупные кокили выполняют литыми. С целью стабилизации размеров и форм кокили проходят сложную термическую обработку.
По конструкции кокили бывают простыми и сложными. В зависимости от расположения плоскости разъема кокили делятся на неразъемные (вытряхные); с вертикальной, горизонтальной и сложной (комбинированной) плоскостями разъема.
Последовательность изготовления отливки в кокиле показана на рисунке 5. Она состоит из небольшого числа основных операций.

Рисунок 4 – Последовательность изготовления отливки
а - очистка полуформ; б - установка стержней; в - заливка расплава; г - частичное удаление металлического стержня; д - извлечение отливки
Рисунок 5– Эскиз разреза металлической формы – кокиля
1 – отливка; 2 – нижняя часть кокиля; 3 – средняя часть кокиля; 4 – стержень; 5–приемная воронка (верхняя часть кокиля); 6 – вентиляционные каналы; 7 – питатели
Эскиз отливки с необходимыми припусками на механическую обработку представлен на рисунке 6.
Рисунок 6 – Эскиз отливки
5 СХЕМА ОБРАБОТКИ ПОВЕРХНОСТЕЙ 3, 4, 5
Поверхность 3 мы будем обрабатывать проходным отогнутым резцом (Рисунок 7)

Рисунок 7 – Обтачивание цилиндрической поверхности (3) на проход проходным отогнутым резцом
Поверхность 4 обработаем проходным упорным резцом (рисунок 8).
![]() |
Рисунок 8 – Обтачивание цилиндрической поверхности (4) до упора проходным упорным резцом
![]() |
Поверхность 5 обработаем проходным отогнутым резцом (рисунок 9).
Рисунок 9 – Подрезание торцовой поверхности (4) на проход проходным отогнутым резцом
Элементы резания и параметры срезаемого слоя.
Для осуществления процесса обработки заготовки необходимо произвести настройку станка, т. е. определить и задать на станке следующие три параметра: скорость главного движения, величину подачи и глубину внедрения режущего инструмента в обрабатываемую заготовку. Эти параметры называются элементами резания, а их совокупность называется режимом резания.
Скорость главного движения называют скоростью резания. Эта величина перемещения поверхности резания относительно режущей кромки в единицу времени в процессе главного движения. Скорость резания измеряют в метрах в минуту, при шлифовании в метрах в секунду. υ=(πDn)/1000 М/мин. ![]()
Скорость подачи или подача S — это скорость перемещения инструмента относительно заготовки в направлении подачи. При точении подача S, мм/об, определяется величиной перемещения инструмента за один оборот заготовки. В ряде случаев бывает необходимо знать величину минутной подачи sМ: sM = S* п.
Глубина резания t определяет толщину срезаемого слоя за один проход. Она определяется расстоянием между обрабатываемой и обработанной поверхностями, измеренными по нормали к последней. При точении цилиндрической поверхности глубину резания определяют полуразностью диаметров до и после обработки:
t= (D- d)/2
В ряде случаев оказывается необходимым использовать понятия ширины и толщины срезаемого слоя материала. Шириной среза bназывают расстояние между обработанной и обрабатываемой поверхностями, измеренное по поверхности резания, а толщиной среза а — расстояние между двумя последовательными положениями поверхностей резания за время одного оборота заготовки.
Станки токарной группы предназначены для обработки наружных и внутренних поверхностей вращения (цилиндрических, конических и фасонных), обработки плоских торцевых поверхностей (подрезание торцов), нарезания резьбы и некоторых других работ. В нашем случае необходимо произвести торцевание отверстия подрезным резцом и обработку внутренней поверхности детали расточным резцом. Для обработки отверстий используются сверла, зенкеры, развертки и др.
Главным движением у всех станков токарной группы является вращение заготовки. Движение подачи сообщается режущему инструменту. В машиностроении станки токарной группы составляют 30—40 % от общего парка металлорежущих станков. В зависимости от масштаба производства, конфигурации, размеров и массы деталей их обработка осуществляется на различных типах станков. Токарные и токарно-винторезные станки предназначены для выполнения всех основных видов токарных работ в условиях единичного и мелкосерийного производства.
6 НАЗВАНИЕ СТАНКА, ИНСТРУМЕНТА И ЗАЖИМНЫХ ПРИСПОСОБЛЕНИЙ
Основные узлы и устройство токарно-винторезного станка 1К62
Станок (рисунок 10) состоит из следующих основных узлов: станины 1, передней бабки 3, задней бабки 7, коробки подач 2, фартука 10 и несущего суппорта 6, на котором расположен резцедержатель 5.
Обрабатываемую заготовку закрепляют в патроне 4, в центрах или в специальном приспособлении, устанавливаемом вместо патрона. Наиболее часто закрепление деталей на токарных станках происходит в трех- и четырехкулачковом патронах. Трехкулачковые самоцентрирующие патроны (рисунок 13) применяют для закрепления осесимметричных заготовок. Четырехкулачковый патрон имеет независимые перемещение всех четырех кулачков, что позволяет закреплять несимметричные детали. При работе станка обрабатываемая заготовка совершает непрерывное вращательное (главное) движение.
Резец закрепляется в резцедержателе 5 суппорта и получает во время работы продольное или поперечное движение подачи. В передней бабке размещается коробка скоростей – механизм, позволяющий сообщать шпинделю различные числа оборотов n. Коробка подач позволяет изменять скорости перемещения суппорта, а следовательно, и резцедержателя с резцом (величину подачи). Передача движения от коробки подач к фартуку может осуществляется с помощью ходового валика 9 или ходового винта 8.
Задняя бабка предназначена для поддержания правого конца детали при обработке в центрах и для закрепления инструмента при обработке отверстий.
Станок 1К62 является универсальным. Он применяется для выполнения разнообразных токарных работ, для нарезания различных резьб.
Рисунок 10 - Токарно-винторезный станок 1К62
Эскизы инструмента для обрабатываемых поверхностей
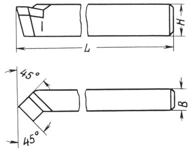
Проходным отогнутым резцом (рисунок 11) можно выполнять подрезание торца при поперечной подаче и обтачивание — при перемещении с продольной подачей.
Рисунок 11 – Резец проходной отогнутый
Резец токарный проходной упорный с пластинами из твердого сплава изготовлен по ТУ 2.035.0220916.044.91, (отличается от ГОСТа отсутствием заточки твердых сплошных пластин.) предназначен для обточки и отрезки деталей или заготовок из сталей, чугунов или цветных металлов и сплавов на универсальном и автоматизированным оборудовании. Марка применяемых пластин из твердого сплава ВК8, Т15К6, Т5К10.
Рисунок 12 – Резец проходной упорный
Зажимное приспособление: трехкулачковый самоцентрирующий патрон
Заготовки, отношение длины к диаметру которых l/d меньше четырех, чаще всего устанавливают и закрепляют в трехкулачковых самоцентрирующих патронах. Они очень удобные для работы, так как все кулачки вниз перемещаются одновременно, благодаря чему деталь, имеющая цилиндрические очертания закрепляется точно по оси шпинделя. Кроме того, значительно сокращается время на установку и закрепление детали. Применяют два вида кулачков: закаленные и незакаленные. Обычно пользуются закаленными кулачками благодаря их малой изнашиваемости. Но при их зажиме такими кулачками на деталях после обработки остаются следы в виде вмятин. Чтобы избежать этого, рекомендуется использовать незакаленные кулачки, которые перед установкой детали протачиваются и точно пригоняются по диаметру детали. Трехкулачковый патрон имеет простое строение. На корпусе 1 расположены три радиальных паза , по которым перемещаются кулачки 2.
Рисунок 13 - Общий вид трехкулачкового самоцентрирующего патрона
1 – кулачки; 2 – коническое колесо со спиральной канавкой
СПИСОК ИСПОЛЬЗОВАННЫХ ИСТОЧНИКОВ
1. Солнцев Ю.П. Металловедение и технология металлов. - М.:Металлургия, 1988.
2. Гуляев А.П. Металловедение. - М.: Металлургия, 1977.
3. Скобников К.М., Глазов Г.А., Петраш Л.В. Технология металлов и других конструкционных материалов. – Ленинград.: Машиностроение, 1972.
4. Сидорин Г.Ф., Косолапое Г. Ф., Макарова В. И. Основы материаловедения. - М.: Машиностроение, 1976.
5. Лахтин Ю.М., Леонтьева В. П. Материаловедение. - М.: Машиностроение, 1972.
6. Яковлев Б.Н. Изготовление деталей литьем: методические указания к выполнению лабораторных работ. - Арх-ск: АЛТИ, 1985.
Похожие рефераты:
Технологический процесс изготовления детали "корпус" шлифовальной головки металлорежущего станка
Вагоно-ремонтный завод в Стерлитамаке
Разработка технического проекта механической обработки детали "фонарь 244.00.00.13"
Технология обработки конструкционных материалов
Проектирование цеха ремонта поршневых компрессоров
Методика расчётов режимов резания
Технологический процесс изготовления корпуса цилиндра типа Г29-3
Литьё цветных металлов в металлические формы - кокили
Разработка технологических процессов на механическую обработку вала первичного


