| Похожие рефераты | Скачать .docx |
Реферат: Штанговые насосные установки
Прекращение или отсутствие фонтанирования обусловило использование других способов подъема нефти на поверхность, например, посредством штанговых скважинных насосов. Этими насосами в настоящее время оборудовано большинство скважин. Дебит скважин — от десятков килограмм в сутки до нескольких тонн. Насосы опускают на глубину от нескольких десятков метров до 3000 м иногда до 3200 — 3400 м.
ШСНУ включает:
а) наземное оборудование — станок-качалка (СК), оборудование устья, блок управления;
б) подземное оборудование — насосно-компрессорные трубы (НКТ), штанги насосные (ШН), штанговый скважинный насос (ШСН) и различные защитные устройства, улучшающие работу установки в осложненных условиях.

Рис. 1. Схема штанговой насосной установки
Штанговая глубинная насосная установка (рисунок 1) состоит из скважинного насоса 2 вставного или невставного типов, насосных штанг 4 , насосно-компрессорных труб 3 , подвешенных на планшайбе или в трубной подвеске 8 устьевой арматуры, сальникового уплотнения 6 , сальникового штока 7 , станка качалки 9 , фундамента 10 и тройника 5 . На приеме скважинного насоса устанавливается защитное приспособление в виде газового или песочного фильтра 1 .
СТАНКИ-КАЧАЛКИ
Станок-качалка (рисунок 2), является индивидуальным приводом скважинного насоса.

Рисунок 2 — Станок-качалка типа СКД
1 — подвеска устьевого штока; 2 — балансир с опорой; 3 — стойка; 4 — шатун; 5 — кривошип; 6 — редуктор; 7 — ведомый шкив; 8 — ремень; 9 — электродвигатель; 10 — ведущий шкив; 11 — ограждение; 12 — поворотная плита; 13 — рама; 14 — противовес; 15 — траверса; 16 — тормоз; 17 — канатная подвеска.
Основные узлы станка-качалки — рама, стойка в виде усеченной четырехгранной пирамиды, балансир с поворотной головкой, траверса с шатунами, шарнирно-подвешенная к балансиру, редуктор с кривошипами и противовесами. СК комплектуется набором сменных шкивов для изменения числа качаний, т. е. регулирование дискретное. Для быстрой смены и натяжения ремней электродвигатель устанавливается на поворотной салазке.
Монтируется станок-качалка на раме, устанавливаемой на железобетонное основание (фундамент). Фиксация балансира в необходимом (крайнем верхнем) положении головки осуществляется с помощью тормозного барабана (шкива). Головка балансира откидная или поворотная для беспрепятственного прохода спускоподъемного и глубинного оборудования при подземном ремонте скважины. Поскольку головка балансира совершает движение по дуге, то для сочленения ее с устьевым штоком и штангами имеется гибкая канатная подвеска 17 (рисунок 13). Она позволяет регулировать посадку плунжера в цилиндр насоса для предупреждения ударов плунжера о всасывающий клапан или выхода плунжера из цилиндра, а также устанавливать динамограф для исследования работы оборудования.
Амплитуду движения головки балансира (длина хода устьевого штока — 7 на рисунке 12) регулируют путем изменения места сочленения кривошипа шатуном относительно оси вращения (перестановка пальца кривошипа в другое отверстие). За один двойной ход балансира нагрузка на СК неравномерная. Для уравновешивания работы станка-качалки помещают грузы (противовесы) на балансир, кривошип или на балансир и кривошип. Тогда уравновешивание называют соответственно балансирным, кривошипным (роторным) или комбинированным.
Блок управления обеспечивает управление электродвигателем СК в аварийных ситуациях (обрыв штанг, поломки редуктора, насоса, порыв трубопровода и т. д.), а также самозапуск СК после перерыва в подаче электроэнергии.
Долгое время нашей промышленностью выпускались станки-качалки типоразмеров СК. В настоящее время по ОСТ 26-16-08-87 выпускаются шесть типоразмеров станков-качалок типа СКД, основные характеристики приведены в таблице 1.
Таблица 1
| Станок‑качалка | Число ходов балансира, мин. | Масса, кг | Редуктор |
| СКД3 — 1.5-710 | 5 ¸ 15 | 3270 | Ц2НШ — 315 |
| СКД4 — 21-1400 | 5 ¸ 15 | 6230 | Ц2НШ — 355 |
| СКД6 — 25-2800 | 5 ¸ 14 | 7620 | Ц2НШ — 450 |
| СКД8 — 3.0-4000 | 5 ¸ 14 | 11600 | НШ —700Б |
| СКД10 — 3.5-5600 | 5 ¸ 12 | 12170 | Ц2НШ — 560 |
| СКД12 —3.0-5600 | 5 ¸ 12 | 12065 | Ц2НШ — 560 |
В шифре, например, СКД8 — 3.0-4000, указано Д — дезаксиальный; 8 — наибольшая допускаемая нагрузка
на головку балансира в точке подвеса штанг, умноженная на 10 кН; 3.0 — наибольшая длина хода устьевого штока, м; 4000 — наибольший допускаемый крутящий момент
на ведомом валу редуктора, умноженный на 10-2
кН*м.
АО «Мотовилихинские заводы» выпускает привод штангового насоса гидрофицированный ЛП — 114.00.000, разработанный совместно со специалистами ПО «Сургутнефтегаз».
Моноблочная конструкция небольшой массы делает возможным его быструю доставку (даже вертолетом) и установку без фундамента (непосредственно на верхнем фланце трубной головки) в самых труднодоступных регионах, позволяет осуществить быстрый демонтаж и проведение ремонта скважинного оборудования.
Фактически бесступенчатое регулирование длины хода и числа двойных ходов в широком интервале позволяет выбрать наиболее удобный режим работы и существенно увеличивает срок службы подземного оборудования.
| Техническая характеристика | |
| Нагрузка на шток, кН (тс) | 60 (6) |
| Длина хода, м | 1.2 ¸2.5 |
| Число двойных ходов в минуту | 1 ¸7 |
| Мощность, кВт | 18.5 |
| Масса привода, кг | 1800 |
Станки-качалки для временной добычи могут быть передвижными на пневматическом (или гусеничном) ходу. Пример — передвижной станок-качалка «РОУДРАНЕР» фирмы «ЛАФКИН».
УСТЬЕВОЕ ОБОРУДОВАНИЕ
Устьевое оборудование предназначено для герметизации затрубного пространства, внутренней полости НКТ, отвода продукции скважины, подвешивания колонны НКТ, а также для проведения технологических операций, ремонтных и исследовательских работ в скважинах.
В оборудовании устья колонна насосно-компрессорных труб в зависимости от ее конструкции подвешивается в патрубке планшайбы или на корпусной трубной подвеске.
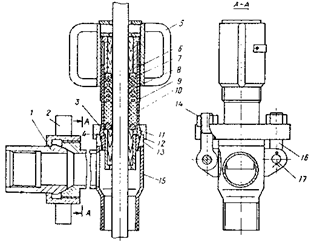
Для уплотнения устьевого штока применяется устьевой сальник типа СУС1 или СУС2 (рисунок 3.).

Рисунок 3 — Устьевой сальник типа СУС1
1 — ниппель; 2 — накидная гайка; 3 — втулка; 4 — шаровая крышка; 5 — крышка головки; 6 — верхняя втулка; 7 — нажимное кольцо; 8 , 10 — манжеты; 9 — шаровая головка; 11 — опорное кольцо; 12 — нижняя втулка; 13 — кольцо; 14 — гайка; 15 — тройник; 16 — болт откидной; 17 — палец.
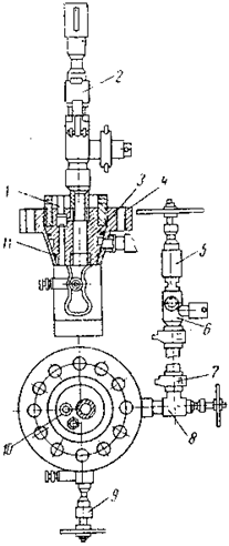
Арматура устьевая типа АУШ-65/50х14 состоит из устьевого патрубка с отборником проб, угловых вентилей, клапана перепускного, устьевого сальника и трубной подвески (рисунок 15).
Трубная подвеска, имеющая два уплотнительных кольца, является основным несущим звеном насосно-компрессорных труб с глубинным насосом на нижнем конце и сальниковым устройством наверху. Корпус трубной головки имеет отверстие для выполнения исследовательских работ.
Проекция скважины поступает через боковое отверстие трубной подвески, а сброс давления из затрубного пространства производится через встроенный в корпус трубной подвески перепускной клапан.
| Техническая характеристика АУШ 65/50 Х 14: | |
Рабочее давление, МПа в устьевом сальнике СУС при работающем станке-качалке при остановленном станке-качалке |
4 14 |
Условный проход, мм: ствола обвязки |
65 50 |
| Подвеска насосно-компрессорных труб | конусная |
| Диаметр подвески труб, мм | 73 |
| Присоединительная резьба (ГОСТ 632—80) | Резьба НКТ |
| Диаметр устьевого патрубка, мм | 146 |
| Габариты, мм | 3452х770х1220 |
| Масса, кг | 160 |

Рисунок 4 — Устьевая арматура типа АУШ
1 — отверстие для проведения исследовательских работ; 2 — сальниковое устройство; 3 — трубная подвеска; 4 — устьевой патрубок; 5 , 8 и 9 — угловые вентили; 6 — отборник проб; 7 — быстросборная муфта; 10 — перепускной патрубок; 11 — уплотнительное кольцо.
ШТАНГИ НАСОСНЫЕ (ШН)
ШН предназначены для передачи возвратно-поступательного движения плунжеру насоса (рисунок 16). Изготавливаются основном из легированных сталей круглого сечения диаметром 16, 19, 22, 25 мм, длиной 8000 мм и укороченные — 1000 - 1200, 1500, 2000 и 3000 мм как для нормальных, так и для коррозионных условий эксплуатации.

Рисунок 5 — Насосная штанга
Шифр штанг — ШН-22 обозначает: штанга насосная диаметром 22 мм. Марка сталей — сталь 40, 20Н2М, 30ХМА, 15НЗМА и 15Х2НМФ с пределом текучести от 320 до 630 МПа.
Насосные штанги применяются в виде колонн, составленных из отдельных штанг, соединенных посредством муфт.
Муфты штанговые выпускаются: соединительные типа МШ (рисунок 6) — для соединения штанг одинакового размера и переводные типа МШП — для соединения штанг разного диаметра.

Рисунок 6 — Соединительная муфта
а — исполнение I; б — исполнение II
Для соединения штанг применяются муфты — МШ16, МШ19, МШ22, МШ25; цифра означает диаметр соединяемой штанги по телу (мм).
АО «Очерский машиностроительный завод» изготавливает штанги насосные из одноосноориентированного стеклопластика с пределом прочности не менее 80 кгс/мм2 . Концы (ниппели) штанг изготавливаются из сталей. Диаметры штанг 19, 22, 25 мм, длина 8000 ¸ 11000 мм.
Преимущества: снижение веса штанг в 3 раза, снижение энергопотребления на 18 ¸ 20 %, повышение коррозионной стойкости при повышенном содержании сероводорода и др. Применяются непрерывные штанги «Кород».
СКВАЖИННЫЕ ШТАНГОВЫЕ НАСОСЫ
ШСН предназначены для откачивания из нефтяных скважин жидкости обводненностью до 99 %, температурой не более 130 °С, содержанием сероводорода не более 50 мг/л, минерализацией воды не более 10 г/л.
Скважинные насосы имеют вертикальную конструкцию одинарного действия с неподвижным цилиндром, подвижным металлическим плунжером и шариковыми клапанами. Насосы спускают в скважину на штангах и насосно-компрессорных трубах. Различают следующие типы скважинных насосов (рисунок 7).

Рисунок 7 — Типы скважинных штанговых насосов
НВ1 — вставные с заулком наверху;
НВ2 — вставные с замком внизу;
НН — невставные без ловителя;
НН1 — невставные с захватным штоком;
НН2 — невставные с ловителем.
Выпускают насосы следующих конструктивных исполнений:
а) по цилиндру:
Б — с толстостенным цельным (безвтулочным) цилиндром;
С — с составным (втулочным) цилиндром.
б) специальные:
Т — с полным (трубчатым) штоком для подъема жидкости по каналу колонны трубчатых штанг;
А — со сцепляющим устройством (только для насосов типа НН), обеспечивающим сцепление колонны насосных штанг с плунжером насоса;
Д1 — одноступенчатые, двухплунжерные для создания гидравлического тяжелого низа;
Д2 — двухступенчатые, двухплунжерные, обеспечивающие двухступенчатое сжатие откачиваемой жидкости;
У — с разгруженным цилиндром (только для насосов типа НН2), обеспечивающим снятие с цилиндра технической нагрузки при работе.
Насосы всех исполнений, кроме Д1 и Д2, одноступенчатые, одноплунжерные.
в) по стойкости к среде:
без обозначения — стойкие к среде с содержанием механических примесей до 1.3 г/л — нормальные;
И — стойкие к среде с содержанием механических примесей более 1.3 г/л — абразивостойкие.
Скважинные штанговые насосы являются гидравлической машиной объемного типа, где уплотнение между плунжером и цилиндром достигается за счет высокой точности их рабочих поверхностей и регламентируемых зазоров. При этом в зависимости от размера зазора (на диаметр) в паре «цилиндр-плунжер» выпускают насосы четырех групп (таблица 2).
Таблица 2
| Группа посадки | Размер зазора между цилиндром и плунжером насоса при исполнении цилиндра, мм | |
| Б | С | |
| 0 | < 0.045 | < 0.045 |
| 1 | 0.01 ¸ 0.07 | 0.02 ¸ 0.07 |
| 2 | 0.06 ¸ 0.12 | 0.07 ¸ 0.12 |
| 3 | 0.11 ¸ 0.17 | 0.12 ¸ 0.17 |
В условном обозначении насоса, например, НН2БА-44-18-15-2, первые две буквы и цифра указывают тип насоса, следующие буквы — исполнение цилиндра и насоса, первые две цифры — диаметр насоса (мм), последующие длину хода плунжера (мм) и напор (м), уменьшенные в 100 раз и последняя цифра — группу посадки.
Цилиндры насосов изготовляют двух исполнений: ЦБ и ЦС.
ЦБ — цельный безвтулочный толстостенный;
ЦС — составной из набора втулок, стянутых внутри кожуха переводниками.
Исходя из назначения и области применения скважинных насосов, выпускают плунжеры и пары «седло-шарик» клапанов различных поверхностей.
Плунжеры насосов изготавливают четырех исполнений:
ПХ1 — с кольцевыми канавками, цилиндрической расточкой на верхнем конце и с хромовым покрытием наружной поверхности;
ПХ2 — то же, без цилиндрической расточки на верхнем конце;
П111 — с кольцевыми канавками, цилиндрической расточкой на верхнем конце и упрочнением наружной поверхности напылением износостойкого порошка;
П211 — то же, без цилиндрической расточки на верхнем конце.
Пары «седло-шарик» клапанов насосов изготавливают в трех исполнениях:
К — с цилиндрическим седлом и шариком из нержавеющей стали;
КБ — то же, с седлом и буртиком;
КИ — с цилиндрическим седлом из твердого сплава и шариком из нержавеющей стали.
Скважинные насосы нормального исполнения по стойкости к среде, применяемые преимущественно для подъема жидкости с незначительным содержанием (до 1.3 г/л) механических примесей, комплектуют плунжерами исполнения ПХ1 или ПХ2 с парами «седло-шарик» исполнения К или КБ. Скважинные насосы абразивостойкого исполнения И, применяемые преимущественно для подъема жидкости, содержащей более 1.3 г/л механических примесей, комплектуют плунжерами исполнения П1И или П2И и парами «седло-шарик» исполнения КИ.
Конструктивно все скважинные насосы состоят из цилиндра, плунжера, клапанов, замка (для вставных насосов), присоединительных и установочных деталей, максимально унифицированных.
Скважинные насосы типа НВ1 выпускают шести исполнений:
НВ1С — вставной с замком наверху, составным втулочным цилиндром исполнения ЦС, нормального исполнения по стойкости к среде;
НВ1Б — вставной с замком наверху, цельным (безвтулочным) цилиндром исполнения ЦБ, нормального исполнения по стойкости к среде;
НВ1Б И — то же абразиовостойкого исполнения по стойкости к среде;
НВ1БТ И — то же, с полым штоком, абразивостойкого исполнения по стойкости к среде;
НВ1БД1 — вставной с замком наверху, цельным цилиндром исполнения ЦБ, одноступенчатый, двухплунжерный, нормального исполнения по стойкости к среде;
НВ1БД2 — вставной с замком наверху, цельным цилиндром исполнения ЦБ, двухступенчатый, двухплунжерный, нормального исполнения по стойкости к среде.
Скважинные насосы всех исполнений, кроме исполнения НВ1БД1 и НВ1БД2, одноплунжерные, одноступенчатые.
Скважинные насосы типа НВ2 изготовляют одного исполнения:
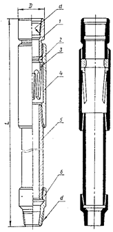
НВ2Б — вставной с замком внизу, цельным цилиндром исполнения ЦБ, одноплунжерный, одноступенчатый, нормального исполнения по стойкости к среде (рисунок 8).

Рисунок 8 — Скважинный штанговый насос исполнения НВ2Б
1 — защитный клапан; 2 — упор; 3 — шток; 4 — контргайка; 5 — цилиндр; 6 — клетка плунжера; 7 — плунжер; 8 — нагнетательный клапан; 9 — всасывающий клапан; 10 — упорный ниппель с конусом.
Скважинные насосы типа НН выпускают двух исполнений:
ННБА — невставной без ловителя, с цельным цилиндром исполнения ЦБ, сцепляющим устройством, одноступенчатый, одноплунжерный, нормального исполнения по стойкости к среде;
ННБД1 — невставной без ловителя, с цельным цилиндром исполнения ЦБ, одноступенчатый, двухплунжерный, нормального исполнения по стойкости к среде.
Скважинные насосы типа НН1 изготовляют одного исполнения:
НП1С — невставной с захватным штоком, составным цилиндром исполнения ЦС, нормального исполнения по стойкости к среде.
Скважинные насосы типа НН2 выпускают пяти исполнений:
НН2С — невставной с ловителем, составным цилиндром исполнения ЦС, нормального исполнения по стойкости к среде;
НН2Б — невставной с ловителем, цельным цилиндром исполнения ЦБ, нормального исполнения по стойкости к среде (рисунок 20);
НН2Б…И — то же, абразивостойкого исполнения по стойкости к среде;
НН2БТ…И — то же, с полым штоком, абразивостойкого исполнения по стойкости к среде;
НН2БУ — невставной с ловителем, разгруженным цельным цилиндром исполнения ЦБ, нормального исполнения по стойкости к среде.

Рисунок 9 — Скважинный штанговый насос исполнения НН2Б и НН2Б…И 1 — цилиндр; 2 — шток; 3 — клетка плунжера; 4 — плунжер; 5 — нагнетательный клапан; 6 — шток ловителя; 7 — всасывающий клапан; 8 — седло конуса.
Все насосы типа НН2 — одноплунжерные, одноступенчатые.
Замковая опора типа ОМ предназначена для закрепления цилиндра скважинных насосов исполнений НВ1 и НВ2 в колонне насосно-компрессорных труб. Высокая точность изготовления поверхностей деталей опоры обеспечивает надежную герметичную фиксацию цилиндра насоса в насосно-компрессорных трубах на заданной глубине скважины и одновременно предотвращает искривление насоса в скважине.
Замковая опора ОМ (рисунок 10) состоит из опорного кольца 2 , пружинного якоря 3 , опорной муфты 4 , кожуха 5 и переводников 1 и 6 .
Переводник имеет на верхнем конце гладкую коническую резьбу, при помощи которой опора соединяется с колонной насосно-компрессорных труб. Кольцо изготавливают из нержавеющей стали. Конической внутренней фаской оно сопрягается с ответной конической поверхностью конуса замка насоса и обеспечивает герметичную посадку насоса.
Якорь предотвращает срыв насоса с опоры от усилий трения движущегося вверх плунжера в период запуска в работу подземного оборудования. Максимальное усилие срыва замка 3 ¸ 3.5 кН.

Рисунок 10 — Замковая опора
Варианты крепления насосов приведены на рисунке 11.

Рисунок 11 — Крепление вставных насосов

Рисунок 12 — Область применения ШСН Сураханского машиностроительного завода
Применение насосов НН предпочтительно в скважинах с большим дебитом, небольшой глубиной спуска и большим межремонтным периодом, а насосы типов НВ в скважинах с небольшим дебитом, при больших глубинах спуска (рисунок 11). Чем больше вязкость жидкости, тем принимается выше группа посадки. Для откачки жидкости с высокой температурой или повышенным содержанием песка и парафина рекомендуется использовать насосы третьей группы посадки. При большой глубине спуска рекомендуется применять насосы с меньшим зазором.
Насос выбирают с учетом состава откачиваемой жидкости (наличия песка, газа и воды), ее свойств, дебита и глубины его спуска, а диаметр НКТ — в зависимости от типа и условного размера насоса.
ПРОИЗВОДИТЕЛЬНОСТЬ НАСОСА
Теоретическая производительность ШСН равна —
, м3
/сут.,
где 1440 - число минут в сутках;
— диаметр плунжера наружный;
— длина хода плунжера;
— число двойных качаний в минуту.
Фактическая подача
всегда
.
Отношение
, называется коэффициентом подачи, тогда
, где
изменяется от 0 до 1.
В скважинах, в которых проявляется так называемый фонтанный эффект, т.е. в частично фонтанирующих через насос скважинах может быть
. Работа насоса считается нормальной, если
.
Коэффициент подачи зависит от ряда факторов, которые учитываются коэффициентами
, где коэффициенты:
— деформации штанг и труб;
— усадки жидкости;
— степени наполнения насоса жидкостью;
— утечки жидкости.
Где
, где
— длина хода плунжера (определяется из условий учета упругих деформаций штанг и труб);
— длина хода устьевого штока (задается при проектировании).
,
,
где
— деформация общая;
— деформация штанг;
— деформация труб.
,
где
— объемный коэффициент жидкости, равный отношению объемов (расходов) жидкости при условиях всасывания и поверхностных условиях.
Насос наполняется жидкостью и свободным газом. Влияние газа на наполнение и подачу насоса учитывают коэффициентом наполнения цилиндра насоса
,
где
— газовое число (отношение расхода свободного газа к расходу жидкости при условиях всасывания).
Коэффициент, характеризующий долго пространства, т.е. объема цилиндра под плунжером при его крайнем нижнем положении от объема цилиндра, описываемого плунжером. Увеличив длину хода плунжера, можно увеличить
.
Коэффициент утечек
где
— расход утечек жидкости (в плунжерной паре, клапанах, муфтах НКТ);
— величина переменная (в отличие других факторов), возрастающая с течением времени, что приводит к изменению коэффициента подачи.
Оптимальный коэффициент подачи определяется из условия минимальной себестоимости добычи и ремонта скважин.
Уменьшение текущего коэффициента подачи насоса во времени можно описать уравнением параболы:
,
где
— начальный коэффициент подачи нового (отремонтированного) насоса;
— полный период работы насоса до прекращения подачи (если причина — износ плунжерной пары, то
означает полный, возможный срок службы насоса);
— показатель степени параболы, обычно равный двум;
— фактическое время работы насоса после очередного ремонта насоса. Исходя из критерия минимальной себестоимости добываемой нефти с учетом затрат на скважино-сутки эксплуатации скважины и стоимости ремонта, А.Н. Адонин определил оптимальную продолжительность межремонтного периода
,
где
— продолжительность ремонта скважины;
— стоимость предупредительного ремонта;
— затраты на скважино-сутки эксплуатации скважины, исключая
.
Подставив
вместо
, определим оптимальный конечный коэффициент подачи перед предупредительным подземным ремонтом
.
Если текущий коэффициент подачи
станет равным оптимальному
(с точки зрения ремонта и снижения себестоимости добычи), то необходимо остановить скважину и приступить к ремонту (замене) насоса.
Средний коэффициент подачи за межремонтный период составит:
.
Анализ показывает, что при
допустимая степень уменьшения подачи за межремонтный период составляет 15 ¸ 20 %, а при очень больших значениях
она приближается к 50 %.81850Увеличение экономической эффективности эксплуатации ШСН можно достичь повышением качества ремонта насосов, сокращением затрат на текущую эксплуатацию скважины и ремонт, а также своевременным установлением момента ремонта скважины.
ПРАВИЛА БЕЗОПАСНОСТИ ПРИ ЭКСПЛУАТАЦИИ СКВАЖИН ШТАНГОВЫМИ НАСОСАМИ
Устье скважины должно быть оборудовано арматурой и устройством для герметизации штока.
Обвязка устья периодически фонтанирующей скважины должна позволять выпуск газа из затрубного пространства в выкидную линию через обратный клапан и смену набивки сальника штока при наличии давления в скважине.
До начала ремонтных работ или перед осмотром оборудования периодически работающей скважины с автоматическим, дистанционным или ручным пуском электродвигатель должен отключаться, а на пусковом устройстве вывешивается плакат: «Не включать, работают люди».
На скважинах с автоматическим и дистанционным управлением станков-качалок вблизи пускового устройства на видном месте должны быть укреплены плакаты с надписью «Внимание! Пуск автоматический». Такая надпись должна быть и на пусковом устройстве.
Система замера дебита скважин, пуска, остановки и нагрузок на полированный шток (головку балансира) должны иметь выход на диспетчерский пункт.
Управление скважиной, оборудованной ШСН, осуществляется станцией управления скважиной типа СУС-01 (и их модификации), имеющий ручной, автоматический, дистанционный и программный режим управления. Виды защитных отключений ШСН: перегрузка электродвигателя (>70 % потребляемой мощности); короткое замыкание; снижение напряжения в сети (<70 % номинального); обрыв фазы; обрыв текстропных ремней; обрыв штанг; неисправность насоса; повышение (понижение) давления на устье.
Для облегчения обслуживания и ремонта станков-качалок используются специальные технические средства такие, как агрегат 2АРОК, маслозаправщик МЗ-4310СК
Похожие рефераты:
Южно-Ягунское нефтяное месторождение
Диплом-Нейросетевая система для управления и диагностики штанговой глубинонасосной установкой
Ремонт и обслуживание скважин и оборудования для бурения
Бурение и оборудование скважин при подземном выщелачивании полезных ископаемых
Проектирование техологии бурения наклонно-направленной скважины глубиной 1773 м
Установки погружных центробежных насосов (УЭЦН)
Отчет о практике специальности Разработка и эксплуатация нефтегазовых месторождений
Проектное решение по разработке месторождения
Гидродинамические методы исследования скважин на Приобском месторождении
Проект бурения и крепление эксплуатационной скважины на Песчаной площади Краснодарского края
Выбор и расчет оборудования для депарафинизации нефтяных скважин в условиях НГДУ "ЛН"
Эксплуатационные скважины для освоения месторождений Западной Сибири
Проект разбуривания участка в районе деятельности БП "ТЮМЕНБУРГАЗ"
Оптимизация технологических режимов работы скважин механизированного фонда
Установки погружных центробежных насосов для добычи нефти из скважин
Гидродинамические методы исследования скважин на Приразломном месторождении