| Похожие рефераты | Скачать .docx |
Дипломная работа: Ремонт поворотной платформы
Введение
Горные работа на карьерах тяжелой промышленности полностью механизированы и одной из основных машин на открытых горных разработках являются одноковшовый экскаватор.
Для вскрытия и добычи полезного ископаемого при погрузке породы, угля и руды в железнодорожные вагоны и автосамосвалы применяются одноковшовые электрические экскаваторы.
Карьерные одноковшовые экскаваторы являются сложными машинами, имеющими несколько главных и вспомогательных механизмов. Электрическое оборудование экскаваторов, при требовании большой надежности с точки зрения эксплуатации и техники безопасности, является также довольно сложным вследствие высокого технического уровня применяемых электроприводов и концентрации машин и аппаратов на незначительной площади.
При эксплуатации электрического оборудования существует повышенная опасность поражения электрическим током. Наличие на экскаваторах различных напряжений усложняет защиту от поражения электрическим током. Повышенная опасность поражения электрическим током требует особого внимания к выбору напряжения, режиму работы нейтрали, устройству заземлений, контролю изоляции и т.п. Большая разбросанность работ, применение, наряду со стационарными, передвижных подстанций и киосков создают большие трудности устройства защитных заземлений, контроля состояния сети, защитных средств.
1. Общий раздел
1.1 Характеристика предприятия
Златопольский завод по производству щебня находиться в 5 км. от г. Щучинска, занимает земли Златопольского совхоза.
Завод начал функционировать с 1975 г. Проект составлен ГГПН «Каздорпроект» в 1975 г. Общий объем запасов полезных ископаемых – 37159,55 т.м3 . Добыча полезных ископаемых в год 12550000 м3 , вскрыша 20000 м3 .
Ширина карьера 330 м, длинна карьера 1250, угол откоса карьера 80 градусов, схема транспортировки горной массы тупиковая.
Основной деятельностью завода является переработка горных пород и производством следующих строительных материалов: песок, щебень 3 фракций:
1) щебень диаметром 5х10 мм
2) щебень диаметром 10х20 мм
3) щебень диаметром 20х40 мм
Также на предприятии имеется асфальтный завод, на котором делают горячий асфальт для строительство дорог.
1.2 Краткая техническая характеристика и описание основных узлов
Экскаватор типа ЭКГ – 4,6 предназначен для разработки и погрузки горных масс в транспортные средства, находящиеся на одном уровне с экскаватором. Поэтому его оснащают только одним видом рабочего оборудования – прямой лопатой, состоящей из: ковша для черпания грунта 1; рукоятки 2, передающей закрепленному на ней ковшу напорное усилие, в результате чего зубья ковша врезаются в грунт; стрелы 3 с головным блоком 4 и подъемным канатом 5 для ковша, а также напорного механизма 6 и механизма открывания днища 7. Экскаватор имеет поворотную платформу 8 и ходовую тележку 9. Питание энергией осуществляется по силовому кабелю 10.
На экскаваторе имеется основные и вспомогательные механизмы. К главным рабочим механизмам относятся механизмы, непосредственно участвующие в процессе экскавации: напорный механизм, подъемная лебедка и поворотный механизм.

Рис. 1 Общий вид экскаватора типа ЭКГ – 4,6
1.3 Технические особенности и кинематические схемы
Для каждого механизма – подъемного, поворотного, ходового и напорного применены отдельные приводы электрических двигателей постоянного тока, эти двигатели питаются от пятимашиного агрегата, состоящего из электродвигателя который приводит в движение генераторы. Генераторы постоянного тока предназначены для питания двигателей постоянного тока.

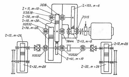
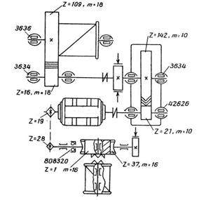
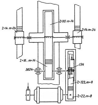
Рис. 2 Кинематическая схема механизма хода

Рис. 3 Кинематическая схема подъемной и стреловой лебедки

Рис. 4 Кинематическая схема механизма поворота

Рис. 5 Кинематическая схема механизма открывания днища ковша

Рис. 6 Кинематическая схема механизма напора
1.4 Описание режимов и циклов работы отдельных узлов
Процесс экскавации слагается из отдельных циклов работы экскаватора. В свою очередь цикл работы экскаватора-лопаты состоит из следующих операций: опускание ковша в забой; копание, во время которого производится подъем ковша; поворот платформы к месту выгрузки; открывание днища ковша и разгрузки; возвращение в забой с закрыванием ковша. Во время копания величина снимаемого слоя породы и скорость заполнения ковша регулируются увеличением или уменьшением усилия напора, вследствие чего рукоять с ковшом подается в забой или выдвигается из него, изменяя величину снимаемой стружки.
После завершения цикла операции повторяются и совершаются новые циклы, пока не будет полностью разработан слой грунта в зоне копания, что определяется полным выдвижением рукояти. Затем экскаватор передвигается ближе к забою.
Режим работы электроприводов основных рабочих механизмов экскаватора характеризуется большим числом включений, резкими изменениями нагрузки, частыми изменениями направления вращения.
2. Практический раздел
2.1 Требование к электроприводу механизмов экскаватора
Основным требованием к электроприводу механизма поворота является обеспечение протекания переходных процессов в минимально возможное время с ограниченным ускорением или замедлением, в особенности при торможении. Такое требование вызвано тем, что механизм поворота работает исключительно в переходных процессах пуска, реверсирования и торможения, так как он обладает значительной массой, которая в несколько раз превышает маховую массу двигателя. Кроме того, вследствие большого передаточного отношения редуктора механизма поворота могут быть значительные люфты в передачах, что тоже требует плавного разгона во избежание резких ударов в передачах.
Механизм подъема работает в условиях резко переменной нагрузки, значительно превышающей номинальную. В отдельных случаях нагрузка может быть настолько велика, что возникает опасность разрушения отдельных звеньев механической передачи. Еще тяжелее условия работы механизма напора. Наиболее характерной особенностью работы этого механизма является возможность его вынужденной остановки во время работы в случае встречи ковша с непреодолимым препятствием. Такой режим работы называется работой на упор или стопорением. Следовательно, для обеспечения надежной и безаварийной работы рабочего механизма требуется снижение момента до допускаемых пределов при стопорении и известная податливость его приводного двигателя.
2.2 Выбор рода тока и величины питающих напряжений
На экскаваторах средней мощности применяются многодвигательный электропривод постоянного тока, который имеет преобразовательную установку, состоящую из трехфазного сетевого двигателя и нескольких генераторов постоянного тока – для питания двигателей главных механизмов. Для вспомогательных механизмов применяются асинхронные двигатели с короткозамкнутым ротором.
В качестве приводного двигателя и для вспомогательных механизмов применяются асинхронные двигатели с короткозамкнутым ротором.
Энергия к экскаватору, находящемуся в забое, подводится гибким четырехжильным кабелем, подключаемым через передвижной приключательный пункт к внутрикарьерной линии электропередач на напряжение – 6 кВ. По трем жилам кабеля осуществляется питание электрооборудования, а четвертая жила служит для надежного заземления корпуса экскаватора.
Питание двигателей вспомогательных механизмов осуществляется на напряжение 0,4 кВ, получаемое от трансформатора собственных нужд, установленном в передвижном приключательном пункте.
2.3 Выбор системы электропривода и методов регулирования скорости
Требуемые механические экскаваторные характеристики приводов главных рабочих механизмов экскаватора легче всего осуществить, когда каждый главный рабочий механизм: подъем, поворот, напор или тяга, оборудуются двигателем постоянного тока независимого возбуждения, питающихся от отдельного источника питания – генератора постоянного тока, напряжение которого можно плавно регулировать от нуля до полной величины ±Uг с помощью реостата. Такая система регулируемого электропривода называется системой генератор – двигатель и сокращенно обозначается Г-Д.
Генераторы приводятся во вращение приводным двигателем, частота вращения которого не изменяется. В качестве приводного двигателя, на карьерных экскаваторах применятся асинхронные двигатели с короткозамкнутым ротором.
2.4 Расчет мощности двигателей привода механизма экскаватора
Расчет мощности двигателей главных приводов механизмов выполняются на основе кинематической схемы с использованием эмпирических формул.
Мощность двигателя подъемного рассчитывается по формуле:
, кВт
, кВт
где Gк – вес порожнего ковша, кг
Gr – вес грунта в ковше, кг
Gp – вес рукояти, кг
F – сила сопротивления грунта копанию, кгс
υч – скорость копания грунта, т.е. скорость подъема ковша при копании, мм2
V – емкость ковша, м2
kp – коэффициент разрыхления грунта
h – высота копания, м
Определяется мощность двигателя исходя из того, что давление ковша экскаватора на забой Fн , создаваемое напорным механизмом, ровно 0,6 от тягового усилия на подъемном канате, т.е.
![]()
=15170,4
Скорость перемещения рукоятки определяем исходя из перемещение рукояти при копании на 0,75 ее длины за время копания:
, мсек
где
– длина рукояти, м
tk – время копания, сек
Таким образом, мощность двигателя напорного механизма:
, кВт
, кВт
где ηн – к.п.д. напорного механизма.
Статическая мощность поворотного двигателя
, кВт
, кВт
где n – наибольшая скорость вращения двигателя, об/мин
Mc – статический момент сопротивления механизма поворота, приведенный к валу двигателя, кгс·м
Статический момент сопротивления определяется по формуле:
, кгс·м
, кгс·м
где Q – суммарный вес поворотной платформы, т.е. вес всех вращающихся частей экскаватора, кгс
μ – коэффициент трения втулки катка по цапфе
rц – радиус цапфы катка, см
ρ – коэффициент трения качения катка, см
Rкат – средний радиус опорного круга, м
rк – радиус катка, см
iпер – передаточное число механизма поворота
ηпер – к.п.д. передачи механизма поворота.
Рд ≈ 3Рс = 3·20,2=60,6, кгс·м
, кгс·м
, кгс·м
Мощность сетевого двигателя определяется суммой мощностей работающих одновременно двигателей. Так как механизм подъема и механизм напора работают одновременно, то суммарная мощность составит ΣР= 159+45,2=214,2 кВт. Поэтому за расчетную мощность сетевого двигателя Ррасч = ΣР=214,2 кВт. Так как расчет мощности вспомогательных механизмов требует дополнительного механического расчета, то за расчетную мощность принимается мощности двигателей механизмов, устанавливаемых комплектно с экскаватором.
2.5 Выбор типов двигателей
Исходя из требований предъявляемых к электроприводам механизмов ЭКГ – 4,6 необходимо применять двигатели постоянного тока, работающие по системе «Г-Д». Следовательно, одновременно с выбором двигателей непосредственно выбираются генераторы постоянного тока.
В качестве приводного двигателя для экскаватора ЭКГ – 4,6 целесообразно использовать высоковольтный асинхронный двигатель с короткозамкнутым ротором.
Для привода вспомогательных механизмов применятся низковольтные асинхронные двигатели с короткозамкнутым ротором. Тип выбираемого двигателя определяет его расчетную мощность и требуемой частоты вращения. Данные выбранного двигателя приведенные в таблице.
Таблица 1. Технические данные двигателей
| Машина | Рр кВт | Рн кВт | Uн В | Cosφa | Iя | Частота вращения, об/мин | |
| Наименование | Тип | ||||||
| 1 | 2 | 3 | 4 | 5 | 6 | 7 | 8 |
| Генератор: | |||||||
| подъема | ПЭМ-2000 | - | 192 | 451 | - | 425 | 1480 |
| поворота-хода | ПЭМ-1000 | - | 90 | 610 | - | 200 | 1480 |
| напора | ПЭМ-400 | - | 42 | 375 | - | 112 | 1480 |
| возбудитель | МП-542–1/2 | - | 12 | 115 | - | 104 | 1480 |
| Двигатель: | |||||||
| приводной | АЭ-113–4 | 214 | 250 | 6000 | - | 59 | 1480 |
| подъема | ДПЭ-82 | 159 | 174 | 460 | - | 410 | 740 |
| поворота | ДПВ-52 | 45 | 55 | 305 | - | 220 | 1200 |
| напора | ДПЭ-52 | 48 | 54 | 395 | - | 150 | 1200 |
| хода | ДПЭ-52 | - | 54 | 395 | - | 150 | 1200 |
| открывания днища | ДПЭ-12 | - | 3,6 | 110 | - | 42 | 1430 |
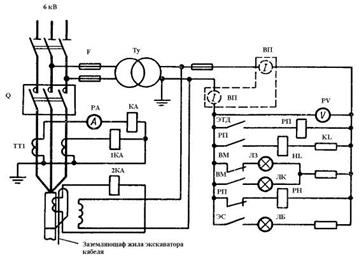
2.6 Выбор передвижного приключательного пункта
Для подключения экскаватора, а также защиты от падения напряжения в сети, короткого замыкания и однофазного замыкания используется передвижная приключательный пункт, выполняемый КРУ тип ЯКНО-6ЭП.

Рис. 7 Комплектное распределительное устройство ЯКНО-6ЭП: 1 – опорно-штыревые изоляторы; 2 – изоляторы проходки; 3 – предохранители; 4 – трансформатор напряжения; 5 – привод; 6 – корпус ячейки; 7 – рама; 8 – разъединитель; 9 – масляный выключатель; 10 – привод пружинный; 11 – трансформатор тока; 12 – трансформатор тока нулевой последовательности; 13 – салазки
Выбор КРУ на 6 кВ для защиты сетевого двигателя экскаватора от токов короткого замыкания которое одновременно могло служить и приключательным пунктом экскаватора. Выбрать также ток установки максимальной защиты КРУ. Выдержка времени защиты tзащ =0. Данные для выбора КРУ и его токовой защиты: приводной двигатель – асинхронный трехфазного тока с коротко замкнутым ротором АЭ-113–4. Мощность 250 кВт, напряжение 60006 мощностью 30 кВ·А, напряжением 6000220 В.
При нормальной работе экскаватора ток в высоковольтном кабеле будет

А
По номинальным параметрам предварительно выбираем КРУ типа ЯКНО-6ЭР с ручным приводом ПРБА-113 на ток Iном =50 А, Uн = 6 кВ с Iамп = 51 кА, Iоткл = 20 кА, Sоткл = 150 000 кВ·А.
Параметры ЯКНО-6ЭР Расчетные величины
UКРУ = 6 кВ Uр = 6 кВ
IКРУ = 50 А Iр = 32 А
Iоткл =20 кА I0,1 = Iк.з. = 3,92 кА
Sоткл =150000 кВ·А S0,1 = S к.з. = 42 720 кВ·А
Таким образом, принятый приключательный пункт ЯКНО-6ЭР на ток Iн =50 Аустойчив по отношению к токам короткого замыкания.
Определяем требуемый ток установки максимальных токовых реле мгновенного действия РТМ-1, встроенных в привод ПРБА-113 приключательного пункта ЯКНО-6ЭР.
2.7 Выбор коммутационного оборудования и кабелей
Выбор коммутационного оборудования производиться в соответствии с электрической схемой ЯКНО.
Рис. 8 электрическая схема ЯКНО
Условия выбора:
Uн ≥Uуст
Iн ≥ Iрасч
IР = 32 А
Выбираем выключатель масляный типа ВМП
Uн =10 кВ
Iн =630 А и разрядник типа РВЗ-6 пл.тар = ЧТС ×Тэф×ЧСП , тенге
где ЧТС – часовая тарифная ставка
Тэф – эффективный фонд рабочего времени одного рабочего в год часов
ЧСП – списочная численность рабочих З100%; тенге
Пр =пл = Зпл = 2258136+451627+1016518+285840=4012121 тенге
Расчет дополнительного фонда заработной платы
ДФЗП = × число отпускных дней × ЧСП, тенге
ДФЗП = × 30 × 3 = 286967 тенге
Расчет годового фонда заработной платы
Год.ФЗпл + Доп.ФЗпл =4012121+286967=4299088 тенге
2.8 Расчет амортизационных отчислений
Основные фонды ТОО «Казахдорстрой» – это один из важных элементов факторов производства, необходимые для организации процесса производства.
Амортизация – это процесс переноса стоимости основных фондов на себестоимость продукции. Амортизация отражает стоимость износа основных фондов. Амортизация начисляется по нормам амортизации с использованием первоначальной или текущей стоимости основных фондов.
Сумма амортизаций рассчитывается по формуле:
SA =пс ×На 100%=7708800 тенге
Таблица 4. Амортизационные оборудования выемочно-погрузочного участка
| Наименование оборудывания | Количество единиц | Балансовая стоимость, тенге | Норма амортизации | Сумма амортизации | |
| единицы | всего | ||||
| Экскаватор ЭКГ – 4,6 | 1 | 52800000 | 52800000 | 14,6 | 7708800 |
| Итого | 1 | 52800000 | 52800000 | 14,6 | 7708800 |
Расчет амортизационных отчисленний на здание для отдыха рабочих
Здание кирпичное размерами 5×10 м, балансовая стоймость которого 200000 тг.
Норма амортизации 2,1%.
Таблица 5. Амортизация здания для отдыха рабочих
| Наименование оборудывания | Количество единиц | Стоимость единицы оборудывания | Стоимость оборудывания всего | Норма амортизации | Сумма амортизации |
| Здание кирпичное для обслуживание персонала | 1 | 200000 | 200000 | 2,1 | 4200 |
| Итого | 1 | – | – | 2,1 | 4200 |
2.9 Смета затрат на эксплуатацию и содержание оборудования
При эксплуатации дробильного завода происходит расход материалов. Их стоимость и нормы расходов сводим в таблицу.
Таблица 6. Расчет стоимости материалов
| Наименование материала | Единица измерения | Норма расхода за месяц | Норма расхода за год | Цена за единицу продукции, тг. | Сумма расхода за год, тг. |
| Масла, смазки и обтирочные материалы | Кг/т | 0,0375 | 168,192 | 84000 | 14128128 |
| итого | - | - | - | - | 14128128 |
ТОО «Казахдорстрой» является одним из крупнейших потребителейэлектроэнергии. Расход электроэнергии рассчитывается по формуле
W=Pуст ×Тдн ×nчас 0,93×0,91=4720028 кВт×ч
Рассчитываем стоимость электроэнергии по формуле:
С =тариф за 1кВт×ч×W, тенге
С = 7,19×4720028=33937003 тенге
Таблица 7. Смета затрат на эксплуатацию и содержание оборудования
| Наименование статей | Общая стоимость оборудования, тг. | Размер отчислений, % | Сумма, тг. |
| Эксплуатация оборудования; | 17600000 | 1,5 | 264000 |
| Текущий ремонт; | 17600000 | 20 | 3520000 |
| Износ малоценного оборудования и инструмента; | 17600000 | 0,5 | 88000 |
| Итого | – | – | 3872000 |
| Прочие расходы | – | 5 | 193600 |
| Всего | – | – | 4065600 |
Смета затрат на эксплуатацию и содержания оборудования рассчитывается для сведения ее в смету накладных расходов.
Накладные расходы – это условно постоянные расходы независящие от объёмов производства.
Таблица 8. Смета накладных расходов
| Статьи затрат | Источник расчета | Сумма, тг |
| Расходы по охрана труда | 10% от годового фонда зарплаты | 1166276 |
| Эксплуатация и содержание оборудование | Таблица 7 | 40645600 |
| Прочие расходы | 10% от итого | 523187 |
| Всего | – | 5755063 |
Таблица 9. Смета суммарных затрат
| Статьи затрат | Сумма, тг. |
| Стоимость материала | 14128128 |
| Стоимость электроэнергии | 33937003 |
| Основная заработная плата рабочего | 10884269 |
| Дополнительная заработная плата рабочего | 778497 |
| Начисление на заработную плату | 2332553 |
| Амортизация оборудования | 7708800 |
| Амортизация здания | 4200 |
| Накладные расходы | 5755063 |
| Итого | 75528513 |
Исходя из сметы суммарных затрат, рассчитываем стоимость затраты на одну тонну добычи полезного ископаемого.
Затраты на одну тонну = сумма затрат 406464=186 тг
Рэкс
=
, м3
т
Рсм = Рэкс × 12, м3 т
Рсут = Рсм × 2, м3 т
Ргод = Рсут × дней, м3 т
2.10 Технико-экономические показатели
Технико-экономические показатели рассчитываются для отражения и характеристики работы участка и предприятия в целом.
Таблица 10. Технико-экономических показателей
| Показатели | Единицы измерения | Величина |
| Эффективный фонд рабочего времени | дни | 158 |
| Численность рабочих | человек | 9 |
| Средняя заработная плата одного рабочего | тг | 107989 |
| Стоимость оборудования | тг | 52800000 |
| Затраты на тонну ископаемого | тг | 186 |
2.11 Техника безопасности при ремонте экскаваторов
Значительный объем работ по ремонту экскаваторов производиться в неблагоприятных полевых и климатических условиях. При этом работы по подъему, погрузке – разгрузке, распрессовке узлов; сварочных и клепальные в стесненных условиях; демонтажно-монтажные и покрасочные работы и др. требуют строгого соблюдения правил техники безопасности.
Все работы должны производиться при строгом соблюдении технологии, предусмотренной ремонтной и эксплуатационной документациями; все члены ремонтной бригады должны находиться в касках и защитной одежде; на ремонтной площадке запрещается загромождать узлами и деталями экскаватора транспортные проходы; запрещается устанавливать подставки – опоры на лед, снег и неустойчивый грунт.
Все ремонтные работы разрешается производить только после полной остановки механизмов; демонтажно-монтажные работы должны выполняться не менее, чем двумя членами бригады; запрещается вести работы на открытой площадке при ветре со скоростью свыше 12 м/с, сильном снегопаде, ливне и грозе.
Работы по обслуживанию и ремонту электрооборудования разрешается производить персоналу, имеющему соответствующую группу допуска и ознакомленному с электрической схемой управления.
После установки поворотной платформы на опоры и перед началом работ по демонтажу узлов экскаватор должен быть переведен на временную схему электроснабжения с целью подключения только необходимого вспомогательного оборудования.
Корпуса сварочного агрегатов, сварочных столов и другого электросварочного оборудования должно быть заземлено. Заземление электросварочных агрегатов выполняется до включения их в сеть и защищено предохранителями со стороны питающей сети.
Запрещается использовать в качестве обратного провода контур заземления и металлические конструкции технологического оборудования. Длина между питающей сетью и передвижным сварочным агрегатом не должна превышать 20 м.
При сварке внутри закрытых конструкций, а также наружных установок после дождя и снегопада сварщик должен кроме спецодежды пользоваться диэлектрическими перчатками, галошами и ковриками. Работы в закрытой полости металлоконструкций должны выполнятся не менее чем двумя рабочими, при чем один из них должен находиться снаружи осуществлять контроль.
При сварке в закрытой полости металлоконструкций и внутри резервуара должна предусматриваться вентиляция.
Строповку узлов и деталей при монтажно-демонтажных работах необходимо производить согласно схемам и требованиям «Правил устройства и безопасной эксплуатации подъемных кранов».
При подъеме и опускании узлов и деталей под острый углы должны быть подложены деревянные подкладки во избежание перетирания канатов. Снимать стропы с узлов разрешается только после их окончательной установки и надежного закрепления.
Запрещается производить одновременно работы по ремонту и наладке на верхних металлоконструкциях и в нижней зоне экскаватора по одной вертикали без специального ограждения.
При работе с гидродомкратами запрещается: производить регулировочные работы при наличии давления в системе; работать при неисправном манометре и при температуре масла выше 50с С; превышать рабочий ход; превышать более 50 отклонения направления поднимаемого груза от оси домкрата; освобождать домкрат из-под груза без надежного закрепления последнего в поднятом состоянии; оставлять длительно домкрат под нагрузкой; работать при отсутствии на домкрате клейма с указанием нагрузки и даты испытания.
При работе с газорезными аппаратами замершие вентили газовых баллонов разрешается нагревать только паром или горячей водой, не имеющей следов масла. На месте производства работ кислородные и ацетиленовые и ацетиленовые баллоны необходимо защищать от воздействия прямых солнечных лучей.
Открыть вентиль баллона с ацетиленом или крепить на нем редуктор можно только специальными ключами. Использование сжиженных газов при газопламенной резке металлов должно производиться в соответствии с требованиями «Правил безопасности в газовом хозяйстве».
Баллоны со сжиженным газом должны находиться в металлических шкафах с соответствующей вентиляцией.
Запрещается совместное хранение в одном помещении или месте баллонов для сжатого газа и кислорода, как наполненных, так и порожних.
Работы по наладке электрических схем управления электроприводами экскаваторов разделяются на два периода: до запуска преобразовательного агрегата, когда наладочные работы производятся одновременно по совмещенному графику со сборочными работами механической части; после запуска преобразовательного агрегата, когда питание производится по постоянной схеме электроснабжения. В этот период запрещается производить работы по регулировке узлов механической части.
Производство наладочных работ должно вестись бригадой, в составе не менее 2-х наладчиков. Для определения наличия напряжения на схеме следует пользоваться специальными указателями напряжения. Все отключения и переключения приборов допускается производить только при снятом напряжении. Перед испытанием экскаватора необходимо удалить людей на безопасное расстояние и убрать оборудование и приспособления из зоны действия экскаватора. Проверить прочность крепления рабочих канатов и защитных ограждений механизмов; проверить показания и исправность неправильность контрольных приборов.
В период испытания экскаватора запрещается производить регулировки при включенных механизмах и находиться людям в радиусе работы экскаватора.
2.12 Мероприятия по гражданской обороне
Гражданская оборона представляет собой систему общегосударственных мероприятий, проводимых в мирное и военное время для защиты населения и народного хозяйства от оружия массового поражения и других средств нападения противника, а также для проведения спасательных и неотложных аварийно-восстановительных работ в очагах поражения.
Основные задачи гражданской обороны:
защита населения от оружия массового поражения;
подготовка объектов народного хозяйства к устойчивой работе в условиях нападения противника;
проведения спасательных и неотложных аварийно-восстановительных работ в очагах поражения.
Для выполнения этих задач требуется заблаговременно провести сложный комплекс мероприятий и спланировать действия гражданской обороны, начиная с проектирования нового или реконструкции старого предприятия. Объект гражданской обороны отмечают специальным знаком на генеральном плане предприятия. Знак представляет собой прямоугольник с затемненным треугольником и зигзагообразной стрелой наверху.
На генеральном плане показывают:
размещение убежищ и укрытий, пункта управления производством и других заглубленных помещений, которые необходимо использовать для защиты рабочих и служащих от оружия массового поражения;
помещения и источники водоснабжения, подлежащие герметизации;
здания и сооружения, проектируемые с учетом защиты размещенного в них оборудования от поражающего воздействия волны ядерного взрыва;
противопожарные разрывы и зоны защитного озеленения;
места размещения резервуаров с аварийным запасом воды и хранилищ, подлежащих заглублению или обваливанию, а также направление отвода в безопасные места сильнодействующих ядовитых веществ огнеопасных и взрывоопасных жидкостей при разрушении емкостей для их хранения;
проектируемое закольцевание водопровода, дополнительные вводы коммуникаций, размещение складов для хранения сырья и ремонтных материалов;
незаваливаемые проезды, колодцы коммуникаций, пожарные гидранты, размещение складов для хранения средств индивидуальной защиты и обеззараживания, спецодежда, аварийно-восстановительного инвентаря и гарантийного запаса строительных материалов.
В условиях особого периода большое значение имеет устойчивость работы объекта. Повышение механической прочности проектируемых предприятий достигается соответствующей планировкой их; применением более прочных материалов; облегчением стенового материала, заменой легко разрушаемых материалов; понижением этажности; возведением зданий по секциям в целях быстрой изоляции помещений, подвергшихся заражению. На проектируемом объекте должна быть установлено надежная система оповещения и связи для своевременного доведения до рабочих и служащих сигналов гражданской обороны. Вместимость убежищ из расчета наибольшей численности работающий смены. Убежища располагаются в местах большой массы людей, подлежащих укрытию, на расстоянии 300–400 метров от рабочих мест.
Под убежище могут быть приспособлены: подвальные этажи производственных, вспомогательных и административно – бытовых зданий промышленных предприятий; тоннели технологические и пешеходные; пустоты в крупных фундаментах. Убежища не рекомендуется располагать в подвалах производственных цехов, где проходят линии коммуникаций.
2.13 Охрана окружающей среды
Так как завод занимается переработкой горных пород, то его производство связано с выделением пыли, что отрицательно сказывается на окружающей среде.
Для защиты окружающей среды от выброса большого количества пыли в атмосферу на заводе устанавливают циклоны, т.е. пылеулавливатели, которые выполняют функции фильтров, они задерживают микрочастицы пыли, не позволяя им выходить в атмосферу, т.к. частицы пыли оседают на стенках пылеулавливателя и после проведения определенного объема работ, они вымываются водой.
При производстве горных работ в воздушную среду поступает значительное количество минеральной пыли в процессе машинного разрушения пород, бурения скважин, вторичного дробления, резки горных пород, транспортировки и выгрузки их на приёмных пунктах или отвалах и т.д.Источниками пылевыделения карьера являются:1. Автотранспортные работы.2. Породные отвалы.3. Выемочно-погрузочные работы.4. Буровые работы.Службами предприятий по добыче и переработке полезных ископаемых ведётся контроль за нарушением и загрязнением природных объектов, в том числе за выбросами в атмосферу.Основные контролируемые характеристики динамических атмосферных процессов – температура воздуха, атмосферное давление, относительная влажность, количество атмосферных осадков, скорость и направление ветра, прямая и рассеянная солнечная радиация.Значения перечисленных показателей определяют степень концентрации или рассеивания загрязняющих веществ, выбрасываемых в атмосферу, уязвимость природных комплексов зоны поражения.Запылённость и содержание вредных примесей в атмосферном воздухе карьера не должно превышать их нормативных значений, предусмотренных санитарными нормами и «Правилами безопасности при разработке месторождений полезных ископаемых открытым способом».Для контроля за составом выхлопных газов, выделяемых при работе карьерных машин с двигателями внутреннего сгорания, ежемесячно производится отбор проб газов и их анализ, а также регулировка двигателей с целью снижения выделения вредных газов.Список литературы
1. Положение о планово-предупредительных ремонтах оборудования и транспортных средств на предприятиях министерства цветной металлургии. – М.: Недра, 2003
2. Волотковский С.А. «Электрификация открытых горных работ», М, Недра, 1979, стр. 44
3. Кноррант Г.М. «Справочная книга по проектированию электрического освещения» М, Энергоиздательство, 1976, стр. 86.
4. Медведев Г.Д. «Электрооборудование и электроснабжение горных предприятий» М, Недра, 1968, стр. 355.
5. Неклепаев Б.Н. «Справочные материалы для курсового и дипломного проектирования» М, Энергоиздательство, 1986, стр. 605.
6. Самохин Ф.И. «Электрооборудование и электроснабжение открытых горных работ» М, Недра, стр. 399.
7. Троп А.Е. «Справочник горного электротехника» М, ГНТИ по горному делу, 1962, стр. 400.
8. Фёдоров А.А. «Справочник по электроснабжению промышленных предприятий» М, Энергоиздательство, 1980, стр. 181.
9. Фёдоров А.А. «Электрооборудование и автоматизация», М, Энергоиздательство, 1981, стр. 624.
10. О.И. Волков, Экономика предприятия, учебник. – М: Инфа – М, 2000.
11. Н.Я. Лобанов, В.Г. Торцов, Экономика, организация и планирование производства на предприятии горнорудной промышленности М.: Недра, 1999
Похожие рефераты:
Проект вскрытия и разработки Кадали-Макитской террасы
Основные технологические процессы на разрезе "Томусинский"
Проект разработки Олимпиадинского золоторудного месторождения на примере участка Восточный
Разработка Мыковского карьера лабрадоритов
Расчёт электрооборудования и сетей при организации горных разработок в карьере
Реконструкция СЭС обогатительной фабрики
Технология и техника разработки карьера
Одноковшовые экскаваторы. Башенные краны. Погрузочно-разгрузочные машины
Горно-геологическая характеристика рудника
Разработка электроприводов прессовых машин
Разработка технологии и процесса ремонта двигателей автомобиля КамАЗ 5320 на АТП