| Похожие рефераты | Скачать .docx |
Реферат: Исследование горячеломкости литейных сплавов на основе систем Al-Si, Al-Cu, Al-Si-Cu
ОГЛАВЛЕНИЕ
Введение……………………………………………………………………..3
Глава 1. Обзор литературы
1.1. Влияние состава и структуры на горячеломкость
при литье сплавов…………………………………………………………...5
1.1.1. Влияние формы и размеров зерен на горячеломкость……………..5
1.1.2. Влияние газосодержания сплавов на горячеломкость……………..9
1.1.3. Влияние состава сплавов на горячеломкость……………………...12
1.1.4. Влияние зональной ликвации на горячеломкость…………………17
1.1.5. Влияние примесей на горячеломкость……………………………...17
1.2. Пути снижения горячеломкости сплавов…………………………...19
1.2.1. Первый путь снижения горячеломкости –
выбор оптимального состава……………………………………………….19
1.2.2. Второй способ снижения горячеломкости –
регулирование содержания основных компонентов………………………23
1.2.3. Третий путь снижения горячеломкости –
регулирование содержания примесей в сплаве…………………………….23
1.2.4. Четвёртый путь снижения горячеломкости –
введение в сплав малых технологических добавок………………………..23
1.3. Литейные пробы на горячеломкость………………………………...26
1.3.1. Первая группа проб……………………………………………………26
1.3.1.1 Стандартная кольцевая проба на горячеломкость………………….30
1.3.2. Вторая группа проб…………………………………………………….30
1.3.3. Третья группа проб…………………………………………………….32
1.4. Характеристика некоторых алюминиевых сплавов…………………37
1.4.1. Сплавы на основе алюминий-кремний……………………………….37
1.4.2. Сплавы на основе алюминий-медь……………………………………39
1.4.3. Сплавы на основе алюминий-кремний-медь…………………………41
Глава 2. Экспериментальная часть
2.1. Методика приготовления опытных сплавов……………………………43
2.2. Исследование горячеломкости сплавов систем Al-Si,
Al-Cu, Al-Si-Cu по показаниям технологических проб……….…………….43
2.3. Методика проведения дифференциального термического
анализа исследуемых сплавов………………………………………………...51
2.4. Анализ параметров кристаллизационного процесса……………………54
Вывод…………………………………………………………………………..57
Литература……….……………………………………………………………58
ВВЕДЕНИЕ
Развитие современной науки и техники показало, что важной составляющей технологического производства являются качественные показатели получаемой продукции. Приоритетными направлениями являются: увеличение прочности, увеличение диапазона рабочих температур, увеличение срока службы материалов. В данной работе будет рассмотрено и исследовано явление, которое напрямую связано с прочностными показателями получаемых в производственном процессе материалов. Речь идёт о явлении горячеломкости металлов и сплавов.
Горячеломкость – склонность металлов и сплавов к хрупкому межкристаллитному разрушению при наличии жидкой фазы по границам зёрен. Такое разрушение широко распространено при литье и сварке; оно встречается также при горячей обработке давлением, термической обработке и эксплуатации изделий при повышенных температурах.
Все металлы и сплавы в той или иной степени горячеломки. Хорошо известная красноломкость сталей и никелевых сплавов, обусловленная оплавлением сульфидной эвтектики, является частным случаем горячеломкости при горячей обработке давлением. При термической обработке сплавов горячеломкость проявляется в образовании закалочных трещин из-за оплавления границ зёрен при пережоге. Незначительные примеси металлов, образующие легкоплавкие эвтектики по границам зёрен, снижают жаропрочность и термостойкость легированных сталей, никелевых и других сплавов и могут привести к хрупкому межкристаллитному разрушению изделий во время эксплуатации при повышенных температурах.
При литье и сварке горячеломкость сплава проявляется в образовании так называемых «горячих» трещин в слитках, фасонных отливках и сварных швах. Горячие трещины – один из наиболее распространённых и трудно устранимых видов брака. Если оплавление границ зёрен при горячей обработке давлением, термообработке и эксплуатации изделий можно более или менее легко предотвратить, очищая метал от легкоплавких примесей, вводя в него малые добавки для связывания этих примесей в тугоплавкие соединения или, наконец, просто ограничивая температуру нагрева точкой солидуса границ зёрен, то при литье и сварке плавлением переход через интервал кристаллизации всегда неизбежен. Поэтому горячеломкость чаще всего проявляется в двух последних процессах.
Проблема горячих трещин приобрела особенно большую остроту в связи с развитием производства новых высокопрочных и жаропрочных сплавов, так как области составов на диаграммах состояния, соответствующие максимальной прочности и жаропрочности, часто совпадают с областью составов наиболее горячеломких сплавов. Причём брак по горячим трещинам чаще возникает при наиболее прогрессивных видах литья: непрерывном литье слитков и отливке деталей в постоянные формы.
Резко выраженная горячеломкость сплавов при литье и сварке сильно осложняет, а часто делает и практически невозможным внедрение в серийное производство новых сплавов с ценными эксплуатационными свойствами. В связи с этим необходим такой научно обоснованный подход к разработке новых и улучшению существующих сплавов, при котором наряду с получением высокой прочности, жаропрочности и других эксплуатационных свойств обеспечивалась бы высокая сопротивляемость сплавов образованию горячих трещин.
Как будет показано ниже, горячие трещины при литье большинства промышленных цветных сплавов являются кристаллизационными – они зарождаются и развиваются в «эффективном» интервале кристаллизации. В этом интервале кристаллиты образуют каркас с распределённой внутри него жидкой фазой, и сплав обладает основным свойством твёрдого тела сохранять ранее приданную ему форму. Такое состояние сплавов было условно названо твёрдо-жидким. Выше некоторой температуре в интервале кристаллизации жидкая фаза полностью отделяет друг от друга кристаллиты, и сплав обладает основным свойством жидкого тела – повышенной текучестью. Это состояние сплава в отличие от предыдущего, было условно названо жидко-твёрдым.
Противоречивость проблемы горячих трещин обусловлено главным образом тем, что горячеломкость – свойство технологическое и, как всякое технологическое свойство, оно является комплексным, сложносоставным, зависящим от протекания в металле одновременно нескольких «элементарных» процессов. Любая технологическая проба на горячеломкость, как бы хорошо она не была приспособлена к условиям конкретной производственной задачи, не может в чистом виде выявить те элементарные процессы и соответственно те «составные» свойства сплава, комплекс которых определяет его горячеломкость. Для определения свойств сплава, находящегося в твёрдо-жидком состоянии, обычно непригодны методики и установки, используемые для изучения сплавов в твёрдом или жидком состоянии. Необходимо применять методики и приборы, специально предназначенные для изучения тех свойств сплава в твёрдо-жидком состоянии, совокупность которых определяет его горячеломкость.
На склонность сплава к образованию кристаллизационных трещин, как и склонность к любому другому разрушению, решающее влияние должны оказывать механические свойства в температурном интервале образования этих трещин. Поэтому при анализе горячеломкости основное внимание необходимо обратить на изучение механических свойств и закономерности пластической деформации и разрушения сплавов в твёрдо-жидком состоянии. Но анализ горячеломкости, в общем случае, нельзя свести к изучению только механических свойств: горячеломкость, проявляющаяся при литье и сварке, зависит так же от термического сжатия, линейной усадки в интервале кристаллизации.
ГЛАВА 1. ОБЗОР ЛИТЕРАТУРЫ
1.1. ВЛИЯНИЕ СОСТАВА И СТРУКТУРЫ НА ГОРЯЧЕЛОМКОСТЬ ПРИ ЛИТЬЕ СПЛАВОВ
1.1.1. Влияние формы и размеров зерен на горячеломкость
Измельчение зерна – это один из хорошо известных способов устранения брака по горячим трещинам в слитках, фасонных отливках и сварных швах. Уменьшение размеров зёрен и особенно переход от столбчатой структуры к равноосной в литом сплаве, во-первых, сужают температурный интервал хрупкости и повышают относительное удлинение в нём, а, во-вторых, снижают температуру начала линейной усадки в эффективном интервале кристаллизации. Повышение относительного удлинения и уменьшение линейной усадки при измельчении зерна действуют в одном направлении: оба эти фактора, усиливая друг друга, увеличивают запас пластичности сплава в твёрдо-жидком состоянии и тем самым снижают горячеломкость.
Влияние формы и размеров зерна на горячеломкость в чистом виде не всегда можно выявить, так как одновременно с их изменением под воздействием тех или иных факторов может измениться и микростроение границ зёрен, а также интервал кристаллизации, темп кристаллизации и газосодержание.
Наиболее просто выявление формы и размеров зёрен на горячеломкость выявляется при изменении перегрева расплава. С увеличением перегрева расплава зерно укрупняется и равноосная структура стремится перейти в столбчатую, в результате чего запас пластичности в твёрдо-жидком состоянии снижается, а горячеломкость возрастает (рисунок 1).
Увеличение продолжительности выстаивания расплава также может привести к значительному укрупнению зерна и усилению горячеломкости. Увеличение продолжительности выстаивания в электропечи с 20 минут до 10 часов укрупнило зерно и привело к появлению трещин в слитке полунепрерывного литья из сплава АК6. Испытания на разрыв образцов, вырезанных из слитков, выявили сильное снижение удлинения в твёрдо-

Рис.1 Зависимость показателя горячеломкости (ПГ) сплава алюминия с 4% Cu от размера зерна (m ) при разном перегреве расплава.
жидком состоянии и расширения интервала хрупкости при выстаивании расплава. Усиление горячеломкости при увеличении продолжительности выстаивания расплава иногда связывают с повышением газосодержания. Но, во-первых, опыты показывают, что в зависимости от природы сплава, его исходного газосодержания и атмосферы печи выстаивание может не только повысить, но и повысить газосодержание. Именно это наблюдалось в только что упомянутом примере со сплавом АК6. Опыты проводились в цеховых условиях. Шихта состояла из отходов прессового цеха, загрязнённых маслом, и свежерасплавленный металл имел повышенное газосодержание. Десятичасовое выстаивание расплава понизило содержание водорода с 0.30 до 0.19 см3 /100 г, увеличило плотность слитков с 2.786 до 2.797 и уменьшило среднюю толщину границ зёрен на поверхности проб, отлитых на зеркальную плиту, с 6.8 до 4.6 мкм. Во-вторых, если газосодержание и повышается, то горячеломкость должна падать, а не расти. Так как обычно горячеломкость при увеличении продолжительности выстаивания возрастает, то это означает, что или выстаивание понижает газосодержание, или же выстаивание повышает газосодержание, но благоприятное влияние этого фактора на горячеломкость перекрывается отрицательным действием укрупнения структуры.
Из-за неизбежных колебаний температуры расплава, разного содержания примесей и неконтролируемых включений и по другим причинам в разных плавках одного сплава получается различная структура. Горячеломкость многих сплавов чутко реагирует на колебания размера зерна, получаемые в разных плавках (рисунок 2).
Получение мелкозернистой структуры для снижения горячеломкости часто достигается модифицированием сплава малыми добавками, например введением титана в алюминиевые сплавы. Следует заметить также, что введение модификатора может не только измельчить зерно, но и изменить количество и характер распределения жидкой фазы по границам зёрен, а последний фактор иногда оказывает решающее и не обязательно благоприятное влияние на горячеломкость.
Снижение горячеломкости при вибрации в период кристаллизации частично происходит благодаря измельчению зерна, однако удельный вес этого фактора трудно установить, так как вибрация одновременно усиливает залечивание трещин.
На размер зерна, как известно, сильное влияние оказывают примеси и легирующие элементы. Отливки из чистых металлов обычно имеют столбчатую структуру, а при повышении содержания примесей и легирующих элементов зерно чаще всего измельчается. Но при этом, как правило, сильно изменяется структура границ зерен, и роль размера зерна становится второстепенной.
Получение устойчивой мелкозернистой структуры путём снижения температуры расплава, ограничения продолжительности его выстаивания и введения модификаторов является весьма простым и хорошо

Рис.2 Зависимость показателя горячеломкости (ПГ) сплава меди с 3% Sn и 0.5% Fe от размера зерна (m ), полученного в разных плавках.
зарекомендовавшим себя на практике способом снижения горячеломкости. Однако следует заметить, что измельчение зерна не всегда помогает устранить брак по кристаллизационным трещинам в производственных условиях. Так, например, при полунепрерывном литье слитков благоприятное действие измельчения зерна проявляется преимущественно на алюминиевых сплавах со средней и низкой горячеломкостью.
1.1.2. Влияние газосодержания сплавов на горячеломкость
Имеющийся производственный опыт не позволяет сделать строгих выводов о влиянии газосодержания расплава на горячеломкость, так как в цеховых условиях при фасонном и заготовительном литье цветных сплавов контроль газосодержания обычно не производят. Кроме того, одновременно с изменением содержания газа могут изменяться другие факторы, влияющие на горячеломкость и не всегда учитываемые. Представления металлургов о влиянии газосодержания на горячеломкость чаще основываются не на систематических исследованиях, а на традиционном отношении к газу как к вредному компоненту в сплаве. Это является одной из причин распространённого убеждения, что газ, попадающий в расплав, усиливает горячеломкость. Вместе с тем отдельные исследования говорят об обратном.
Исследования проводили на алюминиевых сплавах марок B95, Д16 и АМц, техническом алюминии марки А00 и двойных сплавах алюминия с медью и кремнием. Газосодержание расплава определяли приближённо, по методу Дардела, основанному на регистрации остаточного давления, при котором в вакуумной установке на поверхности жидкой пробы под лупой при увеличении в 5 раз появляется первый газовый пузырёк. Можно считать что из алюминиевого под вакуумом выделялся только водород, содержание которого определяли по номограмме.
Сразу же, после измерения газосодержания, из свежерасплавленного металла под температурой 720-740° отбирали мерную порцию для определения горячеломкости по кольцевой пробе. Диаметр стального стержня кокиля подбирали для каждого сплава так, чтобы можно было установить, в каком направлении изменяется горячеломкость при введении газа в расплав. Затем из исходного металла отбирали порцию расплава, которую обрабатывали водяным паром в отдельном тигле, находящемся в другой печи. Проходя через алюминиевый расплав, водяные пары разлагались, и расплав обогащался водородом. Из обработанного водяным паром расплава отбирались по одной пробе на газосодержание и на горячеломкость. После этого повторно отбирали пробы на газосодержание и на горячеломкость из остатка исходного расплава, не обработанного паром; затем вновь отбирали порцию расплава для обработки паром и т. д. Средние результаты по 10-12 чередующимся пробам из исходного и обработанного паром расплавов представлены в таблице 1. После обработки водяным паром
горячеломкость сплавов В95, Al с 4.5% Cu и Al с 0.8% Si резко уменьшилась, у дюралюмина Д16 слабо снизилась, а у сплава АМц и алюминия марки А00 практически не изменилась. Ни у одного из исследованных сплавов не было обнаружено даже намёка на усиление горячеломкости после обработки водяным паром, в то время как проба на газосодержание во всех случаях показывала значительное увеличение количества водорода в расплаве.
Из таблицы 1 видно, что если при увеличении газосодержания расплава резко снижается горячеломкость, то одновременно заметно уменьшается линейная усадка.
Таблица 1. Горячеломкость и линейная усадка алюминиевых сплавов с разным содержанием водорода в расплаве
Сплав |
Содержание Н2 При 720°,см3 /100г |
Горячеломкость, % |
Полная линейная усадка, % |
Интервал кристал- лизации, С |
|||
А |
Б |
А |
Б |
А |
Б |
||
| В95 | 0.45 | >0.8 | 90 | 0 | 1.75 | 1.55 | 150 |
| Al с 4.5% Cu | 0.42 | >0.8 | 70 | 15 | 1.88 | 1.65 | 100 |
| Al с 0.8% Si | 0.06 | >0.8 | 86 | 50 | 1.74 | 1.54 | 77 |
| Д16 | 0.15 | 0.31 | 66 | 55 | 1.69 | 1.62 | 132 |
| АМц | 0.46 | >0.8 | 90 | 90 | 1.97 | 1.95 | 1 |
| А00 (99.7% Al) | 0.04 | 0.65 | 33 | 27 | 1.95 | 1.84 | 0 |
А – исходный сплав; Б – сплав после обработки водяным паром. Сравнивать между собой показатели горячеломкости разных сплавов нельзя, так как они определялись при использовании стержней разного диаметра
Если жегорячеломкость снижается очень слабо или остаётся неизменной, то линейная усадка также уменьшается незначительно или практически не меняется. Уменьшение линейной усадки при обработке расплава водяным паром (таблица 1) само по себе невелико (максимум 0.2%), но оно соизмеримо как с величиной линейной усадки в интервале кристаллизации, так и с величиной относительного удлинения в интервале хрупкости выше солидуса. Вместе с тем ни разу не наблюдалось, что повышенное газосодержание расплава снижало пластичность сплава в твёрдо-жидком состоянии. Наоборот, при введении водорода в сплав В95 путём погружения в ванну промышленной печи влажного асбеста наблюдалось увеличение относительного удлинения в интервале хрупкости, так как при указанной обработке расплава зерно измельчалось.
Таким образом, причиной снижения горячеломкости при повышении газосодержания расплава является увеличение запаса пластичности в твёрдо-
жидком состоянии в результате уменьшения линейной усадки в интервале кристаллизации.
Неодинаковое влияние обработки паром на горячеломкость разных сплавов объясняется разной протяжённостью переходной области в отливках. Из кольцевых отливок алюминия и сплава АМц газ сравнительно
свободно удалялся при кристаллизации, поэтому повышение газосодержания практически не изменило ни линейной усадки, ни горячеломкости. Сплавы
В95, Al с 4.5% Cu и Al с 0.8% Si характеризуются широкой областью затруднённого выделения газа в отливках, поэтому обработка их расплавов
водяным паром значительно снизила линейную усадку в интервале кристаллизации и горячеломкость. Сплав Д16 при одинаковых условиях обработки паром поглощал значительно меньше водорода, чем другие сплавы (таблица 1); этим объясняется слабое уменьшение его горячеломкости, несмотря на сравнительно широкую переходную область в отливке.
Повышение газосодержания расплава не обязательно сопровождается снижением горячеломкости, так как могут действовать другие факторы. Например, газосодержание обычно возрастает с увеличением перегрева расплава, а горячеломкость при этом не снижается, а наоборот, растёт. Последнее обусловлено тем, что отрицательное воздействие укрупнения зерна перекрывает положительное влияние роста газосодержания на горячеломкость. Аналогичное явление можно встретить и при увеличении продолжительности выстаивания расплава. Интересно, что на отливках из некоторых сплавов наблюдается исчезновение трещин при большом перегреве расплава. Например, на кольцевых пробах из бронзы с 3% Sn при достижении температуры расплава 1280 ° кристаллизационные трещины полностью исчезали, но появлялись газовые раковины. Как видно, сильное газопоглощение перекрыло здесь влияние укрупнение зерна на горячеломкость. Встречаются случаи, когда плотные оливки из разных сплавов бывают сплошь поражены трещинами, а пористые отливки из тех же сплавов получаются без трещин.
Если введение газа в расплав уменьшает горячеломкость, то естественно было ожидать усиления горячеломкости при дегазации расплава. Дегазацию производили методом вакуумирования. Мерную порцию расплава отбирали из лабораторного миксера и переливали в графитовый тигель вакуумной печи. Дегазация производилась в течение 2.5-5 минут при разрежении 0.4-0.6 мм рт. ст. и при температуре, на 100 ° превышающей точку ликвидуса. Наблюдавшееся в смотровое стекло вспучивание зеркала расплава под действием интенсивно выделяющихся газов указывало на то, что дегазация действительно происходила.
Парные кольцевые пробы поочерёдно отливались из исходного и вакуумированного расплавов (по семь-восемь пар колец из каждого сплава).
Средние показатели горячеломкости приведены в таблице 2. Опыты полностью подтвердили предположение об усилении горячеломкости под действием вакуумной дегазации.
Таблица 2. Горячеломкость и линейная усадка алюминиевых сплавов до и после вакуумирования сплава
Сплав |
Горячеломкость, % | Полная линейная усадка, % | ||
| Исходный сплав | Вакуумированный сплав | Исходный сплав | Вакуумированный сплав | |
| В95 | 60 | 74 | 1.61 | 1.73 |
| Д16 | 44 | 86 | - | - |
| Alc 0.7% Si | 16 | 47 | 1.81 | 1.88 |
| Al c 3.5% Cu | 58 | 100 | - | - |
Одновременно с горячеломкость измеряли линейную усадку. Если при введении газа в расплав линейная усадка снижалась, то после вакуумной дегазации свежерасплавленного она возрастала, что и является причиной уменьшения запаса пластичности в твёрдо-жидком состоянии и роста горячеломкости.
1.1.3. Влияние состава сплавов на горячеломкость
Исследование зависимости горячеломкости от состава в количественной форме впервые было выполнено Вэрэ на примере системы Al – Si. По его данным, при добавлении кремния к алюминию горячеломкость возрастала, достигала максимума при содержании 1.6% Si и при переходе через эту концентрацию скачком падала до нуля. Хотя наличие такого скачка в дальнейшем не было подтверждено, но работа Вэрэ сыграла важную роль: в ней впервые по экспериментальным данным был построен график «горячеломкость – состав», показавший, что при увеличении концентрации второго компонента горячеломкость проходит через максимум и практически исчезает при достижении некоторого критического количества эвтектики. Такая закономерность в качественном виде была подмечена ещё в более ранних работах. По данным Шейера, в системах Al – Cu и Al – Zn наиболее сильно были поражены трещинами кокильные образцы сплавов, содержащих около 1% второго компонента, с увеличением концентрации которого склонность к образованию трещин явно уменьшалась, а при содержании меди свыше 8% и цинка выше 50% трещины совсем не появлялись.
Рассмотрим более детально влияние состава на горячеломкость сплавов
эвтектической системы, проводя сопоставление экспериментальных данных с диаграммой состояния. Так как при литье и сварке всегда развивается дендритная ликвация, то вполне естественно, что неравновесность кристаллизации учитывалась начиная с самых ранних работ, анализировавших зависимость горячеломкости от состава.
От равновесной диаграммы состояния так называемая неравновесная диаграмма отличается сдвинутой в сторону компонента концентрационной границей появления эвтектики и, соответственно, сдвинутой линией солидуса, а также пониженной температурой эвтектической кристаллизации. Переохлаждение эвтектики сравнительно невелико и обычно намного меньше эффективного интервала кристаллизации. Поэтому для анализа горячеломкости оно существенного значения, как правило, не имеет, и далее учитываться не будет. Сдвиг же границы появления эвтектики от точки предельной растворимости в сторону ординаты компонента оказывает решающее влияние на состав сплава с максимальной горячеломкостью и его всегда приходится учитывать. В системах на основе алюминия и магния уже при медленном охлаждении сплавов с печью наблюдается сильный сдвиг границы появления эвтектики от точки предельной растворимости, а при охлаждении образцов в интервале кристаллизации со средней скоростью порядка 100 град/мин эвтектика в большинстве систем появляется при содержании лишь десятых долей процента второго компонента.
Эффективный интервал кристаллизации при добавлении к чистому металлу второго компонента возрастает, достигает максимума на концентрационной границе появления эвтектики и затем постепенно уменьшается до нуля в точке совпадения температуры начала линейной усадки с эвтектической горизонталью. Горячеломкость тем больше, чем больше эффективный интервал кристаллизации, и поэтому состав сплава должен совпадать с границей появления эвтектики. Это положение сыграло важную роль в изучении зависимости горячеломкости от состава, так как оно позволило связать сопротивляемость сплавов образованию трещин с диаграммой состояния и, в первом приближении, предсказать область составов наиболее горячеломких сплавов. Но уже в работе А.А. Бочвара и З.И. Свидерской отмечалось, что в системе Al – Cu сплав с максимальной горячеломкостью содержал, по данным микроскопического анализа, небольшое количество эвтектики. Дальнейшее накопление экспериментальных данных показало, что во многих системах максимум на кривой «горячеломкость – состав» несколько сдвинут, по сравнению с
границей появления эвтектики, в сторону большей концентрации легирующего элемента.
Причину несовпадения максимумов горячеломкости и эффективного интервала кристаллизации можно понять, если учесть влияние на горячеломкость пластичности и линейной усадки и зависимости этих свойств от состава сплава. Рассмотрим в качестве примера систему Al – Cu. Горячеломкость и концентрационную границу появления эвтектики определяли на одних и тех же образцах – кольцевых пробах при средней скорости охлаждения в интервале кристаллизации 350 град/мин. Если использовать алюминий чистотой 99.96%, то сплав с максимальной
горячеломкостью содержит 0.7% Cu, а граница появления эвтектической составляющей проходит при 0.2% Cu. У малолегированных сплавов Al – Cu в нижней части интервала кристаллизации остаётся очень немного жидкой фазы в виде изолированных включений, не вызывающих межкристаллитного разрушения. Поэтому у этих сплавов нижняя граница температурного интервала хрупкости находится значительно выше неравновесного солидуса (эвтектической температуры), а сам интервал хрупкости значительно уже эффективного интервала кристаллизации. С увеличением содержания меди интервал хрупкости расширяется. Вместе с тем, у сплавов, содержащих до 1% Cu, относительное удлинение внутри интервала хрупкости находится на очень низком уровне и практически не зависит от состава. Так как повышение содержания меди до 0.7 – 1% не изменяет относительного удлинения в интервале хрупкости, но расширяет его и увеличивает в нём линейную усадку, то запас пластичности в твёрдо-жидком состоянии снижается. При увеличении содержания меди свыше 1% интервал хрупкости ещё продолжает расширяться, но при этом, благодаря увеличению количества жидкой фазы по границам зёрен, значительно возрастает относительное удлинение, им запас пластичности повышается.
Таким образом, объяснение несовпадения максимумов горячеломкости и эффективного интервала кристаллизации сводится к следующему. У сплава алюминия с 0.2% Cu, расположенного на концентрационной границе появления эвтектики, эффективный интервал кристаллизации максимален, но температурный интервал хрупкости меньше, чем у несколько более легированных сплавов. Поэтому при практически одинаковом удлинении в интервале хрупкости наименьшим запасом пластичности в твёрдо-жидком состоянии, т.е. максимальной горячеломкостью, обладает сплав алюминия с 0.7% Cu, содержащий больше второго компонента, чем сплав с максимальным эффективным интервалом. Это положение справедливо для большинства систем эвтектического типа (рисунок 3). Например, в системе Al – Zn максимум горячеломкости приходится на 6% Zn, а максимум эффективного интервала кристаллизации – на 3% Zn (граница появления эвтектики определена на шлифах из кольцевых проб).
Точно определить состав наиболее горячеломкого сплава можно только прямыми опытами. Но в практическом отношении немаловажно, что по микроструктуре можноориентировочно оценить сравнительно узкую область составов, где следует ожидать появления максимума горячеломкости. Это – область сплавов с концентрацией легирующих элементов несколько большей, чем на границе появления эвтектики в данных неравновесных условиях кристаллизации, область, где сплавы содержат не более десятых долей процента неравновесной эвтектики.
Рис.3 Несовпадение максимумов эффективного интервала кристаллизации и горячеломкости в системе эвтектического типа
Рассмотрим, в каком интервале концентраций вообще появляется горячеломкость.
Сплавы, находящиеся в области составов от «критической» точки до эвтектической, казалось бы, вообще не должны быть горячеломкими, так как эффективный интервал у них равен нулю, а кристаллизация эвтектики, протекающая при постоянной температуре, сама по себе не должна вызывать образования усадочных трещин. В действительности же на сложных фасонных отливках можно встретить кристаллизационные трещины и в этой группе сплавов. Из-за градиента температур усадка одних частей отливки, успевших полностью затвердеть, вызывает растяжение соседних более горячих участков, находящихся ещё в стадии кристаллизации эвтектики. Растяжение участков, где имеется остаточная жидкая фаза, может привести к образованию кристаллизационных трещин. Таким образом, сплавы с нулевым эффективным интервалом кристаллизации могут проявлять горячеломкость, т.е. не существует абсолютно негорячеломких сплавов.
Состав сплава с максимальной горячеломкостью в каждой системе весьма постоянен: он практически не зависит от степени перегрева расплава, скорости охлаждения и геометрии отливки. С повышением температуры кокиля наблюдается лишь незначительная тенденция к смещению максимума горячеломкости в сторону менее легированных сплавов. Минимальная концентрация второго компонента, при которой экспериментально фиксируемая горячеломкость исчезает, наоборот, зависит от условий литья. Интервал концентраций, в котором обнаруживается горячеломкость, расширяется с увеличением степени перегрева расплава, увеличением скорости охлаждения и увеличением диаметра кольцевой пробы. Последние два фактора делают пробу более жёсткой, так как увеличивают градиент температур и усиливают локализацию усадочных деформаций, и поэтому способствуют выявлению горячеломкости до больших концентраций легирующего элемента. Увеличение перегрева расплава действует в том же направлении, так как расширяет область составов сплавов, в которых образуются столбчатые кристаллы.
Объясняя причину снижения горячеломкости при увеличении количества эвтектики в сплаве, на первое место часто ставят способность эвтектической жидкости залечивать образующиеся трещины. С этим нельзя согласиться, так как эвтектика не обладает какой-то особой, резко отличной от неэвтектической жидкости способностью заполнять возникающие трещины. Снижение горячеломкости при увеличении количества эвтектики в сплаве происходит благодаря росту запаса пластичности в твёрдо-жидком состоянии, а последний увеличивается как в результате повышения удлинения в интервале хрупкости, так и уменьшения линейной усадки. Главной причиной этого является увеличение количества жидкой фазы, кристаллизующейся в последнюю очередь при постоянной температуре. Такой фазой может быть не только эвтектика, но и жидкость перитектического состава и фаза, кристаллизующаяся в точке минимума на диаграмме плавкости непрерывного ряда твёрдых растворов. Другой фактор, благоприятно сказывающийся на пластичности и линейной усадке в твёрдо-жидком состоянии – измельчение зерна, в особенности сужение зоны столбчатых кристаллов, происходящее при увеличении количества эвтектики в сплаве.
1.1.4. Влияние зональной ликвации на горячеломкость
При изучении системы Al – Cu было обнаружено, что кроме обычного максимума горячеломкости при 0.7% Cu, расположенного вблизи концентрационной границы появления эвтектики, существует ещё один максимум при 4% Cu. Микроструктурный анализ показал, что и в разрывных образцах и в кольцевых пробах сердцевина сильно обеднена медью, а поверхностные слои обогащены ею по сравнению с нормальной структурой сплава с 4% Cu. В других алюминиевомедных сплавах обратная ликвация не была выявлена. Появление второго максимума горячеломкости объяснили развитием обратной ликвации.
Зональная ликвация наиболее развивается в сплавах, значительно более легированных, чем сплав с максимальным эффективным интервалом кристаллизации. В отсутствии её такие сплавы должны обладать сравнительно небольшой горячеломкостью. Зональная ликвация приводит к образованию в отливке участков, обеднённых легирующим элементом до концентраций, соответствующих составам сплавов с высокой горячеломкостью. Неоднородность микроструктуры отливки обуславливает также большой разброс значений горячеломкости в разных опытах.
1.1.5. Влияние примесей на горячеломкость
Примеси оказывают разнообразное и часто очень сильное действие на горячеломкость. Роль примесей неоднократно обсуждалась применительно к самым разным сплавам. Ниже на нескольких примерах кратко рассмотрены основные случаи влияния примесей на горячеломкость в связи с изменением свойств сплавов в твёрдо-жидком состоянии.
Примеси воздействуют на горячеломкость главным образом через изменение пластичности. Они могут расширить и сузить интервал хрупкости, увеличить и уменьшить относительное удлинение в нём. На развитии линейной усадки в интервале кристаллизации примеси обычно не сказываются.
Рассматривая действие вредных примесей, расширяющих интервал кристаллизации, необходимо иметь в виду, что уменьшение горячеломкости происходит не только при снижении, но и при повышении их концентрации в сплаве. Одни и те же примеси, в зависимости от того, в каком металле или сплаве они находятся, могут как усиливать, так и снижать горячеломкость. Продемонстрируем это на примере двойной системы Al – Cu. Алюминий марки AВ00 (99.96% Al) практически не склонен к образованию кристаллизационных трещин, а алюминий марки A00 (99.7% Al) весьма горячеломок. Обусловлено это тем, что при кристаллизации алюминия чистоты 99.7% по границам зёрен образуется тонкий слой жидкой фазы, обогащённой кремнием и железом. Этот слой создаёт интервал хрупкости в твёрдо-жидком состоянии величиной около 14°, в котором и возникают кристаллизационные трещины. Противоположно ведут себя сплавы системы
Al – Cu. Сплавы, приготовленные на более грязном алюминии, менее горячеломки. У них толще прослойки жидкой фазы в интервале хрупкости и поэтому несколько выше относительное удлинение по сравнению со сплавами, приготовленными на чистом алюминии.
У сплавов, приготовленных на алюминии чистоты 99.96%, максимум горячеломкости наблюдается при содержании меди 0.7%, а если использовать алюминий чистоты 99.7% - при содержании 0.3% Cu. Как видно, в последнем случае требуется меньше легирующего элемента, чтобы достигнуть критического количества легкоплавкой составляющей (максимума горячеломкости), так как исходный металл уже содержит некоторое его количество.
Аналогично сказывается чистота алюминия на горячеломкости сплава АЛ19. При использовании алюминия марки АВ000 (99.99% Al) показатель горячеломкости этого сплава по кольцевой пробе при диаметре стержня 48 мм составляет 95%, а при работе на алюминии марки А00 (99.7% Al) – 70%. Соответственно, в первом случае средняя ширина жидких межзёренных прослоек при 590° равна 3.4 мкм, а во втором – 4.9 мкм (оба значения получались заниженными, так как измерения проводили на закалённых шлифах ).
Одни примеси в сплаве могут усиливать, а другие в том же сплаве уменьшать горячеломкость, так как они по-разному влияют на солидус, количество и форму распределения легкоплавкой составляющей. Примеси, входящие в твёрдый раствор, мало ликвирующие к границам зёрен и незначительно расширяющие интервал кристаллизации, на горячеломкости практически не сказываются. Изменение температуры солидуса сплава и количества легкоплавкой составляющей, рассмотренное выше на нескольких примерах, - это главное направление влияния примесей на горячеломкость. Но могут быть встречаться и другие случаи, из которых наиболее важно изменение формы и размера зерен и формы выделений интерметаллидов. Так, повышение содержания примеси алюминия в бронзе Бр. ОЦСН3-7-5-1 с 0.01 до 0.1% увеличило показатель горячеломкости по кольцевой пробе с 65 до 100%, так как оно способствовало образованию столбчатой структуры. Очень интересно действие изменения примеси железа в сплаве АМц. При добавлении 0.2% Fe в сплав алюминия с 1.5% Mn включения Al6 Mn измельчаются, нижняя граница интервала хрупкости поднимается до температуры солидуса, сам интервал хрупкости сужается с 20 до 6°, в результате чего показатель горячеломкости по кольцевой пробе при диаметре стержня 30 мм снижается со 100 до 40%.
1.2. ПУТИ СНИЖЕНИЯ ГОРЯЧЕЛОМКОСТИ СПЛАВОВ
Громадный производственный опыт и проводившихся во многих странах лабораторные исследования влияния химического состава и других факторов на склонность сплавов к образованию горячих трещин позволили в последние два десятилетия выявить основные направления снижения горячеломкости. Ниже на основе этого накопленного опыта с учётом данных о природе горячих трещин и закономерностей влияния состава и структуры на пластичность и линейную усадку в твёрдо-жидком состоянии кратко рассматривают пути снижения горячеломкости сплавов (но не отливок, так как в последнем случае пришлось бы рассматривать разнообразные мероприятия по устранению трещин в изделиях, носящие чисто технологический характер).
Горячеломкость сплава зависит от пластичности и линейной усадки его в твёрдо-жидком состоянии и от способности расплава залечивать возникающие трещины. Снижать горячеломкость сплава можно через повышение его пластичности в твёрдо-жидком состоянии, уменьшение линейной усадки кристаллизации и через усиление залечивания трещин расплавом. Из этих трёх факторов пластичность наиболее сильно реагирует на изменения состава и структуры сплава, а способность расплава залечивать трещины – наиболее слабо. Поэтому самые действенные металлургические способы снижения горячеломкости основаны на повышении пластичности сплава в твёрдо-жидком состоянии и частично на снижении линейной усадки в интервале кристаллизации.
Повысить пластичность и снизить линейную усадку в интервале кристаллизации путём изменения состава и структуры сплава – это значит:
1. Сузить температурный интервал хрупкости за счёт повышения его нижней границы и (или) снижения верхней границы.
2. Поднять уровень относительного удлинения во всём интервале хрупкости, в том числе и уровень минимального удлинения.
3. Сузить эффективный интервал кристаллизации за счёт снижения температуры начала линейной усадки и (или) повышения точки солидуса.
4. Уменьшить темп нарастания линейной усадки при понижении температуры в эффективном интервале кристаллизации.
Можно выделить четыре пути снижения горячеломкости сплавов.
1.2.1. Первый путь снижения горячеломкости – выбор оптимального состава по основным компонентам при разработке новых и улучшении существующих сплавов. Выбирая легирующие элементы и устанавливая их концентрации, желательно обеспечить малый темп кристаллизации в верхней части интервала «ликвидус – солидус» и большой темп в нижней части этого интервала, чтобы получить возможно большее количество жидкой фазы к концу кристаллизации. Этим достигается, во-первых, снижение температурной границы между жидко-твёрдым и твёрдо-жидким состояниями, а параллельно с ней обычно опускается и верхняя граница интервала хрупкости. Во-вторых, увеличение относительного количества жидкой фазы к концу кристаллизации способствует развитию здесь межзёренной деформации при затрудненной усадке и, следовательно, повышает удлинение в интервале хрупкости. Наиболее простой способ достижения этой цели состоит в увеличении количества составляющей кристаллизующейся в последнюю очередь при постоянной температуре. Такой составляющей является эвтектика, перитектическая составляющая, твёрдый раствор, кристаллизующийся в точке минимума на диаграмме состояния, и чистый металл. Снижение горячеломкости путём увеличения количества эвтектики широко используется при разработке алюминиевых и магниевых сплавов. Увеличение количества перитектической составляющей можно использовать для снижения горячеломкости многих медных сплавов. В системах с непрерывным рядом твёрдых растворов из-за дендритной ликвации кристаллизация часто заканчивается в точке минимума на кривой ликвидуса или в точке плавления более легкоплавкого компонента. Изменение состава сплава в сторону этих точек должно увеличить количество жидкой фазы вблизи солидуса и снизить горячеломкость. Этот способ снижения горячеломкости может быть использован при разработке сплавов, относящихся к системам с непрерывным рядом твёрдых растворов, например сплавов на основе Ni, Nb, Pt и др.
На пластичности многокомпонентных сплавов в твёрдо-жидком состоянии сказывается не только составляющая, кристаллизующаяся в последнюю очередь при постоянной температуре (например, тройная эвтектика), но и составляющая, образующаяся внутри интервала кристаллизации (например, двойная эвтектика). Суммарное количество двойной и тройной эвтектик желательно выбирать таким, чтобы температура перехода из жидко-твёрдого в твёрдо-жидкое состояние находилась не в области первичной кристаллизации, а в интервале выделения двойной эвтектики. Тогда сплав будет иметь сравнительно небольшой температурный интервал хрупкости и высокое удлинение в нём.
Рассмотренным выше способом снижения горячеломкости, к сожалению, далеко не всегда удаётся воспользоваться, так как он может ухудшить эксплуатационные свойства. Напомним, что составы высокопрочных и жаропрочных сплавов часто находятся в области, где горячеломкость очень высока, а допускаемое количество эвтектической или перитектической составляющей в деформируемых и многих литейных сплавах строго ограничено.
Другой способ снижения горячеломкости состоит в том, чтобы при разработке сплава попытаться изначально поднять его солидус, не повышая ликвидуса и температуры начала линейной усадки. Для этого совсем необязательно сильно изменять химический состав. Например, в тройной системе (рисунок 4) с соединением Am Bn , образующимся по перитектической реакции, кристаллизация всех сплавов треугольника Am Bn – B – C заканчивается в эвтектической точке Е, а сплавов треугольника A – Am Bn – C
– в перитектической точке Р. Температура плавления тройной эвтектики может находиться значительно ниже температуры четырёхфазного перитектического равновесия. При очень небольшом увеличении концентрации компонента А в сплавах, находящихся вблизи линии Am Bn – С,
они из треугольника Am Bn – B – C попадают в треугольник A – Am Bn – C (например, сплав меняет свой состав от точки 1 до точки 2). При этом тройная эвтектика исчезает, и солидус сплава сильно повышается, а температура ликвидуса и температура начала линейной усадки практически не изменяются; в результате сильно сужаются эффективный интервал кристаллизации и интервал хрупкости.
Могут использоваться и другие варианты значительного сужения интервала хрупкости при сравнительно небольшом изменении состава. Например, легирование сплава магния с 4.5% Zn добавкой 0.8% Zr повышает солидус с 344 до 550°. Одновременно верхняя граница интервала хрупкости снижается на 30° благодаря тому, что цирконий сильно измельчает зерно. В результате, небольшая добавка циркония, мало изменяющая микроструктуру, сужает интервал хрупкости в 25 раз.
Ещё одну возможность снижения горячеломкости можно использовать при разработке новых сплавов – введение добавок, которые расширяют приграничную зону твёрдого раствора, обогащённую легирующими элементами. Такие добавки увеличивают толщину жидких прослоек по границам зёрен в интервале хрупкости, повышая относительное удлинение в нём без заметного увеличения количества эвтектики. Именно так действует добавка 0.3% Mn и 0.1% Ti к сплаву алюминия с 7% Cu. Сплав алюминия с 7% Cu, 0.3% Mn и 0.1% Ti имеет условный запас прочности в твёрдо-жидком состоянии ЗП = 0.52%, а у сплава с 7% Cu ЗП = 0.35%. Этот способ снижения горячеломкости весьма перспективен, так как он не связан со значительным увеличением количества эвтектической или перитектической составляющей. Но, к сожалению, пока трудно предсказывать, какие элементы и в каком количестве необходимо вводить, чтобы расширить приграничную ликвационную зону в первичных кристаллах твёрдого раствора.
Все рассмотренные выше способы снижения горячеломкости основаны на сужении эффективного интервала кристаллизации и интервала хрупкости и повышении относительного удлинения в интервале хрупкости. Рассчитывать на снижение горячеломкости за счёт уменьшения термического коэффициента линейного сжатия не приходится, так как последний, как
Рис. 4 Тройная система с двойным соединением, образующимся по перитектической реакции.
правило, можно значительно уменьшить, лишь очень сильно изменив состав сплава.
1.2.2. Второй способ снижения горячеломкости – регулирование содержания основных компонентов в пределах допусков ГОСТа или технических условий. Здесь применимы те же приёмы, что и при разработке нового сплава, но рамки изменения химического состава строго ограничены. Однако и в тесных границах ГОСТа, регулируя содержание основных компонентов, можно значительно увеличить количество жидкой фазы и нижней части эффективного интервала кристаллизации, существенно снизить температуру начала линейной усадки или же поднять температуру солидуса.
Для каждого стандартного сплава, если при литье его наблюдается чистый брак по кристаллизационным трещинам, необходимо установить оптимальный в пределах допусков по ГОСТу состав, соответствующий минимуму горячеломкости. Этот путь снижения горячеломкости ещё недостаточно широко используется, и здесь имеются скрытые резервы уменьшения брака по усадочным трещинам в производстве слитков и фасонных отливок.
1.2.3. Третий путь снижения горячеломкости – регулирование содержания примесей в сплаве. Изменение содержания примесей может сильно повлиять на нижнюю границу интервала хрупкости и величину относительного удлинения в нём, практически не сказываясь на верхней границе интервала хрупкости и температуре начала линейной усадки.
Наиболее вредны легкоплавкие примеси, образующие по границам зёрен плёнки большой протяжённости, так как они резко расширяют температурный интервал хрупкости. Давно известен способ снижения горячеломкости удалением легкоплавких примесей из сплава. Если полностью избавиться от такой примеси не удаётся, то можно снизить содержание её до такого уровня, чтобы она находилась в виде изолированных включений, а не в виде плёнок. В последнем случае, хотя точка начала плавления сплава не повышается, нижняя граница интервала хрупкости может значительно подняться над солидусом. Когда и это осуществить не удаётся, можно прибегнуть к искусственному увеличению легкоплавкой примеси в сплаве. Этот способ снижения горячеломкости основан на том, что утолщение легкоплавких плёнок облегчает межзёренную деформацию и повышает относительное удлинение в нижней части интервала хрупкости.
Ослабление вредного влияния легкоплавкой примеси путём повышения её концентрации в сплаве – интересный способ. Но он сравнительно редко может быть использован из-за вредного действия этой примеси на эксплуатационные свойства сплава.
1.2.4. Четвёртый путь снижения горячеломкости – введение в сплав малых технологических добавок. Под технологическими добавками понимают такие малые добавки, основной целью введения которых является снижение горячеломкости. Технологические добавки могут резко повысить нижнюю границу интервала хрупкости, значительно опустить верхнюю его границу и температуру начала линейной усадки, а также повысить относительное удлинение в интервале хрупкости.
С давних пор для снижения горячеломкости используется способ введения добавок, связывающих вредные примеси в более тугоплавкие соединения (например, введение магния для обезвреживания серы в никеле). При этом нижняя граница интервала хрупкости резко повышается, верхняя практически не изменяется и интервал хрупкости сильно сужается.
Другой хорошо известный способ снижения горячеломкости технологическими добавками состоит во введении модификаторов зерна. Измельчение зерна и особенно устранение столбчатой структуры снижают температуру начала линейной усадки и верхнюю границу интервала хрупкости и повышают относительное удлинение во всём интервале. Именно так действует небольшая добавка титана ко многим алюминиевым сплавам.
Модификаторы микроструктуры почти совсем не используются как технологические добавки, специально предназначенные для снижения горячеломкости. Вместе с тем этот способ борьбы с кристаллизационными трещинами представляют практическую ценность. Например, введение 0.1% Zr в алюминиево-магниевый сплав поднимает нижнюю границу интервала хрупкости и сужает этот интервал благодаря тому, что включения эвтектической жидкости получаются более дисперсными.
Одним из очень интересных способов снижения горячеломкости высокопрочных сплавов-растворов является введение таких технологических добавок, которые образуют по границам зёрен протяжённые прослойки неравновесной эвтектической или перитектической составляющей, причём при нагреве сплава под закалку или специальную гомогенизацию эта составляющая рассасывается. Последнее условие является важнейшим, так как в противном случае ухудшаются эксплуатационные свойства. Следовательно, почти всё количество эвтектики, образующееся при введении технологической добавки, должно быть неравновесным. Например, добавка 0.5% Ce к жаропрочному сплаву АЛ19 уменьшает показатель горячеломкости по кольцевой пробе с 75 до 10 % (диаметр стержня – 44 мм), не ухудшив механических свойств при 300° (неравновесная эвтектика в сплаве АЛ19 с добавкой церия в значительной мере рассосалась при ступенчатом нагреве под закалку до 525° в течение 9 часов и до 535° в течение 12 часов). Это малоизученное направление снижения горячеломкости высокопрочных сплавов может оказаться весьма перспективным.
Ещё одна возможность снизить горячеломкость введением технологических добавок состоит в утолщении жидких прослоек, а значит, и в повышении относительного удлинения внутри интервала хрупкости, не за счёт увеличения количества эвтектики, а в результате расширения приграничных ликвационных зон твёрдого раствора. В этом направлении пока ничего не сделано, хотя оно также может оказаться перспективным.
Путь использования малых технологических добавок является одним из наиболее важных, так как он в принципе позволяет сильно снизить горячеломкость, не ухудшая эксплуатационных свойств сплава.
Повышение газосодержания расплава может привести к снижения температуры начала линейной усадки, уменьшению темпа её нарастания при падении температуры в эффективном интервале кристаллизации и тем самым снизить горячеломкость. Было предложено вводить в алюминиевый расплав водород в таких количествах, чтобы заметно снизилась горячеломкость, а пористость увеличивалась бы незначительно. Хотя этот способ и был опробован в заводских условиях с положительным результатом, но вряд ли он может найти сколько-нибудь заметное промышленное применение, так как обычно стремятся полнее дегазировать расплав для повышения герметичности и механических свойств. Однако полезное действие газа на горячеломкость необходимо иметь в виду и, если изделие трудно получить без кристаллизационных трещин, то не следует производить полной дегазации, оставив в расплаве попавший в него естественным путём газ (при условии получения необходимых эксплуатационных свойств).
1.3. ЛИТЕЙНЫЕ ПРОБЫ НА ГОРЯЧЕЛОМКОСТЬ
Для оценки горячеломкости сплавов не разработано общепризнанных проб. Иногда «новые» пробы полностью или почти полностью повторяют те, которые были предложены значительно раньше.
Литейные пробы на горячеломкость трудно разделять на классы, потому что их очень много. Однако среди всех существующих проб можно выделить три основные группы в соответствии с тем, что принимается за показатель горячеломкости или противоположную ей характеристику – сопротивляемость образованию трещин.
1.3.1. В первой группе проб показателем горячеломкости является размер трещин при неизменной геометрии отливки. Так как жёсткость пробы постоянна, то размеры трещин могут характеризовать горячеломкость сплава.
Была разработана чрезвычайно простая кольцевая проба, которая в разных модификациях быстро завоевала популярность при исследовании цветных сплавов. Сплав заливается без специальной литниковой системы прямо в открытую полость формы – простейший кокиль со стальным стержнем. На поверхности кольцевой отливки измеряется суммарная длина трещин, являющаяся показателем горячеломкости. Впоследствии эта проба была ещё более упрощена тем, что стали измерять не суммарную длину трещин, а относительную длину основной трещины.
Как показали подробные исследования двойных и тройных систем на основе алюминия, проведённые в конце 40-х годов в Бирмингемском университете, кольцевая проба обладает довольно высокой чувствительностью к небольшим изменениям состава и хорошей воспроизводимостью результатов опытов. Кольцевая проба чрезвычайно проста, производительна, требует сравнительно небольшого расхода металла и позволяет в лабораторных условиях быстро наладить массовые исследования. На рисунке 5 показан кокиль для отливки кольцевой пробы. Для каждой серии сравниваемых сплавов диаметр стального стержня целесообразно подбирать в предварительных опытах так, чтобы наиболее горячеломкий сплав данной серии давал возможно более длинную трещину (но не длиннее, чем периметр радиального сечения кольца), а наименее горячеломкий сплав давал возможно более короткую трещину.
В пределах одной серии сравниваемых сплавов диаметр стального стержня кокиля должен быть постоянным (так же, как внешний диаметр и высота кольца). Тогда проба для всех сплавов этой серии обладает постоянной жёсткостью ( постоянной степенью локализации усадочных деформаций), и сплавы можно сравнивать по длине трещин на поверхности кольца. Необходимо подчеркнуть, что нельзя сравнивать по длине трещин сплавы из разных серий опытов, не учитывая диаметр стержня кокиля, так как при

Рис. 5 Кокиль для кольцевой пробы на горячеломкость
1 – съёмный стакан; 2 – стержень
разных диаметрах стержня кольцевые пробы обладают разной жёсткостью. Чем больше диаметр стержня, тем больше жёсткость пробы. Именно поэтому, приводя сведения о горячеломкости, необходимо указывать диаметр стального стержня, использованного при отливке кольцевой пробы. В большинстве случаев достаточно шести повторных опытов (заливок), чтобы надёжно определить показатель горячеломкости (суммарную длину всех трещин или относительную длину основной трещины). Длину трещины, которая бывает весьма извилиста, удобно измерять с помощью простого приспособления: укреплённое на конце рукоятки зубчатое колесо катится вдоль трещины и подсчитывает число полных его оборотов, а при неполном обороте – число зубьев, коснувшихся поверхности кольца.
Кристаллизационная трещина в принципе может развиваться в длину как в интервале кристаллизации, так и при температуре ниже солидуса. Поэтому естественен вопрос, какова уверенность в том, что на кольцевой пробе измеряется длина трещин чисто кристаллизационного происхождения. Фрактологический анализ многочисленных кольцевых проб из самых разнообразных цветных сплавов наглядно показал, что в подавляющем большинстве случаев на всей своей длине трещины на поверхности кольца имели кристаллизационное происхождение. Кроме того, данные о запасе пластичности в твёрдо-жидком состоянии и результаты измерения длины трещин на кольцевых пробах, как правило, очень хорошо согласуются. Следовательно, за редкими исключениями, (например, сплавы с очень высокой хрупкостью в твёрдом состоянии), на кольцевых пробах измеряется длина именно кристаллизационных трещин. Это не значит, что все получаемые с помощью кольцевой пробы сплавы не склонны к образованию холодных трещин. Рассматриваемая кольцевая проба обладает сравнительно небольшой жёсткостью, и поэтому холодные трещины на ней при изучении цветных сплавов появляются крайне редко. Само образование радиальной кристаллизационной трещины приводит к разрядке усадочных напряжений в кольце и этим уменьшает вероятность образования холодной трещины в нём. В то же время при непрерывном литье, когда в охлаждаемом водой слитке возникают очень большие термические напряжения, в кокильных отливках сложной конфигурации и при сварке, когда наблюдается сильная концентрация усадочных напряжений, типичные холодные трещины могут появиться и у тех сплавов, у которых, согласно кольцевой пробе, проявляется только горячеломкость.
Относительная длина основной трещины на кольцевых пробах изменяется при изменении состава сплава примерно так же, как суммарная длина всех трещин. Одновременно с развитием трещины в длину происходит её раскрытие, увеличение ширины. Длина и средняя ширина изменяются с составом качественно одинаково. Поэтому площадь трещины на поверхности кольца (произведение её длины на среднюю ширину) изменяется с составом качественно так же, как и длина трещины. Но измерение площади трещины существенно повышает трудоёмкость работы с кольцевой пробой. Для большинства исследований вполне достаточна чувствительность кольцевой пробы с измерением длины трещин. На поверхности отливки измеряется длина макротрещины, которая может объединять многочисленные межкристаллитные микротрещины. Чем больше последних, тем длиннее измеряемая трещина. Поэтому длина макротрещины в определённой мере отражает сопротивляемость сплава появлению очагов разрушения. Вполне очевидно, что длина макротрещины отражает также сопротивляемость сплава её развитию. Следовательно, принятая кольцевая проба даёт комплексный показатель горячеломкости, характеризующий как сопротивляемость сплава образованию, так и развитию кристаллизационных трещин. С практической точки зрения эта комплексность весьма ценна, так как для производственника важен не только факт наличия трещин, но и их размеры: короткие и неглубокие трещины можно заварить, и отливка не бракуется. К пробам, в которых показателем горячеломкости служат размеры, иногда относятся как к примитивным и противопоставляют их более сложным и будто бы более научно обоснованным методам оценки горячеломкости, например, по критическому напряжению. В действительности же кольцевая и подобная ей пробы, отличаясь исключительной простотой, не уступают, а часто и превосходят по чувствительности многие более сложные методы оценки горячеломкости, в том числе и метод определения критической нагрузки. Достоверность данных, полученных более сложными методами, часто проверяют по совпадению с результатами определения размеров трещин на более простых кольцевых пробах.
Применение кольцевой пробы позволило многим исследователям накопить обширный экспериментальный материал о зависимости горячеломкости цветных сплавов от состава и структуры, причём полученные данные прекрасно согласуются с производственным опытом, а также с результатами подсчёта условного запаса пластичности в твёрдо-жидком состоянии. Недостатком кольцевой пробы является малая её жёсткость, не позволяющая исследовать литейные сплавы со сравнительно небольшой горячеломкостью, например, большинство силуминов. Недостатком всех проб с постоянной жёсткостью является узость диапазона определяемой горячеломкости. Если проба недостаточно жёсткая, то она не позволяет различить по величине горячеломкости малогорячеломкие сплавы, так как они вообще не дадут трещин. Если же проба слишком жёсткая, то она не позволяет классифицировать сплавы с высокой горячеломкостью, так как в этом случае трещины приводят к полному разрыву по всему сечению отливок. Поэтому при работе, например, с кольцевой пробой необходимо для данной сплавов подбирать диаметр стержня, т.е. ширину кольцевой отливки при постоянном внешнем её диаметре, так, чтобы проба могла «различать» по величине горячеломкости все эти сплавы. Последнее условие вообще невозможно выполнить, если в исследуемую группу входят сплавы с очень высокой и очень низкой горячеломкостью. Тогда приходится сравниваемые сплавы разделять на две подгруппы и применять к ним пробу с повышенной и пониженной жёсткостью.
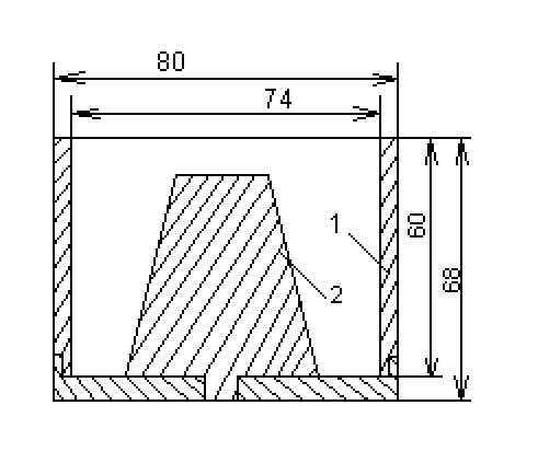
1.3.1.1. Стандартная кольцевая проба на горячеломкость
Стандартная кольцевая проба на горячеломкость (рисунок 6) представляет собой отливку в виде плоских колец, заполняемых от одного литника (1). Кольцо (2) толщиной 5 мм имеет во всех пробах один и тот же внешний диаметр, равный 107 мм. Для изготовления формы использовалась формовочная смесь, состоящая из кварцевого песка с 6% бентонита и 3% воды.
Внутренняя поверхность колец оформляется во всех случаях металлическими стержнями (3). Таким образом, в отливке создаются условия, благоприятные для образования усадочных напряжений вследствие механического торможения линейной усадки со стороны стержня. Кроме того, для образования термических напряжений применяют холодильники (4), которые увеличивают перепад температур в отливке. В результате этого возникающие деформации локализуются в одном месте – месте подвода металла к отливке, где заканчивается процесс кристаллизации. В этом месте и образуется трещина, если вынужденная деформация превысила значение предельной деформационной способности сплава.
Холодильники и стержни изготовлены из стали. Одна из сторон холодильника, которая соприкасается с отливкой, была покрыта слоем кварцевого песка со связующим веществом толщиной 1 мм. Ширина колец в радиальном направлении может изменяться от 5 до 47.5 мм с помощью металлических стержней различных диаметров. Критерием горячеломкости служит максимальная ширина кольца (в мм), при которой появляется трещина. Чем больше эта критическая ширина кольца, тем больше сплав предрасположен к образованию горячих трещин.
1.3.2. Во второй группе проб показатели горячеломкости отражают и размеры трещин, и размеры образца. Одновременный учёт обеих этих характеристик производится для того, чтобы сделать пробы более чувствительными и, вместе с тем, способными охватить более широкий диапазон горячеломкости.
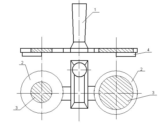
Особый интерес представляет проба Хала. В отличие от всех известных проб, она может быть использована для оценки горячеломкости тугоплавких сплавов на основе титана, циркония, ниобия и т. п. Характерные особенности этой пробы: плавка во взвешенном состоянии малых навесок (2.4 см3 ) и заливка металла в медную форму в атмосфере гелия или аргона (рисунок 7).
В образце, который имеет вид шпильки с головками, из-за усадки металла и расширения медной формы возникают растягивающие деформации. С увеличением внешнего диаметра изложницы, т.е. с увеличением её массы, она меньше нагревается при заливке металла и меньше растягивает образец. Следовательно, жёсткость пробы возрастает с увеличением длины шпильки

Рис.6 Кольцевая проба на горячеломкость.
1 – литник; 2 – кольца переменной ширины; 3 – металлический стержень; 4 - холодильник
А и уменьшением внешнего диаметра формы С. Каждая форма характеризуется условным номером N, соответствующим определённым значениям А и С:
N………………………………. 4 5 6 7 8 9
А, дюйм………………………. 23 /4 29 /16 23 /8 23 /16 2 113 /16
С, дюйм..................................... 3 /4 3 /4 3 /4 3 /4 3 /4 3 /4
N................................................. 10 11 12 13 14 15 16
А, дюйм..................................... 15 /8 15 /8 15 /8 11 /2 13 /8 11 /4 11 /8
С, дюйм...................................... 3 /4 1 11 /4 11 /4 11 /4 11 /4 11 /4
На поверхности образца, Поворачиваемого в специальном держателе, По отсчетному лимбу измеряется угловая величина концентрических трещин (осевой их составляющей пренебрегают). Результаты измерений для каждого сплава представляются в виде графика "относительная длина трещин (%) – номер литейной формы». Чем больше этот номер, тем меньше растягивающие деформации и короче трещины. За показатель горячеломкости выбирается номер формы, при котором относительная длина трещины равна 40%.
Проба Хала (CPT-Test - cast-pinteartest) обладает удовлетворительной чувствительностью и позволяет производить сравнительно быстрые и недорогие испытания тугоплавких сплавов на горячеломкость.
1.3.3. В третьей группе проб показателем сопротивляемости образования трещин является критическая нагрузка на затвердевающий образец. Здесь можно выделить две подгруппы: пробы с заранее приложенной постоянной нагрузкой и пробы, в которых усадка тормозится непрерывно возрастающей нагрузкой (пружиной).
В пробах с постоянной нагрузкой вся она быстро передаётся на образец, когда начинается линейная усадка. В то же время в производственных отливках усадочные напряжения возникают постепенно по мере развития затруднённой усадки. Поэтому вполне логично использование проб, в которых усадка тормозится пружиной и нагрузка непрерывно возрастает от нуля до некоторой критической величины в момент образования трещины. Этот момент отмечается по появлению максимума на кривой «усилие
Рис.7 Медная форма для пробы Хала
сопротивления усадке – время», так как при образовании трещины усилие окончательно (при полном разрыве) или временно падает. В основе этих методов лежит схема опыта Бриггса и Гезелиуса (рисунок 8), измерявших усилие, которое возникало при торможении усадки образца пружиной. Образец в виде стержня заливается в песчаную форму, в полость которой с двух торцов вставлены шпильки. Одна шпилька жёстко укреплена в опоке, а другая соединена с пружиной. Затвердевающий металл «схватывает» шпильки, и образец с одного торца оказывается жёстко связанным с опокой, а с другого – соединённым через шпильку с пружиной, делающей усадку затруднённой.
Нагрузка на образец измеряется по прогибу пружины с помощью механического индикатора, проградуированного в единицах силы.
Результаты исследований с помощью приборов, в которых усадка тормозится пружиной, в сильной степени зависит от жёсткости пружины. Чем жёстче пружина, тем быстрее после окончания заливки образуется трещина и тем меньше в этот момент нагрузка. Следовательно, абсолютное значение критической нагрузки зависит не только от свойств сплава, но и от жёсткости пружины. Особенно важно то, что жёсткость пружины по-разному сказывается на критической нагрузке, определённой на разных сплавах. В результате можно получить разную зависимость сопротивляемости образованию трещин от состава. Так, при увеличении жёсткости пружины, в ряду сплавов Fe – C сталь с 0.2% С из наименее горячеломкой становится наиболее горячеломкой.
Было замечено, что при наличии у сплава предусадочного расширения, в производственных отливках стержень, расширяющийся при заливке металла, оказывает сопротивление усадке как только она начинается, а в установке с пружиной нагрузка прикладывается к образцу с опозданием. Обусловлено последнее тем, что в период предусадочного расширения пружина из положения oa изгибается в положение oc , а после начала усадки, когда она возвращается в исходное положение, образец не нагружен (рисунок 3). Образец нагружается только после того, как пружина проходит через исходное положение oa и отклоняется в положение ob . Из-за холостого хода пружины критическая нагрузка зависит от величины предусадочного расширения, и результаты испытаний иногда расходятся с производственным
опытом и оценкой горячеломкости по пробам, относящимся к первым двум группам.
Одним из показателей горячеломкости является относительное количество треснувших отливок. Такой способ неудобен в лабораторных условиях, так как достоверные данные можно получить лишь при большом количестве повторных заливок. В то же время в заводских условиях, когда под контроль попадают сотни производственных отливок, статистический метод оценки горячеломкости по относительному числу треснувших отливок даёт очень хорошие результаты.

Рис.8 Схема опыта с торможением усадки пружиной
Была также сделана попытка оценить горячеломкость по величине минимальной твёрдости стержневой смеси, начиная с которой в кольцевой отливке появляются трещины. Эта методика не нашла применения, так как оказалась малочувствительной и неудобной в исполнении.
Вот ещё один пример измерения горячеломкости. Образцы в виде брусов отливались в песчаную форму, в полости которой с торцов были вставлены шпильки. С одного торца шпилька, «схватываемая» затвердевающим металлом, жёстко соединяла каждый образец с опокой, а с другого торца шпилька свободно проходила через отверстие в опоке. На конце этой шпильки с внешней стороны опоки была насажена гайка, и зазор между ней и опокой позволял проходить свободной усадке образца. Величина этого зазора, а следовательно, и степень затруднения усадки устанавливались заранее и были различными для разных образцов. Горячеломкость оценивалась по критической величине зазора, соответствующей появлению трещин. Рассмотренная проба оказалась малочувствительной и в дальнейшем не нашла применения.
Ни одна из существующих проб не может быть признана универсальной и пригодной для решения любых задач, связанных с изучением горячеломкости при литье. Такой универсальной пробы, по всей видимости, вообще невозможно разработать, хотя бы потому, что в одном опыте принципиально нельзя воспроизвести условия разных способов литья (в песчаную форму, в кокиль, непрерывного и т.д.) При решении разных задач выдвигаются разнообразные и часто прямо противоположные требования к пробе на горячеломкость.
1.4. ХАРАКТЕРИСТИКА НЕКОТОРЫХ АЛЮМИНИЕВЫХ СПЛАВОВ
1.4.1. Сплавы на основе системы алюминий – кремний
Сплавы Al – Si являются наиболее распространёнными литейными алюминиевыми сплавами. Это связано с хорошим комплексом литейных свойств. Эвтектическая точка (11,7% Si) на диаграмме состояния (рисунок 9) смещена к чистому Al, поэтому основой эвтектики a+Si является a - твёрдый раствор. Если выделение кремния в эвтектике находится в виде крупных образований, то пластичность сплава резко ухудшается с увеличением доли эвтектики в структуре.
Модифицирование натрием (используются также Li, K, Sr) резко измельчает включения кремния в эвтектике, в результате повышается комплекс пластических свойств, что, в свою очередь, приводит к отсутствию склонности к образованию горячих трещин. Небольшое количество хрупкого кремния в эвтектике и модифицирование структуры позволяют использовать сплавы с наилучшим комплексом литейных свойств (сплав АЛ2 (АК12)). Доэвтектические сплавы с 5-9% Si и другими добавками также находят широкое применение (АЛ4 (АК9ч), АЛ9 (АК7ч)).
В двойных сплавах Al – Si, получивших название простые силумины, вследствие отсутствия интерметаллидов эффект упрочнения от выделения вторичных фаз очень незначителен и не имеет практического значения. В связи с этим двойные сплавы относятся к числу термически не упрочняемых и обладают невысокими прочностными свойствами.
Примеси железа в сплавах Al – Si образуют сложное соединение b (Al – Fe – Si) в виде хрупких пластин, которые резко снижают пластичность. Отрицательное влияние железа эффективно снижает добавка 0.2 – 0.5% Mn.
В присутствии марганца вместо b (Al – Fe – Si) образуется фаза a (Al – Fe – Si – Mn) в виде компактных равноосных полиэдров, в меньшей степени влияющих на пластичность.
Механические свойства силуминов заметно отличаются при различных способах литья, например, при литье в песчаную форму механические свойства хуже, чем при литье в кокиль или при литье под давлением. Объясняется это тем, что более высокая скорость кристаллизации приводит к измельчению структурных составляющих.
Сплав АЛ2(АК12) (11.7% Si) – единственный промышленный двойной сплав системы Al – Si. Он характеризуется невысокими механическими свойствами, которые в зависимости от условий литья и размеров сечения отливки сильно колеблются.
Эвтектический состав сплава (10 – 13% Si) – обеспечивает ему отличный комплекс литейных свойств: наиболее высокую жидкотекучесть среди всех алюминиевых сплавов, отсутствие склонности к образованию трещин и
Рис.9 Диаграмма состояния Al – Si
пористости. Из сплава получают плотные, герметические отливки с концентрированной усадочной раковиной. Линейная усадка не превышает 0.8%. Сплав широко используется для всех способов литья в различные формы, применяется в модифицированном состоянии, без термической обработки. АЛ2(АК12) характеризуется высокой коррозионной стойкостью. Сплав АЛ2(АК12) применяют особенно широко для литья под давлением, а также для производства крупногабаритных отливок.
1.4.2. Сплавы на основе системы алюминий – медь
Для анализа структурообразования в литейных сплавах Al – Cu используется участок диаграммы состояния от Al до первого химического соединения q (CuAl2 ) (рисунок 10).Отметим ряд особенности диаграммы состояния:
1. Значительная предельная растворимость в твёрдом состоянии (Cp = 5.65% Cu) и её быстрое уменьшение с понижением температуры определяют возможность упрочняющей термической обработки сплавов (закалка + старение). Упрочняющей фазой являются дисперсные вторичные выделения CuAl2 . Часть меди сохраняется в твёрдом растворе и дополнительно упрочняет сплав по растворному типу. Повышенная прочность и жаропрочность – основные достоинства сплавов Al – Cu.
2. Эвтектическая точка сдвинута к интерметаллиду (Cэ = 33%), поэтому эвтектика более чем на половину (по объёму) состоит из хрупкого и твёрдого соединения CuAl2 . В результате сплавы эвтектического состава (с наилучшими литейными свойствами) совершенно не пригодны к использованию из-за высокой хрупкости. Кроме того, значительное содержание меди приводит к заметному увеличению плотности: от 2.7 для чистого Al до 3.3 г/см3 для сплава с 10% Cu. Указанные обстоятельства ограничивают концентрацию добавок меди в литейных сплавах с нижней стороны 1.0 – 1.5% (для обеспечения достаточного растворного упрочнения), с верхней стороны 6 – 8% (во избежание излишней хрупкости из-за образования CuAl2 ).
3. Невысокая температура плавления эвтектики (tэ = 548°С) в сочетании с большим значением Ср приводит к образованию в промышленных сплавах широкого интервала кристаллизации (Dtкр »100°C).
Такие сплавы отличаются пониженной жидкотекучестью, склонностью к пористости и образованию горячих трещин, в них сильно развита ликвация; неравновесная эвтектика проявляется уже при 1.5 – 2.5% Cu. Таким образом, на примере сплавов Al – Cu мы встречаемся с характерной ситуацией, когда для получения требуемого комплекса механических свойств приходится пожертвовать литейными технологическими свойствами.
Рис.10 Часть диаграммы состояния Al – Cu
Сплав (АЛ7) (Cu 4.5%) упрочняется по растворному типу, а также за счёт дисперсных выделений фазы CuAl2 . Кроме того, примеси железа и кремния образуют нерастворимые железосодержащие фазы, выделяющиеся в виде ободков по границам дендритных ячеек. Термическая обработка заключается в закалке от 515°С в горячей воде и искусственном старении при 150°С в течение 2 – 4 часов. Сплав АЛ7 имеет повышенную усадку (1.4%), склонен к образованию горячих трещин и поэтому не рекомендуется для литья в кокиль. Он применяется для литья средне нагруженных деталей, небольших по размеру.
Сплав АЛ19 (АМ5) (Cu 4.9%; Mn 0.8%; Ti 0.2%). Марганец и титан образуют сложные интерметаллидные фазы: Ti (Al12 Mn2 Cu) и TiAl3 (примеси железа жёстко ограничены). Эти фазы совместно с CuAl2 формируют твёрдый каркас по границам дендритных ячеек и придают сплаву повышенную жаропрочность. Термическая обработка отличается более высокими температурами (закалка от 545°С, старение при 175°С).
Сравнительно высокое содержание меди в сплаве (до 5.5%) приводит к образованию в литом состоянии неравновесной тройной эвтектики. В связи с этим нагрев при закалке проводят ступенчато – с выдержкой при 530°С для рассасывания неравновесной эвтектики. Это типичный приём при термической обработке ряда литейных сплавов, склонных к сильной дендритной ликвации.
Ниже приведены значения длительной (100ч.) прочности некоторых Al литейных сплавов при температуре 300°С (таблица 3):
Таблица 3.
| Сплав | АЛ8 |
АЛ2(АК12) |
АЛ4(АК9ч) |
АЛ7 |
АЛ5(АК5м) |
| d 100, Мпа | 15 |
25 |
30 |
30 |
65 |
По этим показателям сплавы системы Al – Cu значительно превосходят сплавы системы Al – Si.
Все сплавы Al – Cu имеют пониженную по сравнению с другими алюминиевыми сплавами коррозионную стойкость и нуждаются в тщательной защите от коррозии путём нанесения лакокрасочных покрытий.
1.4.2. Сплавы системы алюминий – кремний – медь
Эта система не имеет тройных соединений, а фазы a , CuAl2 и Si образуют тройную эвтектику состава 63.50% Al, 31.5% Cu, 5% Si с температурой плавления 525°С, что очень часто встречается в промышленных сплавах (АЛ6, АЛ12). Сплавы типа силумин независимо от количества потребляемого кремния сохраняют в a - твёрдом растворе достаточно много меди (от 4.75 до 5.5%), в то время как содержание кремния в тройном a - твёрдом растворе колеблется от 0.1% до 1.5%. Наиболее типичными представителями тройных сплавов системы Al – Si – Cu является сплав АЛ6, который широко используется для изготовления приборов и агрегатов. АЛ6 обладает лучшими механическими свойствами, но худшими литейными, чем нормальный силумин. Применяется в литом состоянии без термической обработки.
ГЛАВА 2. ЭКСПЕРИМЕНТАЛЬНАЯ ЧАСТЬ
2.1. МЕТОДИКА ПРИГОТОВЛЕНИЯ ОПЫТНЫХ СПЛАВОВ
Для приготовления опытных сплавов использовалась электрическая печь сопротивления шахтного типа мощностью 10 КВт с выемным графито - шамотовым тиглем ёмкостью 10 марок. В качестве шихтовых материалов использовались:
1. Al чушковой марки А99
2. Силумин чушковой Сил 00
3. Электролитическая медь марки М 00
4. Лигатура двойная Al – Ti или соль K2 TiF6
5. Лигатура двойная Al – Zr или соль K2 ZrF6
Сначала в тигель загружался Al и после его расплавления, при температуре 760° С, последовательно вводились медь и силумин. В случае применения модификаторов, в первую очередь вводились соответствующие лигатуры или соли, при температуре 780° С. Состав полученных сплавов контролировался химическим анализом. Температура заливки металла составляла 700° С. Контроль температуры осуществлялся с помощью термопары хромель – алюмель (ХА).
Металл разливался в заранее приготовленные формы специальных технологических проб для определения горячеломкости.
2.2. ИССЛЕДОВАНИЕ ГОРЯЧЕЛОМКОСТИ СПЛАВОВ СИСТЕМ Al – Si , Al – Cu , Al – Si – Cu ПО ПОКАЗАНИЯМ ТЕХНОЛОГИЧЕСКИХ ПРОБ
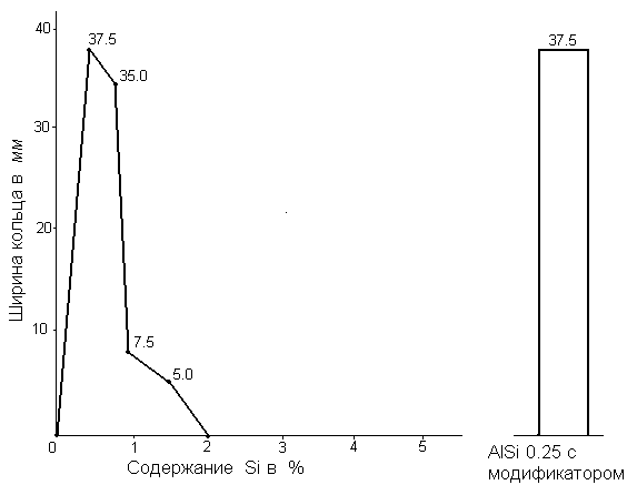
Для оценки горячеломкости сплавов системы Al – Si были выбраны концентрации 0.25, 0.5,1.0, 1.5, 2.0, 3.0, 5.0 % Si. Были выплавлены соответствующие составы исследуемых сплавов и отлиты технологические пробы. Общий вид отливки по кольцевой пробе показан на рисунке 11.
На рисунке 12 представлена кривая изменения горячеломкости сплавов системы Al – Si в зависимости от содержания второго компонента. Видно, что максимум горячеломкости соответствует сплаву, содержащему 0.25% Si. При дальнейшем увеличении концентрации кремния горячеломкость снижается и при содержании более 2% становится равной нулю. Снижение горячеломкости происходит благодаря уменьшению линейной усадки в интервале кристаллизации (вследствие увеличения количества жидкой фазы, кристаллизующейся при постоянной температуре). Увеличение количества эвтектики в сплаве создаёт также благоприятные условия для интердендритного питания и, следовательно, для залечивания возникающих трещин жидкостью эвтектического состава.
![]()
Рис.11 Отливка технологической пробы на горячеломкость

Рис.12 Изменение горячеломкости сплавов системы Al – Si
На том же рисунке (12) приведено значение горячеломкости сплава, содержащего 0.25% Si с добавкой модификатора, в качестве которого использовался Zr в количестве 0.1%. Видно, что введение модификатора не оказывает влияния на снижение горячеломкости.
На рисунке 13 представлено изменение горячеломкости сплавов системы Al – Cu в зависимости от содержания меди. Максимальной горячеломкостью обладает сплав, содержащий 0.5% Cu.
Модифицирование сплава данного состава так же, как и в предыдущем случае, не приводит к снижению горячеломкости.
При увеличении содержания меди в этой системе после точки максимальной горячеломкости снижение горячеломкости протекает более умеренно, чем в системе Al – Si. После некоторого снижения, при содержании меди, равном 4%, вновь наблюдается увеличение горячеломкости, и лишь при концентрациях меди выше 4% имеет место заметное снижение горячеломкости. Появление второго максимума горячеломкости объясняется в данном случае развитием обратной ликвации (микроструктурный анализ показал, что в кольцевых пробах сердцевина сильно обеднена медью, а поверхностные слои обогащены ею по сравнению с нормальной структурой сплава).
В тройной системе Al – Si – Cu (рисунок 14) при увеличении концентрации кремния и меди существенное снижение склонности к образованию горячих трещин после достижения максимума горячеломкости (42.5 мм) обуславливается главным образом влиянием кремния (образованием эвтектической составляющей). Уже при содержании обоих легирующих элементов в количествах выше 3%, горячеломкость снижается до такого уровня (15-22.5 мм), который позволяет гарантированно получать свободные от горячих трещин сложные по конфигурации отливки методами литья в постоянные металлические формы.
Эффективный интервал кристаллизации при добавлении к чистому металлу второго компонента возрастает, достигает максимума на концентрационной границе появления эвтектики и затем постепенно уменьшается до нуля в точке совпадения температуры начала линейной усадки с эвтектической горизонталью. Горячеломкость тем больше, чем больше эффективный интервал кристаллизации, и поэтому состав сплава должен совпадать с границей появления эвтектики. Это положение сыграло важную роль в изучении зависимости горячеломкости от состава, так как оно позволило связать сопротивляемость сплавов образованию трещин с диаграммой состояния и, в первом приближении, предсказать область составов наиболее горячеломких сплавов. Появление эвтектики и распределение её по границам кристаллитов в виде тонких прослоек существенно охрупчивает сплав, снижая его механические свойства, и, следовательно, его способность сопротивляться возникающим напряжениям. Кроме того, у сплавов с наибольшим эффективным интервалом кристаллизации линейная усадка в этом интервале получает максимальное

Рис.13 Изменение горячеломкости сплавов системы Al - Cu

Рис.14 Изменение горячеломкости в сплавах системы Al – Si – Cu
развитие и вызывает максимальные напряжения. У исследуемых сплавов максимальной горячеломкостью обладают сплавы следующих составов:
Al – Si 0.25, Al – Cu 0.5, Al – Si 0.25 – Cu 0.25. Величина горячеломкости этих сплавов различается незначительно и находится в пределах 37.5 – 42.5 мм по показаниям используемой кольцевой технологической пробы.
Модифицирование наиболее горячеломких сплавов титаном и цирконием либо не оказывает, либо оказывает незначительное влияние на снижение горячеломкости этих сплавов. Некоторое снижение горячеломкости (сплав тройной системы) можно объяснить тем, что при измельчении зёрен увеличивается количество стыков между ними, а это в свою очередь увеличивает прочность их связи. Кроме того, соединение зёрен между собой происходит при большем количестве твёрдой фазы, следовательно, линейная усадка получает более позднее развитие и к концу кристаллизации достигает меньшей величины, чем у немодифицированного сплава. Тем не менее, эти два фактора, очевидно, не способны в значительной мере компенсировать возникающие высокие по своему значению усадочные напряжения при кристаллизации этих сплавов.
Изучение микроструктуры показало, что характер возникновения и развития горячих трещин всех исследуемых сплавов примерно одинаков, особенно при малых концентрациях легирующих элементов. Горячие трещины развиваются по прослойкам эвтектической составляющей сплава, располагающимся по границам зёрен. При высоком содержании легирующих элементов микроструктура отличается количеством и формой распределения эвтектики. В качестве примера на рисунке 15 приведена микроструктура сплавов системы Al – Si – Cu в местах образования и развития горячих трещин. На рисунке 15 а и 15 б представлена микроструктура сплава Al – Si 0.25 – Cu 0.25 соответственно немодифицированного (а) и модифицированного (б). Структура этих сплавов характеризуется незначительным содержанием легкоплавкой составляющей. Модифицированный сплав имеет более мелкое зерно и более тонкое распределение эвтектики по границам зёрен. Такое распределение эвтектики при небольшом её количестве не может благоприятно сказаться на горячеломкости и является основной причиной незначительного действия модифицирования на снижение горячеломкости. Дальнейшее увеличение содержания кремния и меди в сплаве до 1% не приводит к существенному изменению структуры (рисунки 15 в и 15 г). Однако следует отметить, что с дальнейшим увеличением содержания кремния и меди в сплаве появляется всё больше эвтектической составляющей. Увеличение количества жидкой фазы к концу кристаллизации приводит к затруднённой усадке, что в свою очередь приводит к увеличению пластичности сплава в этом интервале кристаллизации. К тому же, создаются благоприятные условия для залечивания трещин эвтектической жидкостью. На рисунках 15 д и 15 е видны участки частично залеченных трещин, а на рисунке 15 ж - полностью залеченная крупная горячая трещина.
а) б)
в) г)
![]()
д) е)
ж)
Рис.15 Микроструктура сплавов системы Al – Si – Cuc горячими трещинами: а) Si – 0.25, Cu – 0.25;б) Si – 0.25, Cu – 0.25 с модификатором; в) Si – 0.5, Cu – 0.5;г) Si – 1.0, Cu – 1.0; д) Si – 2.0, Cu – 2.0;е) Si – 3.0, Cu – 3.0; ж) Si – 4.0, Cu – 4.0
2.3. МЕТОДИКА ПРОВЕДЕНИЯ ДИФФЕРЕНЦИАЛЬНОГО ТЕРМИЧЕСКОГО АНАЛИЗА ИССЛЕДУЕМЫХ СПЛАВОВ
Для подтверждения данных, полученных методом исследования опытных сплавов по кольцевой пробе, был использован метод дифференциального термического анализа, который позволяет проанализировать изменение темпа кристаллизации сплавов и связать его с изменением состава сплавов.
Установка для дифференциального термического анализа (Д Т А) ( рисунок 16) состоит из нагревательной электрической печи с тепловым экраном, обеспечивающим идентичность помещённого в нём образца и эталона. Горячие спаи простой и дифференциальной термопар крепились на образце с помощью прижимного устройства, которое обеспечивало хороший контакт на протяжении всего интервала кристаллизации. Сигнал от термопар поступал на зеркальные гальванометры типа М17. Отклонение зеркальца фиксировалось по записи на фотобумаге светового зайчика. Основное преимущество данной системы – её малая инерционность. Использовались термопары группы ХА, диаметр 0.5 мм, холодные спаи которых были термостатированы в сосуде Дьюара с тающим льдом. Полная идентичность горячих спаев обеспечивалась их изготовлением по общему срезу. Особенностью данной методики ДТА является регулировка чувствительности гальванометров, которая обеспечивала очерчивание дифференциальной кривой единой площади (рисунок 17). Это позволило оценить теплоту плавления образца:
Q пл. = S n i =1 Si
и определитьтемпературную зависимость относительной теплоты к моменту достижения температуры:
ti = D Q / Q пл. = S i 1 Si / S n 1 Si × 100%
В качестве эталона использовалась электролитическая медь, не испытывающая фазовых превращений в диапазоне исследуемых температур. Масса эталона (mэт. ) рассчитывалась из условия равенства теплосодержащего эталона и образца:
m эт. = m обр. × C обр. /C эт.
где mобр. – масса образца исследуемого сплава, Собр. и Сэт. – удельная теплоёмкость образца и эталона.
Расчёт относительной теплоты (DQ/Qпл . ) и темпа плавления m (DQ/Dti ) вёлся по площадям дифференциальной кривой термограммы, которые были

Рис. 16 Принципиальная схема пирометра Н.С. Курнакова
1 – дифференциальный гальванометр; 2 – простой гальванометр; 3 – сосуд Дьюара; 4 – дифференциальная термопара; 5 – простая термопара; 6 – образец; 7 – эталон.

Рис.17 Термограмма опытной плавки сплава системы Al – Si – Cu
получены при ДТА (рис.17). Под относительной теплотой понимается процентное отношение теплоты, поглощённой к моменту достижения в образце температуры ti (DQi ), к общему количеству теплоты, поглощённому при расплавлении образца (Qпл. ). Относительная теплота DQ/ Qпл. определялась из отношения площади, описанной дифференциальной кривой к моменту достижения температуры ti (Sn i =1 Si ) и площади, описанной дифференциальной кривой при полном расплавлении образца (достижение температуры tliq ) (Sn i =1 Si ). Под темпом плавления m понималось отношение изменения теплоты (DQi ), поглощённой в интервале температур, к величине этого интервала. Для упрощения расчётов величина Dti выбиралась постоянной и составляла 10°C. По полученным результатам были построены температурные зависимости изменения относительной теплоты и темпа плавления, которые можно интерпретировать как кинетику образования жидкой фазы в кокильном образце при его расплавлении или как кинетику выделения твёрдой фазы при затвердевании сплава в условиях литья в кокиль. Именно этими данными и следует руководствоваться в процессе проверки результатов исследования вышеуказанных сплавов методом кольцевой пробы.
2.4. АНАЛИЗ ПАРАМЕТРОВ КРИСТАЛЛИЗАЦИОННОГО ПРОЦЕССА
Для анализа кристаллизационного процесса был выполнен ДТА сплавов системы Al – Si с содержанием Si: 0.25, 0.5, 1.0, 3.0 и 5.0 %. Основные параметры кристаллизационного процесса указаны в таблице 4:
Таблица 4. Параметры кристаллизационного процесса сплавов системы Al – Si
| № | Содержание Si,% | Теплота кристаллизации | tsol , °C | tliq , °C | tкр. |
| 1 | 0.25 | -352.2 | 627.4 | 643.2 | 15.8 |
| 2 | 0.5 | -341.6 | 627.0 | 642.8 | 15.8 |
| 3 | 1.0 | -360.3 | 551.6 | 638.6 | 87.0 |
| 4 | 3.0 | -347.0 | 550.0 | 625.6 | 75.6 |
| 5 | 5.0 | -302.7 | 549.0 | 612.9 | 63.9 |
Дальнейший анализ приведённых данных показал:
1. Сплавы, содержащие 0.25 и 0.5% Si, имеют узкий интервал кристаллизации (~16°C). На кривых ДТА для этих сплавов не зафиксировано эвтектическое превращение, т.е. тепловое превращение связано только с кристаллизацией a-твёрдого раствора кремния в алюминии. Параметры кристаллизационного процесса этих двух сплавов практически одинаковы.
2. В сплавах с содержанием Si 1.0% и выше зафиксирована кристаллизация эвтектической составляющей, причём чем больше в сплаве кремния, тем больше эвтектики. Поэтому интервал кристаллизации этих сплавов значительно больше, так как в этом случае участвуют два превращения – кристаллизация твёрдого раствора и эвтектики, протекающая для этих составляющих при различных температурах. Обращает на себя внимание тот факт, что с увеличением содержания кремния с 1.0 до 5.0% интервал кристаллизации уменьшается с 87 до 64° С. Это связано с тем, что с увеличением кремния ликвидус сплавов существенно снижается, а солидус остаётся практически неизменным, так как кристаллизация этих сплавов завершается кристаллизацией эвтектики (a + Si) при постоянной температуре.
По кривым ДТА были рассчитаны и графически интерпретированы кривые изменения темпа кристаллизации опытных сплавов (рисунок 18). Для сплавов 0.25 и 0.5% Si темп кристаллизации увеличивается практически линейно и достигает максимальных и больших по абсолютной величине значений у температуры солидус. Аналогично должна развиваться и линейная усадка в интервале кристаллизации, что в сумме с наличием тонких прослоек жидкого металла между кристаллами, ослабляющих их связь, приводит к увеличению горячеломкости.
Характер изменения темпа кристаллизации сплавов с содержанием кремния от 1.0 до 5.0% существенно отличается. Достигнув максимума в начале кристаллизации, когда линейная усадка ещё не получила своего развития, темп кристаллизации затем плавно снижается с приближением к температуре солидус. И только у сплавов, содержащих 3.0 и 5.0% Si, вблизи температуры солидус темп кристаллизации вновь несколько увеличивается. Но это происходит практически при неизменной температуре кристаллизации эвтектической составляющей, когда линейная усадка приостанавливает своё развитие и вновь начинает увеличиваться только после полного затвердевания сплава. Такой характер кристаллизации должен благоприятно сказываться на снижении горячеломкости, что подтверждается результатами исследований этого сплава с помощью кольцевой пробы.

Рис.18 Изменение темпа кристаллизации сплавов системы Al – Si
ВЫВОД
В данной работе была изучена проблема исследования горячеломкости сплавов систем Al – Si, Al – Cu , Al – Si – Cu. В частности, было исследовано влияние химического состава этих сплавов на образование горячих трещин, были наглядно показаны составы самых горячеломких сплавов и построены кривые зависимости горячеломкости от состава.
Указано влияние на горячеломкость количества эвтектической жидкости в сплаве, в данном случае увеличение количества эвтектической жидкости приводит к росту запаса пластичности в твёрдо-жидком состоянии (из-за повышения удлинения в интервале хрупкости и уменьшения линейной усадки), а так же к увеличению интердендритного питания, что приводит к явлению залечивания горячих трещин.
Также выявлено, что попытка модифицирования наиболее горячеломких сплавов не приносит желаемых результатов, практически не влияя на снижение горячеломкости.
С целью подтверждения результатов, полученных с помощью кольцевой технологической пробы на горячеломкость, было произведено исследование изменения темпа кристаллизации. Построены графики, позволяющие судить о зависимости темпа кристаллизации от состава сплавов и показана взаимосвязь темпа кристаллизации с образованием горячих трещин. В данном случае результаты исследования с применением метода ДТА (дифференциального термического анализа) полностью подтвердили результаты по горячеломкости, полученные с помощью кольцевой пробы.
ЛИТЕРАТУРА
1. Новиков И.И. «Горячеломкость цветных металлов и сплавов» - Изд-во Наука, Москва 1966г.
2. Новиков И.И., Золоторевский В.С., Портной В.К. Сб. «Алюминиевые сплавы», вып.1 Литейные сплавы. – Оборонгиз, 1963г.
3. Макарин В.С., Никитин С.Л. Образование горячих трещин в отливках/Методические указания к лабораторной работе по курсу «Теоретические основы литейного производства». – типография МАТИ, 1986г.
4. Новиков И.И., Корольков Г.А., Семёнов А.Е. Литейное производство 1958г, №1,7
5. Новиков И.И., Корольков Г.А., Золоторевский В.С. - Сб. МИЦМиЗ «Металлургия и технология цветных металлов», вып.33, Металлургиздат, 1960г.
6. Бочвар А.А., Жадаева О.С. Юбилейный сборник трудов Моск. Ин-та цветных металлов и золота, вып.9, Металлургиздат, 1940г.
7. Новиков И.И., Золоторевский В.С., Лисовская Т.Д. Сб. « Исследование сплавов цветных металлов» вып.4, Изд-во АН СССР,1963г.
8. Корольков А.И. Литейные свойства металлов и сплавов – Москва, Наука, 1967г.
9. Новиков И.И., Корольков Г.А. Способ устранения горячих усадочных трещин при кокильном литье цветных сплавов, А.С. 109264 от 31 мая 1957г.
10. Добаткин В.И. Слитки алюминиевых сплавов, Металлургиздат, 1960г.
11. Могилёв В.К., Лев О.И., Колобнев И.Ф. Справочник литейщика – Москва, 1974г.
12. ГОСТ 1583-89 Сплавы алюминиевые литейные. Технические условия. Изд-во стандартов. Москва, 1993г.
13. Никитина М.Ф., Никитин С.Л. Литейное производство, №2, 1983г.
Похожие рефераты:
Деформированные алюминивые сплавы
Товароведная характеристика цветных металлов и изделий из них
Литьё цветных металлов в металлические формы - кокили
Производство отливок из сплавов цветных металлов
Анализ влияния химического состава и технологии получения на жаропрочность металлов и сплавов
Давно ли люди гибнут за металл и как именно закалялась сталь
Биокерамика на основе фосфатов кальция
Термодинамика растворов неметаллов в металлических расплавах
Анализ свариваемости сплавов на основе меди (М1)
Произврдство в доменой печи и сплавы
Разработка модели технологического процесса получения ребристых труб и ее апробация