| Похожие рефераты | Скачать .docx | Скачать .pdf |
Курсовая работа: Организация обслуживания тематического вечера в артистическом кафе
Курсовая работа
по дисциплине
"Организация обслуживания"
Тема: "Организация обслуживания тематического вечера в артистическом кафе"
Содержание
Введение
1. Теоретическая часть
1.1 Классификация предприятий общественного питания
1.2 Основные и дополнительные услуги общественного питания
1.3 Методы и формы обслуживания
1.4 Состав торговых помещений, их характеристика
1.5 Оформление интерьера
1.6 Методы и средства создания фирменного стиля
1.7 Разработка меню, карт вин и коктейлей
2. Практическая часть
2.1 Характеристика предприятия
2.2 Техническое оснащение предприятий общественного питания для оказания услуг
2.3 Разработка программы обслуживания
2.4 Этапы организации обслуживания
2.5 Подготовка материалов и защита тематического стола
3. Графическая часть
Заключение
Список используемой литературы
Введение
На сегодняшний день индустрия питания в Российской Федерации является одним из самых быстрорастущих сегментов. Российский рынок общественного питания в последние 3–4 года развивается достаточно интенсивно: темпы роста оцениваются в 20–40% (различается в зависимости от региона). Аналитики считают, что причиной такого роста стала возросшая покупательная способность россиян: все больше людей предпочитает питаться не дома, а посещать какие-либо кафе или закусочные.
Актуальность выбранной темы определяется необходимостью изучения динамичного ресторанного рынка для целей улучшения обслуживания посетителей.
Цель работы – описать "организацию обслуживания методического вечера в артистическом кафе"
Задачи работы - дать характеристику предприятия; дать характеристику мероприятия, определить порядок приема заказа, описать меню, составление заказа-счета, определить порядок расчета потребности сырья по меню, рассмотреть правила подготовки зала к обслуживанию, порядок проведения банкета.
В настоящее время общественное питание развивается по различным направлениям. Появляется большое количество ресторанов с национальной кухней, появляются новые виды предприятий общественного питания (пабы, суши-бары), в наши дни предприятия общественного питания оснащаются автоматизированными системами ведения счетов, появляются новые профессии (сомелье, хостесс) и, в конце концов, современное предприятие общественного питания становится местом красивого, приятного времяпрепровождения.
Именно поэтому, актуальность выбранной темы очевидна, т.к. общественное питание - отрасль народного хозяйства, которая была, есть и будет самой рыночной сферой деятельности.
Одним из наиболее стремительно развивающихся секторов рынка услуг является ресторанный бизнес, опережающий в динамике своего роста многие отрасли народного хозяйства.
Отрасль общественного питания как бизнес существует в российской экономике около пятнадцати лет, за которые подверглась значительным трансформациям, что, представляет значительный научный интерес, а изучение рынка услуг ресторанного бизнеса в качестве основы его функционирования представляет собой актуальность исследования.
питание торговый стиль обслуживание
1. Теоретическая часть
1.1 Классификация предприятий общественного питания
На сегодняшний день оказанием услуг общественного питания, как одним из видов предпринимательской деятельности, занимается громадное количество организаций и индивидуальных предпринимателей. При этом предприятия общественного питания, предназначенные для удовлетворения потребности в питании и проведении досуга, различаются между собой по типам, по размерам, а также по видам оказываемых услуг.
Тип предприятия общественного питания - это вид предприятия с характерными особенностями обслуживания, ассортимента реализуемой кулинарной продукции и номенклатуры, предоставляемых потребителям услуг.
В соответствии с ГОСТ Р 50762-95 "Общественное питание. Классификация предприятий", утвержденному Постановлением Госстандарта России от 5 апреля 1995 года №198 (далее ГОСТ Р 50762-95) установлена следующая классификация типов предприятий общественного питания:
- ресторан - предприятие общественного питания с широким ассортиментом блюд сложного приготовления, включая заказные и фирменные; винно-водочные, табачные и кондитерские изделия, с повышенным уровнем обслуживания в сочетании с организацией отдыха;
- бар - предприятие общественного питания с барной стойкой, реализующее смешанные, крепкие алкогольные, слабоалкогольные и безалкогольные напитки, закуски, десерты, мучные кондитерские и булочные изделия, покупные товары;
- кафе – предприятие, оказывающее услуги по организации питания и отдыха потребителей с предоставлением ограниченного по сравнению с рестораном ассортимента продукции. Реализует фирменные, заказные блюда, изделия и напитки;
- столовая - общедоступное или обслуживающее определенный контингент потребителей предприятие общественного питания, производящее и реализующее блюда в соответствии с разнообразным по дням недели меню;
- закусочная - предприятие общественного питания с ограниченным ассортиментом блюд несложного приготовления из определенного вида сырья и предназначенное для быстрого обслуживания потребителей промежуточным питанием.
Класс предприятия общественного питания - это совокупность отличительных признаков определенного типа, характеризующая качество предоставляемых услуг, уровень и условия обслуживания.
Бары и рестораны по уровню обслуживания и видам предоставляемых услуг посетителям различаются на:
-класс люкс;
-высший класс;
-первый класс.
1.2 Основные и дополнительные услуги
Главные задачи организации торговой деятельности предприятий общественного питания- совершенствование методов и форм обслуживания, повышение культуры обслуживания, расширение услуг, обеспечение их безопасности для жизни и здоровья людей.
В соответствии с ГОСТ Р 50764-95 . "Услуги общественного питания. Общие требования", к услугам общественного питания предъявляются определённые требования. Услуга общественного питания - результат деятельности предприятий и граждан предпринимателей по удовлетворению потребностей потребителя в питании и проведении досуга. Процесс обслуживания - совокупность операций, выполняемых исполнителем при непосредственном контакте с потребителем услуг при реализации кулинарной продукции и организации досуга. Качество услуг должно удовлетворять установленным или предполагаемым потребностям потребителей. Услуги общественного питания должны отвечать требованиям безопасности и экологичности, целевому назначению и предоставляться потребителям в условиях, отвечающих требованиям действующих нормативных документов. В процессе обслуживания потребителей комплекс услуг должен соответствовать типу предприятия.
Услуги по изготовлению кулинарной продукции и кондитерских изделий включают изготовление по заказам потребителей, в том числе в ,сложном исполнении, изготовление блюд из сырья заказчика.
Услуги o реализации кулинарной продукции включают: реализацию кулинарной продукции и кондитерских изделий, кроме торговых залов, через магазины и отделы кулинарии, вне предприятия; отпуск обедов на дом; комплектацию наборов кулинарной продукции в дорогу.
Информационно-консультативные услуги включают консультации специалистов по изготовлению, оформлению кулинарной продукции и кондитерских изделий и сервировке стола; консультации по вопросам использования кулинарной продукции при различных видах заболеваний; организацию обучения кулинарному мастерству.
Услуги по организации потребления продукции и обслуживания включают:
-организацию и обслуживание торжеств, ритуальных мероприятий;
-организацию питания и обслуживания участников конференций, совещаний, культурно-массовых
мероприятий и т. д.;
-услугу официанта, бармена по обслуживанию на дому;
-доставку кулинарной продукции и кондитерских изделий и обслуживание потребителей в офисах и на дому;
-обслуживание потребителей в пути следования пассажирского транспорта;
-обслуживание в номерах гостиниц;
-организацию рационального комплексного питания и др.
В ресторанах, барах большое внимание уделяется организации услуги досуга. Услуги по организации досуга включают:
-организацию музыкального обслуживания;
-организацию проведения концертов, программ варьете;
-предоставление газет, журналов, настольных игр, игровых автоматов, бильярда.
Культура обслуживания - один из основных критериев в оценке деятельности работников общественного питания. К основным факторам, определяющим культуру обслуживания, относятся наличие современной материально-технической базы, виды и характер предоставляемых услуг, ассортимент и качество выпускаемой продукции, внедрение прогрессивных форм обслуживания, уровень рекламно-информационной работы, профессиональное мастерство работников общественного питания. Культура обслуживания на высоком уровне повышает конкурентоспособность предприятия, что очень важно при рыночных отношениях.
1.3 Методы и формы обслуживания
Методы обслуживания потребителей: способ реализации потребителям продукции общественного питания. Различают два метода обслуживания: обслуживание официантом, барменом, буфетчиком и самообслуживание.
Форма обслуживания потребителей: организационный приём, представляющий собой разновидность или сочетание методов обслуживания потребителей.
На предприятиях общественного питания применяются следующие методы обслуживания:
-самообслуживание;
-обслуживание официантами, барменами;
-комбинированный метод.
При комбинированном методе предусматривается сочетание двух указанных методов обслуживания. Например, при обслуживаний участников совещаний, конференций организуют фуршетные столы, гости самостоятельно выбирают закуски, дecеpты, напитки и другие изделия, а первые и вторые блюда подают официанты. Расчет за питание производится после приёма пищи.
В зависимости от участия персонала в обслуживании различают полное и частичное самообслуживание. При полном самообслуживании потребитель выполняет все операции, связанные с получением блюд, доставкой их к обеденному столу и уборкой посуды. При частичном самообслуживании большую часть этих операций выполняет персонал предприятия для ускорения обслуживания.
По способу расчета с потребителями различают самообслуживание с предварительным, последующим, непосредственным расчетом, оплатой после приёма пищи и саморасчетом.
Самообслуживание с непосредственным расчетом обеспечивает одновременность выбора блюд, их получения и оплаты стоимости.
При самообслуживании с оплатой после приёма пищи потребитель, выбрав блюда и напитки, получает чек у кассира в конце раздаточной, который оплачивает после приёма пищи при выходе из зала.
Самообслуживание по системе саморасчета применяется в предприятиях с постоянным контингентом питающихся. Потребители самостоятельно выбирают блюда и рассчитываются, опуская деньги в копилку. Возле каждого вида продукции находится ценник.
1.4 Состав торговых помещений и их характеристика
В соответствии со строительными нормами, правилами проектирования и ГОСТ Р 50762-2007 "Услуги общественного питания, Классификация предприятия", к помещениям для потребителей на предприятиях общественного питания относят вестибюль (включая гардероб), залы. В ресторанах в эту группу входят банкетные залы, коктейль- залы, аванзалы. Гардероб и туалетные комнаты обязательно должны быть во всех предприятиях общественного питания, кроме закусочных; в ресторанах "люкс" и высшего класса и барах "люкс" выделяются курительные комнаты. В ресторанах раздаточная, буфеты, сервизная и моечная столовой посуды являются подсобными торговыми помещениями.
Площадь торговых помещений зависит от типа предприятия и количества мест. Исчисляются они в квaдpaтных метрах умножением нормы площади на одно место на количество мест.
Нормы площади на одно место, м2 : в столовых общедоступных"- 1,8; кафе, закусочных, пивных барах - 1,6; в ресторанах (зал с эстрадой и танцплощадкой) - 2,0; ресторанах без эстрады и танцплощадки и барах - 1,8; в школьных столовых - 0,75"; столовых при высших и средних учебных заведениях - 1,3; профтехучилищах - 0,8.
Вход на предприятие должен сочетаться с оформлением фасада здания декоративными средствами и быть хорошо освещен. Рестораны и бары должны иметь световую вывеску с элементами оформления.
Вестибюль - это, по сути, первое помещение, куда попадают потребители и где, начинается их обслуживание.
Площадь вестибюля должна быть строго пропорциональна площади торгового зала, интерьер – соответствовать главному направлению ресторана. Площадь вестибюля должна равняться примерно четверти площади зала. В вестибюле рекомендуется размещать информацию об услугах, которые предоставляет предприятия, а также необходимые указатели. В вестибюле размещают гардероб для верхней, одежды; оборудуют его зеркалами, мягкой мебелью (кресла; полукресла, банкетки - сиденья с мягкой подушкой без спинок), журнальными столиками; организуют продажу газет, сигарет, сувениров.
Гардероб, как правило, располагается в вестибюле при входе. Он оборудован секционными металлическими двусторонними вешалками с раздвижными кронштейнами. Расстояние между вешалками не меньше 70см, а количество крючков должно быть на 10 % больше количества мест в зале.
Туалетные комнаты. Для посетителей должна быть обеспечена возможность вымыть руки, поправить причecку и т. д. Как правило, рядом с гардеробом оборудуют туалетные комнаты. К их санитарному состоянию предъявляют высокие требования: безупречная чистота, вентиляция, освещение. В туалетных комнатах должна быть подводка горячей и холодной воды, зеркало, туалетное ,мыло, бумага, бумажные полотенца, салфетки.
Аванзал - помещение для сбора, ожидания и отдыха гостей - участников банкетов (торжеств). Оформление аванзала должно быть органично связано с декоративным решением основного зала. Здесь размещают только необходимую мебель: несколько кресел, диванов, журнальные столы.
3алы предприятий общественного питания - основные помещения, где обслуживают потребителей. Восприятие и оценка потребителями всех элементов среды зала происходит с позиций удобства и красоты. Общее впечатление и оценка среды зала получают отражение в понятии "комфортные условия". Архитектурными и декоративными элементами, уютной и располагающей к отдыху обстановкой зала ресторан должен оказывать психологическое воздействие на потребителя. Всё внутреннее убранство зала должно вызывать у посетителя желание вновь побывать здесь.
1.5 Оформление интерьера
В интерьере кафе используют декоративные элементы, создающие единство стиля.
Интерьер предприятия общественного питания - это своего рода ансамбль, в котором взаимное соответствие отдельных элементов связано единым замыслом архитектора. Единство стиля в интерьере достигается соотношением объемно-пространственного решения, цветовой композиции, приёмов освещения и декоративных элементов. С решением, интерьера должно быть органически связано оформление технологического, торгового и холодильного оборудования на предприятии, стиль мебели, посуды.
При оформлении помещений ресторана учитываются его наименование, национальная кухня, особенности обслуживания и другие факторы.
Свет в интерьере зала. Свет обладает большим психологическим воздействием. Он способен "сделать" зал просторнее, более уютным, может способствовать шумному оживлению в зале или, настраивать на тихую беседу. Освещение может быть общим, местным, смешанным.
Залы предприятий должны иметь и естественное освещение. Коэффициент освещенности должен быть не менее 1:6.
Цвет в интерьере. В композиции интерьера залов участвует и цвет. От удачно выбранного цветового решения зала в основном зависит эмоциональный настрой потpебителей. На выборе цветовой гаммы зала чаще всего сказывается ориентация по сторонам света.
Температурный режим зала. Oднa из задач архитектурнo-планировочного решения зала предприятий заключается в обеспечении наиболее благоприятной температуры в (16-18 СО ) и относительной влажности воздуха (60-65 %).
Вентиляция зала. В значительной степени комфорт в зале зависит от правильно, устроенной вентиляции. Он очищает воздух от избытков теплоты, влаги.
Обязательным условием является удобное сообщение зала с производственными и другими помещениями торговой группы, что в значительной степени способствует ускорению и повышению культуры обслуживания. В настоящее время существует множество стилей, используемых при оформлении интерьеров залов.
Стиль интерьера Ампир - (начало XIX века, от франц. Empire) пришёл к нам из Франции. Для него характерно парадное, торжественное великолепие.
Барокко - основное стилевое направление в декоративном искусстве Европы и Америки конца ХVI – середины ХVIII в. Для него характерны искривление форм, овальные залы, арки, мраморные витые лестницы. Сложный декор - лепнина, позолота, резьба, чеканка.
Модерн сегодня - это яркие краски, смелые и совpeменные дизайнерские решения.
Стиль хай- тек (от англ. высокая технология). Считается, что xaй- тек, это эстетика, прямо противоположная стилям, в которых используются преимущественно нaтyральные материалы. Здесь в основе формирования интерьера лежат технические детали, стекло, металл, бетон, а также различные пластики и прочие искусственные материалы.
Кантри (от англ. - деревня) формируется как стиль исходя из национальных традиций; Когда говорят о кантри, имеют в виду простоту и естественность. Достоинство одного стиля - полное отсутствие вычурности, мягкость, лиричность. Кантри характеризуется также комфортностью и целесообразностью. Кантри- это экологичный стиль, поэтому используются натуральные строительные и отделочные материалы.
Нерусский стиль является наиболее ранним появлением модерна в России, его национально-романтическим направлением, продолжившим русский стиль второй половины XIX века. Этот стиль опирается на традиции русского искусства - архитектуры, декоративно- прикладного творчества. Оборудование залов
Одну из важнейших ролей в интерьере любого предприятия играет мебель, которая должна соответствовать его характеру и концепции.
Для оборудования торгового и банкетного залов используется специальная мебель: столы обычные, банкетные и фуршетные, кресла, стулья, подсобные столы для официантов, в которых размещают запас столового белья и приборов для работы, серванты, передвижные сервировочные столики, холодильные шкафы для охлаждения пива и воды.
Столы. Ресторанные столы отличаются от столов, применяемых на других предприятиях общественного питания, своими размерами, отделкой, характером использования. Большие размеры крышки ресторанного стола определяются более полной сервировкой, широким и разнообразным ассортиментом блюд. По традиции большой стол, уставленный средствами и напитками, символизирует гостеприимство, изобилие, комфорт. Как показала практика, наиболее приемлемая ширина ресторанного стола 800-1200 мм.
В большинстве ресторанов столы покрывают скатертями. Но иногда посетителей обслуживают без скатертей. При этом хорошо отделанную, с красивой текстурой крышку стола накрывают небольшими салфетками. Эти два различных вида обслуживания определяются разницей в материалах и конструкции столов.
К ресторанным столам относятся также банкетные и фуршетные столы.
Фуршетный стол несколько выше обычного ресторанного, 1000 - 1100 мм, ширина 1200-1500 мм. Длина банкетного стола определяется из расчета 60-80 см на человека. При организации банкета могут быть использованы квадратные или прямоугольные обычные обеденные столы. Из них составляют банкетный стол необходимых размеров. Ширина банкетного стола 1000-1200 мм. Применяются также разборные столы с крышками и складными ножками, которые могут быть использованы для устройства, выездных фуршетов и буфетов.
Кресла и стулья. Ресторанное кресло должно обеспечивать удобное положение человека не только во время еды, но и во время отдыха, беседы.
Кресла обычно несколько шире и глубже стульев, но чрезмерная ширина делает их громоздкими и не экономичными, особенно в залах, где используются прямоугольные столы, - слишком широкие кресла могут не соответствовать длине стола. Kвaдpатные столы дают большую возможность для применения широких кресел, так как ширина кресла при всех условиях будет меньше ширины стола.
Ресторанные полукресла отличаются от кресел меньшими габаритами. Однако, несмотря на определённую экономию места, которую дают полукресла, cлeдyeт помнить, что достигается это за счёт некоторого снижения комфорта.
В ресторанах с большими площадями залов рекомендуется применять диваны. Их размещают у стен или в центре, образуя изолированные ложи.
Подсобные столы применяются для подготовки блюд к подаче; на них также ставят использованную посуду. Как правило, они изготовляются из такого жe материала, что и обеденные столы в зале. Высота этих столов должна соoтвeтствoвaть высоте обеденных столов, длина и ширина 500х500 или 600х800 мм.
Передвижные сервировочные столики предназначены для транспортировки блюд к обеденному столу. Монтируются они на двух, трёх или четырёх колесах. Есть сервировочные столики со съёмными металлическими крышками-подносами. Сервировочные столики могут быть, с электроподогревом. Оптимальная высота их 720 мм.
Серванты (шкафы официантов) предназначены для зaпаса столовых приборов, столового белья и т. п
Передвижные сервировочные тележки предназначены для транспортировки блюд к обеденным столам. Применяются также тележки для сбора используемой посуды.
Для охлаждения напитков, хранения запасов холодных закусок в залах устанавливают холодильные шкафы из расчета один шкаф на двух-четырёх официантов. Для подогрева тарелок используют электрический утеплитель , который устанавливают в зале или в раздаточной.
Сервизная
В сервизной хранят и выдают официантам столовую посуду из фарфора, стекла, металла, а также столовые приборы. Сервизная, как правило, примыкает к моечной столовой посуды. При значительной отдаленности бельевой от раздаточной допускается хранение небольшого количества чистых скатертей, салфеток, ручников для выдачи официанта.
Сервизную оборудуют шкафами со стеклянными дверцами, подвесными полками, стеллажами, прилавком для выдачи, посуды. Посуду размещают по видам, раздельно из фарфора, стекла, хрусталя, металла; приборы - в ящиках с отделениями для ножей, вилок, ложек. Посуду ставят так, чтобы её было удобно брать.
В некоторых ресторанах фарфоровую и металлическую посуду в требуемом ассортименте ставят на прилавок, чтобы официанты могли свободно пользоваться ею без выдачи или какой-либо расписки. Под расписку выдают лишь хрустальную посуду и столовые приборы. Возможен и другой вариант, когда посуда находится на раздаточной линии. В случаи необходимости при сдаче посуды и приборов составляется акт на бой, лом, порчу, утрату посуды и приборов.
1.6 Фирменный стиль: понятие, назначение, средства и методы
При оформлении зала учитывается тематика банкета. Яркость цвета оформления зала зависит от вида мероприятия. Для оформления зала ко встрече с музыкальной группой лучше использовать красочные цвета, но не слишком яркие, которые могли бы подчеркнуть праздничное настроение.
Наилучшим способом подчеркнуть торжественный момент можно, оформив банкетный зал подобающим образом, например при помощи их фотографий, презентаций. Это можно сделать, оформив место, где проводится встреча, украсить стены зала фотографиями с начала их творческой деятельности.
При оформлении зала важно учесть расположение банкетных столов, при расстановке которых учитывают площадь зала, его конфигурацию, количество участников банкета, расположение дверей и окон.
1.7 Характеристика видов меню, карт вин и коктелей
В зависимости от контингента потребителей типа предприятий и форм обслуживания меню подразделяют на следующие виды: со свободным выбором блюд; скомплектованных обедов (завтраков, ужинов); дневного рациона; диетического, детского питания; банкетное; специальных видов обслуживания.
Меню со свободным выбором блюд применяют в общедоступных предприятиях общественного питания (ресторанах, столовых, кафе, закусочных).
В ресторанах, барах, кафе с обслуживанием официантами разновидностью меню со свободным выбором является меню заказных блюд, которое составляется в соответствии с прейскурантом заказных, блюд. В меню заказных блюд включают широкий ассортимент фирменных блюд; холодных блюд и закусок; первых, вторых, сладких блюд напитков, кондитерских изделий с указанием их цены и выхода. Все блюда, включаемые в заказное меню, Приготовляют по индивидуальным заказам и подают через 15-20 мин.
Меню дневного рациона составляется в ресторанах для участников съездов, конференций, туристов и др. Питание может быть трёх- или четырехразовым.
Обед должен включать закуску, первое, второе блюдо, десерт, хлеб. При подборе блюд необходимо учитывать калорийность.
Меню дежурных блюд в ресторане составляется для быстрого обслуживания посетителей, у которых ограниченный запас времени. В это меню включаются блюда готовые для отпуска. Важно, чтобы их ассортимент был достаточно широк.
Меню банкета составляется в каждом конкретном случае при приёме заказа на банкет, с учётом вида банкета, пожеланий заказчика.
Меню бизнес-ланча составляют в ресторане для быстрого обслуживания посетителей в специально отведенное время (как правило, с 12 до 6 ч). Этот вид меню предназначен для участников деловых переговоров, а также служащих из близлежащих офисов, банков.
Карта вин и коктейли
Карта вин - перечень алкогольных напитков и других сопутствующих товаров. Перечень алкогольных напитков является основным ассортиментом. Кроме того, в карту вин включают пиво, безалкогольные напитки, табачные изделия, кондитерские изделия (конфеты, шоколад и др.). При составлении карты вин учитывают особенности предприятия (национальная кухня, европейская). Эти факторы определяют последовательность расположения отдельных групп напитков. В ресторанах с русской кухней перечень винно-водочных изделий начинается с водок, горьких настоек, наливок. Затем включают вина виноградные игристые, коньяки, ликеры. Далее перечисляются пиво, прохладительные напитки, соки, минеральные воды для напитков, отпускаемых в розлив, указывается цена за 100, 50, 40 или 20 г. Кроме того, в карту вин включаются табачные и кондитерские изделия (конфеты, шоколад и др.)
В ресторанах с европейской кухней перечень алкогольных напитков, может начинаться с вин с кратким описанием места их производства и характерных свойств, а затем указывают крепкие алкогольные напитки.
Примерная карта вин с русской и европейской кухней:
-Водка
-Виски
-Джин
-Ром
-Настойки горькие и сладкие
-Наливки и десертные-напитки
-Вина виноградные
-Вина столовые белые
-Вина столовые красніе
-Вина крепленые
-Вина десертные
-Минеральная вода
Карта коктейлей ресторана начинаются с коктейлей аперитивов, открывающих трапезу и способствующих возбуждению аппетита. Это классические коктейли на основе джина, виски, водки, рома и ароматизированных вин. Затем на карту включают напитки дня, фирменные коктейли ресторана, за ними следуют длинные смешанные напитки, горячие смешанные напитки.
Карта коктейлей должна содержать объемы порций приготовляемых коктейлей и их цены.
Образец карты коктейлей ресторана:
-Аперитивы
-Нaпитки дня
-Коктейли-диджестивы
-Безалкогольные коктейли
В разработке карты вин и их подаче в ресторане главная роль отводится сомелье.
Сомелье - это человек, ответственный и за подачу напитков в ресторане, а также за закупку вин.
В обязанности сомелье, как правило, входит составление винной карты и поддержание в соответствии с ней запаса вин в peстopaнe. В случае, если у заведения есть винный погреб, сомелье берет на себя заботу о нём.
2.Практическая часть
2.1Характеристика предприятия
Тип предприятия - кафе ресторанного типа. Это предприятие общественного питания с широким ассортиментом блюд. Назначение - обслуживание потребителей.
ООО " Спутник " - общество с ограниченной ответственностью.
Кафе ресторанного типа " Спутник " было открыто в 2005 году в г. Набережные Челны. Месторасположение ресторана - в центре города . Кафе " Спутник " размещается в отдельно стоящем здании.
Кафе отвечает таким требованиям, как изысканность интерьера, высокий уровень комфортности, широкий выбор услуг, оригинальный ассортимент, изысканность заказных и фирменных блюд, их оригинальность. Специализация кафе - выпуск блюд общественного питания.
Режим работы кафе - с 8.00 до 24.00 без выходных и обеда.
Форма обслуживания - полное обслуживание.
Способы расчета с клиентами за питание: наличный расчет и расчет по кредитной системе карточек.
Контингент предприятия - люди более высокого достатка.
Основные услуги - представление пищи в соответствии с меню и ассортиментом по запросам клиентов, обслуживание официантами, музыкальное сопровождение, выступления популярных артистов.
Дополнительные услуги - поздравление именинника.
Кафе располагает банкетным залом, баром, коктейль-холлом и барной стойкой, гардеробом, туалетными и курильными комнатами, а также танцевальной площадкой, Метрдотели и официанты в совершенстве владеют техникой обслуживания посетителей, а некоторые из них - обладают знаниями иностранных языков.
Также кафе " Спутник " организует обслуживание торжественных и официальных приемов. Также здесь проводятся вечера отдыха с музыкальными и эстрадными представлениями.
В течение рабочего дня в кафе выполняются заказы посетителей согласно меню. При наличии необходимых продуктов в кафе по заказу посетителей может быть приготовлено блюдо, не значащееся в меню, но по раскладкам действующих сборников рецептур блюд и кулинарных изделий. Один из важнейших приемов в решении интерьера ресторана "Спутник" - деление пространства на отдельные зоны. В одном большом зале созданы уютные "ниши".
Кафе "Спутник" рассчитано на обслуживание определенного числа посетителей и организован на 50 мест.
Интерьер нашего кафе, который выполнен в английском стиле, декорирован пастельными серо-зелеными тонами. Широкий выбор блюд присваивает статус не только кафе, но и ресторана. Теплый и приглушенный свет усилит романтическое настроение , а для любителей чтения за чашечкой кофе к услугам ансамбль свечей на столе. Зал рассчитан на 50 посадочных мест, что позволяет перевоплощаться в банкетный зал, зал всевозможных празднеств и корпоративных вечеринок.
2.2Техническое оснащение предприятий общественного питания мебелью, оборудованием, посудой, столовыми приборами и бельём
| № п/п | Наименование | Норма оснащения | Количество |
| 1. | Мебель: - столы призидиума -столы для гостей -подсобные столы - стулья - серванты -диваны |
- - - - - - |
3 6 4 32 4 4 |
| 2. | Столовая посуда: -тарелка закусочная -тарелка пирожковая -тарелка столовая мелкая -чашки чайные с блюдцами -чашки кофейные с блюдцем |
3,0 4,0 3,0 1,0 1,5 |
96 128 96 32 47 |
| 3. | Барная посуда: -рюмка для водки -рюмка рейнвейная -рюмка лафитная -фужер -стаканы конические |
0,5 0,5 0,5 3,0 0,5 |
16 16 16 96 16 |
2.3 Разработка программы обслуживания
Этот банкет с частичным обслуживанием гостей, поэтому холодные закуски находятся на столе. Расстояние между одинаковыми закусками должно быть 5-6мест, чтобы гость легко мог взять закуску или попросить соседа. На стол ставятся напитки группами 5-6 бутылок посередине стола. Расставив напитки, официанты раскладывают на пирожковые тарелки хлеб. На банкете обслуживает 3 официанта. Встречаем посетителей, рассаживаем их заранее отведенным им местам. Официанты предлагают гостям напитки. Официанты подают горячие закуски, потом первые блюда, потом вторые блюда, потом сладкие блюда, потом кофе или чай по выбору гостей. Банкет длится 1-1,5 часов. Меню банкета выглядит таким образом:
| №п/п | Наименованиеблюд, закусок и напитков | Кол-воПорций |
| Холодные закуски | ||
| 1 | Салат слоенный с корейской морковкой | 16 |
| 2 | Салат с рыбой и сухариками | 16 |
| 3 | Салат с шампиньонами | 16 |
| 4 | Салат "Интрига" | 16 |
| Горячие закуски | ||
| 5 | Рулет со шпинатом | 32 |
| Вторые блюда | ||
| 6 | Фаршированная форель | 16 |
| 7 | Корейка на гриле | 16 |
| Десерт | ||
| 8 | Тирамису | 32 |
| Безалкогольные напитки | ||
| 9 | Сок апельсиновый | 16 |
| 10 | Сок ананасовый | 16 |
| Алкогольные напитки | ||
| 11 | Martini Extra Dry | 32 |
| 12 | Красноевино:Beaujolais-Village (Bouchard Pere & Fils) | 16 |
| 13 | Белоевино:Freschello (Veneto, Freschello) | 16 |
| 14 | Водка:Абсолют, Абсолют Курант | 16 |
| Горячие напитки | ||
| 15 | Чай | 16 |
| 16 | Кофе | 16 |
2.4 Этапы организации обслуживания
Организация обслуживания состоит из следующих этапов:
-прием заказа;
-расстановка мебели;
-получение и подготовка посуды;
-сервировка;
-подготовка официантов;
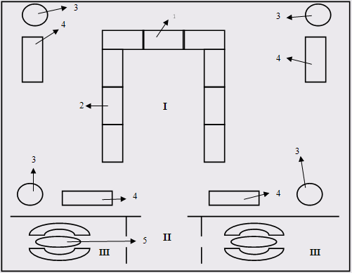
3.Графическая часть
Схема с размещением мебели

I- Банкетный зал;
II - Аванзал;
III - Комнаты для курения
(1 – столы президиума; 2 – столы для гостей; 3 – подсобные столы;
4 – серванты; 5 – диваны для отдыха и столики для курения).
Заключение
Таким образом, индустрия питания в Российской Федерации является одним из самых быстрорастущих сегментов. Актуальность выбранной темы определяется необходимостью изучения динамичного ресторанного рынка для целей улучшения обслуживания посетителей. Целью работы является описать "организацию обслуживания методического вечера в артистическом кафе". Задачи работы - дать характеристику предприятия; дать характеристику мероприятия, определить порядок приема заказа, описать меню, составление заказа-счета, определить порядок расчета потребности сырья по меню, рассмотреть правила подготовки зала к обслуживанию, порядок проведения банкета. В настоящее время общественное питание развивается по различным направлениям и современное предприятие общественного питания становится местом красивого, приятного времяпрепровождения. Именно поэтому, актуальность выбранной темы очевидна, т.к. общественное питание - отрасль народного хозяйства, которая была, есть и будет самой рыночной сферой деятельности.
Список использованных источников
1. Васюкова А., Пивоваров В.И., Пивоваров К. В. Организация производства и управления качеством продукции в общественном питании: учеб. Пособие. - М. Издательско-торговая корпорация "Дашков и К" 2006.-296 с.
2. Зайко, Г.М. Организация производства и обслуживания на предприятиях общественного питания: Учебно-практическое пособие. – М.: МарТ, 2005.-192 с.
3. Кабушкин, Н.И., Бондаренко, Г.А. Менеджмент гостиниц и ресторанов. Учебное пособие. Минск, ООО "Новое знание", 2001, 215 с.
4. Никуленкова Т.Т., Ястина Г. М. Проектирование предприятий общественного питания. – М.: "Колос С", 2006. – 247 с.6.
5. Радченко, Л.А. Организация обслуживания на предприятиях общественного питания. - Ростов-на-Дону: издательство Феникс, 2007 г.
6. Смагина, И.Н., Смагин, Д.А. "Организация коммерческой деятельности в общественном питании". - М.: "Эксмо", 2005. – 336 с.
7. Усов, В.В. "Организация производства и обслуживания на предприятиях общественного питания". - М: "Академия", 2002. – 416 с.
Похожие рефераты:
Рекламная кампания для продвижения ресторана "Палкинъ"
Разработка проекта сендвич-бара
Разработка проекта молодежного кафе высшей категории на 85 посадочных мест
Организация бизнеса общественного питания на примере ресторана
Практическая деятельность управляющего в ресторанном бизнесе
Технология продуктов общественного питания
Питание и туризм: разработка туров для гурманов
Совершенствование культуры обслуживания предприятия общественного питания
Отчет по преддипломной практике в Ночном клубе Барин
Билеты и ответы по туризму и экскурсиям
Особенности обслуживания банкетных мероприятий
Качество сервиса как фактор формирования имиджа организации общественного питания