| Похожие рефераты | Скачать .docx |
Курсовая работа: Проектирование цифровой коммутационной станции МиниКОМ DX-500ЖТ
КУРСОВОЙ ПРОЕКТ
Тема:
«Проектирование цифровой коммутационной станции МиниКОМ DX-500ЖТ»
Введение
Общие тенденции развития современных систем связи направлены на создание цифровых сетей, обеспечивающих организацию сетей с интегральным обслуживанием. Внедрение цифровых и волоконно-оптических систем передачи информации (ЦСП и ВОСП), а также цифровых систем коммутации (АТС-Ц) на уровне магистральных и дорожных сетей связи железнодорожного транспорта уже продемонстрировало известные преимущества цифровой техники в отношении качества организуемых каналов, технологичности обслуживания оборудования, расширения спектра предоставляемых услуг.
Перспективные цифровые сети связи должны создаваться с учетом следующих принципов:
1. Интеграция в единую цифровую сеть связи средств передачи телефонных, телеграфных, факсимильных сообщений, передачи данных, высокоскоростных широкополосных сигналов, включая видеоконференцсвязь и соединения высокопроизводительных компьютерных сетей в режиме реального времени.
2. Обеспечение единых алгоритмов процессов соединений, разъединений и обмена информацией между абонентскими пунктами сети.
3. Обеспечение единства стыков (интерфейсов) на различных уровнях иерархии сети связи.
4. Централизация технического обслуживания станционного и линейного оборудования с возможностью автоматического резервирования отказавшего оборудования.
5. Предоставление абонентам широкого круга дополнительных услуг, действующих по всей сети связи.
6. Объединение на железнодорожном транспорте системы оперативно-технологической связи и связи общего пользования с приоритетом в предоставлении услуг связи абонентам оперативных служб.
DX-500 удовлетворяет данным условиям, поэтому он является ступенью перехода на АТС нового поколения. Именно по этой причине я выбрала его как железнодорожную АТС. Он позволяет обеспечить ОТС на ЖД станциях и между ними благодаря протоколу DX-NET, т.е. мы будем использовать весь потенциал данного оборудования.
1. Разработка структурной схемы организации связи. Выбор типа соединительных линий
Первым шагом проектирования новой АТС является разработка структурной схемы организации связи и выбор типа соединительных линий. В первую очередь необходимо получить информацию о проектируемой сети: какие объекты будет обслуживать проектируемая ЖАТС; тип и назначение окружающих (встречных) АТС, с которыми будет связана новая ЖАТС.
ЖАТС-2 – Мини КОМ DX-500 – это полностью цифровая коммутационная станция. Её архитектура позволяет строить сети связи в конфигурации с многократным доступом к одному или нескольким цифровым трактам, что существенно повышает эффективность использования каналов связи и увеличивает пропускную способность сети.
Второй этап – выбор типа соединительных линий.
Для межстанционного взаимодействия система Мини Ком DX-500 использует фирменный протокол DX-NET, который обеспечивает полный обмен служебной информацией между частями станции. Работа с другими АТС организована по стандартным протоколам EDSS-1.
|

Схема организации связи
Аппаратура МиниКОМ DX-500.ЖТ предназначена для применения в качестве распорядительной станции единого диспетчерского центра управления (ЕДЦУ) дорожной и отделенческой системы оперативно-технологической связи, а также в качестве исполнительной аппаратуры на станциях всех типов, депо, промышленных предприятиях. Данная аппаратура может использоваться в качестве распорядительной, исполнительной или исполнительно-распорядительной станции (в том случае если на исполнительной станции часть пультов включены в распорядительном режиме).
Для применения в системе общетехнологической связи предусмотрена аппаратура МиниКОМ DX-500 предназначенная для строительства АТС емкостью до 4000 аналоговых портов, при этом в зависимости от емкости АТС она может быть размещена, как в отдельном, так и общем шкафу с аппаратурой ОТС.
Краткое техническое описание аппаратуры МиниКОМ DX-500.ЖТ
Аппаратура предназначена для организации в цифровых, цифро-аналоговых и аналоговых сетях следующих видов связи:
· всех видов диспетчерской связи, постанционной связи и каналов поездной радиосвязи;
· перегонной и межстанционной связи;
· станционной распорядительной и стрелочной связи;
· каналов тональной частоты и передачи данных (в цифровых сетях).
Функциональные возможности
По функциональным возможностям аппаратура отвечает требованиям «Технического задания на аппаратуру ОТС-Ц», утвержденному 12 марта 1998 года.
|
С целью резервирования на случай разрыва кабеля возможно резервирование тайм-слотов из потока Е1 каналами ТЧ. Для каждой линии избирательной связи необходимо один канал ТЧ для разговорного канала (В-канал) и не менее одного канала ТЧ на две линии избирательной связи для канала сигнализации (D-канал).
На любой станции возможно подключение до 2-х ответвлений, организованных в цифровых потоках Е1. Это подключение выполняется аналогично приведенному на рисунке через мостовую станцию.
При наличии аналоговых ответвлений от линии избирательной связи они подключаются к аппаратуре МиниКОМ DX-500.ЖТ через специализированные субмодули, которые преобразуют цифровую сигнализацию и речь, передающуюся по Е1 в аналоговую и обратно.
Все абоненты стрелочной станционной распорядительной связи, линии перегонной и межстанционной связи и каналы ТЧ и передачи данных включаются в аппаратуру через соответствующие специализированные субмодули. Межстанционная связь, коме того, может быть организована по одному из речевых каналов потока Е1, выделяемого на каждой станции.
При организации оперативно-технологической связи на больших железнодорожных станциях при установке коммутаторов МиниКОМ DX-500.ЖТ в нескольких местах станции (с распределенным включением абонентов) необходимо соединить эти коммутаторы потоками Е1 по схеме каждый с каждым. Использование в этих потоках специализированного протокола DX-NET позволяет получить единый пространственно-распределенный коммутатор, причем включение как входящего так и исходящего цифровых потоков групповых диспетчерских связей может выполняться в любой коммутатор данной станции. Для организации внутристанционных потоков Е1 может использоваться медный симметричный кабель (при расстояниях до 1 км), системы передачи по ВОЛС либо модемы, работающие по протоколам xDSL.

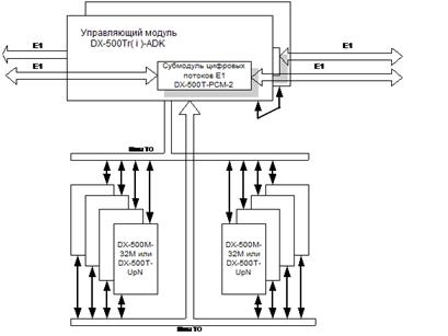
Структурная схема аппаратуры МиниКОМ DX-500.ЖТ
В состав аппаратуры входят следующие модули (кластеры):
– DX-500Tr-ADK – управляющий модуль (кластер) распорядительной или исполнительно-распорядительной станции. В аппаратуре устанавливается 2 модуля, один из которых является главным по отношению ко второму. В каждом модуле хранится версия программного обеспечения и конфигурационные данные, но только в главном находится единственно верная версия ПО и данных. Второй модуль, не являющийся главным постоянно сверяет свои данные с данными мастера и в случае обнаружения расхождений исправляет свои данные. Каждый модуль в нормальном режиме работы управляет своими 4-мя модулями, среди которых могут быть модули линейных комплектов (DX-500М – 32М) или цифровых интерфейсов (DX-500T – 16UpN). В аварийном режиме, при выходе из строя одного модуля ADK управление переходит ко второму, исправному модулю.
– DX-500Ti-ADK – управляющий модуль исполнительной станции. Все вышесказанное о модуле DX-500Tr – ADK относится и к модулю DX-500Ti– ADK. Отличаются программным обеспечением.
– DX-500Tе-ADK – управляющий модуль для ЕДЦУ. Все вышесказанное о модуле DX-500Tr – ADK относится и к модулю DX-500Tе – ADK. Отличаются программным обеспечением.
– DX-500T-РСМ-2 – субмодуль на два цифровых потока Е1. Располагается на модуле DX-500Tr – ADK, DX-500Ti-ADK и DX-500Tе-ADK.
– DX-500T-16UpN – модуль цифровых интерфейсов на 16 портов. Позволяет подключить до 16 цифровых (BRI) пультов по U стыку. Один модуль DX-500Tr (e) (i) – ADK обслуживает до 2-х модулей DX-500T-16UpN. При этом работа пульта гарантированно обеспечивается при дальности выноса пульта от аппаратуры на расстояние до 2,0 км (при использовании кабеля 5-ой категории скрутки или магистрального кабеля). Возможен вынос пульта на расстояние до 3,0 км, но только после проведения соответствующих измерений абонентской линии. В качестве абонентского терминала используются цифровые телефоны (пульты) OptisetComfort, позволяющие подключить до 4-х приставок (консолей) на 16 именных клавиш каждая.
– DX-500М-32М – модуль линейных комплектов. На модуле устанавливаются от 1 до 16 субмодулей линейных комплектов, имеющих в своем составе 1 или 2 порта (зависит от типа субмодуля; цифра 1 или 2 в названии субмодуля обозначает количество портов). Таким образом, на модуле может быть размещено от 1 до 32 портов.
Ниже приведено описание субмодулей, устанавливаемых на модуль DX-500М-32М.
– DX-500-А02S– субмодуль абонента ЦБ. Возможна установка до 16 штук на любое место любого модуля DX-500М-32М.
– DX-500Т-А01SLT– субмодуль абонента имеющего право выхода в групповой канал. Возможна установка до 16 штук на любое место модулей DX-500М-32М, расположенных на двух ближних к плате DX-500Т-ADK местах (с номерами 0 или 1 на рис. 7).
– DX-500Т-А01PGS– субмодуль линии перегонной связи. Возможна установка до 16 штук на любое место любого модуля DX-500М-32М.
– DX-500Т-А01KSP– субмодуль 2-х проводной линии избирательной связи с согласованным подключением (600 Ом). Возможна установка до 16 штук на любое место модулей DX-500М-32М, расположенных на двух ближних к плате DX-500Т-ADK местах (с номерами 0 или 1 на рис. 7).
– DX-500Т-А01KVP– субмодуль 2-х проводной линии избирательной связи с высокоомным подключением (20 кОм). Возможна установка до 16 штук на любое место модулей DX-500М-32М, расположенных на двух ближних к плате DX-500Т-ADK местах (с номерами 0 или 1 на рис. 7).
Схема, поясняющая использование субмодулей DX-500Т – А01KVP и DX-500Т – А01KSP приведена на рис. 2.
– DX-500Т – А01PRS– субмодуль 2-х проводной линии поездной радиосвязи. Возможна установка до 16 штук на любое место двух ближних к платам DX-500Т-ADK модулей DX-500М-32М.
– DX-500-А02F– субмодуль канала тональной частоты (ТЧ). Возможна установка до 8 штук на места с 8 по 23 любого модуля DX-500М-32М, но не более 16 штук на один модуль DX-500Т-ADK.
– DX-500-А02Т – субмодуль 2-х проводной линии с питанием извне (например абонентская линия другой АТС, линия от комплекта ЦБ другого устройства). Возможна установка до 16 штук на любое место любого модуля DX-500М-32М.
Типы линейных комплектов аппаратуры МиниКОМ DX-500.ЖТ
4-х проводное окончание ТЧ (DX-500-A02F). Позволяет включить в станцию канал тональной частоты, который можно использовать для подключения:
– аналогового ответвления к каналу диспетчерской связи или стационарной радиостанции РС6 (РС46М) к каналу ПРС-С на исполнительной станции;
– к распорядительной коммутационной станции аналоговой каналообразующей аппаратуры;
– к каналу дуплексной поездной радиосвязи стационарной радиостанции;
– линий телеуправления (ТУ) и телесигнализации (ТС);
– устройств для регистрации переговоров (магнитофон и т.п.);
– 4-х проводных соединительных линий к АТС с различным типом сигнализации (для применения в станции ОбТС).
На субмодуле расположено два канала ТЧ. Устанавливается на модуль DX-500М-32М только на места портов с номерами с 8 по 23. Таким образом на модуле может быть расположено 8 субмодулей. Один модуль DX-500Tr (е) (i) – АDK поддерживает работу 16-ти субмодулей DX-500-А02F.
Номинальный уровень передачи
в сторону канала ТЧ минус 13 дБ
IZI = 600 Ом
Номинальный уровень приема
от канала ТЧ + 4,0 дБ
IZI = 600 Ом
Для подключения радиостанции
номинальный уровень в сторону
передатчика радиостанции + 4,0 дБ
Номинальный уровень от приемника
радиостанции минус 13 дБ
Указанные уровни могут программно изменяться в пределах от –13 до +4 дБ с шагом 1 дБ.
– 2-х проводное окончание ТЧ (DX-500T-A01-KSP). Позволяет подключать 2-х проводную линию избирательной связи на аналоговых ответвлениях. Выполняет функцию согласующего устройства и преобразования кодов С2/11, передающихся в цифровом виде по цифровому групповому каналу, в частотные посылки. На субмодуле расположено два порта, к одному из которых подключается линия избирательной связи, а на другом порту реализовано устройство управления голосом (УУГ). Требует дополнительной настройки, которая проводится в процессе пуско-наладочных работ. Устанавливается только на 0-й или 1-ый (см. рис7) модуль DX-500М-32М (порты с 0 по 63). В субмодуле реализована система АРУ и регулировка АЧХ в пределах –3…+3 дБ.
Номинальный уровень передачи
в сторону линии +3 дБ
Уровень приема от линии +5 ¸ минус 20 дБ
IZI = 600 Ом
– 2-х проводное окончание ТЧ (DX-500T-A01-KVP). Позволяет подключать аппаратуру МиниКОМ DX-500.ЖТ к 2-х проводной линии избирательной связи.
Номинальный уровень передачи
в сторону линии +5 дБ
Уровень приема от линии +5 ¸ минус 20 дБ
I Z I при приеме и передаче > 20 кОм
Не позволяет работу по воздушным линиям связи.
Линейный комплект рассчитан на прием и дешифрацию сигналов тонального избирательного вызова С2/11.
– 2-х проводное окончание (DX-500T-A01-SLT) абонента имеющего право выхода в групповой канал. Позволяет подключать телефонные аппараты абонентов избирательной связи вместо существующих промпунктов на станциях или на ответвлениях, на которых расположен один промпункт с заменой промпункта на телефонный аппарат ЦБ. На субмодуле расположено два порта, к одному из которых подключается абонентское устройство, а на другом порту реализовано устройство управления голосом (УУГ). Устанавливается только на 1-й или 2-ой модуль DX-500М-32М (порты с 0 по 63). Требует дополнительной настройки.
– 2-х проводное окончание (DX-500-A02S) абонента ЦБ. На субмодуле расположено два порта, позволяющие подключить двух абонентов ЦБ (абонентов станционной распорядительной связи), педали диспетчера (дежурного).
– 2-х проводное окончание (DX-500Т-A01PGS) для подключения к коммутационной станции линии перегонной связи. В качестве абонентских терминалов могут использоваться трубки перегонной связи сопротивлением 6 кОм при подключении к линии и 600 Ом при нажатой тангенте, как без номеронабирателя так и с ним. Набор номера возможен шлейфными импульсами и в режиме DTMF. Не поддерживает индукторный вызов абонента. На субмодуле расположено два порта, к одному из которых подключается линия перегонной связи, а на другом порту реализовано устройство управления тангентой.
– 2-х проводное окончание (DX-ALB -02) для подключения к коммутационной станции двух линии межстанционной связи. Преобразует индукторно-шлейфовую сигнализацию (ЦБ) в индукторную (МБ). Может использоваться для организации межстанционной связи по физической линии. Включается за субмодулем DX-500-А02S. Выполнен в наружном исполнении и на модуль DX-500М-32М не устанавливается.
– 2-х проводное окончание (DX-500Т-A01PRS) для подключения к каналу поездной радиосвязи симплексной радиостанции ЖРУ. Выполняет функцию согласующего устройства и преобразования кодов С2/6, передающихся в цифровом виде по цифровому групповому каналу, в частотные посылки, вырабатывает напряжение постоянного тока 60В для включения радиостанции на передачу.
– Окончание (DX-500Т-DT64) на два канала передачи данных (ПД) по стыку RS-232. В асинхронном режиме обеспечивает работу со скоростью до 19200 Бит/с, при расстоянии до аппаратуры ПД не более 15 м. В синхронном режиме обеспечивает работу со скоростью 64 кБит/с, при расстоянии до аппаратуры ПД не более 10 м.
– 2-х проводное окончание (DX-500-А02Т) для подключения линии с питанием извне. Позволяет подключить 2-х проводную абонентскую линию от другой АТС, существующие типы пультов руководителей, работающих по сигнализации ЦБ с питанием в линию.
Устройства сопряжения для подключения цифровых каналов
Устройства сопряжения для каналов 34 Мбит\с.
В качестве системы передачи по ВОЛС в аппаратуре МиниКОМ DX-500.ЖТ возможно использование аппаратуры ТЛС-31 завода «Морион», аппаратуры Т-316 выпускаемой ЗАО «Ротек» и др.
При проектировании необходимо учитывать, что световодные соединительные шнуры (patch-cord) длинной 30 м с разъемами FC входят в комплект поставки аппаратуры ТЛС-31. В комплект поставки аппаратуры Т-316 патч-корды не входят. Не входят в комплект поставки обоих типов аппаратуры и кабели для соединения аппаратуры и кроссового оборудования.
Устройства сопряжения для каналов Е1 (2048 кбит\с).
Устройством сопряжения для каналов Е1 (2048 кбит\с) в аппаратуре МиниКОМ DX-500.ЖТ является модуль DX-500Т-РСМ-2, который рассчитан на включение 2-х потоков Е1. Поддерживается работа с линейным кодированием HDB3 и AMI. Чувствительность тракта приема регулируется от 1,36 до 0,22 В.
Кассеты с модулями аппаратуры, блок питания и аккумуляторные батареи размещаются в шкафу размером 1900х600х600. Шкаф имеет стеклянную переднюю дверь, закрывающуюся на ключ и съемные боковые и заднюю стенки. Ввод кабелей возможен через верхнюю или нижнюю стенку, в которых имеются заготовки под отверстия. К шкафу необходимо обеспечить доступ с передней и задней стороны не менее 1 м. В исключительных случаях допускается отсутствие доступа со стороны задней стенки, что может привести к неудобствам при обслуживании аппаратуры.
Заземление аппаратуры осуществляется соединением шины заземления, расположенной на нижней крышке со стороны задней стенки, с общим контуром заземления помещения.
Электрическое кроссовое оборудование располагается вне шкафа на минимально возможном удалении. В комплект поставки аппаратуры входит необходимое количество мерных кабелей длинной 5 м для соединения с кроссом. При большем удалении кросса от шкафа с аппаратурой дополнительную длину кабеля необходимо предусматривать в проекте. Для соединения одной установленной в кассете платы DX-500M-32M или DX-500T-UpN с кроссом необходимо два 25-парных экранированных кабеля, для платы DX-500T-ADK– один кабель.
Варианты комплектации аппаратуры для разного типа объектов
Благодаря модульному принципу построения аппаратуры в зависимости от типа объекта возможна любая комплектация аппаратуры с соблюдением некоторых ограничений.
В одной кассете можно расположить:
- два модуля DX-500Т-ADK с субмодулями DX-500Т-РСМ-2 на каждом;
- восемь модулей DX-500М-32М или четыре модуля DX-500М-32М и четыре модуля DX-500Т-UpN;
- 32 субмодуля DX-500-A02F;
- 64 субмодуля DX-500-A01SLT, – A01KSP, – A01KVP.
Способ размещения субмодулей на модуле линейных комплектов DX-500М-32М описан в п. 3.3.
Разработка плана нумерации
Нумерация АЛ должна быть выполнена с учетом единой нумерации, которая включает в себя 3 правила:
1. Все номера абонентов должны быть четырех- или пятизначными;
2. Первая цифра абонентского номера указывает на административную принадлежность:
цифра 1 – справочная служба;
цифра 2 – линейные предприятия;
цифра 3 – отделения дороги;
цифры 4,5 – управление дороги;
цифры 6,7, – резервные и используются для дополнительных административных номеров или номеров квартирного сектора;
цифра 8 – выход в сеть ГАТС;
цифра 0 – выход в сеть ДАТС.
3. Руководящие работники ж/д транспорта, занимающие одинаковые должности, но находящиеся на разных ж/д узлах должны иметь строго фиксированные телефонные номера.
Таблица 1. План нумерации
| № | Вид соединения | № направления | Исходящая связь | Входящая связь | ||
| № набир. аб. проек. АТС | № вызыв. в лин. | № набир. аб. встреч. АТС | Поступ. № | |||
| 1. | Внутристанционное соединение. | 0 | 22 – 00/44 – 39 | 65–65–00/ 76–96–84 |
||
| 2. | Стол заказов. | 1 | 1 – 22 | |||
| 3. | отделения дороги | 2 | 1–34 | |||
| 4. | управление дороги | 3 | 3–33 | |||
| 5. | управление дороги | 4 | 5–55 | |||
| 6. | Пожарная охрана. | 5 | 1–01 | |||
| 7. | Скорая помощь. | 6 | 1–03 | |||
| 8. | ГАТС. | 7 | 8A ххххх (гор. службы) 80х (гор. службы) 80 хх (зон. связь) 88сс2АБ (меж. гор) 88ссАБС |
Аххххх 0х(х) 8сс2АВ 8ссАВС 8сс10 |
54–36–56/ 24–55–44 |
|
| 9. | ЖАТС-1 | 8 | 35–60/39–99, 60–00/65–84 | 35–60/39–99, 60–00/ 65–84 |
55–34–40/ 45–70–92 |
|
| 10. | ДАТС | 9 | 0-DEFхххх | хххx | ||
Проектируемая ЖАТС-2 имеет емкость 229 и обслуживает среднюю ж/д станцию. Значит, номера абонентов ЖАТС-2 будут начинаться с цифры 2, а именно 22–00/22–79. ЖАТС-1 типа DX-500, обслуживающее отделение дороги, емкостью 2048 будет иметь следующие номера 31–00/31–49, 33–00/33–49.
2. Расчет числа соединительных линий
Расчет возникающей абонентской нагрузки
Осуществляется отдельно от утренней и вечерней наибольшей часовой нагрузки (ЧНН). Для дальнейших расчетов выбираем максимальную. Нагрузка утреннего ЧНН рассчитывается по формуле:
Уутр =Уj утр.чнн +Уi утр.вр. [эрланг]
Уутр – суммарный интервал нагрузки утром;
Уj утр.чнн – нагрузка, создаваемая абонентом категории j, имеющий утренний максимальный ЧНН;
Уi утр.вр. – нагрузка, создаваемая утром абонентом категории i, имеющий вечерний максимальный ЧНН.
Будем считать, что все абоненты административного сектора (категории j) имеют максимальный утренний ЧНН, а все абоненты квартирного сектора (категории i) имеют максимальный вечерний максимальный ЧНН.
Уj утр.чнн =Nj *Yj [эрл]
Nj – число абонентов j-ой категории;
Yj – интенсивная нагрузка абонентов.
Уi утр.вр. =Уi веч.чнн /1,6 [эрл]
Уi веч.чнн = Ni *Yi
[эрл]
[эрл]
Yутр =(191+38)*0.7*0,75+(191+38)*0.3*0,25/1,6=77.98 эрл
Yвеч =229*0,3*0,25+229*0,7*0,75/1,6=59.5 эрл
Для дальнейших расчетов выбираем максимальную нагрузку (Yутр ), т. к. Yутр >Yвеч . Полученную среднюю нагрузку необходимо пересчитать в расчетную по формуле:
[эрл]
Yутр.р. =77.98 +0,6742*√77.98=83.93
Определение количества соединительных линий
Рассчитаем коэффициент тяготения станции ЖАТС-2 и ЖАТС-1.
Ктяг =(Nma +Nm ц )/(Nж1 + Nma +Nm ц )
Ктяг =229/(229+512)=0.309 – 30%
Из этого коэффициента мы узнаем процент внутристанционной нагрузки (Квнутр определяется по таблице 7.3 «Норм технического проектирования» НТП 112–2000)
Квнутр =46% (по таблице)
Кисх =100 – Квнутр =100–46=54%
Yутр.р.внутр = Yутр.р * Квнутр
Yутр.р.внутр =83.93*0,46 =38.6 эрл
Yутр.р.исх. = Yутр.р. – Yутр.р.внутр
Yутр.р.исх =83.93–38.6=45.33 эрл
Количество соединительных линий к ЖАТС-1 определяется по таблице эрлангов в учебнике Ильина «Проектирование междугородних телефонных станций». Приложение 3 стр. 225 по нагрузке Yутр.р.исх и потерях ‰.
Количество соединительных линий к ЖАТС-1=58.
Для организации связи от ЖАТС-2 к ЖАТС-1 организуем 2 потока Е1.
Количество линий ОПТС ТФ ОП выбирается по таблице 7.7 «НТП 112–2000» в зависимости от емкости проектируемой станции.
Емкость ЖАТС-2= Nma +Nm ц =229
Исходящая связь – 10
Входящая местная – 10
Входящая междугородняя связь – 4
В сумме количество линий на ГАТС составляет 24, значит нам потребуется организовать 1 поток Е1.
3. Определение объема оборудования
Следующим шагом в проектировании цифровой станции является определение объема оборудования.
Сначала рассчитаем число субмодулей, далее в расчетах пойдем по возрастающей от количества субмодулей до количества базовых блоков.
Расчет количества субмодулей DX-500 А02S
NА02 S = Nma /2=191/2=96
Расчет количества субмодулей DX-500 A02F
NA 02 F =(Nавт +Nручн )/2=(18+26)/2=22
Субмодуль DX-500 PCM-2: нет
Nma +Nm ц *2=191+38*2=267
Данную рассчитанную емкость может в себя вместить одна стандартная конфигурация.
Расчет числа периферийных модулей
Рассчитываем количество рабочих мест телефонисток
NT =Nрк ЖАТС-2 /8=18/8=3
Затем рассчитываем количество цифровых интерфейсов DX-500 UpN16
NUpN 16 = (Nm ц +Nт )/16=(38+3)/16=3
Затем рассчитываем количество цифровых интерфейсов DX-500 32M
N32 M = (NА02 S + NA 02 F )/16=(96+22)/16=8
Затем рассчитываем количество цифровых интерфейсов DX-500 PCM-4
NPCM -4 =(NE 1 внеш + NE 1 внутр )/4
NE 1 внеш =NE 1 ГАТС +NE 1 ЖАТС-1
NE 1 внеш =1+1=2 потока Е1
NE 1 внутр =2 потока Е1
NPCM -4 =(2+2)/4=1 кластер
Расчет числа кассет
Рассчитаем количество кассет на 256 портов
I/4 типа DX-500M-CR 250–4;
II/5 типа DX-500M-CR 250–5.
Количество кассет определяется по формуле:
Nк =(NUpN 16 + N32 M )/8
Nк =(3+8)/8=2 кассеты
Расчет числа управляющих модулей
Рассчитываем количество управляющих модулей DX-500 ADK
NADK = Nк *2=2*2=4 модуля
Рассчитаем количество коммутационных центров DX-500 CPU
NCPU =Nст.станц. *2=1*2=2 модуля
Модули DX-500 CPU ставятся только парами в кассете I/4.
Расчет числа базовых блоков
Базовые блоки бывают двух типов:
1. DX-500S-BX1000Y – на 1024 порта (в него помещается 4 кассеты)
2. DX-500S-BX500Y – на 512 портов (в него помещается 2 кассеты)
4. Разработка комплектации штатива
Из вышеприведенных расчетов мы узнаем какое оборудование необходимо приобрести для организации новой ЖАТС-2.
Российская организация «Информтехника и связь» город Москва, специализирующаяся на производстве АТС МиниКом DX-500 и комплектующих к ней предлагает на продажу перечень комплектующих из которых мы и будем выбирать необходимые.
1. DX – 500S – BX 500У – базовый блок на 512 портов, универсальный, 2 кассеты.
2. DX – 500S – BX 1000У – базовый блок на 1024 портов, универсальный, 4 кассеты.
3. DX – 500M – CR 250 – 4 – кассета с кросс платой на 256 портов, тип 4.
4. DX – 500M – CR 250 – 5 – кассета с кросс платой на 256 портов, тип 5.
5. DX – 500M – ADK – управляющее устройство на 128 портов (абонентский кластер).
6. DX – 500M – CPU – модуль центрального коммутационного поля.
7. DX – 500M – PCM – 4 – модуль на 4 цифровых потока E1.
8. DX – 500M – 8UpN – модуль на 8 цифровых интерфейсов.
9. DX – 500M – 16UpNM – модуль на 16 цифровых интерфейсов.
10. DX – 500M – 32M – модуль аналоговых интерфейсов на 32 устройства.
11. DX – 500M – PCM – 2 – модуль на 2 цифровых потока E1.
12. DX – 500M – A02S – субмодуль на 2 аналоговых абонентских линии.
13. DX – 500M – A02T – субмодуль на 2 двухпроводных соединительных линии.
14. DX – 500M – A02F – субмодуль на 2 канала ТЧ.
15. PS – DC – цифровой телефонный аппарат типа «Комфорт».
16. PS – DC – 16 – приставка к телефонному аппарату типа «Комфорт».
17. PS – AT – головная аппаратура.
18. PS – AA – акустический адаптер.
19. BP – E2 – блок питания 48В, 600Вт, может питать 1 кассету.
20. BP – E3 – блок питания 48В, 900Вт, может питать 2 кассеты.
21. BPR – 20 – аккумуляторная батарея на 20 ампер часов рассчитанная на питание 1 кассеты в течение 2 часов.
22. BPR – 65 – аккумуляторная батарея на 65 ампер часов рассчитанная на питание 2 кассет в течение 3 часов.
23. BPR – 70 – аккумуляторная батарея на 70 ампер часов рассчитанная на питание 2 кассет в течение 3 часов.
24. KR – 300 – кросс на 300 пар с линейной и станционной сторон.
25. KR – 400 – кросс на 400 пар с линейной и станционной сторон.
26. KR – 600 – кросс на 600 пар с линейной и станционной сторон.
27. KR – 1000 – кросс на 1000 пар с линейной и станционной сторон.
28. KR – 1200 – кросс на 1200 пар с линейной и станционной сторон.
29. KR – 2000 – кросс на 2000 пар с линейной и станционной сторон.
30. KR – 3000 – кросс на 3000 пар с линейной и станционной сторон.
31. KR – PL – P1 – плинт неразъемный на 10 пар.
32. KR – PL – P2 – плинт разъемный на 10 пар.
33. KR – PRC – P1 – модуль комплексной защиты на 1 пару.
34. Терминал оператора.
Комплектация проектируемой АТС должна быть оптимальной, то есть:
· Соответствовать требованиям проектируемой сети связи.
· Обладать максимальной надежностью.
· Предусматривать возможное развитие сети связи.
· Обладать минимальной стоимостью.
Список выбранных для монтажа АТС комплектующих приведен в таблице 2 «Спецификация на оборудование МиниКом DX – 500.
Таблица 2. Спецификация на оборудование МиниКом DX-500
№ п/п |
Наименование оборудования | Кол-во | ЗИП 4% | Всего |
| 1. | DX – 500S – BX 500У – базовый блок на 512 портов, универсальный, 2 кассеты. | 1 | 0 | 1 |
| 2. | DX-500М – CR 250–4 – кассета с кросс платой на 256 портов, тип4 | 1 | 0 | 1 |
| 3. | DX-500М – CR 250–5 – кассета с кросс платой на 256 портов, тип 5. | 1 | 0 | 1 |
| 4. | DX-500М-ADK – управляющее устройство на 128 портов. | 4 | 0 | 4 |
| 5. | DX-500М-CPU – модуль центрального коммутационного поля. | 2 | 0 | 2 |
| 6. | DX-500М-PCM-4 – модуль на 4 цифровых потока Е1. |
1 | 0 | 1 |
| 7. | DX-500М-16UpN – модуль на 16 цифровых интерфейсов. | 3 | 0 | 3 |
| 8. | DX-500М-32М – модуль аналоговых интерфейсов на 32 устройства. | 8 | 0 | 8 |
| 9. | DX – 500M – A02F – субмодуль на 2 канала ТЧ. | 22 | 0 | 22 |
| 10. | DX-500М-A02S – субмодуль на 2 аналоговых абонентских линии. | 96 | 4 | 100 |
| 11. | PS – DC – цифровой телефонный аппарат типа «Комфорт». | 3 | 0 | 3 |
| 12. | PS – DC – 16 – приставка к телефонному аппарату типа «Комфорт». | 6 | 0 | 6 |
| 13. | PS – AT – головная аппаратура. | 3 | 0 | 3 |
| 14. | PS – AA – акустический адаптер. | 3 | 0 | 3 |
| 15. | BP-E3 – блок питания 48В, 900Вт, может питать 2 кассеты. | 1 | 0 | 1 |
| 16. | BPR-70 – аккумуляторная батарея на 70 ампер часов, рассчитанная на питание 2 кассет в течении 3 часов. | 2 | 0 | 2 |
| 17. | KR – 300 – кросс на 300 пар с линейной и станционной сторон. | 1 | 0 | 1 |
| 18. | KR – PL – PI – плинт неразъемный на 10 пар. | 27 | 1 | 28 |
| 19. | KR – PL – P2 – плинт разъемный на 10 пар. | 27 | 1 | 28 |
| 20. | KR – PRC – P1 – модуль комплексной защиты на 1 пару. | 267 | 11 | 278 |
Конфигурация стандартная, то есть мы используем:
DX-500М-CPU – модуль центрального коммутационного поля.
DX-500М-PCM-4 – модуль на 4 цифровых потока Е1.
5. Разработка плана размещения оборудования
Станция может быть размещена на горизонтальной поверхности. Шкаф МиниКОМ DX-500 должен быть доступен с передней и с боковых сторон, на которых находятся промщиты. В аппаратном помещении должно быть предусмотрено место для технического обслуживания и ремонтных работ, кроссового оборудования, шкафа для документации и различного дополнительного оборудования (например, модемов).
Существует несколько важных факторов, которые влияют на выбор места установки станции:
– поверхность, на которой устанавливается станция, должна быть ровной,
со сторон промщитов должно быть достаточно места для выполнения кроссировочных работ (75–90 см.),
– к станции должен обеспечиваться без препятственный доступ для выполнения монтажных работ на промщите и передней панели,
– допускается установление станции задней панелью вплотную к стене, но при необходимости выполнения работ с задней стороны станции необходимо предусмотреть свободное пространство не менее 90 см.
Установка оборудования производится по стандарту и разрабатывается на чертежах по госту. План размещения оборудования данного курсового проекта изображен на листе 5 графического материала.
6. Разработка плана кабельной проводки
При разработке кабельной проводки использовались следующие типы кабеля:
UTP (UnshieldedTwistedPair) 4*2*0,4 и UTP 25*2*0,4 – кабель на основе скрученных пар медных проводов – неэкранированная витая пара.
Телефонная пара – простая изолированная медная пара.
ТПП 100*2*0,5 – городской телефонный кабель с ПЭ изоляцией и оболочкой. Изготовляется с медными жилами диаметром 0,5, повивной и четверочной скрутки.
Кабели должны прокладываться и монтироваться при температуре не ниже –100 С. Кабели предназначены для эксплуатации при температуре от –50 до +500 С
Расстояние от ЖАТС-1 до ЖАТС-2 – 9 км, от ЖАТС-2 до ОПТС – 13 км, от ЖАТС до ДАТС – 15 км.
7. Правила техники безопасности и охрана труда
1. Требования к электротехническому персоналу
1.1 Эксплуатацию электроустановок в устройствах связи, радио, вычислительной технике и других должен осуществлять специально подготовленный электротехнический персонал.
1.2. Лица, не достигшие 18-летнего возраста, не могут быть допущены к работам в электроустановках.
Лица из электротехнического персонала не должны иметь увечий и болезней (стойкой формы), мешающих производственной работе.
Лица из электротехнического персонала должны после соответствующей теоретической и практической подготовки пройти проверку знаний и иметь удостоверение на допуск к работам в электроустановках.
1.3. Практикантам институтов, техникумов, профессионально-технических училищ, не достигшим 18-летнего возраста, разрешается пребывание в действующих электроустановках под постоянным надзором лица из электротехнического персонала с группой по электробезопасности не ниже IV– в установках напряжением до и выше 1000 В.
Допускать к самостоятельной работе практикантов, не достигших 18-летнего возраста, и присваивать им группу по электробезопасности III и выше запрещается.
1.4. Состояние здоровья электротехнического персонала определяется медицинским освидетельствованием при приеме на работу и затем периодически в зависимости от вида выполняемых работ, в следующие сроки:
лица, обслуживающие установки с постоянными магнитными и электрическими полями, 1 раз в 24 мес;
лица, обслуживающие установки с электромагнитными излучениями ультравысоких частот (УВЧ), высоких частот (ВЧ), низких частот (НЧ), сверхнизких частот (СНЧ), 1 раз в 24 мес;
лица, занятые работой на высоте и связанные с подъемом на высоту (верхолазные работы), а также обслуживанием подъемных сооружений, 1 раз в 12 мес (верхолазными работами считаются все работы, которые выполняются на высоте 5 м и выше от поверхности грунта, перекрытия или рабочего настила, над которыми производятся работы с монтажных приспособлений или непосредственно с элементов конструкций, оборудования машин и механизмов при их установке, эксплуатации, монтаже и ремонте. При этом основным средством предохранения рабочего от падения с высоты во все моменты работы и передвижения является предохранительный пояс);
2. Требования безопасности при установке и монтаже оборудования и конструкций связи
2.1. Релейные штативы, стойки связи, панели щитов, секции табло и т.п. после установки должны быть надежно скреплены между собой и со стенами зданий в соответствии с рабочими чертежами.
Во время пробивки сквозных отверстий в кирпичных и бетонных стенах опасная зона, установленная Проектом произволе пи работ, должна быть ограждена с обеих сторон стены.
2.2. Конструкции, закрепляемые в стенках или потолках при помощи цементных, алебастровых или гипсовых растворов, должны до полного затвердения раствора поддерживаться подпорками, клиньями, растяжками и другими приспособлениями.
2.3. При прокладке кабелей внутри помещений через проемы в стенах работники должны находиться по обе стороны стены и перемещать кабель по команде руководителя работ. Для вертикального подъема кабеля на высоту свыше 2 м необходимо пользоваться блоками. Перед прокладкой кабеля в желобах, расположенных поверху конструкций, руководитель работ обязан проверить надежность крепления желобов, а также конструкций, над которыми они проходят.
2.4. Укладка кабелей, увязка их в пакеты, разделка и пайка муфт нишах и желобах, расположенных поверху, должны проводиться с подмостей или с лестниц стремянок.
2.5. Производство монтажных работ в два яруса не допускается.
Установка кронштейнов для ввода в здание проводов воздушных линий связи должна производиться с двух лестниц, поставленных друг от друга на расстоянии, равном длине кронштейна.
Охрана труда
3.1. На всех участках железных дорог должна быть поездная диспетчерская, поездная межстанционная, постанционная, линейно-путевая, стрелочная связь.
На участках, оборудованных автоблокировкой, диспетчерской централизацией, и на всех электрифицированных участках должна быть энергодиспетчерская и перегонная связь.
Участки с кабельными линиями связи должны иметь служебную связь электромехаников СЦБ и связи.
Кроме того, на железных дорогах должны быть магистральная, дорожная, дорожная распорядительная, билетно-диспетчерская, вагонно-диспетчерская, маневровая диспетчерская, информационно-вычислительная, местная и другие виды телефонной и телеграфной связи для руководства движением поездов, продажей билетов и работой линейных подразделений.
3.2. Все участки железных дорог должны быть оборудованы поездной радиосвязью.
Технические нормативы и правила пользования поездной радиосвязью устанавливаются МПС России, а порядок, обеспечивающий безопасность движения при неисправности поездной радиосвязи предусматривается Инструкцией по движению поездов и маневровой работе на железных дорогах Российской Федерации.
3.3. На станциях в зависимости от технологической потребности должны применяться станционная радиосвязь, устройства двусторонней парковой связи и связь для информации пассажиров.
Не допускается применение одинаковых радиочастот для разных маневровых районов в пределах одной станции. Для каждого маневрового района станции и обслуживающих его локомотивов выделяется отдельная радиочастота.
Устройства двусторонней парковой связи, применяемые для передачи указании о поездной и маневровой работе, а также для информации пассажиров, должны быть постоянно включены, обеспечивать непрерывное денет вне каналов связи, иметь контроль включенного состояния.
3.4. Устройства посудной и станционной радиосвязи на станциях (в соответствии с перечнем, уст; накликаемым начальником железной дороги) и диспетчерских участках должны оборудоваться системой документированной регистрации переговоров
Порядок пользования системой документированной регистрации переговоров устанавливается МПС России
3.5. Для управления ремонтными работами на перегонах и станциях грузонапряженных линий должна применяться ремонтно-оперативная радиосвязь, предназначенная для обеспечения надежной двусторонней связи внутри ремонтных подразделений с руководителем работ, руководителя работ с машинистами локомотивов, машинистами специального самоходного подвижного состава и дежурным аппаратом соответствующей службы.
Перечень участков, оборудуемых этой связью, утверждается начальником железной дороги.
3.6. Не допускается пользоваться поездной диспетчерской и стрелочной связью для переговоров по вопросам, не связанным с движением поездов.
Не допускается включение в сеть стрелочной связи других телефонов, кроме исполнительных постов централизации, стрелочных постов и дежурного по станции.
Включение телефонов, установленных в квартирах, в этих случаях производит поездной диспетчер специальным прибором и только на время переговоров.
Допускается временно включать в провода поездной диспетчерской связи на перегонах переносные телефоны водителей дрезин, (при вынужденной остановке), начальников восстановительных и пожарных поездов, электромехаников СЦБ и руководителей восстановительных, путевых работ и работ по устройствам электроснабжения.
В поездную межстанционную связь допускается включение только телефонов дежурных по станциям, а на участках с автоблокировкой, кроме того, телефонов перегонной связи и дежурных по переездам.
8. Сметно-финансовый расчет
При определении денежных затрат на проектирование цифровой коммутационной станции МиниКом DX-500-ЖТ составляется сметно-финансовый расчёт. Определяемая им стоимость состоит прямых затрат, накладных расходов и плановых накоплений. Прямые затраты – стоимость оборудования и материалов, денежные затраты по эксплуатации оборудования и всех других затрат. Накладные расходы состоят из средств, которые обеспечивают организацию проектирования и содержания персонала. Размеры накладных расходов не должны превышать определённый процент от суммы прямых затрат. Плановые накопления состоят из суммы, которая определяется постановлением СМРФ.
Список используемой литературы
1. Лебединский А.К., Павловский А.А., Юркин Ю.В. «Системы телефонной коммутации». М.: Маршрут, 2003.
2. В.В. Шмытинский, В.П. Глушко «Многоканальные системы передачи» Москва 2002 г.
Похожие рефераты:
Реконструкция учрежденческой автоматической телефонной станции на ст. Петропавловск
Проектирование первичной сети связи на железнодорожном участке
Курс лекции по компьютерным сетям
Применение на судовых станциях автоматических идентификационных систем
Методы позиционирования и сжатия звука
Техническая диагностика средств вычислительной техники
Разработка системы оперативно-диспетчерского контроля и управления канала
Приемник цифровой системы передачи информации ВЧ-каналом связи по ВЛ
Математическое моделирование услуг Интернет
Корпоративная локальная компьютерная сеть на предприятии по разработке программного обеспечения
Архитектура сотовых сетей связи и сети абонентского доступа
Коммутатор цифровых каналов системы передачи
Проект высокоскоростной локальной вычислительной сети предприятия
Линейное оборудование синхронной цифровой иерархии SL16
Модернизация телефонной сети в сельской местности Республики Казахстан
Организация интеллектуальной сети в г. Кокшетау на базе платформы оборудования Alcatel S12