| Скачать .zip |
Реферат: Шпаргалка по Информационным системам и технологии
Билет №6
Организация и принцип работы памяти.Память - совокупность отдельных устройств, которые запоминают, хранят, выдают информацию. Отдельные устройства памяти называют запоминающими устройствами. Производительность вычислительных систем в значительной мере определяется составом и характеристиками отдельных запоминающих устройств, которые различают по принципу действия, техническим характеристикам, назначениям. Основные операции с памятью - процедура записи, процедура чтения (выборки). Процедуры записи и чтения также называют обращением к памяти. За одно обращение к памяти "обрабатывается" для различных устройств различные единицы данных (байт, слово, двойное слово, блок).
Основные технические характеристики памяти
Одними из основных характеристик памяти является емкость и быстродействие (время обращения к запоминающему устройству).
Время обращения к устройству зависит от типа памяти.
В некоторых запоминающих устройствах считывание данных сопровождается их разрушением. В этом случае цикл обращения к памяти всегда должен содержать регенерацию данных (ЗУ динамического типа). Этот цикл состоит из трех шагов:
-время от начала операции обращения до того момента, как данные станут доступны (время доступа);
-считывание;
-регенерация.
Основные технические характеристики процедуры записи:
-время доступа;
-время подготовки (приведение в исходное состояние поверхности магнитного диска при записи);
-запись.
Максимальная длительность чтения-записи - называется временем обращения к памяти.
По физическим основам все запоминающие устройства разделяются: полупроводниковые, магнитно-оптические и т.д.
Организация полупроводниковой памяти
С точки зрения функционального построения, любое запоминающее устройство такого типа представляет собой некоторый массив элементов памяти. Структурные элементы памяти образуют ячейки памяти. Ширина ячеек - ширина выборки из памяти. Структура модуля памяти определяется способом организации памяти (способ адресации).
Существует 3 разновидности организации памяти:
-адресная память
-память со стековой организацией
-ассоциативная память
Принципы организации основной памяти в современных ЭВМ
Основная память представляет собой уровень иерархии памяти. Основная память удовлетворяет запросы кэш-памяти и служит в качестве интерфейса ввода/вывода, поскольку является местом назначения для ввода и источником для вывода. Для оценки производительности основной памяти используются два основных параметра: задержка и полоса пропускания.
Задержка памяти традиционно оценивается двумя параметрами: временем доступа (access time) и длительностью цикла памяти (cycle time). Время доступа представляет собой промежуток времени между выдачей запроса на чтение и моментом поступления запрошенного слова из памяти. Длительность цикла памяти определяется минимальным временем между двумя последовательными обращениями к памяти.
Основными методами увеличения полосы пропускания памяти являются:
-увеличение разрядности или "ширины" памяти,
-использование расслоения памяти,
-использование независимых банков памяти,
-обеспечение режима бесконфликтного обращения к банкам памяти,
-использование специальных режимов работы динамических микросхем памяти.
Random Access Memory - запоминающие устройства с произвольной выборкой
В адресной памяти, размещение и поиск информации в массиве запоминания, базируется на основе номера (адреса). Массив запоминания элементов содержит N n-разрядных слов, которые пронумерованы (0...N-1). Электронное обрамление включает в себя регистры для хранения адреса памяти, регистр информации (само слово), схемы адресной выборки (адресации), разрядные усилители для чтения и записи.
Цикл обращения таких устройств не зависит от того, в каком физическом месте ЗУ находятся требуемые данные. Такой способ доступа характерен для полупроводниковых ЗУ. Число записанных одновременно битов данных за одно обращение называют шириной выборки (доступа).
Статическая память
Память на основе микросхем, которые могут сохранять свое состояние лишь тех пор, пока к ним подключено питание, называется статической (Static RAM, SRAM). Может быть реализована на триггерах. Микросхемы статических SRAM имеют малое время доступа и не требуют циклов регенерации.
Статическая RAM работает быстро, но стоит очень дорого, поскольку каждая ее ячейка содержит несколько транзисторов. Вот почему выпускается еще и более дешевая память с более простой конструкцией ячеек. Однако эти ячейки не способны бесконечно долго сохранять свое состояние, поэтому такая память называется динамической (Dynamic RAM, DRAM).
Динамическая память
В ячейке динамической памяти информация хранится в форме заряда на конденсаторе, и этот заряд может сохраняться всего несколько десятков миллисекунд. Поскольку ячейка памяти должна хранить информацию гораздо дольше, ее содержимое должно периодически обновляться путем восстановления заряда на конденсаторе.
Ячейка динамической памяти, состоим из конденсатора С и транзистора Т. Для записи информации в эту ячейку включается транзистор Т и на линию бита подается соответствующее напряжение. В результате на конденсаторе образуется определенный заряд.
Емкость DRAM по грубым оценкам в 4 - 8 раз превышает емкость SRAM, но SRAM имеют в 8 - 16 раз меньшую длительность цикла и большую стоимость. По этим причинам в основной памяти практически любого компьютера используется полупроводниковые микросхемы DRAM (для построения кэш-памяти при этом применяются SRAM).
Стековая память
Стековая память является безадресной. Все ячейки памяти организованы по принципу "первым вошел - последним вышел" (LIFO). Реализовано это таким образом, что для операций с памятью доступна только 0-я ячейка.
Ассоциативная память.
Исторически последняя. Является представителем многофункциональных запоминающих устройств (возможна обработка данных без процессора в памяти). Отличительная особенность - поиск любой информации в ЗМ производится не по адресу, а по ассоциативным признакам (признакам опроса).
Иерархия памяти
В основе реализации иерархии памяти современных компьютеров лежат два принципа: принцип локальности обращений и соотношение стоимость/производительность. Принцип локальности обращений говорит о том, что большинство программ к счастью не выполняют обращений ко всем своим командам и данным равновероятно, а оказывают предпочтение некоторой части своего адресного пространства.
Успешное или неуспешное обращение к более высокому уровню называются соответственно попаданием (hit) или промахом (miss). Попадание - есть обращение к объекту в памяти, который найден на более высоком уровне, в то время как промах означает, что он не найден на этом уровне. Доля попаданий (hit rate) или коэффициент попаданий (hit ratio) есть доля обращений, найденных на более высоком уровне. Иногда она представляется процентами. Доля промахов (miss rate) есть доля обращений, которые не найдены на более высоком уровне.
Принципы размещения блоков в кэш-памяти определяют три основных типа их организации:
Если каждый блок основной памяти имеет только одно фиксированное место, на котором он может появиться в кэш-памяти, то такая кэш-память называется кэшем с прямым отображением (direct mapped). Это наиболее простая организация кэш-памяти, при которой для отображение адресов блоков основной памяти на адреса кэш-памяти просто используются младшие разряды адреса блока.
Если некоторый блок основной памяти может располагаться на любом месте кэш-памяти, то кэш называется полностью ассоциативным (fully associative).
Если некоторый блок основной памяти может располагаться на ограниченном множестве мест в кэш-памяти, то кэш называется множественно-ассоциативным (set associative). Обычно множество представляет собой группу из двух или большего числа блоков в кэше.
Если множество состоит из n блоков, то такое размещение называется множественно-ассоциативным с n каналами (n-way set associative).
Виртуальная память и организация защиты памяти
Она делит физическую память на блоки и распределяет их между различными задачами.
Она автоматически управляет двумя уровнями иерархии памяти: основной памятью и внешней (дисковой) памятью.
Системы виртуальной памяти можно разделить на два класса: системы с фиксированным размером блоков, называемых страницами, и системы с переменным размером блоков, называемых сегментами.
Страничная организация памяти
В системах со страничной организацией основная и внешняя память (главным образом дисковое пространство) делятся на блоки или страницы фиксированной длины. Каждому пользователю предоставляется некоторая часть адресного пространства, которая может превышать основную память компьютера, и которая ограничена только возможностями адресации, заложенными в системе команд. Эта часть адресного пространства называется виртуальной памятью пользователя. Каждое слово в виртуальной памяти пользователя определяется виртуальным адресом, состоящим из двух частей: старшие разряды адреса рассматриваются как номер страницы, а младшие - как номер слова (или байта) внутри страницы.
Сегментация памяти
Другой подход к организации памяти опирается на тот факт, что программы обычно разделяются на отдельные области-сегменты. Каждый сегмент представляет собой отдельную логическую единицу информации, содержащую совокупность данных или программ и расположенную в адресном пространстве пользователя. Сегменты создаются пользователями, которые могут обращаться к ним по символическому имени. В каждом сегменте устанавливается своя собственная нумерация слов, начиная с нуля.
Типовые средства аппаратной поддержки операционных систем, BIOS.
Средства аппаратной поддержки ОС – это средства, которые прямо участвуют в организации вычислительных процессов ОС: средства поддержки привилегированного режима, систему прерываний, средства переключения контекстов процессов, средства защиты областей памяти и т. п.
Входят следующие компоненты:
-средства поддержки привилегированного режима;
-средства трансляции адресов;
-средства переключения процессов;
-система прерываний;
-системный таймер;
-средства защиты областей памяти.
Средства поддержки привилегированного режима обычно основаны на системном регистре процессора, часто называемом «словом состояния» машины или процессора. Этот регистр содержит некоторые признаки, определяющие режимы работы процессора, в том числе и признак текущего режима привилегий. Смена режима привилегий выполняется за счет изменения слова состояния машины в результате прерывания или выполнения привилегированной команды.
Средства трансляции адресов выполняют операции преобразования виртуальных адресов, которые содержатся в кодах процесса, в адреса физической памяти. Таблицы, предназначенные при трансляции адресов, обычно имеют большой объем, поэтому для их хранения используются области оперативной памяти, а аппаратура процессора содержит только указатели на эти области. Средства трансляции адресов используют данные указатели для доступа к элементам таблиц и аппаратного выполнения алгоритма преобразования адреса, что значительно ускоряет процедуру трансляции по сравнению с ее чисто программной реализацией.
Средства переключения процессов предназначены для быстрого сохранения контекста приостанавливаемого процесса и восстановления контекста процесса, который становится активным. Для хранения контекстов приостановленных процессов обычно используются области оперативной памяти, которые поддерживаются указателями процессора.
Переключение контекста выполняется по определенным командам процессора, например по команде перехода на новую задачу. Такая команда вызывает автоматическую загрузку данных из сохраненного контекста в регистры процессора, после чего процесс продолжается с прерванного ранее места.
Система прерываний позволяет компьютеру реагировать на внешние события, синхронизировать выполнение процессов и работу устройств ввода-вывода, быстро переходить с одной программы на другую. Механизм прерываний нужен для того, чтобы оповестить процессор о возникновении в вычислительной системе некоторого непредсказуемого события или события, которое не синхронизировано с циклом работы процессора. Примерами таких событий могут служить завершение операции ввода-вывода внешним устройством (например, запись блока данных контроллером диска), некорректное завершение арифметической операции (например, переполнение регистра), истечение интервала астрономического времени.
Системный таймер, часто реализуемый в виде быстродействующего регистра-счетчика, необходим операционной системе для выдержки интервалов времени. Для этого в регистр таймера программно загружается значение требуемого интервала в условных единицах, из которого затем автоматически с определенной частотой начинает вычитаться по единице.
BIOS
Термин BIOS определяет программу, отвечающую за управление всем оборудованием, установленным на материнской плате. Фактически BIOS является неотъемлемой составляющей системной платы и поэтому может быть отнесен к особой категории компьютерных компонентов, называемых firmware.
Аббревиатура BIOS расшифровывается как Basic Input/Output System (базовая система ввода/вывода). Действительно, изначально, в системе IBM PC, основным назначением BIOS была поддержка функций ввода-вывода за счет предоставления операционной системе интерфейса для взаимодействия с аппаратурой, но в последнее время его предназначение и функции значительно расширились.
Другой важной функцией BIOS является проводимая после каждого включения компьютера процедура тестирования (POST, Power On Self Test) всего установленного на материнской плате оборудования (за исключением дополнительных плат расширения). В процедуру тестирования входят:
1)Проверка работоспособности системы управления электропитанием;
2)Инициализация системных ресурсов и регистров чипсетов;
3)Тестирование оперативной памяти;
4)Подключение клавиатуры;
5)Тестирование портов;
6) Инициализация контроллеров, определение и подключение жестких дисков.
В процессе инициализации и тестирования оборудования BIOS сравнивает данные системной конфигурации с информацией, хранящейся в CMOS - специальной энергозависимой памяти, расположенной на системной плате. Хранение данных в чипе CMOS поддерживается специальной батарейкой, и информация обновляется всякий раз при изменении каких-либо настроек BIOS. Таким образом, именно эта память хранит последние сведения о системных компонентах, текущую дату и время, а также, возможно, пароль, установленный на вход в BIOS или загрузку операционной системы.
Наконец, третьей важной функцией, которую BIOS выполняет со времен IBM PC, является загрузка операционной системы. Современные BIOS позволяют загружать операционную систему не только с гибкого (FDD) или жесткого диска (HDD), но и с приводов CD-ROM, ZIP, LS-120, SCSI-контроллеров и т.д. Считав информацию об устройстве загрузки, BIOS приступает к поиску программы - загрузчика операционной системы на носителе или передает запрос на загрузку другому устройству (а точнее - в свою очередь, переадресует запрос на его BIOS). Когда ответ получен, программа загрузки помещается в оперативную память, откуда и происходит загрузка системной конфигурации и драйверов устройств операционной системы.
3.Мультимедиа-технологии (МТ), их особенности в ряду базовых ИТ. Структурирование МТ. Основные технологические решения для носителей информации в МТ. Оптические диски, мини-диски, flash-память.
Мультимедиа технологии- это совокупность аппаратных и программных средств, позволяющая пользователю одновременно использовать все богатство представления информации в самых различных ее формах - в текстовой, числовой, графической, звуковой, анимационной и видео.
Основными характерными особенностями этих технологий являются:
объединение многокомпонентной информационной среды (текста, звука, графики, фото, видео) в однородном цифровом представлении;
обеспечение надежного (отсутствие искажений при копировании) и долговечного хранения (гарантийный срок хранения — десятки лет) больших объемов информации;
простота переработки информации (от рутинных до творческих операций).
Интерактивность — это способность активно и разнообразно реагировать на действия пользователя.
Классификация
В зависимости от наличия интерактивности мультимедиа технологии подразделяются на:
- Линейная (отсутствие интерактивности)
- Нелинейная. Нелинейный способ представления информации позволяет человеку участвовать в выводе информации каким-либо образом со средством отображения мультимедийных данных.
Мультимедиа
видео, анимация, звук
текст, гипертекст, изображения
Динамичные
Статичное
Онлайн
Записанные
потоковые
Мультимедиа
Локальные
Принципы мультимедиа
1. Представление информации с помощью комбинации множества воспринимаемых человеком сред (собственно термин происходит от англ. multi - много, и media - среда);
2.Интерактивность
3. Художественный дизайн интерфейса и средств навигации.
Компакт-диски – это носители информации, предназначенные для хранения информации в цифровой форме (в виде набора чисел).
Физические характеристики компакт-диска
Геометрические размеры. Все члены семейства компакт-дисков представляют собой диск диаметром 120 мм, имеющий в центре отверстие диаметром 15 мм. Толщина диска – 1.2 мм.
Способ считывания информации
Для чтения информации с компакт-дисков используется луч лазера инфракрасного диапазона (ИК). Луч подается на вращающийся диск со стороны подложки, отражается от отражающего слоя и возвращается на специальный фотоприемник.
Базовый формат – CD Audio
Формат CD DA является базовым форматом семейства КД.
Информация на CD Audio (в дальнейшем, КД), как уже было сказано, закодирована в виде последовательности питов и лэндов. Питы и лэнды разной длины, чередуясь, составляют информационную дорожку в виде спирали, которая начинается от внутреннего радиуса КД. Расстояние между витками спирали составляет 1.6 мкм.
Диск CD-ROM , его отличия от CD DA
Диск CD-ROM унаследовал все черты своего родителя (CD DA), и приобрел новые черты, необходимые для выполнения своих специфичных функций.
1) Для CD-ROM необходим точный доступ к кадру. Для этого в кадр введены разделы Synchro и Header. Synchro необходим для распознавания начала кадра (сектора) CD-ROM, Header – содержит в себе точный адрес сектора в формате MSF.
2) Основная задача аудио-проигрывателя - непрерывное воспроизведение фонограммы. Если при воспроизведении возникают ошибки, проигрыватель пытается исправить их с помощью механизмов избыточности, заложенных при создании диска (код Рида-Соломона). Если механизма избыточности недостаточно для восстановления поврежденной информации, проигрыватель начинает интерполировать звук. При этом, естественно, возникают искажения (слышимые или неслышимые), но воспроизведение продолжается. Для CD-ROM интерполяция информации неприемлема. Информация должна быть или прочитана точно, или не прочитана вообще. Поэтому для CD-ROM предусмотрена дополнительная избыточность и средства детектирования ошибки. Это EDC (Error Detection Code) и ECC (Error Correction Code ), которые принято называть третьим слоем восстановления ошибок. Работая в паре, EDC и ECC позволяют обнаружить и исправить ошибки, которые для аудио-диска были бы фатальными.
Принципы доступа к информации
Для аудио-диска объектом выбора обычно является трек. Для того чтобы выбрать любой трек, достаточно информации, записанной в TOC .
Для CD-ROM, как и для любого компьютерного носителя, объектом выбора являются файлы и папки (директории). Папки тоже являются файлами особого назначения. Поэтому записей в TOC недостаточно для доступа к объектам CD-ROM .
Для доступа к файлам на дисках CD-ROM формируется файловая структура (ФС). ФС – это набор служебных записей, описывающих местоположение и атрибуты файлов и папок. Файловые структуры бывают разные, и любая из них может быть размещена на CD - ROM . Так, например, на дисках для ПК Макинтош может быть сформирована файловая система HFS ( Hierarchical File System ), которая используется на жестких дисках ПК Макинтош. Такие диски читаются только на ПК Макинтош.
Метка диска (Volume Label) – идентифицирует диск при его загрузке в привод CD-ROM. В проводнике Windows метка диска отображается справа от значка привода CD-ROM.
Mixed Mode CD
Следующий член семейства КД – Mixed Mode CD (диск со смешанными режимами) является прямым потомком двух предыдущих – CD DA и CD-ROM .
На таком диске первый трек всегда имеет тип Data и содержит файловую структуру с компьютерными данными. За Data -треком располагаются аудио-треки. Особенность использования такого диска – аудио-треки начинаются со второго трека. «Умные» проигрыватели не позволят запустить на проигрывание первый трек. Но остается риск того, что простые проигрыватели позволят проигрывать первый трек, а это чревато выходом из строя акустических систем. В настоящее время этот формат используется в основном при создании игровых дисков, для размещения игровых программ с музыкальным сопровождением. Для музыкальных дисков с небольшим добавлением компьютерной информации используется другое решение, о котором будет сказано чуть позже.
CD-ROM XA (eXtended Architecture)
Этот формат является потомком формата CD-ROM. Его появление было вызвано необходимостью обозначать тип цифровой информации, хранящейся в конкретном кадре диска. Связано это было с появлением специализированных проигрывателей мультимедийной информации, способных проигрывать видео со звуком и отображать неподвижные изображения (в частности, проигрыватели Video CD).
Multisession CD
Формат CD-ROM XA используется также при создании дисков Multisession .
Термин «сессия» - дословно, сеанс, появился вместе с форматом CD - Recordable (Записываемый Компакт-Диск). Под сессией понимается сеанс записи компакт-диска, то есть запись на диске Lead - In , программной зоны и Lead - Out
Формат Multisession разрешает производить запись на диск, который уже имеет сессию (сессии). Запись возможна при условии, что в TOC последней сессии имеется специальная метка, разрешающая запись еще одной сессии. При записи новой сессии в ней формируется новая файловая система, которая указывает местоположение вновь записываемых файлов и, кроме этого, как правило, указывает на местоположение файлов из предыдущих сессий (хотя может этого и не делать). Также в новой сессии могут быть записаны новые версии файлов, уже имеющихся в предыдущих сессиях (при этом в новой файловой системе указывается местоположение новой версии файла, а ссылка на старый файл не формируется – «псевдостирание»).
Минидиск (MD) — магнито-оптический носитель информации. Был разработан и впервые представлен компанией Sony 12 января 1992 года. Позиционировался как замена компакт-кассетам, к тому времени уже полностью изжившим себя. Его можно использовать для хранения любого вида цифровых данных. Наиболее широко минидиски используются для хранения аудио информации.
Основные характеристики формата минидиска
1. Возможность качественной и многократной перезаписи, причем количество перезаписи без потери качества достигает 1 млн. циклов.
2. Редактирование любой сложности. Минидиск позволяет не только записывать, но и легко редатировать уже сделанную запись. Перемещать, объединять, разделять фрагменты, стирать дорожки.
3. Мгновенный доступ к любой записи.
4. Высокое качество звука.
5. Компактность. Минидиск имеет в 3 раза меньший обьем, чем компакт-диск.
Shape CD (фигурный компакт-диск) — оптический носитель цифровой информации типа CD-ROM, но не строго круглой формы, а с очертанием внешнего контура в форме разнообразных объектов, таких как силуэты, машины, самолёты, сердечки, звёздочки, овалы, в форме кредитных карточек и т. д.
Обычно диски с формой, отличающейся от круглой, не рекомендуют применять в приводах CD-ROM, поскольку при высоких скоростях вращения диск может лопнуть и полностью вывести привод из строя. Поэтому перед вставкой Shape CD в привод следует принудительно ограничить скорость вращения диска с помощью специальных программ. Тем не менее, и эта мера не даёт гарантии безопасности CD-привода.
DVD (ди-ви-ди́, англ. Digital Versatile Disc или Digital Video Disk) — носитель информации в виде диска, внешне схожий с компакт-диском, однако имеющий возможность хранить бо́льший объём информации за счёт использования лазера с меньшей длиной волны, чем для обычных компакт дисков.
DVD по структуре данных бывают трёх типов:
DVD-Video — содержат фильмы (видео и звук);
DVD-Audio — содержат аудиоданные высокого качества (гораздо выше, чем на аудиокомпакт-дисках);
DVD-Data — содержат любые данные.
DVD как носители бывают четырёх типов:
DVD-ROM — штампованные на заводе диски;
DVD+R/RW — диски однократной (R — Recordable) и многократной (RW — ReWritable) записи;
DVD-R/RW — диски однократной (R — Recordable) и многократной (RW — ReWritable) записи;
DVD-RAM — диски многократной записи с произвольным доступом (RAM — Random Access Memory).
Вместимость можно определить на глаз — нужно посмотреть, сколько рабочих (отражающих) сторон у диска и обратить внимание на их цвет: двухслойные стороны обычно имеют золотой цвет, а однослойные — серебряный, как компакт-диск.
Любой из носителей может иметь любую структуру данных и любое количество слоёв (двухслойные DVD-R и DVD-RW появились в конце 2004 года.
В отличие от компакт-дисков, в которых структура аудиодиска фундаментально отличается от диска с данными, в DVD всегда используется файловая система UDF. Скорость чтения/записи DVD указывается кратной 1350 Кб/с, то есть 16-скоростной привод обеспечивает чтение (или запись) дисков в 16 Ч 1350 = 21600 Кб/с (21,09 Мб/с).
HD-DVD — технология записи на DVD от Toshiba (в содружестве с компаниями NEC и Sanyo). Позволяет записывать цифровую информацию объёмом до 45 гигабайт. Этого достаточно для записи 12 часов видео с высоким разрешением на один носитель. Такой диск состоит из трех слоев толщиной 0,6 мм, каждый из которых позволяет записать 15 ГБ данных.
Флэш-память (или флеш-память) — разновидность твердотельной полупроводниковой энергонезависимой перезаписываемой памяти.
Энергонезависимая - не требующая дополнительной энергии для хранения данных (энергия требуется только для записи).
Перезаписываемая - допускающая изменение (перезапись) хранимых в ней данных.
Полупроводниковая (твердотельная) - не содержащая механически движущихся частей (как обычные жёсткие диски или CD), построенная на основе интегральных микросхем.
Флэш-память может быть прочитана сколько угодно раз, но писать в такую память можно лишь ограниченное число раз (обычно около 10 000). Причина в том, что для записи в память необходимо сначала стереть участок памяти, а участок может выдержать лишь ограниченное число стираний. Стирание происходит участками, поэтому нельзя изменить один бит или байт без перезаписи всего участка.
Преимуществом флэш-памяти над обычной является её энергонезависимость — при выключении энергии содержимое памяти сохраняется. Преимуществом флэш-памяти над жёсткими дисками, CD-ROM-ами, DVD является отсутствие движущихся частей. Поэтому флэш-память более компактна, дешева (с учётом стоимости устройств чтения-записи) и обеспечивает более быстрый доступ.
Недостатком, по сравнению с жёсткими дисками, является относительно малый объём.
Флэш-память бывает как съёмной, так и несъёмной. Съёмную флэш-память применяют для хранения изображения и звука в аудио- и видеоаппаратуре и для бэкапа, несъёмную — для хранения встроенного программного обеспечения, операционных систем, а в КПК и программируемых калькуляторов — и для хранения других программ и данных. Во многих КПК съёмная флэш-память используется как расширение памяти.
Blu-ray Disc, BD (англ. blue ray — синий луч и disc — диск) — формат оптического носителя, используемый для записи и хранения цифровых данных, включая видео высокой чёткости с повышенной плотностью.
Blu-ray (букв. «синий-луч») получил своё название от использования для записи и чтения коротковолнового (405 нм) «синего» (технически сине-фиолетового) лазера.
Однослойный диск Blu-ray (BD) может хранить 23,3/25/27 или 33 Гб, двухслойный диск может вместить 46,6/50/54 или 66 Гб. Также в разработке находятся диски вместимостью 100 Гб и 200 Гб с использованием соответственно четырёх и восьми слоёв.
На данный момент доступны диски BD-R (одноразовая запись) и BD-RE (многоразовая запись), в разработке находится формат BD-ROM. В дополнение к стандартным дискам размером 120 мм, выпущены варианты дисков размером 80 мм для использования в цифровых фото- и видеокамерах. Планируется, что их объём будет достигать 15 Гб для двухслойного варианта.
В технологии Blu-ray для чтения и записи используется сине-фиолетовый лазер с длиной волны 405 нм. Обычные DVD и CD используют красный и инфракрасный лазеры с длиной волны 650 нм и 780 нм соответственно.
Билет №5
1. Принципы проектирования сложных объектов. Нисходящее и восходящее проектирование.
ОТВЕТ:
В процессе проектирования сложной системы формируются определенные представления о системе, отражающие ее существенные свойства с той или иной степенью подробности. В этих представлениях можно выделить составные части - уровни проектирования. В один уровень, как правило, включаются представления, имеющие общую физическую основу и допускающие для своего описания использование одного и того же математического аппарата.
Уровни проектирования можно выделять по степени подробности, с какой отражаются свойства проектируемого объекта. Тогда их называют горизонтальными (иерархическими) уровнями проектирования.
Выделение горизонтальных уровней лежит в основе блочно-иерархического подхода к проектированию.
Уровни проектирования можно выделять также по характеру учитываемых свойств объекта. В этом случае их называют вертикальными уровнями проектирования. При проектировании устройств автоматизации основными вертикальными уровнями являются функциональное (схемное), конструкторское и технологическое проектирования. При проектировании автоматизированных комплексов к этим уровням добавляется алгоритмическое (программное) проектирование.
Функциональное проектирование связано с разработкой структурных, функциональных и принципиальных схем. При функциональном проектировании определяются основные особенности структуры, принципы функционирования, важнейшие параметры и характеристики создаваемых объектов .
Алгоритмическое проектирование связано с разработкой алгоритмов функционирования ЭВМ и вычислительных систем (ВС), с созданием их общего системного и прикладного программного обеспечения.
Конструкторское проектирование включает в себя вопросы конструкторской реализации результатов функционального проектирования, т.е. вопросы выбора форм и материалов оригинальных деталей, выбора типоразмеров унифицированных деталей, пространственного расположения составных частей, обеспечивающего заданные взаимодействия между элементами конструкции.
Технологическое проектирование охватывает вопросы реализации результатов конструкторского проектирования, т.е. рассматриваются вопросы создания технологических процессов изготовления изделий.
В зависимости от порядка, в каком выполняются этапы проектирования, различают восходящее и нисходящее проектирование.
Восходящее проектирование (проектирование снизу вверх) характеризуется решением задач более низких иерархических уровней перед решением задач более высоких уровней. Противоположная последовательность приводит к нисходящему проектированию (проектированию сверху вниз).
2. Понятие архитектуры МП. Особенности архитектур вычислительных систем CISC, RISC, MIPS, SPARC. Области применения.
ОТВЕТ:
Понятие архитектуры микропроцессора определяет его составные части, а также связи и взаимодействие между ними. Архитектура включает:
- структурную схему МП;
- программную модель МП (описание функций регистров);
- информацию об организации памяти (емкость и способы адресации памяти);
- описание организации процедур ввода/вывода.
CISC-процессоры
Complex Instruction Set Computing (вычисления со сложным набором команд) — концепция проектирования процессоров, которая характеризуется следующим набором свойств:
- Нефиксированным значением длины команды.
- Арифметические действия кодируются в одной инструкции.
- Небольшим числом регистров, каждый из которых выполняет строго определённую функцию.
Типичными представителями являются процессоры на основе x86 команд и процессоры Motorola MC680x0.
Наиболее распространённая архитектура современных настольных, серверных и мобильных процессоров построена по архитектуре Intel x86.
RISC-процессоры
Reduced Instruction Set Computer — вычисления с упрощённым набором команд. Архитектура процессоров, построенная на основе упрощённого набора команд. Характеризуется наличием команд фиксированной длины, большого количества регистров, операций типа регистр-регистр, а также отсутствием косвенной адресации.
Упрощение набора команд призвано сократить конвейер, что позволяет избежать задержек на операциях условных и безусловных переходов. Однородный набор регистров упрощает работу компилятора при оптимизации исполняемого программного кода. Кроме того, RISC-процессоры отличаются меньшим энергопотреблением и тепловыделением.
Среди первых реализаций этой архитектуры были процессоры MIPS, PowerPC, SPARC, Alpha, PA-RISC. В мобильных устройствах широко используются ARM-процессоры.
MIPS-процессрры
Microprocessor without Interlocked Pipeline Stages микропроцессор, разработанный компанией MIPS Computer Systems (в настоящее время MIPS Technologies) в соответствие с концепцией проектирования процессоров RISC (т.е. для процессоров с сокращенным набором команд).
Эти процессоры значительно повлияли на более поздние RISC-архитектуры, в частности на Alpha.
Основоположник RISC
SPARC-процессрры
Scalable Processor ARChitecture (масштабируемая процессорная архитектура) — архитектура RISC-микропроцессоров, первоначально разработанная в 1985 году компанией Sun Microsystems.
Архитектура SPARC является открытой, это значит, что:
1. Архитектура системы команд SPARC опубликована как стандарт IEEE 1754—1994;
2. Спецификации SPARC доступны для лицензирования любой компанией или частным лицом и дают возможность разрабатывать свои собственные решения;
3. Развитием архитектуры SPARC занимается независимая некоммерческая организация SPARC International, Inc.
3. Функции и назначение стандартов информационной безопасности. Примеры стандартов, их роль при проектировании и разработке информационных систем. Критерии оценки безопасности компьютерных систем. Структура требований безопасности. Классы защищенности.
ОТВЕТ:
Стандарты и спецификации - одна из форм накопления знаний, прежде всего о процедурном и программно-техническом уровнях ИБ. В них зафиксированы апробированные, высококачественные решения и методологии, разработанные наиболее квалифицированными специалистами.
Стандарты и спецификации - являются основным средством обеспечения взаимной совместимости аппаратно-программных систем и их компонентов, причем в Internet-сообществе это средство действительно работает, и весьма эффективно.
Стандарт - документ, в котором в целях добровольного многократного использования устанавливаются характеристики продукции, правила осуществления и характеристики процессов производства, эксплуатации, хранения, перевозки, реализации и утилизации, выполнения работ или оказания услуг. Стандарт также может содержать требования к терминологии, символике, упаковке, маркировке или этикеткам и правилам их нанесения;
Виды стандартов:
• оценочные стандарты, направленные на классификацию информационных систем и средств защиты по требованиям безопасности;
• технические спецификации, регламентирующие различные аспекты реализации средств защиты.
Первым оценочным стандартом стол стандарт Министерства обороны США "Критерии оценки доверенных компьютерных систем" ("Оранжевая книга"), 1983 г.
В "Оранжевой книге" доверенная система определяется как "система, использующая достаточные аппаратные и программные средства, чтобы обеспечить одновременную обработку информации разной степени секретности группой пользователей без нарушения прав доступа".
Степень доверия оценивается по двум основным критериям.
1. Политика безопасности - набор законов, правил и норм поведения, определяющих, как организация обрабатывает, защищает и распространяет информацию. В частности, правила определяют, в каких случаях пользователь может оперировать конкретными наборами данных. Чем выше степень доверия системе, тем строже и многообразнее должна быть политика безопасности. В зависимости от сформулированной политики можно выбирать конкретные механизмы обеспечения безопасности.
2. Уровень гарантированности - мера доверия, которая может быть оказана архитектуре и реализации ИС. Доверие безопасности может проистекать как из анализа результатов тестирования, так и из проверки (формальной или нет) общего замысла и реализации системы в целом и отдельных ее компонентов. Уровень гарантированности показывает, насколько корректны механизмы, отвечающие за реализацию политики безопасности.
Важным средством обеспечения безопасности является механизм подотчетности (протоколирования). Доверенная система должна фиксировать все события, касающиеся безопасности. Ведение протоколов должно дополняться анализом регистрационной информации.
Концепция доверенной вычислительной базы является центральной при оценке степени доверия безопасности. Доверенная вычислительная база - это совокупность защитных механизмов ИС (включая аппаратное и программное обеспечение), отвечающих за проведение в жизнь политики безопасности. Качество вычислительной базы определяется исключительно ее реализацией и корректностью исходных данных, которые вводит системный администратор.
Основное назначение доверенной вычислительной базы - выполнять функции монитора обращений, то есть контролировать допустимость выполнения субъектами (активными сущностями ИС, действующими от имени пользователей) определенных операций над объектами (пассивными сущностями).
Механизмы безопасности
• произвольное управление доступом;
• безопасность повторного использования объектов;
• метки безопасности;
• принудительное управление доступом.
Классы безопасности
В "Оранжевой книге" определяется четыре уровня доверия - D, C, B и A. Уровень D предназначен для систем, признанных неудовлетворительными. По мере перехода от уровня C к A к системам предъявляются все более жесткие требования. Уровни C и B подразделяются на классы (C1, C2, B1, B2, B3) с постепенным возрастанием степени доверия.
Всего имеется шесть классов безопасности - C1, C2, B1, B2, B3, A1. Чтобы в результате процедуры сертификации систему можно было отнести к некоторому классу, ее политика безопасности и уровень гарантированности должны удовлетворять заданным требованиям, из которых мы упомянем лишь важнейшие.
Коротко ее можно сформулировать так:
• уровень C - произвольное управление доступом;
• уровень B - принудительное управление доступом;
• уровень A - верифицируемая безопасность.
Примеры стандартов:
ISO 27000 - Международные стандарты управления информационной безопасностью. Семейство Международных Стандартов на Системы Управления Информационной Безопасностью 27000. Это семейство включает в себя Международные стандарты, определяющие требования к системам управления информационной безопасностью, управление рисками, метрики и измерения, а также руководство по внедрению.
ISO 15408 - Общие критерии оценки безопасности информационных технологий
ISO 18028 - Международные стандарты сетевой безопасности серии
ISO 13335 - Международные стандарты безопасности информационных технологий
BSI\IT Baseline Protection Manual. Немецкий стандарт "Руководство по обеспечению безопасности ИТ" разрабатывается в BSI.
PCI DSS - стандарт защиты информации в индустрии платежных карт, разработанный международными платежными системами Visa и MasterCard, объединяет в себе требования ряда программ по защите информации
BS 25999, BS 25777 - Британские стандарты по управлению непрерывностью бизнеса и информационно-коммуникационных технологий
ISO 20000 и ITIL - библиотека лучших практик в области управления ИТ. Целью ITIL является предоставление руководства по передовому опыту в области управления ИТ сервисами. Он включает в себя опции, которые могут быть позаимствованы и адаптированы под потребности конкретного бизнеса, местные условия и уровень зрелости сервис провайдера. ISO 20000 устанавливает стандарты, к которым должны быть устремлены процессы управления сервисами.
4
Билет №4
1. CASE-средства: функции, назначение, классификация.
ОТВЕТ:
CASE (Computer Aided Software Engineering) — средства разработки программных и организационно-управляющих систем. Они охватывают большую часть поддержки огромного числа технологий проектирования КИС: начиная с простых средств анализа и документирования и заканчивая масштабными средствами автоматизации, охватывающими весь жизненный цикл программного обеспечения.
CASE-средством - считается программное средство, которое автоматизирует определенную совокупность процессов жизненного цикла программного обеспечения и обладает рядом таких характеристик как:
1.объединение определенных компонентов CASE-средств, которое дает возможность управляемость процессом разработки информационных систем;
2. репозитория;
3. наличие графических средств, с помощью которых можно описывать и документировать информационные системы, которые предоставят удобный интерфейс с разработчиком;
Компонентная база CASE-системы
В состав интегрированного CASE-средства входят следующие элементы:
1.репозиторий - главное CASE-средство. Его задача - обеспечить сохранность вариантов проекта и его определенных компонентов, синхронизацию приема информации от разных разработчиков в процессе групповой разработки, проверка метаданных на полноту и непротиворечивость;
2. средства разработки приложений, с использованием языков 4GL и генераторов кодов;
3. средства тестирования;
4. средства документирования;
5. графические средства анализа и проектирования, которые дают возможность создавать и редактировать иерархически связанные диаграммы (например, DFD, ER-диаграмма и др.), создающие модели информационных систем;
6. средства реинжиниринга.
7. средства конфигурационного управления;
8. средства управления проектом.
9. Классификация
В настоящее время существует классификация CASE-средств по следующим признакам:
1. по типам - данная классификация демонстрирует функциональную ориентацию CASE-средств на какие-либо процессы жизненного цикла;
2. по категориям – такая квалификация определяет уровень интегрированности по выполняемым функциям. Сюда относятся отдельные локальные средства, которые решают мелкие автономные задачи, комплект частично интегрированных средств, который затрагивает большую часть этапов жизненного цикла информационных систем. Также включает в себя полностью интегрированные средства, которые поддерживают весь жизненный цикл информационных систем и связанны общим репозиторием;
3. по степени интегрированности с СУБД;
4. по доступным платформам;
5. по применяемым методологиям и моделям систем и БД.
Типовая классификация практически полностью совпадает с элементами, входящими в состав CASE-средств и состоит из следующих типов:
1. верхние CASE–системы (Upper CASE) - средства анализа, которые используются для построения и анализа моделей предметной области ( BPwin (Logic Works)). В связи с тем, что эти системы соответствуют основным понятиям термина CASE, их также называют нормальными;
2. средние CASE–системы (Middle CASE) - средства анализа и проектирования, корорые придерживаются более распространенные методологии проектирования и используются для создания проектных спецификаций (Vantage Team Builder (Cayenne), Designer/2000 (Oracle), Silverrun (CSA)). Выход этих средств - спецификация архитектуры системы, составляющих и интерфейсов системы, алгоритмов и устройств данных;
3. средства разработки приложений (PowerBuilder (Sybase), JAM (JYACC), Developer/2000 (Oracle), New Era (Informix) , Delphi (Borland), средства 4GL (Uniface (Compuware), SQL Windows (Gupta), а также генераторы кодов, которые входят в состав Vantage Team Builder, PRO-IV и отчасти в Silverrun;
4. средства реинжиниринга, предназначенные для анализа программных кодов и схем баз данных и создания на их базе различного рода моделей и проектных спецификаций. Средства анализа схем баз данных и формирования ER-диаграмм являются составляющими Vantage Team Builder, PRO-IV, Silverrun, Designer/2000, ERwin и S-Designor. В сфере анализа программных кодов наиболее широко распространены объектно-ориентированные CASE-средства, способствующие реинжинирингу программ на языке C++ (Rational Rose (Rational Software), Object Team (Cayenne)).
5. средства проектирования баз данных, предоставляющие возможность моделировать данные и генерировать схемы баз данных, как правило, на языке SQL, для самых распространенных систем управления базами данных (например, ERwin (Logic Works), S-Designor (SDP) и DataBase Designer (ORACLE);
В состав вспомогательных типов входят средства планирования и управления проектом (SE Companion, Microsoft Project и др.), средства конфигурационного управления (PVCS (Intersolv));
6. средства тестирования (Quality Works (Segue Software));
7. средства документирования (SoDA (Rational Software)).
Существующие CASE-системы
ERwin+BPwin
Designer/2000
Silverrun
S-Designor
Vantage Team Builder
Westmount I-CASE
CASE.Аналитик
PRO-IV
CASE /4/0, System Architect
EasyCASE,
Visible Analyst Workbench
2. Состав и назначение основных компонент ОС. Принципы построения ОС. Принцип модульности. Принцип независимости программ от внешних устройств. Принцип совместимости. Принцип открытой и наращиваемой ОС. Принцип мобильности. Принципы обеспечения безопасности.
ОТВЕТ:
Важнейшим достоинством большинства ОС является модульность. Это свойство позволяет объединить в каждом модуле определенные логически связанные группы функций.
Большинство ОС состоит из следующих основных модулей: базовая система ввода-вывода (BIOS – Basic Input Output System); загрузчик операционной системы (Boot Record); ядро ОС; драйверы устройств; командный процессор; внешние команды (файлы).
1. Базовая система ввода-вывода (BIOS) – это набор микропрограмм, реализующих основные низкоуровневые (элементарные) операции ввода-вывода. Они хранятся в ПЗУ компьютера и записываются туда при изготовлении материнской платы. Данная система, по сути, «встроена» в компьютер и является одновременно его аппаратной частью и частью операционной системы.
Первая функция BIOS – автоматическое тестирование основных компонентов компьютера при его включении. При обнаружении ошибки на экран выводится соответствующее сообщение и / или выдается звуковой сигнал.
Далее BIOS осуществляет вызов блока начальной загрузки операционной системы, находящейся на диске (эта операция выполняется сразу по окончании тестирования). Загрузив в ОЗУ этот блок, BIOS передает ему управление, а он в свою очередь загружает другие модули ОС.
Еще одна важная функция BIOS – обслуживание прерываний. При возникновении определенных событий (нажатие клавиши на клавиатуре, щелчок мыши, ошибка в программе и т.д.) вызывается одна из стандартных подпрограмм BIOS по обработке возникшей ситуации.
2. Загрузчик операционной системы – это короткая программа, находящаяся в первом секторе любого загрузочного диска (дискеты или диска с операционной системой). Функция этой программы заключается в считывании в память основных дисковых файлов ОС и передаче им дальнейшего управления ЭВМ.
3. Ядро ОС реализует основные высокоуровневые услуги, загружается в ОЗУ и остается в ней постоянно. В ядре ОС выделяют несколько подсистем, каждая из которых отвечает за выполнение той или иной задачи:
- файловая система (отвечает за размещение информации на устройствах хранения);
- система управления памятью (размещает программы в памяти);
- система управления программами (осуществляет запуск и выполнение программ);
- система связи с драйверами устройств (отвечает за взаимодействие с внешними устройствами);
- система обработки ошибок;
- служба времени (предоставляет всем программам информацию о системном времени).
4. Драйверы требуются в тех случаях, когда обмен информацией с устройствами должен происходить иначе, чем определено в BIOS.
Драйверы устройств – это программы, управляющие работой внешних (периферийных) устройств на физическом уровне. Они дополняют систему ввода-вывода ОС и обеспечивают обслуживание новых устройств или нестандартное использование имеющихся. Они передают или принимают данные от аппаратуры и делают пользовательские программы независимыми от ее особенностей.
Драйверы загружаются в память компьютера при загрузке операционной системы; необходимость и порядок их загрузки указываются в специальных файлах конфигурации. Такая схема облегчает подключение к машине новых устройств и позволяет делать это, не затрагивая системные файлы ОС.
5. Командный процессор – это программа, функции которой заключаются в следующем:
- прием и синтаксический разбор команд, полученных с клавиатуры или из командного файла;
- исполнение внутренних команд операционной системы;
- загрузка и исполнение внешних команд (реализованных в виде самостоятельных программ) операционной системы и прикладных программ пользователя (файлы с расширением СОМ, ЕХЕ или ВАТ). Некоторые стандартные команды (TYPE, DIR и другие) командный процессор выполняет сам. Такие команды называются внутренними (как правило, это основные команды работы с файлами и каталогами). Для выполнения внешних команд пользователя командный процессор ищет на дисках программу с соответствующим именем и расширением СОМ, ЕХЕ (например, FORMAT.COM), и если находит ее, то загружает в память и передает ей управление. По окончании работы программы командный процессор удаляет ее из памяти.
6. Внешние команды ОС – это программы, поставляемые вместе с операционной системой в виде отдельных файлов.
В функции командного процессора входит также исполнение командных файлов (это текстовые файлы с набором команд и расширением ВАТ). Когда в качестве команды задается имя такого файла, командный процессор начинает последовательно читать и интерпретировать содержащиеся в нем строки, каждая из которых может содержать одну команду, метку или комментарий. Если в очередной строке стоит команда, осуществляющая вызов какой-то программы, выполнение командного файла приостанавливается и начинается работа вызванной программы. После ее завершения происходит выполнение следующей команды командного файла.
Основные принципы построения ОС
1. Принцип модульности.
Модуль – функционально законченный элемент, выполняемый в соответствии с принятым межмодульным интерфейсом. Модуль выделяется по функциональному признаку. Модульная организация позволяет легко заменять неправильно работающие модули в ОС. Чаще всего используются реентерабельные и привилегированные модули.
2. Принцип функциональной избирательности.
Для организации эффективной работы ОС, необходимо выделить некоторые модули и хранить их в ОЗУ. Эти модули составляют ядро ОС.
Ядро:
- Модули по управлению системы прерываний;
- Средство управления выполнения программ (загрузка, приостановка, остановка);
- Модули по управлению процессом (распределение процессорного времени), т.е. диспетчеры программ;
- Модули по управлению выделения памяти. В зависимости от ОС в ядро могут ещё входить другие модули;
- Транзитные модули (загружаются в ОЗУ по мере необходимости, при нехватке ОЗУ могут быть выгружены из памяти).
3. Принцип генерируемости ОС.
Подразумевает собой возможность генерации ОС в зависимости от аппаратного обеспечения. Процесс генерации обычно производится один раз, перед достаточно долгим режимом эксплуатации. Для генерации необходимо наличие нескольких компонентов:
- Исходный код ОС;
- Компилятор с языка программирования на котором система написана;
- Специальная программа и входной язык для неё, который позволяет управлять процессом генерации.
ОС с открытым системным кодом – Linux (UNIX), есть возможность тонкой настройки ядра для конкретного процессора.
4. Принцип функциональной избыточности.
В состав ОС должно входит несколько типов ПО для выполнения одинаковых функций (поддержка разных файловых систем).
5. Принцип виртуализации.
Позволяет представить ресурсы ОС в виде определённого набора планировщиков и мониторов и использует единую схему распределения ресурсов. Наибольшее проявление – концепция виртуальной машины (воспроизводит архитектуру реальной машины, но может обладать произвольными характеристиками).
6. Принцип независимости программ от внешних устройств.
Связь программ с конкретным внешним устройством производится не на этапе трансляции, а на этапе выполнения программы. Получается выгода: не нужна лишняя «перекомпиляция».
7. Принцип совместимости.
Способность выполнять программы для другой ОС или даже для другой аппаратной платформы.
2 уровня совместимости:
А)по выполняемому коду (бинарная). Условия совместимости:
- На уровне команд процессора (одна и та же платформа);
- Совместимость на уровне системных вызовов;
- Совместимость на уровне библиотечных вызовов, если являются динамично связываемыми.
Б) по исходному коду. Требуется выполнение следующих условий:
- Наличие компилятора платформы, на котором написана программа;
- Совместимость на уровне системных вызовов;
- Совместимость на уровне библиотечных вызовов.
8. Принцип открытой наращиваемой ОС (открыт исходный код).
Целостность ОС сохраняется (UNIX).
9. Принцип мобильности (переносимости).
ОС должна легко переноситься на другую аппаратную платформу.
Правила создания переносимых ОС:
- ОС должна быть написана на языке высокого уровня, для которой существует компилятор на аппаратной платформе. В основном, современные ОС пишут на Си.
- Необходимо избегать кода, который непосредственно работает с аппаратным обеспечением.
10. Принцип обеспечения безопасности и защиты:
Защита системы от пользователя;
Защита от несанкционированного доступа.
3. Принципы отображения графической информации. Способы сжатия изображений. Способы преобразования форматов. Типы файлов изображений.
ОТВЕТ:
Традиционно принято разделять растровую (фотографии, рисунки, картины и др.) и векторную графику (схемы, чертежи, 3D-модели и др.)
Растровое изображение представляет собой прямоугольную матрицу определенной размерности, каждому элементу которой ставится в соответствие некоторый цвет.
Весь массив элементарных единиц изображения называют растром.
Растр - представляет собой совокупность пикселей, расположенных на сетчатом поле (канве, canvas).
Важными характеристиками изображения являются:
• количество пикселей;
• количество используемых цветов или глубина цвета;
• цветовое пространство (цветовая модель) RGB, CMYK, и др.
С помощью растровой графики можно отразить и передать всю гамму оттенков и тонких эффектов, присущих реальному изображению. Растровое изображение ближе к фотографии, оно позволяет более точно воспроизводить основные характеристики фотографии: освещенность, прозрачность и глубину резкости.
Достоинства
• Растровая графика позволяет создать (воспроизвести) практически любой рисунок, вне зависимости от сложности.
• Распространённость — растровая графика используется сейчас практически везде.
• Высокая скорость обработки сложных изображений, если не нужно масштабирование.
Недостатки
• Большой размер файлов с простыми изображениями.
• Невозможность идеального масштабирования.
• Невозможность вывода на печать на плоттер.
Векторная графика — это использование геометрических примитивов, таких как точки, линии, сплайны и многоугольники, для представления изображений в компьютерной графике.
При этом для полного описания рисунка необходимо знать вид и базовые координаты каждой фигуры, например, координаты двух концов отрезка, координаты центра и диаметр окружности и т. д. Этот способ кодирования идеально подходит для рисунков, которые легко представить в виде комбинации простейших фигур, например, для технических чертежей.
Основным логическим элементом векторной графики является геометрический объект. В качестве объекта принимаются простые геометрические фигуры (так называемые примитивы - прямоугольник, окружность, эллипс, линия), составные фигуры или фигуры, построенные из примитивов, цветовые заливки, в том числе градиенты.
Преимущество векторной графики заключается в том, что форму, цвет и пространственное положение составляющих ее объектов можно описывать с помощью математических формул.
Важным объектом векторной графики является сплайн.
Сплайн – это кривая, посредством которой описывается та или иная геометрическая фигура. На сплайнах построены современные шрифты TrueType и PostScript.
У векторной графики много достоинств. Она экономна в плане дискового пространства, необходимого для хранения изображений: это связано с тем, что сохраняется не само изображение, а только некоторые основные данные, используя которые, программа всякий раз воссоздает изображение заново. Кроме того, описание цветовых характеристик почти не увеличивает размер файла.
Объекты векторной графики легко трансформируются и модифицируются, что не оказывает практически никакого влияния на качество изображения. Масштабирование, поворот, искривление могут быть сведены к паре-тройке элементарных преобразований над векторами.
Векторная графика может включать в себя и фрагменты растровой графики.
Векторная графика может показаться чрезмерно жесткой, «фанерной». В программах векторной графики практически невозможно создавать фотореалистические изображения.
Векторный принцип описания изображения не позволяет автоматизировать ввод графической информации, как это делает сканер для точечной графики.
Фрактальная графика
Фрактал — объект, отдельные элементы которого наследуют свойства родительских структур.
Фрактальными свойствами обладают многие природные объекты, такие как снежинка, кристаллы, растения.
Фрактальная графика, как и векторная, основана на математических вычислениях. Однако базовым элементом фрактальной графики является сама математическая формула, то есть никаких объектов в памяти компьютера не храниться и изображение строится исключительно по уравнениям. Таким образом строят как простейшие структуры, так и сложные иллюстрации, имитирующие природные ландшафты и трехмерные объекты.
Трехмерная графика
Для получения трёхмерного изображения требуются следующие шаги:
• моделирование — создание математической модели сцены и объектов в ней.
• рендеринг (русск. визуализация) — построение проекции в соответствии с выбранной физической моделью.
Сжатие – это процесс, применяемый для уменьшения физического размера блока информации. При сжатии программа компрессор осуществляет сжатие данных, а программа декомпрессор – их восстановление.
В растровых файлах сжимаются только данные изображения, заголовок и др.структуры остаются несжатыми. Векторные файлы не имеют своих схем сжатия. Они не сжимаются, т.к. векторные файлы изначально представляют изображение в компактной форме; векторные файлы читаются достаточно медленно, если добавить еще распаковку, то этот процесс существенно замедляется.
Выделяют два метода сжатия:
Сжатие без потерь — метод сжатия информации, при использовании которого закодированная информация может быть восстановлена с точностью до бита. При этом оригинальные данные полностью восстанавливаются из сжатого состояния.
Сжатие данных с потерями — это метод сжатия данных, когда распакованный файл отличается от оригинального, но «достаточно близок» для того, чтобы быть полезным каким-то образом.
Преобразование файлов из одного формата в другой
Преобразование файлов из растрового формата в векторный
Существуют два способа преобразования файлов из растрового формата в векторный:
1) преобразование растрового файла в растровый объект векторного изображения;
2) трассировка растрового изображения для создания векторного объекта.
Преобразование файлов одного векторного формата в другой
Векторные форматы содержат описания линий, дуг, закрашенных полей, текста и т. д. В различных векторных форматах эти объекты описываются по-разному. Когда программа пытается преобразовать один векторный формат в другой, она действует подобно обычному переводчику, а именно:
• считывает описания объектов на одном векторном языке,
• пытается перевести их на язык нового формата.
Если программа-переводчик считает описание объекта, для которого в новом формате нет точного соответствия, этот объект может быть либо описан похожими командами нового языка, либо не описан вообще. Таким образом, некоторые части рисунка могут исказиться или исчезнуть. Всё зависит от сложности исходного изображения.
Преобразование файлов из векторного формата в растровый
Преобразование изображений из векторного формата в растровый (этот процесс часто называют растрированием векторного изображения) встречается очень часто. Прежде, чем разместить рисованную (векторную) картинку на фотографии, её необходимо экспортировать в растровый формат.
Каждый раз, когда векторный рисунок направляется на устройство вывода (в частности, монитор или принтер), он подвергается растрированию — преобразованию в набор видеопикселей или точек.
При экспорте векторных файлов в растровый формат может быть потеряна информация, связанная с цветом исходного изображения. Это объясняется тем, что в ряде растровых форматов количество цветов ограничено.
Преобразование файлов одного растрового формата в другой
Этот вид преобразования обычно самый простой и заключается в чтении информации из исходного файла и записи ее в новом файле, где данные о размере изображения, битовой глубине и цвете каждого видеопикселя хранятся другим способом. Если старый формат использует больше цветов, чем новый, то возможна потеря информации. Преобразование файла с 24-битовым цветом (16777216 цветов) в файл с 8-битовым цветом (256 цветов) требует изменения цвета почти каждого пикселя.
| Формат графических файлов |
| PCX |
| BMP |
| TIFF (Tagged Image File Format) |
| PSD (Adobe PhotoShop Document). Внутренний для программы Adobe Photoshop |
| JPEG (Joint Photographic Experts Group) |
| GIF (Graphics Interchange Format) |
| PCD (Photo CD) |
| EPS (Encapsulated PostScript) |
| JPEG 2000 (или jp2) |
| WMF |
| PNG |
Билет №3
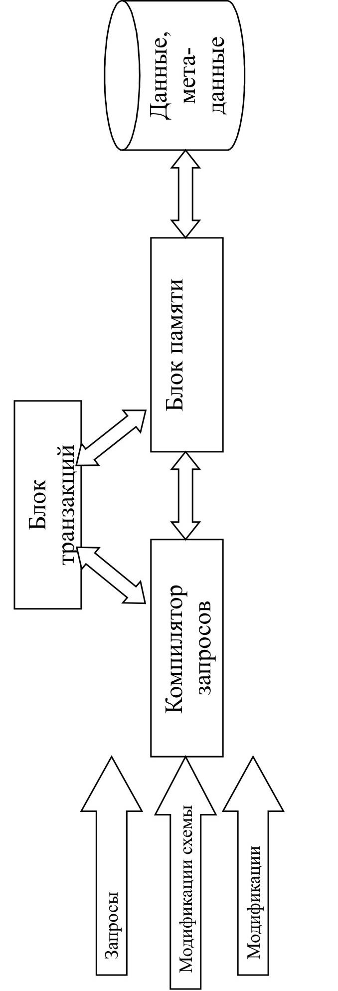
1. Архитектура СУБД и ее основные функции.
ОТВЕТ:
Система управления базами данных (СУБД) - комплекс программных и языковых средств, необходимых для создания и модификации базы данных, добавления, модификации, удаления, поиска и отбора информации, представления информации на экране и в печатном виде, разграничения прав доступа к информации, выполнения других операций с базой.
Архитектура СУБД

Компонент «Данные, метаданные» включает не только данные, но и информацию о структуре данных (метаданные).
Компонент «Блок памяти» получает требуемую информацию из места хранения данных и изменяет в нем соответствующую информацию по требованию расположенных выше уровней системы. В простых системах баз данных блоком памяти может служить система файлов операционной системы. Однако для повышения эффективности СУБД обычно осуществляет прямой контроль памяти.
Блок памяти состоит из двух компонентов:
1. Блок файлов контролирует расположение файлов на диске и получает блок или блоки, содержащие файлы, по запросу блока буфера.
2. Блок буфера управляет основной памятью. Он получает блоки данных с диска через блок файлов и выбирает страницу основной памяти для хранения отдельного блока.
Компонент «Компилятор запросов» обрабатывает различные обращения к СУБД и запрашивает изменение данных и метаданных. Он предлагает наилучший способ выполнения необходимой операции и выдает соответствующие команды блоку памяти.
Как правило, компилятором запросов обрабатывается три типа обращения к СУБД:
1. Запросы
2. Модификации (модифицирующие запросы) – операции по изменению данных (удаление, добавление, изменение).
3. Модификации схемы базы данных – команды администраторов баз данных, которые имеют право изменять схему базы данных либо создавать новую базу данных.
Компонент «Блок транзакций» отвечает за целостность системы и должен обеспечить одновременную обработку многих запросов, отсутствие интерференций запросов (интерференция – сложение, в данном случае необходимо исключить наложение запросов и их взаимодействие) и защиту данных в случае выхода системы из строя. Блок транзакций взаимодействует с компилятором запросов, т.к. для разрешения конфликтных ситуаций должен учитывать, на какие данные воздействуют текущие запросы. В силу этого некоторые вопросы могут быть отложены, и может быть установлена очередность их выполнения. Блок транзакций взаимодействует также с блоком памяти, т.к. схемы защиты данных обычно включают в себя хранение файла регистрации изменений данных.
Функций СУБД:
1. Непосредственное управление данными во внешней памяти.
Эта функция включает обеспечение необходимых структур внешней памяти как для хранения данных, непосредственно входящих в БД, так и для служебных целей, например, для убыстрения доступа к данным в некоторых случаях (обычно для этого используются индексы).
2. Управление буферами оперативной памяти.
СУБД обычно работают с БД значительного размера; по крайней мере этот размер обычно существенно больше доступного объема оперативной памяти. Практически единственным способом реального увеличения этой скорости является буферизация данных в оперативной памяти.
3. Управление транзакциями.
Транзакция - это последовательность операций над БД, рассматриваемых СУБД как единое целое. Либо транзакция успешно выполняется, и СУБД фиксирует изменения БД, произведенные этой транзакцией, во внешней памяти, либо ни одно из этих изменений никак не отражается на состоянии БД.
4. Журнализация.
Одним из основных требований к СУБД является надежность хранения данных во внешней памяти. Под надежностью хранения понимается то, что СУБД должна быть в состоянии восстановить последнее согласованное состояние БД после любого аппаратного или программного сбоя. Обычно рассматриваются два возможных вида аппаратных сбоев: так называемые мягкие сбои, которые можно трактовать как внезапную остановку работы компьютера (например, аварийное выключение питания), и жесткие сбои, характеризуемые потерей информации на носителях внешней памяти. Для восстановления БД нужно располагать некоторой дополнительной информацией. Наиболее распространенным методом поддержания такой избыточной информации является ведение журнала изменений БД.
Журнал - это особая часть БД, недоступная пользователям СУБД и поддерживаемая с особой тщательностью (иногда поддерживаются две копии журнала, располагаемые на разных физических дисках), в которую поступают записи обо всех изменениях основной части БД. В разных СУБД изменения БД журнализуются на разных уровнях: иногда запись в журнале соответствует некоторой логической операции изменения БД (например, операции удаления строки из таблицы реляционной БД), иногда - минимальной внутренней операции модификации страницы внешней памяти; в некоторых системах одновременно используются оба подхода.
5. Поддержка языков БД.
Для работы с базами данных используются специальные языки, в целом называемые языками баз данных. В ранних СУБД поддерживалось несколько специализированных по своим функциям языков. Чаще всего выделялись два языка - язык определения схемы БД (SDL - Schema Definition Language) и язык манипулирования данными (DML - Data Manipulation Language). SDL служил главным образом для определения логической структуры БД, т.е. той структуры БД, какой она представляется пользователям. DML содержал набор операторов манипулирования данными, т.е. операторов, позволяющих заносить данные в БД, удалять, модифицировать или выбирать существующие данные.
Стандартным языком наиболее распространенных в настоящее время реляционных СУБД является язык SQL (Structured Query Language)
2. Сопроцессоры. Назначение, система команд на примере процессоров Intel x86.
ОТВЕТ:
Сопроцессор - это специальная интегральная схема, которая работает в содружестве с главным процессором. Обычно сопроцессор настраивается на выполнение какой-нибудь специфической функции - математической операции или графического представления. И эту операцию сопроцессор может реализовывать во много раз быстрее, чем главный процессор.
Сопроцессор - обычный микропроцессор, но не столь универсальный, как любой член семейства Intel 8086. Обычно сопроцессор разрабатывается как специальное устройство по реализации конкретно определенной функции. Как и любой другой микропроцессор, сопроцессор работает по тем же принципам. Он просто выполняет программы содержащие последовательность микропроцессорных команд. Вся деятельность сопроцессора определяется главным микропроцессором, который может посылать сопроцессору команды на выполнение программ и формирование результатов. В обычном режиме микропроцессор выполняет все функции компьютера. И лишь, когда встречается задача, с которой лучше справится сопроцессор, ему выдаются данные и команды, а главный микропроцессор ожидает результаты.
Сопроцессоры, большей частью использующиеся с РС, являются математическими сопроцессорами. В математике они специализируются по умножению и делению чисел (они едва ли быстрее обычных микропроцессоров по части сложения и вычитания). Математические сопроцессоры называют еще процессорами с плавающей точкой. Потому что они особенно великолепны при работе с числами с плавающей точкой. Такие числа часто используются в научных расчетах и представляются мантиссой и ординатой (десятичная степень, определяющая положение десятичной точки).
Математический сопроцессор — сопроцессор для расширения командного множества центрального процессора и обеспечивающий его функциональностью модуля операций с плавающей запятой, для процессоров, не имеющих интегрированного модуля.
Модуль операций с плавающей запятой — часть процессора для выполнения широкого спектра математических операций над вещественными числами.
Простым «целочисленным» процессорам для работы с вещественными числами и математическими операциями требуются соответствующие процедуры поддержки и время для их выполнения. Модуль операций с плавающей запятой поддерживает работу с ними на уровне примитивов — загрузка, выгрузка вещественного числа (в/из специализированных регистров) или математическая операция над ними выполняется одной командой, за счёт этого достигается значительное ускорение таких операций.
Преимущества, которые получаются от установки математического сопроцессора, зависят от того, какие задачи решаются на вашем компьютере. Согласно Intel сопроцессор может уменьшить время выполнения математических операций, таких, как умножение, деление и возведение в степень на 80% и более. Скорость выполнения простых операций, таких, как сложение и вычитание, может быть совсем не уменьшена.
Сопроцессор и главный микропроцессор могут работать на разных тактовых частотах. Сопроцессоры могут работать от тактового генератора драйверов микропроцессоров или от специального предназначенного для сопроцессора генератора. Когда отношение двух частот - микропроцессора и сопроцессора выражается целым числом, они работают синхронно и могут выполнять свои задания, а также передавать друг другу информацию оптимальным образом. Несинхронизированная работа требует, чтобы один или другой из них ожидал завершения цикла своего партнера, что влечет за собой появление небольшого, но реального периода ожидания.
Сопроцессоры Intel семейства x86
Для процессоров семейства x86 с 8086/8088 по 386, модуль операций с плавающей запятой был выделен в отдельную микросхему, называемую математическим сопроцессором. Для установки сопроцессора на плате компьютера предусматривался отдельный разъём.
Сопроцессор не является полноценным процессором, так как не умеет делать многих необходимых для этого операций (например, не умеет работать с программой и вычислять адреса памяти), являясь всего лишь придатком центрального процессора.
Устройство FPU
Модуль операций с плавающей запятой представляет собой стековый калькулятор, работающий по принципу обратной польской записи (форма записи математических выражений, в которой операнды расположены перед знаками операций). Перед операцией аргументы помещаются в LIFO-стек, при выполнении операции необходимое количество аргументов снимается со стека. Результат операции помещается в стек, где может быть использован в дальнейших вычислениях или может быть снят со стека для записи в память. Также поддерживается и прямая адресация аргументов в стеке относительно вершины.
Внутри FPU числа хранятся в 80-битном формате с плавающей запятой, для записи же или чтения из памяти могут использоваться:
Вещественные числа в трёх форматах: коротком (32 бита), длинном (64 бита) и расширенном (80 бит).
Двоичные целые числа в трёх форматах: 16, 32 и 64 бита.
Упакованные целые десятичные числа (BCD) числа - длина максимального числа составляет 18 упакованных десятичных цифр (72 бита).
Система команд сопроцессора
Система включает около 80 команд. Их классификация:
Команды передачи данных
- Вещественные данные
- Целочисленные данные
- Десятичные данные
- Загрузка констант (0, 1, число Пи, log2(10), log2(e), lg(2), ln(2))
- Обмен
- Условная пересылка (Pentium II/III)
Команды сравнения данных
- Вещественные данные
- Целочисленные данные
- Анализ
- С нулём
- Условное сравнение (Pentium II/III)
Арифметические команды
- Вещественные данные: сложение, вычитание, умножение, деление
- Целочисленные данные: сложение, вычитание, умножение, деление
- Вспомогательные арифметические команды (квадратный корень, модуль, изменение знака, выделение порядка и мантиссы)
Трансцендентные команды
- Тригонометрия: синус, косинус, тангенс, арктангенс
- Вычисление логарифмов и степеней
Команды управления
- Инициализация сопроцессора
- Работа со средой
- Работа со стеком
- Переключение режимов
3. Требования к системам криптографической защиты: криптографические требования, требования надежности, требования по защите от НСД, требования к средствам разработки.
ОТВЕТ:
Криптография является методологической основой современных систем обеспечения безопасности информации в компьютерных системах и сетях.
Для обеспечения безопасности данных необходимо поддерживать три основные функции:
• защиту конфиденциальности передаваемых или хранимых в памяти данных;
• подтверждение целостности и подлинности данных;
• аутентификацию абонентов при входе в систему и при установлении соединения;
Требования к криптосистемам:
1. зашифрованное сообщение должно поддаваться чтению только при наличии ключа;
2.число операций, необходимых для определения использованного ключа шифрования по фрагменту шифрованного сообщения и соответствующего ему открытого текста, должно быть не меньше общего числа возможных ключей;
3. число операций, необходимых для расшифровывания информации путем перебора всевозможных ключей должно иметь строгую нижнюю оценку и выходить за пределы возможностей современных компьютеров (с учетом возможности использования сетевых вычислений);
4. знание алгоритма шифрования не должно влиять на надежность защиты;
5. незначительное изменение ключа должно приводить к существенному изменению вида зашифрованного сообщения даже при использовании одного и того же ключа;
6. структурные элементы алгоритма шифрования должны быть неизменными;
7. дополнительные биты, вводимые в сообщение в процессе шифрования, должен быть полностью и надежно скрыты в шифрованном тексте;
8. длина шифрованного текста должна быть равной длине исходного текста;
9. не должно быть простых и легко устанавливаемых зависимостью между ключами, последовательно используемыми в процессе шифрования;
10. любой ключ из множества возможных должен обеспечивать надежную защиту информации;
11. алгоритм должен допускать как программную, так и аппаратную реализацию, при этом изменение длины ключа не должно вести к качественному ухудшению алгоритма шифрования.
Билет №7
1. Классификация, состав и структура АИС.
По направлению деятельности различают:
• производственные системы;
• административные системы (человеческих ресурсов);
• финансовые и учетные системы;
• системы маркетинга.
Производственные системы подразделяются на:
• автоматизированные системы управления производством;
• автоматизированные системы управления технологическими процессами;
• автоматизированные системы управления техническими средствами.
Виды обеспечения автоматизированных информационных систем
Подсистема — это часть системы, выделенная по какому-либо признаку.
Различают:
• Программно-техническое обеспечение (платформа).
• Информационное обеспечение.
• Математическое обеспечение (иногда – алгоритмическое).
• Организационно-методическое обеспечение.
Иногда объединяют математическое и программное обеспечение, иногда выделяют лингвистическое обеспечение.
Информационное обеспечение — совокупность единой системы классификации и кодирования информации, унифицированных систем документации, схем информационных потоков, циркулирующих в организации, а также методология построения баз данных.
Назначение подсистемы информационного обеспечения состоит в своевременном формировании и выдаче достоверной информации для принятия управленческих решений.
Автоматизированная система – система, состоящая из персонала и комплекса средств автоматизации его деятельности, реализующая информационную технологию установленных функций.
Технологическое и организационное воплощение информационного обеспечения осуществляется в следующих формах:
• служба документационного управления;
• информационная служба;
• экспертно-аналитическая служба.
Унифицированные системы документации создаются на государственном, республиканском, отраслевом и региональном уровнях. Главная цель — это обеспечение сопоставимости показателей различных сфер общественного производства. Разработаны стандарты, где устанавливаются требования:
• к унифицированным системам документации;
• к унифицированным формам документов различных уровней управления;
• к составу и структуре реквизитов и показателей;
• к порядку внедрения, ведения и регистрации унифицированных форм документов.
Для создания информационного обеспечения необходимо:
• ясное понимание целей, задач, функций всей системы управления организацией;
• выявление движения информации от момента возникновения и до ее использования на различных уровнях управления, представленной для анализа в виде схем информационных потоков;
• совершенствование системы документооборота;
• наличие и использование системы классификации и кодирования;
• владение методологией создания концептуальных информационно-логических моделей, отражающих взаимосвязь информации;
• создание массивов информации на машинных носителях, что требует наличия современного технического обеспечения.
Техническое обеспечение — комплекс технических средств, предназначенных для работы информационной системы, а также соответствующая документация на эти средства и технологические процессы.
Комплекс технических средств составляют:
• компьютеры любых моделей;
• устройства сбора, накопления, обработки, передачи и вывода информации;
• устройства передачи данных и линий связи;
• оргтехника и устройства автоматического съема информации;
• эксплуатационные материалы и др.
К настоящему времени сложились две основные формы организации технического обеспечения (формы использования технических средств) — централизованная и частично или полностью децентрализованная.
Централизованное техническое обеспечение базируется на использовании в информационной системе больших компьютеров и вычислительных центров.
Децентрализация технических средств предполагает реализацию функциональных подсистем на персональных компьютерах непосредственно на рабочих местах.
Математическое и программное обеспечение — совокупность математических методов, моделей, алгоритмов и программ для реализации целей и задач информационной системы, а также нормального функционирования комплекса технических средств.
К средствам математического обеспечения относятся:
• средства моделирования процессов управления;
• типовые алгоритмы управления;
•методы математического программирования, математической статистики, теории массового обслуживания и др.
В состав программного обеспечения входят общесистемные и специальные программные продукты, а также техническая документация.
К общесистемному программному обеспечению относятся комплексы программ, ориентированных на пользователей и предназначенных для решения типовых задач обработки информации. Они служат для расширения функциональных возможностей компьютеров, контроля и управления процессом обработки данных.
Специальное программное обеспечение представляет собой совокупность программ, разработанных при создании конкретной информационной системы. В его состав входят пакеты прикладных программ, реализующие разработанные модели разной степени адекватности, отражающие функционирование реального объекта.
Техническая документация на разработку программных средств должна содержать описание задач, задание на алгоритмизацию, экономико-математическую модель задачи, контрольные примеры.
Организационное обеспечение — совокупность методов и средств, регламентирующих взаимодействие работников с техническими средствами и между собой в процессе разработки и эксплуатации информационной системы. Организационное обеспечение создается по результатам предпроектного обследования организации.
Правовое обеспечение — совокупность правовых норм, определяющих создание, юридический статус и функционирование информационных систем, регламентирующих порядок получения, преобразования и использования информации.
Главной целью правового обеспечения является укрепление законности. В состав правового обеспечения входят законы, указы, постановления государственных органов власти, приказы, инструкции и другие нормативные документы министерств, ведомств, организаций, местных органов власти.
Правовое обеспечение функционирования информационной системы включает:
• статус информационной системы;
• права, обязанности и ответственность персонала;
• правовые положения отдельных видов процесса управления;
• порядок создания и использования информации и др.
Класс A: системы (подсистемы) управления технологическими объектами и/или процессами.
Класс B: системы (подсистемы) подготовки и учета производственной деятельности предприятия.
Класс C: системы (подсистемы) планирования и анализа производственной деятельности предприятия.
Системы (подсистемы) класса A - системы (подсистемы) контроля и управления технологическими объектами и/или процессами.
В качестве классических примеров систем класса A можно считать:
SCADA - Supervisory Control And Data Acquisition (диспетчерский контроль и накопление данных);
DCS - Distributed Control Systems (распределенные системы управления);
Batch Control - системы последовательного управления;
АСУ ТП - Автоматизированные Системы Управления Технологическими Процессами.
Системы класса B - это системы (подсистемы) подготовки и учета производственной деятельности предприятия. Системы класса B предназначены для выполнения класса задач, требующих непосредственного участия человека для принятия оперативных (тактических) решений, оказывающих влияние на ограниченный круг видов деятельности или небольшой период работы предприятия.
В некотором смысле к таким системам принято относить те, которые находятся на уровне технологического процесса, но с технологией напрямую не связаны.
Классическими примерами систем класса B можно считать:
MES - Manufacturing Execution Systems (системы управления производством);
MRP - Material Requirements Planning (системы планирования потребностей в материалах);
MRP II - Manufacturing Resource Planning (системы планирования ресурсов производства);
CRP - C Resource Planning (система планирования производственных мощностей);
CAD - Computing Aided Design (автоматизированные системы проектирования - САПР);
CAM - Computing Aided Manufacturing (автоматизированные системы поддержки производства);
CAE - Computing Aided Engineering (автоматизированные системы инженерного проектирования - САПР);
PDM - Product Data Management (автоматизированные системы управления данными);
SRM - Customer Relationship Management (системы управления взаимоотношениями с клиентами);
всевозможные учетные системы и т.п.
Системы класса C - это системы (подсистемы) планирования и анализа производственной деятельности предприятия. Системы класса C предназначены для выполнения класса задач, требующих непосредственного участия человека для принятия стратегических решений, оказывающих влияние на деятельность предприятия в целом.
Классическими названиями системы класса B можно считать:
ERP - Enterprise Resource Planning (Планирование Ресурсов Предприятия);
IRP - Intelligent Resource Planning (системами интеллектуального планирования);
АСУП;
EIS.
2. Контроллеры, основные функции и реализация.
Контроллер - специализированное техническое устройство, предназначенное для управления другими устройствами путем получения информации в виде цифровых данных или аналого-дискретного сигнала от внешнего устройства (ЭВМ, датчики или иное устройство), преобразования этой информации по специальному алгоритму и выдачи управляющих воздействий в виде цифрового или аналого-дискретного сигнала. Чаще всего контроллеры представляют собой программируемые устройства, имеющие в своем составе программируемые логические интегральные схемы (ПЛИС) или специализированные процессоры.
Примеры контроллеров:
- контроллер информационной шины (PCI, SCSI и т. п.);
- контроллер видеомонитора (видеоадаптер);
- контроллер газораспределительной системы и системы зажигания в автомобиле;
- контроллер управления стиральной машиной, кондиционером и т. д.
Классификация
Страна-производитель
Считалось, что контроллеры, произведённые в Европе, Америке и Японии, гораздо надежнее, обладают гораздо большим функционалом, чем их «коллеги» из Юго-Восточной Азии и России. В настоящее время этот классификационный признак, скорее всего, потерял актуальность. Российские предприятия набрались опыта и схемотехнические решения у нас подчас даже лучше, чем у западных аналогов. По характеристикам контроллеры-аналоги различных стран-производителей почти не отличаются. По сути, границы между производителями электроники постепенно исчезают вообще.
К российской специфике можно отнести:
-высокий уровень промышленных помех;
-широкий диапазон изменения параметров атмосферной и промышленной сред;
Мощность
Под обобщённым термином «мощность» понимается разрядность и быстродействие центрального процессора, объём разных видов памяти, число портов и сетевых интерфейсов. Очень часто основным показателем, косвенно характеризующим мощность контроллера и, одновременно, являющимся важнейшей его характеристикой, является число входов и выходов (как аналоговых, так и дискретных), которые могут быть подсоединены к контроллеру.
По этому показателю контроллеры подразделяются на следующие классы:
-наноконтроллеры (часто с встроенными функциями), имеющие до 15 входов/выходов;
-малые контроллеры, рассчитанные на 15-100 входов/выходов;
-средние контроллеры, рассчитанные примерно на 100-300 входов/выходов;
-большие контроллеры, рассчитанные примерно на 300-2000 входов/выходов;
-сверхбольшие контроллеры, имеющие примерно от 2000 и более входов/выходов.
Область применения
Область применения – один из наиболее важных признаков классификации. Область применения контроллера накладывает целый ряд требований к контроллерам и очень сильно сужает круг поиска при разработке систем управления.
Специализированный контроллер со встроенными функциями
Обычно им является минимальный по мощности контроллер, программа действия которого заранее прошита в его памяти, а изменению при эксплуатации подлежат только параметры программы. Число и набор модулей ввода/вывода определяется реализуемыми в нем функциями. Часто такие контроллеры реализуют различные варианты функций регулирования. Основные области применения: локальное управление какой-либо малой технологической установкой или механизмом.
Контроллер для реализации логических зависимостей (коммандоаппарат)
Главные сферы применения такого контроллера: станкостроение, машиностроение, замена релейно-контактных шкафов во всех отраслях промышленности. Он характеризуется прошитой в его памяти развитой библиотекой логических функций и функций блокировки типовых исполнительных механизмов. Для его программирования используются специализированные языки типа релейно-контактных схем. Набор модулей ввода/вывода у такого контроллера рассчитан, в основном, на разнообразные дискретные каналы. Наиболее простыми представителями данного класса контроллеров являются интеллектуальные реле.
Контроллер, реализующий любые вычислительные и логические функции
Наиболее распространённый универсальный контроллер, не имеющий ограничений по области применения. Центральный процессор контроллера имеет достаточную мощность, разрядность, память, чтобы выполнять как логические, так и математические функции. Иногда, для усиления его вычислительной мощности, он снабжается ещё и математическим сопроцессором (во многих современных процессорах математический сопроцессор интегрирован в сам кристалл). В состав модулей ввода/вывода входят модули на всевозможные виды и характеристики каналов (аналоговых, дискретных, импульсных и т. д.).
Контроллер противоаварийной защиты
Он должен отличаться от контроллеров других классов:
-особенно высокой надежностью, достигаемой различными вариантами диагностики и резервирования (например, диагностикой работы отдельных компонентов контроллера в режиме реального времени, наличием основного и резервного контроллеров с одинаковым аппаратным и программным обеспечениями и с модулем синхронизации работы контроллеров, резервированием блоков питания и коммуникационных шин);
-высокой готовностью, т. е. высокой вероятностью того, что объект находится в рабочем режиме (например, не только идентификацией, но и компенсацией неисправных элементов; не просто резервированием, но и восстановлением ошибок программы без прерывания работы контроллеров);
-отказоустойчивостью, когда при любом отказе автоматизируемый процесс переводится в безопасный режим функционирования.
Контроллер цепи противоаварийной защиты должен иметь сертификат, подтверждающий безопасность его работы в цепях противоаварийной защиты.
Контроллер телемеханических систем автоматизации
Данный класс универсальных контроллеров удобен для создания систем диспетчерского контроля и управления распределёнными на местности объектами. В контроллерах данного класса повышенное внимание уделяется программным и техническим компонентам передачи информации на большие расстояния беспроводными линиями связи. В качестве таких линий часто используются УКВ-радиоканалы с обычными или транковыми радиостанциями. При этом возможна передача информации от каждого контроллера в диспетчерский центр, а также эстафетная передача информации по цепи от одного контроллера к другому до достижения диспетчерского центра.
В настоящее время, в связи с большим скачком в развитии сотовой связи, всё большее распространение получает передача информации через сети GSM.
Открытость архитектуры
По структуре контроллеры подразделяются на два класса: контроллеры, имеющие фирменную закрытую структуру, и контроллеры открытой структуры, основанной на одном из магистрально-модульных стандартов.
При закрытой фирменной структуре изменения (модификации) контроллера возможны, обычно, только компонентами производителя. Сами изменения достаточно ограничены и заранее оговорены производителем.
При открытой магистрально-модульной структуре, имеющей стандартный интерфейс для связи центрального процессора с другими модулями контроллера, ситуация кардинально меняется.
По конструктивному исполнению контроллеры можно разделить на несколько групп:
-встраиваемые;
-размещаемые в общий конструктив;
-модульного типа;
Встраиваемые контроллеры
Как правило не имеют корпуса, часто конструкция просто крепится на раме. Требований к защитным оболочкам таких контроллеров не предъявляются, поскольку контроллеры встраиваются в общий корпус оборудования и являются неотъемлемой частью этого оборудования
Контроллеры, размещаемые в общий конструктив
Такие контроллеры характеризуются тем, что вс е модули – процессорный, коммуникационные, модули ввода-вывода – размещаются в одном конструктиве. В таких контроллерах, как правило, предусматривается некая «материнская» плата с разъёмами, в которые вставляются все модули контроллера.
Контроллеры модульного типа
Контроллеры модульного типа не используют общего конструктива. Каждый модуль таких контроллеров, будь то процессорный модуль или модуль ввода-вывода, имеет собственный корпус.
Можно выделить две разновидности контроллеров: с внутренней межмодульной шиной и с внешней шиной.
Модули контроллеров с внутренней межмодульной шиной на боковых поверхностях имеют контакты для подключения соседних модулей. А модули контроллеров с внешней шиной, как правило, используют для связи между модулями какую-нибудь скоростную полевую шину, например CAN
3.Сжатие данных. Определение и виды. Примеры кодирования, их применение в ИТ. Сжатие изображений и аудиоинформации. Стандарты JPEG и МР3.
Сжатие данных — процедура перекодирования данных, производимая с целью уменьшения их объёма.
Сжатие бывает без потерь (когда возможно восстановление исходных данных без искажений) или с потерями (восстановление возможно с искажениями, несущественными с точки зрения дальнейшего использования восстановленных данных).
Сжатие без потерь обычно используется при обработке компьютерных программ и данных, реже для сокращения объёма звуковой, фото- и видеоинформации. При декомпрессии результат будет в точности (бит к биту) соответствовать оригиналу. Большинство методов сжатия без потери качества не учитывают визуальную похожесть соседних кадров видеопотока. Однако при сжатии без потерь невозможно достигнуть высоких коэффициентов сжатия на реальном видео.
Сжатие с потерями применяется для сокращения объёма звуковой, фото- и видеоинформации, оно значительно эффективнее сжатия без потерь. С помощью таких методов аудио и видео могут быть сжаты до 5% их оригинального размера, но утраченная информация редко видна невооруженным глазом или определяется на слух. Используют похожесть соседних кадров. Из-за этого максимальная степень сжатия среднестатистического видеофрагмента, достигаемая алгоритмами без потерь, не превышает 3 к 1, в то время как алгоритмы, работающие с потерей качества, могут сжимать вплоть до 100 к 1.По этой причине практически всё широко используемое видео является сжатым с потерями.
Кодирование информации — процесс преобразования сигнала из формы, удобной для непосредственного использования информации, в форму, удобную для передачи, хранения или автоматической переработки
Цифровое кодирование
Аналоговое кодирование
Таблично-символьное кодирование
Числовое кодирование
Алгоритмы сжатия видео
Данный вид информации имеет огромный объем и, как никакая другая информация, нуждается в сжатии.
Сжатие видео — уменьшение количества данных, используемых для представления видеопотока. Существует симметричная и асимметричная схемы сжатия данных.
При асимметричной схеме информация сжимается в автономном режиме (т.е. одна секунда исходного видео сжимается в течение нескольких секунд или даже минут мощными параллельными компьютерами и помещается на внешний носитель, например CD–ROM). На машинах пользователей устанавливаются сравнительно дешевые платы декодирования, обеспечивающие воспроизведение информации мультимедиа в реальном времени. Использование такой схемы увеличивает коэффициент сжатия, улучшает качество изображения, однако пользователь лишен возможности разрабатывать собственные продукты мультимедиа.
При симметричной схеме сжатие и развертка происходят в реальном времени на машине пользователя, благодаря чему за персональными компьютерами и в этом случае сохраняется их основополагающее достоинство: с их помощью любой пользователь имеет возможность производить собственную продукцию.
Motion-JPEG. Является наиболее простым алгоритмом сжатия видео. В нем каждый кадр сжимается независимо алгоритмом JPEG. Этот прием дает высокую скорость доступа к произвольным кадрам. Легко реализуются плавные "перемотки" в обоих направлениях, аудио-визуальная синхронизация.
Характеристики Motion-JPEG
Cжатие: в 5-10 раз
Плюсы: Быстрый произвольный доступ. Легко редактировать поток. Низкая стоимость аппаратной реализации.
Минусы: Сравнительно низкая степень сжатия.
Алгоритм обработки данных JPEG
JPEG основан на схеме кодирования, базирующейся на дискретных косинус-преобразованиях (DCT). DCT — это общее имя определенного класса операций, данные о которых были опубликованы несколько лет назад. В силу своей природы они всегда кодируют с потерями, но способны обеспечить высокую степень сжатия при минимальных потерях данных.
Схема JPEG эффективна только при сжатии многоградационных изображений, в которых различия между соседними пикселями, как правило, весьма незначительны. Практически JPEG хорошо работает только с изображениями, имеющими глубину хотя бы 4 или 5 битов/пиксел на цветовой канал. Основы стандарта определяют глубину входного образца в 8 бит/пиксел. Данные с меньшей битовой глубиной могут быть обработаны посредством масштабирования до 8 бит/пиксел, но результат для исходных данных с низкой глубиной цвета может быть неудовлетворительным, поскольку между атрибутами соседних пикселов будут существенные различия. По подобным причинам плохо обрабатываются исходные данные на основе цветовых таблиц, особенно если изображение представляется в размытом виде.
Процесс сжатия по схеме JPEG включает ряд этапов:
- Преобразование изображения в оптимальное цветовое пространство.
- Субдискретизация компонентов цветности усреднением групп пикселей.
-Применение дискретных косинус-преобразований для уменьшения избыточности данных изображения.
-Квантование каждого блока коэффициентов DCT с применением весовых функций, оптимизированных с учетом визуального восприятия человеком.
-Кодирование результирующих коэффициентов (данных изображения) с применением алгоритма Хаффмена для удаления избыточности информации.
Цветовое пространство. В принципе алгоритм JPEG способен кодировать изображения, основанные на любом типе цветового пространства.
Субдискретизация компонентов цветности. Уменьшение разрешения каналов цветности путем субдискретизации, или усреднения групп пикселей осуществляется компрессором JPEG.
Дискретное косинусное преобразование. Дискретное косинусное преобразование представляет собой разновидность преобразования Фурье и, так же как и оно, имеет обратное преобразование. Дискретное косинусное преобразование преобразует матрицу пикселов размером NxN в матрицу частотных коэффициентов соответствующего размера.
Коэффициент квантования. Чем больше коэффициент квантования, тем больше данных теряется, поскольку реальное DCT-значение представляется все менее и менее точно. JPEG использует различную чувствительность глаза к яркости и цветности изображения.
Кодирование. Заключительная стадия работы кодера JPEG - это собственно кодирование.
Формат JFIF .
Строго говоря, JPEG обозначает рассмотренный выше алгоритм сжатия, а не конкретный формат представления графической информации. Практически любую графическую информацию можно сжать по такому алгоритму. Формат файлов, использующих алгоритм JPEG, формально называют JFIF (JPEG File Interchange Format). На практике, очень часто файлы, использующие JPEG - сжатие, называют JPEG - файлами.
На основе JPEG - метода сжатия построены многочисленные форматы, например, формат TIFF/JPEG, известный как TIFF 6.0, TIFF, QuickTime и др.
Файлы с графикой в формате JPEG имеют расширение *.jpg.
Формат JPEG является TrueColor-форматом, то есть может хранить изображения с глубиной цвета 24 бит/пиксел. Такой глубины цвета достаточно для практически точного воспроизведения изображений любой сложности на экране монитора.
Формат MP3(MPEG Layer3). Это один из форматов хранения аудиосигнала, позднее утвержденный как часть стандартов сжатого видео. Данный формат построен на знании особенностей человеческого слуха. Это называется адаптивным кодированиеми позволяет экономить на наименее значимых с точки зрения восприятия человека деталях звучания.
Режимы управления кодированием звуковых каналов
существует 4 режима:
Стерео — двухканальное кодирование, при котором каналы исходного стереосигнала кодируются независимо друг от друга.
Моно — одноканальное кодирование. Если закодировать двухканальный материал этим способом, различия между каналами будут полностью стёрты, так как два канала смешиваются в один, он кодируется и он же воспроизводится в обоих каналах стереосистемы.
Двухканальный — два независимых канала, например звуковое сопровождение на разных языках. Битрейт делится на два канала.
Объединённое стерео (Joint Stereo) — оптимальный способ двухканального кодирования.
Стереозвук — запись, передача или воспроизведение звука, при которых сохраняется аудиальная информация о расположении его источника посредством раскладки звука через два (и более) независимых аудиоканала. В монозвучании аудиосигнал поступает из одного канала.
Принципиальной особенностью MPEG-кодирования является компрессия с потерями. После упаковки и распаковки звукового файла методом MP3 результат не идентичен оригиналу "бит в бит". Напротив, упаковка целенаправленно исключает из упаковываемого сигнала несущественные компоненты, что приводит к чрезвычайному возрастанию коэффициента сжатия. В зависимости от необходимого качества звука метод MP3 способен сжать звук в десять и более раз (См. Степень сжатия и качество).
Преимущества MP3.
Первое преимущество состоит в том, что ни про один из существующих подобных форматов нельзя пока сказать, что он полностью гарантирует устойчивое сохранение качества звучания на достаточно высоких битрейтах, кроме MP3, который достойно выдержал проверку временем. Второе, не менее важное преимущество - на ближайшие годы, а возможно, и на все десятилетие, MP3 стал стандартом де факто, поскольку много сделано в него вложений пользующимися им сторонами, в том числе и цифровыми радиостанциями
Билет №8
1. Проектирование методом «сущность-связь». Нормализация отношений.
Основные понятия ER-диаграмм
Сущность-это класс однотипных объектов, информация о которых должна быть учтена в модели.
Каждая сущность должна иметь наименование, выраженное существительным в единственном числе.
Примерами сущностей могут быть такие классы объектов как "Поставщик", "Сотрудник", "Накладная".
Каждая сущность в модели изображается в виде прямоугольника с наименованием:

Экземпляр сущности - это конкретный представитель данной сущности.
Например, представителем сущности "Сотрудник" может быть "Сотрудник Иванов".
Экземпляры сущностей должны быть различимы, т.е. сущности должны иметь некоторые свойства, уникальные для каждого экземпляра этой сущности.
Атрибут сущности-это именованная характеристика, являющаяся некоторым свойством сущности.
Наименование атрибута должно быть выражено существительным в единственном числе (возможно, с характеризующими прилагательными).
Примерами атрибутов сущности "Сотрудник" могут быть такие атрибуты как "Табельный номер", "Фамилия", "Имя", "Отчество", "Должность", "Зарплата" и т.п.
Атрибуты изображаются в пределах прямоугольника, определяющего сущность:

Ключ сущности-это неизбыточный набор атрибутов, значения которых в совокупности являются уникальными для каждого экземпляра сущности. Неизбыточность заключается в том, что удаление любого атрибута из ключа нарушается его уникальность. Сущность может иметь несколько различных ключей.
Ключевые атрибуты изображаются на диаграмме подчеркиванием:

Связь-это некоторая ассоциация между двумя сущностями. Одна сущность может быть связана с другой сущностью или сама с собою.
Связи позволяют по одной сущности находить другие сущности, связанные с нею.
Например, связи между сущностями могут выражаться следующими фразами - "СОТРУДНИК может иметь несколько ДЕТЕЙ", "каждый СОТРУДНИК обязан числиться ровно в одном ОТДЕЛЕ".
Графически связь изображается линией, соединяющей две сущности:

Каждая связь имеет два конца и одно или два наименования. Наименование обычно выражается в неопределенной глагольной форме: "иметь", "принадлежать" и т.п. Каждое из наименований относится к своему концу связи. Иногда наименования не пишутся ввиду их очевидности.
Каждая связь может иметь один из следующих типов связи:

Связь типа один-к-одному означает, что один экземпляр первой сущности (левой) связан с одним экземпляром второй сущности (правой). Связь один-к-одному чаще всего свидетельствует о том, что на самом деле мы имеем всего одну сущность, неправильно разделенную на две.
Связь типа один-ко-многим означает, что один экземпляр первой сущности (левой) связан с несколькими экземплярами второй сущности (правой). Это наиболее часто используемый тип связи. Левая сущность (со стороны "один") называется родительской, правая (со стороны "много") - дочерней. Связь типа много-ко-многим означает, что каждый экземпляр первой сущности может быть связан с несколькими экземплярами второй сущности, и каждый экземпляр второй сущности может быть связан с несколькими экземплярами первой сущности. Тип связи много-ко-многим является временным типом связи, допустимым на ранних этапах разработки модели. В дальнейшем этот тип связи должен быть заменен двумя связями типа один-ко-многим путем создания промежуточной сущности.
Каждая связь может иметь одну из двух модальностей связи:

Модальность "может" означает, что экземпляр одной сущности может быть связан с одним или несколькими экземплярами другой сущности, а может быть и не связан ни с одним экземпляром.
Модальность "должен" означает, что экземпляр одной сущности обязан быть связан не менее чем с одним экземпляром другой сущности.
Связь может иметь разную модальность с разных концов
Описанный графический синтаксис позволяет однозначно читать диаграммы, пользуясь следующей схемой построения фраз:
<Каждый экземпляр СУЩНОСТИ 1> <МОДАЛЬНОСТЬ СВЯЗИ> <НАИМЕНОВАНИЕ СВЯЗИ> <ТИП СВЯЗИ> <экземпляр СУЩНОСТИ 2>.
Каждая связь может быть прочитана как слева направо, так и справа налево.
Реальным средством моделирования данных является не формальный метод нормализации отношений, а так называемое семантическое моделирование.
В качестве инструмента семантического моделирования используются различные варианты диаграмм сущность-связь (ER - Entity-Relationship).
Диаграммы сущность-связь позволяют использовать наглядные графические обозначения для моделирования сущностей и их взаимосвязей.
Различают концептуальные и физические ER-диаграммы. Концептуальные диаграммы не учитывают особенностей конкретных СУБД. Физические диаграммы строятся по концептуальным и представляют собой прообраз конкретной базы данных. Сущности, определенные в концептуальной диаграмме становятся таблицами, атрибуты становятся колонками таблиц (при этом учитываются допустимые для данной СУБД типы данных и наименования столбцов), связи реализуются путем миграции ключевых атрибутов родительских сущностей и создания внешних ключей.
При правильном определении сущностей, полученные таблицы будут сразу находиться в 3НФ. Основное достоинство метода состоит в том, модель строится методом последовательных уточнений первоначальных диаграмм.
Под нормализацией отношения подразумевается процесс приведения отношения к одной из так называемых нормальных форм (или в дальнейшем НФ)
Всего в реляционной теории насчитывается 6 НФ:
1-я НФ (обычно обозначается также 1НФ).
2НФ.
3НФ.
НФ Бойса-Кодда (НФБК).
4НФ.
5НФ.
На практике, как правило, ограничиваются 3НФ.
1НФ
Схема отношения R находится в 1НФ, если значения в dom(A) являются атомарными для каждого атрибута A в R.
Другими словами, каждый атрибут отношения должен хранить одно-единственное значение и не являться ни списком, ни множеством значений.
Приведение отношения к 1НФ - довольно простая операция. Мы должны просмотреть схему отношения и разделить составные атрибуты на различные строки/столбцы. Возможно, эту операцию придется повторить несколько раз до тех пор, пока каждый из атрибутов не станет атомарным (с учетом сказанного в предыдущем абзаце).
Наим. Город Адрес Эл. почта WWW Вид Конт. Лица
Наим. Город Адрес Эл. почта WWW Вид Должность Ф.И.О. Код города Тел.
2НФ
Схема отношения R находится во 2НФ относительно множества функциональных зависимостей F, если она находится в 1НФ и каждый неключевой атрибут полностью зависит от каждого ключа для R.
Другими словами, отношение находится во 2НФ, если оно находится в 1НФ, и при этом все неключевые атрибуты зависят только от ключа целиком, а не от какой-то его части.
Наим. Город Адрес Эл. почта WWW Вид Должность Ф.И.О. Код города Тел.
Город Код города
3НФ
Схема отношения R находится в 3НФ относительно множества функциональных зависимостей F, если она находится в 1НФ и ни один из непервичных атрибутов в R не является транзитивно зависимым от ключа для R.
Вольное изложение определения: чтобы привести отношение к 3НФ, необходимо устранить функциональные зависимости между неключевыми атрибутами отношения. Другими словами, факты, хранимые в таблице, должны зависеть только от ключа.
Наим. Город Адрес Эл. почта WWW Вид
Наим. Город Ф.И.О. Должность Тел.
2. Способы обеспечения монопольного доступа к разделяемым ресурсам. Алгоритмы распределения памяти. Способы защиты памяти.
Существуют три типа доступа к ресурсу (закрытия ресурса):
• монопольный – только одна транзакция получает доступ к ресурсу (монопольный тип доступа обычно используется при записи информации);
• разделяемый – несколько транзакций получают доступ к ресурсу (разделяемый тип доступа обычно используется при чтении информации);
• предупредительный – в грбфе запретов введен запрет на узел Х нижнего уровня. Поддеревья, в которые входит узел X, помечаются меткой предупредительного запрета, чтобы не допустить наложения на поддеревья, содержащие узел X.
Известно несколько способов распределения памяти:
1. Фиксированное распределение. ОП разделяется на ряд статических разделов во время генерации системы. Процесс может быть загружен в раздел равного или большего размера. Положительная сторона- простота реализации и малые системные затраты. Отрицательная сторона- неэффективное использование памяти из-за внутренней фрагментации и фиксированного максимального количества процессов.
2. Динамическое распределение. Разделы создаются динамически, каждый процесс загружается в раздел необходимого раздела. Достоинство- отсутствие внутренней фрагментации, более эффективное использование ОП. Недостаток- существенные затраты процессора на противодействие внешней фрагментации и проведения уплотнения памяти. При выделении памяти таким образом применяются три основных алгоритма: наилучший подходящий, первый подходящий, следующий подходящий.
3. Простая страничная организация. ОП разделена на ряд кадров равного размера. Каждый процесс распределен на некоторое количество страниц равного размера, такой же длины, что и кадры памяти. Процесс загружается путем загрузки всех его страниц. Достоинство- отсутствие внешней фрагментации. Недостаток- небольшая внутренняя фрагментация.
4. Простая сегментация. Каждый процесс распределен на ряд сегментов. Процесс загружается путем загрузки всех своих сегментов в динамические, не обязательно смежные, разделы. Достоинство- отсутствие внутренней фрагментации. Недостаток- проблемы с внешней фрагментацией.
5. Страничная организация виртуальной памяти. Подобна простой страничной организации, но не требуется загружать все страницы процесса. Необходимые нерезидентные страницы автоматически подгружаются в память. Достоинства – отсутствие внешней фрагментации, более высокая степень многозадачности, большое виртуальное адресное пространство. Недостаток- значительные затраты на управление виртуальной памятью.
6. Сегментация виртуальной памяти. Подобна простой сегментации, но не требуется загружать все сегменты процесса. Необходимые нерезидентные сегменты автоматически подгружаются в память. Достоинства – отсутствие внутренней фрагментации, более высокая степень многозадачности, большое виртуальное адресное пространство, поддержка защиты и совместного использования. Недостаток- затраты на управление сложной виртуальной памятью.
Способы защиты памяти.
Метод граничных регистров заключается во введении двух граничных регистров, указывающих верхнюю и нижнюю границы области памяти, куда программа имеет право доступа.
При каждом обращении к памяти проверяется, находится ли используемый адрес в установленных границах. При выходе за границы обращение к памяти не производится, а формируется запрос прерывания, передающий управление операционной системе. Содержание граничных регистров устанавливается операционной системой при загрузке программы в память.
Модификация этого метода заключается в том, что один регистр используется для указания адреса начала защищаемой области, а другой содержит длину этой области.
Метод граничных регистров, обладая несомненной простотой реализации, имеет и определенные недостатки. Основным из них является то, что этот метод поддерживает работу лишь с непрерывными областями памяти.
Метод ключей защиты, в отличие от предыдущего, позволяет реализовать доступ программы к областям памяти, организованным в виде отдельных модулей, не представляющих собой единый массив.
Память в логическом отношении делится на одинаковые блоки, например, страницы. Каждому блоку памяти ставится в соответствие код, называемый ключом защиты памяти, а каждой программе, принимающей участие в мультипрограммной обработке, присваивается код ключа программы. Доступ программы к данному блоку памяти для чтения и записи разрешен, если ключи совпадают (то есть данный блок памяти относится к данной программе) или один из них имеет код 0 (код 0 присваивается программам операционной системы и блокам памяти, к которым имеют доступ все программы: общие данные, совместно используемые подпрограммы и т. п.). Коды ключей защиты блоков памяти и ключей программ устанавливаются операционной системой.
В ключе защиты памяти предусматривается дополнительный разряд режима защиты. Защита действует только при попытке записи в блок, если в этом разряде стоит 0, и при любом обращении к блоку, если стоит 1. Коды ключей защиты памяти хранятся в специальной памяти ключей защиты, более быстродействующей, чем оперативная память.
3.Системное администрирование. Баланс функциональности, безопасности и надежности системы. Меры по обеспечению безопасности (физической и информационной), надежности системы (защита данных, резервное копирование, проектирование устойчивости к сбоям). Системы безопасности в IP сетях.
Существует два подхода к обеспечению безопасности компьютерных систем и сетей (КС): «фрагментарный» и комплексный .
«Фрагментарный» подход направлен на противодействие четко определенным угрозам в заданных условиях. В качестве примеров реализации такого подхода можно указать отдельные средства управления доступом, автономные средства шифрования, специализированные антивирусные программы и т. п.
Достоинством такого подхода является высокая избирательность к конкретной угрозе. Существенный недостаток — отсутствие единой защищенной среды обработки информации. Фрагментарные меры защиты информации обеспечивают защиту конкретных объектов КС только от конкретной угрозы. Даже небольшое видоизменение угрозы ведет к потере эффективности защиты.
Комплексный подход ориентирован на создание защищенной среды обработки информации в КС, объединяющей в единый комплекс разнородные меры противодействия угрозам. Организация защищенной среды обработки информации позволяет гарантировать определенный уровень безопасности КС, что является несомненным достоинством комплексного подхода. К недостаткам этого подхода относятся: ограничения на свободу действий пользователей КС, чувствительность к ошибкам установки и настройки средств защиты, сложность управления.
Комплексный подход применяют для защиты КС крупных организаций или небольших КС, выполняющих ответственные задачи или обрабатывающих особо важную информацию. Нарушение безопасности информации в КС крупных организаций может нанести огромный материальный ущерб как самим организациям, так и их клиентам. Поэтому такие организации вынуждены уделять особое внимание гарантиям безопасности и реализовывать комплексную защиту. Комплексного подхода придерживаются большинство государственных и крупных коммерческих предприятий и учреждений. Этот подход нашел свое отражение в различных стандартах.
Комплексный подход к проблеме обеспечения безопасности основан на разработанной для конкретной КС политике безопасности. Политика безопасности регламентирует эффективную работу средств защиты КС. Она охватывает все особенности процесса обработки информации, определяя поведение системы в различных ситуациях. Надежная система безопасности сети не может быть создана без эффективной политики сетевой безопасности. Для защиты интересов субъектов информационных отношений необходимо сочетать меры следующих уровней:
законодательного (стандарты, законы, нормативные акты и т. п.);
административно-организационного (действия общего характера, предпринимаемые руководством организации, и конкретные меры безопасности, имеющие дело с людьми);
программно-технического (конкретные технические меры).
Меры законодательного уровня очень важны для обеспечения информационной безопасности. К этому уровню относится комплекс мер, направленных на создание и поддержание в обществе негативного (в том числе карательного) отношения к нарушениям и нарушителям информационной безопасности.
Меры административно-организационного уровня. Администрация организации должна сознавать необходимость поддержания режима безопасности и выделять на эти цели соответствующие ресурсы. К комплексу организационных мер относятся меры безопасности, реализуемые людьми. Выделяют следующие группы организационных мер:
управление персоналом;
физическая защита;
поддержание работоспособности;
реагирование на нарушения режима безопасности;
планирование восстановительных работ.
Для каждой группы в каждой организации должен существовать набор регламентов, определяющих действия персонала.
Меры и средства программно-технического уровня. Для поддержания режима информационной безопасности особенно важны меры программно-технического уровня, поскольку основная угроза компьютерным системам исходит от них самих: сбои оборудования, ошибки программного обеспечения, промахи пользователей и администраторов и т. п. В рамках современных информационных систем должны быть доступны следующие механизмы безопасности:
идентификация и проверка подлинности пользователей;
управление доступом;
протоколирование и аудит;
криптография;
экранирование;
обеспечение высокой доступности.
Транспортный режим
Транспортный режим используется для шифрования поля данных IP пакета, содержащего протоколы транспортного уровня (TCP, UDP, ICMP), которое, в свою очередь, содержит информацию прикладных служб. Примером применения транспортного режима является передача электронной почты. Все промежуточные узлы на маршруте пакета от отправителя к получателю используют только открытую информацию сетевого уровня и, возможно, некоторые опциональные заголовки пакета (в IPv6). Недостатком транспортного режима является отсутствие механизмов скрытия конкретных отправителя и получателя пакета, а также возможность проведения анализа трафика. Результатом такого анализа может стать информация об объемах и направлениях передачи информации, области интересов абонентов, расположение руководителей.
Тоннельный режим
Тоннельный режим предполагает шифрование всего пакета, включая заголовок сетевого уровня. Тоннельный режим применяется в случае необходимости скрытия информационного обмена организации с внешним миром. При этом, адресные поля заголовка сетевого уровня пакета, использующего тоннельный режим, заполняются межсетевым экраном организации и не содержат информации о конкретном отправителе пакета. При передаче информации из внешнего мира в локальную сеть организации в качестве адреса назначения используется сетевой адрес межсетевого экрана. После дешифрования межсетевым экраном начального заголовка сетевого уровня пакет направляется получателю.
Прослушивание сети
Ограничить область прослушивания в сети Ethernet можно разбиением сети на сегменты с помощью коммутаторов. В этом случае злоумышленник, не прибегая к активным действиям, описанным в п. 9.2, может перехватить только кадры, получаемые или отправляемые узлами сегмента, к которому он подключен. Единственным способом борьбы с прослушиванием сегмента Ethernet является шифрование данных.
Злоумышленник, прослушивающий сеть, может быть обнаружен с помощью утилиты AntiSniff, которая выявляет в сети узлы, чьи интерфейсы переведены в режим прослушивания.
Сканирование сети
Сканирование сети имеет своей целью выявление подключенных к сети компьютеров и определение работающих на них сетевых сервисов (открытых портов TCP или UDP). Администратор сети может обнаружить попытки сканирования путем анализа трафика в сети и отслеживания Echo-сообщений, за короткий промежуток времени посылаемых последовательно по всем адресам сети.
1. Автоматизированные информационные системы. ОТВЕТ: Автоматизированная информационная система (АИС) — совокупность программно-аппаратных средств, предназначенных для автоматизации деятельности, связанной с хранением, передачей и обработкой информации. АИС являются, с одной стороны, разновидностью информационных систем (ИС), с другой — автоматизированных систем (АС), вследствие чего их часто называют ИС или АС. АИС может быть определена как комплекс автоматизированных информационных технологий, предназначенных для информационного обслуживания – организованного непрерывного технологического процесса подготовки и выдачи потребителям научной, управленческой и др. информации, используемой для принятия решений, в соответствии с нуждами для поддержания эффективной деятельности. Классическими примерами автоматизированных информационных систем являются банковские системы, автоматизированные системы управления предприятиями, системы резервирования авиационных или железнодорожных билетов и т. д. Основной причиной создания и развития АИС является необходимость ведения учёта информации о состоянии и динамике объекта, которому посвящена система. На основании информационной картины, создаваемой системой, руководители различного звена могут принимать решения об управляющих воздействиях с целью решения текущих проблем. Учётные данные системы могут быть подвергнуты автоматической обработке для последующего тактического и стратегического анализа с целью принятия управленческих решений большего горизонта действия. Побочными, возможными, но не гарантированными эффектами от использования системы могут выступать: - повышение производительности работы персонала; - улучшение качества обслуживания клиентов; - снижение трудоемкости и напряженности труда персонала; - снижение количества ошибок в его действиях. Типы автоматизированных информационных систем Какая-либо однозначная и общепринятая классификация АИС отсутствует, однако в науке и индустрии по крайней мере выделяют следующие типы систем по назначению: АСУ — Автоматизированные системы управления АСУП — Автоматизированные системы управления предприятия АСКУЭ— Автоматизированная система контроля и учёта энергоресурсов АСУ ТП — Автоматизированные системы управления технологическими процессами ГИС — Геоинформационные системы ИУС — Информационно-управляющие системы ИИС — Информационно-измерительные системы ИИС — Интеллектуальные информационные системы ИПС — Информационно-поисковые системы ИАС — Информационно-аналитические системы ИСС — Информационно-справочные системы; ЛИС — Лабораторная информационная система СИИ — Системы искусственного интеллекта СКД, СКУД — Система контроля (и управления) доступом | 2. Внутренняя структура МП. Назначение узлов, входящих в типовую структуру МП. ОТВЕТ: Схема управления выборкой команд выполняет чтение команд из памяти и их дешифрацию. Арифметико-логическое устройство предназначено для обработки информации в соответствии с полученной процессором командой. Примерами обработки могут служить логические операции (типа логического "И", "ИЛИ", "Исключающего ИЛИ" и т.д.), а также арифметические операции (типа сложения, вычитания, умножения, деления и т.д.). Над какими кодами производится операция, куда помещается ее результат — определяется выполняемой командой. Быстродействие АЛУ во многом определяет производительность процессора. Причем важна не только частота тактового сигнала, которым тактируется АЛУ, но и количество тактов, необходимое для выполнения той или иной команды. Регистры процессора представляют собой по сути ячейки очень быстрой памяти и служат для временного хранения различных кодов: данных, адресов, служебных кодов. Операции с этими кодами выполняются предельно быстро, поэтому, в общем случае, чем больше внутренних регистров, тем лучше. Кроме того, на быстродействие процессора сильно влияет разрядность регистров. Именно разрядность регистров и АЛУ называется внутренней разрядностью процессора, которая может не совпадать с внешней разрядностью. Регистр признаков (регистр состояния) также является внутренним регистром процессора. Содержащаяся в нем информация — это не данные, не адрес, а слово состояния процессора. Каждый бит этого слова (флаг) содержит информацию о результате предыдущей команды. Схема управления прерываниями обрабатывает поступающий на процессор запрос прерывания, определяет адрес начала программы обработки прерывания (адрес вектора прерывания), обеспечивает переход к этой программе после выполнения текущей команды и сохранения в памяти (в стеке) текущего состояния регистров процессора. По окончании программы обработки прерывания процессор возвращается к прерванной программе с восстановленными из памяти (из стека) значениями внутренних регистров. Схема управления прямым доступом к памяти служит для временного отключения процессора от внешних шин и приостановки работы процессора на время предоставления прямого доступа запросившему его устройству. Логика управления организует взаимодействие всех узлов процессора, перенаправляет данные, синхронизирует работу процессора с внешними сигналами, а также реализует процедуры ввода и вывода информации. | 3. Административный уровень защиты информации. Задачи различных уровней управления в решении задачи обеспечения информационной безопасности. Процедурный уровень обеспечения безопасности. ОТВЕТ: Под административным уровнем информационной безопасности относятся действия общего характера, предпринимаемые руководством организации к обеспечению защиты информации. Главная цель - формирование политики безопасности, отражающей подход организации к защите данных. Политика безопасности административного уровня - совокупность документированных решений, принимаемых руководством организации и направленных на защиту информации и ассоциированных с ней ресурсов. Выработку политики безопасности и ее содержание рассматривают на трех горизонтальных уровнях детализации: Верхний уровень - вопросы, относящийся к организации в целом; Средний уровень - вопросы, касающиеся отдельных аспектов ИБ; Нижний уровень - вопросы относящиеся к конкретным сервисам; Политика безопасности верхнего уровня. Политика безопасности верхнего уровня, затрагивающая все организацию в целом. На данном уровне выносится: управление ресурсами защиты и координация использования данных ресурсов; выделение персонала для защиты критически важных систем; определение взаимодействия с внешними организациями, обеспечивающими или контролирующими режим безопасности; определение правил соблюдения законодательных и нормативных правил, контроля за действия сотрудников, выработка системы поощрений и наказаний. Политика безопасности среднего уровня. К среднему уровню относят вопросы, относящиеся к отдельным аспектам информационной безопасности. Например, организация доступа сотрудников в сеть Интернет или установка и использование ПО. Политика среднего уровня для каждого аспекта должна освещать: описание аспекта; область применения; позиция организации по данному вопросу; роли и обязанности; законопослушность; точки контакта. Политика безопасности нижнего уровня. Политика безопасности нижнего уровня относится к работе конкретных информационных сервисов. Такая политика включает в себя два аспекта: цели; правила достижения заданных целей. Политика безопасности данного уровня быть выражена полно, четко и конкретно. Например, определять сотрудников, имеющих право на работу с конкретной информационной системой и данными. Из целей выводятся правила безопасности, описывающие кто, что и при каких условиях может выполнять те или иные процедуры с информационными сервисами. После формулирования политики безопасности, составляется программа обеспечения информационной безопасности (структурируется по уровням). В простом случае достаточно двух уровней: верхнего (центрального) и нижнего (служебного). Программу верхнего уровня возглавляет лицо, отвечающее за информационную безопасность организации. Цели такой программы: Управление рисками (оценка рисков, выбор эффективных решений); Координация деятельности в области информационной безопасности Стратегическое планирование Контроль деятельности в области информационной безопасности. Контроль деятельности в области ИБ должен гарантировать, во-первых, что действия организации не противоречат законам, во-вторых, что состояние безопасности в организации соответствует требованиям и реагировать на случаи нарушений. Цель программы нижнего уровня - обеспечить надежную и экономичную защиту конкретного сервиса или группы однородных сервисов. На нижнем уровне осуществляется выбор механизмов защиты, технических и программных средств. Ответственность за реализацию программ нижнего уровня обычно несут администраторы соответствующих сервисов. Под политикой безопасности организации понимают совокупность документированных управленческих решений, направленных на защиту информации и ассоциированных с ней ресурсов. Политика безопасности является тем средством, с помощью которого реализуется деятельность в компьютерной информационной системе организации. Вообще политика безопасности определяется используемой компьютерной средой и отражает специфические потребности организации. Процедурный уровень обеспечения безопасности ориентирован на людей, а не на технические средства. Именно люди формируют режим информационной безопасности, и они же оказываются главной угрозой, поэтому "человеческий фактор" заслуживает особого внимания. На процедурном уровне можно выделить следующие классы мер: управление персоналом; физическая защита; поддержание работоспособности; реагирование на нарушения режима безопасности; планирование восстановительных работ. |
1. Системы. Основные определения и закономерности систем. Классификация систем по уровню сложности. Системный подход к построению ИС. ОТВЕТ: Система - комплекс взаимодействующих элементов или совокупность элементов, находящихся в определенных отношениях друг с другом и со средой. Система - множество предметов вместе со связями между предметами и между их признаками. Система - совокупность элементов, находящихся в отношениях и связях между собой определенным образом и образующих некоторое целостное единство. Элемент. Под элементом принято понимать простейшую неделимую часть системы. Элемент - это предел членения системы с точек зрения решения конкретной задачи и поставленной цели. Подсистема. Система может быть разделена на элементы не сразу, а последовательным расчленением на подсистемы, которые представляют собой компоненты более крупные, чем элементы, и в то же время более детальные, чем система в целом. Возможность деления системы на подсистемы связана с вычленением совокупностей взаимосвязанных элементов, способных выполнять относительно независимые функции, подцели, направленные на достижение общей цели системы. Структура. Структура отражает наиболее существенные взаимоотношения между элементами и их группами (компонентами, подсистемами), которые мало меняются при изменениях в системе и обеспечивают существование системы и ее основных свойств. Структура - это совокупность элементов и связей между ними. Структура может быть представлена графически, в виде теоретико-множественных описаний, матриц, графов и других языков моделирования структур. Структуру часто представляют в виде иерархии. Иерархия - это упорядоченность компонентов по степени важности (многоступенчатость, служебная лестница). Между уровнями иерархической структуры могут существовать взаимоотношения строгого подчинения компонентов (узлов) нижележащего уровня одному из компонентов вышележащего уровня, т. е. отношения так называемого древовидного порядка. Связь. Понятие «связь» входит в любое определение системы наряду с понятием «элемент» и обеспечивает возникновение и сохранение структуры и целостных свойств системы. Это понятие характеризует одновременно и строение (статику), и функционирование (динамику) системы. Важную роль в системах играет понятие «обратной связи». Это понятие, легко иллюстрируемое на примерах технических устройств. Обратная связь является основой саморегулирования и развития систем, приспособления их к изменяющимся условиям существования. Состояние. Понятием «состояние» обычно характеризуют мгновенную фотографию, «срез» системы, остановку в ее развитии. Его определяют либо через входные воздействия и выходные сигналы (результаты), либо через макропараметры, макросвойства системы (например, давление, скорость, ускорение - для физических систем; производительность, себестоимость продукции, прибыль - для экономических систем). Внешняя среда. Под внешней средой понимается множество элементов, которые не входят в систему, но изменение их состояния вызывает изменение поведения системы. Модель. Под моделью системы понимается описание системы, отображающее определенную группу ее свойств. Углубление описания - детализация модели. Создание модели системы позволяет предсказывать ее поведение в определенном диапазоне условий. Модель функционирования (поведения) системы - это модель, предсказывающая изменение состояния системы во времени. Равновесие - это способность системы в отсутствие внешних возмущающих воздействий (или при постоянных воздействиях) сохранить свое состояние сколь угодно долго. Устойчивость. Под устойчивостью понимается способность системы возвращаться в состояние равновесия после того, как она была из этого состояния выведена под влиянием внешних возмущающих воздействий. Развитие. Понятие развития помогает объяснить сложные термодинамические и информационные процессы в природе и обществе. Цель. Применение понятия «цель» и связанных с ним понятий целенаправленности, целеустремленности, целесообразности сдерживается трудностью их однозначного толкования в конкретных условиях. Это связано с тем, что процесс целеобразования и соответствующий ему процесс обоснования целей в организационных системах весьма сложен и не до конца изучен. Закономерности систем Целостность. Закономерность целостности проявляется в системе в возникновении новых интегративных качеств, не свойственных образующим ее компонентам. Чтобы глубже понять закономерность целостности, необходимо рассмотреть две ее стороны: 1) свойства системы (целого) не являются суммой свойств элементов или частей (несводимость целого к простой сумме частей); 2) свойства системы (целого) зависят от свойств элементов, частей (изменение в одной части вызывает изменение во всех остальных частях и во всей системе). Свойство целостности связано с целью, для выполнения которой предназначена система. Интегративность. Этим термином подчеркивают интерес не к внешним факторам проявления целостности, а к более глубоким причинам формирования этого свойства и, главное, - к его сохранению. Интегративными называют системообразующие, системоохраняющие факторы, важными среди которых являются неоднородность и противоречивость ее элементов. Коммуникативность. Система образует особое единство со средой; как правило, любая исследуемая система представляет собой элемент системы более высокого порядка; элементы любой исследуемой системы, в свою очередь, обычно выступают как системы более низкого порядка. Иными словами, система не изолирована, она связана множеством коммуникаций со средой, которая не однородна, а представляет собой сложное образование, содержит надсистему (или даже надсистемы), задающую требования и ограничения исследуемой системе, подсистемы и системы одного уровня с рассматриваемой. Иерархичность. Иерархичность как закономерность заключается в том, что закономерность целостности проявляется на каждом уровне иерархии. Благодаря этому на каждом уровне возникают новые свойства, которые не могут быть выведены как сумма свойств элементов. При этом важно, что не только объединение элементов в каждом узле приводит к появлению новых свойств, которых у них не было, и утрате некоторых свойств элементов, но и что каждый член иерархии приобретает новые свойства, отсутствующие у него в изолированном состоянии. Эквнфинальвостъ. Характеризует предельные возможности систем определенного класса сложности. Историчность. Время является непременной характеристикой системы, поэтому каждая система исторична, и это такая же закономерность, как целостность, интегративность и др. Классификация систем Системы разделяются на классы по различным признакам, и в зависимости от решаемой задачи можно выбрать разные принципы классификации. При этом систему можно охарактеризовать одним или несколькими признаками. Системы классифицируются следующим образом: по виду отображаемого объекта - технические, биологические и др.; по виду научного направления - математические, физические, химические и т. п.; по виду формализованного аппарата представления системы — детерминированные и стохастические; по типу целеустремленности - открытые и закрытые; по сложности структуры и поведения - простые и сложные; по степени организованности - хорошо организованные, плохо организованные (диффузные), самоорганизующиеся системы. Системный подход Этот термин начал применяться в работах, в которых элементы общей теории систем использовались для практических приложений. Используя этот термин, подчеркивали необходимость исследования объекта с разных сторон, комплексно, в отличие от ранее принятого разделения исследований на физические, химические и др. Суть в том, что каждое явление рассматривается во взаимосвязи с другими. Системный подход сосредотачивает внимание на объекте как на едином целом, а не на его частях, как бы совершенно они не выполняли свои функции. Системный подход связан с общей активностью системы для достижения цели. Основные этапы формирования системы: - определение цели; - определение требований к системе (определение границ объекта); - определение функциональных подсистем, их структуры и задач в общей системе управления; - выявление и анализ связей между подсистемами; - установление порядка функционирования и развития всей системы в целом. Для системы характерно изменение состояний объектов, которое с течением времени происходит в результате взаимодействия объектов в различных процессах и с внешней средой. В результате такого поведения системы важно соблюдение следующих принципов: - эмерджентности, то есть целостности системы на основе общей структуры, когда поведение отдельных объектов рассматривается с позиции функционирования всей системы; - гомеостазиса, то есть обеспечения устойчивого функционирования системы и достижения общей цели; - адаптивности к изменениям внешней среды и управляемости посредством воздействия на элементы системы; - обучаемости путем изменения структуры системы в соответствии с изменением целей системы. | 2. Ресурсы компьютерной системы. Классификация. Распределение и управление ресурсами. Проблемы взаимодействующих процессов. ОТВЕТ: Операционная система не только предоставляет пользователям и программистам удобный интерфейс к аппаратным средствам компьютера, но и является механизмом, распределяющим ресурсы компьютера. Вычислительными ресурсами называются возможности, обеспечиваемые компонентами вычислительной системы, расходуемые (занимаемые) в процессе её работы. Типы вычислительных ресурсов - Процессорное время - Память (оперативная и виртуальная) - Место на жёстком диске (постоянная память) - Пропускная способность сети. Ресурсы распределяются между процессами. Процесс (задача) программа в стадии выполнения. Программа — это статический объект, представляющий собой файл с кодами и данными. Процесс — это динамический объект, который возникает в операционной системе после того, как пользователь или сама операционная система решает «запустить программу на выполнение», то есть создать новую единицу вычислительной работы. Управление ресурсами вычислительной системы с целью наиболее эффективного их использования является назначением операционной системы. ОС также отслеживает и разрешает конфликты, возникающие при обращении нескольких процессов к одному и тому же устройству ввода-вывода или к одним и тем же данным. Критерий эффективности, в соответствии с которым ОС организует управление ресурсами компьютера, может быть различным. Управление ресурсами включает решение следующих общих, не зависящих от типа ресурса задач: - планирование ресурса — то есть определение, какому процессу, когда и в каком количестве (если ресурс может выделяться частями) следует выделить данный ресурс; - удовлетворение запросов на ресурсы; - отслеживание состояния и учет использования ресурса — то есть поддержание оперативной информации о том, занят или свободен ресурс и какая доля ресурса уже распределена; - разрешение конфликтов между процессами. Для решения этих общих задач управления ресурсами разные ОС используют различные алгоритмы, особенности которых в конечном счете и определяют облик ОС в целом, включая характеристики производительности, область применения и даже пользовательский интерфейс. Задача организации эффективного совместного использования ресурсов несколькими процессами является весьма сложной, и сложность эта порождается в основном случайным характером возникновения запросов на потребление ресурсов. В мультипрограммной системе образуются очереди заявок от одновременно выполняемых программ к разделяемым ресурсам компьютера: процессору, странице памяти, к принтеру, к диску. Операционная система организует обслуживание этих очередей по разным алгоритмам: - в порядке поступления, - на основе приоритетов, - кругового обслуживания и т. д. Взаимодействующие процессы Для достижения поставленной цели различные процессы (возможно, даже принадлежащие разным пользователям) могут исполняться псевдопараллельно на одной вычислительной системе или параллельно на разных вычислительных системах, взаимодействуя между собой. Одной из причин является повышение скорости работы. Когда один процесс ожидает наступления некоторого события (например, окончания операции ввода-вывода), другие в это время могут заниматься полезной работой, направленной на решение общей задачи. Второй причиной является совместное использование данных. Различные процессы могут, к примеру, работать с одной и той же динамической базой данных или с разделяемым файлом, совместно изменяя их содержимое. Третьей причиной является модульная конструкция какой-либо системы. Типичным примером может служить микроядерный способ построения операционной системы, когда ее различные части представляют собой отдельные процессы, общающиеся путем передачи сообщений через микроядро. Наконец, это может быть необходимо просто для удобства работы пользователя, желающего, например, редактировать и отлаживать программу одновременно. В этой ситуации процессы редактора и отладчика должны уметь взаимодействовать друг с другом. Различные процессы в вычислительной системе изначально представляют собой обособленные сущности. Работа одного процесса не должна приводить к нарушению работы другого процесса. Для этого, в частности, разделены их адресные пространства и системные ресурсы, и для обеспечения корректного взаимодействия процессов требуются специальные средства и действия операционной системы. | 3. Функциональная и структурная организация обработки мультимедийной информации. ОТВЕТ: Это алгоритмы обработки данных. Как происходит сжатие видео, например, звука и т.д. Сжатие видео — уменьшение количества данных, используемых для представления видеопотока. Сжатие видео позволяет эффективно уменьшать поток, необходимый для передачи видео по каналам радиовещания, уменьшать пространство, необходимое для хранения данных на CD, DVD или жёстких дисках. Недостатки: при использования сжатия с потерями появляются характерные и хорошо заметные артефакты — например, блочность (разбиение изображения на блоки 8x8 пикселей), замыливание (потеря мелких деталей изображения) и т. д. Видео — это по существу трёхмерный массив цветных пикселей. Два измерения означают вертикальное и горизонтальное разрешение кадра, а третье измерение — это время. Кадр — это массив всех пикселей, видимых камерой в данный момент времени, или просто изображение. В видео возможны также так называемые полукадры. Сжатие без потерь — метод сжатия информации представленной в цифровом виде, при использовании которого закодированная информация может быть восстановлена с точностью до бита. При этом оригинальные данные полностью восстанавливаются из сжатого состояния. Этот тип сжатия принципиально отличается от сжатия данных с потерями. Для каждого из типов цифровой информации, как правило, существуют свои оптимальные алгоритмы сжатия без потерь. Сжатие данных без потерь используется во многих приложениях. Например, оно используется во всех файловых архиваторах. Оно также используется как компонент в сжатии с потерями. Сжатие без потерь используется, когда важна идентичность сжатых данных оригиналу. Обычный пример — исполняемые файлы и исходный код. Техника сжатия без потерь Сжатие цифровых данных без потерь делается путем замены оригинальной последовательности битов другой последовательностью - содержащей описание оригинальной последовательности. При этом, сокращение происходит за счет повторяющихся фрагментов. При необходимости получить исходный поток данных производится восстановление его по потоку-описанию. Сжатие видео и технология компенсации движения Одна из наиболее мощных технологий позволяющая повысить степень сжатия — это компенсация движения. Её использование означает, что последующие кадры в потоке используют похожесть областей в предыдущих кадрах для увеличения степени сжатия. Компенсация движения - один из основных алгоритмов, применяемых при обработке и сжатии видеоданных. Алгоритм использует похожесть соседних кадров в видео последовательности и находит вектора движения отдельных частей изображения. Использование компенсации позволяет при сжатии многократно увеличить степень сжатия за счет удаления избыточности в виде совпадающих частей кадров. Сжатие звука — совокупность технологий по уменьшению объема данных, необходимых для передачи и хранения звуковой информации. Базируясь на основных принципах сжатия информации, при сжатии звука используются особенности звуковой информации, особенности природы, механизмов проихождения звука и звуковосприятия. Представление звуковой информации в цифровом виде Звук представляет собой аналоговый сигнал, непрерывный во времени и принимающий произвольные неограниченные величины. Сигналы, которыми оперирует цифровая техника, являются дискретными и принимают конечное число значений. Для того, чтобы иметь возможность передавать, хранить и обрабатывать звук посредством цифровой техники необходимо преобразование его цифровой вид - квантование. При квантовании с аналогового сигнала производятся выборки через определенные промежутки времени (временное квантование), а затем сопоставление каждой выборке конечной дискретного значения — цифрового кода (квантование величины). Такое представление имеет название импульсно–кодовая модуляция (ИКМ). Обратное преобразование производится в обратном порядке: цифровое представление → сопоставление коду действительной величины → интерполяция отсчетов → аналоговый сигнал. Многие системы сжатия звука имеют механизмы адаптации к характеру звука посредством изменения параметров и алгоритмов кодирования. Основные механизмы: - Изменение размера и формы окна анализа. - Выбор кодовых книг для упаковки коэффициентов. В различном виде присутствует практически по всех кодеках. - Выделение и раздельное кодирование шума. - Экстраполяция спектра и кодирование гармоник. - Адаптивное линейное предсказание и кодирование ошибки. (LPC, FLAC). |
1. Архитектура СУБД и ее основные функции. ОТВЕТ: Система управления базами данных (СУБД) - комплекс программных и языковых средств, необходимых для создания и модификации базы данных, добавления, модификации, удаления, поиска и отбора информации, представления информации на экране и в печатном виде, разграничения прав доступа к информации, выполнения других операций с базой. Архитектура СУБД
Компонент «Данные, метаданные» включает не только данные, но и информацию о структуре данных (метаданные). Компонент «Блок памяти» получает требуемую информацию из места хранения данных и изменяет в нем соответствующую информацию по требованию расположенных выше уровней системы. В простых системах баз данных блоком памяти может служить система файлов операционной системы. Однако для повышения эффективности СУБД обычно осуществляет прямой контроль памяти. Блок памяти состоит из двух компонентов: 1. Блок файлов контролирует расположение файлов на диске и получает блок или блоки, содержащие файлы, по запросу блока буфера. 2. Блок буфера управляет основной памятью. Он получает блоки данных с диска через блок файлов и выбирает страницу основной памяти для хранения отдельного блока. Компонент «Компилятор запросов» обрабатывает различные обращения к СУБД и запрашивает изменение данных и метаданных. Он предлагает наилучший способ выполнения необходимой операции и выдает соответствующие команды блоку памяти. Как правило, компилятором запросов обрабатывается три типа обращения к СУБД: 1. Запросы 2. Модификации (модифицирующие запросы) – операции по изменению данных (удаление, добавление, изменение). 3. Модификации схемы базы данных – команды администраторов баз данных, которые имеют право изменять схему базы данных либо создавать новую базу данных. Компонент «Блок транзакций» отвечает за целостность системы и должен обеспечить одновременную обработку многих запросов, отсутствие интерференций запросов (интерференция – сложение, в данном случае необходимо исключить наложение запросов и их взаимодействие) и защиту данных в случае выхода системы из строя. Блок транзакций взаимодействует с компилятором запросов, т.к. для разрешения конфликтных ситуаций должен учитывать, на какие данные воздействуют текущие запросы. В силу этого некоторые вопросы могут быть отложены, и может быть установлена очередность их выполнения. Блок транзакций взаимодействует также с блоком памяти, т.к. схемы защиты данных обычно включают в себя хранение файла регистрации изменений данных. Функций СУБД: 1. Непосредственное управление данными во внешней памяти. Эта функция включает обеспечение необходимых структур внешней памяти как для хранения данных, непосредственно входящих в БД, так и для служебных целей, например, для убыстрения доступа к данным в некоторых случаях (обычно для этого используются индексы). 2. Управление буферами оперативной памяти. СУБД обычно работают с БД значительного размера; по крайней мере этот размер обычно существенно больше доступного объема оперативной памяти. Практически единственным способом реального увеличения этой скорости является буферизация данных в оперативной памяти. 3. Управление транзакциями. Транзакция - это последовательность операций над БД, рассматриваемых СУБД как единое целое. Либо транзакция успешно выполняется, и СУБД фиксирует изменения БД, произведенные этой транзакцией, во внешней памяти, либо ни одно из этих изменений никак не отражается на состоянии БД. 4. Журнализация. Одним из основных требований к СУБД является надежность хранения данных во внешней памяти. Под надежностью хранения понимается то, что СУБД должна быть в состоянии восстановить последнее согласованное состояние БД после любого аппаратного или программного сбоя. Обычно рассматриваются два возможных вида аппаратных сбоев: так называемые мягкие сбои, которые можно трактовать как внезапную остановку работы компьютера (например, аварийное выключение питания), и жесткие сбои, характеризуемые потерей информации на носителях внешней памяти. Для восстановления БД нужно располагать некоторой дополнительной информацией. Наиболее распространенным методом поддержания такой избыточной информации является ведение журнала изменений БД. Журнал - это особая часть БД, недоступная пользователям СУБД и поддерживаемая с особой тщательностью (иногда поддерживаются две копии журнала, располагаемые на разных физических дисках), в которую поступают записи обо всех изменениях основной части БД. В разных СУБД изменения БД журнализуются на разных уровнях: иногда запись в журнале соответствует некоторой логической операции изменения БД (например, операции удаления строки из таблицы реляционной БД), иногда - минимальной внутренней операции модификации страницы внешней памяти; в некоторых системах одновременно используются оба подхода. 5. Поддержка языков БД. Для работы с базами данных используются специальные языки, в целом называемые языками баз данных. В ранних СУБД поддерживалось несколько специализированных по своим функциям языков. Чаще всего выделялись два языка - язык определения схемы БД (SDL - Schema Definition Language) и язык манипулирования данными (DML - Data Manipulation Language). SDL служил главным образом для определения логической структуры БД, т.е. той структуры БД, какой она представляется пользователям. DML содержал набор операторов манипулирования данными, т.е. операторов, позволяющих заносить данные в БД, удалять, модифицировать или выбирать существующие данные. Стандартным языком наиболее распространенных в настоящее время реляционных СУБД является язык SQL (Structured Query Language) | 2. Сопроцессоры. Назначение, система команд на примере процессоров Intel x86. ОТВЕТ: Сопроцессор - это специальная интегральная схема, которая работает в содружестве с главным процессором. Обычно сопроцессор настраивается на выполнение какой-нибудь специфической функции - математической операции или графического представления. И эту операцию сопроцессор может реализовывать во много раз быстрее, чем главный процессор. Сопроцессор - обычный микропроцессор, но не столь универсальный, как любой член семейства Intel 8086. Обычно сопроцессор разрабатывается как специальное устройство по реализации конкретно определенной функции. Как и любой другой микропроцессор, сопроцессор работает по тем же принципам. Он просто выполняет программы содержащие последовательность микропроцессорных команд. Вся деятельность сопроцессора определяется главным микропроцессором, который может посылать сопроцессору команды на выполнение программ и формирование результатов. В обычном режиме микропроцессор выполняет все функции компьютера. И лишь, когда встречается задача, с которой лучше справится сопроцессор, ему выдаются данные и команды, а главный микропроцессор ожидает результаты. Сопроцессоры, большей частью использующиеся с РС, являются математическими сопроцессорами. В математике они специализируются по умножению и делению чисел (они едва ли быстрее обычных микропроцессоров по части сложения и вычитания). Математические сопроцессоры называют еще процессорами с плавающей точкой. Потому что они особенно великолепны при работе с числами с плавающей точкой. Такие числа часто используются в научных расчетах и представляются мантиссой и ординатой (десятичная степень, определяющая положение десятичной точки). Математический сопроцессор — сопроцессор для расширения командного множества центрального процессора и обеспечивающий его функциональностью модуля операций с плавающей запятой, для процессоров, не имеющих интегрированного модуля. Модуль операций с плавающей запятой — часть процессора для выполнения широкого спектра математических операций над вещественными числами. Простым «целочисленным» процессорам для работы с вещественными числами и математическими операциями требуются соответствующие процедуры поддержки и время для их выполнения. Модуль операций с плавающей запятой поддерживает работу с ними на уровне примитивов — загрузка, выгрузка вещественного числа (в/из специализированных регистров) или математическая операция над ними выполняется одной командой, за счёт этого достигается значительное ускорение таких операций. Преимущества, которые получаются от установки математического сопроцессора, зависят от того, какие задачи решаются на вашем компьютере. Согласно Intel сопроцессор может уменьшить время выполнения математических операций, таких, как умножение, деление и возведение в степень на 80% и более. Скорость выполнения простых операций, таких, как сложение и вычитание, может быть совсем не уменьшена. Сопроцессор и главный микропроцессор могут работать на разных тактовых частотах. Сопроцессоры могут работать от тактового генератора драйверов микропроцессоров или от специального предназначенного для сопроцессора генератора. Когда отношение двух частот - микропроцессора и сопроцессора выражается целым числом, они работают синхронно и могут выполнять свои задания, а также передавать друг другу информацию оптимальным образом. Несинхронизированная работа требует, чтобы один или другой из них ожидал завершения цикла своего партнера, что влечет за собой появление небольшого, но реального периода ожидания. Сопроцессоры Intel семейства x86 Для процессоров семейства x86 с 8086/8088 по 386, модуль операций с плавающей запятой был выделен в отдельную микросхему, называемую математическим сопроцессором. Для установки сопроцессора на плате компьютера предусматривался отдельный разъём. Сопроцессор не является полноценным процессором, так как не умеет делать многих необходимых для этого операций (например, не умеет работать с программой и вычислять адреса памяти), являясь всего лишь придатком центрального процессора. Устройство FPU Модуль операций с плавающей запятой представляет собой стековый калькулятор, работающий по принципу обратной польской записи (форма записи математических выражений, в которой операнды расположены перед знаками операций). Перед операцией аргументы помещаются в LIFO-стек, при выполнении операции необходимое количество аргументов снимается со стека. Результат операции помещается в стек, где может быть использован в дальнейших вычислениях или может быть снят со стека для записи в память. Также поддерживается и прямая адресация аргументов в стеке относительно вершины. Внутри FPU числа хранятся в 80-битном формате с плавающей запятой, для записи же или чтения из памяти могут использоваться: Вещественные числа в трёх форматах: коротком (32 бита), длинном (64 бита) и расширенном (80 бит). Двоичные целые числа в трёх форматах: 16, 32 и 64 бита. Упакованные целые десятичные числа (BCD) числа - длина максимального числа составляет 18 упакованных десятичных цифр (72 бита). Система команд сопроцессора Система включает около 80 команд. Их классификация: Команды передачи данных - Вещественные данные - Целочисленные данные - Десятичные данные - Загрузка констант (0, 1, число Пи, log2(10), log2(e), lg(2), ln(2)) - Обмен - Условная пересылка (Pentium II/III) Команды сравнения данных - Вещественные данные - Целочисленные данные - Анализ - С нулём - Условное сравнение (Pentium II/III) Арифметические команды - Вещественные данные: сложение, вычитание, умножение, деление - Целочисленные данные: сложение, вычитание, умножение, деление - Вспомогательные арифметические команды (квадратный корень, модуль, изменение знака, выделение порядка и мантиссы) Трансцендентные команды - Тригонометрия: синус, косинус, тангенс, арктангенс - Вычисление логарифмов и степеней Команды управления - Инициализация сопроцессора - Работа со средой - Работа со стеком - Переключение режимов | 3. Требования к системам криптографической защиты: криптографические требования, требования надежности, требования по защите от НСД, требования к средствам разработки. ОТВЕТ: Криптография является методологической основой современных систем обеспечения безопасности информации в компьютерных системах и сетях. Для обеспечения безопасности данных необходимо поддерживать три основные функции: • защиту конфиденциальности передаваемых или хранимых в памяти данных; • подтверждение целостности и подлинности данных; • аутентификацию абонентов при входе в систему и при установлении соединения; Требования к криптосистемам: 1. зашифрованное сообщение должно поддаваться чтению только при наличии ключа; 2.число операций, необходимых для определения использованного ключа шифрования по фрагменту шифрованного сообщения и соответствующего ему открытого текста, должно быть не меньше общего числа возможных ключей; 3. число операций, необходимых для расшифровывания информации путем перебора всевозможных ключей должно иметь строгую нижнюю оценку и выходить за пределы возможностей современных компьютеров (с учетом возможности использования сетевых вычислений); 4. знание алгоритма шифрования не должно влиять на надежность защиты; 5. незначительное изменение ключа должно приводить к существенному изменению вида зашифрованного сообщения даже при использовании одного и того же ключа; 6. структурные элементы алгоритма шифрования должны быть неизменными; 7. дополнительные биты, вводимые в сообщение в процессе шифрования, должен быть полностью и надежно скрыты в шифрованном тексте; 8. длина шифрованного текста должна быть равной длине исходного текста; 9. не должно быть простых и легко устанавливаемых зависимостью между ключами, последовательно используемыми в процессе шифрования; 10. любой ключ из множества возможных должен обеспечивать надежную защиту информации; 11. алгоритм должен допускать как программную, так и аппаратную реализацию, при этом изменение длины ключа не должно вести к качественному ухудшению алгоритма шифрования. |
1. CASE-средства: функции, назначение, классификация. ОТВЕТ: CASE (Computer Aided Software Engineering) — средства разработки программных и организационно-управляющих систем. Они охватывают большую часть поддержки огромного числа технологий проектирования КИС: начиная с простых средств анализа и документирования и заканчивая масштабными средствами автоматизации, охватывающими весь жизненный цикл программного обеспечения. CASE-средством - считается программное средство, которое автоматизирует определенную совокупность процессов жизненного цикла программного обеспечения и обладает рядом таких характеристик как: 1.объединение определенных компонентов CASE-средств, которое дает возможность управляемость процессом разработки информационных систем; 2. репозитория; 3. наличие графических средств, с помощью которых можно описывать и документировать информационные системы, которые предоставят удобный интерфейс с разработчиком; Компонентная база CASE-системы В состав интегрированного CASE-средства входят следующие элементы: 1.репозиторий - главное CASE-средство. Его задача - обеспечить сохранность вариантов проекта и его определенных компонентов, синхронизацию приема информации от разных разработчиков в процессе групповой разработки, проверка метаданных на полноту и непротиворечивость; 2. средства разработки приложений, с использованием языков 4GL и генераторов кодов; 3. средства тестирования; 4. средства документирования; 5. графические средства анализа и проектирования, которые дают возможность создавать и редактировать иерархически связанные диаграммы (например, DFD, ER-диаграмма и др.), создающие модели информационных систем; 6. средства реинжиниринга. 7. средства конфигурационного управления; 8. средства управления проектом. 9. Классификация В настоящее время существует классификация CASE-средств по следующим признакам: 1. по типам - данная классификация демонстрирует функциональную ориентацию CASE-средств на какие-либо процессы жизненного цикла; 2. по категориям – такая квалификация определяет уровень интегрированности по выполняемым функциям. Сюда относятся отдельные локальные средства, которые решают мелкие автономные задачи, комплект частично интегрированных средств, который затрагивает большую часть этапов жизненного цикла информационных систем. Также включает в себя полностью интегрированные средства, которые поддерживают весь жизненный цикл информационных систем и связанны общим репозиторием; 3. по степени интегрированности с СУБД; 4. по доступным платформам; 5. по применяемым методологиям и моделям систем и БД. Типовая классификация практически полностью совпадает с элементами, входящими в состав CASE-средств и состоит из следующих типов: 1. верхние CASE–системы (Upper CASE) - средства анализа, которые используются для построения и анализа моделей предметной области ( BPwin (Logic Works)). В связи с тем, что эти системы соответствуют основным понятиям термина CASE, их также называют нормальными; 2. средние CASE–системы (Middle CASE) - средства анализа и проектирования, корорые придерживаются более распространенные методологии проектирования и используются для создания проектных спецификаций (Vantage Team Builder (Cayenne), Designer/2000 (Oracle), Silverrun (CSA)). Выход этих средств - спецификация архитектуры системы, составляющих и интерфейсов системы, алгоритмов и устройств данных; 3. средства разработки приложений (PowerBuilder (Sybase), JAM (JYACC), Developer/2000 (Oracle), New Era (Informix) , Delphi (Borland), средства 4GL (Uniface (Compuware), SQL Windows (Gupta), а также генераторы кодов, которые входят в состав Vantage Team Builder, PRO-IV и отчасти в Silverrun; 4. средства реинжиниринга, предназначенные для анализа программных кодов и схем баз данных и создания на их базе различного рода моделей и проектных спецификаций. Средства анализа схем баз данных и формирования ER-диаграмм являются составляющими Vantage Team Builder, PRO-IV, Silverrun, Designer/2000, ERwin и S-Designor. В сфере анализа программных кодов наиболее широко распространены объектно-ориентированные CASE-средства, способствующие реинжинирингу программ на языке C++ (Rational Rose (Rational Software), Object Team (Cayenne)). 5. средства проектирования баз данных, предоставляющие возможность моделировать данные и генерировать схемы баз данных, как правило, на языке SQL, для самых распространенных систем управления базами данных (например, ERwin (Logic Works), S-Designor (SDP) и DataBase Designer (ORACLE); В состав вспомогательных типов входят средства планирования и управления проектом (SE Companion, Microsoft Project и др.), средства конфигурационного управления (PVCS (Intersolv)); 6. средства тестирования (Quality Works (Segue Software)); 7. средства документирования (SoDA (Rational Software)). Существующие CASE-системы ERwin+BPwin Designer/2000 Silverrun S-Designor Vantage Team Builder Westmount I-CASE CASE.Аналитик PRO-IV CASE /4/0, System Architect EasyCASE, Visible Analyst Workbench | 2. Состав и назначение основных компонент ОС. Принципы построения ОС. Принцип модульности. Принцип независимости программ от внешних устройств. Принцип совместимости. Принцип открытой и наращиваемой ОС. Принцип мобильности. Принципы обеспечения безопасности. ОТВЕТ: Важнейшим достоинством большинства ОС является модульность. Это свойство позволяет объединить в каждом модуле определенные логически связанные группы функций. Большинство ОС состоит из следующих основных модулей: базовая система ввода-вывода (BIOS – Basic Input Output System); загрузчик операционной системы (Boot Record); ядро ОС; драйверы устройств; командный процессор; внешние команды (файлы). 1. Базовая система ввода-вывода (BIOS) – это набор микропрограмм, реализующих основные низкоуровневые (элементарные) операции ввода-вывода. Они хранятся в ПЗУ компьютера и записываются туда при изготовлении материнской платы. Данная система, по сути, «встроена» в компьютер и является одновременно его аппаратной частью и частью операционной системы. Первая функция BIOS – автоматическое тестирование основных компонентов компьютера при его включении. При обнаружении ошибки на экран выводится соответствующее сообщение и / или выдается звуковой сигнал. Далее BIOS осуществляет вызов блока начальной загрузки операционной системы, находящейся на диске (эта операция выполняется сразу по окончании тестирования). Загрузив в ОЗУ этот блок, BIOS передает ему управление, а он в свою очередь загружает другие модули ОС. Еще одна важная функция BIOS – обслуживание прерываний. При возникновении определенных событий (нажатие клавиши на клавиатуре, щелчок мыши, ошибка в программе и т.д.) вызывается одна из стандартных подпрограмм BIOS по обработке возникшей ситуации. 2. Загрузчик операционной системы – это короткая программа, находящаяся в первом секторе любого загрузочного диска (дискеты или диска с операционной системой). Функция этой программы заключается в считывании в память основных дисковых файлов ОС и передаче им дальнейшего управления ЭВМ. 3. Ядро ОС реализует основные высокоуровневые услуги, загружается в ОЗУ и остается в ней постоянно. В ядре ОС выделяют несколько подсистем, каждая из которых отвечает за выполнение той или иной задачи: - файловая система (отвечает за размещение информации на устройствах хранения); - система управления памятью (размещает программы в памяти); - система управления программами (осуществляет запуск и выполнение программ); - система связи с драйверами устройств (отвечает за взаимодействие с внешними устройствами); - система обработки ошибок; - служба времени (предоставляет всем программам информацию о системном времени). 4. Драйверы требуются в тех случаях, когда обмен информацией с устройствами должен происходить иначе, чем определено в BIOS. Драйверы устройств – это программы, управляющие работой внешних (периферийных) устройств на физическом уровне. Они дополняют систему ввода-вывода ОС и обеспечивают обслуживание новых устройств или нестандартное использование имеющихся. Они передают или принимают данные от аппаратуры и делают пользовательские программы независимыми от ее особенностей. Драйверы загружаются в память компьютера при загрузке операционной системы; необходимость и порядок их загрузки указываются в специальных файлах конфигурации. Такая схема облегчает подключение к машине новых устройств и позволяет делать это, не затрагивая системные файлы ОС. 5. Командный процессор – это программа, функции которой заключаются в следующем: - прием и синтаксический разбор команд, полученных с клавиатуры или из командного файла; - исполнение внутренних команд операционной системы; - загрузка и исполнение внешних команд (реализованных в виде самостоятельных программ) операционной системы и прикладных программ пользователя (файлы с расширением СОМ, ЕХЕ или ВАТ). Некоторые стандартные команды (TYPE, DIR и другие) командный процессор выполняет сам. Такие команды называются внутренними (как правило, это основные команды работы с файлами и каталогами). Для выполнения внешних команд пользователя командный процессор ищет на дисках программу с соответствующим именем и расширением СОМ, ЕХЕ (например, FORMAT.COM), и если находит ее, то загружает в память и передает ей управление. По окончании работы программы командный процессор удаляет ее из памяти. 6. Внешние команды ОС – это программы, поставляемые вместе с операционной системой в виде отдельных файлов. В функции командного процессора входит также исполнение командных файлов (это текстовые файлы с набором команд и расширением ВАТ). Когда в качестве команды задается имя такого файла, командный процессор начинает последовательно читать и интерпретировать содержащиеся в нем строки, каждая из которых может содержать одну команду, метку или комментарий. Если в очередной строке стоит команда, осуществляющая вызов какой-то программы, выполнение командного файла приостанавливается и начинается работа вызванной программы. После ее завершения происходит выполнение следующей команды командного файла. Основные принципы построения ОС 1. Принцип модульности. Модуль – функционально законченный элемент, выполняемый в соответствии с принятым межмодульным интерфейсом. Модуль выделяется по функциональному признаку. Модульная организация позволяет легко заменять неправильно работающие модули в ОС. Чаще всего используются реентерабельные и привилегированные модули. 2. Принцип функциональной избирательности. Для организации эффективной работы ОС, необходимо выделить некоторые модули и хранить их в ОЗУ. Эти модули составляют ядро ОС. Ядро: - Модули по управлению системы прерываний; - Средство управления выполнения программ (загрузка, приостановка, остановка); - Модули по управлению процессом (распределение процессорного времени), т.е. диспетчеры программ; - Модули по управлению выделения памяти. В зависимости от ОС в ядро могут ещё входить другие модули; - Транзитные модули (загружаются в ОЗУ по мере необходимости, при нехватке ОЗУ могут быть выгружены из памяти). 3. Принцип генерируемости ОС. Подразумевает собой возможность генерации ОС в зависимости от аппаратного обеспечения. Процесс генерации обычно производится один раз, перед достаточно долгим режимом эксплуатации. Для генерации необходимо наличие нескольких компонентов: - Исходный код ОС; - Компилятор с языка программирования на котором система написана; - Специальная программа и входной язык для неё, который позволяет управлять процессом генерации. ОС с открытым системным кодом – Linux (UNIX), есть возможность тонкой настройки ядра для конкретного процессора. 4. Принцип функциональной избыточности. В состав ОС должно входит несколько типов ПО для выполнения одинаковых функций (поддержка разных файловых систем). 5. Принцип виртуализации. Позволяет представить ресурсы ОС в виде определённого набора планировщиков и мониторов и использует единую схему распределения ресурсов. Наибольшее проявление – концепция виртуальной машины (воспроизводит архитектуру реальной машины, но может обладать произвольными характеристиками). 6. Принцип независимости программ от внешних устройств. Связь программ с конкретным внешним устройством производится не на этапе трансляции, а на этапе выполнения программы. Получается выгода: не нужна лишняя «перекомпиляция». 7. Принцип совместимости. Способность выполнять программы для другой ОС или даже для другой аппаратной платформы. 2 уровня совместимости: А)по выполняемому коду (бинарная). Условия совместимости: - На уровне команд процессора (одна и та же платформа); - Совместимость на уровне системных вызовов; - Совместимость на уровне библиотечных вызовов, если являются динамично связываемыми. Б) по исходному коду. Требуется выполнение следующих условий: - Наличие компилятора платформы, на котором написана программа; - Совместимость на уровне системных вызовов; - Совместимость на уровне библиотечных вызовов. 8. Принцип открытой наращиваемой ОС (открыт исходный код). Целостность ОС сохраняется (UNIX). 9. Принцип мобильности (переносимости). ОС должна легко переноситься на другую аппаратную платформу. Правила создания переносимых ОС: - ОС должна быть написана на языке высокого уровня, для которой существует компилятор на аппаратной платформе. В основном, современные ОС пишут на Си. - Необходимо избегать кода, который непосредственно работает с аппаратным обеспечением. 10. Принцип обеспечения безопасности и защиты: Защита системы от пользователя; Защита от несанкционированного доступа. | 3. Принципы отображения графической информации. Способы сжатия изображений. Способы преобразования форматов. Типы файлов изображений. ОТВЕТ: Традиционно принято разделять растровую (фотографии, рисунки, картины и др.) и векторную графику (схемы, чертежи, 3D-модели и др.) Растровое изображение представляет собой прямоугольную матрицу определенной размерности, каждому элементу которой ставится в соответствие некоторый цвет. Весь массив элементарных единиц изображения называют растром. Растр - представляет собой совокупность пикселей, расположенных на сетчатом поле (канве, canvas). Важными характеристиками изображения являются: • количество пикселей; • количество используемых цветов или глубина цвета; • цветовое пространство (цветовая модель) RGB, CMYK, и др. С помощью растровой графики можно отразить и передать всю гамму оттенков и тонких эффектов, присущих реальному изображению. Растровое изображение ближе к фотографии, оно позволяет более точно воспроизводить основные характеристики фотографии: освещенность, прозрачность и глубину резкости. Достоинства • Растровая графика позволяет создать (воспроизвести) практически любой рисунок, вне зависимости от сложности. • Распространённость — растровая графика используется сейчас практически везде. • Высокая скорость обработки сложных изображений, если не нужно масштабирование. Недостатки • Большой размер файлов с простыми изображениями. • Невозможность идеального масштабирования. • Невозможность вывода на печать на плоттер. Векторная графика — это использование геометрических примитивов, таких как точки, линии, сплайны и многоугольники, для представления изображений в компьютерной графике. При этом для полного описания рисунка необходимо знать вид и базовые координаты каждой фигуры, например, координаты двух концов отрезка, координаты центра и диаметр окружности и т. д. Этот способ кодирования идеально подходит для рисунков, которые легко представить в виде комбинации простейших фигур, например, для технических чертежей. Основным логическим элементом векторной графики является геометрический объект. В качестве объекта принимаются простые геометрические фигуры (так называемые примитивы - прямоугольник, окружность, эллипс, линия), составные фигуры или фигуры, построенные из примитивов, цветовые заливки, в том числе градиенты. Преимущество векторной графики заключается в том, что форму, цвет и пространственное положение составляющих ее объектов можно описывать с помощью математических формул. Важным объектом векторной графики является сплайн. Сплайн – это кривая, посредством которой описывается та или иная геометрическая фигура. На сплайнах построены современные шрифты TrueType и PostScript. У векторной графики много достоинств. Она экономна в плане дискового пространства, необходимого для хранения изображений: это связано с тем, что сохраняется не само изображение, а только некоторые основные данные, используя которые, программа всякий раз воссоздает изображение заново. Кроме того, описание цветовых характеристик почти не увеличивает размер файла. Объекты векторной графики легко трансформируются и модифицируются, что не оказывает практически никакого влияния на качество изображения. Масштабирование, поворот, искривление могут быть сведены к паре-тройке элементарных преобразований над векторами. Векторная графика может включать в себя и фрагменты растровой графики. Векторная графика может показаться чрезмерно жесткой, «фанерной». В программах векторной графики практически невозможно создавать фотореалистические изображения. Векторный принцип описания изображения не позволяет автоматизировать ввод графической информации, как это делает сканер для точечной графики. Фрактальная графика Фрактал — объект, отдельные элементы которого наследуют свойства родительских структур. Фрактальными свойствами обладают многие природные объекты, такие как снежинка, кристаллы, растения. Фрактальная графика, как и векторная, основана на математических вычислениях. Однако базовым элементом фрактальной графики является сама математическая формула, то есть никаких объектов в памяти компьютера не храниться и изображение строится исключительно по уравнениям. Таким образом строят как простейшие структуры, так и сложные иллюстрации, имитирующие природные ландшафты и трехмерные объекты. Трехмерная графика Для получения трёхмерного изображения требуются следующие шаги: • моделирование — создание математической модели сцены и объектов в ней. • рендеринг (русск. визуализация) — построение проекции в соответствии с выбранной физической моделью. Сжатие – это процесс, применяемый для уменьшения физического размера блока информации. При сжатии программа компрессор осуществляет сжатие данных, а программа декомпрессор – их восстановление. В растровых файлах сжимаются только данные изображения, заголовок и др.структуры остаются несжатыми. Векторные файлы не имеют своих схем сжатия. Они не сжимаются, т.к. векторные файлы изначально представляют изображение в компактной форме; векторные файлы читаются достаточно медленно, если добавить еще распаковку, то этот процесс существенно замедляется. Выделяют два метода сжатия: Сжатие без потерь — метод сжатия информации, при использовании которого закодированная информация может быть восстановлена с точностью до бита. При этом оригинальные данные полностью восстанавливаются из сжатого состояния. Сжатие данных с потерями — это метод сжатия данных, когда распакованный файл отличается от оригинального, но «достаточно близок» для того, чтобы быть полезным каким-то образом. Преобразование файлов из одного формата в другой Преобразование файлов из растрового формата в векторный Существуют два способа преобразования файлов из растрового формата в векторный: 1) преобразование растрового файла в растровый объект векторного изображения; 2) трассировка растрового изображения для создания векторного объекта. Преобразование файлов одного векторного формата в другой Векторные форматы содержат описания линий, дуг, закрашенных полей, текста и т. д. В различных векторных форматах эти объекты описываются по-разному. Когда программа пытается преобразовать один векторный формат в другой, она действует подобно обычному переводчику, а именно: • считывает описания объектов на одном векторном языке, • пытается перевести их на язык нового формата. Если программа-переводчик считает описание объекта, для которого в новом формате нет точного соответствия, этот объект может быть либо описан похожими командами нового языка, либо не описан вообще. Таким образом, некоторые части рисунка могут исказиться или исчезнуть. Всё зависит от сложности исходного изображения. Преобразование файлов из векторного формата в растровый Преобразование изображений из векторного формата в растровый (этот процесс часто называют растрированием векторного изображения) встречается очень часто. Прежде, чем разместить рисованную (векторную) картинку на фотографии, её необходимо экспортировать в растровый формат. Каждый раз, когда векторный рисунок направляется на устройство вывода (в частности, монитор или принтер), он подвергается растрированию — преобразованию в набор видеопикселей или точек. При экспорте векторных файлов в растровый формат может быть потеряна информация, связанная с цветом исходного изображения. Это объясняется тем, что в ряде растровых форматов количество цветов ограничено. Преобразование файлов одного растрового формата в другой Этот вид преобразования обычно самый простой и заключается в чтении информации из исходного файла и записи ее в новом файле, где данные о размере изображения, битовой глубине и цвете каждого видеопикселя хранятся другим способом. Если старый формат использует больше цветов, чем новый, то возможна потеря информации. Преобразование файла с 24-битовым цветом (16777216 цветов) в файл с 8-битовым цветом (256 цветов) требует изменения цвета почти каждого пикселя.
|
1. Принципы проектирования сложных объектов. Нисходящее и восходящее проектирование. ОТВЕТ: В процессе проектирования сложной системы формируются определенные представления о системе, отражающие ее существенные свойства с той или иной степенью подробности. В этих представлениях можно выделить составные части - уровни проектирования. В один уровень, как правило, включаются представления, имеющие общую физическую основу и допускающие для своего описания использование одного и того же математического аппарата. Уровни проектирования можно выделять по степени подробности, с какой отражаются свойства проектируемого объекта. Тогда их называют горизонтальными (иерархическими) уровнями проектирования. Выделение горизонтальных уровней лежит в основе блочно-иерархического подхода к проектированию. Уровни проектирования можно выделять также по характеру учитываемых свойств объекта. В этом случае их называют вертикальными уровнями проектирования. При проектировании устройств автоматизации основными вертикальными уровнями являются функциональное (схемное), конструкторское и технологическое проектирования. При проектировании автоматизированных комплексов к этим уровням добавляется алгоритмическое (программное) проектирование. Функциональное проектирование связано с разработкой структурных, функциональных и принципиальных схем. При функциональном проектировании определяются основные особенности структуры, принципы функционирования, важнейшие параметры и характеристики создаваемых объектов . Алгоритмическое проектирование связано с разработкой алгоритмов функционирования ЭВМ и вычислительных систем (ВС), с созданием их общего системного и прикладного программного обеспечения. Конструкторское проектирование включает в себя вопросы конструкторской реализации результатов функционального проектирования, т.е. вопросы выбора форм и материалов оригинальных деталей, выбора типоразмеров унифицированных деталей, пространственного расположения составных частей, обеспечивающего заданные взаимодействия между элементами конструкции. Технологическое проектирование охватывает вопросы реализации результатов конструкторского проектирования, т.е. рассматриваются вопросы создания технологических процессов изготовления изделий. В зависимости от порядка, в каком выполняются этапы проектирования, различают восходящее и нисходящее проектирование. Восходящее проектирование (проектирование снизу вверх) характеризуется решением задач более низких иерархических уровней перед решением задач более высоких уровней. Противоположная последовательность приводит к нисходящему проектированию (проектированию сверху вниз). | 2. Понятие архитектуры МП. Особенности архитектур вычислительных систем CISC, RISC, MIPS, SPARC. Области применения. ОТВЕТ: Понятие архитектуры микропроцессора определяет его составные части, а также связи и взаимодействие между ними. Архитектура включает: - структурную схему МП; - программную модель МП (описание функций регистров); - информацию об организации памяти (емкость и способы адресации памяти); - описание организации процедур ввода/вывода. CISC-процессоры Complex Instruction Set Computing (вычисления со сложным набором команд) — концепция проектирования процессоров, которая характеризуется следующим набором свойств: - Нефиксированным значением длины команды. - Арифметические действия кодируются в одной инструкции. - Небольшим числом регистров, каждый из которых выполняет строго определённую функцию. Типичными представителями являются процессоры на основе x86 команд и процессоры Motorola MC680x0. Наиболее распространённая архитектура современных настольных, серверных и мобильных процессоров построена по архитектуре Intel x86. RISC-процессоры Reduced Instruction Set Computer — вычисления с упрощённым набором команд. Архитектура процессоров, построенная на основе упрощённого набора команд. Характеризуется наличием команд фиксированной длины, большого количества регистров, операций типа регистр-регистр, а также отсутствием косвенной адресации. Упрощение набора команд призвано сократить конвейер, что позволяет избежать задержек на операциях условных и безусловных переходов. Однородный набор регистров упрощает работу компилятора при оптимизации исполняемого программного кода. Кроме того, RISC-процессоры отличаются меньшим энергопотреблением и тепловыделением. Среди первых реализаций этой архитектуры были процессоры MIPS, PowerPC, SPARC, Alpha, PA-RISC. В мобильных устройствах широко используются ARM-процессоры. MIPS-процессрры Microprocessor without Interlocked Pipeline Stages микропроцессор, разработанный компанией MIPS Computer Systems (в настоящее время MIPS Technologies) в соответствие с концепцией проектирования процессоров RISC (т.е. для процессоров с сокращенным набором команд). Эти процессоры значительно повлияли на более поздние RISC-архитектуры, в частности на Alpha. Основоположник RISC SPARC-процессрры Scalable Processor ARChitecture (масштабируемая процессорная архитектура) — архитектура RISC-микропроцессоров, первоначально разработанная в 1985 году компанией Sun Microsystems. Архитектура SPARC является открытой, это значит, что: 1. Архитектура системы команд SPARC опубликована как стандарт IEEE 1754—1994; 2. Спецификации SPARC доступны для лицензирования любой компанией или частным лицом и дают возможность разрабатывать свои собственные решения; 3. Развитием архитектуры SPARC занимается независимая некоммерческая организация SPARC International, Inc. | 3. Функции и назначение стандартов информационной безопасности. Примеры стандартов, их роль при проектировании и разработке информационных систем. Критерии оценки безопасности компьютерных систем. Структура требований безопасности. Классы защищенности. ОТВЕТ: Стандарты и спецификации - одна из форм накопления знаний, прежде всего о процедурном и программно-техническом уровнях ИБ. В них зафиксированы апробированные, высококачественные решения и методологии, разработанные наиболее квалифицированными специалистами. Стандарты и спецификации - являются основным средством обеспечения взаимной совместимости аппаратно-программных систем и их компонентов, причем в Internet-сообществе это средство действительно работает, и весьма эффективно. Стандарт - документ, в котором в целях добровольного многократного использования устанавливаются характеристики продукции, правила осуществления и характеристики процессов производства, эксплуатации, хранения, перевозки, реализации и утилизации, выполнения работ или оказания услуг. Стандарт также может содержать требования к терминологии, символике, упаковке, маркировке или этикеткам и правилам их нанесения; Виды стандартов: • оценочные стандарты, направленные на классификацию информационных систем и средств защиты по требованиям безопасности; • технические спецификации, регламентирующие различные аспекты реализации средств защиты. Первым оценочным стандартом стол стандарт Министерства обороны США "Критерии оценки доверенных компьютерных систем" ("Оранжевая книга"), 1983 г. В "Оранжевой книге" доверенная система определяется как "система, использующая достаточные аппаратные и программные средства, чтобы обеспечить одновременную обработку информации разной степени секретности группой пользователей без нарушения прав доступа". Степень доверия оценивается по двум основным критериям. 1. Политика безопасности - набор законов, правил и норм поведения, определяющих, как организация обрабатывает, защищает и распространяет информацию. В частности, правила определяют, в каких случаях пользователь может оперировать конкретными наборами данных. Чем выше степень доверия системе, тем строже и многообразнее должна быть политика безопасности. В зависимости от сформулированной политики можно выбирать конкретные механизмы обеспечения безопасности. 2. Уровень гарантированности - мера доверия, которая может быть оказана архитектуре и реализации ИС. Доверие безопасности может проистекать как из анализа результатов тестирования, так и из проверки (формальной или нет) общего замысла и реализации системы в целом и отдельных ее компонентов. Уровень гарантированности показывает, насколько корректны механизмы, отвечающие за реализацию политики безопасности. Важным средством обеспечения безопасности является механизм подотчетности (протоколирования). Доверенная система должна фиксировать все события, касающиеся безопасности. Ведение протоколов должно дополняться анализом регистрационной информации. Концепция доверенной вычислительной базы является центральной при оценке степени доверия безопасности. Доверенная вычислительная база - это совокупность защитных механизмов ИС (включая аппаратное и программное обеспечение), отвечающих за проведение в жизнь политики безопасности. Качество вычислительной базы определяется исключительно ее реализацией и корректностью исходных данных, которые вводит системный администратор. Основное назначение доверенной вычислительной базы - выполнять функции монитора обращений, то есть контролировать допустимость выполнения субъектами (активными сущностями ИС, действующими от имени пользователей) определенных операций над объектами (пассивными сущностями). Механизмы безопасности • произвольное управление доступом; • безопасность повторного использования объектов; • метки безопасности; • принудительное управление доступом. Классы безопасности В "Оранжевой книге" определяется четыре уровня доверия - D, C, B и A. Уровень D предназначен для систем, признанных неудовлетворительными. По мере перехода от уровня C к A к системам предъявляются все более жесткие требования. Уровни C и B подразделяются на классы (C1, C2, B1, B2, B3) с постепенным возрастанием степени доверия. Всего имеется шесть классов безопасности - C1, C2, B1, B2, B3, A1. Чтобы в результате процедуры сертификации систему можно было отнести к некоторому классу, ее политика безопасности и уровень гарантированности должны удовлетворять заданным требованиям, из которых мы упомянем лишь важнейшие. Коротко ее можно сформулировать так: • уровень C - произвольное управление доступом; • уровень B - принудительное управление доступом; • уровень A - верифицируемая безопасность. Примеры стандартов: ISO 27000 - Международные стандарты управления информационной безопасностью. Семейство Международных Стандартов на Системы Управления Информационной Безопасностью 27000. Это семейство включает в себя Международные стандарты, определяющие требования к системам управления информационной безопасностью, управление рисками, метрики и измерения, а также руководство по внедрению. ISO 15408 - Общие критерии оценки безопасности информационных технологий ISO 18028 - Международные стандарты сетевой безопасности серии ISO 13335 - Международные стандарты безопасности информационных технологий BSI\IT Baseline Protection Manual. Немецкий стандарт "Руководство по обеспечению безопасности ИТ" разрабатывается в BSI. PCI DSS - стандарт защиты информации в индустрии платежных карт, разработанный международными платежными системами Visa и MasterCard, объединяет в себе требования ряда программ по защите информации BS 25999, BS 25777 - Британские стандарты по управлению непрерывностью бизнеса и информационно-коммуникационных технологий ISO 20000 и ITIL - библиотека лучших практик в области управления ИТ. Целью ITIL является предоставление руководства по передовому опыту в области управления ИТ сервисами. Он включает в себя опции, которые могут быть позаимствованы и адаптированы под потребности конкретного бизнеса, местные условия и уровень зрелости сервис провайдера. ISO 20000 устанавливает стандарты, к которым должны быть устремлены процессы управления сервисами. |
1. Организация и принцип работы памяти. ОТВЕТ: Память - совокупность отдельных устройств, которые запоминают, хранят, выдают информацию. Отдельные устройства памяти называют запоминающими устройствами. Производительность вычислительных систем в значительной мере определяется составом и характеристиками отдельных запоминающих устройств, которые различают по принципу действия, техническим характеристикам, назначениям. Основные операции с памятью - процедура записи, процедура чтения (выборки). Процедуры записи и чтения также называют обращением к памяти. Основные технические характеристики памяти: Одними из основных характеристик памяти является емкость и быстродействие (время обращения к запоминающему устройству). В некоторых запоминающих устройствах считывание данных сопровождается их разрушением. В этом случае цикл обращения к памяти всегда должен содержать регенерацию данных (ЗУ динамического типа). Этот цикл состоит из трех шагов: - время от начала операции обращения до того момента, как данные станут доступны (время доступа); - считывание; - регенерация. Основные технические характеристики процедуры записи: - время доступа; - время подготовки (приведение в исходное состояние поверхности магнитного диска при записи); - запись. Максимальная длительность чтения-записи - называется временем обращения к памяти. По физическим основам все запоминающие устройства разделяются: полупроводниковые, магнитно-оптические и т.д. Организация полупроводниковой памяти Представляет собой некоторый массив элементов памяти. Структурные элементы памяти образуют ячейки памяти. Ширина ячеек - ширина выборки из памяти. Структура модуля памяти определяется способом организации памяти (способ адресации). Существует 3 разновидности организации памяти: - адресная память - память со стековой организацией - ассоциативная память Принципы организации основной памяти в современных ЭВМ Основная память представляет собой уровень иерархии памяти. Основная память удовлетворяет запросы кэш-памяти и служит в качестве интерфейса ввода/вывода, поскольку является местом назначения для ввода и источником для вывода. Для оценки производительности основной памяти используются два основных параметра: задержка и полоса пропускания. Задержка памяти традиционно оценивается двумя параметрами: временем доступа (access time) и длительностью цикла памяти (cycle time). Время доступа представляет собой промежуток времени между выдачей запроса на чтение и моментом поступления запрошенного слова из памяти. Длительность цикла памяти определяется минимальным временем между двумя последовательными обращениями к памяти. Random Access Memory (RAM) - запоминающие устройства с произвольной выборкой Цикл обращения таких устройств не зависит от того, в каком физическом месте ЗУ находятся требуемые данные. Такой способ доступа характерен для полупроводниковых ЗУ. Число записанных одновременно битов данных за одно обращение называют шириной выборки (доступа). Статическая память Память на основе микросхем, которые могут сохранять свое состояние лишь тех пор, пока к ним подключено питание, называется статической (Static RAM, SRAM). Может быть реализована на триггерах. Микросхемы статических SRAM имеют малое время доступа и не требуют циклов регенерации. Статическая RAM работает быстро, но стоит очень дорого, поскольку каждая ее ячейка содержит несколько транзисторов. Динамическая память В ячейке динамической памяти информация хранится в форме заряда на конденсаторе, и этот заряд может сохраняться всего несколько десятков миллисекунд. Поскольку ячейка памяти должна хранить информацию гораздо дольше, ее содержимое должно периодически обновляться путем восстановления заряда на конденсаторе. Ячейка динамической памяти, состоим из конденсатора С и транзистора Т. Для записи информации в эту ячейку включается транзистор Т и на линию бита подается соответствующее напряжение. В результате на конденсаторе образуется определенный заряд. Стековая память Стековая память является безадресной. Все ячейки памяти организованы по принципу "первым вошел - последним вышел" (LIFO). Реализовано это таким образом, что для операций с памятью доступна только 0-я ячейка. Ассоциативная память. Исторически последняя. Является представителем многофункциональных запоминающих устройств (возможна обработка данных без процессора в памяти). Отличительная особенность - поиск любой информации в ЗМ производится не по адресу, а по ассоциативным признакам (признакам опроса). Иерархия памяти В основе реализации иерархии памяти современных компьютеров лежат два принципа: принцип локальности обращений и соотношение стоимость/производительность. Принцип локальности обращений говорит о том, что большинство программ к счастью не выполняют обращений ко всем своим командам и данным равновероятно, а оказывают предпочтение некоторой части своего адресного пространства. Успешное или неуспешное обращение к более высокому уровню называются соответственно попаданием (hit) или промахом (miss). Попадание - есть обращение к объекту в памяти, который найден на более высоком уровне, в то время как промах означает, что он не найден на этом уровне. Доля попаданий (hit rate) или коэффициент попаданий (hit ratio) есть доля обращений, найденных на более высоком уровне. Иногда она представляется процентами. Доля промахов (miss rate) есть доля обращений, которые не найдены на более высоком уровне. Принципы размещения блоков в кэш-памяти определяют три основных типа их организации: 1. Если каждый блок основной памяти имеет только одно фиксированное место, на котором он может появиться в кэш-памяти, то такая кэш-память называется кэшем с прямым отображением (direct mapped). Это наиболее простая организация кэш-памяти, при которой для отображение адресов блоков основной памяти на адреса кэш-памяти просто используются младшие разряды адреса блока. 2. Если некоторый блок основной памяти может располагаться на любом месте кэш-памяти, то кэш называется полностью ассоциативным (fully associative). Если некоторый блок основной памяти может располагаться на ограниченном множестве мест в кэш-памяти, то кэш называется множественно-ассоциативным (set associative). Обычно множество представляет собой группу из двух или большего числа блоков в кэше. 3. Если множество состоит из n блоков, то такое размещение называется множественно-ассоциативным с n каналами (n-way set associative). Виртуальная память и организация защиты памяти Она делит физическую память на блоки и распределяет их между различными задачами. Она автоматически управляет двумя уровнями иерархии памяти: основной памятью и внешней (дисковой) памятью. Системы виртуальной памяти можно разделить на два класса: системы с фиксированным размером блоков, называемых страницами, и системы с переменным размером блоков, называемых сегментами. Страничная организация памяти В системах со страничной организацией основная и внешняя память (главным образом дисковое пространство) делятся на блоки или страницы фиксированной длины. Каждому пользователю предоставляется некоторая часть адресного пространства, которая может превышать основную память компьютера, и которая ограничена только возможностями адресации, заложенными в системе команд. Эта часть адресного пространства называется виртуальной памятью пользователя. Каждое слово в виртуальной памяти пользователя определяется виртуальным адресом, состоящим из двух частей: старшие разряды адреса рассматриваются как номер страницы, а младшие - как номер слова (или байта) внутри страницы. Сегментация памяти Другой подход к организации памяти опирается на тот факт, что программы обычно разделяются на отдельные области-сегменты. Каждый сегмент представляет собой отдельную логическую единицу информации, содержащую совокупность данных или программ и расположенную в адресном пространстве пользователя. Сегменты создаются пользователями, которые могут обращаться к ним по символическому имени. В каждом сегменте устанавливается своя собственная нумерация слов, начиная с нуля. | 2. Типовые средства аппаратной поддержки операционных систем, BIOS. ОТВЕТ: Средства аппаратной поддержки ОС – это средства, которые прямо участвуют в организации вычислительных процессов ОС: средства поддержки привилегированного режима, систему прерываний, средства переключения контекстов процессов, средства защиты областей памяти и т. п. Входят следующие компоненты: - средства поддержки привилегированного режима; - средства трансляции адресов; - средства переключения процессов; - система прерываний; - системный таймер; - средства защиты областей памяти. Средства поддержки привилегированного режима обычно основаны на системном регистре процессора, часто называемом «словом состояния» машины или процессора. Этот регистр содержит некоторые признаки, определяющие режимы работы процессора, в том числе и признак текущего режима привилегий. Смена режима привилегий выполняется за счет изменения слова состояния машины в результате прерывания или выполнения привилегированной команды. Средства трансляции адресов выполняют операции преобразования виртуальных адресов, которые содержатся в кодах процесса, в адреса физической памяти. Таблицы, предназначенные при трансляции адресов, обычно имеют большой объем, поэтому для их хранения используются области оперативной памяти, а аппаратура процессора содержит только указатели на эти области. Средства трансляции адресов используют данные указатели для доступа к элементам таблиц и аппаратного выполнения алгоритма преобразования адреса, что значительно ускоряет процедуру трансляции по сравнению с ее чисто программной реализацией. Средства переключения процессов предназначены для быстрого сохранения контекста приостанавливаемого процесса и восстановления контекста процесса, который становится активным. Для хранения контекстов приостановленных процессов обычно используются области оперативной памяти, которые поддерживаются указателями процессора. Переключение контекста выполняется по определенным командам процессора, например по команде перехода на новую задачу. Такая команда вызывает автоматическую загрузку данных из сохраненного контекста в регистры процессора, после чего процесс продолжается с прерванного ранее места. Система прерываний позволяет компьютеру реагировать на внешние события, синхронизировать выполнение процессов и работу устройств ввода-вывода, быстро переходить с одной программы на другую. Механизм прерываний нужен для того, чтобы оповестить процессор о возникновении в вычислительной системе некоторого непредсказуемого события или события, которое не синхронизировано с циклом работы процессора. Примерами таких событий могут служить завершение операции ввода-вывода внешним устройством (например, запись блока данных контроллером диска), некорректное завершение арифметической операции (например, переполнение регистра), истечение интервала астрономического времени. Системный таймер, часто реализуемый в виде быстродействующего регистра-счетчика, необходим операционной системе для выдержки интервалов времени. Для этого в регистр таймера программно загружается значение требуемого интервала в условных единицах, из которого затем автоматически с определенной частотой начинает вычитаться по единице. BIOS Термин BIOS определяет программу, отвечающую за управление всем оборудованием, установленным на материнской плате. Фактически BIOS является неотъемлемой составляющей системной платы и поэтому может быть отнесен к особой категории компьютерных компонентов, называемых firmware. BIOS (Basic Input/Output System) - базовая система ввода/вывода. Изначально, в системе IBM PC, основным назначением BIOS была поддержка функций ввода-вывода за счет предоставления операционной системе интерфейса для взаимодействия с аппаратурой, но в последнее время его предназначение и функции значительно расширились. Другой важной функцией BIOS является проводимая после каждого включения компьютера процедура тестирования (POST, Power On Self Test) всего установленного на материнской плате оборудования (за исключением дополнительных плат расширения). В процедуру тестирования входят: 1) Проверка работоспособности системы управления электропитанием; 2) Инициализация системных ресурсов и регистров чипсетов; 3) Тестирование оперативной памяти; 4) Подключение клавиатуры; 5) Тестирование портов; 6) Инициализация контроллеров, определение и подключение жестких дисков. В процессе инициализации и тестирования оборудования BIOS сравнивает данные системной конфигурации с информацией, хранящейся в CMOS - специальной энергозависимой памяти, расположенной на системной плате. Хранение данных в чипе CMOS поддерживается специальной батарейкой, и информация обновляется всякий раз при изменении каких-либо настроек BIOS. Таким образом, именно эта память хранит последние сведения о системных компонентах, текущую дату и время, а также, возможно, пароль, установленный на вход в BIOS или загрузку операционной системы. Наконец, третьей важной функцией, которую BIOS выполняет со времен IBM PC, является загрузка операционной системы. Современные BIOS позволяют загружать операционную систему не только с гибкого (FDD) или жесткого диска (HDD), но и с приводов CD-ROM, ZIP, LS-120, SCSI-контроллеров и т.д. Считав информацию об устройстве загрузки, BIOS приступает к поиску программы - загрузчика операционной системы на носителе или передает запрос на загрузку другому устройству (а точнее - в свою очередь, переадресует запрос на его BIOS). Когда ответ получен, программа загрузки помещается в оперативную память, откуда и происходит загрузка системной конфигурации и драйверов устройств операционной системы. | 3.Мультимедиа-технологии (МТ), их особенности в ряду базовых ИТ. Структурирование МТ. Основные технологические решения для носителей информации в МТ. Оптические диски, мини-диски, flash-память. ОТВЕТ: Мультимедиа технологии - это совокупность аппаратных и программных средств, позволяющая пользователю одновременно использовать все богатство представления информации в самых различных ее формах - в текстовой, числовой, графической, звуковой, анимационной и видео. Особенностями этих технологий: • объединение многокомпонентной информационной среды (текста, звука, графики, фото, видео) в однородном цифровом представлении; • обеспечение надежного (отсутствие искажений при копировании) и долговечного хранения (гарантийный срок хранения — десятки лет) больших объемов информации; • простота переработки информации (от рутинных до творческих операций). Интерактивность — это способность активно и разнообразно реагировать на действия пользователя. Классификация В зависимости от наличия интерактивности мультимедиа технологии подразделяются на: - Линейная (отсутствие интерактивности) - Нелинейная. Нелинейный способ представления информации позволяет человеку участвовать в выводе информации каким-либо образом со средством отображения мультимедийных данных. Принципы мультимедиа 1. Представление информации с помощью комбинации множества воспринимаемых человеком сред (собственно термин происходит от англ. multi - много, и media - среда); 2.Интерактивность 3. Художественный дизайн интерфейса и средств навигации. Компакт-диски – это носители информации, предназначенные для хранения информации в цифровой форме (в виде набора чисел). Способ считывания информации Для чтения информации с компакт-дисков используется луч лазера инфракрасного диапазона (ИК). Луч подается на вращающийся диск со стороны подложки, отражается от отражающего слоя и возвращается на специальный фотоприемник. Базовый формат – CD Audio Формат CD DA является базовым форматом семейства КД. Информация на CD Audio (в дальнейшем, КД) закодирована в виде последовательности питов и лэндов. Питы и лэнды разной длины, чередуясь, составляют информационную дорожку в виде спирали, которая начинается от внутреннего радиуса КД. Диск CD-ROM , его отличия от CD DA Диск CD-ROM унаследовал все черты своего родителя (CD DA), и приобрел новые черты, необходимые для выполнения своих специфичных функций. 1) Для CD-ROM необходим точный доступ к кадру. Для этого в кадр введены разделы Synchro и Header. Synchro необходим для распознавания начала кадра (сектора) CD-ROM, Header – содержит в себе точный адрес сектора в формате MSF. 2) Основная задача аудио-проигрывателя - непрерывное воспроизведение фонограммы. Если при воспроизведении возникают ошибки, проигрыватель пытается исправить их с помощью механизмов избыточности, заложенных при создании диска (код Рида-Соломона). Если механизма избыточности недостаточно для восстановления поврежденной информации, проигрыватель начинает интерполировать звук. При этом, естественно, возникают искажения (слышимые или неслышимые), но воспроизведение продолжается. Для CD-ROM интерполяция информации неприемлема. Информация должна быть или прочитана точно, или не прочитана вообще. Поэтому для CD-ROM предусмотрена дополнительная избыточность и средства детектирования ошибки. Это EDC (Error Detection Code) и ECC (Error Correction Code ), которые принято называть третьим слоем восстановления ошибок. Работая в паре, EDC и ECC позволяют обнаружить и исправить ошибки, которые для аудио-диска были бы фатальными. Принципы доступа к информации Для аудио-диска объектом выбора обычно является трек. Для того чтобы выбрать любой трек, достаточно информации, записанной в TOC . Для CD-ROM, как и для любого компьютерного носителя, объектом выбора являются файлы и папки (директории). Папки тоже являются файлами особого назначения. Поэтому записей в TOC недостаточно для доступа к объектам CD-ROM . Для доступа к файлам на дисках CD-ROM формируется файловая структура (ФС). ФС – это набор служебных записей, описывающих местоположение и атрибуты файлов и папок. Файловые структуры бывают разные, и любая из них может быть размещена на CD - ROM . Метка диска (Volume Label) – идентифицирует диск при его загрузке в привод CD-ROM. В проводнике Windows метка диска отображается справа от значка привода CD-ROM. Mixed Mode CD Следующий член семейства КД – Mixed Mode CD (диск со смешанными режимами) является прямым потомком двух предыдущих – CD DA и CD-ROM . На таком диске первый трек всегда имеет тип Data и содержит файловую структуру с компьютерными данными. За Data -треком располагаются аудио-треки. Особенность использования такого диска – аудио-треки начинаются со второго трека. «Умные» проигрыватели не позволят запустить на проигрывание первый трек. Но остается риск того, что простые проигрыватели позволят проигрывать первый трек, а это чревато выходом из строя акустических систем. В настоящее время этот формат используется в основном при создании игровых дисков, для размещения игровых программ с музыкальным сопровождением. CD-ROM XA (eXtended Architecture) Этот формат является потомком формата CD-ROM. Его появление было вызвано необходимостью обозначать тип цифровой информации, хранящейся в конкретном кадре диска. Связано это было с появлением специализированных проигрывателей мультимедийной информации, способных проигрывать видео со звуком и отображать неподвижные изображения (в частности, проигрыватели Video CD). Multisession CD Формат CD-ROM XA используется также при создании дисков Multisession . Термин «сессия» - дословно, сеанс, появился вместе с форматом CD - Recordable (Записываемый Компакт-Диск). Под сессией понимается сеанс записи компакт-диска, то есть запись на диске Lead - In , программной зоны и Lead - Out Формат Multisession разрешает производить запись на диск, который уже имеет сессию (сессии). Запись возможна при условии, что в TOC последней сессии имеется специальная метка, разрешающая запись еще одной сессии. При записи новой сессии в ней формируется новая файловая система, которая указывает местоположение вновь записываемых файлов и, кроме этого, как правило, указывает на местоположение файлов из предыдущих сессий (хотя может этого и не делать). Также в новой сессии могут быть записаны новые версии файлов, уже имеющихся в предыдущих сессиях (при этом в новой файловой системе указывается местоположение новой версии файла, а ссылка на старый файл не формируется – «псевдостирание»). Минидиск (MD) — магнито-оптический носитель информации. Его можно использовать для хранения любого вида цифровых данных. Наиболее широко минидиски используются для хранения аудио информации. Основные характеристики формата минидиска 1. Возможность качественной и многократной перезаписи, причем количество перезаписи без потери качества достигает 1 млн. циклов. 2. Редактирование любой сложности. Минидиск позволяет не только записывать, но и легко редатировать уже сделанную запись. Перемещать, объединять, разделять фрагменты, стирать дорожки. 3. Мгновенный доступ к любой записи. 4. Высокое качество звука. 5. Компактность. Минидиск имеет в 3 раза меньший обьем, чем компакт-диск. DVD (Digital Versatile Disc или Digital Video Disk) — носитель информации в виде диска имеющий возможность хранить больший объём информации за счёт использования лазера с меньшей длиной волны, чем для обычных компакт дисков. DVD по структуре данных бывают трёх типов: • DVD-Video — содержат фильмы (видео и звук); • DVD-Audio — содержат аудиоданные высокого качества (гораздо выше, чем на аудиокомпакт-дисках); • DVD-Data — содержат любые данные. DVD как носители бывают четырёх типов: • DVD-ROM — штампованные на заводе диски; • DVD+R/RW — диски однократной (R — Recordable) и многократной (RW — ReWritable) записи; • DVD-R/RW — диски однократной (R — Recordable) и многократной (RW — ReWritable) записи; • DVD-RAM — диски многократной записи с произвольным доступом (RAM — Random Access Memory). Двухслойные DVD обычно имеют золотой цвет, а однослойные — серебряный, как компакт-диск. В отличие от компакт-дисков, в которых структура аудиодиска фундаментально отличается от диска с данными, в DVD всегда используется файловая система UDF. Скорость чтения/записи DVD указывается кратной 1350 Кб/с, то есть 16-скоростной привод обеспечивает чтение (или запись) дисков в 16 Ч 1350 = 21600 Кб/с (21,09 Мб/с). HD-DVD — технология записи на DVD от Toshiba (в содружестве с компаниями NEC и Sanyo). Позволяет записывать цифровую информацию объёмом до 45 гигабайт. Этого достаточно для записи 12 часов видео с высоким разрешением на один носитель. Такой диск состоит из трех слоев толщиной 0,6 мм, каждый из которых позволяет записать 15 ГБ данных. Флэш-память (или флеш-память) — разновидность твердотельной полупроводниковой энергонезависимой перезаписываемой памяти. Энергонезависимая - не требующая дополнительной энергии для хранения данных (энергия требуется только для записи). Перезаписываемая - допускающая изменение (перезапись) хранимых в ней данных. Полупроводниковая (твердотельная) - не содержащая механически движущихся частей (как обычные жёсткие диски или CD), построенная на основе интегральных микросхем. Флэш-память может быть прочитана сколько угодно раз, но писать в такую память можно лишь ограниченное число раз (обычно около 10 000). Причина в том, что для записи в память необходимо сначала стереть участок памяти, а участок может выдержать лишь ограниченное число стираний. Стирание происходит участками, поэтому нельзя изменить один бит или байт без перезаписи всего участка. Преимуществом флэш-памяти над обычной является её энергонезависимость — при выключении энергии содержимое памяти сохраняется. Преимуществом флэш-памяти над жёсткими дисками, CD-ROM-ами, DVD является отсутствие движущихся частей. Поэтому флэш-память более компактна, дешева (с учётом стоимости устройств чтения-записи) и обеспечивает более быстрый доступ. Недостатком, по сравнению с жёсткими дисками, является относительно малый объём. Флэш-память бывает как съёмной, так и несъёмной. Съёмную флэш-память применяют для хранения изображения и звука в аудио- и видеоаппаратуре и для бэкапа, несъёмную — для хранения встроенного программного обеспечения, операционных систем, а в КПК и программируемых калькуляторов — и для хранения других программ и данных. Во многих КПК съёмная флэш-память используется как расширение памяти. Blu-ray Disc, BD (blue ray — синий луч) — формат оптического носителя, используемый для записи и хранения цифровых данных, включая видео высокой чёткости с повышенной плотностью. Blu-ray получил своё название от использования для записи и чтения коротковолнового (405 нм) «синего» (технически сине-фиолетового) лазера. Однослойный диск Blu-ray (BD) может хранить 23,3/25/27 или 33 Гб, двухслойный диск может вместить 46,6/50/54 или 66 Гб. Также в разработке находятся диски вместимостью 100 Гб и 200 Гб с использованием соответственно четырёх и восьми слоёв. На данный момент доступны диски BD-R (одноразовая запись) и BD-RE (многоразовая запись), в разработке находится формат BD-ROM. В дополнение к стандартным дискам размером 120 мм, выпущены варианты дисков размером 80 мм для использования в цифровых фото- и видеокамерах. Планируется, что их объём будет достигать 15 Гб для двухслойного варианта. Обычные DVD и CD используют красный и инфракрасный лазеры с длиной волны 650 нм и 780 нм соответственно. |
1. Классификация, состав и структура АИС. ОТВЕТ: По направлению деятельности различают: • производственные системы; • административные системы (человеческих ресурсов); • финансовые и учетные системы; • системы маркетинга. Производственные системы подразделяются на: • автоматизированные системы управления производством; • автоматизированные системы управления технологическими процессами; • автоматизированные системы управления техническими средствами. Виды обеспечения автоматизированных информационных систем Подсистема — это часть системы, выделенная по какому-либо признаку. Различают: • Программно-техническое обеспечение (платформа). • Информационное обеспечение. • Математическое обеспечение (иногда – алгоритмическое). • Организационно-методическое обеспечение. Иногда объединяют математическое и программное обеспечение. Информационное обеспечение — совокупность единой системы классификации и кодирования информации, унифицированных систем документации, схем информационных потоков, циркулирующих в организации, а также методология построения баз данных. Назначение подсистемы информационного обеспечения состоит в своевременном формировании и выдаче достоверной информации для принятия управленческих решений. Автоматизированная система – система, состоящая из персонала и комплекса средств автоматизации его деятельности, реализующая информационную технологию установленных функций. Технологическое и организационное воплощение информационного обеспечения осуществляется в следующих формах: • служба документационного управления; • информационная служба; • экспертно-аналитическая служба. Унифицированные системы документации создаются на государственном, республиканском, отраслевом и региональном уровнях. Главная цель — это обеспечение сопоставимости показателей различных сфер общественного производства. Разработаны стандарты, где устанавливаются требования: • к унифицированным системам документации; • к унифицированным формам документов различных уровней управления; • к составу и структуре реквизитов и показателей; • к порядку внедрения, ведения и регистрации унифицированных форм документов. Для создания информационного обеспечения необходимо: • ясное понимание целей, задач, функций всей системы управления организацией; • выявление движения информации от момента возникновения и до ее использования на различных уровнях управления, представленной для анализа в виде схем информационных потоков; • совершенствование системы документооборота; • наличие и использование системы классификации и кодирования; • владение методологией создания концептуальных информационно-логических моделей, отражающих взаимосвязь информации; • создание массивов информации на машинных носителях, что требует наличия современного технического обеспечения. Техническое обеспечение — комплекс технических средств, предназначенных для работы информационной системы, а также соответствующая документация на эти средства и технологические процессы. Комплекс технических средств составляют: • компьютеры любых моделей; • устройства сбора, накопления, обработки, передачи и вывода информации; • устройства передачи данных и линий связи; • оргтехника и устройства автоматического съема информации; • эксплуатационные материалы и др. Формы организации технического обеспечения (формы использования технических средств) — централизованная и частично или полностью децентрализованная. Централизованное техническое обеспечение базируется на использовании в информационной системе больших компьютеров и вычислительных центров. Децентрализация технических средств предполагает реализацию функциональных подсистем на персональных компьютерах непосредственно на рабочих местах. Математическое и программное обеспечение — совокупность математических методов, моделей, алгоритмов и программ для реализации целей и задач информационной системы, а также нормального функционирования комплекса технических средств. К средствам математического обеспечения относятся: • средства моделирования процессов управления; • типовые алгоритмы управления; • методы математического программирования, математической статистики, теории массового обслуживания и др. В состав программного обеспечения входят общесистемные и специальные программные продукты, а также техническая документация. К общесистемному программному обеспечению относятся комплексы программ, ориентированных на пользователей и предназначенных для решения типовых задач обработки информации. Они служат для расширения функциональных возможностей компьютеров, контроля и управления процессом обработки данных. Специальное программное обеспечение представляет собой совокупность программ, разработанных при создании конкретной информационной системы. В его состав входят пакеты прикладных программ, реализующие разработанные модели разной степени адекватности, отражающие функционирование реального объекта. Техническая документация на разработку программных средств должна содержать описание задач, задание на алгоритмизацию, экономико-математическую модель задачи, контрольные примеры. Организационное обеспечение — совокупность методов и средств, регламентирующих взаимодействие работников с техническими средствами и между собой в процессе разработки и эксплуатации информационной системы. Организационное обеспечение создается по результатам предпроектного обследования организации. Правовое обеспечение — совокупность правовых норм, определяющих создание, юридический статус и функционирование информационных систем, регламентирующих порядок получения, преобразования и использования информации. Главной целью правового обеспечения является укрепление законности. В состав правового обеспечения входят законы, указы, постановления государственных органов власти, приказы, инструкции и другие нормативные документы министерств, ведомств, организаций, местных органов власти. Правовое обеспечение функционирования информационной системы включает: • статус информационной системы; • права, обязанности и ответственность персонала; • правовые положения отдельных видов процесса управления; • порядок создания и использования информации и др. Класс A: системы (подсистемы) управления технологическими объектами и/или процессами. Класс B: системы (подсистемы) подготовки и учета производственной деятельности предприятия. Класс C: системы (подсистемы) планирования и анализа производственной деятельности предприятия. Системы (подсистемы) класса A - системы (подсистемы) контроля и управления технологическими объектами и/или процессами. В качестве классических примеров систем класса A можно считать: • SCADA - Supervisory Control And Data Acquisition (диспетчерский контроль и накопление данных); • DCS - Distributed Control Systems (распределенные системы управления); • Batch Control - системы последовательного управления; • АСУ ТП - Автоматизированные Системы Управления Технологическими Процессами. Системы класса B - это системы (подсистемы) подготовки и учета производственной деятельности предприятия. Системы класса B предназначены для выполнения класса задач, требующих непосредственного участия человека для принятия оперативных (тактических) решений, оказывающих влияние на ограниченный круг видов деятельности или небольшой период работы предприятия. В некотором смысле к таким системам принято относить те, которые находятся на уровне технологического процесса, но с технологией напрямую не связаны. Классическими примерами систем класса B можно считать: • MES - Manufacturing Execution Systems (системы управления производством); • MRP - Material Requirements Planning (системы планирования потребностей в материалах); • MRP II - Manufacturing Resource Planning (системы планирования ресурсов производства); • CRP - C Resource Planning (система планирования производственных мощностей); • CAD - Computing Aided Design (автоматизированные системы проектирования - САПР); • CAM - Computing Aided Manufacturing (автоматизированные системы поддержки производства); • CAE - Computing Aided Engineering (автоматизированные системы инженерного проектирования - САПР); • PDM - Product Data Management (автоматизированные системы управления данными); • СRM - Customer Relationship Management (системы управления взаимоотношениями с клиентами); • всевозможные учетные системы и т.п. Системы класса C - это системы (подсистемы) планирования и анализа производственной деятельности предприятия. Системы класса C предназначены для выполнения класса задач, требующих непосредственного участия человека для принятия стратегических решений, оказывающих влияние на деятельность предприятия в целом. Классическими названиями системы класса B можно считать: • ERP - Enterprise Resource Planning (Планирование Ресурсов Предприятия); • IRP - Intelligent Resource Planning (системами интеллектуального планирования); • АСУП; • EIS. | 2. Контроллеры, основные функции и реализация. ОТВЕТ: Контроллер - специализированное техническое устройство, предназначенное для управления другими устройствами путем получения информации в виде цифровых данных или аналого-дискретного сигнала от внешнего устройства (ЭВМ, датчики или иное устройство), преобразования этой информации по специальному алгоритму и выдачи управляющих воздействий в виде цифрового или аналого-дискретного сигнала. Чаще всего контроллеры представляют собой программируемые устройства, имеющие в своем составе программируемые логические интегральные схемы (ПЛИС) или специализированные процессоры. Примеры контроллеров: - контроллер информационной шины (PCI, SCSI и т. п.); - контроллер видеомонитора (видеоадаптер); - контроллер управления стиральной машиной, кондиционером и т. д. Классификация Мощность Под обобщённым термином «мощность» понимается разрядность и быстродействие центрального процессора, объём разных видов памяти, число портов и сетевых интерфейсов. Очень часто основным показателем, косвенно характеризующим мощность контроллера и, одновременно, являющимся важнейшей его характеристикой, является число входов и выходов (как аналоговых, так и дискретных), которые могут быть подсоединены к контроллеру. По этому показателю контроллеры подразделяются на следующие классы: - наноконтроллеры (часто с встроенными функциями), имеющие до 15 входов/выходов; - малые контроллеры, рассчитанные на 15-100 входов/выходов; - средние контроллеры, рассчитанные примерно на 100-300 входов/выходов; - большие контроллеры, рассчитанные примерно на 300-2000 входов/выходов; - сверхбольшие контроллеры, имеющие примерно от 2000 и более входов/выходов. Область применения Область применения – один из наиболее важных признаков классификации. Область применения контроллера накладывает целый ряд требований к контроллерам и очень сильно сужает круг поиска при разработке систем управления. Главные сферы контроллеров: станкостроение, машиностроение, замена релейно-контактных шкафов во всех отраслях промышленности. По структуре контроллеры подразделяются на два класса: контроллеры, имеющие фирменную закрытую структуру, и контроллеры открытой структуры, основанной на одном из магистрально-модульных стандартов. При закрытой фирменной структуре изменения (модификации) контроллера возможны, обычно, только компонентами производителя. Сами изменения достаточно ограничены и заранее оговорены производителем. При открытой магистрально-модульной структуре, имеющей стандартный интерфейс для связи центрального процессора с другими модулями контроллера, ситуация кардинально меняется. По конструктивному исполнению контроллеры можно разделить на несколько групп: - встраиваемые; - размещаемые в общий конструктив; - модульного типа; Встраиваемые контроллеры Как правило не имеют корпуса, часто конструкция просто крепится на раме. Требований к защитным оболочкам таких контроллеров не предъявляются, поскольку контроллеры встраиваются в общий корпус оборудования и являются неотъемлемой частью этого оборудования Контроллеры, размещаемые в общий конструктив Такие контроллеры характеризуются тем, что вс е модули – процессорный, коммуникационные, модули ввода-вывода – размещаются в одном конструктиве. В таких контроллерах, как правило, предусматривается некая «материнская» плата с разъёмами, в которые вставляются все модули контроллера. Контроллеры модульного типа Контроллеры модульного типа не используют общего конструктива. Каждый модуль таких контроллеров, будь то процессорный модуль или модуль ввода-вывода, имеет собственный корпус. Можно выделить две разновидности контроллеров: с внутренней межмодульной шиной и с внешней шиной. Модули контроллеров с внутренней межмодульной шиной на боковых поверхностях имеют контакты для подключения соседних модулей. А модули контроллеров с внешней шиной, как правило, используют для связи между модулями какую-нибудь скоростную полевую шину, например CAN | 3.Сжатие данных. Определение и виды. Примеры кодирования, их применение в ИТ. Сжатие изображений и аудиоинформации. Стандарты JPEG и МР3. ОТВЕТ: Сжатие данных — процедура перекодирования данных, производимая с целью уменьшения их объёма. Сжатие бывает без потерь (когда возможно восстановление исходных данных без искажений) или с потерями (восстановление возможно с искажениями, несущественными с точки зрения дальнейшего использования восстановленных данных). Сжатие без потерь обычно используется при обработке компьютерных программ и данных, реже для сокращения объёма звуковой, фото- и видеоинформации. При декомпрессии результат будет в точности (бит к биту) соответствовать оригиналу. Большинство методов сжатия без потери качества не учитывают визуальную похожесть соседних кадров видеопотока. Однако при сжатии без потерь невозможно достигнуть высоких коэффициентов сжатия на реальном видео. Сжатие с потерями применяется для сокращения объёма звуковой, фото- и видеоинформации, оно значительно эффективнее сжатия без потерь. С помощью таких методов аудио и видео могут быть сжаты до 5% их оригинального размера, но утраченная информация редко видна невооруженным глазом или определяется на слух. Используют похожесть соседних кадров. Из-за этого максимальная степень сжатия среднестатистического видеофрагмента, достигаемая алгоритмами без потерь, не превышает 3 к 1, в то время как алгоритмы, работающие с потерей качества, могут сжимать вплоть до 100 к 1.По этой причине практически всё широко используемое видео является сжатым с потерями. Кодирование информации — процесс преобразования сигнала из формы, удобной для непосредственного использования информации, в форму, удобную для передачи, хранения или автоматической переработки - Цифровое кодирование - Аналоговое кодирование - Таблично-символьное кодирование - Числовое кодирование Алгоритмы сжатия видео Данный вид информации имеет огромный объем и, как никакая другая информация, нуждается в сжатии. Сжатие видео — уменьшение количества данных, используемых для представления видеопотока. Существует симметричная и асимметричная схемы сжатия данных. При асимметричной схеме информация сжимается в автономном режиме (т.е. одна секунда исходного видео сжимается в течение нескольких секунд или даже минут мощными параллельными компьютерами и помещается на внешний носитель, например CD–ROM). На машинах пользователей устанавливаются сравнительно дешевые платы декодирования, обеспечивающие воспроизведение информации мультимедиа в реальном времени. Использование такой схемы увеличивает коэффициент сжатия, улучшает качество изображения, однако пользователь лишен возможности разрабатывать собственные продукты мультимедиа. При симметричной схеме сжатие и развертка происходят в реальном времени на машине пользователя, благодаря чему за персональными компьютерами и в этом случае сохраняется их основополагающее достоинство: с их помощью любой пользователь имеет возможность производить собственную продукцию. Motion-JPEG. Является наиболее простым алгоритмом сжатия видео. В нем каждый кадр сжимается независимо алгоритмом JPEG. Этот прием дает высокую скорость доступа к произвольным кадрам. Легко реализуются плавные "перемотки" в обоих направлениях, аудио-визуальная синхронизация. Характеристики Motion-JPEG - Cжатие: в 5-10 раз Плюсы: Быстрый произвольный доступ. Легко редактировать поток. Низкая стоимость аппаратной реализации. Минусы: Сравнительно низкая степень сжатия. Алгоритм обработки данных JPEG JPEG основан на схеме кодирования, базирующейся на дискретных косинус-преобразованиях (DCT). DCT — это общее имя определенного класса операций, данные о которых были опубликованы несколько лет назад. В силу своей природы они всегда кодируют с потерями, но способны обеспечить высокую степень сжатия при минимальных потерях данных. Схема JPEG эффективна только при сжатии многоградационных изображений, в которых различия между соседними пикселями, как правило, весьма незначительны. Практически JPEG хорошо работает только с изображениями, имеющими глубину хотя бы 4 или 5 битов/пиксел на цветовой канал. Основы стандарта определяют глубину входного образца в 8 бит/пиксел. Данные с меньшей битовой глубиной могут быть обработаны посредством масштабирования до 8 бит/пиксел, но результат для исходных данных с низкой глубиной цвета может быть неудовлетворительным, поскольку между атрибутами соседних пикселов будут существенные различия. По подобным причинам плохо обрабатываются исходные данные на основе цветовых таблиц, особенно если изображение представляется в размытом виде. Процесс сжатия по схеме JPEG включает ряд этапов: - Преобразование изображения в оптимальное цветовое пространство. - Субдискретизация компонентов цветности усреднением групп пикселей. - Применение дискретных косинус-преобразований для уменьшения избыточности данных изображения. - Квантование каждого блока коэффициентов DCT с применением весовых функций, оптимизированных с учетом визуального восприятия человеком. - Кодирование результирующих коэффициентов (данных изображения) с применением алгоритма Хаффмена для удаления избыточности информации. Цветовое пространство. В принципе алгоритм JPEG способен кодировать изображения, основанные на любом типе цветового пространства. Субдискретизация компонентов цветности. Уменьшение разрешения каналов цветности путем субдискретизации, или усреднения групп пикселей осуществляется компрессором JPEG. Дискретное косинусное преобразование. Дискретное косинусное преобразование представляет собой разновидность преобразования Фурье и, так же как и оно, имеет обратное преобразование. Дискретное косинусное преобразование преобразует матрицу пикселов размером NxN в матрицу частотных коэффициентов соответствующего размера. Коэффициент квантования. Чем больше коэффициент квантования, тем больше данных теряется, поскольку реальное DCT-значение представляется все менее и менее точно. JPEG использует различную чувствительность глаза к яркости и цветности изображения. Кодирование. Заключительная стадия работы кодера JPEG - это собственно кодирование. На основе JPEG - метода сжатия построены многочисленные форматы, например, формат TIFF/JPEG, известный как TIFF 6.0, TIFF, QuickTime и др. Файлы с графикой в формате JPEG имеют расширение *.jpg. Формат JPEG является TrueColor-форматом, то есть может хранить изображения с глубиной цвета 24 бит/пиксел. Такой глубины цвета достаточно для практически точного воспроизведения изображений любой сложности на экране монитора. Формат MP3 (MPEG Layer3). Это один из форматов хранения аудиосигнала, позднее утвержденный как часть стандартов сжатого видео. Данный формат построен на знании особенностей человеческого слуха. Это называется адаптивным кодированием и позволяет экономить на наименее значимых с точки зрения восприятия человека деталях звучания. Режимы управления кодированием звуковых каналов существует 4 режима: • Стерео — двухканальное кодирование, при котором каналы исходного стереосигнала кодируются независимо друг от друга. • Моно — одноканальное кодирование. Если закодировать двухканальный материал этим способом, различия между каналами будут полностью стёрты, так как два канала смешиваются в один, он кодируется и он же воспроизводится в обоих каналах стереосистемы. • Двухканальный — два независимых канала, например звуковое сопровождение на разных языках. Битрейт делится на два канала. • Объединённое стерео (Joint Stereo) — оптимальный способ двухканального кодирования. Стереозвук — запись, передача или воспроизведение звука, при которых сохраняется аудиальная информация о расположении его источника посредством раскладки звука через два (и более) независимых аудиоканала. В монозвучании аудиосигнал поступает из одного канала. Принципиальной особенностью MPEG-кодирования является компрессия с потерями. После упаковки и распаковки звукового файла методом MP3 результат не идентичен оригиналу "бит в бит". Напротив, упаковка целенаправленно исключает из упаковываемого сигнала несущественные компоненты, что приводит к чрезвычайному возрастанию коэффициента сжатия. В зависимости от необходимого качества звука метод MP3 способен сжать звук в десять и более раз (См. Степень сжатия и качество). Преимущества MP3. Первое преимущество состоит в том, что ни про один из существующих подобных форматов нельзя пока сказать, что он полностью гарантирует устойчивое сохранение качества звучания на достаточно высоких битрейтах, кроме MP3, который достойно выдержал проверку временем. Второе, не менее важное преимущество - на ближайшие годы, а возможно, и на все десятилетие, MP3 стал стандартом де факто, поскольку много сделано в него вложений пользующимися им сторонами, в том числе и цифровыми радиостанциями |
1. Проектирование методом «сущность-связь». Нормализация отношений. ОТВЕТ: Основные понятия ER-диаграмм Сущность - это класс однотипных объектов, информация о которых должна быть учтена в модели. Каждая сущность должна иметь наименование, выраженное существительным в единственном числе. Примерами сущностей могут быть такие классы объектов как "Поставщик", "Сотрудник", "Накладная". Каждая сущность в модели изображается в виде прямоугольника с наименованием: Экземпляр сущности - это конкретный представитель данной сущности. Например, представителем сущности "Сотрудник" может быть "Сотрудник Иванов". Экземпляры сущностей должны быть различимы, т.е. сущности должны иметь некоторые свойства, уникальные для каждого экземпляра этой сущности. Атрибут сущности - это именованная характеристика, являющаяся некоторым свойством сущности. Наименование атрибута должно быть выражено существительным в единственном числе (возможно, с характеризующими прилагательными). Примерами атрибутов сущности "Сотрудник" могут быть такие атрибуты как "Табельный номер", "Фамилия", "Имя", "Отчество", "Должность", "Зарплата" и т.п. Атрибуты изображаются в пределах прямоугольника, определяющего сущность: Ключ сущности - это неизбыточный набор атрибутов, значения которых в совокупности являются уникальными для каждого экземпляра сущности. Неизбыточность заключается в том, что удаление любого атрибута из ключа нарушается его уникальность. Сущность может иметь несколько различных ключей. Ключевые атрибуты изображаются на диаграмме подчеркиванием: Связь - это некоторая ассоциация между двумя сущностями. Одна сущность может быть связана с другой сущностью или сама с собою. Связи позволяют по одной сущности находить другие сущности, связанные с нею. Например, связи между сущностями могут выражаться следующими фразами - "СОТРУДНИК может иметь несколько ДЕТЕЙ", "каждый СОТРУДНИК обязан числиться ровно в одном ОТДЕЛЕ". Графически связь изображается линией, соединяющей две сущности: Каждая связь имеет два конца и одно или два наименования. Наименование обычно выражается в неопределенной глагольной форме: "иметь", "принадлежать" и т.п. Каждое из наименований относится к своему концу связи. Иногда наименования не пишутся ввиду их очевидности. Каждая связь может иметь один из следующих типов связи: Связь типа один-к-одному означает, что один экземпляр первой сущности (левой) связан с одним экземпляром второй сущности (правой). Связь один-к-одному чаще всего свидетельствует о том, что на самом деле мы имеем всего одну сущность, неправильно разделенную на две. Связь типа один-ко-многим означает, что один экземпляр первой сущности (левой) связан с несколькими экземплярами второй сущности (правой). Это наиболее часто используемый тип связи. Левая сущность (со стороны "один") называется родительской, правая (со стороны "много") - дочерней. Связь типа много-ко-многим означает, что каждый экземпляр первой сущности может быть связан с несколькими экземплярами второй сущности, и каждый экземпляр второй сущности может быть связан с несколькими экземплярами первой сущности. Тип связи много-ко-многим является временным типом связи, допустимым на ранних этапах разработки модели. В дальнейшем этот тип связи должен быть заменен двумя связями типа один-ко-многим путем создания промежуточной сущности. Каждая связь может иметь одну из двух модальностей связи: Модальность "может" означает, что экземпляр одной сущности может быть связан с одним или несколькими экземплярами другой сущности, а может быть и не связан ни с одним экземпляром. Модальность "должен" означает, что экземпляр одной сущности обязан быть связан не менее чем с одним экземпляром другой сущности. Связь может иметь разную модальность с разных концов Описанный графический синтаксис позволяет однозначно читать диаграммы, пользуясь следующей схемой построения фраз: <Каждый экземпляр СУЩНОСТИ 1> <МОДАЛЬНОСТЬ СВЯЗИ> <НАИМЕНОВАНИЕ СВЯЗИ> <ТИП СВЯЗИ> <экземпляр СУЩНОСТИ 2>. Каждая связь может быть прочитана как слева направо, так и справа налево. Реальным средством моделирования данных является не формальный метод нормализации отношений, а так называемое семантическое моделирование. В качестве инструмента семантического моделирования используются различные варианты диаграмм сущность-связь (ER - Entity-Relationship). Диаграммы сущность-связь позволяют использовать наглядные графические обозначения для моделирования сущностей и их взаимосвязей. Различают концептуальные и физические ER-диаграммы. Концептуальные диаграммы не учитывают особенностей конкретных СУБД. Физические диаграммы строятся по концептуальным и представляют собой прообраз конкретной базы данных. Сущности, определенные в концептуальной диаграмме становятся таблицами, атрибуты становятся колонками таблиц (при этом учитываются допустимые для данной СУБД типы данных и наименования столбцов), связи реализуются путем миграции ключевых атрибутов родительских сущностей и создания внешних ключей. При правильном определении сущностей, полученные таблицы будут сразу находиться в 3НФ. Основное достоинство метода состоит в том, модель строится методом последовательных уточнений первоначальных диаграмм. Под нормализацией отношения подразумевается процесс приведения отношения к одной из так называемых нормальных форм (или в дальнейшем НФ) Всего в реляционной теории насчитывается 6 НФ: 1-я НФ (обычно обозначается также 1НФ). 2НФ. 3НФ. НФ Бойса-Кодда (НФБК). 4НФ. 5НФ. На практике, как правило, ограничиваются 3НФ. 1НФ Схема отношения R находится в 1НФ, если значения в dom(A) являются атомарными для каждого атрибута A в R. Другими словами, каждый атрибут отношения должен хранить одно-единственное значение и не являться ни списком, ни множеством значений. Приведение отношения к 1НФ - довольно простая операция. Необходимо просмотреть схему отношения и разделить составные атрибуты на различные строки/столбцы. Возможно, эту операцию придется повторить несколько раз до тех пор, пока каждый из атрибутов не станет атомарным (с учетом сказанного в предыдущем абзаце). Наим. Город Адрес Эл. Почта WWW Вид Конт. Лица Наим. Город Адрес Эл.Почта WWW Вид Должность Ф.И.О КодГорода Тел. 2НФ Схема отношения R находится во 2НФ относительно множества функциональных зависимостей F, если она находится в 1НФ и каждый неключевой атрибут полностью зависит от каждого ключа для R. Другими словами, отношение находится во 2НФ, если оно находится в 1НФ, и при этом все неключевые атрибуты зависят только от ключа целиком, а не от какой-то его части. Наим. Город Адрес Эл.Почта WWW Вид Должность Ф.И.О. КодГорода Тел. Город Код города 3НФ Схема отношения R находится в 3НФ относительно множества функциональных зависимостей F, если она находится в 1НФ и ни один из непервичных атрибутов в R не является транзитивно зависимым от ключа для R. Вольное изложение определения: чтобы привести отношение к 3НФ, необходимо устранить функциональные зависимости между неключевыми атрибутами отношения. Другими словами, факты, хранимые в таблице, должны зависеть только от ключа. Наим. Город Адрес Эл. Почта WWW Вид Наим. Город Ф.И.О. Должность Тел. | 2. Способы обеспечения монопольного доступа к разделяемым ресурсам. Алгоритмы распределения памяти. Способы защиты памяти. ОТВЕТ: Существуют три типа доступа к ресурсу (закрытия ресурса): • монопольный – только одна транзакция получает доступ к ресурсу (монопольный тип доступа обычно используется при записи информации); • разделяемый – несколько транзакций получают доступ к ресурсу (разделяемый тип доступа обычно используется при чтении информации); • предупредительный – в грбфе запретов введен запрет на узел Х нижнего уровня. Поддеревья, в которые входит узел X, помечаются меткой предупредительного запрета, чтобы не допустить наложения на поддеревья, содержащие узел X. Известно несколько способов распределения памяти: 1. Фиксированное распределение. ОП разделяется на ряд статических разделов во время генерации системы. Процесс может быть загружен в раздел равного или большего размера. Плюсы - простота реализации и малые системные затраты. Минусы - неэффективное использование памяти из-за внутренней фрагментации и фиксированного максимального количества процессов. 2. Динамическое распределение. Разделы создаются динамически, каждый процесс загружается в раздел необходимого раздела. Плюсы - отсутствие внутренней фрагментации, более эффективное использование ОП. Минусы - существенные затраты процессора на противодействие внешней фрагментации и проведения уплотнения памяти. При выделении памяти таким образом применяются три основных алгоритма: наилучший подходящий, первый подходящий, следующий подходящий. 3. Простая страничная организация. ОП разделена на ряд кадров равного размера. Каждый процесс распределен на некоторое количество страниц равного размера, такой же длины, что и кадры памяти. Процесс загружается путем загрузки всех его страниц. Плюсы- отсутствие внешней фрагментации. Минусы - небольшая внутренняя фрагментация. 4. Простая сегментация. Каждый процесс распределен на ряд сегментов. Процесс загружается путем загрузки всех своих сегментов в динамические, не обязательно смежные, разделы. Плюсы - отсутствие внутренней фрагментации. Минусы - проблемы с внешней фрагментацией. 5. Страничная организация виртуальной памяти. Подобна простой страничной организации, но не требуется загружать все страницы процесса. Необходимые нерезидентные страницы автоматически подгружаются в память. Плюсы – отсутствие внешней фрагментации, более высокая степень многозадачности, большое виртуальное адресное пространство. Минусы - значительные затраты на управление виртуальной памятью. 6. Сегментация виртуальной памяти. Подобна простой сегментации, но не требуется загружать все сегменты процесса. Необходимые нерезидентные сегменты автоматически подгружаются в память. Плюсы – отсутствие внутренней фрагментации, более высокая степень многозадачности, большое виртуальное адресное пространство, поддержка защиты и совместного использования. Минусы - затраты на управление сложной виртуальной памятью. Способы защиты памяти. Метод граничных регистров заключается во введении двух граничных регистров, указывающих верхнюю и нижнюю границы области памяти, куда программа имеет право доступа. При каждом обращении к памяти проверяется, находится ли используемый адрес в установленных границах. При выходе за границы обращение к памяти не производится, а формируется запрос прерывания, передающий управление операционной системе. Содержание граничных регистров устанавливается операционной системой при загрузке программы в память. Модификация этого метода заключается в том, что один регистр используется для указания адреса начала защищаемой области, а другой содержит длину этой области. Метод граничных регистров, обладая несомненной простотой реализации, имеет и определенные недостатки. Основным из них является то, что этот метод поддерживает работу лишь с непрерывными областями памяти. Метод ключей защиты, в отличие от предыдущего, позволяет реализовать доступ программы к областям памяти, организованным в виде отдельных модулей, не представляющих собой единый массив. Память в логическом отношении делится на одинаковые блоки, например, страницы. Каждому блоку памяти ставится в соответствие код, называемый ключом защиты памяти, а каждой программе, принимающей участие в мультипрограммной обработке, присваивается код ключа программы. Доступ программы к данному блоку памяти для чтения и записи разрешен, если ключи совпадают. Коды ключей защиты блоков памяти и ключей программ устанавливаются операционной системой. В ключе защиты памяти предусматривается дополнительный разряд режима защиты. Защита действует только при попытке записи в блок, если в этом разряде стоит 0, и при любом обращении к блоку, если стоит 1. Коды ключей защиты памяти хранятся в специальной памяти ключей защиты, более быстродействующей, чем оперативная память. | 3.Системное администрирование. Баланс функциональности, безопасности и надежности системы. Меры по обеспечению безопасности (физической и информационной), надежности системы (защита данных, резервное копирование, проектирование устойчивости к сбоям). Системы безопасности в IP сетях. ОТВЕТ: Существует два подхода к обеспечению безопасности компьютерных систем и сетей (КС): «фрагментарный» и комплексный. «Фрагментарный» подход направлен на противодействие четко определенным угрозам в заданных условиях. В качестве примеров реализации такого подхода можно указать отдельные средства управления доступом, автономные средства шифрования, специализированные антивирусные программы и т. п. Достоинством такого подхода является высокая избирательность к конкретной угрозе. Существенный недостаток — отсутствие единой защищенной среды обработки информации. Фрагментарные меры защиты информации обеспечивают защиту конкретных объектов КС только от конкретной угрозы. Даже небольшое видоизменение угрозы ведет к потере эффективности защиты. Комплексный подход ориентирован на создание защищенной среды обработки информации в КС, объединяющей в единый комплекс разнородные меры противодействия угрозам. Организация защищенной среды обработки информации позволяет гарантировать определенный уровень безопасности КС, что является несомненным достоинством комплексного подхода. К недостаткам этого подхода относятся: ограничения на свободу действий пользователей КС, чувствительность к ошибкам установки и настройки средств защиты, сложность управления. Комплексный подход применяют для защиты КС крупных организаций или небольших КС, выполняющих ответственные задачи или обрабатывающих особо важную информацию. Нарушение безопасности информации в КС крупных организаций может нанести огромный материальный ущерб как самим организациям, так и их клиентам. Поэтому такие организации вынуждены уделять особое внимание гарантиям безопасности и реализовывать комплексную защиту. Комплексного подхода придерживаются большинство государственных и крупных коммерческих предприятий и учреждений. Этот подход нашел свое отражение в различных стандартах. Комплексный подход к проблеме обеспечения безопасности основан на разработанной для конкретной КС политике безопасности. Политика безопасности регламентирует эффективную работу средств защиты КС. Она охватывает все особенности процесса обработки информации, определяя поведение системы в различных ситуациях. Надежная система безопасности сети не может быть создана без эффективной политики сетевой безопасности. Для защиты интересов субъектов информационных отношений необходимо сочетать меры следующих уровней: • законодательного (стандарты, законы, нормативные акты и т. п.); • административно-организационного (действия общего характера, предпринимаемые руководством организации, и конкретные меры безопасности, имеющие дело с людьми); • программно-технического (конкретные технические меры). Меры законодательного уровня очень важны для обеспечения информационной безопасности. К этому уровню относится комплекс мер, направленных на создание и поддержание в обществе негативного (в том числе карательного) отношения к нарушениям и нарушителям информационной безопасности. Меры административно-организационного уровня. Администрация организации должна сознавать необходимость поддержания режима безопасности и выделять на эти цели соответствующие ресурсы. К комплексу организационных мер относятся меры безопасности, реализуемые людьми. Выделяют следующие группы организационных мер: • управление персоналом; • физическая защита; • поддержание работоспособности; • реагирование на нарушения режима безопасности; • планирование восстановительных работ. Для каждой группы в каждой организации должен существовать набор регламентов, определяющих действия персонала. Меры и средства программно-технического уровня. Для поддержания режима информационной безопасности особенно важны меры программно-технического уровня, поскольку основная угроза компьютерным системам исходит от них самих: сбои оборудования, ошибки программного обеспечения, промахи пользователей и администраторов и т. п. В рамках современных информационных систем должны быть доступны следующие механизмы безопасности: • идентификация и проверка подлинности пользователей; • управление доступом; • протоколирование и аудит; • криптография; • экранирование; • обеспечение высокой доступности. Транспортный режим Транспортный режим используется для шифрования поля данных IP пакета, содержащего протоколы транспортного уровня (TCP, UDP, ICMP), которое, в свою очередь, содержит информацию прикладных служб. Примером применения транспортного режима является передача электронной почты. Все промежуточные узлы на маршруте пакета от отправителя к получателю используют только открытую информацию сетевого уровня и, возможно, некоторые опциональные заголовки пакета (в IPv6). Недостатком транспортного режима является отсутствие механизмов скрытия конкретных отправителя и получателя пакета, а также возможность проведения анализа трафика. Результатом такого анализа может стать информация об объемах и направлениях передачи информации, области интересов абонентов, расположение руководителей. Тоннельный режим Тоннельный режим предполагает шифрование всего пакета, включая заголовок сетевого уровня. Тоннельный режим применяется в случае необходимости скрытия информационного обмена организации с внешним миром. При этом, адресные поля заголовка сетевого уровня пакета, использующего тоннельный режим, заполняются межсетевым экраном организации и не содержат информации о конкретном отправителе пакета. При передаче информации из внешнего мира в локальную сеть организации в качестве адреса назначения используется сетевой адрес межсетевого экрана. После дешифрования межсетевым экраном начального заголовка сетевого уровня пакет направляется получателю. Прослушивание сети Ограничить область прослушивания в сети Ethernet можно разбиением сети на сегменты с помощью коммутаторов. В этом случае злоумышленник, не прибегая к активным действиям, описанным в п. 9.2, может перехватить только кадры, получаемые или отправляемые узлами сегмента, к которому он подключен. Единственным способом борьбы с прослушиванием сегмента Ethernet является шифрование данных. Злоумышленник, прослушивающий сеть, может быть обнаружен с помощью утилиты AntiSniff, которая выявляет в сети узлы, чьи интерфейсы переведены в режим прослушивания. Сканирование сети Сканирование сети имеет своей целью выявление подключенных к сети компьютеров и определение работающих на них сетевых сервисов (открытых портов TCP или UDP). Администратор сети может обнаружить попытки сканирования путем анализа трафика в сети и отслеживания Echo-сообщений, за короткий промежуток времени посылаемых последовательно по всем адресам сети. |
1.Обработка транзакций в SQL. ОТВЕТ: Компонент «Блок транзакций» отвечает за целостность системы и должен обеспечить одновременную обработку многих запросов, отсутствие интерференций запросов (интерференция – сложение, в данном случае необходимо исключить наложение запросов и их взаимодействие) и защиту данных в случае выхода системы из строя. Блок транзакций взаимодействует с компилятором запросов, т.к. для разрешения конфликтных ситуаций должен учитывать, на какие данные воздействуют текущие запросы. В силу этого некоторые вопросы могут быть отложены, и может быть установлена очередность их выполнения. Блок транзакций взаимодействует также с блоком памяти, т.к. схемы защиты данных обычно включают в себя хранение файла регистрации изменений данных. Типичные СУБД позволяют пользователю выполнить несколько запросов и/или изменений в одной транзакции. Под транзакцией понимается совокупность действий (группа операций), которые необходимо выполнить последовательно, но которые будут восприниматься как единое целое. Как правило, СУБД поддерживают одновременно множество транзакций. Именно правильное выполнение всех таких транзакций и обеспечивает блок транзакций. Правильное их выполнение, обеспечивается ACID-свойствами (Atomicity, Consistency, Isolation, Durability): Требования ACID 1. Атомарность. Операторы, выполняемые в рамках транзакции, представляют собой единое неделимое действие. Изменения, проводимые в рамках транзакции, или полностью принимаются или полностью откатываются. 2. Согласованность. Транзакция в непротиворечивом состоянии БД. После её завершения БД должна находится либо в новом, либо в старом непротиворечивом состоянии. Т.о. транзакция – корректная операция перевода БД из одного непротиворечивого состояния в другое. Непротиворечивое состояние – состояние, когда выполняются понятия целостности БД. Внутри транзакции (при выполнении) в ряде случаев допускается нахождение БД не в непротиворечивом состоянии. 3. Изолированность. Транзакции, выполняемые параллельно не должны влиять друг на друга, несмотря на то, что транзакции могут разделять одни и те же данные – изменения, проводимые одной транзакцией не должны влиять на другую транзакцию. 4. Долговечность. Если транзакция зафиксирована, все изменения, проводимые ей, должны быть сохранены в БД. При откате все изменения из базы должны быть изъяты – устойчивость к сбоям. Обработка транзакций Обработка транзакций обеспечивает сохранение целостности базы данных за счет того, что пакеты операций SQL выполняются полностью или не выполняются вовсе. Реляционные базы данных организованы таким образом, что информация в них хранится во многих таблицах. Благодаря этому облегчается манипулирование, управление данными, а также их повторное использование. Предположим, что какая-то ошибка в базе данных (например, нехватка места на диске, ограничения, связанные с безопасностью, блокировка таблицы) помешала завершить эту последовательность действий. Хорошо, если ошибка произойдет после добавления информации о клиенте в таблицу, но до того как она будет добавлена в таблицу Orders — в этом случае проблем не будет. Вы можете иметь данные о клиентах без заказов. При повторном выполнении последовательности добавленная запись о клиенте будет возвращена и использована. Вы сможете легко продолжить работу с того места, на котором остановились. Но что если ошибка произойдет после того, как была добавлена строка в таблицу Orders, но до того, как будут добавлены строки в таблицу Orderltems? Теперь в вашей базе данных будет присутствовать пустой заказ. Еще хуже: что если система сделает ошибку в процессе добавления строк в таблицу Orderltems? В таком случае в вашу базу данных заказ будет внесен лишь частично, и вы даже не будете знать об этом. Именно здесь в игру вступает транзактная организация обработки данных. Обработка транзакций — это механизм, используемый для управления наборами операций SQL, которые должны быть выполнены в пакете, т.е. таким образом, чтобы в базу данных не могли попасть результаты частичного выполнения этого пакета операций. | 2. Понятие политики информационной безопасности. Назначение политики безопасности. Основные типы политики безопасности доступа к данным. ОТВЕТ: Политика безопасности – совокупность норм и правил, регламентирующих процесс обработки информации, обеспечивающих эффективную защиту системы обработки информации от заданного множества угроз. Политика безопасности составляет необходимое, а иногда и достаточное условие безопасности системы. Формальное выражение политики безопасности, называется моделью безопасности. Существуют два типа политики безопасности: дискреционная и мандатная. Дискреционная политика безопасности – политика безопасности осуществляемая на основании заданного администратором множества разрешенных отношений доступа. Основой дискреционной (дискретной) политики безопасности является дискреционное управление доступом (Discretionary Access Control -DAC), которое определяется двумя свойствами: • все субъекты и объекты должны быть идентифицированы; • права доступа субъекта к объекту системы определяются на основании некоторого внешнего по отношению к системе правила (заранее не закладывается в систему). К достоинствам дискреционной политики безопасности можно отнести относительно простую реализацию соответствующих механизмов защиты. Этим обусловлен тот факт, что большинство распространенных в настоящее время АС обеспечивают выполнение положений именно данной политики безопасности. Недостаток – статическая система. Мандатная политика безопасности Мандатная политика безопасности – политика безопасности основанная на совокупности предоставления доступа, определенного на множестве атрибутов безопасности субъекта и объекта. Основу мандатной (полномочной) политики безопасности составляет мандатное управление доступом (Mandatory Access Control - MAC), которое подразумевает, что: • все субъекты и объекты системы должны быть однозначно идентифицированы; • задан линейно упорядоченный набор меток секретности; • каждому объекту системы присвоена метка секретности, определяющая ценность содержащейся в нем информации - его уровень секретности в АС; • каждому субъекту системы присвоена метка секретности, определяющая уровень доверия к нему в АС - максимальное значение метки секретности объектов, к которым субъект имеет доступ; метка секретности субъекта называется его уровнем доступа. Основная цель мандатной политики безопасности - предотвращение утечки информации от объектов с высоким уровнем доступа к объектам с низким уровнем доступа, т.е. противодействие возникновению в АС информационных каналов сверху вниз. Достоинство МПБ – более высокая степень надежности, правила ясны и понятны. Недостатки – реализация систем с политикой безопасности данного типа довольно сложна и требует значительных ресурсов вычислительной системы. Мандатная политика целостности (Абстрактная модель защиты информации) Согласно ей все субъекты и объекты предварительно разделяются по нескольким уровням доступа, а затем на их взаимодействия накладываются следующие ограничения: 1) субъект не может вызывать на исполнение субъекты с более низким уровнем доступа; 2) субъект не может модифицировать объекты с более высоким уровнем доступа. | 3. Понятие информации, различные его трактовки. Определения информации (по законодательству Российской Федерации, по Н. Винеру, другие). ОТВЕТ: Информация - отраженное разнообразие, то есть нарушение однообразия. Информация (Information) - содержание сообщения или сигнала; сведения, рассматриваемые в процессе их передачи или восприятия, позволяющие расширить знания об интересующем объект Информация - первоначально - сведения, передаваемые одними людьми другим людям устным, письменным или каким-нибудь другим способом. Филосовский подход: Информация – это взаимодействие, отражение, познание. Кибернетический подход: Информация – это характеристики управляющего сигнала, передаваемого по линии связи. * традиционный (обыденный) - используется в информатике:Информация – это сведения, знания, сообщения о положении дел, которые человек воспринимает из окружающего мира с помощью органов чувств (зрения, слуха, вкуса, обоняния, осязания). * вероятностный - используется в теории об информации:Информация – это сведения об объектах и явлениях окружающей среды, их параметрах, свойствах и состоянии, которые уменьшают имеющуюся о них степень неопределённости и неполноты знаний. Федеральный закон Российской Федерации от 27 июля 2006 г. N 149-ФЗ Об информации, информационных технологиях и о защите информации. 1) информация - сведения (сообщения, данные) независимо от формы их представления; 2) информационные технологии - процессы, методы поиска, сбора, хранения, обработки, предоставления, распространения информации и способы осуществления таких процессов и методов; 3) информационная система - совокупность содержащейся в базах данных информации и обеспечивающих ее обработку информационных технологий и технических средств; 4) информационно-телекоммуникационная сеть - технологическая система, предназначенная для передачи по линиям связи информации, доступ к которой осуществляется с использованием средств вычислительной техники; 5) обладатель информации - лицо, самостоятельно создавшее информацию либо получившее на основании закона или договора право разрешать или ограничивать доступ к информации, определяемой по каким-либо признакам; 6) доступ к информации - возможность получения информации и ее использования; 7) конфиденциальность информации - обязательное для выполнения лицом, получившим доступ к определенной информации, требование не передавать такую информацию третьим лицам без согласия ее обладателя; 8) предоставление информации - действия, направленные на получение информации определенным кругом лиц или передачу информации определенному кругу лиц; 9) распространение информации - действия, направленные на получение информации неопределенным кругом лиц или передачу информации неопределенному кругу лиц; 10) электронное сообщение - информация, переданная или полученная пользователем информационно-телекоммуникационной сети; 11) документированная информация - зафиксированная на материальном носителе путем документирования информация с реквизитами, позволяющими определить такую информацию или в установленных законодательством Российской Федерации случаях ее материальный носитель; 12) оператор информационной системы - гражданин или юридическое лицо, осуществляющие деятельность по эксплуатации информационной системы, в том числе по обработке информации, содержащейся в ее базах данных. Основоположник кибернетики Норберт Винер говорил об информации так: Информация есть информация, а не материя и не энергия. То есть Винер относил информацию (в теоретико-информационном понимании этого термина) к фундаментальным понятиям, не выводимым через более простые. Что, впрочем, не мешает нам пояснять смысл понятия информация на конкретных примерах и описывать её свойства. Например, если в ходе взаимодействия между объектами один объект передаёт другому некоторую субстанцию, но при этом сам её не теряет, то эта субстанция называется информацией, а взаимодействие — информационным. |
1. Пользовательский интерфейс и его эргономика. Интерфейс ИС как сценарий поведения пользователя. Роль графического дизайна в ИС. ОТВЕТ: Интерфейс пользователя, он же пользовательский интерфейс — разновидность интерфейсов, в котором одна сторона представлена человеком (пользователем), другая — машиной/устройством. Представляет собой совокупность средств и методов, при помощи которых пользователь взаимодействует с различными, чаще всего сложными, с множеством элементов, машинами и устройствами. Интерфейс двунаправленный — устройство, получив команды от пользователя и исполнив их, выдаёт информацию обратно, наличествующими у неё средствами (визуальными, звуковыми и т. п.), приняв которую, пользователь выдаёт устройству последующие команды предоставленными в его распоряжение средствами (кнопки, переключатели, регуляторы, сенсоры, голосом, и т. д.). Эргономика включается в процессы разработки и тестирования программного продукта как часть системы качества. Разработка пользовательского интерфейса (ПИ) ведется параллельно дизайну программного продукта в целом и в основном предшествует его имплементации. Процесс разработки ПИ разбивается на этапы жизненного цикла: 1. Анализ трудовой деятельности пользователя, объединение бизнес-функций в роли. 2. Построение пользовательской модели данных, привязка объектов к ролям и формирование рабочих мест. 3. Формулировка требований к работе пользователя и выбор показателей оценки пользовательского интерфейса. 4. Разработка обобщенного сценария взаимодействия пользователя с программным модулем (функциональной модели) и его предварительная оценка пользователями и Заказчиком. 5. Корректировка и детализация сценария взаимодействия, выбор и дополнение стандарта (руководства) для построения прототипа. 6. Разработка макетов и прототипов ПИ и их оценка в деловой игре, выбор окончательного варианта. 7. Имплементация ПИ в коде, создание тестовой версии. 8. Разработка средств поддержки пользователя (пользовательские словари, подсказки, сообщения, помощь и пр.) и их встраивание в программный код. 9. Usability тестирование тестовой версии ПИ по набору раннее определенных показателей. 10. Подготовка пользовательской документации и разработка программы обучения. Эргономические цели и показатели качества программного продукта Приложение разрабатывается для обеспечения работы пользователя, т.е. для того чтобы он с помощью компьютерной программы быстрее и качественнее решал свои производственные задачи. С точки зрения эргономики, самое важное в программе — создать такой пользовательский интерфейс, который сделает работу эффективной и производительной, а также обеспечит удовлетворенность пользователя от работы с программой. Эффективность работы означает обеспечение точности, функциональной полноты и завершенности при выполнении производственных заданий на рабочем месте пользователя. Создание ПИ должно быть нацелено на показатели эффективности: Точность работы определяется тем, в какой степени произведенный пользователем продукт (результат работы), соответствует предъявленным к нему требованиям. Показатель точности включает процент ошибок, которые совершил пользователь: число ошибок набора, варианты ложных путей или ответвлений, число неправильных обращений к данным, запросов и пр. Функциональная полнота отражает степень использования первичных и обработанных данных, списка необходимых процедур обработки или отчетов, число пропущенных технологических операций или этапов при выполнении поставленной пользователю задачи. Этот показатель может определяться через процент применения отдельных функций в РМ. Завершенность работы описывает степень исполнения производственной задачи средним пользователем за определенный срок или период, долю (или длину очереди) неудовлетворенных (необработанных) заявок, процент продукции, находящейся на промежуточной стадии готовности, а также число пользователей, которые выполнили задание в фиксированные сроки. | 2. Защита информации в ИТ. Основные технологические решения. Шифрование данных. Общая характеристика алгоритмов шифрования, схемы работы. ОТВЕТ: Вариант первый: парольный Пользователь вводит некоторый пароль, на основе которого (с использованием, например, хэш-функции) генерируется ключ шифрования. Фактически надежность системы в этом случае определяется только сложностью и длиной пароля. Но надежные пароли неудобны: запомнить бессмысленный набор из 10—15 символов и вводить его каждый для получения доступа к данным не так просто, а если таких паролей несколько (допустим, для доступа к разным приложениям), то и вовсе нереально. Парольная защита также подвержена атакам методом прямого перебора, а установленный клавиатурный шпион легко позволит злоумышленнику получить доступ к данным. Вариант второй: внешнее хранение На внешнем носителе размещаются некоторые данные, используемые для генерации ключа шифрования. Простейший вариант — использовать файл (так называемый ключевой файл), находящийся на дискете (компакт-диске, USB-флэш-устройстве и т. п.) Этот способ надежнее варианта с паролем. Для генерации ключа служит не десяток символов пароля, а значительное количество данных, например, 64 или даже 128 байт. В принципе ключевой файл можно разместить и на жестком диске компьютера, но значительно безопасней хранить его отдельно от данных. Не рекомендуется в качестве ключевых файлов использовать файлы, создаваемые какими-либо общеизвестными приложениями (*.doc, *xls, *.pdf и т. д.) Их внутренняя структурированность может дать злоумышленнику дополнительную информацию. Например, все файлы, созданные архиватором WinRAR, начинаются с символов «Rar!» — это целых четыре байта. Недостаток данного способа — возможность для злоумышленника легко скопировать файл и создать дубликат внешнего носителя. Таким образом, пользователь, даже на короткое время утративший контроль над этим носителем, фактически уже не может быть на 100% уверен в конфиденциальности своих данных. В качестве внешнего носителя иногда применяются электронные USB-ключи или смарт-карты, но при этом данные, используемые для генерации ключа шифрования, просто сохраняются в памяти этих носителей и так же легко доступны для считывания. Вариант третий: защищенное внешнее хранение Данный способ во многом схож с предыдущим. Важное его отличие в том, что для получения доступа к данным на внешнем носителе пользователь обязательно должен ввести PIN-код. В качестве внешнего носителя используются токены (электронные USB-ключи или смарт-карты). Данные, используемые для генерации ключа шифрования, размещаются в защищенной памяти токена и не могут быть прочитаны злоумышленником без знания соответствующего PIN-кода (рис. 3). Утрата токена еще не означает раскрытия самой информации. Для защиты от прямого подбора PIN-кода ставится аппаратная временная задержка между двумя последовательными попытками или аппаратное же ограничение на количество неправильных попыток ввода PIN-кода (например, 15), после чего токен просто блокируется. Поскольку токен может использоваться в разных приложениях, а PIN-код один и тот же, можно обманным путем вынудить пользователя ввести свой PIN-код в подложной программе, после чего считать необходимые данные из закрытой области памяти токена. Некоторые приложения кэшируют значение PIN-кода в рамках одного сеанса работы, что также несет в себе определенный риск. Вариант четвертый: смешанный Возможен вариант, когда для генерации ключа шифрования одновременно используются пароль, ключевой файл на внешнем носителе и данные в защищенной памяти токена. Такой способ довольно сложен в повседневном использовании, поскольку требует от пользователя дополнительных действий. Многокомпонентная система также значительно сильнее подвержена рискам утраты доступа: достаточно потерять один из компонентов, и доступ без использования заранее созданной резервной копии становится невозможен. Вариант пятый: с асимметричным шифрованием Отдельного рассмотрения заслуживает один подход к организации безопасного хранения мастер-ключа, лишенный основных недостатков описанных выше вариантов. Именно этот способ представляется нам оптимальным. Дело в том, что современные токены позволяют не только хранить в закрытой памяти данные, но выполняют аппаратно целый ряд криптографических преобразований. Например, смарт-карты, а также USB-ключи, представляющие собой полнофункциональные смарт-карты, а не их аналоги, реализуют асимметричные алгоритмы шифрования. Примечательно, что при этом пара открытый — закрытый ключ генерируется также аппаратно. Важно, что закрытый ключ на смарт-картах хранится как write-only, т. е. он используется операционной системой смарт-карты для криптографических преобразований, но не может быть прочитан или скопирован пользователем. Фактически пользователь сам не знает свой закрытый ключ — он только им обладает. Данные, которые необходимо расшифровать, передаются операционной системе смарт-карты, аппаратно ею расшифровываются с помощью закрытого ключа и передаются обратно в расшифрованном виде. Все операции с закрытым ключом возможны только после ввода пользователем PIN-кода смарт-карты. Такой подход успешно используется во многих современных информационных системах для аутентификации пользователя. Применим он и для аутентификации при доступе к зашифрованной информации. Мастер-ключ шифруется с помощью открытого ключа пользователя. Для получения доступа к данным пользователь предъявляет свою смарт-карту (или USB-ключ, являющийся полнофункциональной смарт-картой) и вводит ее PIN-код. Затем мастер-ключ аппаратно расшифровывается с помощью закрытого ключа, хранящегося на смарт-карте, и пользователь получает доступ к данным. Такой подход сочетает в себе безопасность и удобство использования. Создать дубликат смарт-карты не может даже сам пользователь, так как невозможно скопировать закрытый ключ. Это также позволяет без опасения использовать смарт-карту совместно с любыми другими программами. Методы пароллирования. 1) метод простого пароля - состоит во вводе одного пароля с клавиатуры ЭВМ 2) метод выборки символов - состоит в запросе системой определенных символов пароля, выбираемых случайным образом 3) метод пароля однократного использования - каждый раз вводится новый пароль из своего списка, затем этот пароль вычеркивается из списка 4) метод групп паролей - система может потребовать пароли из 2 групп: общие для всех пользователей вопросы и индивидуальные для каждого вопросы 5) метод функционального преобразования - пользователю при регистрации предлагается произвести умственные преобразования (например, одно число + удвоенное второе число и т.д.). Правила работы с паролями: 1) пароли должны хранится в памяти только в зашифрованном виде 2) символы пароля при их вводе не должны появляться в явном виде 3) пароли должны периодически меняться 4) пароли не должны быть простыми. Для проверки сложности паролей используются контроллеры. Методы снижения уязвимости паролей: 1) не использовать в качестве паролей слова, применяемы котроллером Klein 2) проверить пароли перед их использованием контроллером 3) часто менять пароли 4) при формировании паролей применять знаки препинаний и различные регистры 5) использовать наборы букв. Метод замков и ключей. Список замков представляет собой столбец матрицы доступа. Доступ разрешается если ключ подходит к одному из замков, владелец объекта может отменить доступ удалением из списка замков. Под шифром понимают совокупность процедур и правил криптографических преобразований, используемых для зашифровывания и расшифровывания информации по ключу шифрования. Под зашифровыванием информации понимается процесс преобразования открытой информации (исходный текст) в зашифрованный текст (шифротекст). Процесс восстановления исходного текста по криптограмме с использованием ключа шифрования называют расшифровыванием (дешифрованием).
| 3. Векторная, растровая, фрактальная и программная графика, их сходство и различие. ОТВЕТ: Растровый формат характеризуется тем, что все изображение по вертикали и горизонтали разбивается на достаточно мелкие прямоугольники -- так называемые элементы изображения, или пикселы (от английского pixel -- picture element). В файле хранится информация о цвете каждого пиксела данного изображения. Весь массив элементарных единиц изображения называют растром (лат. rastrum – грабли). Степень четкости изображения зависит от количества строк на весь экран и количества точек в строке, которые представляют разрешающую способность экрана или просто разрешение. Чем больше строк и точек, тем четче и лучше изображение. Достаточно хорошим считается разрешение 640x480, то есть 640 точек на строку и 480 строчек на экран. При записи изображения в память компьютера кроме цвета отдельных точек необходимо фиксировать много дополнительной информации – размеры рисунка, яркость точек и т. д. Конкретный способ кодирования всей требуемой при записи изображения информации образует графический формат. Форматы кодирования графической информации, основанные на передаче цвета каждого отдельного пикселя, из которого состоит изображение, относят к группе растровых или BitMap форматов (bit map – битовая карта). При векторном формате рисунок представляется в виде комбинации простых геометрических фигур (графических примитивов) – точек, отрезков прямых и кривых, окружностей, прямоугольников и т. п. При этом для полного описания рисунка необходимо знать вид и базовые координаты каждой фигуры, например, координаты двух концов отрезка, координаты центра и диаметр окружности и т. д. Форматы растрового изображения Наиболее известными растровыми форматами являются BMP, GIF и JPEG форматы. По требованиям к памяти формат JPEG занимает промежуточное положение между форматами BMP и GIF. Форматы растровой графики WMF – векторный формат Windows. Понимается практически всеми программами Windows, так или иначе связанными с векторной графикой. Однако, несмотря на кажущуюся простоту и универсальность, пользоваться форматом WMF стоит только в крайних случаях, поскольку он не может сохранять некоторые параметры, которые могут быть присвоены объектам в различных векторных редакторах, способен исказить цветовую схему изображения. DWG – векторный формат, используемый пакетом AutoCAD, для разработки чертежей. VRML – векторный формат, используемый для создания 3D-моделей объектов. Активно используется в сети Интернет. Фрактальная графика является на сегодняшний день одним из самых быстро развивающихся перспективных видов компьютерной графики. Математической основой фрактальной графики является фрактальная геометрия. Здесь в основу метода построения изображений положен принцип наследования от, так называемых, «родителей» геометрических свойств объектов-наследников. Фракталом называется структура, состоящая из частей, которые в каком-то смысле подобны целому. Одним из основных свойств фракталов является самоподобие. Объект называют самоподобным, когда увеличенные части объекта походят на сам объект и друг на друга. Перефразируя это определение, можно сказать, что в простейшем случае небольшая часть фрактала содержит информацию обо всем фрактале. (дополнительно смотри 3 вопрос четвертого билета) |
1) Объектно-ориентированный подход при проектировании ИС. Унифицированный язык моделирования UML. ОТВЕТ: С точки зрения собственно программирования объектный подход можно рассматривать как развитие понятия типов данных. Тип данного определяет множество значений, которые может принимать данное, и набор операций, которые могут быть выполнены над данными этого конкретного типа. В языках программирования предусматриваются некоторые предопределенные (базовые) типы данных, обычно это целые и вещественные числовые типы, символьные и строковые типы, а в ряде случаев и преобразования данных одного типа в другой. В языках программирования со строгой типизацией каждое данное принадлежит только одному типу и разрешаются только явные преобразования данных одного типа в другой. Строгая типизация повышает надежность разрабатываемых программ, позволяет выявить многие ошибки еще на этапе отладки программы. В языках программирования предусматривается и возможность построения новых типов данных, определяемых программистом, но для таких типов, как правило, отсутствует перечень допустимых операций. Объектно-ориентированные языки программирования позволяют распространить требования строгой типизации на типы данных, определяемых программистом. Объектно-ориентированный подход к проектированию программных изделий предполагает: - проведение объектно-ориентированного анализа предметной области; - объектно-ориентированное проектирование; - разработку программного изделия с использованием объектно-ориентированного языка программирования. UML (Unified Modeling Language — унифицированный язык моделирования) — язык графического описания для объектного моделирования в области разработки программного обеспечения. UML является языком широкого профиля, это открытый стандарт, использующий графические обозначения для создания абстрактной модели системы, называемой UML моделью. UML был создан для определения, визуализации, проектирования и документирования в основном программных систем. UML не является языком программирования. Использование UML не ограничивается моделированием программного обеспечения. Его также используют для моделирования бизнес-процессов, системного проектирования и отображения организационных структур. Преимущества UML 1. UML позволяет описать систему практически со всех возможных точек зрения и разные аспекты поведения системы; 2. Диаграммы UML сравнительно просты для чтения после достаточно быстрого ознакомления с его синтаксисом; 3. UML расширяет и позволяет вводить собственные текстовые и графические стереотипы, что способствует его применению не только в сфере программной инженерии; К базовым средствам относится пакет, который служит для группировки элементов модели. При этом сами элементы модели, в том числе произвольные сущности, отнесенные к одному пакету, выступают в роли единого целого. При этом все разновидности элементов графической нотации языка UML организованы в пакеты. Пакет – основной способ организации элементов модели в языке UML. Каждый пакет владеет всеми своими элементами, т. е. теми элементами, которые включены в него. Кроме того в языке UML это же отношение может быть изображено с помощью отрезков линий аналогично графическому представлению дерева. В этом случае наиболее общий пакет или контейнер изображается в верхней части рисунка, а его подпакеты – уровнем ниже. В рамках языка UML все представления о модели сложной системы фиксируются в виде специальных графических конструкций, получивших название диаграмм. Диаграмма (diagram) — графическое представление совокупности элементов модели в форме связного графа, вершинам и ребрам (дугам) которого приписывается определенная семантика. Нотация канонических диаграмм - основное средство разработки моделей на языке UML. В анотации языка UML определены следующие виды канонических диаграмм: - вариантов использования (use case diagram) - классов (class diagram) - кооперации (collaboration diagram) - последовательности (sequence diagram) - состояний (statechart diagram) - деятельности (activity diagram) - компонентов (component diagram) - развертывания (deployment diagram) | 2) Понятие архитектуры ЭВМ. Области применения и классификация ЭВМ. Структура. ЭВМ: состав и назначение основных блоков ОТВЕТ: Электронная вычислительная машина - комплекс технических и программных средств, предназначенный для автоматизации подготовки и решения задач пользователей. Под пользователем понимают человека, в интересах которого проводится обработка данных на ЭВМ Архитектура ЭВМ - это многоуровневая иерархия аппаратурно-программных средств, из которых строится ЭВМ. Каждый из уровней допускает многовариантное построение и применение. Конкретная реализация уровней определяет особенности структурного построения ЭВМ Архитектура ЭВМ включает в себя как структуру, отражающую состав ПК, так и программно – математическое обеспечение. Структура ЭВМ - совокупность элементов и связей между ними. Основным принципом построения всех современных ЭВМ является программное управление. Фон Неймановская структура.
Положения фон Неймана: • Компьютер состоит из нескольких основных устройств (арифметико-логическое устройство, управляющее устройство, память, внешняя память, устройства ввода и вывода) • Арифметико-логическое устройство – выполняет логические и арифметические действия, необходимые для переработки информации, хранящейся в памяти • Управляющее устройство – обеспечивает управление и контроль всех устройств компьютера (управляющие сигналы указаны пунктирными стрелками) • Данные, которые хранятся в запоминающем устройстве, представлены в двоичной форме • Программа, которая задает работу компьютера, и данные хранятся в одном и том же запоминающем устройстве • Для ввода и вывода информации используются устройства ввода и вывода Один из важнейших принципов – принцип хранимой программы – требует, чтобы программа закладывалась в память машины так же, как в нее закладывается исходная информация. Процессор – функциональная часть ЭВМ, выполняющая основные операции по обработке данных и управлению работой других блоков. Процессор является преобразователем информации, поступающей из памяти и внешних устройств. Запоминающие устройства обеспечивают хранение исходных и промежуточных данных, результатов вычислений, а также программ. Оперативные ЗУ хранят информацию, с которой компьютер работает непосредственно в данное время Внешние запоминающие устройства (накопители на магнитных дисках, например, жесткий диск или винчестер) с емкостью намного больше, чем ОЗУ, но с существенно более медленным доступом, используются для длительного хранения больших объемов информации. ПЗУ (постоянные запоминающие устройства) и ППЗУ (перепрограммируемые постоянные запоминающие устройства) предназначены для постоянного хранения информации, которая записывается туда при ее изготовлении, например, ППЗУ для BIOS. В качестве устройства ввода информации служит, например, клавиатура. В качестве устройства вывода – дисплей, принтер и т.д. Классификация ЭВМ, исходя из их вычислительной мощности и габаритов: ЭВМ Супер ЭВМ Большие ЭВМ ЭВМ средней производительности Мини ЭВМ Микро ЭВМ Встроенные ЭВМ Персональные ЭВМ Карманные (наладонные) Блокнотные (Notebook) Настольные (Desktop) Суперкомпьютеры – это самые мощные по быстродействию и производительности вычислительные машины. Используются для решения крупномасштабных вычислительных задач и моделирования, для сложных вычислений в аэродинамике, метеорологии, физике высоких энергий, также находят применение и в финансовой сфере. Большие машины или мейнфреймы (Mainframe). Мейнфреймы используются в финансовой сфере, оборонном комплексе, применяются для комплектования ведомственных, территориальных и региональных вычислительных центров. Средние ЭВМ широкого назначения используются для управления сложными технологическими производственными процессами. Мини - ЭВМ ориентированы на использование в качестве управляющих вычислительных комплексов, в качестве сетевых серверов. Микро - ЭВМ — это компьютеры, в которых в качестве центрального процессора используется микропроцессор. К ним относятся встроенные микро – ЭВМ (встроенные в различное оборудование, аппаратуру или приборы) и персональные компьютеры PC. Современные персональные компьютеры имеют практически те же характеристики, что и мини-ЭВМ восьмидесятых годов. На базе этого класса ЭВМ строятся автоматизированные рабочие места (АРМ) для специалистов различного уровня, используются как средство обработки информации в информационных системах. Основным устройством ПК является материнская плата, которая определяет его конфигурацию. Все устройства ПК подключаются к этой плате с помощью разъемов расположенных на этой плате. Соединение всех устройств в единую систему обеспечивается с помощью системной магистрали (шины), представляющей собой линии передачи данных, адресов и управления. Ядро ПК образуют процессор (центральный микропроцессор) и основная память, состоящая из оперативной памяти и постоянного запоминающего устройства (ПЗУ) или перепрограммируемого постоянного запоминающего устройства ППЗУ. ПЗУ предназначается для записи и постоянного хранения данных. Подключение всех внешних устройств: клавиатуры, монитора, внешних ЗУ, мыши, принтера и т.д. обеспечивается через контроллеры, адаптеры, карты. Контроллеры, адаптеры или карты имеют свой процессор и свою память, т.е. представляют собой специализированный процессор. Микропроцессор Центральный микропроцессор (небольшая микросхема, выполняющая все вычисления и обработку информации) – это ядро ПК. Компоненты микропроцессора: • АЛУ выполняет логические и арифметические операции • Устройство управления управляет всеми устройствами ПК • Регистры используются для хранения данных и адресов • Схема управления шиной и портами – осуществляет подготовку устройств к обмену данными между микропроцессором и портом ввода – вывода, а также управляет шиной адреса и управления. Основные характеристики процессора: • Разрядность – число двоичных разрядов, одновременно обрабатываемых при выполнении одной команды. Большинство современных процессоров – это 32 – разрядные процессоры, но выпускаются и 64 - разрядные процессоры. • Тактовая частота – количество циклов работы устройства за единицу времени. Чем выше тактовая частота, тем выше производительность. • Наличие встроенного математического сопроцессора • Наличие и размер Кэш- памяти. Оперативная память Оперативное запоминающее устройство (ОЗУ или RAM) - область памяти, предназначенная для хранения информации в течение одного сеанса работы с компьютером. Конструктивно ОЗУ выполнено в виде интегральных микросхем. Из нее процессор считывает программы и исходные данные для обработки в свои регистры, в нее записывает полученные результаты. Название “оперативная” эта память получила потому, что она работает очень быстро, в результате процессору не приходится ждать при чтении или записи данных в память. Кэш-память Компьютеру необходимо обеспечить быстрый доступ к оперативной памяти, иначе микропроцессор будет простаивать, и быстродействие компьютера уменьшится. Поэтому современные компьютеры оснащаются Кэш-памятью или сверхоперативной памятью. При наличии Кэш-памяти данные из ОЗУ сначала переписываются в нее, а затем в регистры процессора. При повторном обращении к памяти сначала производится поиск нужных данных в Кэш-памяти и необходимые данные из Кэш-памяти переносятся в регистры, поэтому повышается быстродействие. Контроллеры Только та информация, которая хранится в ОЗУ, доступна процессору для обработки. Поэтому необходимо, чтобы в его оперативной памяти находились программа и данные. В ПК информация с внешних устройств (клавиатуры, жесткого диска и т.д.) пересылается в ОЗУ, а информация (результаты выполнения программ) с ОЗУ также выводится на внешние устройства (монитор, жесткий диск, принтер и т.д.). Таким образом, в компьютере должен осуществляться обмен информацией (ввод-вывод) между оперативной памятью и внешними устройствами. Устройства, которые осуществляют обмен информацией между оперативной памятью и внешними устройствами называются контроллерами или адаптерами, иногда картами. Контроллеры, адаптеры или карты имеют свой процессор и свою память, т.е. представляют собой специализированный процессор. Контроллеры или адаптеры (схемы, управляющие внешними устройствами компьютера) находятся на отдельных платах, которые вставляются в унифицированные разъемы (слоты) на материнской плате Системная магистраль Системная магистраль (шина) - это совокупность проводов и разъемов, обеспечивающих объединение всех устройств ПК в единую систему и их взаимодействие. Для подключения контроллеров или адаптеров современные ПК снабжены такими слотами как PCI. Слоты PCI – E Express для подключения новых устройств к более скоростной шине данных. Слоты AGP предназначены для подключения видеоадаптера Для подключения накопителей (жестких дисков и компакт-дисков) используются интерфейсы IDE и SCSI. Интерфейс – это совокупность средств соединения и связи устройств компьютера. Подключение периферийных устройств (принтеры, мышь, сканеры и т.д.) осуществляется через специальные интерфейсы, которые называются портами. Порты устанавливаются на задней стенке системного блока. Слоты (разъемы) расширения конфигурации ПК предназначены для подключения дополнительных устройств к основной шине данных компьютера. К основным платам расширения, предназначенным для подключения к шине дополнительных устройств, относятся: • Видеоадаптеры (видеокарты) • Звуковые платы • Внутренние модемы • Сетевые адаптеры (для подключения к локальной сети) • SCSI – адаптеры Внешняя память. Классификация накопителей Для хранения программ и данных в ПК используются накопители различных типов. Накопители - это устройства для записи и считывания информации с различных носителей информации. Различают накопители со сменным и встроенным носителем. По типу носителя информации накопители разделяются на накопители на магнитных лентах и дисковые накопители. К накопителям на магнитных лентах относятся стримеры и др. Более широкий класс накопителей составляют дисковые накопители. Периферийные устройства - это устройства, которые подключаются к контроллерам ПК и расширяют его функциональные возможности По назначению дополнительные устройства разделяются на: - устройства ввода (трэкболлы, джойстики, световые перья, сканеры, цифровые камеры, диджитайзеры) - устройства вывода (плоттеры или графопостроители) - устройства хранения (стримеры, zip - накопители, магнитооптические накопители, накопители HiFD и др.) - устройства обмена (модемы) | 3) . Примеры алгоритмов симметричного шифрования и шифрования с открытым ключом. Гибридные криптосистемы. Понятие ЭЦП и сертификата. Протоколы IPSec и SSL ОТВЕТ: Шифрование информации - это преобразование открытой информации в зашифрованную (которая чаще всего называется шифртекстом или криптограммой), и наоборот. Первая часть этого процесса называется зашифрованием, вторая - расшифрованием. В алгоритмах симметричного шифрования для расшифрования обычно используется тот же самый ключ, что и для зашифрования, или ключ, связанный с ним каким-либо простым соотношением. Последнее встречается существенно реже, особенно в современных алгоритмах шифрования. Такой ключ (общий для зашифрования и расшифрования) обычно называется просто ключом шифрования. Подавляющее большинство современных алгоритмов шифрования работают весьма схожим образом: над шифруемым текстом выполняется некое преобразование с участием ключа шифрования, которое повторяется определенное число раз (раундов). При этом, по виду повторяющегося преобразования алгоритмы шифрования принято делить на несколько категорий. Здесь также существуют различные классификации, приведу одну из них. Итак, по своей структуре алгоритмы шифрования классифицируются следующим образом: Алгоритмы со структурой "квадрат" (Square). Для структуры "квадрат" характерно представление шифруемого блока данных в виде двумерного байтового массива. Криптографические преобразования могут выполняться над отдельными байтами массива, а также над его строками или столбцами. Недостатком алгоритмов со структурой "квадрат" является их недостаточная изученность, что не помешало алгоритму Rijndael стать новым стандартом США. Алгоритмы на основе подстановочно - перестановочных сетей (SP-сеть - Substitution-permutation network). В отличие от сети Фейстеля, SP-сети обрабатывают за один раунд целиком шифруемый блок. Обработка данных сводится, в основном, к заменам (когда, например, фрагмент входного значения заменяется другим фрагментом в соответствии с таблицей замен, которая может зависеть от значения ключа Ki) и перестановкам, зависящим от ключа Ki.
Впрочем, такие операции характерны и для других видов алгоритмов шифрования, поэтому, на мой взгляд, название "подстановочно-перестановочная сеть" является достаточно условным.SP-сети распространены существенно реже, чем сети Фейстеля; в качестве примера SP-сетей можно привести алгоритмы Serpent или SAFER+. Гибри́дная (или комбини́рованная) криптосисте́ма — это система шифрования, совмещающая преимущества криптосистемы с открытым ключом с производительностью симметричных криптосистем. Симметричный ключ используется для шифрования данных, а асимметричный для шифрования самого симметричного ключа, иначе это называется числовой упаковкой. Основной недостаток асимметричной криптографии состоит в низкой скорости из-за сложных вычислений, требуемых ее алгоритмами, в то время как симметричная криптография традиционно показывает блестящую скорость работы. Однако симметричные криптосистемы имеет один существенный недостаток — её использование предполагает наличие защищенного канала для передачи ключей. Для преодоления этого недостатка прибегают к асимметричным криптосистемам, которые используют пару ключей: открытый и закрытый. ЭЦП — аналог собственноручной подписи — для придания электронному документу юридической силы, равной бумажному документу, подписанному собственноручной подписью правомочного лица и/или скрепленного печатью. ЭЦП обеспечивает проверку целостности документов, конфиденциальность, установление лица, отправившего документ. Это позволяет усовершенствовать процедуру подготовки, доставки, учета и хранения документов, гарантировать их достоверность. ЭЦП формируется в результате преобразования информации с использованием средств криптографической защиты информации (СКЗИ) и позволяет идентифицировать владельца сертификата ключа подписи, а также установить отсутствие искажения информации в электронном документе. Мы в своей работе используем только сертифицированные в установленном порядке программные средства. Общая суть электронной подписи заключается в следующем. С помощью криптографической хэш-функции на основании документа вычисляется относительно короткая строка символов фиксированной длины (хэш). Затем этот хэш шифруется закрытым ключом владельца — результатом является подпись документа. Подпись прикладывается к документу, таким образом получается подписанный документ. Лицо, желающее установить подлинность документа, расшифровывает подпись открытым ключом владельца, а также вычисляет хэш документа. Документ считается подлинным, если вычисленный по документу хэш совпадает с расшифрованным из подписи, в противном случае документ является подделанным. Электронная цифровая подпись в электронном документе равнозначна собственноручной подписи в документе на бумажном носителе при одновременном соблюдении следующих условий: Сертификат открытого ключа (сертификат ЭЦП, сертификат ключа подписи) — цифровой или бумажный документ, подтверждающий соответствие между открытым ключом и информацией, идентифицирующей владельца ключа. Содержит информацию о владельце ключа, сведения об открытом ключе, его назначении и области применения, название центра сертификациии т. д. Открытый ключ может быть использован для организации защищённого канала связи с владельцем двумя способами: - для проверки подписи владельца (аутентификация) - для шифрования посылаемых ему данных (конфиденциальность) Как правило, сертификат включает в себя следующие поля: - имя владельца сертификата (имя пользователя, которому принадлежит сертификат) - один или несколько открытых ключей владельца сертификата - имя удостоверяющего центра - серийный номер сертификата, присвоенный удостоверяющим центром - срок действия сертификата (дата начала действия и дата окончания действия) - информация об использованных криптографических алгоритмах - электронная цифровая подпись, сгенерированная с использованием секретного ключа удостоверяющего центра (подписывается результат хэширования всей информации, хранящейся в сертификате) Протоколы IPsec и SSL позволяют защитить межсерверный обмен данными путем шифрования трафика. Приемлем каждый из этих способов. Выбор используемого способа зависит от конкретных каналов обмена данными, которые надлежит защитить, и преимуществ и компромиссных решений, которые оптимальны для организации. Протокол IPsec Протокол IPsec обычно рекомендуется для защиты канала обмена данными между двумя серверами и ограничения взаимодействия компьютеров друг с другом. Например, можно защитить сервер базы данных путем назначения политики, разрешающей запросы только от надежного клиентского компьютера (сервер приложения или веб-сервер). Кроме того, можно разрешить использовать для обмена данными только определенные IP-протоколы и порты TCP/UDP. В свете требований к сети и рекомендаций для серверной фермы протокол IPsec является хорошим выбором, поскольку: - все серверы размещаются в одной физической локальной сети (для улучшения производительности протокола IPsec). - серверам назначаются статические IP-адреса. Протокол IPsec также можно использовать для обмена данными между доверенными доменами Windows Server. Например, можно использовать протокол IPsec для защиты данных, передаваемых веб-сервером или сервером приложений в демилитаризованной зоне, которая соединяется с компьютером под управлением Microsoft SQL Server вo внутренней сети Протокол SSL Основная рекомендация по использованию протокола SSL — использовать этот способ шифрования, когда требуется защита определенной части канала для того или иного приложения, а не для всех приложений и служб, работающих на компьютере. Протокол SSL реализуется на уровне отдельных приложений. Поэтому протокол SSL невозможно использовать для шифрования всех видов данных, которые могут пересылаться между двумя узлами. Кроме того, протокол SSL менее универсален по сравнению с протоколом IPsec, поскольку он поддерживает только проверку подлинности с помощью сертификатов открытого ключа. Протокол SSL, тем не менее, обладает рядом явных преимуществ. Прежде всего, протокол SSL поддерживается большим количеством разных серверов и клиентских компьютеров, а из-за давности стандарта практически устранены проблемы несовместимости. Сценарии для протокола SSL В числе сценариев, для которых протокол SSL является оптимальным выбором, можно назвать следующие: Сайты администрирования Сайт центра администрирования и сайты администрирования общих служб можно защитить с помощью протокола SSL. Развертывание контента В ходе развертывания контента будут скопированы файлы из одного каталога сайтов на сервере производственной или промежуточной фермы в соответствующий каталог сайтов на одном или нескольких серверах фермы публикаций. В этом сценарии протокол IPsec может быть неприменим, если серверные фермы находятся в разных сетевых зонах, или если предстоит развернуть большой объем контента, или при наличии большого количества серверов для развертывания контента. Протокол SSL можно использовать для назначения безопасного обмена данными этим транзакциям. Поставщики общих служб на фермах (SSP) Если дочерними фермами используются общие службы родительской фермы, конфиденциальные данные будут общими у этих ферм. |
| Билет 16 1.Этапы проектирования БДНапомним еще раз определение понятия "предметная область": Предметная область - часть реального мира, подлежащая изучению с целью организации управления и, в конечном счете, автоматизации. Предметная область представляется множеством фрагментов, например, предприятие - цехами, дирекцией, бухгалтерией и т.д. Каждый фрагмент предметной области харакетризуется множеством объектов и процессов, использующих объекты, а также множеством пользователей, харакетризуемых различными взглядами на предметную область. Концептуальное проектирование - сбор, анализ и редактирование требований к данным. Для этого осуществляются следующие мероприятия: обследование предметной области, изучение ее информационной структуры выявление всех фрагментов, каждый из которых харакетризуется пользовательским представлением, информационными объектами и связями между ними, процессами над информационными объектами моделирование и интеграция всех представлений По окончании данного этапа получаем концептуальную модель, инвариантную к структуре базы данных. Часто она представляется в виде модели "сущность-связь". Логическое проектирование - преобразование требований к данным в структуры данных. На выходе получаем СУБД-ориентированную структуру базы данных и спецификации прикладных программ. На этом этапе часто моделируют базы данных применительно к различным СУБД и проводят сравнительный анализ моделей. Физическое проектирование - определение особенностей хранения данных, методов доступа и т.д. Билет 17 Понятие базы данных, организация База данных (БД, database) - поименованная совокупность структурированных данных, относящихся к определенной предметной области. Предметная область - некоторая часть реально существующей системы, функционирующая как самостоятельная единица. Полная предметная область может представлять собой экономику страны или группы союзных государств, однако на практике для информационных систем наибольшее значение имеет предметная область масштаба отдельного предприятия или корпорации. Система управления базами данных (СУБД) - комплекс программных и языковых средств, необходимых для создания и модификации базы данных, добавления, модификации, удаления, поиска и отбора информации, представления информации на экране и в печатном виде, разграничения прав доступа к информации, выполнения других операций с базой. Приложения – программы пользователей, которым необходима информация из базы данных. Г
Рис . 1. Уровни системы На самом нижнем уровне находятся данные, хранящиеся в физических файлах. На верхнем уровне располагаются приложения, у которых есть собственное представление одних и тех же физических данных. Каждое представление базы данных предполагает определенную логическую структуру, построенную из лежащих в ее основе физических данных. СУБД обеспечивает интерфейс между физической памятью базы данных и ее разнообразными логическими версиями. | 2.Защита СУБД. Обеспечение отказоустойчивости при отказах программно-аппаратных средств.\ Обеспечение информационной безопасности СУБД приобретает решающее значение при выборе конкретного средства обеспечения необходимого уровня безопасности организации в целом. Для СУБД важны три основных аспекта информационной безопасности - конфиденциальность, целостность и доступность. Политика безопасности определяется администратором данныхАбсолютная защита данных практически не реализуема, поэтому обычно довольствуются относительной защитой информации - гарантированно защищают ее на тот период времени, пока несанкционированный доступ к ней влечет какие-либо последствия. Разграничение доступа к данным также описывается в базе данных посредством ограничений, и информация об этом хранится в ее системном каталоге. Иногда дополнительная информация может быть запрошена из операционных систем, в окружении которых работают сервер баз данных и клиент, обращающийся к серверу баз данных. В СУБД на этапе подключения к БД производится идентификация и проверка подлинности пользователей. В дальнейшем пользователь или процесс получает доступ к данным согласно его набору полномочий. В случае разрыва соединения пользователя с базой данных текущая транзакция откатывается, и при восстановлении соединения требуется повторная идентификация пользователя и проверка его полномочий. Чтобы избежать эти неприятности, создают системы, устойчивые к отказам. Такие системы либо маскируют отказы, либо ведут себя в случае отказа заранее определенным образом.Методы и средства обеспечения отказоустойчивости Для обеспечения надежного решения задач в условиях отказов системы применяются два принципиально различающихся подхода - восстановление решения после отказа системы (или ее компонента) и предотвращение отказа системы (отказоустойчивость). Восстановление может быть прямым (без возврата к прошлому состоянию) и возвратное. Прямое восстановление основано на своевременном обнаружении сбоя и ликвидации его последствий путем приведения некорректного состояния системы в корректное. Такое восстановление возможно только для определенного набора заранее предусмотренных сбоев. При возвратном восстановлении происходит возврат процесса (или системы) из некорректного состояния в некоторое из предшествующих корректных состояний. При этом возникают следующие проблемы: Потери производительности, вызванные запоминанием состояний, Нет гарантии, что сбой снова не повторится после восстановления.Для некоторых компонентов системы восстановление в предшествующее состояние может быть невозможно (торговый автомат).Для обеспечения защиты вычислительного процесса программными методами используется программная, информационная и временная избыточности.Под временной избыточностью понимается использование части производительности для получения диагностической информации о состоянии системы. Программная избыточность используется для контроля и обеспечения достоверности важных решений по управлению и обработке информации. Она заключается в применении нескольких вариантов программ в каждом узле системы . Два механизма широко используются при обеспечении отказоустойчивости - протоколы голосования и протоколы принятия коллективного решения.Протоколы голосования служат для маскирования отказов (выбирается правильный результат, полученный всеми исправными исполнителями).Протоколы принятия коллективного решения подразделяются на два класса. Во-первых, протоколы принятия единого решения, в которых все исполнители являются исправными и должны либо все принять, либо все не принять заранее предусмотренное решение. Во-вторых, протоколы принятия согласованных решений на основе полученных друг от друга данных. При этом необходимо всем исправным исполнителям получить достоверные данные от остальных исправных исполнителей, а данные от неисправных исполнителей проигнорироватьЧасто для обнаружения состояния отказа используются тайм-ауты. В обычных системах исполнения предусматривается три различных вида обслуживания. Неблокирующее обслуживание всегда возвращает управление немедленно вместе с достоверным кодом возврата Блокирующее обслуживание избегает такого опроса путём исключения вызывающей задачи из процесса диспетчеризации до тех пор, пока данный сервис не станет доступным. Механизм же таймаутов позволяет возвращать управление задаче, даже в случае, если указанный сервис не предоставляется ей в течение определенного периода времени 2.Устройства печати. Назначение и классификация. На сегодняшний день различают следующие технологии печати: лепестковую, матричную, струйную, лазерную, термопереноса, термопереноса с сублимацией красителя и твердочернильную. Принцип действия лепесткового принтера аналогичен электрической печатной машинке. Основой матричного принтера является печатающая головка, которая состоит из блока иголок, формирующих изображение на носителе путем механического воздействия на него через красящую ленту. При струйной печати изображение на бумаге формируется микрокаплями специальных чернил, которые выбрасываются на бумагу через сопла в печатающей головке. Подвижная печатающая головка, которая и обеспечивает направленный выброс чернил, является основным узлом струйного принтера. Печатающий элемент термопринтера представляет собой панель с нагреваемыми элементами. В зависимости от подаваемого изображения нагреваются те или иные элементы, которые заставляют темнеть специальную термобумагу в месте нагрева. В термосублимационных принтерах твердый краситель мгновенно нагревается до температуры переводящей его в газообразное состояние, минуя жидкое. Плоттер – устройство, предназначенное для вывода данных в форме рисунка или графика на носитель большого размера. Плоттер также называют графопостроителем. При термоструйной печати каждое сопло печатающей головки оснащается нагревательным элементом, который и испаряет чернильную каплю требуемого объема за счет образования газового пузырька. При пьезоэлектрической печати чернила выбрасываются за счет колебаний пьезопластины, которая совершает колебательные движения в результате приложения к ней электрического тока. По типу красящего вещества чернила делятся на три типа: чернила на красителях, которые растворяются в воде, пигментные чернила, которые не растворяются в воде и быстросохнущие чернила. В основе работы как копировального аппарата, так и лазерного принтера лежит процесс сухой ксерографии, который в свою очередь базируется на технологии электростатической фотографии. Ключевые этапы процесса ксерографии: зарядка фоторецептора, формирование электростатического изображения, проявление, перенос тонера на носитель, отделение, закрепление и очистка. Тонер представляет собой мелкодисперсный порошок, частицы которого состоят из полимера или резины и красящего вещества (для черного тонера обычно используется сажа). Источником света в лазерном принтере является лазер, который уменьшает потенциал в определенных участках фоторецептора. При этом фоновые участки фоторецептора остаются заряженными. В светодиодных принтерах вместо лазера работает светодиодная панель. Теоретически светодиодная технология более надежна, поскольку является более простой. Лазерные принтеры работают быстрее, а светодиодные дешевле. | 3. Средства линейного и нелинейного компьютерного видеомонтажа Нелинейный монтаж осуществляется на базе компьютерных систем. При этом исходные видеоматериалы сначала заносятся в компьютер, а затем над ними производятся процедуры монтажа. Отличительным признаком нелинейного монтажа является мгновенный доступ к любому кадру отснятого материала. Данные хранятся в цифровой форме на жестком диске. Для помещения на жесткий диск отснятый материал необходимо предварительно оцифровать с помощью какой-либо платы видеоввода (об этом мы говорили в предыдущем разделе). Соответственно, все спецэффекты потом реализуются из программы, которая обрабатывает файлы-источники и выдает на выходе готовое видео. Заметьте, что все это подразумевает наличие компьютера, что при линейном монтаже вовсе не обязательно. Линейный монтаж подразумевает перезапись видеоматериала с двух или нескольких видеоисточников на видеозаписывающее устройство с вырезанием ненужных и «склейкой» нужных видеосцен и добавлением эффектов. Этот способ применяется с самого начала видеопроизводства и подразумевает использование, по крайней мере, двух устройств -камеры или видеомагнитофона с исходным материалом и рекордера — видеомагнитофона с чистой кассетой. Посредством различных манипуляций материал переписывается в нужной последовательности с плеера на рекордер, с ленты на ленту. Записываемый видеопоток может проходить через устройство наложения спецэффектов, переходов и титров, которое в реальном времени осуществляет необходимые преобразования. Основными недостатками этого вида видеомонтажа являются высокая трудоемкость, большое количество видеоаппаратуры и потеря качества в процессе перезаписи. Обзор программ нелинейного видеомонтажа. Программа имеет поддержку большого количества оборудования для работы с видео Ulead MediaStudio Pinnace Studio полностью использует возможности современных процессоров, обеспечивая необходимое быстродействие при создании и редактировании видео и звука Edius Pro 3 (последняя версия программы) позволяет смешивать на тайм-лайне совершенно разные форматы Flash, DivX...) и менять разрешение вывода без предварительного просчета Организация памяти (адресация, распределение). Основные понятия защищенного режима Существуют две стратегии распределения оперативной памяти, как и любого ресурса: статическое и динамическое распределение. При статическом распределении вся необходимая оперативная память выделяется процессу в момент его порождения. При этом память выделяется единым блоком необходимой длины, начало которого определяется базовым адресом. Программа пишется в адресах относительно начала блока, а физический адрес команды или операнда при выполнении программы формируется как сумма базового адреса блока и относительного адреса в блоке. Адресация памяти вычислительных систем — метод указания на ячейку При динамическом распределении памяти каждой программе в начальный момент выделяется лишь часть от всей необходимой ей памяти, а остальная часть выделяется по мере возникновения реальной потребности в ней. памяти, к которой производится доступ. Адресация может быть: Абсолютная — указывается прямой адрес ячейки памяти Сегментная — указывается адрес относительно начала сегмента, в случае, если сегменты отсутствуют или совпадают, эквивалентна абсолютной. Относительная — указывается смещение относительно какого-либо значения. Косвенная — указывается адрес ячейки, содержащей адрес необходимой ячейки. Индексная — указывается адрес начала массива, размер элемента и порядковый номер элемента в массиве. Непосредственная — указывает на определённое число, константу (Например: mov A,#50H - записать число 50H в аккумулятор). Регистровая — указывает на определённый регистр РОН (регистры общего назначения). Стековая — с использованием специального регистра - указателя стека (SP - Stack Pointer). Используется для занесения операндов в стек в одном порядке и извлечения в обратном порядке. Все виды адресации могут быть переведены друг в друга, однако использование специфичной адресации может ускорить выполнение программы Некоторые понятия защищенного режима Защищенный режим является основным и наиболее естественным режимом работы 32-разрядных процессоров В зависимости от уровня привилегий осуществляется защита по доступу к привилегированным командам, по доступу к данным с более высоким уровнем привилегий и по передаче управления коду с уровнем привилегий, отличным от текущего. Четырехуровневая система привилегий предназначена для управления использованием привилегированных инструкций, а также для защиты пространства памяти и ввода/вывода. Уровни привилегий нумеруются от 0 до 3, нулевой уровень соответствует максимальным (неограниченным) возможностям доступа и отводится для ядра ОС, Уровень 3 имеет самые ограниченные права и обычно предоставляется прикладным задачам. |
| Билет 18 1.Методологии проектирования ПО. CASE-технологии, их содержание и классификации Общие требования к методологии и технологии Методологии, технологии и инструментальные средства проектирования (CASE-средства) составляют основу проекта любой ИС. Методология реализуется через конкретные технологии и поддерживающие их стандарты, методики и инструментальные средства, которые обеспечивают выполнение процессов ЖЦ. Технология проектирования определяется как совокупность трех составляющих: пошаговой процедуры, определяющей последовательность технологических операций проектирования критериев и правил, используемых для оценки результатов выполнения технологических операций; нотаций (графических и текстовых средств), используемых для описания проектируемой системы. Технологические инструкции, составляющие основное содержание технологии, должны состоять из описания последовательности технологических операций, условий, в зависимости от которых выполняется та или иная операция, и описаний самих операций. Технология проектирования ИС должна удовлетворять следующим общим требованям технология должна поддерживать полный ЖЦ ПО технология должна обеспечивать гарантированное достижение целей разработки ИС с заданным качеством и в установленное время; технология должна обеспечивать возможность выполнения крупных проектов в виде подсистем Опыт разработки крупных ИС показывает, что для повышения эффективности работ необходимо разбить проект на отдельные слабо связанные по данным и функциям подсистемы технология должна обеспечивать минимальное время получения работоспособной ИС. технология должна предусматривать возможность управления конфигурацией проекта, ведения версий проекта и его составляющих, возможность автоматического выпуска проектной документации и синхронизацию ее версий с версиями проекта; технология должна обеспечивать независимость выполняемых проектных решений от средств реализации ИС (систем управления базами данных (СУБД), операционных систем, языков и систем программирования); технология должна быть поддержана комплексом согласованных CASE-средств, обеспечивающих автоматизацию процессов, выполняемых на всех стадиях ЖЦ 1. CASE-средства: функции, назначение, классификация. ОТВЕТ: CASE (Computer Aided Software Engineering) — средства разработки программных и организационно-управляющих систем. Они охватывают большую часть поддержки огромного числа технологий проектирования КИС: начиная с простых средств анализа и документирования и заканчивая масштабными средствами автоматизации, охватывающими весь жизненный цикл программного обеспечения. CASE-средством - считается программное средство, которое автоматизирует определенную совокупность процессов жизненного цикла программного обеспечения и обладает рядом таких характеристик как: 1.объединение определенных компонентов CASE-средств, которое дает возможность управляемость процессом разработки информационных систем; 2. репозитория; 3. наличие графических средств, с помощью которых можно описывать и документировать информационные системы, которые предоставят удобный интерфейс с разработчиком; Компонентная база CASE-системы В состав интегрированного CASE-средства входят следующие элементы: 1.репозиторий - главное CASE-средство. Его задача - обеспечить сохранность вариантов проекта и его определенных компонентов, синхронизацию приема информации от разных разработчиков в процессе групповой разработки, проверка метаданных на полноту и непротиворечивость; 2. средства разработки приложений, с использованием языков 4GL и генераторов кодов; 3. средства тестирования; 4. средства документирования; 5. графические средства анализа и проектирования, которые дают возможность создавать и редактировать иерархически связанные диаграммы (например, DFD, ER-диаграмма и др.), создающие модели информационных систем; 6. средства реинжиниринга. 7. средства конфигурационного управления; 8. средства управления проектом. 9. Классификация В настоящее время существует классификация CASE-средств по следующим признакам: 1. по типам - данная классификация демонстрирует функциональную ориентацию CASE-средств на какие-либо процессы жизненного цикла; 2. по категориям – такая квалификация определяет уровень интегрированности по выполняемым функциям. Сюда относятся отдельные локальные средства, которые решают мелкие автономные задачи, комплект частично интегрированных средств, который затрагивает большую часть этапов жизненного цикла информационных систем. Также включает в себя полностью интегрированные средства, которые поддерживают весь жизненный цикл информационных систем и связанны общим репозиторием; 3. по степени интегрированности с СУБД; 4. по доступным платформам; 5. по применяемым методологиям и моделям систем и БД. Существующие CASE-системы ERwin+BPwin Designer/2000 Silverrun S-Designor Vantage Team Builder Билет № 19 1. Проектирование баз данных. Проектирование баз данных - процесс решения класса задач, связанных с созданием баз данных. Основные задачи проектирования баз данных Основные задачи: Обеспечение хранения в БД всей необходимой информации. Обеспечение возможности получения данных по всем необходимым запросам. Сокращение избыточности и дублирования данных. Обеспечение целостности данных (правильности их содержания): исключение противоречий в содержании данных, исключение их потери и т.д. Основные этапы проектирования баз данных Концептуальное (инфологическое) проектирование – построение формализованной модели предметной области. Такая модель строится с использованием стандартных языковых средств, обычно графических, например ER-диаграмм. Такая модель строится без ориентации на какую-либо конкретную СУБД. Логическое (даталогическое) проектирование – отображение инфологической модели на модель данных, используемую в конкретной СУБД, например на реляционную модель данных. Для реляционных СУБД даталогическая модель – набор таблиц, обычно с указанием ключевых полей, связей между таблицами. Если инфологическая модель построена в виде ER-диаграмм (или других формализованных средств), то даталогическое проектирование представляет собой построение таблиц по определённым формализованным правилам, а также нормализацию этих таблиц. Этот этап может быть в значительной степени автоматизирован. Физическое проектирование – реализация даталогической модели средствами конкретной СУБД, а также выбор решений, связанных с физической средой хранения данных: выбор методов управления дисковой памятью, методов доступа к данным, методов сжатия данных и т.д. – эти задачи решаются в основном средствами СУБД и скрыты от разработчика БД. На этапе инфологического проектирования в ходе сбора информации о предметной области требуется выяснить: основные объекты предметной области (объекты, о которых должна храниться информация в БД); атрибуты объектов; связи между объектами; основные запросы к БД. Основная цель проектирования БД – это сокращение избыточности хранимых данных, а следовательно, экономия объема используемой памяти, уменьшение затрат на многократные операции обновления избыточных копий и устранение возможности возникновения противоречий из-за хранения в разных местах сведений об одном и том же объекте. Так называемый, "чистый" проект можно создать, используя методологию нормализации отношений. Однако нормализация должна использоваться на завершающей проверочной стадии проектирования БД в силу трудоемкости процесса. На начальных стадиях проектирования, как правило, используют метод «сущность-связь». На начальном этапе проектирования информационной системы необходимо провести анализ целей этой системы и выявить требования к ней отдельных пользователей (сотрудников организации). Сбор данных начинается с изучения сущностей организации и процессов, использующих эти сущности. Сущности группируются по "сходству" (частоте их использования для выполнения тех или иных действий) и по количеству ассоциативных связей между ними (самолет – пассажир, преподаватель – дисциплина, студент – сессия и т.д.). Сущности или группы сущностей, обладающие наибольшим сходством и (или) с наибольшей частотой ассоциативных связей объединяются в предметные БД. Билет 20 1. Асинхронная и синхронная передачи При обмене данными на физическом уровне единицей информации является бит, поэтому средства физического уровня всегда поддерживают побитовую синхронизацию между приемником и передатчиком. Канальный уровень оперирует кадрами данных и обеспечивает синхронизацию между приемником и передатчиком на уровне кадров. В обязанности приемника входит распознавание начала первого байта кадра, распознавание границ полей кадра и распознавание признака окончания кадра. Обычно достаточно обеспечить синхронизацию на указанных двух уровнях - битовом и кадровом, - чтобы передатчик и приемник смогли обеспечить устойчивый обмен информацией. Однако при плохом качестве линии связи (обычно это относится к телефонным коммутируемым каналам) для удешевления аппаратуры и повышения надежности передачи данных вводят дополнительные средства синхронизации на уровне байт. Такой режим работы называется асинхронным или старт-стопным. Другой причиной использования такого режима работы является наличие устройств, которые генерируют байты данных в случайные моменты времени. Так работает клавиатура дисплея или другого терминального устройства, с которого человек вводит данные для обработки их компьютером. В асинхронном режиме каждый байт данных сопровождается специальными сигналами «старт» и «стоп» (рис. 2.20, а). Назначение этих сигналов состоит в том, чтобы, во-первых, известить приемник о приходе данных и, во-вторых, чтобы дать приемнику достаточно времени для выполнения некоторых функций, связанных с синхронизацией, до поступления следующего байта. Сигнал «старт» имеет продолжительность в один тактовый интервал, а сигнал «стоп» может длиться один, полтора или два такта, поэтому говорят, что используется один, полтора или два бита в качестве стопового сигнала, хотя пользовательские биты эти сигналы не представляют. Рис. 2.20. Асинхронная (а) и синхронная (б) передачи на уровне байт Асинхронным описанный режим называется потому, что каждый байт может быть несколько смещен во времени относительно побитовых тактов предыдущего байта. Такая асинхронность передачи байт не влияет на корректность принимаемых данных, так как в начале каждого байта происходит дополнительная синхронизация приемника с источником за счет битов «старт». Более «свободные» временные допуски определяют низкую стоимость оборудования асинхронной системы. При синхронном режиме передачи старт-стопные биты между каждой парой байт отсутствуют. Пользовательские данные собираются в кадр, который предваряется байтами синхронизации (рис. 2.20, б). Байт синхронизации - это байт, содержащий заранее известный код, например 0111110, который оповещает приемник о приходе кадра данных. При его получении приемник должен войти в байтовый синхронизм с передатчиком, то есть правильно понимать начало очередного байта кадра. Иногда применяется несколько синхробайт для обеспечения более надежной синхронизации приемника и передатчика. Так как при передаче длинного кадра у приемника могут появиться проблемы с синхронизацией бит, то в этом случае используются самосинхронизирующиеся коды. | Видеоподсистема ЭВМ. Назначение, организация, характеристики. под видеосистемой понимается комбинация дисплея и адаптера. Монитор (дисплей) компьютера IBM PC предназначен для вывода на экран текстовой и графической информации. Адаптер управляет дисплеем с платы в одном из разъемов расширения (в некоторых компьютерах адаптер находится на основной схемной плате). Видеосистема персонального компьютера предназначена для формирования изображений, наблюдаемых на экране монитора. Ее основу составляютспециализированные схемы для генерирования электрических сигналов, управляющих мониторами и сам дисплей. Скорость работы. Важной характеристикой монитора и его адаптера скорость работы. В текстовом режиме все мониторы работают достаточно быстро, но при выводе графических изображений с высокой разрешающей способностью скорость работы может быть довольно существенна. В приложениях с интенсивным использованием графики (обработке изображений, анимации, конструировании и т.д.) может оказаться необходимым использование "быстрого" адаптера и соответствующего монитора Режимы работы видеосистемы Все видеосистемы персональных компьютеров (за исключением адаптера MDA) могут работать в двух основных режимах - текстовом и графическом. Различия этих режимов работы связаны со способом интерпретации содержимого видеобуфера. Текстовый режим В этом режиме, называемом также символьным экран разделяется на отдельные символьные позиции, в каждой из которых выводится один символ. Символьные позиции определяются двумя координатами: номер текстовой строки и номер текстового столбца. Начало координат находится в верхнем левом углу рабочей области экрана. Рис. 5.2. Логическое представление экрана в текстовом режиме После загрузки компьютер всегда начинает работать в текстовом режиме. На принимаемой по умолчанию текстовый режим ориентирован на ОС DOS. Процедуры вывода на экран ОС основаны на элементарных функциях BIOS, которые вызываются командой программного прерывания INT 10h. Изображение символа формируется на точечной матрице, размер которой зависит от используемого адаптера и номера режима. Точки, образующие изображение символа называются передним планом, а остальные фоном. Чем больше размер точечной матрицы, тем выше качество изображения. Во всех видеосистемах персональных компьютеров совместимых с IBM применяется один и тот же формат хранения текстовых данных в видеобуфере. Каждый символ представлен двумя байтами. Графический режим В этом режиме цветовое значение каждого пикселя хранится как один или несколько бит в видеобуфере и считывается на экран с дополнительным преобразованием. Графический режим называется еще режимом с двоичным или точечным отображением (bit - mapped display), т.к. в нем имеется взаимно однозначное соответствие между битами в видеобуфере и пикселями на экране. Говорят, что в видеобуфере хранится образ экрана. Благодаря управлению каждым пикселем в графическом режиме появляется возможность формирования сложных изображений и движущихся графических объектов. Однако это требует от ПК повышенных ресурсов. Принцип действия видеосистемы. Все видеосистемы содержат электронные компоненты, формирующие сигналы синхронизации, цветности и управляющие генерированием текстовых символов. Кроме того, во всех видеосистемах имеется видеобуфер. Он представляет собой область ОЗУ, которая предназначена только для хранения текста или графической информации, выводимой на экран. Основная функция ВА заключается в преобразовании данных из видеобуфера в те сигналы, которые управляют дисплеем и формируют наблюдаемое на экране изображение. В персональных компьютерах видеобуфер (видеопамять) является частью адресного пространства ЦП и в них реализуется видеоподсистема с отображением на память. Каждая группа бит в видеобуфере определяет цвет и яркость определенного участка на экране. Такая организация подсистемы позволяет существенно повысить скорость отображения информации на экране, поскольку запись процессором данных в Video RAM превращается в запись на экран, а считывание данных из Video RAM эквивалентно считыванию с экрана. Разрешения: 640 x 480, 800 x 600, 1024 x 768, 1152 x 864, 1280 x 1024, 1600 x 1280 (или 1200), 1800 x 1350 и более Количество бит/цветов: 4 бита / 16 цветов, 8 бит / 256 цветов, 16 бит / 32768 или 65536 цветов (режим HiColor), 24 бит / 16,7 млн. цветов (режим TrueColor), 32 бит (24 бит - цвет и 8 бит - альфа-канал) / 16,7 млн. цветов (режим TrueColor) и более. Частоты кадровой развертки(Гц): 56, 60, 72, 75, 85, 90, 120 и более. 2. Понятие виртуальной машины. Принципы работы, управления, защиты данных и памяти. Виртуальная машина - это программа, которую вы запускаете из своей операционной системы. Программа эмулирует реальную машину. Как и в случае с реальной машиной, вы можете установить на виртуальную машину операционную систему, причем неважно Windows или *nix. Таким образом, вы можете тестировать различные операционные системы, не покидая своей. У виртуальной машины есть BIOS, жесткий диск (отведенное место на вашем жестком диске), CD-ROM (ваш CD-ROM или подключенный ISO-образ), сетевые адаптеры для соединения с вашей реальной машиной, сетевыми ресурсами или другими виртуальными машинам и т.д. Вы можете без проблем обмениваться файлами между основной операционной системой (host) и гостевой операционной системой (guest). Это осуществляется простым перетаскиванием файлов из файлового менеджера клиента в окно гостевой системы или в обратном направлении. Удобствовиртуальной машины для тестирования автоматической установки просто неоценимо. Достаточно просто подключить загрузочный ISO-образ вместо CD-ROM в настройках виртуальной машины, и установка системы пойдет точно так же, как и на реальной машине. Виртуальная машина (англ. virtual machine) — программная или аппаратная среда, исполняющая некоторый код (например, байт-код, шитый код, p-код илимашинный код реального процессора), или спецификация такой системы (например: «виртуальная машина языка программирования Си»). Принцип работы способна эмулировать периферийные устройства. Работа ее основана на технологии квази-эмуляции, позволяющей аппаратно невиртуализируемый процессор виртуализировать программным путем. Основные задачи квази-эмуляции включают: необходимость определить множество инструкций процессора, которые можно исполнять без эмуляции; необходимость определить множество инструкций процессора, которые нельзя исполнять без эмуляции, а также обеспечить обнаружение этих инструкций в гостевом коде и произвести их эмуляцию; когда требуется взаимодействие с хостовой операционной системой (например, при эмуляции внешних устройств) нужно обеспечить переключение в ее контекст и использовать ее функции, а для нормального функционирования хостовой операционной системы надо обеспечить передачу ей прерываний от внешних устройств, произошедших в контексте гостевой операционной системы. При наличии на сайте вредоносного кода последствия его выполнения будут отражаться только на виртуальной машине, не принося вашему компьютеру никакого вреда. Настроив виртуальную машину соответствующим образом, можно избавиться и от этих последствий - при выключении виртуальной машины все изменения будут стираться и возвращаться к первоначальным настройкам, когда никаких вирусов на машины еще не было. Билет 20 Компьютерный вирус - это специально написанная небольшая по размерам программа, которая может "приписывать" себя к другим программам (т.е. "заражать" их),а также выполнять различные нежелательные действия на компьютере. Программа, внутри которой находится вирус, называется "зараженной". Когда такая программа начинает работу, то сначала управление получает вирус. Все вирусы можно объединить в следующие основные группы: загрузочные, файловые, загрузочно-файловые, резидентные и нерезидентные, полиморфные, stealth-вирусы, multipartition-вирусы, трояны и другие. методы защиты от вирусов Cкaниpoвaниe Ecли виpyc извecтeн и yжe пpoaнaлизиpoвaн, тo мoжнo paзpaбoтaть пpoгpaммy, выявляющyю вce фaйлы и зaгpyзoчныe зaпиcи, инфициpoвaнныe этим виpycoм. Taкaя пpoгpaммa cнaбжeнa «мeдицинcким» cпpaвoчникoм, coдepжaщим xapaктepныe oбpaзцы пpoгpaммнoгo кoдa виpyca Bыявлeниe измeнeний Для инфициpoвaния пpoгpaмм или зaгpyзoчныx зaпиceй виpycы дoлжны иx измeнить. Cyщecтвyют пpoгpaммы, кoтopыe cпeциaлизиpyютcя нa вылaвливaнии тaкиx измeнeний. Пpoгpaммy, peгиcтpиpyющyю измeнeниe фaйлoв и зaгpyзoчныx зaпиceй, мoжнo иcпoльзoвaть дaжe для выявлeния paнee нeизвecтныx виpycoв Эвpиcтичecкий aнaлиз Эвpиcтичecкий aнaлиз -- этo cмyтнoe пoдoзpeниe aнтивиpycнoй пpoгpaммы o тoм, чтo чтo-тo нe в пopядкe. Пpи выявлeнии виpycoв c пoмoщью эвpиcтичecкoro aнaлизa вeдeтcя пoиcк внeшниx пpoявлeний или жe дeйcтвий, xapaктepныx для нeкoтopыx клaccoв извecтныx виpycoв. Haпpимep, в фaйлax мoгyт выявлятьcя oпepaции, пpимeняeмыe виpycaми, нo peдкo иcпoльзyeмыe oбычными пpoгpaммaми, Bepификaция Paccмoтpeнныe вышe мeтoды мoгyт cвидeтeльcтвoвaть, чтo пpoгpaммa или зaгpyзoчнaя зaпиcь пopaжeны виpycoм, oднaкo тaким oбpaзoм нeльзя c yвepeннocтью oпoзнaть пopaзивший иx виpyc и yничтoжить eгo безвреживание вирусов He иcключeнo, чтo пocлe выявлeния виpyca eгo мoжнo бyдeт yдaлить и вoccтaнoвить иcxoднoe cocтoяниe зapaжeнныx фaйлoв и зaгpyзoчныx зaпиceй, cвoйcтвeннoe им дo «бoлeзни». Этoт пpoцecc нaзывaeтcя oбeзвpeживaниeм (дeзинфeкциeй, лeчeниeм). Меры профилактики Paccмoтpeнныe вышe мeтoды мoгyт пpимeнятьcя c пoмoщью paзличныx cпocoбoв. Oдним из oбщeпpинятыx мeтoдoв являeтcя иcпoльзoвaниe пpoгpaмм, кoтopыe тщaтeльнo oбcлeдyют диcки, пьrтaяcь oбнapyжить и oбeзвpeдить виpyc Главное качество антивирусного ПО — надежность обнаружения вредоносного кода. К сожалению, в реальных условиях проверить это довольно трудно — ведь для этого требуется образец вируса, не известного разработчикам защитного ПО. С известными сигнатурами, разумеется, справится большинство современных антивирусных сканеров. В настоящее время наибольшей популярностью пользуются самые простые схемы организации защиты - системы защиты от несанкционированного доступа. Подобные системы достаточно надежны, однако не отличаются особой гибкостью. В них используются самые разные алгоритмы - от разрешения передачи сообщений лишь с заданными адресами сетевого протокола IP до запрета прямого доступа пользователей к ресурсам Internet и интрасетям. Недостаток данной технологии кроется в узости самой постановки задачи: предотвратить доступ посторонним пользователям к внутренним сетям различного уровня. Иногда подобная защита используетс для запрета доступа "особо активных" пользователей внутренних сетей, например, корпоративной сети предприятия, ко всем ресурсам Internet, за исключением обычной электронной почты. Фабула данной схемы защиты такова: неприкосновенность внутренней информации и снижение нежелательной нагрузки на внешние каналы. Профилактические меры защиты Своевременное обнаружение зараженных вирусами файлов и дисков, полное уничтожение обнаруженных вирусов на каждом компьютере позволяют избежать распространения вирусной эпидемии на другие компьютеры. Абсолютно надежных программ, гарантирующих обнаружение и уничтожение любого вируса, не существует. Важным методом борьбы с компьютерными вирусами является своевременная профилактика. Чтобы существенно уменьшить вероятность заражения вирусом и обеспечить надежное хранение информации на дисках, необходимо выполнять следующие меры профилактики: применять только лицензионное ПО; оснастить компьютер современными антивирусными программами и постоянно возобновлять их версии; всегда проверять дискеты на наличие вирусов (запуская антивирусные программы своего компьютера) перед считыванием с них информации, записанной на других компьютерах; при переносе на свой компьютер файлов в архивированном виде проверять их сразу же после разархивации на жестком диске, ограничивая область проверки только вновь записанными файлами; периодически проверять на наличие вирусов жесткие диски компьютера, запуская антивирусные программы для тестирования файлов, памяти и системных областей дисков с защищенной от записи дискеты, предварительно загрузив ОС с защищенной от записи системной дискеты; всегда защищать свои дискеты от записи при работе на других компьютерах, если на них не будет производиться запись информации; обязательно делать на дискетах архивные копии ценной для пользователя информации; не оставлять в кармане дисковода А дискеты при включении или перезагрузке ОС, чтобы исключить заражение компьютера загрузочными вирусами; использовать антивирусные программы для входного контроля всех исполняемых файлов, получаемых из компьютерных сетей. Антивирусные программные комплексы У каждого типа антивирусных программ есть свои достоинства и недостатки. Только комплексное использование нескольких типов антивирусных программ может привести к приемлемому результату. Программные средства защиты представляют собой комплекс алгоритмов и программ, нацеленных на контроль и исключение проникновения несанкционированной информации. Существует спектр программных комплексов, предназначенных для профилактики заражения вирусом, обнаружения и уничтожения вирусов [9]. Они обладают универсальностью, гибкостью, адаптивностью и др. Перечислим наиболее распространенные антивирусные программные комплексы: антивирус Касперского (AVP) Personal; антивирус Dr.Web; антивирус Symantec Antivirus; антивирус McAfee; антивирус AntiVir Personal Edition. Межсетевой экран (МЭ) — это специализированный комплекс межсетевой защиты, называемый также брандмауэром или системой firewali МЭ позволяет разделить общую сеть на две части (или более) и реализовать набор правил, определяющих условия прохождения пакетов с данными через границу из одной части общей сети в другую. Как правило, эта граница проводится между корпоративной (локальной) сетью предприятия и глобальной сетью Internet. Обычно МЭ защищают внутреннюю сеть предприятия от «вторжений» из глобальной сети Internet, хотя они могут использоваться и для защиты от «нападений» из корпоративной интра-сети, к которой подключена локальная сеть предприятия. Технология МЭ одна из самых первых технологий защиты корпоративных сетей от внешних угроз. Для большинства организаций установка МЭ является необходимым условием обеспечения безопасности внутренней сети. Функции МЭ Для противодействия несанкционированному межсетевому доступу МЭ должен располагаться между защищаемой сетью организации, являющейся внутренней, и потенциально враждебной внешней сетью (рис. 9.1). При этом все взаимодействия между этими сетями должны осуществляться только через МЭ. Организационно МЭ входит в состав защищаемой сети. МЭ, защищающий сразу множество узлов внутренней сети, призван решить: • задачу ограничения доступа внешних (по отношению к защищаемой сети) пользователей к внутренним ресурсамкорпоративной сети. К таким пользователям могут быть отнесены партнеры, удаленные пользователи, хакеры и даже сотрудники самой компании, пытающиеся получить доступ к серверам баз данных, защищаемых МЭ; • задачу разграничения доступа пользователей защищаемой До сих пор не существует единой общепризнанной классификации МЭ. Их можно классифицировать, например, по следующим основным признакам [32]. По функционированию на уровнях модели OSI: пакетный фильтр (экранирующий маршрутизатор — screening router); шлюз сеансового уровня (экранирующий транспорт); прикладной шлюз (application gateway); шлюз экспертного уровня (stateful inspection firewall), По используемой технологии: контроль состояния протокола (stateful inspection); на основе модулей посредников (proxy). По исполнению: аппаратно-программный; программный. По схеме подключения: • схема единой защиты сети; схема с защищаемым закрытым и не защищаемым открытым сегментами сети; схема с раздельной защитой закрытого и открытого сегментов сети. Фильтрация трафика | 3.Логическая и физическая организация файла. Операции над файлами. Логическая организация файлаПрограммист имеет дело с логической организацией файла, представляя файл в виде определенным образом организованных логических записей. Логическая запись - это наименьший элемент данных, которым может оперировать программист при обмене с внешним устройством. Даже если физический обмен с устройством осуществляется большими единицами, операционная система обеспечивает программисту доступ к отдельной логической записи. Записи могут быть фиксированной длины или переменной длины. Записи могут быть расположены в файле последовательно (последовательная организация) или в более сложном порядке, с использованием так называемых индексных таблиц, позволяющих обеспечить быстрый доступ к отдельной логической записи (индексно-последовательная организация). Для идентификации записи может быть использовано специальное поле записи, называемое ключом. В файловых системах ОС UNIX и MS-DOS файл имеет простейшую логическую структуру - последовательность однобайтовых записей. Физическая организация и адрес файла Физическая организация файла описывает правила расположения файла на устройстве внешней памяти, в частности на диске. Файл состоит из физических записей - блоков. Блок - наименьшая единица данных, которой внешнее устройство обменивается с оперативной памятью. Непрерывное размещение - простейший вариант физической организации (рисунок 2.34,а), при котором файлу предоставляется последовательность блоков диска, образующих единый сплошной участок дисковой памяти. Для задания адреса файла в этом случае достаточно указать только номер начального блока. Другое достоинство этого метода - простота. Но имеются и два существенных недостатка. Во-первых, во время создания файла заранее не известна его длина, а значит не известно, сколько памяти надо зарезервировать для этого файла, во-вторых, при таком порядке размещения неизбежно возникает фрагментация, и пространство на диске используется не эффективно, так как отдельные участки маленького размера (минимально 1 блок) могут остаться не используемыми. Следующий способ физической организации - размещение в виде связанного списка блоков дисковой памяти (рисунок 2.34,б ). При таком способе в начале каждого блока содержится указатель на следующий блок. В этом случае адрес файла также может быть задан одним числом - номером первого блока. В отличие от предыдущего способа, каждый блок может быть присоединен в цепочку какого-либо файла, следовательно фрагментация отсутствует. Файл может изменяться во время своего существования, наращивая число блоков. Недостатком является сложность реализации доступа к произвольно заданному месту файла: для того, чтобы прочитать пятый по порядку блок файла, необходимо последовательно прочитать четыре первых блока, прослеживая цепочку номеров блоков. Кроме того, при этом способе количество данных файла, содержащихся в одном блоке, не равно степени двойки (одно слово израсходовано на номер следующего блока), а многие программы читают данные блоками, размер которых равен степени двойки. 3 Основой любых систем защиты информационных систем являются идентификация и аутентификация, так как все механизмы защиты информации рассчитаны на работу с поименованными субъектами и объектами АС. Напомним, что в качестве субъектов АС могут выступать как пользователи, так и процессы, а в качестве объектов АС – информация и другие информационные ресурсы системы. Присвоение субъектам и объектам доступа личного идентификатора и сравнение его с заданным перечнем называется идентификацией. Идентификация обеспечивает выполнение следующих функций: - установление подлинности и определение полномочий субъекта при его допуске в систему, - контролирование установленных полномочий в процессе сеанса работы; - регистрация действий и др. Аутентификацией (установлением подлинности) называется проверка принадлежности субъекту доступа предъявленного им идентификатора и подтверждение его подлинности. Другими словами, аутентификация заключается в проверке: является ли подключающийся субъект тем, за кого он себя выдает. Общая процедура идентификации и аутентификации пользователя при его доступе в АС представлена на рис. 2.10. Если в процессе аутентификации подлинность субъекта установлена, то система защиты информации должна определить его полномочия (совокупность прав). Это необходимо для последующего контроля и разграничения доступа к ресурсам. По контролируемому компоненту системы способы аутентификации можно разделить на аутентификацию партнеров по общению и аутентификацию источника данных. Аутентификация партнеров по общению используется при установлении (и периодической проверке) соединения во время сеанса. Она служит для предотвращения таких угроз, как маскарад и повтор предыдущего сеанса связи. Аутентификация источника данных – это подтверждение подлинности источника отдельной порции данных. Программно-аппаратные средства для защиты информации 1.1. Средства аутентификации . eToken USB-ключ / смарт-карта eToken PRO.. Сертифицированные модели eToken PRO. Комбинированный USB-ключ eToken NG-OTP. Брелок eToken PASS. 1.2. Программные средства защиты информации. Secret Disk. eToken - Электронный ключ eToken - персональное средство авторизации, аутентификации и защищённого хранения данных, аппаратно поддерживающее работу с цифровыми сертификатами и электронной цифровой подписью (ЭЦП). USB-ключ / смарт-карта eToken PRO. USB-ключи и смарт-карты eToken PRO выполнены на базе микросхемы смарт-карты и предназначен дляаутентификации и защищённого хранения данных, аппаратно поддерживающее работу с цифровыми сертификатами и электронной цифровой подписью (ЭЦП). Комбинированный USB-ключ eToken NG-OTP. Комбинированный USB-ключ eToken NG-OTP – одно из решений в области информационной безопасности от компании Aladdin. Он сочетает функционал смарт-карты и генератора одноразовых паролей. . Он сочетает функционал и генератора одноразовых паролей. eToken NG-OTP имеет встроенный аппаратный генератор одноразовых паролей, ЖК-дисплей для их отображения и кнопку для их генерации. eToken PASS от компании Aladdin – автономный генератор одноразовых паролей, не требующий для своей работы подключения к компьютеру. – автономный генератор одноразовых паролей, не требующий для своей работы подключения к компьютеру. eToken PASS имеет кнопку для генерации одноразовых паролей и ЖК-дисплей для их отображения. Secret Disk — система защиты конфиденциальной информации на персональных компьютерах и съёмных носителях от несанкционированного доступа, копирования, повреждения, кражи или изъятия. — система на персональных компьютерах и съёмных носителях от несанкционированного доступа, копирования, повреждения, кражи или изъятия. Парольная система как неотъемлемая составляющая подсистемы управления доступом системы защиты информации (СЗИ) является частью "переднего края обороны" всей системы безопасности. Поэтому парольная система становится одним из первых объектов атаки при вторжении злоумышленника в защищенную систему. Аппаратные и программные средства обработки звука Звук– упругие волны, распространяющиеся в газах, жидкостях и твёрдых телах и воспринимаемые ухом человека и животных. Звуковые подсистемы компьютера– подсистемы, предназначенные для записи звуковых сигналов от внешних источников; воспроизведения ранее записанных; ликвидирования; одновременной записи и воспроизведения звуковых знаков; обработки звуковых знаков; управления панорамой стереофонического звукового сигнала; обработки звукового сигнала в соответствии с алгоритмами объемного звучания; генерирования с помощью синтезатора звучания музыкальных инструментов и человеческой речи; воспроизведение звуковых компакт дисков; управления работой внешних электронных музыкальных инструментов; выполнения управления компьютера с помощью голоса. Аппаратные средства обработки звука: модуль записи, воспроизведения звука, модуль синтезатора, модуль интерфейса, модуль микшера, акустические системы. Программные средства обработки звука: музыкальные редакторы, синтезаторы звука (речи), редакторы оцифровок реальных звуков, генераторы стили, программы для улучшения качества фонограмм. Программы-секвенсеры – программы обработки музыкальных файлов, которые позволяют редактировать параметры любой ноты или группы нот (громкость, высота, местоположение, инструмент, панорама), стирать, перемещать, добавлять ноты, менять скорость проигрывания мелодии без изменения высоты звука, и наоборот – поднять или опустить мелодию на любое число тонов без изменения скорости. Обработка звука бывает разноплановой и зависит от целей, которые вы преследуете. Это может быть подавление шумов, наложение звуковых фильтров, добавление реверберации или дилея, выведение на передний план определённых частот и т.п. Наиболее необходимой и практически повсеместно используемой процедурой является подавление шумов. Шумы могут быть как внешними, случайно записанными на микрофон фоновыми звуками в помещении с плохой звукоизоляцией, так и внутрисистемными, возникшими вследствие плохого экранирования шнуров и прочего звукозаписывающего оборудования. Шумы имеют свои частоты, диапазон которых сравнительно узок. Это позволяет подавлять их путём простой эквализации, то есть – убирать частоты, на которых больше всего шума и меньше всего нужных звуков. Запись, на которой шумы занимают сравнительно небольшой диапазон, не соприкасающийся с диапазоном других звуков, считается чистой. Запись, на которой шумы звучат почти на всех частотах, считается грязной, так как их практически невозможно подавить без ущерба для нужных звуков. Реверберация считается вторым по востребованности шагом в обработке звука. Реверберация – это постепенное затухание звука, например, в большом помещении с хорошей акустикой. При небольшой продолжительности она добавляет вокалу или сольным инструментам глубину и выразительность звучания, поэтому её используют довольно часто. В отличие от простого эха, которое просто повторяет звук несколько раз, при этом, затихая, реверберация прогрессивно меняет соотношение частот повторяемого звука, что может создавать самые разнообразные эффекты. После реверберации по популярности, пожалуй, стоят дилей-эффекты. Или попросту задержки звука. Это может быть как обычное эхо любой частоты затухания, так и более изысканные дилеи. Фильтры – это эквализационные схемы, которые накладываются на записанный звук. Фильтры бывают статические и динамические. Статические фильтры просто убирают некоторые частоты трека, добавляя другие, а динамические постоянно меняют соотношение частот по определённой круговой схеме, из-за чего звук кажется «плавающим». InTune создан для звукового анализа и редактирования тональности, динамики, тайминга и уровня шума. Основной задачей программы является коррекция свежезаписанного музыкального материала, в особенности вокала, деревянных или медных духовых инструментов, Wavosaur - бесплатный звуковой редактор. Имеет все основные возможности такого класса программ: монтаж, анализ, пакетная обработка. Wavosaur поддерживает VST-плагины, ASIO-драйверы, многоканальность и обработку в реальном времени. Sound Forge 9 включает в себя все инструменты, необходимые чтобы привести необработанный вариант работы к виду, пригодному для публикации. множество функций для обработки стерео- и многоканальных звуковых файлов с высокой скоростью и точностью. |
Билет №1
1. Автоматизированные информационные системы.
2. Внутренняя структура МП. Назначение узлов, входящих в типовую структуру МП.
3. Административный уровень защиты информации. Задачи различных уровней управления в решении задачи обеспечения информационной безопасности. Процедурный уровень обеспечения безопасности.
Билет №2
1. Системы. Основные определения и закономерности систем. Классификация систем по уровню сложности. Системный подход к построению ИС.
2. Ресурсы компьютерной системы. Классификация. Распределение и управление ресурсами. Проблемы взаимодействующих процессов.
3. Функциональная и структурная организация обработки мультимедийной информации.
Билет №3
1. Архитектура СУБД и ее основные функции.
2. Сопроцессоры. Назначение, система команд на примере процессоров Intel x86.
3. Требования к системам криптографической защиты: криптографические требования, требования надежности, требования по защите от НСД, требования к средствам разработки.
Билет №4
1. CASE-средства: функции, назначение, классификация.
2. Состав и назначение основных компонент ОС. Принципы построения ОС. Принцип модульности. Принцип независимости программ от внешних устройств. Принцип совместимости. Принцип открытой и наращиваемой ОС. Принцип мобильности. Принципы обеспечения безопасности.
3. Принципы отображения графической информации. Способы сжатия изображений. Способы преобразования форматов. Типы файлов изображений.
Билет №5
1. Принципы проектирования сложных объектов. Нисходящее и восходящее проектирование.
2. Понятие архитектуры МП. Особенности архитектур вычислительных систем CISC, RISC, MIPS, SPARC. Области применения.
3. Функции и назначение стандартов информационной безопасности. Примеры стандартов, их роль при проектировании и разработке информационных систем. Критерии оценки безопасности компьютерных систем. Структура требований безопасности. Классы защищенности.
Билет №6
Организация и принцип работы памяти.
Типовые средства аппаратной поддержки операционных систем, BIOS.
Мультимедиа-технологии (МТ), их особенности в ряду базовых ИТ. Структурирование МТ. Основные технологические решения для носителей информации в МТ. Оптические диски, мини-диски, flash-память.
Билет №7
1. Классификация, состав и структура АИС.
2. Контроллеры, основные функции и реализация.
3. Сжатие данных. Определение и виды. Примеры кодирования, их применение в ИТ. Сжатие изображений и аудиоинформации. Стандарты JPEG и МР3..
Билет №8
1. Проектирование методом «сущность-связь». Нормализация отношений.
2. Способы обеспечения монопольного доступа к разделяемым ресурсам. Алгоритмы распределения памяти. Способы защиты памяти.
3. Системное администрирование. Баланс функциональности, безопасности и надежности системы. Меры по обеспечению безопасности (физической и информационной), надежности системы (защита данных, резервное копирование, проектирование устойчивости к сбоям). Системы безопасности в IP сетях.
Билет №9
1. Обработка транзакций в SQL.
2. Понятие политики информационной безопасности. Назначение политики безопасности. Основные типы политики безопасности доступа к данным.
3. Понятие информации, различные его трактовки. Определения информации (по законодательству Российской Федерации, по Н. Винеру, другие).
Билет №10
1. Пользовательский интерфейс и его эргономика. Интерфейс ИС как сценарий поведения пользователя. Роль графического дизайна в ИС.
2. Защита информации в ИТ. Основные технологические решения. Шифрование данных. Общая характеристика алгоритмов шифрования, схемы работы.
3. Векторная, растровая, фрактальная и программная графика, их сходство и различие.
Билет №11
1. Объектно-ориентированный подход при проектировании ИС. Унифицированный язык моделирования UML.
2. Понятие архитектуры ЭВМ. Области применения и классификация ЭВМ. Структура ЭВМ: состав и назначение основных блоков.
3. Примеры алгоритмов симметричного шифрования и шифрования с открытым ключом. Гибридные криптосистемы. Понятие ЭЦП и сертификата. Протоколы IPSec и SSL.
Билет №12
1. Жизненный цикл информационных систем: каскадная и спиральная модели.
2. Биометрические средства идентификации и аутентификации пользователей. Аутентификация субъектов в распределенных системах, проблемы и решения. Схема Kerberos.
3. Основные программные пакеты, применяемые для редактирования графики в МТ.
Билет №13
1. Информационное обеспечение АИС, перспективы развития БД.
2. Законодательный уровень обеспечения информационной безопасности. Основные законодательные акты РФ в области защиты информации. Классификация автоматизированных систем по классам защищенности. Показатели защищенности средств вычислительной техники от несанкционированного доступа.
3. Цветовые модели, их характеристики и области применения.
Билет №14
1. Понятие об архитектуре ИС. Виды, области применения. Одноранговые, централизованные, распределенные, терминальные системы. Архитектура клиент-сервер, терминальные системы, трехзвенные системы.
2. Арифметико-логическое устройство (АЛУ): назначение, структура и принцип действия.
3. Процессы и потоки. Многозадачность и многопоточность. Проблемы разработки приложений для многопоточной среды.
Билет №15
1. Предметная область и моделирование АИС.
2. Классификация программного обеспечения (ПО). Базовый уровень ПО. Системный уровень ПО. Драйверы. Служебный уровень ПО. Утилиты. Прикладной уровень ПО.
3. Аудит в информационных системах. Функции и назначение аудита, его роль в обеспечении информационной безопасности. Понятие электронной цифровой подписи. Процедуры формирования цифровой подписи.
Билет №16
1. Этапы проектирования БД. Цель и виды работ на этапах концептуального, логического и физического проектирования.
2. Защита СУБД. Обеспечение отказоустойчивости при отказах программно-аппаратных средств.
3. Средства линейного и нелинейного компьютерного видеомонтажа.
Билет №17
1. Понятие базы данных, организация.
2. Устройства печати. Назначение и классификация.
3. Организация памяти (адресация, распределение). Основные понятия защищенного режима.
Билет №18
1. Методологии проектирования ПО. CASE-технологии, их содержание и классификации.
2. Видеоподсистема ЭВМ. Назначение, организация, характеристики.
3. Логическая и физическая организация файла. Операции над файлами.
Билет №19
1. Проектирование баз данных.
2. Понятие виртуальной машины. Принципы работы, управления, защиты данных и памяти.
3. Идентификация и аутентификация при входе в информационную систему. Использование парольных схем. Недостатки парольных схем. Применение программно-аппаратных средств аутентификации.
Билет №20
1. Способы передачи сообщений. Синхронный и асинхронный обмен данными между устройствами компьютерной системы.
2. Вирусы и методы борьбы с ними. Антивирусные программы и пакеты. Программно-аппаратные защиты информационных ресурсов в Интернет. Межсетевые экраны, их функции и назначения.
3. Аппаратные и программные средства обработки звука.
4
Билет №9
1.Обработка транзакций в SQL.
Компонент «Блок транзакций» отвечает за целостность системы и должен обеспечить одновременную обработку многих запросов, отсутствие интерференций запросов (интерференция – сложение, в данном случае необходимо исключить наложение запросов и их взаимодействие) и защиту данных в случае выхода системы из строя. Блок транзакций взаимодействует с компилятором запросов, т.к. для разрешения конфликтных ситуаций должен учитывать, на какие данные воздействуют текущие запросы. В силу этого некоторые вопросы могут быть отложены, и может быть установлена очередность их выполнения. Блок транзакций взаимодействует также с блоком памяти, т.к. схемы защиты данных обычно включают в себя хранение файла регистрации изменений данных.
Типичные СУБД позволяют пользователю выполнить несколько запросов и/или изменений в одной транзакции. Под транзакцией понимается совокупность действий (группа операций), которые необходимо выполнить последовательно, но которые будут восприниматься как единое целое.
Как правило, СУБД поддерживают одновременно множество транзакций. Именно правильное выполнение всех таких транзакций и обеспечивает блок транзакций. Правильное их выполнение, обеспечивается ACID-свойствами (Atomicity, Consistency, Isolation, Durability):
Требования ACID
1. Атомарность. Операторы, выполняемые в рамках транзакции, представляют собой единое неделимое действие. Изменения, проводимые в рамках транзакции, или полностью принимаются или полностью откатываются.
2. Согласованность. Транзакция в непротиворечивом состоянии БД. После её завершения БД должна находится либо в новом, либо в старом непротиворечивом состоянии. Т.о. транзакция – корректная операция перевода БД из одного непротиворечивого состояния в другое.
Непротиворечивое состояние – состояние, когда выполняются понятия целостности БД.
Внутри транзакции (при выполнении) в ряде случаев допускается нахождение БД не в непротиворечивом состоянии.
3. Изолированность. Транзакции, выполняемые параллельно не должны влиять друг на друга, несмотря на то, что транзакции могут разделять одни и те же данные – изменения, проводимые одной транзакцией не должны влиять на другую транзакцию.
4. Долговечность. Если транзакция зафиксирована, все изменения, проводимые ей, должны быть сохранены в БД. При откате все изменения из базы должны быть изъяты – устойчивость к сбоям.
В настоящее время СУБД получили широкое распространение в различных сферах деятельности и выполняют основную часть процедур, связанных с накоплением и обработкой информации.
В связи с этим приведем классификацию типов СУБД:
1.По способу применения
Системы управления базами данных в буквальном смысле этого термина, для которых работа с базами возможна только после запуска в работу этой системы без возможности создания автономных программ, работающих с базами. К этим системам относятся: Access, Paradoх, dBase.
Системы, имеющие как средства для работы с базами данных, так и возможности разработки исполняемых в операционной системе пользовательских программ (приложений), т. е. средства разработчика программ - FoхPro.
Системы для разработки пользовательских программ для работы с базами данных - Clipper, Clarion.
2.По количеству пользователей
Однопользовательские.
Многопользовательские.
3.По сфере использования
Транзакционная – СУБД работает с базой данных, в которой для транзакций отводится минимальное время и результаты запросов должны отображаться в кратчайшие сроки.
База данных поддержки решений – СУБД работает с базой данных, предназначенной для получения необходимой информации при выработке стратегических решений с целью оптимизации деятельности предприятия.
2. Понятие политики информационной безопасности. Назначение политики безопасности.Основные типы политики безопасности доступа к данным.
Политика безопасности – совокупность норм и правил, регламентирующих процесс обработки информации, обеспечивающих эффективную защиту системы обработки информации от заданного множества угроз. Политика безопасности составляет необходимое, а иногда и достаточное условие безопасности системы. Формальное выражение политики безопасности, называется моделью безопасности. Существуют два типа политики безопасности: дискреционная и мандатная.
Дискреционная политика безопасности – политика безопасности осуществляемая на основании заданного администратором множества разрешенных отношений доступа.
Основой дискреционной (дискретной) политики безопасности является дискреционное управление доступом (Discretionary Access Control -DAC), которое определяется двумя свойствами:
· все субъекты и объекты должны быть идентифицированы;
· права доступа субъекта к объекту системы определяются на основании некоторого внешнего по отношению к системе правила (заранее не закладывается в систему).
К достоинствам дискреционной политики безопасности можно отнести относительно простую реализацию соответствующих механизмов защиты. Этим обусловлен тот факт, что большинство распространенных в настоящее время АС обеспечивают выполнение положений именно данной политики безопасности.
Недостаток – статическая система.
Мандатная политика безопасности
Мандатная политика безопасности – политика безопасности основанная на совокупности предоставления доступа, определенного на множестве атрибутов безопасности субъекта и объекта.
Основу мандатной (полномочной) политики безопасности составляет мандатное управление доступом (Mandatory Access Control - MAC), которое подразумевает, что:
· все субъекты и объекты системы должны быть однозначно идентифицированы;
· задан линейно упорядоченный набор меток секретности;
· каждому объекту системы присвоена метка секретности, определяющая ценность содержащейся в нем информации - его уровень секретности в АС;
· каждому субъекту системы присвоена метка секретности, определяющая уровень доверия к нему в АС - максимальное значение метки секретности объектов, к которым субъект имеет доступ; метка секретности субъекта называется его уровнем доступа.
Основная цель мандатной политики безопасности - предотвращение утечки информации от объектов с высоким уровнем доступа к объектам с низким уровнем доступа, т.е. противодействие возникновению в АС информационных каналов сверху вниз.
Достоинство МПБ – более высокая степень надежности, правила ясны и понятны.
Недостатки – реализация систем с политикой безопасности данного типа довольно сложна и требует значительных ресурсов вычислительной системы.
Мандатная политика целостности (Абстрактная модель защиты информации)
Согласно ей все субъекты и объекты предварительно разделяются по нескольким уровням доступа, а затем на их взаимодействия накладываются следующие ограничения:
1) субъект не может вызывать на исполнение субъекты с более низким уровнем доступа;
2) субъект не может модифицировать объекты с более высоким уровнем доступа.
3. Понятие информации, различные его трактовки. Определения информации (по законодательству Российской Федерации, по Н. Винеру, другие).
Информация - отраженное разнообразие, то есть нарушение однообразия.
Информация ( Information )- содержание сообщения или сигнала; сведения, рассматриваемые в процессе их передачи или восприятия, позволяющие расширить знания об интересующем объект
Информация - первоначально - сведения, передаваемые одними людьми другим людям устным, письменным или каким-нибудь другим способом.
Филосовский подход: Информация – это взаимодействие, отражение, познание.
Кибернетический подход: Информация – это характеристики управляющего сигнала, передаваемого по линии связи.
* традиционный (обыденный) - используется в информатике: Информация – это сведения, знания, сообщения о положении дел, которые человек воспринимает из окружающего мира с помощью органов чувств (зрения, слуха, вкуса, обоняния, осязания).
* вероятностный - используется в теории об информации: Информация – это сведения об объектах и явлениях окружающей среды, их параметрах, свойствах и состоянии, которые уменьшают имеющуюся о них степень неопределённости и неполноты знаний.
Федеральный закон Российской Федерации от 27 июля 2006 г. N 149-ФЗ Об информации, информационных технологиях и о защите информации.
1) информация - сведения (сообщения, данные) независимо от формы их представления;
2) информационные технологии - процессы, методы поиска, сбора, хранения, обработки, предоставления, распространения информации и способы осуществления таких процессов и методов;
3) информационная система - совокупность содержащейся в базах данных информации и обеспечивающих ее обработку информационных технологий и технических средств;
4) информационно-телекоммуникационная сеть - технологическая система, предназначенная для передачи по линиям связи информации, доступ к которой осуществляется с использованием средств вычислительной техники;
5) обладатель информации - лицо, самостоятельно создавшее информацию либо получившее на основании закона или договора право разрешать или ограничивать доступ к информации, определяемой по каким-либо признакам;
6) доступ к информации - возможность получения информации и ее использования;
7) конфиденциальность информации - обязательное для выполнения лицом, получившим доступ к определенной информации, требование не передавать такую информацию третьим лицам без согласия ее обладателя;
8) предоставление информации - действия, направленные на получение информации определенным кругом лиц или передачу информации определенному кругу лиц;
9) распространение информации - действия, направленные на получение информации неопределенным кругом лиц или передачу информации неопределенному кругу лиц;
10) электронное сообщение - информация, переданная или полученная пользователем информационно-телекоммуникационной сети;
11) документированная информация - зафиксированная на материальном носителе путем документирования информация с реквизитами, позволяющими определить такую информацию или в установленных законодательством Российской Федерации случаях ее материальный носитель;
12) оператор информационной системы - гражданин или юридическое лицо, осуществляющие деятельность по эксплуатации информационной системы, в том числе по обработке информации, содержащейся в ее базах данных.
Основоположник кибернетики Норберт Винер говорил об информации так:
Информация есть информация, а не материя и не энергия.
То есть Винер относил информацию (в теоретико-информационном понимании этого термина) к фундаментальным понятиям, не выводимым через более простые. Что, впрочем, не мешает нам пояснять смысл понятия информация на конкретных примерах и описывать её свойства. Например, если в ходе взаимодействия между объектами один объект передаёт другому некоторую субстанцию, но при этом сам её не теряет, то эта субстанция называется информацией, а взаимодействие — информационным.
Билет 20
1.Способы передачи сообщений. Синхронный и асинхронный обмен данными между устройствами компьютерной системы
. Асинхронная и синхронная передачиПри обмене данными на физическом уровне единицей информации является бит, поэтому средства физического уровня всегда поддерживают побитовую синхронизацию между приемником и передатчиком.
Канальный уровень оперирует кадрами данных и обеспечивает синхронизацию между приемником и передатчиком на уровне кадров. В обязанности приемника входит распознавание начала первого байта кадра, распознавание границ полей кадра и распознавание признака окончания кадра.
Обычно достаточно обеспечить синхронизацию на указанных двух уровнях - битовом и кадровом, - чтобы передатчик и приемник смогли обеспечить устойчивый обмен информацией. Однако при плохом качестве линии связи (обычно это относится к телефонным коммутируемым каналам) для удешевления аппаратуры и повышения надежности передачи данных вводят дополнительные средства синхронизации на уровне байт.
Такой режим работы называется асинхронным или старт-стопным. Другой причиной использования такого режима работы является наличие устройств, которые генерируют байты данных в случайные моменты времени. Так работает клавиатура дисплея или другого терминального устройства, с которого человек вводит данные для обработки их компьютером.
В асинхронном режиме каждый байт данных сопровождается специальными сигналами «старт» и «стоп» (рис. 2.20, а). Назначение этих сигналов состоит в том, чтобы, во-первых, известить приемник о приходе данных и, во-вторых, чтобы дать приемнику достаточно времени для выполнения некоторых функций, связанных с синхронизацией, до поступления следующего байта. Сигнал «старт» имеет продолжительность в один тактовый интервал, а сигнал «стоп» может длиться один, полтора или два такта, поэтому говорят, что используется один, полтора или два бита в качестве стопового сигнала, хотя пользовательские биты эти сигналы не представляют.

Рис. 2.20. Асинхронная (а) и синхронная (б) передачи на уровне байт
Асинхронным описанный режим называется потому, что каждый байт может быть несколько смещен во времени относительно побитовых тактов предыдущего байта. Такая асинхронность передачи байт не влияет на корректность принимаемых данных, так как в начале каждого байта происходит дополнительная синхронизация приемника с источником за счет битов «старт». Более «свободные» временные допуски определяют низкую стоимость оборудования асинхронной системы.
При синхронном режиме передачи старт-стопные биты между каждой парой байт отсутствуют. Пользовательские данные собираются в кадр, который предваряется байтами синхронизации (рис. 2.20, б). Байт синхронизации - это байт, содержащий заранее известный код, например 0111110, который оповещает приемник о приходе кадра данных. При его получении приемник должен войти в байтовый синхронизм с передатчиком, то есть правильно понимать начало очередного байта кадра. Иногда применяется несколько синхробайт для обеспечения более надежной синхронизации приемника и передатчика. Так как при передаче длинного кадра у приемника могут появиться проблемы с синхронизацией бит, то в этом случае используются самосинхронизирующиеся коды.
2. Вирусы и методы борьбы с ними. Антивирусные программы и пакеты. Программно-аппаратные защиты информационных ресурсов в Интернет. Межсетевые экраны, их функции и назначения
Компьютерный вирус — это своеобразное явление, возникшее в процессе развития компьютерной техники и ИТ. Суть его состоит в том, что программы-вирусы обладают свойствами, присущими живым организмам, — они рождаются, размножаются и умирают. Термин «компьютерный вирус» впервые употребил сотрудник Университета Южной Калифорнии Фред Коэн в 1984 г. на 7-й конференции по безопасности информации, проходившей в США. Этим термином был назван вредоносный фрагмент программного кода. Конечно, это была всего лишь метафора. Фрагмент программного кода похож на настоящий вирус не больше, чем человек на робота. Однако это один из тех редких случаев, когда значение метафоры становилось со временем менее метафорическим и более буквальным.
Компьютерные вирусы способны делать практически то же, что и настоящие вирусы: переходить с одного объекта на другой, изменять способы атаки и мутировать. Проникнув в ИС, компьютерный вирус может ограничиться безобидными визуальными или звуковыми эффектами, но может и вызвать потерю или искажение данных, утечку личной и конфиденциальной информации. В худшем случае ИС, пораженная вирусом, окажется под полным контролем злоумышленника. Сегодня компьютерам доверяют решение многих критических задач. Поэтому выход из строя ИС может иметь весьма тяжелые последствия, вплоть до человеческих жертв.
15.1. Компьютерные вирусы и проблемы антивирусной защиты
Существует много определений компьютерного вируса. Исторически первое определение было дано в 1984 г. Фредом Коэном: «Компьютерный вирус — это программа, которая может заражать другие программы, модифицируя их посредством включения в них своей, возможно измененной копии, причем последняя сохраняет способность к дальнейшему размножению». Ключевыми понятиями в этом определении являются способность вируса к саморазмножению и способность к модификации вычислительного процесса. Указанные свойства компьютерного вируса аналогичны паразитированию биологического вируса в живой природе. С тех пор острота проблемы вирусов многократно возросла — к концу XX в. в мире насчитывалось более 14 300 модификаций вирусов.
В настоящее время под компьютерным вирусом принято понимать программный код, обладающий следующими свойствами:
способностью к созданию собственных копий, не обязательно совпадающих с оригиналом, но обладающих свойствами оригинала (самовоспроизведение);
наличием механизма, обеспечивающего внедрение создаваемых копий в исполняемые объекты вычислительной системы.
Следует отметить, что эти свойства являются необходимыми, но не достаточными. Указанные свойства следует дополнить свойствами деструктивности и скрытности действий данной вредоносной программы в вычислительной среде.
15.1.1. Классификация компьютерных вирусов
На сегодняшний день известны десятки тысяч различных компьютерных вирусов. Несмотря на такое изобилие, число типов вирусов, отличающихся друг от друга механизмом распространения и принципом действия, достаточно ограничено. Существуют и комбинированные вирусы, которые можно отнести одновременно к нескольким типам. Вирусы можно разделить на классы [38, 85]:
по среде обитания;
операционной системе (ОС);
особенностям алгоритма работы;
деструктивным возможностям.
Основной и наиболее распространенной классификацией компьютерных вирусов является классификация по среде обитания, или по типам объектов компьютерной системы, в которыевнедряются вирусы (рис. 15.1). По среде обитания компьютерные вирусы можно разделить:
на файловые;
загрузочные;
макровирусы;
сетевые.
| Среда обитания компьютерных вирусов | ||||||||||
| Файловые | Загрузочные | Макро | Сетевые | |||||||
| Исполняемые файлы (.exe, .com, .bat) | Загрузочный (boot) сектор диска | Документы Word (.doc) | Сетевые протоколы | |||||||
| Файлы-двойники | Сектор системного загрузчика | Документы ExeJ (.xis) | Сетевые команды | |||||||
| Связи между файлами (линк-вирусы) | Указатель на активный boot-сектор | Документы Office | Электронная почта | |||||||
Рис. 15.1. Классификация компьютерных вирусов по среде обитания
Файловые вирусы либо внедряются в выполняемые файлы (наиболее распространенный тип вирусов) различными способами, либо создают файлы-двойники (компаньон-вирусы), либо используют особенности организации файловой системы (link-вирусы).
Загрузочные вирусы записывают себя либо в загрузочный сектор диска (boot-сектор), либо в сектор, содержащий системный загрузчик винчестера (Master Boot Record). Загрузочные вирусы замещают код программы, получающей управление при загрузке системы. В результате при перезагрузке управление передается вирусу. При этом оригинальный boot-сектор обычно переносится в какой-либо другой сектор диска. Иногда загрузочные вирусы называют бутовыми вирусами.
Макровирусы заражают макропрограммы и файлы документов современных систем обработки информации, в частности файлы-документы и электронные таблицы популярных редакторов Microsoft Word, Microsoft Excel и др. Для размножения макровирусы используют возможности макроязыков и при их помощи переносят себя из одного зараженного файла в другие. Вирусы этого типа получают управление при открытии зараженного файла и инфицируют файлы, к которым впоследствии идет обращение из соответствующего офисного приложения.
Сетевые вирусы используют для своего распространения протоколы или команды компьютерных сетей и электронной почты. Иногда сетевые вирусы называют программами типа «червь». Сетевые черви подразделяются на Internet-черви (распространяются по Internet), LAN-черви (распространяются по локальной сети), IRC-черви Internet Relay Chat (распространяются через чаты). Существуют также смешанные типы, которые совмещают в себе сразу несколько технологий.
Существуют много комбинированных типов компьютерных вирусов, например, известен сетевой макро-вирус, который заражает редактируемые документы, а также рассылает свои копии по электронной почте. В качестве другого примера вирусов комбинированного типа можно указать файлово-загрузочные вирусы, заражающие как файлы, так и загрузочные секторы дисков. Такие вирусы имеют усложненный алгоритм работы и применяют своеобразные методы проникновения в систему.
Другим признаком деления компьютерных вирусов на классы является операционная система, объекты которой подвергаются заражению. Каждый файловый или сетевой вирус заражает файлы какой-либо одной или нескольких ОС — DOS, Windows 95/98, Windows NT/2000 и т. д. Макро-вирусы заражают файлы форматов Word, Excel, Microsoft Office. На определенные форматы расположения системных данных в загрузочных секторах дисков также ориентированы загрузочные вирусы.
Естественно, эти схемы классификации не являются единственно возможными, существуют много различных схем типизации вирусов. Однако ограничимся пока классификацией компьютерных вирусов по среде обитания, поскольку она является базовой, и перейдем к рассмотрению общих принципов функционирования вирусов. Анализ основных этапов «жизненногоцикла» этих вредоносных программ позволяет выделить их различные признаки и особенности, которые могут быть положены в основу дополнительных классификаций.
Антивирусные программы и комплексы
Для защиты от компьютерных вирусов могут использоваться:
общие методы и средства защиты информации;
специализированные программы для защиты от вирусов;
профилактические меры, позволяющие уменьшить вероятность заражения вирусами.
Общие средства защиты информации полезны не только для защиты от вирусов. Они используются также как страховка от физической порчи дисков, неправильно работающих программ или ошибочных действий пользователя. Существуют1 две основные разновидности этих средств:
средства копирования информации (применяются для создания копий файлов и системных областей дисков);
средства разграничения доступа (предотвращают несанкционированное использование информации, в частности обеспечивают защиту от изменений программ и данных вирусами, неправильно работающими программами и ошибочными действиями пользователей).
При заражении компьютера вирусом важно его обнаружить. К внешним признакам проявления деятельности вирусов можно отнести следующие:
вывод на экран непредусмотренных сообщений или изображений;
подача непредусмотренных звуковых сигналов;
изменение даты и времени модификации файлов;
исчезновение файлов и каталогов или искажение их содержимого;
частые зависания и сбои в работе компьютера;
медленная работа компьютера;
невозможность загрузки ОС;
существенное уменьшение размера свободной оперативной памяти;
прекращение работы или неправильная работа ранее успешно функционировавших программ;
изменение размеров файлов;
неожиданное значительное увеличение количества файлов на диске.
Однако следует заметить, что перечисленные выше явления необязательно вызываются действиями вируса, они могут быть следствием и других причин. Поэтому правильная диагностика состояния компьютера всегда затруднена и обычно требует привлечения специализированных программ.
Антивирусные программы
Для обнаружения и защиты от компьютерных вирусов разработано несколько видов специальных программ, которые позволяют обнаруживать и уничтожать компьютерные вирусы. Такие программы называются антивирусными. Практически все антивирусные программы обеспечивают автоматическое восстановление зараженных программ и загрузочных секторов. Антивирусные программы используют различные методы обнаружения вирусов.
Методы обнаружения вирусов
К основным методам обнаружения компьютерных вирусов можно отнести следующие:
метод сравнения с эталоном;
эвристический анализ;
антивирусный мониторинг;
метод обнаружения изменений;
• встраивание антивирусов в BIOS компьютера и др. [85].
Метод сравнения с эталоном. Самый простой метод обнаружения заключается в том, что для поиска известных вирусов используются так называемые маски. Маской вируса является некоторая постоянная последовательность кода, специфичная для этого конкретного вируса. Антивирусная программа последовательно просматривает (сканирует) проверяемые файлы в поиске масок известных вирусов. Антивирусные сканеры способны найти только уже известные вирусы, для которых определена маска.
Если вирус не содержит постоянной маски или длина этой маски недостаточно велика, то используются другие методы. Применение простых сканеров не защищает компьютер от проникновения новых вирусов. Для шифрующихся и полиморфных вирусов, способных полностью изменять свой код при заражении новой программы или загрузочного сектора, невозможно выделить маску, поэтому антивирусные сканеры их не обнаруживают.
Эвристический анализ. Для того чтобы размножаться, компьютерный вирус должен совершать какие-то конкретные действия: копирование в память, запись в секторы и т. д. Эвристический анализатор (который является частью антивирусного ядра) содержит список таких действий и проверяет программы и загрузочные секторы дисков и дискет, пытаясь обнаружить в них код, характерный для вирусов. Эвристический анализатор может обнаружить, например, что проверяемая программа устанавливает резидентный модуль в памяти или записывает данные в исполнимый файл программы. Обнаружив зараженный файл, анализатор обычно выводит сообщение на экране монитора и делает запись в собственном или системном журнале. В зависимости от настроек, антивирус может также направлять сообщение об обнаруженном вирусе администратору сети. Эвристический анализ позволяет обнаруживать неизвестные ранее вирусы. Первый эвристический анализатор появился в начале 1990-х гг. Практически все современные антивирусные программы реализуют собственные методы эвристического анализа. В качестве примера такой программы можно указать сканер McAftee VirusScan.
Антивирусный мониторинг. Суть данного метода состоит в том, что в памяти компьютера постоянно находится антивирусная программа, осуществляющая мониторинг всех подозрительных действий, выполняемых другими программами. Антивирусный мониторинг позволяет проверять все запускаемые программы, создаваемые, открываемые и сохраняемые документы, файлы программ и документов, полученные через Интернет или скопированные на жесткий диск с дискеты либо компакт диска. Антивирусный монитор сообщит пользователю, если какая-либо программа попытается выполнить потенциально опасное действие. Пример такой программы — сторож Spider Guard, который входит в комплект сканера Doctor Web и выполняет функции антивирусного монитора.
Метод обнаружения изменений. При реализации этого метода антивирусные программы, называемые ревизорами диска, запоминают предварительно характеристики всех областей диска, которые могут подвергнуться нападению, а затем периодически проверяют их. Заражая компьютер, вирус изменяет содержимое жесткого диска: например, дописывает свой код в файл программы или документа, добавляет вызов программы-вируса в файл AUTOEXEC.BAT, изменяет загрузочный сектор, создает файл-спутник. При сопоставлении значений характеристик областей диска антивирусная программа может обнаружить изменения, сделанные как известным, так и неизвестным вирусом.
Встраивание антивирусов в BIOS компьютера. В системные платы компьютеров встраивают простейшие средства защиты от вирусов. Эти средства позволяют контролировать все обращения к главной загрузочной записи жестких дисков, а также к загрузочным секторам дисков и дискет. Если какая-либо программа пытается изменить содержимое загрузочных секторов, срабатывает защита, и пользователь получает соответствующее предупреждение. Однако эта защита не очень надежна. Известны вирусы, которые пытаются отключить антивирусный контроль BIOS, изменяя некоторые ячейки в энергонезависимой памяти (CMOS-памяти) компьютера.
Антивирусные программные комплексы
У каждого типа антивирусных программ есть свои достоинства и недостатки. Только комплексное использование нескольких типов антивирусных программ может привести к приемлемому результату. Программные средства защиты представляют собой комплекс алгоритмов и программ, нацеленных на контроль и исключение проникновения несанкционированной информации.
Существует спектр программных комплексов, предназначенных для профилактики заражения вирусом, обнаружения и уничтожения вирусов [9]. Они обладают универсальностью, гибкостью, адаптивностью и др.
Перечислим наиболее распространенные антивирусные программные комплексы:
антивирус Касперского (AVP) Personal;
антивирус Dr.Web;
антивирус Symantec Antivirus;
антивирус McAfee;
антивирус AntiVir Personal Edition.
Межсетевой экран (МЭ) — это специализированный комплекс межсетевой защиты, называемый также брандмауэром или системой firewali МЭ позволяет разделить общую сеть на две части (или более) и реализовать набор правил, определяющих условия прохождения пакетов с данными через границу из одной части общей сети в другую. Как правило, эта граница проводится между корпоративной (локальной) сетью предприятия и глобальной сетью Internet.
Обычно МЭ защищают внутреннюю сеть предприятия от «вторжений» из глобальной сети Internet, хотя они могут использоваться и для защиты от «нападений» из корпоративной интра-сети, к которой подключена локальная сеть предприятия. Технология МЭ одна из самых первых технологий защиты корпоративных сетей от внешних угроз.
Для большинства организаций установка МЭ является необходимым условием обеспечения безопасности внутренней сети.
Функции МЭ
Для противодействия несанкционированному межсетевому доступу МЭ должен располагаться между защищаемой сетью организации, являющейся внутренней, и потенциально враждебной внешней сетью (рис. 9.1). При этом все взаимодействия между этими сетями должны осуществляться только через МЭ. Организационно МЭ входит в состав защищаемой сети.
МЭ, защищающий сразу множество узлов внутренней сети, призван решить:
• задачу ограничения доступа внешних (по отношению к защищаемой сети) пользователей к внутренним ресурсамкорпоративной сети. К таким пользователям могут быть отнесены партнеры, удаленные пользователи, хакеры и даже сотрудники самой компании, пытающиеся получить доступ к серверам баз данных, защищаемых МЭ;
• задачу разграничения доступа пользователей защищаемой
сети к внешним ресурсам. Решение этой задачи позволяет,
например, регулировать доступ к серверам, не требующим
ся для выполнения служебных обязанностей.
До сих пор не существует единой общепризнанной классификации МЭ. Их можно классифицировать, например, по следующим основным признакам [32].
По функционированию на уровнях модели OSI:
пакетный фильтр (экранирующий маршрутизатор — screening router);
шлюз сеансового уровня (экранирующий транспорт);
прикладной шлюз (application gateway);
шлюз экспертного уровня (stateful inspection firewall), По используемой технологии:
контроль состояния протокола (stateful inspection);
на основе модулей посредников (proxy). По исполнению:
аппаратно-программный;
программный.
По схеме подключения:
• схема единой защиты сети;
схема с защищаемым закрытым и не защищаемым открытым сегментами сети;
схема с раздельной защитой закрытого и открытого сегментов сети. Фильтрация трафика
2.Аппаратные и программные средства обработки звука
Звук– упругие волны, распространяющиеся в газах, жидкостях и твёрдых телах и воспринимаемые ухом человека и животных.
Звуковые подсистемы компьютера– подсистемы, предназначенные для записи звуковых сигналов от внешних источников; воспроизведения ранее записанных; ликвидирования; одновременной записи и воспроизведения звуковых знаков; обработки звуковых знаков; управления панорамой стереофонического звукового сигнала; обработки звукового сигнала в соответствии с алгоритмами объемного звучания; генерирования с помощью синтезатора звучания музыкальных инструментов и человеческой речи; воспроизведение звуковых компакт дисков; управления работой внешних электронных музыкальных инструментов; выполнения управления компьютера с помощью голоса.
К началу параграфа
Аппаратные средства обработки звука:
модуль записи, воспроизведения звука, модуль синтезатора, модуль интерфейса, модуль микшера, акустические системы.
К началу параграфа
Программные средства обработки звука:
музыкальные редакторы, синтезаторы звука (речи), редакторы оцифровок реальных звуков, генераторы стили, программы для улучшения качества фонограмм.
Программы-секвенсеры
– программы обработки музыкальных файлов, которые позволяют редактировать параметры любой ноты или группы нот (громкость, высота, местоположение, инструмент, панорама), стирать, перемещать, добавлять ноты, менять скорость проигрывания мелодии без изменения высоты звука, и наоборот – поднять или опустить мелодию на любое число тонов без изменения скорости.
Программы-микшеры
– программы, которые позволяют по ходу дела регулировать громкость и стереобаланс по каждому звуковому каналу.
Билет №2
1. Системы. Основные определения и закономерности систем. Классификация систем по уровню сложности. Системный подход к построению ИС.
ОТВЕТ:
Система - комплекс взаимодействующих элементов или совокупность элементов, находящихся в определенных отношениях друг с другом и со средой.
Система - множество предметов вместе со связями между предметами и между их признаками.
Система - совокупность элементов, находящихся в отношениях и связях между собой определенным образом и образующих некоторое целостное единство.
Элемент. Под элементом принято понимать простейшую неделимую часть системы. Элемент - это предел членения системы с точек зрения решения конкретной задачи и поставленной цели.
Подсистема. Система может быть разделена на элементы не сразу, а последовательным расчленением на подсистемы, которые представляют собой компоненты более крупные, чем элементы, и в то же время более детальные, чем система в целом. Возможность деления системы на подсистемы связана с вычленением совокупностей взаимосвязанных элементов, способных выполнять относительно независимые функции, подцели, направленные на достижение общей цели системы.
Структура. Структура отражает наиболее существенные взаимоотношения между элементами и их группами (компонентами, подсистемами), которые мало меняются при изменениях в системе и обеспечивают существование системы и ее основных свойств. Структура - это совокупность элементов и связей между ними. Структура может быть представлена графически, в виде теоретико-множественных описаний, матриц, графов и других языков моделирования структур.
Структуру часто представляют в виде иерархии. Иерархия - это упорядоченность компонентов по степени важности (многоступенчатость, служебная лестница). Между уровнями иерархической структуры могут существовать взаимоотношения строгого подчинения компонентов (узлов) нижележащего уровня одному из компонентов вышележащего уровня, т. е. отношения так называемого древовидного порядка.
Связь. Понятие «связь» входит в любое определение системы наряду с понятием «элемент» и обеспечивает возникновение и сохранение структуры и целостных свойств системы. Это понятие характеризует одновременно и строение (статику), и функционирование (динамику) системы.
Важную роль в системах играет понятие «обратной связи». Это понятие, легко иллюстрируемое на примерах технических устройств. Обратная связь является основой саморегулирования и развития систем, приспособления их к изменяющимся условиям существования.
Состояние. Понятием «состояние» обычно характеризуют мгновенную фотографию, «срез» системы, остановку в ее развитии. Его определяют либо через входные воздействия и выходные сигналы (результаты), либо через макропараметры, макросвойства системы (например, давление, скорость, ускорение - для физических систем; производительность, себестоимость продукции, прибыль - для экономических систем).
Внешняя среда. Под внешней средой понимается множество элементов, которые не входят в систему, но изменение их состояния вызывает изменение поведения системы.
Модель. Под моделью системы понимается описание системы, отображающее определенную группу ее свойств. Углубление описания - детализация модели.
Создание модели системы позволяет предсказывать ее поведение в определенном диапазоне условий.
Модель функционирования (поведения) системы - это модель, предсказывающая изменение состояния системы во времени.
Равновесие - это способность системы в отсутствие внешних возмущающих воздействий (или при постоянных воздействиях) сохранить свое состояние сколь угодно долго.
Устойчивость. Под устойчивостью понимается способность системы возвращаться в состояние равновесия после того, как она была из этого состояния выведена под влиянием внешних возмущающих воздействий.
Развитие. Понятие развития помогает объяснить сложные термодинамические и информационные процессы в природе и обществе.
Цель. Применение понятия «цель» и связанных с ним понятий целенаправленности, целеустремленности, целесообразности сдерживается трудностью их однозначного толкования в конкретных условиях. Это связано с тем, что процесс целеобразования и соответствующий ему процесс обоснования целей в организационных системах весьма сложен и не до конца изучен.
Закономерности систем
Целостность. Закономерность целостности проявляется в системе в возникновении новых интегративных качеств, не свойственных образующим ее компонентам. Чтобы глубже понять закономерность целостности, необходимо рассмотреть две ее стороны:
1) свойства системы (целого) не являются суммой свойств элементов или частей (несводимость целого к простой сумме частей);
2) свойства системы (целого) зависят от свойств элементов, частей (изменение в одной части вызывает изменение во всех остальных частях и во всей системе).
Свойство целостности связано с целью, для выполнения которой предназначена система.
Интегративность. Этим термином подчеркивают интерес не к внешним факторам проявления целостности, а к более глубоким причинам формирования этого свойства и, главное, - к его сохранению.
Интегративными называют системообразующие, системоохраняющие факторы, важными среди которых являются неоднородность и противоречивость ее элементов.
Коммуникативность. Система образует особое единство со средой; как правило, любая исследуемая система представляет собой элемент системы более высокого порядка; элементы любой исследуемой системы, в свою очередь, обычно выступают как системы более низкого порядка. Иными словами, система не изолирована, она связана множеством коммуникаций со средой, которая не однородна, а представляет собой сложное образование, содержит надсистему (или даже надсистемы), задающую требования и ограничения исследуемой системе, подсистемы и системы одного уровня с рассматриваемой.
Иерархичность. Иерархичность как закономерность заключается в том, что закономерность целостности проявляется на каждом уровне иерархии. Благодаря этому на каждом уровне возникают новые свойства, которые не могут быть выведены как сумма свойств элементов. При этом важно, что не только объединение элементов в каждом узле приводит к появлению новых свойств, которых у них не было, и утрате некоторых свойств элементов, но и что каждый член иерархии приобретает новые свойства, отсутствующие у него в изолированном состоянии.
Эквнфинальвостъ. Характеризует предельные возможности систем определенного класса сложности.
Историчность. Время является непременной характеристикой системы, поэтому каждая система исторична, и это такая же закономерность, как целостность, интегративность и др.
Классификация систем
Системы разделяются на классы по различным признакам, и в зависимости от решаемой задачи можно выбрать разные принципы классификации. При этом систему можно охарактеризовать одним или несколькими признаками.
Системы классифицируются следующим образом:
по виду отображаемого объекта - технические, биологические и др.;
по виду научного направления - математические, физические, химические и т. п.;
по виду формализованного аппарата представления системы — детерминированные и стохастические;
по типу целеустремленности - открытые и закрытые;
по сложности структуры и поведения - простые и сложные;
по степени организованности - хорошо организованные, плохо организованные (диффузные), самоорганизующиеся системы.
Системный подход
Этот термин начал применяться в работах, в которых элементы общей теории систем использовались для практических приложений. Используя этот термин, подчеркивали необходимость исследования объекта с разных сторон, комплексно, в отличие от ранее принятого разделения исследований на физические, химические и др.
Суть в том, что каждое явление рассматривается во взаимосвязи с другими. Системный подход сосредотачивает внимание на объекте как на едином целом, а не на его частях, как бы совершенно они не выполняли свои функции. Системный подход связан с общей активностью системы для достижения цели.
Основные этапы формирования системы:
- определение цели;
- определение требований к системе (определение границ объекта);
- определение функциональных подсистем, их структуры и задач в общей системе управления;
- выявление и анализ связей между подсистемами;
- установление порядка функционирования и развития всей системы в целом.
Для системы характерно изменение состояний объектов, которое с течением времени происходит в результате взаимодействия объектов в различных процессах и с внешней средой.
В результате такого поведения системы важно соблюдение следующих принципов:
- эмерджентности, то есть целостности системы на основе общей структуры, когда поведение отдельных объектов рассматривается с позиции функционирования всей системы;
- гомеостазиса, то есть обеспечения устойчивого функционирования системы и достижения общей цели;
- адаптивности к изменениям внешней среды и управляемости посредством воздействия на элементы системы;
- обучаемости путем изменения структуры системы в соответствии с изменением целей системы.
2. Ресурсы компьютерной системы. Классификация. Распределение и управление ресурсами. Проблемы взаимодействующих процессов.
ОТВЕТ:
Операционная система не только предоставляет пользователям и программистам удобный интерфейс к аппаратным средствам компьютера, но и является механизмом, распределяющим ресурсы компьютера.
Вычислительными ресурсами называются возможности, обеспечиваемые компонентами вычислительной системы, расходуемые (занимаемые) в процессе её работы.
Типы вычислительных ресурсов
Процессорное время
Память (оперативная и виртуальная)
Место на жёстком диске (постоянная память)
Пропускная способность сети.
Ресурсы распределяются между процессами.
Процесс (задача) программа в стадии выполнения.
Программа — это статический объект, представляющий собой файл с кодами и данными.
Процесс — это динамический объект, который возникает в операционной системе после того, как пользователь или сама операционная система решает «запустить программу на выполнение», то есть создать новую единицу вычислительной работы.
Управление ресурсами вычислительной системы с целью наиболее эффективного их использования является назначением операционной системы.
ОС также отслеживает и разрешает конфликты, возникающие при обращении нескольких процессов к одному и тому же устройству ввода-вывода или к одним и тем же данным. Критерий эффективности, в соответствии с которым ОС организует управление ресурсами компьютера, может быть различным.
Управление ресурсами включает решение следующих общих, не зависящих от типа ресурса задач:
- планирование ресурса — то есть определение, какому процессу, когда и в каком количестве (если ресурс может выделяться частями) следует выделить данный ресурс;
- удовлетворение запросов на ресурсы;
- отслеживание состояния и учет использования ресурса — то есть поддержание оперативной информации о том, занят или свободен ресурс и какая доля ресурса уже распределена;
- разрешение конфликтов между процессами.
Для решения этих общих задач управления ресурсами разные ОС используют различные алгоритмы, особенности которых в конечном счете и определяют облик ОС в целом, включая характеристики производительности, область применения и даже пользовательский интерфейс.
Задача организации эффективного совместного использования ресурсов несколькими процессами является весьма сложной, и сложность эта порождается в основном случайным характером возникновения запросов на потребление ресурсов. В мультипрограммной системе образуются очереди заявок от одновременно выполняемых программ к разделяемым ресурсам компьютера: процессору, странице памяти, к принтеру, к диску.
Операционная система организует обслуживание этих очередей по разным алгоритмам:
в порядке поступления,
на основе приоритетов,
кругового обслуживания и т. д.
Взаимодействующие процессы
Для достижения поставленной цели различные процессы (возможно, даже принадлежащие разным пользователям) могут исполняться псевдопараллельно на одной вычислительной системе или параллельно на разных вычислительных системах, взаимодействуя между собой.
Одной из причин является повышение скорости работы. Когда один процесс ожидает наступления некоторого события (например, окончания операции ввода-вывода), другие в это время могут заниматься полезной работой, направленной на решение общей задачи. В многопроцессорных вычислительных системах программа разделяется на отдельные кусочки, каждый из которых будет исполняться на своем процессоре.
Второй причиной является совместное использование данных. Различные процессы могут, к примеру, работать с одной и той же динамической базой данных или с разделяемым файлом, совместно изменяя их содержимое.
Третьей причиной является модульная конструкция какой-либо системы. Типичным примером может служить микроядерный способ построения операционной системы, когда ее различные части представляют собой отдельные процессы, общающиеся путем передачи сообщений через микроядро.
Наконец, это может быть необходимо просто для удобства работы пользователя, желающего, например, редактировать и отлаживать программу одновременно. В этой ситуации процессы редактора и отладчика должны уметь взаимодействовать друг с другом.
Различные процессы в вычислительной системе изначально представляют собой обособленные сущности. Работа одного процесса не должна приводить к нарушению работы другого процесса. Для этого, в частности, разделены их адресные пространства и системные ресурсы, и для обеспечения корректного взаимодействия процессов требуются специальные средства и действия операционной системы.
3. Функциональная и структурная организация обработки мультимедийной информации.
ОТВЕТ:
Это алгоритмы обработки данных. Как происходит сжатие видео, например, звука и т.д.
Сжатие видео — уменьшение количества данных, используемых для представления видеопотока. Сжатие видео позволяет эффективно уменьшать поток, необходимый для передачи видео по каналам радиовещания, уменьшать пространство, необходимое для хранения данных на CD, DVD или жёстких дисках.
Недостатки: при использования сжатия с потерями появляются характерные и хорошо заметные артефакты — например, блочность (разбиение изображения на блоки 8x8 пикселей), замыливание (потеря мелких деталей изображения) и т. д.
Существуют и способы сжатия видео без потерь, но на сегодняшний день они уменьшают данные недостаточно.
Видео — это по существу трёхмерный массив цветных пикселей. Два измерения означают вертикальное и горизонтальное разрешение кадра, а третье измерение — это время. Кадр — это массив всех пикселей, видимых камерой в данный момент времени, или просто изображение. В видео возможны также так называемые полукадры.
Помимо сжатия с потерями видео также можно сжимать и без потерь.
Сжатие без потерь — метод сжатия информации представленной в цифровом виде, при использовании которого закодированная информация может быть восстановлена с точностью до бита. При этом оригинальные данные полностью восстанавливаются из сжатого состояния. Этот тип сжатия принципиально отличается от сжатия данных с потерями. Для каждого из типов цифровой информации, как правило, существуют свои оптимальные алгоритмы сжатия без потерь.
Сжатие данных без потерь используется во многих приложениях. Например, оно используется во всех файловых архиваторах. Оно также используется как компонент в сжатии с потерями.
Сжатие без потерь используется, когда важна идентичность сжатых данных оригиналу. Обычный пример — исполняемые файлы и исходный код. Некоторые графические файловые форматы, такие как PNG или GIF, используют только сжатие без потерь; тогда как другие (TIFF, MNG) могут использовать сжатие как с потерями, так и без.
Техника сжатия без потерь
Сжатие цифровых данных без потерь делается путем замены оригинальной последовательности битов другой последовательностью - содержащей описание оригинальной последовательности. При этом, сокращение происходит за счет повторяющихся фрагментов. При необходимости получить исходный поток данных производится восстановление его по потоку-описанию.
Сжатие видео и технология компенсации движения
Одна из наиболее мощных технологий позволяющая повысить степень сжатия — это компенсация движения. Её использование означает, что последующие кадры в потоке используют похожесть областей в предыдущих кадрах для увеличения степени сжатия.
Компенсация движения - один из основных алгоритмов, применяемых при обработке и сжатии видеоданных. Алгоритм использует похожесть соседних кадров в видео последовательности и находит вектора движения отдельных частей изображения.
Использование компенсации позволяет при сжатии многократно увеличить степень сжатия за счет удаления избыточности в виде совпадающих частей кадров.
Сжатие звука — совокупность технологий по уменьшению объема данных, необходимых для передачи и хранения звуковой информации. Базируясь на основных принципах сжатия информации, при сжатии звука используются особенности звуковой информации, особенности природы, механизмов проихождения звука (речь, музыкальные инструменты и т.д.) и звуковосприятия.
Представление звуковой информации в цифровом виде
Звук представляет собой аналоговый сигнал, непрерывный во времени и принимающий произвольные неограниченные величины. Сигналы, которыми оперирует цифровая техника, являются дискретными и принимают конечное число значений. Для того, чтобы иметь возможность передавать, хранить и обрабатывать звук посредством цифровой техники необходимо преобразование его цифровой вид - квантование.
При квантовании с аналогового сигнала производятся выборки через определенные промежутки времени (временное квантование), а затем сопоставление каждой выборке конечной дискретного значения — цифрового кода (квантование величины). Такое представление имеет название импульсно–кодовая модуляция (ИКМ). Обратное преобразование производится в обратном порядке: цифровое представление → сопоставление коду действительной величины → интерполяция отсчетов → аналоговый сигнал.
Многие системы сжатия звука имеют механизмы адаптации к характеру звука посредством изменения параметров и алгоритмов кодирования.
Основные механизмы:
- Изменение размера и формы окна анализа.
- Выбор кодовых книг для упаковки коэффициентов. В различном виде присутствует практически по всех кодеках.
- Выделение и раздельное кодирование шума.
- Экстраполяция спектра и кодирование гармоник.
- Адаптивное линейное предсказание и кодирование ошибки. (LPC, FLAC).
Билет № 13
1. Информационное обеспечение АИС, перспективы развития БД
Информационные ресурсы – это все виды информации, доступные пользователю и необходимые для выполнения стоящих перед ним задач и (или) повышающие эффективность его деятельности.
Если провести аналогию с природными и производственными ресурсами, то можно сказать, что для превращения природных ресурсов (полезные ископаемые, вода и т.д.) в производственные их подвергают определенной первичной обработке, например, обогащение полезных ископаемых. Информационные ресурсы, для того, чтобы они могли быть использованы в вышеперечисленных процессах, также должны быть подвергнуты определенной обработке. После первичной обработки они накапливаются в информационных фондах предприятий, организаций и др.Информационные фонды – это информационные ресурсы, организованные специальным образом для повышения эффективности информационной работы.
Сбор, упорядочение, хранение, обработку и выдачу пользователям информационных ресурсов осуществляют АИС. Под информационным обеспечением АИС понимается система реализованных решений по объемам, размещению и формам организации информации, циркулирующей в АИС при ее функционировании. Специфическими формами организации информации в АИС являются:
база данных (БД) – поименованная, целостная, единая система данных, организованная по определенным правилам, которые предусматривают общие принципы описания, хранения и обработки данных;
база знаний (БЗ) – формализованная система сведений о некоторой предметной области, содержащая данные о свойствах объектов, закономерностях процессов и явлений и правила использования в задаваемых ситуациях этих данных для принятия новых решений.
В БЗ центральным понятием является – представление знаний в информационных системах, т.е. формализация метапроцедур, используемых биологическими объектами при решении интеллектуальных задач.
В современных АИС все средства обработки данных организовываются в виде системы управления базами данных (СУБД) – совокупности программных и языковых средств, предназначенных для управления данными в базе данных, ведения базы данных, обеспечения многопользовательского доступа к данным. В СУБД информация описывается с помощью метаданных – данных, которые являются описанием других данных, их характеристик, местонахождения, способов использования и тому подобное.
новым направлением в развитии систем управления базами данных является направление, связанное с отказом от нормализации отношений. Во многом нормализация отношений нарушает естественные иерархические связи между объектами, которые достаточно распространены в нашем мире. Возможность сохранять их на концептуальном (но не на физическом) уровне позволяет пользователям более естественно отражать семантику предметной области.
Следующим направлением развития баз данных является появление так называемых темпоральных баз данных, то есть баз данных, чувствительных ко времени. БД моделирует состояние объектов предметной области в текущий момент времени. Однако в ряде прикладных областей необходимо исследовать именно изменение состояний объектов во времени. Если использовать чисто реляционную модель, то требуется строить и хранить дополнительно множество отношений, имеющих одинаковые схемы, отличающиеся временем существования или снятия данных. Гораздо перспективнее и удобнее для этого использовать специальные механизмы снятия срезов по времени для определенных объектов БД. Основной тезис темпоральных систем состоит в том, что для любого объекта данных, созданного в момент времени t1 и уничтоженного в момент времени t2, в БД сохраняются (и доступны пользователям) все его состояния во временном интервале [t1, t2).
И направлением развития баз данных является перспектива взаимодействия Web-технологии и баз данных. Простота и доступность Web-технологии, возможность свободной публикации информации в Интернете, так чтобы она была доступна любому количеству пользователей, несомненно, сразу завоевали авторитет у большого числа пользователей. Однако процесс накопления слабоструктурированной информации быстро проходит и далее наступает момент обеспечения эффективного управления этой разнообразной информацией.
Во-первых, дизайнеры крупнейших Web- серверов с миллионами страниц содержимого постепенно перекладывают задачи управления страницами с файловых систем на системы баз данных. Во-вторых, системы баз данных используются в качестве серверов электронной коммерции, помогая отслеживать профили, транзакции, счета и инвентарные листы. В-третьих, ведущие Web-издатели примериваются к использованию систем баз данных для хранения информационного наполнения, имеющего сложную природу. Однако в подавляющей части Web-узлов, особенно в тех, которые принадлежат провайдерам и держателям поисковых машин, технология баз данных не применяется. В небольших Web-узлах, как правило, используются статические HTML-страницы, хранящиеся в обычных файловых системах.
2) Законодательный уровень обеспечения информационной безопасности. Основные законодательные акты РФ в области защиты информации. Классификация автоматизированных систем по классам защищенности. Показатели защищенности средств вычислительной техники от несанкционированного доступа.
законодательный уровень информационной безопасности
Законодательный уровень является важнейшим для обеспечения информационной безопасности. Большинство людей не совершают противоправных действий не потому, что это технически невозможно, а потому, что это осуждается и/или наказывается обществом, потому, что так поступать не принято.
на законодательном уровне две группы мер:
меры, направленные на создание и поддержание в обществе негативного (в том числе с применением наказаний) отношения к нарушениям и нарушителям информационной безопасности (назовем их мерами ограничительной направленности);
направляющие и координирующие меры, способствующие повышению образованности общества в области информационной безопасности, помогающие в разработке и распространении средств обеспечения информационной безопасности (меры созидательной направленности).
Можно выделить четыре уровня правового обеспечения информационной безопасности. Первый уровень образуют международные договоры, к которым присоединилась Российская Федерация, и федеральные законы России
Второй уровень правового обеспечения информационной безопасности составляют подзаконные акты, к которым относятся указы Президента РФ и постановления Правительства РФ, а так¬же письма Высшего Арбитражного Суда РФ и постановления пленумов Верховного Суда РФ.
Третий уровень правового обеспечения информационной безо¬пасности составляют государственные стандарты (ГОСТы) в об¬ласти защиты информации, руководящие документы, нормы, методики и классификаторы, разработанные соответствующими государственными органами. В качестве примеров можно привести следующие документы:
Четвертый уровень правового обеспечения информационной безопасности образуют локальные нормативные акты, положения, инструкции, методические рекомендации и другие документы по комплексной защите информации в КС конкретной организации.
Основные законодательные акты РФ в области защиты информации.
Закон «Об электронной цифровой подписи»
ФЕДЕРАЛЬНЫЙ ЗАКОН «ОБ ЭЛЕКТРОННОЙ ЦИФРОВОЙ ПОДПИСИ» (от 10 января 2002 года
Закон "О техническом регулировании"
Федеральный закон от 27 декабря 2002 г.
Закон "О коммерческой тайне"
Федеральный закон Российской Федерации от 29 июля 2004 г
Закон "О персональных данных"
Федеральный закон Российской Федерации от 27 июля 2006 г.
Закон "О безопасности"
Закон Российской Федерации "О безопасности" от 5 марта 1992 г
Закон "О государственной тайне"
Закон Российской Федерации "О государственной тайне" от 21 июня 1993 г
Кодекс Российской Федерации об административных правонарушениях
От 30 декабря 2001 года № 195-ФЗ (выписка в части вопросов защиты информации)
Уголовный кодекс Российской Федерации
От 13 июня 1996 года № 63-ФЗ (выписка в части вопросов защиты информации)
Закон "Об информации, информационных технологиях и о защите информации"
ФЕДЕРАЛЬНЫЙ ЗАКОН от 27 июля 2006 г.
Закон "О ратификации Соглашения о сотрудничестве государств - участников Содружества Независимых Государств в борьбе с преступлениями в сфере компьютерной информации"
Конвенция о защите физических лиц при автоматизированной обработке персональных данных
(Страсбург, 28 января 1981 г. с изменениями от 15 июня 1999 г.)
Гражданский кодекс РФ. Часть четвертая. Интеллектуальная собственность
Конституция:
В соответствии со статьей 24 Конституции, органы государственной власти и органы местного самоуправления, их должностные лица обязаны обеспечить каждому возможность ознакомления с документами и материалами, непосредственно затрагивающими его права и свободы
Статья 23 Конституции гарантирует право на личную и семейную тайну, на тайну переписки, телефонных переговоров, почтовых, телеграфных и иных сообщений,
статья 29 - право свободно искать, получать, передавать, производить и распространять информацию любым законным способом в том числе в процессе их передачи по компьютерным сетям, а также доступ к средствам защиты информации.
Уголовный кодекс Глава 28 - "Преступления в сфере компьютерной информации" - содержит три статьи:
статья 272. Неправомерный доступ к компьютерной информации;
статья 273. Создание, использование и распространение вредоносных программ для ЭВМ;
статья 274. Нарушение правил эксплуатации ЭВМ, системы ЭВМ или их сети.
Законе "О государственной тайне" В нем гостайна определена как защищаемые государством сведения в различных облостях, распространение которых может нанести ущерб безопасности Российской Федерации.
Закон "Об информации, информационных технологиях и о защите информации"
В нем даются основные определения, намечаются направления, в которых должно развиваться законодательство в данной области, регулируются отношения, возникающие при:
осуществлении права на поиск, получение, передачу, производство и распространение информации;
применении информационных технологий;
обеспечении защиты информации.
Автоматизи́рованная систе́ма (АС) — система, состоящая из персонала, комплекса средств автоматизации его деятельности и регламентов работы, реализующая информационную технологию выполнения установленных функций.
Автоматизи́рованная систе́ма (АС) — это организованная совокупность средств, методов и мероприятий, используемых для регулярной обработки информации для решения задачи.
Выбор методов и средств защиты определяется важностью обрабатываемой информации,
следующие этапы классификации АС:
разработка и анализ исходных данных;
выявление основных признаков АС, необходимых для классификации;
сравнение выявленных признаков АС с классифицируемыми;
присвоение АС соответствующего класса защиты информации от НСД.
Для проведения классификации конкретной АС необходимо провести анализ следующих данных:
перечень защищаемых информационных ресурсов АС и их уровень конфиденциальности;
перечень лиц, имеющих доступ к штатным средствам АС, с указанием их уровня полномочий;
матрицу доступа или полномочий субъектов доступа по отношению к защищаемым информационным ресурсам АС;
режим обработки данных в АС.
Показатель защищенности средств вычислительной техники-Характеристика средств вычислительной техники, влияющая на защищенность и описываемая определенной группой требований.
классификация средств вычислительной техники по уровню защищенности от несанкционированного доступа к информации на базе перечня показателей защищенности и совокупности описывающих их требований.
Под средствами вычислительной техники понимаются совокупность программных и технических элементов систем обработки информации, способных функционировать самостоятельно или в составе других систем. Показатели защищенности содержат требования средств вычислительной техники от несанкционированного доступа к информации и применяются к общесистемным программным средствам и операционным системам . Конкретные перечни показателей определяются классы защищенности средств вычислительной техники и описываются совокупностью требований. Совокупность всех средств защиты составляет комплекс средств защиты.
| Показатель защищенности | 6 | 5 | 4 | 3 | 2 | 1 |
| Очистка памяти | - | + | + | + | = | = |
| Маркировка документов | - | - | + | = | = | = |
| Защита ввода и вывода на отчуждаемый физический носитель информации | - | - | + | = | = | = |
| Идентификация и аутентификация | + | = | + | = | = | = |
| Регистрация | - | + | + | + | = | = |
| Взаимодействие пользователя с комплексом средств защиты | - | - | - | + | = | = |
| Целостность комплекса средств защиты | - | + | + | + | = | = |
| Тестирование | + | + | + | + | + | = |
| Руководство пользователя | + | = | = | = | = | = |
| Руководство по комплексу средств защиты | + | + | = | + | + | = |
| Текстовая документация | + | + | + | + | + | = |
| Конструкция (проектная) документация | + | + | + | + | + | + |
Примечание: «-» — нет требований к данному классу; «+» – новые или дополнительные требования; «=» — требования совпадают с требованиями к средствам вычислительной техники предыдущего класса.
3) Цветовые модели, их характеристики и области применения
Способ разделения цветового оттенка на составляющие компоненты называется цветовой моделью.
Цветовая модель - это метод для определения цветов. Полиграфическая промышленность использует модель CMYK. Такие приложения, использующие компьютерные мониторы, как графические пакеты для Интернет, используют RGB. Для работы очень важно выбрать правильную модель
М
одель RGB
при цветовосприятии человеческим глазом непосредственно воспринимаются три цвета — красный, зеленый, синий. Остальные цвета образуются при смешивании этих трех основных. Именно на данных цветах основана цветовая модель RGB (по первым буквам английских названий базовых цветов этой модели —Red (красный), Green (зеленый), Blue (синий)). При сложении (смешении) двух основных цветов результат осветляется (речь идет о световых лучах определенного цвета, чем больше света, тем светлее).
Смешав три базовых цвета в разных пропорциях, можно получить все многообразие оттенков. В модели RGB количество каждого компонента измеряется числом от 0 до 255, то есть имеет 256 градаций. Цветовые компоненты иначе называются каналами.
RGB — трехканальная цветовая модель.
Модель CMYK
В цвета модели CMYK окрашено все, что не светится собственным светом. Окрашенные несветящиеся объекты поглощают часть спектра белого света, их освещающего. В зависимости от того, в какой области спектра происходит поглощение, объекты окрашены в разные цвета.
Ц
вета, которые сами не излучают, а используют белый свет, вычитая из него определенные цвета называются субтративными («вычитательными»).
Для их описания используется модель CMYK. В этой модели основные цвета образуются путем вычитания из белого цвета основных аддитивных цветов модели RGB. Понятно, что в таком случае и основных субтративных цветов будет три, тем более, что они уже упоминались:
белый - красный = голубой
белый - зеленый - пурпурный
белый - синий = желтый
При смешениях двух субтративных составляющих результирующий цвет затемняется (поглощено больше света, положено больше краски).
CMYK — четырехканальная цветовая модель. С — это Cyan (голубой), М — это Magenta (пурпурный), Y — Yellow(желтый), а (внимание!) К — это BlасК (черный), то есть из слова взята не первая, а последняя буква.
Модел CMYK аналогична модели RGB, в которой перемещено начало координат.
Применение. Так как модель описывает реальные полиграфические краски, ее используют для получения полиграфического оттиска
Модель HSB
Эта цветовая модель является наиболее простой для понимания. Кроме того, она равно применима и для аддитивных, и для субстративных цветов.
HSB — это трехканальная модель цвета. Она получила название по первым буквам английских слов: цветовой тон (hue), насыщенность (saturation), яркость (
brightness).
Характеризующие параметры цвета.
Цветовой тон (собственно цвет).
Насыщенность (процент добавления к цвету белой краски) — это параметр цвета, определяющий его чистоту.
Яркость (процент добавления черной краски) — это параметр цвета, определяющий освещенность или затемненность цвета.
Уменьшение яркости цвета означает его зачернение.
| (+) модели | (-) модели |
| неплохо согласуется с восприятием человека: цветовой тон является эквивалентом длины волны света, насыщенность — интенсивности волны, а яркость — количества света данная модель является удобной и понятной и имеет большой цветовой охват | необходимость преобразования в модельRGB для отображения на экране монитора или в модель CMYK для получения полиграфического оттиска, а любое преобразование из модели в модель не обходится без потерь цветовоспроизведения |
Модель L*a*b
L*a*b — трехканальная цветовая модель. аппаратно-независимой моделью и определять цвета без оглядки на особенности устройства (монитора, принтера, п
ечатного станка и т. д.).
Любой цвет данной модели определяется
светлотой (L)
двумя хроматическими компонентами: параметром a, который изменяется в диапазоне от зеленого до красного, и параметром b, изменяющимся в диапазоне от синего до желтого
Применение.
Программа Adobe Photoshop использует L*a*b в качестве модели-посредника при любом конвертировании из модели в модель
при конвертировании цветного изображения в серую шкалу
Изображения, выполненные в этой модели, поддерживаются Photoshop.
Билет № 12
1) Жизненный цикл информационных систем: каскадная и спиральная модели.
Под жизненным циклом системы обычно понимается непрерывный процесс, который начинается с момента принятия решения о необходимости создания системы и заканчивается в момент ее полного изъятия из эксплуатации. \
Под моделью жизненного цикла понимается структура, определяющая последовательность выполнения и взаимосвязи процессов, действий и задач, выполняемых на протяжении жизненного цикла. Модель жизненного цикла зависит от специфики информационной системы и специфики условий, в которых последняя создается и функционирует
Каскадная модель
В не очень больших по объему однородных информационных систем каждое приложение представляло собой единое целое. Для разработки такого типа приложений применялся каскадный способ. Его основной характеристикой является разбиение всей разработки на этапы, причем переход с одного этапа на следующий происходит только после того, как будет полностью завершена работа на текущем (рис. 1). Каждый этап завершается выпуском полного комплекта документации, достаточной для того, чтобы разработка могла быть продолжена другой командой разработчиков.
Положительные стороны применения каскадного подхода заключаются в следующем:
на каждом этапе формируется законченный набор проектной документации, отвечающий критериям полноты и согласованности;
выполняемые в логичной последовательности этапы работ позволяют планировать сроки завершения всех работ и соответствующие затраты.

Рис. 1. Каскадная схема разработки
Однако в процессе использования этого подхода обнаружился ряд его недостатков, вызванных прежде всего тем, что реальный процесс создания систем никогда полностью не укладывался в такую жесткую схему. В процессе создания постоянно возникала потребность в возврате к предыдущим этапам и уточнении или пересмотре ранее принятых решений. В результате реальный процесс создания программного обеспечения принимал следующий вид (рис. 2):

Рис. 1.2. Реальный процесс разработки ПО по каскадной схеме
Основным недостатком каскадного подхода является существенное запаздывание с получением результатов. Согласование результатов с пользователями производится только в точках, планируемых после завершения каждого этапа работ, требования к информационным системам "заморожены" в виде технического задания на все время ее создания. Таким образом, пользователи могут внести свои замечания только после того, как работа над системой будет полностью завершена. В случае неточного изложения требований или их изменения в течение длительного периода создания программного обеспечения, пользователи получают систему, не удовлетворяющую их потребностям. Модели (как функциональные, так и информационные) автоматизируемого объекта могут устареть одновременно с их утверждением. Сущность системного подхода к разработке ИС заключается в ее декомпозиции (разбиении) на автоматизируемые функции: система разбивается на функциональные подсистемы, которые в свою очередь делятся на подфункции, подразделяемые на задачи и так далее. Процесс разбиения продолжается вплоть до конкретных процедур. При этом автоматизируемая система сохраняет целостное представление, в котором все составляющие компоненты взаимоувязаны. Таким образом, данная модель основным достоинством имеет системность разработки, а основные недостатки - медленно и дорого.
Спиральная модель
спиральная модель жизненного цикла (рис. 3), делающая упор на начальные этапы жизненного цикла: анализ и проектирование. На этих этапах реализуемость технических решений проверяется путем создания прототипов. Каждый виток спирали соответствует созданию фрагмента или версии программного обеспечения, на нем уточняются цели и характеристики проекта, определяется его качество и планируются работы следующего витка спирали. Таким образом,углубляются и последовательно конкретизируются детали проекта и в результате выбирается обоснованный вариант, который доводится до реализации.
Разработка итерациями отражает объективно существующий спиральный цикл создания системы. Неполное завершение работ на каждом этапе позволяет переходить на следующий этап, не дожидаясь полного завершения работы на текущем. При итеративном способе разработки недостающую работу можно будет выполнить на следующей итерации. Главная же задача - как можно быстрее показать пользователям системы работоспособный продукт, тем самым, активизируя процесс уточнения и дополнения требований.
Основная проблема спирального цикла - определение момента перехода на следующий этап. Для ее решения необходимо ввести временные ограничения на каждый из этапов жизненного цикла. Переход осуществляется в соответствии с планом, даже если не вся запланированная работа закончена. План составляется на основе статистических данных, полученных в предыдущих проектах, и личного опыта разработчиков.

Рис 3. Спиральная модель ЖЦ ИС
Одним из возможных подходов к разработке программного обеспечения в рамках спиральной модели жизненного цикла является получившая в последнее время широкое распространение методология быстрой разработки приложений RAD (Rapid Application Development). Под этим термином обычно понимается процесс разработки программного обеспечения, содержащий 3 элемента:
небольшую команду программистов (от 2 до 10 человек);
короткий, но тщательно проработанный производственный график (от 2 до 6 мес.);
повторяющийся цикл, при котором разработчики, по мере того, как приложение начинает обретать форму, запрашивают и реализуют в продукте требования, полученные через взаимодействие с заказчиком.
Жизненный цикл программного обеспечения по методологии RAD состоит из четырех фаз:
фаза определения требований и анализа;
фаза проектирования;
фаза реализации;
фаза внедрения.
2) Биометрические средства идентификации и аутентификации пользователей. Аутентификация субъектов в распределенных системах, проблемы и решения. Схема Kerberos.
Идентификация (Identification) — процедура распознавания пользователя по его идентификатору (имени). Эта функция выполняется, когда пользователь делает попытку войти в сеть. Пользователь сообщает системе по ее запросу свой идентификатор, и система проверяет в своей базе данных его наличие.
Аутентификация {Authentication) — процедура проверки подлинности заявленного пользователя, процесса или устройства. Эта проверка позволяет достоверно убедиться, что пользователь (процесс или устройство) является именно тем, кем себя объявляет. При проведении аутентификации проверяющая сторона убеждается в подлинности проверяемой стороны, при этом проверяемая сторона тоже активно участвует в процессе обмена информацией. Обычно пользователь подтверждает свою идентификацию, вводя в систему уникальную, не известную другим пользователям информацию о себе (например, пароль или сертификат).
биометрическая аутентификация пользователя, позволяющая уверенно аутентифицировать потенциального пользователя путем измерения физиологических параметров и характеристик человека, особенностей его поведения. Основные достоинства биометрических методов:
высокая степень достоверности аутентификации по биометрическим признакам (из-за их уникальности);
неотделимость биометрических признаков от дееспособной личности;
трудность фальсификации биометрических признаков.
Активно используются следующие биометрические признаки:
отпечатки пальцев;
геометрическая форма кисти руки;
форма и размеры лица;
особенности голоса;
узор радужной оболочки и сетчатки глаз.
Рассмотрим типичную схему функционирования биометрической подсистемы аутентификации. При регистрации в системе пользователь должен продемонстрировать один или несколько раз свои характерные биометрические признаки. Эти признаки (известные как подлинные) регистрируются системой как контрольный «образ» (биометрическая подпись) законного пользователя. Этот образ пользователя хранится системой в электронной форме и используется для проверки идентичности каждого, кто выдает себя за соответствующего законного пользователя. В зависимости от совпадения или несовпадения совокупности предъявленных признаков с зарегистрированными в контрольном образе предъявивший их признается законным пользователем (при совпадении) или незаконным (при несовпадении).
Аутентификация по отпечаткам пальцев. Преимущества средств доступа по отпечатку пальца - простота использования, удобство и надежность. Весь процесс идентификации осуществляется довольно быстро и не требует особых усилий от пользователей.
Использование для идентификации геометрии руки. Преимущества идентификации по геометрии ладони сравнимы с аутентификацией по отпечатку пальца в вопросах надежности, Наиболее удачное устройство, Handkey, сканирует как внутреннюю, так и боковую сторону руки.
Аутентификация по радужной оболочке глаза. Преимущество сканирования радужной оболочки состоит в том, что образец пятен на радужной оболочке находится на поверхности глаза. видеоизображение может быть отсканировано на расстоянии метра, что делает возможным использование таких сканеров в банкоматах.
Аутентификация по сетчатке глаза. Сканирование сетчатки происходит с использованием инфракрасного света низкой интенсивности, направленного через зрачок к кровеносным сосудам на задней стенке глаза. эти средства аутентификации характеризуются одним из самых низких процентов отказа в доступе. Однако такая болезнь глаз, как катаракта, может отрицательно воздействовать на качество получаемого изображения и увеличивать ошибки системы.
Идентификация по чертам лица (по геометрии лица) - Данный метод наиболее близок к тому, как люди идентифицируют друг друга, Развитие этого направления связано с быстрым ростом мультимедийных видео-технологий.
??Аутентификация субъектов в распределенных системах, проблемы и решения???
взаимная аутентификация субъектов, т. е. взаимное подтверждение подлинности субъектов, связывающихся между собой по линиям связи. Процедура подтверждения подлинности выполняется обычно в начале сеанса установления соединения абонентов. Термин «соединение» указывает на логическую связь (потенциально двустороннюю) между двумя субъектами сети. Цель данной процедуры — обеспечить уверенность, что соединение установлено с законным субъектом и вся информация дойдет до места назначения.
Для подтверждения своей подлинности субъект может предъявлять системе разные сущности. В зависимости от предъявляемых субъектом сущностей процессы аутентификации могут быть разделены на основе:
знания чего-либо.
обладания чем-либо.
Kerberos – это программный продукт, компоненты которого присутствуют в большинстве современных операционных систем.
Kerberos предназначен для решения следующей задачи. Имеется открытая (незащищенная) сеть, в узлах которой сосредоточены субъекты – пользователи, а также клиентские и серверные программные системы. Каждый субъект обладает секретным ключом. Чтобы субъект C мог доказать свою подлинность субъекту S (без этого S не станет обслуживать C), он должен не только назвать себя, но и продемонстрировать знание секретного ключа. C не может просто послать S свой секретный ключ, во-первых, потому, что сеть открыта (доступна для пассивного и активного прослушивания), а, во-вторых, потому, что S не знает (и не должен знать) секретный ключ C. Требуется менее прямолинейный способ демонстрации знания секретного ключа.
Система Kerberos представляет собой доверенную третью сторону (то есть сторону, которой доверяют все), владеющую секретными ключами обслуживаемых субъектов и помогающую им в попарной проверке подлинности.
Чтобы с помощью Kerberos получить доступ к S (обычно это сервер), C (как правило – клиент) посылает Kerberos запрос, содержащий сведения о нем (клиенте) и о запрашиваемой услуге. В ответ Kerberos возвращает так называемый билет, зашифрованный секретным ключом сервера, и копию части информации из билета, зашифрованную секретным ключом клиента. Клиент должен расшифровать вторую порцию данных и переслать ее вместе с билетом серверу. Сервер, расшифровав билет, может сравнить его содержимое с дополнительной информацией, присланной клиентом. Совпадение свидетельствует о том, что клиент смог расшифровать предназначенные ему данные (ведь содержимое билета никому, кроме сервера и Kerberos, недоступно), то есть продемонстрировал знание секретного ключа. Значит, клиент – именно тот, за кого себя выдает. Подчеркнем, что секретные ключи в процессе проверки подлинности не передавались по сети (даже в зашифрованном виде) – они только использовались для шифрования. Как организован первоначальный обмен ключами между Kerberos и субъектами и как субъекты хранят свои секретные ключи – вопрос отдельный.
Проиллюстрируем описанную процедуру.

Рис. 10.1. Проверка сервером S подлинности клиента C.
Здесь c и s – сведения (например, имя), соответственно, о клиенте и сервере, d1 и d2 – дополнительная (по отношению к билету) информация, Tc.s – билет для клиента C на обслуживание у сервера S, Kc и Ks – секретные ключи клиента и сервера, {info}K – информация info, зашифрованная ключом K.
3)
Основные программные пакеты, применяемые для редактирования графики в МТ.
Типы графики
Существует два типа графики - растровая и векторная. Основное отличие - в принципе хранения изображения.
Растровый рисунок можно сравнить с мозаикой, когда изображение разбито на небольшие одноцветные части. Эти части называют пикселями (PICture ELement - элемент рисунка). Чем выше разрешениеизображения (число пикселей на единицу длины), тем оно качественнее. Но изображение с высоким разрешением занимает много дисковой памяти, а для его обработки требуется много оперативной памяти. Кроме того, растровые изображения трудно масштабировать. При уменьшении - несколько соседних пикселей преобразуются в один, поэтому теряется разборчивость мелких деталей. При увеличении - увеличивается размер каждого пикселя, поэтому появляется эффект "лоскутного одеяла".
Векторная графика описывает изображение с помощью графических примитивов, которые рассчитываются по конкретным математическим формулам. Сложное изображение можно разложить на множество простых объектов. Любой такой простой объект состоит из контура (синий цвет) и заливки (красный цвет).
Основное преимущество векторной графики состоит в том, что при изменении масштаба изображение не теряет своего качества. Отсюда следует и другой вывод - при изменении размеров изображения не изменяется размер файла. Ведь формулы, описывающие изображение, остаются те же, меняется только коэффициент пропорциональности.
Однако если делать много очень сложных геометрических фигур, то размер векторного файла может быть гораздо больше, чем его растровый аналог из-за сложности формул, описывающих такое изображение.
Следовательно, векторную графику следует применять для изображений, не имеющих большого числа цветовых фонов, полутонов и оттенков. Например, создания пиктограмм, логотипов, иллюстраций, рекламных модулей и т.д.
Именно для такой работы и предназначена программа векторной графики CorelDraw.
Графические редакторы подбираются в зависимости от целей и объемов вашей работы с изображениями:
Лучшим векторным графическим редактором для дизайна является Corel Draw;
Лучшим векторным графическим редактором для технического черчения является AutoCAD;
Лучшим векторным графическим редактором для строительного черчения является ArchiCAD;
Лучшим векторным графическим редактором для 3D моделирования и анимации 3D Studio Max;
Лучшим растровым графическим редактором для обработки художественных фотографий является Adobe Photoshop;
Лучшим растровым графическим редактором для обработки обычных фотографий является Adobe Photodeluxe (здесь я могу ошибаться, поскольку графических редакторов для работы с обычными фотографиями огромное количество).
Графических редакторов, "рисовалок", существует очень много. Есть мощные профессиональные программы, как например, Corel draw, Adobe PhotoShop, Adobe Illustrator, 3D Studio – как правило, очень большие с массой вспомогательных программ (за что их еще называют графическими пакетами). Есть более простые и более компактные (например, PhotoFinish). А есть и совсем простые, вроде Paintbrush и Paint (из стандартного состава Windows и Windows 95) или MS Draw (из комплекта Word for Windows 2.0).
Графические редакторы делятся на два главных типа - растровые графические редакторы (или битмэповые) и векторные графические редакторы.
Битмэповые (от bitmap - битовая карта) графические редакторы рисуют изображение по точкам, т. е. для каждой точки картинки отдельно задан ее цвет (PhotoPaint, PhotoShop, PhotoFinish, Picture Man, Paintbrush). Векторные графические редакторы (Corel Draw, Adobe Illustrator, MS Draw) рисуют сразу целую линию - дугу, отрезок прямой, а кривые представляются как совокупность таких дуг и отрезков. Это совершенно разные способы кодирования изображений, и перевод файлов из одной формы в другую .
Так, векторные графические редакторы позволяют проделывать очень сложные трансформации формы рисунка, сжатия и растяжения, любые изменения размера, преобразования контуров, в них возможны повороты любого элемента рисунка на любые углы без искажения формы и, наоборот, искажения любых видов: превращение квадратного рисунка в круглый, цилиндрический, криволинейный - в какой угодно. В них очень хорошо именно рисовать, сочетать изображения с разного рода надписями, произвольным образом размещенными (по дугам или иным кривым, под любыми углами). Но для обработки фотоизображений они непригодны. Используют их при изготовлении всех видов эмблем и товарных знаков, при верстке любой сложности.
Растровые графические редакторы используют, когда надо обрабатывать сканированные изображения - картины, рисунки, фотографии, введенные в компьютер изображения, сделанные электронным фотоаппаратом. Не зря в названиях их часто присутствует слово Photo (фотография). В растровых графических редакторах основной упор делается на ретуширование сканированных изображений, преобразование цветов и оттенков, контраста, яркости, четкости, на разного рода размывки и затуманивания, игры со светотенью. Но с формой объектов они работают Хуже, и файлы битмэп-форматов заметно больше, чем векторные.
Билет №11
1) Объектно-ориентированный подход при проектировании ИС. Унифицированный язык моделирования UML.
Не точно.
С точки зрения собственно программирования объектный подход можно рассматривать как развитие понятия типов данных. Тип данного определяет множество значений, которые может принимать данное, и набор операций, которые могут быть выполнены над данными этого конкретного типа. В языках программирования предусматриваются некоторые предопределенные (базовые) типы данных, обычно это целые и вещественные числовые типы, символьные и строковые типы, а в ряде случаев и преобразования данных одного типа в другой. В языках программирования со строгой типизацией каждое данное принадлежит только одному типу и разрешаются только явные преобразования данных одного типа в другой. Строгая типизация повышает надежность разрабатываемых программ, позволяет выявить многие ошибки еще на этапе отладки программы. В языках программирования предусматривается и возможность построения новых типов данных, определяемых программистом, но для таких типов, как правило, отсутствует перечень допустимых операций.
Объектно-ориентированные языки программирования позволяют распространить требования строгой типизации на типы данных, определяемых программистом.
Объектно-ориентированный подход к проектированию программных изделий предполагает:
- проведение объектно-ориентированного анализа предметной области;
- объектно-ориентированное проектирование;
- разработку программного изделия с использованием объектно-ориентированного языка программирования.
UML (сокр. от англ. Unified Modeling Language — унифицированный язык моделирования) — язык графического описания дляобъектного моделирования в области разработки программного обеспечения. UML является языком широкого профиля, это открытый стандарт, использующий графические обозначения для создания абстрактной модели системы, называемой UML моделью. UML был создан для определения, визуализации, проектирования и документирования в основном программных систем. UML не является языком программирования.
Использование UML не ограничивается моделированием программного обеспечения. Его также используют для моделирования бизнес-процессов, системного проектирования и отображения организационных структур.
Преимущества UML
UML позволяет описать систему практически со всех возможных точек зрения и разные аспекты поведения системы;
Диаграммы UML сравнительно просты для чтения после достаточно быстрого ознакомления с его синтаксисом;
UML расширяет и позволяет вводить собственные текстовые и графические стереотипы, что способствует его применению не только в сфере программной инженерии;
К базовым средствам относится пакет, который служит для группировки элементов модели. При этом сами элементы модели, в том числе произвольные сущности, отнесенные к одному пакету, выступают в роли единого целого. При этом все разновидности элементов графической нотации языка UML организованы в пакеты.
Пакет – основной способ организации элементов модели в языке UML. Каждый пакет владеет всеми своими элементами, т. е. теми элементами, которые включены в него.
Кроме того в языке UML это же отношение может быть изображено с помощью отрезков линий аналогично графическому представлению дерева. В этом случае наиболее общий пакет или контейнер изображается в верхней части рисунка, а его подпакеты – уровнем ниже.
В рамках языка UML все представления о модели сложной системы фиксируются в виде специальных графических конструкций, получивших название диаграмм.
Диаграмма (diagram) — графическое представление совокупности элементов модели в форме связного графа, вершинам и ребрам (дугам) которого приписывается определенная семантика. Нотация канонических диаграмм - основное средство разработки моделей на языке UML.
В нотации языка UML определены следующие виды канонических диаграмм:
вариантов использования (use case diagram)
классов (class diagram)
кооперации (collaboration diagram)
последовательности (sequence diagram)
состояний (statechart diagram)
деятельности (activity diagram)
компонентов (component diagram)
развертывания (deployment diagram)
2) Понятие архитектуры ЭВМ. Области применения и классификация ЭВМ. Структура. ЭВМ: состав и назначение основных блоков
Электронная вычислительная машина - комплекс технических и программных средств, предназначенный для автоматизации подготовки и решения задач пользователей. Под пользователем понимают человека, в интересах которого проводится обработка данных на ЭВМ
Архитектура ЭВМ - это многоуровневая иерархия аппаратурно-программных средств, из которых строится ЭВМ. Каждый из уровней допускает многовариантное построение и применение. Конкретная реализация уровней определяет особенности структурного построения ЭВМ
Архитектура ЭВМ включает в себя как структуру, отражающую состав ПК, так и программно – математическое обеспечение. Структура ЭВМ - совокупность элементов и связей между ними. Основным принципом построения всех современных ЭВМ является программное управление.
Фон Неймановская структура.

Положения фон Неймана:
Компьютер состоит из нескольких основных устройств (арифметико-логическое устройство, управляющее устройство, память, внешняя память, устройства ввода и вывода)
Арифметико-логическое устройство – выполняет логические и арифметические действия, необходимые для переработки информации, хранящейся в памяти
Управляющее устройство – обеспечивает управление и контроль всех устройств компьютера (управляющие сигналы указаны пунктирными стрелками)
Данные, которые хранятся в запоминающем устройстве, представлены в двоичной форме
Программа, которая задает работу компьютера, и данные хранятся в одном и том же запоминающем устройстве
Для ввода и вывода информации используются устройства ввода и вывода
Один из важнейших принципов – принцип хранимой программы – требует, чтобы программа закладывалась в память машины так же, как в нее закладывается исходная информация.
Процессор – функциональная часть ЭВМ, выполняющая основные операции по обработке данных и управлению работой других блоков. Процессор является преобразователем информации, поступающей из памяти и внешних устройств.
Запоминающие устройства обеспечивают хранение исходных и промежуточных данных, результатов вычислений, а также программ. \
Оперативные ЗУ хранят информацию, с которой компьютер работает непосредственно в данное время
Внешние запоминающие устройства (накопители на магнитных дисках, например, жесткий диск или винчестер) с емкостью намного больше, чем ОЗУ, но с существенно более медленным доступом, используются для длительного хранения больших объемов информации.
ПЗУ (постоянные запоминающие устройства) и ППЗУ (перепрограммируемые постоянные запоминающие устройства) предназначены для постоянного хранения информации, которая записывается туда при ее изготовлении, например, ППЗУ для BIOS.
В качестве устройства ввода информации служит, например, клавиатура. В качестве устройства вывода – дисплей, принтер и т.д.
Рассмотрим схему классификации ЭВМ, исходя из их вычислительной мощности и габаритов.

Суперкомпьютеры – это самые мощные по быстродействию и производительности вычислительные машины. Используются для решения крупномасштабных вычислительных задач и моделирования, для сложных вычислений в аэродинамике, метеорологии, физике высоких энергий, также находят применение и в финансовой сфере.
Большие машины или мейнфреймы (Mainframe). Мейнфреймы используются в финансовой сфере, оборонном комплексе, применяются для комплектования ведомственных, территориальных и региональных вычислительных центров.
Средние ЭВМ широкого назначения используются для управления сложными технологическими производственными процессами.
Мини-ЭВМ ориентированы на использование в качестве управляющих вычислительных комплексов, в качестве сетевых серверов.
Микро - ЭВМ — это компьютеры, в которых в качестве центрального процессора используется микропроцессор. К ним относятся встроенные микро – ЭВМ (встроенные в различное оборудование, аппаратуру или приборы) и персональные компьютеры PC.
Современные персональные компьютеры имеют практически те же характеристики, что и мини-ЭВМ восьмидесятых годов. На базе этого класса ЭВМ строятся автоматизированные рабочие места (АРМ) для специалистов различного уровня, используются как средство обработки информации в информационных системах.
Основным устройством ПК является материнская плата, которая определяет его конфигурацию. Все устройства ПК подключаются к этой плате с помощью разъемов расположенных на этой плате. Соединение всех устройств в единую систему обеспечивается с помощью системной магистрали (шины), представляющей собой линии передачи данных, адресов и управления.
Ядро ПК образуют процессор (центральный микропроцессор) и основная память, состоящая из оперативной памяти и постоянного запоминающего устройства (ПЗУ) или перепрограммируемого постоянного запоминающего устройства ППЗУ. ПЗУ предназначается для записи и постоянного хранения данных.
Подключение всех внешних устройств: клавиатуры, монитора, внешних ЗУ, мыши, принтера и т.д. обеспечивается через контроллеры, адаптеры, карты.
Контроллеры, адаптеры или карты имеют свой процессор и свою память, т.е. представляют собой специализированный процессор.

Микропроцессор
Центральный микропроцессор (небольшая микросхема, выполняющая все вычисления и обработку информации) – это ядро ПК.
Компоненты микропроцессора:
АЛУ выполняет логические и арифметические операции
Устройство управления управляет всеми устройствами ПК
Регистры используются для хранения данных и адресов
Схема управления шиной и портами – осуществляет подготовку устройств к обмену данными между микропроцессором и портом ввода – вывода, а также управляет шиной адреса и управления.
Основные характеристики процессора:
Разрядность – число двоичных разрядов, одновременно обрабатываемых при выполнении одной команды. Большинство современных процессоров – это 32 – разрядные процессоры, но выпускаются и 64 - разрядные процессоры.
Тактовая частота – количество циклов работы устройства за единицу времени. Чем выше тактовая частота, тем выше производительность.
Наличие встроенного математического сопроцессора
Наличие и размер Кэш- памяти.
Оперативная память
Оперативное запоминающее устройство (ОЗУ или RAM) - область памяти, предназначенная для хранения информации в течение одного сеанса работы с компьютером. Конструктивно ОЗУ выполнено в виде интегральных микросхем.
Из нее процессор считывает программы и исходные данные для обработки в свои регистры, в нее записывает полученные результаты. Название “оперативная” эта память получила потому, что она работает очень быстро, в результате процессору не приходится ждать при чтении или записи данных в память.
Кэш-память
Компьютеру необходимо обеспечить быстрый доступ к оперативной памяти, иначе микропроцессор будет простаивать, и быстродействие компьютера уменьшится. Поэтому современные компьютеры оснащаются Кэш-памятью или сверхоперативной памятью.
При наличии Кэш-памяти данные из ОЗУ сначала переписываются в нее, а затем в регистры процессора. При повторном обращении к памяти сначала производится поиск нужных данных в Кэш-памяти и необходимые данные из Кэш-памяти переносятся в регистры, поэтому повышается быстродействие.
Контроллеры
Только та информация, которая хранится в ОЗУ, доступна процессору для обработки. Поэтому необходимо, чтобы в его оперативной памяти находились программа и данные.
В ПК информация с внешних устройств (клавиатуры, жесткого диска и т.д.) пересылается в ОЗУ, а информация (результаты выполнения программ) с ОЗУ также выводится на внешние устройства (монитор, жесткий диск, принтер и т.д.).
Таким образом, в компьютере должен осуществляться обмен информацией (ввод-вывод) между оперативной памятью и внешними устройствами. Устройства, которые осуществляют обмен информацией между оперативной памятью и внешними устройствами называются контроллерами или адаптерами, иногда картами. Контроллеры, адаптеры или карты имеют свой процессор и свою память, т.е. представляют собой специализированный процессор.
Контроллеры или адаптеры (схемы, управляющие внешними устройствами компьютера) находятся на отдельных платах, которые вставляются в унифицированные разъемы (слоты) на материнской плате
Системная магистраль
Системная магистраль (шина) - это совокупность проводов и разъемов, обеспечивающих объединение всех устройств ПК в единую систему и их взаимодействие.
Для подключения контроллеров или адаптеров современные ПК снабжены такими слотами как PCI. Слоты PCI – E Express для подключения новых устройств к более скоростной шине данных. Слоты AGP предназначены для подключения видеоадаптера
Для подключения накопителей (жестких дисков и компакт-дисков) используются интерфейсы IDE и SCSI. Интерфейс – это совокупность средств соединения и связи устройств компьютера.
Подключение периферийных устройств (принтеры, мышь, сканеры и т.д.) осуществляется через специальные интерфейсы, которые называются портами. Порты устанавливаются на задней стенке системного блока.
Слоты (разъемы) расширения конфигурации ПК предназначены для подключения дополнительных устройств к основной шине данных компьютера. К основным платам расширения, предназначенным для подключения к шине дополнительных устройств, относятся:
Видеоадаптеры (видеокарты)
Звуковые платы
Внутренние модемы
Сетевые адаптеры (для подключения к локальной сети)
SCSI – адаптеры
Внешняя память. Классификация накопителей
Для хранения программ и данных в ПК используются накопители различных типов. Накопители - это устройства для записи и считывания информации с различных носителей информации. Различают накопители со сменным и встроенным носителем.
По типу носителя информации накопители разделяются на накопители на магнитных лентах и дисковые накопители. К накопителям на магнитных лентах относятся стримеры и др. Более широкий класс накопителей составляют дисковые накопители.
Периферийные устройства - это устройства, которые подключаются к контроллерам ПК и расширяют его функциональные возможности
По назначению дополнительные устройства разделяются на:
устройства ввода (трэкболлы, джойстики, световые перья, сканеры, цифровые камеры, диджитайзеры)
устройства вывода (плоттеры или графопостроители)
устройства хранения (стримеры, zip - накопители, магнитооптические накопители, накопители HiFD и др.)
устройства обмена (модемы)
3) . Примеры алгоритмов симметричного шифрования и шифрования с открытым ключом. Гибридные криптосистемы. Понятие ЭЦП и сертификата. Протоколы IPSec и SSL
Шифрование информации - это преобразование открытой информации в зашифрованную (которая чаще сегоназывается шифртекстом или криптограммой), и наоборот. Первая часть этого процесса называетсязашифрованием, вторая - расшифрованием.
В алгоритмах симметричного шифрования для расшифрования обычно используется тот же самый ключ, что и для зашифрования, или ключ, связанный с ним каким-либо простым соотношением. Последнее встречается существенно реже, особенно в современных алгоритмах шифрования. Такой ключ (общий для зашифрования и расшифрования) обычно называется просто ключом шифрования.
Подавляющее большинство современных алгоритмов шифрования работают весьма схожим образом: над шифруемым текстом выполняется некое преобразование с участием ключа шифрования, которое повторяется определенное число раз (раундов). При этом, по виду повторяющегося преобразования алгоритмы шифрования принято делить на несколько категорий. Здесь также существуют различные классификации, приведу одну из них. Итак, по своей структуре алгоритмы шифрования классифицируются следующим образом:
Алгоритмы со структурой "квадрат" (Square).
Для структуры "квадрат" характерно представление шифруемого блока данных в виде двумерного байтового массива. Криптографические преобразования могут выполняться над отдельными байтами массива, а также над его строками или столбцами.
Структура алгоритма получила свое название от алгоритма Square, который был разработан в 1996 году Винсентом Риджменом (Vincent Rijmen) и Джоан Деймен (Joan Daemen) - будущими авторами алгоритма Rijndael, ставшего новым стандартом шифрования США AES после победы на открытом конкурсе. Алгоритм Rijndael также имеет Square-подобную структуру; также в качестве примера можно привести алгоритмы Shark (более ранняя разработка Риджмена и Деймен) и Crypton. Недостатком алгоритмов со структурой "квадрат" является их недостаточная изученность, что не помешало алгоритму Rijndael стать новым стандартом США.

Рис. 5. Алгоритм Rijndael.
На рис. 5 приведен пример операции над блоком данных, выполняемой алгоритмом Rijndael.
Алгоритмы на основе подстановочно-перестановочных сетей (SP-сеть - Substitution-permutation network).
В отличие от сети Фейстеля, SP-сети обрабатывают за один раунд целиком шифруемый блок. Обработка данных сводится, в основном, к заменам (когда, например, фрагмент входного значения заменяется другим фрагментом в соответствии с таблицей замен, которая может зависеть от значения ключа Ki) и перестановкам, зависящим от ключа Ki (упрощенная схема показана на рис. 4).

Рис. 4. Подстановочно-перестановочная сеть.
Впрочем, такие операции характерны и для других видов алгоритмов шифрования, поэтому, на мой взгляд, название "подстановочно-перестановочная сеть" является достаточно условным.SP-сети распространены существенно реже, чем сети Фейстеля; в качестве примера SP-сетей можно привести алгоритмы Serpent или SAFER+.
Гибри́дная (или комбини́рованная) криптосисте́ма — это система шифрования, совмещающая преимущества криптосистемы с открытым ключом с производительностью симметричных криптосистем. Симметричный ключ используется для шифрования данных, а асимметричный для шифрования самого симметричного ключа, иначе это называется числовой упаковкой.
Основной недостаток асимметричной криптографии состоит в низкой скорости из-за сложных вычислений, требуемых ее алгоритмами, в то время как симметричная криптография традиционно показывает блестящую скорость работы. Однако симметричные криптосистемы имеет один существенный недостаток — её использование предполагает наличие защищенного канала для передачи ключей. Для преодоления этого недостатка прибегают к асимметричным криптосистемам, которые используют пару ключей: открытый и закрытый.
П
ример гибридного алгоритма
ЭЦП — аналог собственноручной подписи — для придания электронному документу юридической силы, равной бумажному документу, подписанному собственноручной подписью правомочного лица и/или скрепленного печатью. ЭЦП обеспечивает проверку целостности документов, конфиденциальность, установление лица, отправившего документ. Это позволяет усовершенствовать процедуру подготовки, доставки, учета и хранения документов, гарантировать их достоверность.
ЭЦП формируется в результате преобразования информации с использованием средств криптографической защиты информации (СКЗИ) и позволяет идентифицировать владельца сертификата ключа подписи, а также установить отсутствие искажения информации в электронном документе. Мы в своей работе используем только сертифицированные в установленном порядке программные средства.
Общая суть электронной подписи заключается в следующем. С помощью криптографической хэш-функции на основании документа вычисляется относительно короткая строка символов фиксированной длины (хэш). Затем этот хэш шифруется закрытым ключом владельца — результатом является подпись документа. Подпись прикладывается к документу, таким образом получается подписанный документ. Лицо, желающее установить подлинность документа, расшифровывает подпись открытым ключом владельца, а также вычисляет хэш документа. Документ считается подлинным, если вычисленный по документу хэш совпадает с расшифрованным из подписи, в противном случае документ является подделанным.
Электронная цифровая подпись в электронном документе равнозначна собственноручной подписи в документе на бумажном носителе при одновременном соблюдении следующих условий:
Сертификат открытого ключа (сертификат ЭЦП, сертификат ключа подписи) — цифровой или бумажный документ, подтверждающий соответствие между открытым ключом и информацией, идентифицирующей владельца ключа. Содержит информацию о владельце ключа, сведения об открытом ключе, его назначении и области применения, название центра сертификациии т. д.
Открытый ключ может быть использован для организации защищённого канала связи с владельцем двумя способами:
для проверки подписи владельца (аутентификация)
для шифрования посылаемых ему данных (конфиденциальность)
Как правило, сертификат включает в себя следующие поля:
имя владельца сертификата (имя пользователя, которому принадлежит сертификат)
один или несколько открытых ключей владельца сертификата
имя удостоверяющего центра
серийный номер сертификата, присвоенный удостоверяющим центром
срок действия сертификата (дата начала действия и дата окончания действия)
информация об использованных криптографических алгоритмах
электронная цифровая подпись, сгенерированная с использованием секретного ключа удостоверяющего центра (подписывается результат хэширования всей информации, хранящейся в сертификате)
Протоколы IPsec и SSL позволяют защитить межсерверный обмен данными путем шифрования трафика. Приемлем каждый из этих способов. Выбор используемого способа зависит от конкретных каналов обмена данными, которые надлежит защитить, и преимуществ и компромиссных решений, которые оптимальны для организации.
Протокол IPsec
Протокол IPsec обычно рекомендуется для защиты канала обмена данными между двумя серверами и ограничения взаимодействия компьютеров друг с другом. Например, можно защитить сервер базы данных путем назначения политики, разрешающей запросы только от надежного клиентского компьютера (сервер приложения или веб-сервер). Кроме того, можно разрешить использовать для обмена данными только определенные IP-протоколы и порты TCP/UDP.
В свете требований к сети и рекомендаций для серверной фермы протокол IPsec является хорошим выбором, поскольку:
все серверы размещаются в одной физической локальной сети (для улучшения производительности протокола IPsec).
серверам назначаются статические IP-адреса.
Протокол IPsec также можно использовать для обмена данными между доверенными доменами Windows Server 2003 или Windows 2000 Server. Например, можно использовать протокол IPsec для защиты данных, передаваемых веб-сервером или сервером приложений в демилитаризованной зоне, которая соединяется с компьютером под управлением Microsoft SQL Server вo внутренней сети
Протокол SSL
Основная рекомендация по использованию протокола SSL — использовать этот способ шифрования, когда требуется защита определенной части канала для того или иного приложения, а не для всех приложений и служб, работающих на компьютере. Протокол SSL реализуется на уровне отдельных приложений. Поэтому протокол SSL невозможно использовать для шифрования всех видов данных, которые могут пересылаться между двумя узлами.
Кроме того, протокол SSL менее универсален по сравнению с протоколом IPsec, поскольку он поддерживает только проверку подлинности с помощью сертификатов открытого ключа. Протокол SSL, тем не менее, обладает рядом явных преимуществ. Прежде всего, протокол SSL поддерживается большим количеством разных серверов и клиентских компьютеров, а из-за давности стандарта практически устранены проблемы несовместимости.
Сценарии для протокола SSL
В числе сценариев, для которых протокол SSL является оптимальным выбором, можно назвать следующие:
Сайты администрирования Сайт центра администрирования и сайты администрирования общих служб можно защитить с помощью протокола SSL.
Развертывание контента В ходе развертывания контента будут скопированы файлы из одного каталога сайтов на сервере производственной или промежуточной фермы в соответствующий каталог сайтов на одном или нескольких серверах фермы публикаций. В этом сценарии протокол IPsec может быть неприменим, если серверные фермы находятся в разных сетевых зонах, или если предстоит развернуть большой объем контента, или при наличии большого количества серверов для развертывания контента. Протокол SSL можно использовать для назначения безопасного обмена данными этим транзакциям.
Поставщики общих служб на фермах (SSP) Если дочерними фермами используются общие службы родительской фермы, конфиденциальные данные будут общими у этих ферм.
Билет №10
1. Пользовательский интерфейс и его эргономика. Интерфейс ИС как сценарий поведения пользователя. Роль графического дизайна в ИС.
Интерфе́йс по́льзователя, он же по́льзовательский интерфейс (UI — англ. user interface) — разновидность интерфейсов, в котором одна сторона представлена человеком (пользователем), другая — машиной/устройством. Представляет собой совокупность средств и методов, при помощи которых пользователь взаимодействует с различными, чаще всего сложными, с множеством элементов, машинами и устройствами.
Интерфейс двунаправленный — устройство, получив команды от пользователя и исполнив их, выдаёт информацию обратно, наличествующими у неё средствами (визуальными, звуковыми и т. п.), приняв которую, пользователь выдаёт устройству последующие команды предоставленными в его распоряжение средствами (кнопки, переключатели, регуляторы, сенсоры, голосом, и т. д.).
Эргономика включается в процессы разработки и тестирования программного продукта как часть системы качества. Разработка пользовательского интерфейса (ПИ) ведется параллельно дизайну программного продукта в целом и в основном предшествует его имплементации. Процесс разработки ПИ разбивается на этапы жизненного цикла:
1. Анализ трудовой деятельности пользователя, объединение бизнес-функций в роли.
2. Построение пользовательской модели данных, привязка объектов к ролям и формирование рабочих мест.
3. Формулировка требований к работе пользователя и выбор показателей оценки пользовательского интерфейса.
4. Разработка обобщенного сценария взаимодействия пользователя с программным модулем (функциональной модели) и его предварительная оценка пользователями и Заказчиком.
5. Корректировка и детализация сценария взаимодействия, выбор и дополнение стандарта (руководства) для построения прототипа.
6. Разработка макетов и прототипов ПИ и их оценка в деловой игре, выбор окончательного варианта.
7. Имплементация ПИ в коде, создание тестовой версии.
8. Разработка средств поддержки пользователя (пользовательские словари, подсказки, сообщения, помощь и пр.) и их встраивание в программный код.
9. Usability тестирование тестовой версии ПИ по набору раннее определенных показателей.
10. Подготовка пользовательской документации и разработка программы обучения.
Эргономические цели и показатели качества программного продукта
Приложение разрабатывается для обеспечения работы пользователя, т.е. для того чтобы он с помощью компьютерной программы быстрее и качественнее решал свои производственные задачи.
С точки зрения эргономики, самое важное в программе — создать такой пользовательский интерфейс, который сделает работу эффективной и производительной, а также обеспечит удовлетворенность пользователя от работы с программой.
Эффективность работы означает обеспечение точности, функциональной полноты и завершенности при выполнении производственных заданий на рабочем месте пользователя. Создание ПИ должно быть нацелено на показатели эффективности:
Точность работы
-определяется тем, в какой степени произведенный пользователем продукт (результат работы), соответствует предъявленным к нему требованиям. Показатель точности включает процент ошибок, которые совершил пользователь: число ошибок набора, варианты ложных путей или ответвлений, число неправильных обращений к данным, запросов и пр.
Функциональная полнота
-отражает степень использования первичных и обработанных данных, списка необходимых процедур обработки или отчетов, число пропущенных технологических операций или этапов при выполнении поставленной пользователю задачи. Этот показатель может определяться через процент применения отдельных функций в РМ.
Завершенность работы
-описывает степень исполнения производственной задачи средним пользователем за определенный срок или период, долю (или длину очереди) неудовлетворенных (необработанных) заявок, процент продукции, находящейся на промежуточной стадии готовности, а также число пользователей, которые выполнили задание в фиксированные сроки.
2. Защита информации в ИТ. Основные технологические решения. Шифрование данных. Общая характеристика алгоритмов шифрования, схемы работы.
Вариант первый: парольный
Пользователь вводит некоторый пароль, на основе которого (с использованием, например, хэш-функции) генерируется ключ шифрования. Фактически надежность системы в этом случае определяется только сложностью и длиной пароля. Но надежные пароли неудобны: запомнить бессмысленный набор из 10—15 символов и вводить его каждый для получения доступа к данным не так просто, а если таких паролей несколько (допустим, для доступа к разным приложениям), то и вовсе нереально. Парольная защита также подвержена атакам методом прямого перебора, а установленный клавиатурный шпион легко позволит злоумышленнику получить доступ к данным.
Вариант второй: внешнее хранение
На внешнем носителе размещаются некоторые данные, используемые для генерации ключа шифрования. Простейший вариант — использовать файл (так называемый ключевой файл), находящийся на дискете (компакт-диске, USB-флэш-устройстве и т. п.) Этот способ надежнее варианта с паролем. Для генерации ключа служит не десяток символов пароля, а значительное количество данных, например, 64 или даже 128 байт.
В принципе ключевой файл можно разместить и на жестком диске компьютера, но значительно безопасней хранить его отдельно от данных. Не рекомендуется в качестве ключевых файлов использовать файлы, создаваемые какими-либо общеизвестными приложениями (*.doc, *xls, *.pdf и т. д.) Их внутренняя структурированность может дать злоумышленнику дополнительную информацию. Например, все файлы, созданные архиватором WinRAR, начинаются с символов «Rar!» — это целых четыре байта.
Недостаток данного способа — возможность для злоумышленника легко скопировать файл и создать дубликат внешнего носителя. Таким образом, пользователь, даже на короткое время утративший контроль над этим носителем, фактически уже не может быть на 100% уверен в конфиденциальности своих данных. В качестве внешнего носителя иногда применяются электронные USB-ключи или смарт-карты, но при этом данные, используемые для генерации ключа шифрования, просто сохраняются в памяти этих носителей и так же легко доступны для считывания.
Вариант третий: защищенное внешнее хранение
Данный способ во многом схож с предыдущим. Важное его отличие в том, что для получения доступа к данным на внешнем носителе пользователь обязательно должен ввести PIN-код. В качестве внешнего носителя используются токены (электронные USB-ключи или смарт-карты). Данные, используемые для генерации ключа шифрования, размещаются в защищенной памяти токена и не могут быть прочитаны злоумышленником без знания соответствующего PIN-кода (рис. 3).
Утрата токена еще не означает раскрытия самой информации. Для защиты от прямого подбора PIN-кода ставится аппаратная временная задержка между двумя последовательными попытками или аппаратное же ограничение на количество неправильных попыток ввода PIN-кода (например, 15), после чего токен просто блокируется.
Поскольку токен может использоваться в разных приложениях, а PIN-код один и тот же, можно обманным путем вынудить пользователя ввести свой PIN-код в подложной программе, после чего считать необходимые данные из закрытой области памяти токена. Некоторые приложения кэшируют значение PIN-кода в рамках одного сеанса работы, что также несет в себе определенный риск.
Вариант четвертый: смешанный
Возможен вариант, когда для генерации ключа шифрования одновременно используются пароль, ключевой файл на внешнем носителе и данные в защищенной памяти токена. Такой способ довольно сложен в повседневном использовании, поскольку требует от пользователя дополнительных действий.
Многокомпонентная система также значительно сильнее подвержена рискам утраты доступа: достаточно потерять один из компонентов, и доступ без использования заранее созданной резервной копии становится невозможен.
Вариант пятый: с асимметричным шифрованием
Отдельного рассмотрения заслуживает один подход к организации безопасного хранения мастер-ключа, лишенный основных недостатков описанных выше вариантов. Именно этот способ представляется нам оптимальным.
Дело в том, что современные токены позволяют не только хранить в закрытой памяти данные, но выполняют аппаратно целый ряд криптографических преобразований. Например, смарт-карты, а также USB-ключи, представляющие собой полнофункциональные смарт-карты, а не их аналоги, реализуют асимметричные алгоритмы шифрования. Примечательно, что при этом пара открытый — закрытый ключ генерируется также аппаратно. Важно, что закрытый ключ на смарт-картах хранится как write-only, т. е. он используется операционной системой смарт-карты для криптографических преобразований, но не может быть прочитан или скопирован пользователем. Фактически пользователь сам не знает свой закрытый ключ — он только им обладает.
Данные, которые необходимо расшифровать, передаются операционной системе смарт-карты, аппаратно ею расшифровываются с помощью закрытого ключа и передаются обратно в расшифрованном виде (рис. 6). Все операции с закрытым ключом возможны только после ввода пользователем PIN-кода смарт-карты. Такой подход успешно используется во многих современных информационных системах для аутентификации пользователя. Применим он и для аутентификации при доступе к зашифрованной информации.
Мастер-ключ шифруется с помощью открытого ключа пользователя. Для получения доступа к данным пользователь предъявляет свою смарт-карту (или USB-ключ, являющийся полнофункциональной смарт-картой) и вводит ее PIN-код. Затем мастер-ключ аппаратно расшифровывается с помощью закрытого ключа, хранящегося на смарт-карте, и пользователь получает доступ к данным. Такой подход сочетает в себе безопасность и удобство использования.
Создать дубликат смарт-карты не может даже сам пользователь, так как невозможно скопировать закрытый ключ. Это также позволяет без опасения использовать смарт-карту совместно с любыми другими программами.
Методы пароллирования.
1) метод простого пароля - состоит во вводе одного пароля с клавиатуры ЭВМ 2) метод выборки символов - состоит в запросе системой определенных символов пароля, выбираемых случайным образом 3) метод пароля однократного использования - каждый раз вводится новый пароль из своего списка, затем этот пароль вычеркивается из списка 4) метод групп паролей - система может потребовать пароли из 2 групп: общие для всех пользователей вопросы и индивидуальные для каждого вопросы 5) метод функционального преобразования - пользователю при регистрации предлагается произвести умственные преобразования (например, одно число + удвоенное второе число и т.д.). Правила работы с паролями: 1) пароли должны хранится в памяти только в зашифрованном виде 2) символы пароля при их вводе не должны появляться в явном виде 3) пароли должны периодически меняться 4) пароли не должны быть простыми. Для проверки сложности паролей используются контроллеры. Методы снижения уязвимости паролей: 1) не использовать в кач-ве паролей слова, применяемы котроллером Klein 2) проверить пароли перед их использованием контроллером 3) часто менять пароли 4) при формировании паролей применять знаки препинаний и различные регистры 5) использовать наборы букв.
Метод замков и ключей.
Список замков представляет собой столбец матрицы доступа. Доступ разрешается если ключ подходит к одному из замков, владелец объекта может отменить доступ удалением из списка замков.
Под шифром понимают совокупность процедур и правил криптографических преобразований, используемых для зашифровывания и расшифровывания информации по ключу шифрования. Под зашифровыванием информации понимается процесс преобразования открытой информации (исходный текст) в зашифрованный текст (шифртекст). Процесс восстановления исходного текста по криптограмме с использованием ключа шифрования называют расшифровыванием (дешифрованием).
3. Векторная, растровая, фрактальная и программная графика, их сходство и различие.
Растровый формат характеризуется тем, что все изображение по вертикали и горизонтали разбивается на достаточно мелкие прямоугольники -- так называемые элементы изображения, или пикселы (от английского pixel -- picture element). В файле хранится информация о цвете каждого пиксела данного изображения. Весь массив элементарных единиц изображения называют растром (лат. rastrum – грабли). Степень четкости изображения зависит от количества строк на весь экран и количества точек в строке, которые представляют разрешающую способность экрана или просто разрешение. Чем больше строк и точек, тем четче и лучше изображение. Достаточно хорошим считается разрешение 640x480, то есть 640 точек на строку и 480 строчек на экран.
При векторном формате рисунок представляется в виде комбинации простых геометрических фигур (графических примитивов) – точек, отрезков прямых и кривых, окружностей, прямоугольников и т. п. При этом для полного описания рисунка необходимо знать вид и базовые координаты каждой фигуры, например, координаты двух концов отрезка, координаты центра и диаметр окружности и т. д.
Этот способ кодирования идеально подходит для рисунков, которые легко представить в виде комбинации простейших фигур, например, для технических чертежей.
Представление в памяти
Кодирование растрового изображения
При записи изображения в память компьютера кроме цвета отдельных точек необходимо фиксировать много дополнительной информации – размеры рисунка, яркость точек и т. д. Конкретный способ кодирования всей требуемой при записи изображения информации образует графический формат. Форматы кодирования графической информации, основанные на передаче цвета каждого отдельного пикселя, из которого состоит изображение, относят к группе растровых или BitMap форматов (bit map – битовая карта).
Растровое изображение представляет собой совокупность точек (пикселей) разных цветов.
Форматы растрового изображения
Наиболее известными растровыми форматами являются BMP, GIF и JPEG форматы. По требованиям к памяти формат JPEG занимает промежуточное положение между форматами BMP и GIF.
Кодирование векторного изображения
Растровая графика обладает существенным недостатком – изображение, закодированное в одном из растровых форматов, очень плохо “переносит” увеличение или уменьшение его размеров – масштабирование. Для решения задач, в которых приходится часто выполнять эту операцию, были разработаны методы так называемой векторной графики.
Форматы растровой графики
WMF – векторный формат Windows. Понимается практически всеми программами Windows, так или иначе связанными с векторной графикой. Однако, несмотря на кажущуюся простоту и универсальность, пользоваться форматом WMF стоит только в крайних случаях, поскольку он не может сохранять некоторые параметры, которые могут быть присвоены объектам в различных векторных редакторах, способен исказить цветовую схему изображения.
DWG – векторный формат, используемый пакетом AutoCAD, для разработки чертежей.
VRML – векторный формат, используемый для создания 3D-моделей объектов. Активно используется в сети Интернет.
Векторная компьютерная графика.
В основе векторной компьютерной графики лежит расчёт координат экранных точек, входящих в состав линии контура изображения, поэтому этот вид компьютерной графики называют вычисляемым. В основе векторной графики лежат математические представления о свойствах геометрических фигур (в основном этот процесс затрагивает расчёты, связанные с представлением линии). Векторная графика использует для построения изображений координатный способ. Основным базовым понятием в векторной компьютерной графике является - линия.
Также, как и линия, основным базовым понятием для векторной графики является объект.
Объектом называется любой графический элемент внутри векторного изображения, состоящий из отрезка прямой или кривой линии или замкнутого контура. При редактировании элементов векторной графики изменяются параметры прямых и изогнутых линий, описывающих форму этих элементов. Можно переносить элементы, менять их размер, форму и цвет, но это не отразится на качестве их визуального представления.
Векторное представление именно и заключается в описании элементов изображения математическими кривыми с указанием их цветов. Еще один пример: красный эллипс на белом фоне будет описан всего двумя математическими формулами - прямоугольника и эллипса соответствующих цветов, размеров и местоположения.
Как следствие, еще одно преимущество - качественное масштабирование в любую сторону. Увеличение или уменьшение объектов производится увеличением или уменьшением соответствующих коэффициентов в математических формулах. Еще один плюс - векторная графика не зависит от разрешения, т.е. может быть показана в разнообразных выходных устройствах с различным разрешением без потери качества.
Файлы векторных изображений имеют гораздо меньший размер, чем растровых, так как в памяти компьютера каждый из объектов этой графики сохраняется в виде математических уравнений, в то время как параметры каждой точки (координаты, интенсивность, цвет) описываются в файле растровой графики индивидуально, отсюда – такие огромные размеры файлов. Наиболее популярными графическими программами, предназначенными для обработки векторных изображении, являются Adobe Illustrator и Corel DRAW.
Типичным примером такой системы является пакет программ AutoCAD. К средствам работы с векторной графикой, которые могут быть использованы для поддержки графических дисциплин, относят такие графические редакторы как Corel Draw, Macromedia Freehand, Adobe illustrator, AutoCAD, ArhiCAD..
Фрактальная графика является на сегодняшний день одним из самых быстро развивающихся перспективных видов компьютерной графики.
Математической основой фрактальной графики является фрактальная геометрия. Здесь в основу метода построения изображений положен принцип наследования от, так называемых, «родителей» геометрических свойств объектов-наследников.
Фракталом называется структура, состоящая из частей, которые в каком-то смысле подобны целому. Одним из основных свойств фракталов является самоподобие. Объект называют самоподобным, когда увеличенные части объекта походят на сам объект и друг на друга. Перефразируя это определение, можно сказать, что в простейшем случае небольшая часть фрактала содержит информацию обо всем фрактале.
Билет № 14
Понятие об архитектуре ИС. Виды, области применения. Одноранговые, централизованные, распределенные, терминальные системы. Архитектура клиент-сервер, терминальные системы, трехзвенные системы.
Два основных идеологических определения архитектуры ИС таковы:
Архитектура информационной системы - концепция, определяющая
модель, структуру, выполняемые функции и взаимосвязь компонентов
информационной системы.
Архитектура информационной системы - абстрактное понятие,
определяющее из каких составных частей (элементов, компонент)
состоит приложение и как эти части между собой взаимодействуют
Под составными частями (элементами, компонентами) приложения
обычно понимаются программы или программные модули
выполняющие отдельные, относительно изолированные задачи
Конструктивно архитектура обычно определяется как набор ответов на следующие вопросы:
что делает система ;
как эти части взаимодействуют;
где эти части размещены.3
на какие части она разделяется;
Терминальная система - это эффективное решение, позволяющее обеспечить Вашу организацию производительными рабочими местами при низких затратах на аппаратное и программное обеспечение.
Терминальная система организация схемы работы сетевой информационной системы, позволяющая оптимизировать финансовые затраты для построения мощной, гибкой и надежной информационной системы (ИС).
Терминальная система построена на основе сетевых технологий, и включает в себя сервер (чаще группу специализированных серверов) и связанные с ним (ними) рабочие станции (последнее более популярное название тонкий клиент).
Это сетевое решение позволяет построить максимально надежную, защищенную и легко управляемую IT-инфраструктуру с минимальными затратами. Оно основано на использовании так называемых «тонких клиентов» (thin clients), подключаемых к серверу терминалов.
«Тонкие клиенты» - это терминальные станции, за которыми работают пользователи, а все приложения при этом выполняются на сервере в многопользовательской операционной системе. Основная цель использования данного решения – снижение ТСО (общей стоимости владения).
Одной из наиболее успешных реализаций терминальной системы основано на использовании технологии загрузки бездисковых станций thinMaster, разработанной нашей компанией.

Рис. 3. Схема работы с БД в архитектуре "Клиент-сервер"
Одноранговые, централизованные, распределенные, терминальные системы.
Всё что есть!
Централизованные сети используют файл-сервер. Рабочие станции не контак-
тируют друг с другом. Число пользователей более десяти.
В одноранговых сетях сетевое управление таково, что каждый узел может вы- ступать и как рабочая станция, и как файл-сервер. Рабочие станции можно объединить и совместно использовать базы на файл-сервере. Такие сети недорогие, но число поль- зователей невелико.
Однора́нговые сети — это компьютерные сети, основанные на равноправии участников. В таких сетях отсутствуют выделенные серверы, а каждый узел (peer) является какклиентом, так и сервером. В отличие от архитектуры клиент-сервера, такая организация позволяет сохранять работоспособность сети при любом количестве и любом сочетании доступных узлов. Участниками сети являются пиры.
Распределенные ИС в первом приближении представляют сово- купность параллельно работающих систем. Под системой здесь понимается опреде- ленная архитектура взаимодействующих компонент, отграниченных от их окружения. Если активности компонент могут иметь место одновременно, говорят о параллельно работающих системах, то есть о параллельных системах или о параллельно протекаю- щих (параллельных) процессах. Если такие системы построены из отдельных, удален- ных друг от друга в пространстве компонент, то говорят также о распределенных сис
темах.
Клиент-сервер (рис. 3). В этой архитектуре на выделенном сервере, работающем под управлением серверной операционной системы, устанавливается специальное программное обеспечение (ПО) - сервер БД. СУБД подразделяется на две части: клиентскую и серверную. Основа работы сервера БД - использование языка запросов. Запрос на языке SQL, передаваемый клиентом (рабочей станцией) серверу БД, порождает поиск и извлечение данных на сервере. Извлеченные данные транспортируются по сети от сервера к клиенту. Тем самым, количество передаваемой по сети информации уменьшается во много раз.
Основные особенности:
Клиентское программа работает с данными через запросы к серверному ПО.
Базовые функции приложения разделены между клиентом и сервером.
Плюсы:
Полная поддержка многопользовательской работы
Гарантия целостности данных
Минусы:
Бизнес логика приложений осталась в клиентском ПО. При любом
изменении алгоритмов, надо бегать и обновлять пользовательское ПО
Под «клиентом» обычно подразумевают компьютер конечного пользователя
или программный код, выполняющий запрос к серверу (потребляющий услугу)
«Сервером» обычно называют машину или программный код,
предоставляющий сервис / отвечающий на запросы
Трехзвенная система
Клиент-серверная система SQL Server может иметь двухзвенную установку (two-tier setup) либо трехзвенную установку (three-tier setup). Независимо от варианта установки, программное обеспечение и базы данных SQL Server размещаются на центральном компьютере, который называется сервер базы данных(database server).
трехзвенной установке имеется третий компьютер, который называется сервер приложений. В системах этого типа в задачи компьютеров-клиентов входит лишь исполнение программного кода по вызову функций с сервера приложений и отображение результатов доступа. Такие клиенты называются тонкими(thin client).
Достоинством трехзвенной системы является то, что можно позволить серверу приложений организовывать все клиентские соединения с сервером базы данных, вместо того, чтобы разрешить каждому клиенту самостоятельно устанавливать соединения (такая самостоятельность может привести к нерациональному использованию ресурсов сервера базы данных). Этот подход называется организация пула соединений (connection pooling), при этом предполагается, что запросы клиентов помещаются в пул (или, говоря точно, в очередь, queue), в котором они будут дожидаться ближайшего доступного соединения.
Арифметико-логическое устройство (АЛУ): назначение, структура и принцип действия
Арифметико-логическое устройство (АЛУ) - это многофункциональное устройство, которое выполняет над входными числами различные арифметические и логические операции.
В современных ЭВМ арифметико-логическое устройство не является самостоятельным схемотехническим блоком. Оно входит в состав микропроцессора, на котором строится компьютер.
Общие сведения, функции и классификация
Арифметико-логическое устройство функционально можно разделить на две части :
а) микропрограммное устройство (устройство управления), задающее последовательность микрокоманд (команд);
б) операционное устройство (АЛУ), в котором реализуется заданная последовательность микрокоманд (команд).

Структурная схема АЛУ и его связь с другими блоками машины показаны на рисунке 2. В состав АЛУ входят регистры Рг1 – Рг7, в которых обрабатывается информация , поступающая из оперативной или пассивной памяти N1, N2, ...NS; логические схемы, реализующие обработку слов по микрокомандам, поступающим из устройства управления.
Закон переработки информации задает микропрограмма М, которая записывается в виде последовательности микрокоманд A1,A2, ..., Аn-1,An. При этом различают два вида микрокоманд: внешние, то есть такие микрокоманды, которые поступают в АЛУ от внешних источников и вызывают в нем те или иные преобразования информации (на рис. 2 микрокоманды A1,A2,..., Аn), и внутренние, которые генерируются в АЛУ и воздействуют на микропрограммное устройство, изменяя естественный порядок следования микрокоманд. Например, АЛУ может генерировать признаки в зависимости от результата вычислений j,w,Q и др. (j – признак переполнения, w – признак отрицательного числа, Q – признак равенства 0 всех разрядов числа), На рис. 2 эти микрокоманды обозначены р1, p2,..., рm.
Результаты вычислений из АЛУ передаются по кодовым шинам записи у1, у2, ...,уs, в ОЗУ.
Функции регистров, входящих в АЛУ:
Рг1 – сумматор (или сумматоры) – основной регистр АЛУ, в котором образуется результат вычислений;
Рг2, РгЗ – регистры слагаемых, сомножителей, делимого или делителя (в зависимости от выполняемой операции);
Рг4 – адресный регистр (или адресные регистры), предназначен для запоминания (иногда и формирования) адреса операндов и результата;
Рг6 – k индексных регистров, содержимое которых используется для формирования адресов;
Рг7 – l вспомогательных регистров, которые по желанию программиста могут быть аккумуляторами, индексными регистрами или использоваться для запоминания промежуточных результатов.
Часть операционных регистров является программно-доступной, то есть они могут быть адресованы в команде для выполнения операций с их содержимым. К ним относятся :
сумматор,
индексные регистры,
некоторые вспомогательные регистры.
3) Процессы и потоки. Многозадачность и многопоточность. Проблемы разработки приложений для многопоточной среды.
Процессы и потоки
Эти два понятия очень важны, и вы должны постараться их хорошенько осмыслить. Процессом (process) называется экземпляр вашей программы, загруженной в память. Этот экземпляр может создавать потоки (thread), которые представляют собой последовательность инструкций на выполнение. Важно понимать, что выполняются не процессы, а именно потоки. Причем любой процесс имеет хотя бы один поток. Этот поток называется главным (основным) потоком приложения.
Процесс (задача) - программа, находящаяся в режиме выполнения.
С каждым процессом связывается его адресное пространство, из которого он может читать и в которое он может писать данные.
Адресное пространство содержит:
саму программу
данные к программе
стек программы
С каждым процессом связывается набор регистров, например:
счетчика команд (в процессоре) - регистр в котором содержится адрес следующей, стоящей в очереди на выполнение команды. После того как команда выбрана из памяти, счетчик команд корректируется и указатель переходит к следующей команде.
указатель стека
Создание процесса
Загрузка системы
Работающий процесс подает системный вызов на создание процесса
Запрос пользователя на создание процесса
Во всех случаях, активный текущий процесс посылает системный вызов на создание нового процесса.
Завершение процесса
Плановое завершение (окончание выполнения)
Плановый выход по известной ошибке (например, отсутствие файла)
Выход по неисправимой ошибке (ошибка в программе)
Уничтожение другим процессом
Состояние процессов
Выполнение (занимает процессор)
Готовность (процесс временно приостановлен, чтобы позволить выполняться другому процессу)
Ожидание (процесс не может быть запущен по своим внутренним причинам, например, ожидая операции ввода/вывода)
Понятие потока
Каждому процессу соответствует адресное пространство и одиночный поток исполняемых команд. В многопользовательских системах, при каждом обращении к одному и тому же сервису, приходится создавать новый процесс для обслуживания клиента. Это менее выгодно, чем создать квазипараллельный поток внутри этого процесса с одним адресным пространством.
Модель потока
С каждым потоком связывается:
Счетчик выполнения команд
Регистры для текущих переменных
Стек
Состояние
Потоки делят между собой элементы своего процесса:
Адресное пространство
Глобальные переменные
Открытые файлы
Таймеры
Статистическую информацию.
Преимущества использования потоков
Упрощение программы в некоторых случаях, за счет использования общего адресного пространства.
Быстрота создания потока, по сравнению с процессом, примерно в 100 раз.
Повышение производительности самой программы, т.к. есть возможность одновременно выполнять вычисления на процессоре и операцию ввода/вывода. Пример: текстовый редактор с тремя потоками может одновременно взаимодействовать с пользователем, форматировать текст и записывать на диск резервную копию.
Многопото́чность — свойство платформы (например, операционной системы, JVM и т. д.) или приложения, состоящее в том, чтопроцесс, порождённый в операционной системе, может состоять из нескольких потоков, выполняющихся «параллельно», то есть без предписанного порядка во времени. При выполнении некоторых задач такое разделение может достичь более эффективного использования ресурсов вычислительной машины.
Такие потоки называют также потоками выполнения (от англ. thread of execution); иногда называют «нитями»
Сутью многопоточности является квазимногозадачность на уровне одного исполняемого процесса, то есть все потоки выполняются вадресном пространстве процесса. Кроме этого, все потоки процесса имеют не только общее адресное пространство, но и общие дескрипторы файлов. Выполняющийся процесс имеет как минимум один (главный) поток.
Многозадачность - характеристика операционной системы, обеспечивающая (псевдо) одновременное выполнение нескольких задач на одном компьютере. Различают:
- невытесняющую многозадачность;
- кооперативную многозадачность;
- вытесняющую многозадачность (режим реального времени).
Свойства многозадачной среды
Более развитые многозадачные системы проводят распределение ресурсов динамически, когда задача стартует в памяти или покидает память в зависимости от её приоритета и от стратегии системы. Такая многозадачная среда обладает следующими особенностями:
Каждая задача имеет свой приоритет, в соответствии с которым получает процессорное время и память
Система организует очереди задач так, чтобы все задачи получили ресурсы, в зависимости от приоритетов и стратегии системы
Система организует обработку прерываний, по которым задачи могут активироваться, деактивироваться и удаляться
Система обеспечивает защиту адресного пространства задачи от несанкционированного вмешательства других задач
Система распознаёт сбои и зависания отдельных задач и прекращает их
Система гарантирует каждой задаче, что рано или поздно она будет активирована
Система обрабатывает запросы реального времени
Проблемы разработки приложений для многопоточной среды.
многопоточность — одна из сложнейших областей программирования. Малейшая невнимательность приводит к появлению неуловимых ошибок, на исправление которых уходят астрономические суммы.
Всёё нет больше
Билет № 15
1) Предметная область и моделирование АИС.
Предметная область - это совокупность объектов реального или предполагаемого мира,
рассматриваемых в пределах данного контекста, который понимается как отдельное
рассуждение, фрагмент научной теории или теория в целом и ограничивается рамками данного
контекста.
Ядром любой АИС является информационная база (ИБ), представляющая статичную
информационную модель предметной области АИС, т. е. содержит систематизированное
описание совокупности объектов, свойств, объектов и связей между объектами в предметной
области. Совокупность функций, выполняемых объектами, моделируется программным
обеспечением АИС.
Описание предметной области, уровни моделирования
Единая информационная база может одновременно, или в различные моменты времени,
обеспечить совершенно разные функциональные требования пользователей АИС. Совместно
используя общую информацию, эти пользователи устанавливают диалог друг с другом через
систему. Очевидно, для того, чтобы эта связь была полезной и надежной, должно существовать
общее понимание информации, представленной в ИБ. Объекты и события, к которым относится
общее понимание информации- это объекты и события предметной области.
Предметная область состоит из реальных и абстрактных объектов, которые называют
сущностями. Классификация сущностей основывается на сходстве и учитывает
характеристики, общие для нескольких сущностей (например, люди, подразделения, фирмы,
даты).
Разработка любой АИС начинается с системного анализа предметной области, в
результате которого создается концептуальная схема предметной области- представляющая
собой совокупность высказываний, истинных для данной предметной области, включая
возможные состояния, классификации, законы, правила.
При разработке концептуальной схемы значительную роль играет абстракция-
формирование образов реальности посредством отвлечения и пополнения.
Концептуальное представление концентрирует внимание на смысле информации, именно
концептуальная схема описывает это представление. На базе концептуальной схемы создаются
внешние схемы, описания которых сосредоточены на том, как представлена информация для
пользователя. Описание внутреннего физического представления, данных в вычислительной
схеме содержится во внутренней схеме.
Взаимодействие предметной области, пользователей и АИС
Концептуальная схема и информационная база абсолютно неизменны, пока нечто не
произведет изменения в них. Это нечто называют информационным процессом. То есть
развивая дальше концепцию АИС, вводят понятие информационной системы, состоящей из
концептуальной схемы, информационной базы и информационного процессора.
Информационный процессор производит изменения в информационной базе или
концептуальной схеме только при получении сообщения. Сообщение содержит информацию
и/или выражает команды. Сообщения исходят из некоторой части реального мира, которую
называют средой, которая может быть или не быть внешней по отношению к предметной
области.
2) Классификация программного обеспечения (ПО). Базовый уровень ПО. Системный уровень ПО. Драйверы. Служебный уровень ПО. Утилиты. Прикладной уровень ПО.
Программное обеспечение (ПО) - это совокупность всех программ и соответствующей документации, обеспечивающая использование ЭВМ в интересах каждого ее пользователя.
Различают системное и прикладное ПО. Схематически программное обеспечение можно представить так:

Системное ПО – это совокупность программ для обеспечения работы компьютера. Системное ПО подразделяется на базовое и сервисное. Системные программы предназначены для управления работой вычислительной системы, выполняют различные вспомогательные функции (копирования, выдачи справок, тестирования, форматирования и т. д).
Базовое ПО включает в себя:
операционные системы;
оболочки;
сетевые операционные системы.
Сервисное ПО включает в себя программы (утилиты):
диагностики;
антивирусные;
обслуживания носителей;
архивирования;
обслуживания сети.
Прикладное ПО – это комплекс программ для решения задач определённого класса конкретной предметной области. Прикладное ПО работает только при наличии системного ПО.
Прикладные программы называют приложениями. Они включает в себя:
текстовые процессоры;
табличные процессоры;
базы данных;
интегрированные пакеты;
системы иллюстративной и деловой графики (графические процессоры);
экспертные системы;
обучающие программы;
программы математических расчетов, моделирования и анализа;
игры;
коммуникационные программы.
Особую группу составляют системы программирования (инструментальные системы), которые являются частью системного ПО, но носят прикладной характер. Системы программирования – это совокупность программ для разработки, отладки и внедрения новых программных продуктов. Системы программирования обычно содержат:
трансляторы;
среду разработки программ;
библиотеки справочных программ (функций, процедур);
отладчики;
редакторы связей и др.
Базовый уровень
Базовый уровень является низшим уровнем программного обеспечения. Отвечает за взаимодействие с базовыми аппаратными средствами. Базовое программное обеспечение содержится в составе базового аппаратного обеспечения и сохраняется в специальных микросхемах постоянного запоминающего устройства (ПЗУ), образуя базовую систему ввода-вывода BIOS. Программы и данные записываются в ПЗУ на этапе производства и не могут быть изменены во время эксплуатации.
Системный уровень
Системный уровень - является переходным. Программы этого уровня обеспечивают взаимодействие других программ компьютера с программами базового уровня и непосредственно с аппаратным обеспечением. От программ этого уровня зависят эксплуатационные показатели всей вычислительной системы. При подсоединении к компьютеру нового оборудования, на системном уровне должна быть установлена программа, обеспечивающая для остальных программ взаимосвязь с устройством. Конкретные программы, предназначенные для взаимодействия с конкретными устройствами, называют драйверами.
Другой класс программ системного уровня отвечает за взаимодействие с пользователем. Благодаря ему, можно вводить данные в вычислительную систему, руководить ее работой и получать результат в удобной форме. Это средства обеспечения пользовательского интерфейса, от них зависит удобство и производительность работы с компьютером.
Совокупность программного обеспечения системного уровня образует ядро операционной системы компьютера. Наличие ядра операционной системы - это первое условие для возможности практической работы пользователя с вычислительной системой. Ядро операционной системы выполняет такие функции: управление памятью, процессами ввода-вывода, файловой системой, организация взаимодействия и диспетчеризация процессов, учет использования ресурсов, обработка команд и т.д.
Служебный уровень
Программы этого уровня взаимодействуют как с программами базового уровня, так и с программами системного уровня. Назначение служебных программ (утилит) состоит в автоматизации работ по проверке и настройки компьютерной системы, а также для улучшения функций системных программ. Некоторые служебные программы (программы обслуживания) сразу входят в состав операционной системы, дополняя ее ядро, но большинство являются внешними программами и расширяют функции операционной системы. То есть, в разработке служебных программ отслеживаются два направления: интеграция с операционной системой и автономное функционирование.
Классификация служебных программных средств
1. Диспетчеры файлов (файловые менеджеры). С их помощью выполняется большинство операций по обслуживанию файловой структуры: копирование, перемещение, переименование файлов, создание каталогов (папок),
2. Средства сжатия данных (архиваторы)..
3. Средства диагностики.
4. Программы инсталляции (установки). Предназначены для контроля за добавлением в текущую программную конфигурацию нового программного обеспечения.
5. Средства коммуникации. Разрешают устанавливать соединение с удаленными компьютерами, передают сообщения электронной почты, пересылают факсимильные сообщения и т.п..
Прикладной уровень
Программное обеспечение этого уровня представляет собой комплекс прикладных программ, с помощью которых выполняются конкретные задачи (производственных, творческих, развлекательных и учебных). Между прикладным и системным программным обеспечением существует тесная взаимосвязь. Универсальность вычислительной системы, доступность прикладных программ и широта функциональных возможностей компьютера непосредственно зависят от типа имеющейся операционной системы, системных средств, помещенных в ее ядро и взаимодействии комплекса человек-программа-оборудование.
Классификация прикладного программного обеспечения
1. Текстовые редакторы. это ввод и редактирование текстовых данных. 2. Текстовые процессоры. Разрешают форматировать, то есть оформлять текст. средства обеспечения взаимодействия текста, графики, таблиц и других объектов, составляющих готовый документ,.
3. Графические редакторы.
4. Системы управления базами данных (СУБД). Базой данных называют большие массивы данных, организованные в табличные структуры. Основные функции СУБД:
создание пустой структуры базы данных;
наличие средств ее заполнения или импорта данных из таблиц другой базы;
возможность доступа к данных, наличие средств поиска и фильтраци.
5. Электронные таблицы. Предоставляют комплексные средства для хранения разных типов данных и их обработки.
6. Системы автоматизированного проектирования (CAD-системы). Предназначены для автоматизации проектно-конструкторских работ. Применяются в машиностроении, приборостроении, архитектуре. Кроме графических работ, разрешают проводить простые расчеты и выбор готовых конструктивных элементов из существующей базы данных.
8. Редакторы HTML (Web-редакторы). Особый класс редакторов, объединяющих в себе возможности текстовых и графических редакторов. 9. Браузеры (средства просмотра Web-документов). Программные средства предназначены для просмотра электронных документов, созданных в формате HTML
10. Системы автоматизированного перевода. Различают электронные словари и программы перевода языка.
Дра́йвер (англ. driver) (множественное число дра́йверы) — это компьютерная программа, с помощью которой другая программа (обычно операционная система) получает доступ к аппаратному обеспечению некоторого устройства. В общем случае, для использования любого устройства (как внешнего, так и внутреннего) необходим драйвер. Обычно с операционными системами поставляются драйверы для ключевых компонентов аппаратного обеспечения, без которых система не сможет работать. Однако для некоторых устройств (таких, как графическая плата или принтер) могут потребоваться специальные драйверы, обычно предоставляемые производителем устройства.
Утили́та (англ. utility или tool) — компьютерная программа, расширяющая стандартные возможности оборудования и операционных систем, выполняющая узкий круг специфических задач.
Утилиты предоставляют доступ к возможностям (параметрам, настройкам, установкам), недоступным без их применения, либо делают процесс изменения некоторых параметров проще (автоматизируют его).
Утилиты зачастую входят в состав операционных систем или идут в комплекте со специализированным оборудованием.
Дефрагментаторы
Проверка диска — поиск неправильно записанных либо повреждённых различным путём файлов и участков диска и их последующее удаление для эффективного использования дискового пространства.
Scandisk
Очистка диска — удаление временных файлов, ненужных файлов, чистка «корзины».
Разметка диска — деление диска на логические диски, которые могут иметь различные файловые системы и восприниматься операционной системой как несколько различных дисков.
Резервное копирование — создание резервных копий целых дисков и отдельных файлов, а также восстановление из этих копий.
Сжатие дисков — сжатие информации на дисках для увеличения вместимости жёстких дисков.
Менеджеры процессов
Тесты оборудования
3) Аудит в информационных системах. Функции и назначение аудита, его роль в обеспечении информационной безопасности. Понятие электронной цифровой подписи. Процедуры формирования цифровой подписи.
Аудит информационных систем – это процесс проведения всестороннего анализа ИТ-инфраструктуры на предмет её соответствия определённым стандартам, политикам и регламентам.
Основные цели аудита:
Требуется создание документации по имеющейся инфраструктуре.
Требуется определить удовлетворяет ли ИТ-инфраструктура бизнес потребностям компании.
Требуется выяснить причины инцидентов, сбоев, отказов в обслуживании.
Требуется установить, соответствует ли ИТ-инфраструктура политике безопасности.
Требуется проверить квалификацию персонала ИТ отдела.
Требуется оценка оправданности затрат на ИТ, с целью их снижения.
Требуется проверить и протестировать соответствие регламенту резервного копирования.
Вообще аудиты рекомендуется проводить на регулярной основе, например раз в год, даже если не проводится никаких изменений в инфраструктуре, поскольку даже очень хорошо спроектированная инфраструктура нуждается в регламентном обслуживании и контроле
аудит можно разделить на 4 глобальных этапа:
Сбор информации. Сбор информации заключается в глубоком анализе всех уровней иерархии информационной системыПроводится анализ состояния оборудования, его настроек и параметров. Проводится анализ установленного программного обеспечения.
Анализ собранных данных. Все собранные в процессе аудита данные анализируются группой специалистов. Проверяется оптимальность инфраструктуры в целом и её соответствие бизнес задачам компании.
Составление документации. По итогам анализа составляется подробный отчёт, который содержит описание ИТ-инфраструктуры в целом, начиная от параметров ПО и оборудования, заканчивая ИТ процессами.
Создание стратегии развития или реорганизации. Рекомендации по оптимизации ИТ процессов, рекомендации по изменению тех или иных параметров ПО и оборудования, рекомендации по оптимизации затрат или замене ИТ персонала.
Определение понятия ЭЦП приведено в законе "Об электронной цифровой подписи":
электронная цифровая подпись - реквизит электронного документа, предназначенный для защиты данного электронного документа от подделки, полученный в результате криптографического преобразования информации с использованием закрытого ключа электронной цифровой подписи и позволяющий идентифицировать владельца сертификата ключа подписи, а также установить отсутствие искажения информации в электронном документе;
ЭЦП — аналог собственноручной подписи — для придания электронному документу юридической силы, равной бумажному документу, подписанному собственноручной подписью правомочного лица и/или скрепленного печатью. ЭЦП обеспечивает проверку целостности документов, конфиденциальность, установление лица, отправившего документ. Это позволяет усовершенствовать процедуру подготовки, доставки, учета и хранения документов, гарантировать их достоверность.
ЭЦП формируется в результате преобразования информации с использованием средств криптографической защиты информации (СКЗИ) и позволяет идентифицировать владельца сертификата ключа подписи, а также установить отсутствие искажения информации в электронном документе. Мы в своей работе используем только сертифицированные в установленном порядке программные средства.
Общая суть электронной подписи заключается в следующем. С помощью криптографической хэш-функции на основании документа вычисляется относительно короткая строка символов фиксированной длины (хэш). Затем этот хэш шифруется закрытым ключом владельца — результатом является подпись документа. Подпись прикладывается к документу, таким образом получается подписанный документ. Лицо, желающее установить подлинность документа, расшифровывает подпись открытым ключом владельца, а также вычисляет хэш документа. Документ считается подлинным, если вычисленный по документу хэш совпадает с расшифрованным из подписи, в противном случае документ является подделанным.
Электронная цифровая подпись в электронном документе равнозначна собственноручной подписи в документе на бумажном носителе при одновременном соблюдении следующих условий:
Процедура формирования цифровой подписи. На подготовительном этапе этой процедуры абонент А — отправитель сообщения — генерирует пару ключей: секретный ключ кА и открытый ключ КА. Открытый ключ КА вычисляется из парного ему секретного ключа кА. Открытый ключ КА рассылается остальным абонентам сети (или делается доступным, например на разделяемом ресурсе) для использования при проверке подписи. Для формирования цифровой подписи отправитель Л прежде всеговычисляет значение хэш-функции h{M) подписываемого текста М (рис. 5.6).
Рис. 5.6. Схема формирования электронной цифровой подписи
Хэш-функция служит для сжатия исходного подписываемого текста М в дайджест т — относительно короткое число, состоящее из фиксированного небольшого числа битов и характеризующее весь текст М в целом (см. разд. 5.5.2). Далее отправитель Л шифрует дайджест т своим секретным ключом кА. Получаемая при этом пара чисел представляет собой цифровую подпись для данного текста М. Сообщение Мвместе с цифровой подписью отправляется в адрес получателя.
Билет 19
1.Проектирование баз данных
Проектирование баз данных - процесс решения класса задач, связанных с созданием баз данных.
Основные задачи проектирования баз данныхОсновные задачи:
Обеспечение хранения в БД всей необходимой информации.
Обеспечение возможности получения данных по всем необходимым запросам.
Сокращение избыточности и дублирования данных.
Обеспечение целостности данных (правильности их содержания): исключение противоречий в содержании данных, исключение их потери и т.д.
Основные этапы проектирования баз данныхКонцептуальное (инфологическое) проектирование – построение формализованной модели предметной области. Такая модель строится с использованием стандартных языковых средств, обычно графических, например ER-диаграмм. Такая модель строится без ориентации на какую-либо конкретную СУБД.
Основные элементы данной модели:
Описание объектов предметной области и связей между ними.
Описание информационных потребностей пользователей (описание основных запросов к БД).
Описание алгоритмических зависимостей между данными.
Описание ограничений целостности, т.е. требований к допустимым значениям данных и к связям между ними.
Логическое (даталогическое) проектирование – отображение инфологической модели на модель данных, используемую в конкретной СУБД, например на реляционную модель данных. Для реляционных СУБД даталогическая модель – набор таблиц, обычно с указанием ключевых полей, связей между таблицами. Если инфологическая модель построена в виде ER-диаграмм (или других формализованных средств), то даталогическое проектирование представляет собой построение таблиц по определённым формализованным правилам, а также нормализацию этих таблиц. Этот этап может быть в значительной степени автоматизирован.
Физическое проектирование – реализация даталогической модели средствами конкретной СУБД, а также выбор решений, связанных с физической средой хранения данных: выбор методов управления дисковой памятью, методов доступа к данным, методов сжатия данных и т.д. – эти задачи решаются в основном средствами СУБД и скрыты от разработчика БД.
На этапе инфологического проектирования в ходе сбора информации о предметной области требуется выяснить:
основные объекты предметной области (объекты, о которых должна храниться информация в БД);
атрибуты объектов;
связи между объектами;
основные запросы к БД.
НормализацияНормализованные отношения (таблицы) обладают лучшими свойствами для хранения и обновления данных. Сначала БД проверяется на первую нормальную форму (1НФ), затем на вторую (2НФ), 3-ю (3НФ), нормальную форму Бойса-Кодда (НФБКД), чётвертую (4НФ) и др. Если таблица не соответствует какой-либо нормальной форме, то выполняется её приведение к нормальной форме путём вертикального разбиения (проекция).
Модели «Сущность - Связь»Модель «сущность-связь» (англ. “Entity-Relationship model”), или ER-модель, предложенная П. Ченом[1], является наиболее известным представителем класса семантических (концептуальных, инфологических) моделей предметной области. ER-модель обычно представляется в графической форме, с использованием оригинальной нотации П. Чена, называемой ER-диаграмма, либо с использованием других графических нотаций (Crow's Foot, Information Engineering и др.).
Основные преимущества ER-моделей:
наглядность;
модели позволяют проектировать базы данных с большим количеством объектов и атрибутов;
ER-модели реализованы во многих системах автоматизированного проектирования баз данных (например, ERWin).
Основные элементы ER-моделей:
объекты (сущности);
атрибуты объектов;
связи между объектами.
Сущность - любой объект предметной области, имеющий атрибуты.
Связь между сущностями характеризуется:
типом связи (1:1, 1:М, М:М);
классом принадлежности. Класс может быть обязательным и необязательным. Если каждый экземпляр сущности участвует в связи, то класс принадлежности – обязательный, иначе – необязательный.
Семантические моделиСемантическая модель (концептуальная модель, инфологическая модель) – модель предметной области, предназначенная для представления семантики предметной области на самом высоком уровне абстракции. Это означет, что устранена или минимизирована необходимость использовать понятия «низкого уровня», связанные со спецификой физического представления и хранения данных.
Дейт К. Дж. Введение в системы баз данных. — 8-е изд. — М.: «Вильямс», 2006:
Семантическое моделирование стало предметом интенсивных исследований с конца 1970-х годов. Основным побудительным мотивом подобных исследований (т.е. проблемой, которую пытались разрешить исследователи) был следующий факт. Дело в том, что системы баз данных обычно обладают весьма ограниченными сведениями о смысле хранящихся в них данных. Чаще всего они позволяют лишь манипулировать данными определенных простых типов и определяют некоторые простейшие ограничения целостности, наложенные на эти данные. Любая более сложная интерпретация возлагается на пользователя. Однако было бы замечательно, если бы системы могли обладать немного более широким объемом сведений и несколько интеллектуальнее отвечать на запросы пользователя, а также поддерживать более сложные (т.е. более высокоуровневые) интерфейсы пользователя.
[…]
Идеи семантического моделирования могут быть полезны как средство проектирования базы данных даже при отсутствии их непосредственной поддержки в СУБД.
Наиболее известным представителем класса семантических моделей является модель «сущность-связь» (ER-модель).
2. Понятие виртуальной машины. Принципы работы, управления, защиты данных и памяти
Виртуальная машина (англ. virtual machine) — программная или аппаратная среда, исполняющая некоторый код (например, байт-код, шитый код, p-код илимашинный код реального процессора), или спецификация такой системы (например: «виртуальная машина языка программирования Си»).
Зачастую виртуальная машина эмулирует работу реального компьютера. На виртуальную машину, так же как и на реальный компьютер, можно устанавливать операционную систему, у виртуальной машины также есть BIOS,оперативная память, жёсткий диск (выделенное место на жёстком диске реального компьютера), могут эмулироваться периферийные устройства. На одном компьютере может функционировать несколько виртуальных машин.
Принцип работы
Виртуальная машина имеет свой BIOS, оперативную память, жёсткий диск (выделенные из реального компьютера) и способна эмулировать периферийные устройства.
Работа ее основана на технологии квази-эмуляции, позволяющей аппаратно невиртуализируемый процессор виртуализировать программным путем. Основные задачи квази-эмуляции включают: необходимость определить множество инструкций процессора, которые можно исполнять без эмуляции; необходимость определить множество инструкций процессора, которые нельзя исполнять без эмуляции, а также обеспечить обнаружение этих инструкций в гостевом коде и произвести их эмуляцию; когда требуется взаимодействие с хостовой операционной системой (например, при эмуляции внешних устройств) нужно обеспечить переключение в ее контекст и использовать ее функции, а для нормального функционирования хостовой операционной системы надо обеспечить передачу ей прерываний от внешних устройств, произошедших в контексте гостевой операционной системы.
3. Идентификация и аутентификация при входе в информационную систему. Использование парольных схем. Недостатки парольных схем. Применение программно-аппаратных средств аутентификации
Аутентификация, авторизация и администрирование действий пользователей
С каждым зарегистрированным в компьютерной системе субъектом (пользователем или процессом, действующим от имени пользователя) связана некоторая информация, однозначно идентифицирующая его. Это может быть число или строка символов, именующие данный субъект. Эту информацию называют идентификатором субъекта. Если пользователь имеет идентификатор, зарегистрированный в сети, он считается легальным (законным) пользователем; остальные пользователи относятся к нелегальным пользователям. Прежде чем получить доступ к ресурсам компьютерной системы, пользователь должен пройти процесс первичного взаимодействия с компьютерной системой, который включает идентификацию и аутентификацию.
Идентификация (Identification) — процедура распознавания пользователя по его идентификатору (имени). Эта функция выполняется, когда пользователь делает попытку войти в сеть. Пользователь сообщает системе по ее запросу свой идентификатор, и система проверяет в своей базе данных его наличие.
Аутентификация {Authentication) — процедура проверки подлинности заявленного пользователя, процесса или устройства. Эта проверка позволяет достоверно убедиться, что пользователь (процесс или устройство) является именно тем, кем себя объявляет. При проведении аутентификации проверяющая сторона убеждается в подлинности проверяемой стороны, при этом проверяемая сторона тоже активно участвует в процессе обмена информацией. Обычно пользователь подтверждает свою идентификацию, вводя в систему уникальную, не известную другим пользователям информацию о себе (например, пароль или сертификат).
Идентификация и аутентификация являются взаимосвязанными процессами распознавания и проверки подлинности субъектов (пользователей). Именно от них зависит последующее решение системы: можно ли разрешить доступ к ресурсам системы конкретному пользователю или процессу. После идентификации и аутентификации субъекта выполняется его авторизация.
Авторизация (Authorization) — процедура предоставления субъекту определенных полномочий и ресурсов в данной системе. Иными словами, авторизация устанавливает сферу его действия и доступные ему ресурсы. Если система не может надежно отличить авторизованное лицо от неавторизованного, то конфиденциальность и целостность информации в этой системе могут быть нарушены. Организации необходимо четко определить свои требования к безопасности, чтобы принимать решения о соответствующих границах авторизации.
С процедурами аутентификации и авторизации тесно связана процедура администрирования действий пользователя.
Администрирование {Accounting) — регистрация действий пользователя в сети, включая его попытки доступа к ресурсам. Хотя эта учетная информация может быть использована для выписывания счета, с позиций безопасности она особенно важна для обнаружения, анализа инцидентов безопасности в сети и соответствующего реагирования на них. Записи в системном журнале, аудиторские проверки и ПО accounting — все это может быть использовано для обеспечения подотчетности пользователей, если что-либо случится при входе в сеть с их идентификатором.
Необходимый уровень аутентификации определяется требованиями безопасности, которые установлены в организации. Общедоступные Web-серверы могут разрешить анонимный или гостевой доступ к информации. Финансовые транзакции могут потребовать строгой аутентификации. Примером слабой формы аутентификации может служить использование IP-адреса для определения пользователя. Подмена (spoofing) IP-адреса может легко разрушить механизм аутентификации. Надежная аутентификация является тем ключевым фактором, который гарантирует, что только авторизованные пользователи получат доступ к контролируемой информации.
При защите каналов передачи данных должна выполняться взаимная аутентификация субъектов, т. е. взаимное подтверждение подлинности субъектов, связывающихся между собой по линиям связи. Процедура подтверждения подлинности выполняется обычно в начале сеанса установления соединения абонентов. Термин «соединение» указывает на логическую связь (потенциально двустороннюю) между двумя субъектами сети. Цель данной процедуры — обеспечить уверенность, что соединение установлено с законным субъектом и вся информация дойдет до места назначения.
Для подтверждения своей подлинности субъект может предъявлять системе разные сущности. В зависимости от предъявляемых субъектом сущностей процессы аутентификации могут быть разделены на основе:
знания чего-либо.
обладания чем-либо.
Персональный идентификационный номер PIN (Personal Identification Number) является испытанным способом аутентификации держателя пластиковой карты и смарт-карты. Секретное значение PIN-кода должно быть известно только держателю карты.
Динамический {одноразовый) пароль — это пароль, который после однократного применения никогда больше не используется. На практике обычно используется регулярно меняющееся значение, которое базируется на постоянном пароле или ключевой фразе.
Система запрос—ответ. Одна из сторон инициирует аутентификацию с помощью посылки другой стороне уникального и непредсказуемого значения «запрос», а другая сторона посылает ответ, вычисленный с помощью «запроса» и секрета. Так как обе стороны владеют одним секретом, то первая сторона может проверить правильность ответа второй стороны.
Сертификаты и цифровые подписи. Если для аутентификации используются сертификаты, то требуется применение цифровых подписей на этих сертификатах. Сертификаты выдаются ответственным лицом в организации пользователя, сервером сертификатов или внешней доверенной организацией. В рамках Интернета появились коммерческие инфраструктуры управления открытыми ключами PKI (Public Key Infrastructure) для распространения сертификатов открытых ключей. Пользователи могут получить сертификаты различных уровней.
Процессы аутентификации можно также классифицировать по уровню обеспечиваемой безопасности. В соответствии с этим процессы аутентификации разделяются на следующие типы:
аутентификация, использующая пароли и PIN-коды;
строгая аутентификация на основе использования криптографических методов и средств;
биометрическая аутентификация пользователей.
С точки зрения безопасности каждый из перечисленных типов способствует решению своих специфических задач, поэтому процессы и протоколы аутентификации активно используются на практике.
Основные атаки на протоколы аутентификации:
маскарад {impersonation). Пользователь выдает себя за другого с целью получения полномочий и возможности действий от лица другого пользователя;
подмена стороны аутентификациоиного обмена {interleaving attack). Злоумышленник в ходе данной атаки участвует в процессе аутентификационного обмена между двумя сторонами с целью модификации проходящего через него трафика;
повторная передача {replay attack) заключается в повторной передаче аутентификационных данных каким-либо пользователем;
принудительная задержка {forced delay). Злоумышленник перехватывает некоторую информацию и передает ее спустя некоторое время;
атака с выборкой текста {chosen-text attack). Злоумышленник перехватывает аутентификационный трафик и пытается получить информацию о долговременных криптографических ключах.
Для предотвращения таких атак при построении протоколов аутентификации применяются:
использование механизмов типа «запрос—ответ», «отметка времени», случайных чисел, идентификаторов, цифровых подписей;
привязка результата аутентификации к последующим действиям пользователей в рамках системы. Примером подобного подхода может служить осуществление в процессе аутентификации обмена секретными сеансовыми ключами, которые используются при дальнейшем взаимодействии пользователей;
периодическое выполнение процедур аутентификации в рамках уже установленного сеанса связи и т. п.
Механизм «запрос—ответ» состоит в следующем. Если пользователь А хочет быть уверенным, что сообщения, получаемые им от пользователя В, не являются ложными, он включает в посылаемое для В сообщение непредсказуемый элемент — запрос X (например, некоторое случайное число). При ответе пользователь В должен выполнить над этим элементом некоторую операцию (например, вычислить некоторую функцию/(ЛО). Это невозможно осуществить заранее, так как пользователю В неизвестно, какое случайное число X придет в запросе. Получив ответ с результатом действий В, пользователь Л может быть уверен, что В — подлинный. Недостаток этого метода — возможность установления закономерности между запросом и ответом.
Механизм «отметка времени» подразумевает регистрацию времени для каждого сообщения. В этом случае каждый пользователь сети определяет, насколько «устарело» пришедшее сообщение, и решает не принимать его, поскольку оно может быть ложным.
В обоих случаях для защиты механизма контроля следует применять шифрование, чтобы быть уверенным, что ответ послан не злоумышленником.
При использовании отметок времени возникает проблема допустимого временного интервала задержки для подтверждения подлинности сеанса: сообщение с «временным штемпелем» в принципе не может быть передано мгновенно. Кроме того, компьютерные часы получателя и отправителя не могут быть абсолютно синхронизированы.
При сравнении и выборе протоколов аутентификации необходимо учитывать следующие характеристики:
наличие взаимной аутентификации. Это свойство отражает необходимость обоюдной аутентификации между сторонами аутентификационного обмена;
вычислительную эффективность. Это количество операций, необходимых для выполнения протокола;
коммуникационную эффективность. Данное свойство отражает количество сообщений и их длину, необходимую для осуществления аутентификации;
наличие третьей стороны. Примером третьей стороны может служить доверенный сервер распределения симметричных ключей или сервер, реализующий дерево сертификатов для распределения открытых ключей;
гарантии безопасности. Примером может служить применение шифрования и цифровой подписи [9, 54].
Методы аутентификации, использующие пароли и PIN-коды
Одной из распространенных схем аутентификации является простая аутентификация, которая основана на применении традиционных многоразовых паролей с одновременным согласованием средств его использования и обработки. Аутентификация на основе многоразовых паролей — простой и наглядный пример использования разделяемой информации. Пока в большинстве защищенных виртуальных сетей VPN (Virtual Private Network) доступ клиента к серверу разрешается по паролю. Однако все чаще применяются более эффективные средства аутентификации, например программные и аппаратные системы аутентификации на основе одноразовых паролей, смарт-карт, PIN-кодов и цифровых сертификатов.
Аутентификация на основе многоразовых паролей
Базовый принцип «единого входа» предполагает достаточность одноразового прохождения пользователем процедуры аутентификации для доступа ко всем сетевым ресурсам. Поэтому в современных операционных системах предусматривается централизованная служба аутентификации, которая выполняется одним из серверов сети и использует для своей работы базу данных (БД). В этой БД хранятся учетные данные о пользователях сети, включающие идентификаторы и пароли пользователей, а также другую информацию [45].
Процедуру простой аутентификации пользователя в сети можно представить следующим образом. Пользователь при попытке логического входа в сеть набирает свои идентификатор и пароль. Эти данные поступают для обработки на сервер аутентификации. В БД, хранящейся на сервере аутентификации, по идентификатору пользователя находится соответствующая запись. Из нее извлекается пароль и сравнивается с тем паролем, который ввел пользователь. Если они совпали, то аутентификация прошла успешно — пользователь получает легальный статус и получает те права и ресурсы сети, которые определены для его статуса системой авторизации.
В схеме простой аутентификации (рис. 7.1) передача пароля и идентификатора пользователя может производиться следующими способами :
• в незашифрованном виде; например, согласно протоколу парольной аутентификации PAP (Password Authentication Protocol) пароли передаются по линии связи в открытой незащищенной форме
Простая аутентификация с использованием пароля
• в защищенном виде; все передаваемые данные (идентификатор и пароль пользователя, случайное число и метки времени) защищены посредством шифрования или однонаправленной функции. Очевидно, что вариант аутентификации с передачей пароля пользователя в незашифрованном виде не гарантирует даже минимального уровня безопасности, так как подвержен многочисленным атакам и легко компрометируется. Чтобы защитить пароль, его нужно зашифровать перед пересылкой по незащищенному каналу. Для этого в схему включены средства шифрования Ек и расшифровывания DK, управляемые разделяемым секретным ключом К. Проверка подлинности пользователя основана на сравнении присланного пользователем пароля РА и исходного значения РА, хранящегося на сервере аутентификации. Если значения РА и Р'А совпадают, то пароль РА считается подлинным, а пользователь Л — законным.
Схемы организации простой аутентификации отличаются не только методами передачи паролей, но и видами их хранения и проверки. Наиболее распространенным способом является хранение паролей пользователей в открытом виде в системных файлах, причем на эти файлы устанавливаются атрибуты защиты от чтения и записи (например, при помощи описания соответствующих привилегий в списках контроля доступа ОС). Система сопоставляет введенный пользователем пароль с хранящейся в файле паролей записью. При этом способе не используются криптографические механизмы, такие как шифрование или однонаправленные функции. Очевидным недостатком этого способа является возможность получения злоумышленником в системе привилегий администратора, включая права доступа к системным файлам, и в частности, к файлу паролей.
Для обеспечения надежной защиты ОС пароль каждого пользователя должен быть известен только этому пользователю и никому другому, в том числе и администраторам системы. На первый взгляд то, что администратор знает пароль некоторого пользователя, не отражается негативно на безопасности системы, поскольку администратор, войдя в систему от имени обычного пользователя, получает права меньшие чем те, которые он получит, зайдя в систему от своего имени. Однако, входя в систему от имени другого пользователя, администратор получает возможность обходить систему аудита, а также совершать действия, компрометирующие этого пользователя, что недопустимо в защищенной системе. Таким образом, пароли пользователей не должны храниться в ОС в открытом виде.
С точки зрения безопасности предпочтительным является метод передачи и хранения паролей с использованием односторонних функций. Обычно для шифрования паролей в списке пользователей используют одну из известных криптографически стойких хэш-функций. В списке пользователей хранится не сам пароль, а образ пароля, являющийся результатом применения к паролю хэш-функции.
Одно направленность хэш-функции не позволяет восстановить пароль по образу пароля, но позволяет, вычислив хэш-функцию, получить образ введенного пользователем пароля и таким образом проверить правильность введенного пароля. В простейшем случае в качестве хэш-функции используется результат шифрования некоторой константы на пароле.
Такие функции удобны, если длина пароля и ключа одинаковы. В этом случае проверка подлинности пользователя А с помощью пароля РА состоит из пересылки серверу аутентификации отображения h(PA) и сравнения его с предварительно вычисленным и хранимым в БД сервера аутентификации эквивалентом h'(PA). Если отображения h(PA) и h'{PA) равны, то считается, что пользователь успешно прошел аутентификацию.
На практике пароли состоят лишь из нескольких символов, чтобы дать возможность пользователям запомнить их. Короткие пароли уязвимы к атаке полного перебора всех вариантов.
Различают две формы представления объектов, аутентифи-цирующих пользователя:
внешний аутентифицирующий объект, не принадлежащий системе;
внутренний объект, принадлежащий системе, в который переносится информация из внешнего объекта.
Внешние объекты могут быть представлены на различных носителях информации: пластиковых картах, смарт-картах, гибких магнитных дисках и т. п. Естественно, что внешняя и внутренняя формы представления аутентифицирующего объекта должны быть семантически тождественны.
Системы простой аутентификации на основе многоразовых паролей имеют пониженную стойкость, поскольку выбор аутен-тифицирующей информации происходит из относительно небольшого числа слов. Срок действия многоразового пароля должен быть определен в политике безопасности организации. Пароли должны регулярно изменяться, быть трудными для угадывания и не присутствовать в словаре.
Аутентификация на основе одноразовых паролей
Схемы аутентификации, основанные на традиционных многоразовых паролях, не обладают достаточной безопасностью. Такие пароли можно перехватить, разгадать, подсмотреть или просто украсть. Более надежными являются процедуры аутентификации на основе одноразовых паролей.
Суть схемы одноразовых паролей — использование различных паролей при каждом новом запросе на предоставление доступа. Одноразовый динамический пароль действителен только для одного входа в систему, и затем его действие истекает. Даже если его перехватили, он будет бесполезен. Динамический механизм задания пароля — один из лучших способов защиты процесса аутентификации от угроз извне. Обычно системы аутентификации с одноразовыми паролями используются для проверки удаленных пользователей.
Генерация одноразовых паролей может осуществляться аппаратным или программным способом. Некоторые аппаратные средства доступа на основе одноразовых паролей реализуются в виде миниатюрных устройств со встроенным микропроцессором, внешне похожих на платежные пластиковые карточки. Такие карты, обычно называемые ключами, могут иметь клавиатуру и небольшое дисплейное окно.
В качестве примера рассмотрим технологию аутентификации SecurlD на основе одноразовых паролей с использованием аппаратных ключей и механизма временной синхронизации. Эта технология разработана компанией Security Dynamics и реализована в коммуникационных серверах ряда компаний, в частности в серверах компании Cisco Systems и др.
Схема аутентификации с использованием временной синхронизации базируется на алгоритме генерации случайных чисел через определенный интервал времени. Этот интервал может быть изменен администратором сети. Схема аутентификации использует два параметра:
секретный ключ, представляющий собой уникальное 64-битное число, назначаемое каждому пользователю и хранящееся в БД аутентификационного сервера и в аппаратном ключе пользователя;
значение текущего времени.
Когда удаленный пользователь делает попытку логического входа в сеть, ему предлагается ввести его персональный идентификационный номер PIN, состоящий из четырех десятичных цифр, и шесть цифр случайного числа, отображаемого в этот момент на дисплее аппаратного ключа. Используя введенный пользователем PIN-код, сервер извлекает из БД секретный ключ пользователя и выполняет алгоритм генерации случайного числа, используя в качестве параметров извлеченный секретный ключ и значение текущего времени. Затем сервер проверяет, совпадают ли сгенерированное число и число, введенное пользователем. Если эти числа совпадают, то сервер разрешает пользователю осуществить логический вход в систему.
При использовании этой схемы аутентификации требуется жесткая временная синхронизация аппаратного ключа и сервера. Со схемой аутентификации, основанной на временной синхронизации, связана еще одна проблема. Генерируемое аппаратным ключом случайное число является достоверным паролем в течение небольшого конечного промежутка времени. Поэтому возможна кратковременная ситуация, когда можно перехватить PIN-код и случайное число, чтобы использовать их для доступа в сеть. Это — уязвимое место схемы.
Одним из наиболее распространенных протоколов аутентификации на основе одноразовых паролей является стандартизованный в Интернете протокол S/Key (RFC I760). Этот протокол реализован во многих системах, требующих проверки подлинности удаленных пользователей, в частности в системе TACACS+ компании Cisco. Протокол S/Key подробно рассматривается в гл. 13.
Аутентификация на основе PIN-кода
Наиболее распространенным методом аутентификации держателя пластиковой карты и смарт-карты является ввод секретного числа, которое обычно называют PIN-кодом (Personal Mentification Number — персональный идентификационный код) или иногда CHV (CardHolder Verification). Защита PIN-кода карты является критичной для безопасности всей системы. Карты могут быть потеряны, украдены или подделаны. В таких случаях единственной контрмерой против несанкционированного доступа остается секретное значение PIN-кода. Вот почему открытая форма PIN должна быть известна только законному держателю карты. Очевидно, значение PIN нужно держать в секрете в течение всего срока действия карты.
Длина PIN-кода должна быть достаточно большой, чтобы минимизировать вероятность определения правильного PIN-кода методом проб и ошибок. С другой стороны, длина PIN-кода должна быть достаточно короткой, чтобы дать возможность держателям карт запомнить его значение. Согласно рекомендации стандарта ISO 9564-1, PIN-код должен содержать от 4 до 12 буквенно-цифровых символов. Однако в большинстве случаев ввод нецифровых символов технически невозможен, поскольку доступна только цифровая клавиатура. Поэтому обычно PIN-код представляет собой четырехразрядное число, каждая цифра которого может принимать значение от 0 до 9.
PIN-код вводится с помощью клавиатуры терминала или компьютера и затем отправляется на смарт-карту. Смарт-карта сравнивает полученное значение PIN-кода с эталонным значением, хранимым в карте, и отправляет результат сравнения на терминал. Ввод PIN-кода относится к мерам безопасности, особенно для финансовых транзакций, и, следовательно, требования к клавиатуре часто определяются в прикладной области. PIN-кла-виатуры имеют все признаки модуля безопасности и шифруют PIN-код сразу при его вводе. Это обеспечивает надежную защиту от проникновения в клавиатуру для перехвата PIN-кода во время ввода.
При идентификации клиента по значению PIN-кода и предъявленной карте используются два основных способа проверки PIN-кода: неалгоритмический и алгоритмический [29].
Неалгоритмический способ проверки PIN-кода не требует применения специальных алгоритмов. Проверка PIN-кода осуществляется путем непосредственного сравнения введенного клиентом PIN-кода со значениями, хранимыми в БД. Обычно БД со значениями PIN-кодов клиентов шифруется методом прозрачного шифрования, чтобы повысить ее защищенность, не усложняя процесса сравнения.
Алгоритмический способ проверки PIN-кода заключается в том, что введенный клиентом PIN-код преобразуют по определенному алгоритму с использованием секретного ключа и затем сравнивают со значением PIN-кода, хранящимся в определенной форме на карте. Достоинства этого метода проверки:
отсутствие копии PIN-кода на главном компьютере исключает его раскрытие обслуживающим персоналом;
отсутствие передачи PIN-кода между банкоматом или кассиром-автоматом и главным компьютером банка исключает его перехват злоумышленником или навязывание результатов сравнения;
упрощение работы по созданию программного обеспечения системы, так как уже нет необходимости действий в реальном масштабе времени.
Строгая аутентификация
Идея строгой аутентификации, реализуемая в криптографических протоколах, заключается в следующем. Проверяемая (доказывающая) сторона доказывает свою подлинность проверяющей стороне, демонстрируя знание некоторого секрета [54, 62]. Например, этот секрет может быть предварительно распределен безопасным способом между сторонами аутентификационного обмена. Доказательство знания секрета осуществляется с помощью последовательности запросов и ответов с использованием криптографических методов и средств.
Существенным является факт, что доказывающая сторона демонстрирует только знание секрета, но сам секрет в ходе аутентификационного обмена не раскрывается. Это обеспечивается посредством ответов доказывающей стороны на различные запросы проверяющей стороны. При этом результирующий запрос зависит только от пользовательского секрета и начального запроса, который обычно представляет произвольно выбранное в начале протокола большое число.
В большинстве случаев строгая аутентификация заключается втом, что каждый пользователь аутентифицируется по признаку владения своим секретным ключом. Иначе говоря, пользователь имеет возможность определить, владеет ли его партнер по связи надлежащим секретным ключом и может ли он использовать этот ключ для подтверждения того, что он действительно является подлинным партнером по информационному обмену.
В соответствии с рекомендациями стандарта Х.509 различают процедуры строгой аутентификации следующих типов:
односторонняя аутентификация;
двусторонняя аутентификация;
трехсторонняя аутентификация.
Односторонняя аутентификация предусматривает обмен информацией только в одном направлении.
Двусторонняя аутентификация по сравнению с односторонней содержит дополнительный ответ проверяющей стороны доказывающей стороне, который должен убедить ее, что связь устанавливается именно с той стороной, которой были предназначены аутентификационные данные;
Трехсторонняя аутентификация содержит дополнительную передачу данных от доказывающей стороны проверяющей. Этот подход позволяет отказаться от использования меток времени при проведении аутентификации.
Следует отметить, что данная классификация достаточно условна. На практике набор используемых приемов и средств зависит непосредственно от конкретных условий реализации процесса аутентификации. Необходимо учитывать, что проведение строгой аутентификации требует обязательного согласования сторонами используемых криптографических алгоритмов и дополнительных параметров .
Прежде чем перейти к рассмотрению конкретных вариантов протоколов строгой аутентификации, следует остановиться на назначении и возможностях так называемых одноразовых параметров, используемых в протоколах аутентификации. Одноразовые параметры иногда называют также nonces — это величина, используемая для одной и той же цели не более одного раза. Среди используемых на сегодняшний день одноразовых параметров следует выделить: случайные числа, метки времени и номера последовательностей.
Одноразовые параметры позволяют избежать повтора передачи, подмены стороны аутентификационного обмена и атаки с выбором открытого текста. С их помощью можно обеспечить уникальность, однозначность и временные гарантии передаваемых сообщений. Различные типы одноразовых параметров могут употребляться как отдельно, так и дополнять друг друга.
Следует отметить, что одноразовые параметры широко используются и в других вариантах криптографических протоколов (например, в протоколах распределения ключевой информации).
В зависимости от используемых криптографических алгоритмов протоколы строгой аутентификации делятся на протоколы, основанные:
на симметричных алгоритмах шифрования;
однонаправленных ключевых хэш-функциях;
асимметричных алгоритмах шифрования;
алгоритмах электронной цифровой подписи.
Строгая аутентификация, основанная на симметричных алгоритмах
Для работы протоколов аутентификации, построенных на основе симметричных алгоритмов, необходимо, чтобы проверяющий и доказывающий с самого начала имели один и тот же секретный ключ. Для закрытых систем с небольшим количеством пользователей каждая пара пользователей может заранее разделить его между собой. В больших распределенных системах, применяющих технологию симметричного шифрования, часто используются протоколы аутентификации с участием доверенного сервера, с которым каждая сторона разделяет знание ключа. Такой сервер распределяет сеансовые ключи для каждой пары пользователей всякий раз, когда один из них запрашивает аутентификацию другого. Кажущаяся простота данного подхода является обманчивой, на самом деле разработка протоколов аутентификации этого типа является сложной и с точки зрения безопасности не очевидной.
Протоколы аутентификации с симметричными алгоритмами шифрования
Ниже приводятся три примера протоколов аутентификации, специфицированных в 1SO/IEC 9798-2. Эти протоколы предполагают предварительное распределение разделяемых секретных ключей Рассмотрим следующие варианты аутентификации:
односторонняя аутентификация с использованием меток времени;
односторонняя аутентификация с использованием случайных чисел;
двусторонняя аутентификация.
В каждом из этих случаев пользователь доказывает свою подлинность, демонстрируя знание секретного ключа, так как производит расшифровывание запросов с помощью этого секретного ключа.
При использовании в процессе аутентификации симметричного шифрования необходимо также реализовать механизмы обеспечения целостности передаваемых данных на основе общепринятых способов.
Введем следующие обозначения:
гА — случайное число, сгенерированное участником А;
гв — случайное число, сгенерированное участником В;
tA — метка времени, сгенерированная участником А;
Ек— симметричное шифрование на ключе А'(ключ Одолжен быть предварительно распределен между А и В).
1. Односторонняя аутентификация, основанная на метках времени:
После получения и расшифровывания данного сообщения участник В убеждается в том, что метка времени tA действительна и идентификатор В, указанный в сообщении, совпадает с его собственным. Предотвращение повторной передачи данного сообщения основывается на том, что без знания ключа невозможно изменить метку времени tA и идентификатор В.
2. Односторонняя аутентификация, основанная на использовании случайных чисел:
Участник В отправляет участнику А случайное число гд. Участник А шифрует сообщение, состоящее из полученного числа г8 и идентификатора В, и отправляет зашифрованное сообщение участнику В. Участник В расшифровывает полученное сообщение и сравнивает случайное число, содержащееся в сообщении,с тем, которое он послал участнику А. Дополнительно он проверяет имя, указанное в сообщении.
3. Двусторонняя аутентификация, использующая случайные значения:
При получении сообщения (2) участник В выполняет те же проверки, что и в предыдущем протоколе, и дополнительно расшифровывает случайное число гд для включения его в сообщение (3) для участника А. Сообщение (3), полученное участником А, позволяет ему убедиться на основе проверки значений гА и гв, что он имеет дело именно с участником В.
Широко известными представителями протоколов, обеспечивающих аутентификацию пользователей с привлечением в процессе аутентификации третьей стороны, являются протокол распределения секретных ключей Нидхэма и Шредера и протокол Kerberos.
Протоколы, основанные на использовании однонаправленных ключевых хэш-функций
Протоколы, представленные выше, могут быть модифицированы путем замены симметричного шифрования на шифрование с помощью односторонней ключевой хэш-функции . Это бывает необходимо, если алгоритмы блочного шифрования недоступны или не отвечают предъявляемым требованиям (например, в случае экспортных ограничений).
Своеобразие шифрования с помощью односторонней хэш-функции заключается в том, что оно по существу является односторонним, т. е. не сопровождается обратным преобразованием — расшифровыванием на приемной стороне. Обе стороны (отправитель и получатель) используют одну и ту же процедуру одностороннего шифрования [45].
Односторонняя хэш-функция hK{) с параметром-ключом К, примененная к шифруемым данным М, дает в результате хэш-значение т (дайджест), состоящее из фиксированного небольшого числа байт . Дайджест передается получателю вместе с исходным сообщением М. Получатель сообщения, зная, какая односторонняя хэш-функция была применена для получения дайджеста, заново вычисляет ее, используя расшифрованное сообщение М. Если значения полученного дайджеста т и вычисленного дайджеста т' совпадают, значит содержимое сообщения М не было подвергнуто никаким изменениям.
Знание дайджеста не дает возможности восстановить исходное сообщение, но позволяет проверить целостность данных. Дайджест можно рассматривать как своего рода контрольную сумму для исходного сообщения. Однако между дайджестом и обычной контрольной суммой имеется и существенное различие. Контрольную сумму используют как средство проверки целостности передаваемых сообщений по ненадежным линиям связи. Это средство проверки не рассчитано на борьбу со злоумышленниками, которым в такой ситуации ничто не мешает подменить сообщение, добавив к нему новое значение контрольной суммы. Получатель в таком случае не заметит никакой подмены.
В отличие от обычной контрольной суммы при вычислении дайджеста применяются секретные ключи. В случае, если для получения дайджеста используется односторонняя хэш-функция с параметром-ключом К, который известен только отправителю и получателю, любая модификация исходного сообщения будет немедленно обнаружена.
Строгая аутентификация, основанная на асимметричных алгоритмах
В протоколах строгой аутентификации могут быть использованы асимметричные алгоритмы с открытыми ключами. В этом случае доказывающий может продемонстрировать знание секретного ключа одним из следующих способов:
расшифровать запрос, зашифрованный на открытом ключе;
поставить свою цифровую подпись на запросе [54, 62]. Пара ключей, необходимая для аутентификации, не должна
использоваться для других целей (например, для шифрования) по соображениям безопасности. Важно отметить, что выбранная система с открытым ключом должна быть устойчивой к атакам с выборкой шифрованного текста даже в том случае, если нарушитель пытается получить критичную информацию, выдавая себя за проверяющего и действуя от его имени.
Биометрическая аутентификация пользователя
Процедуры идентификации и аутентификации пользователя могут базироваться не только на секретной информации, которой обладает пользователь (пароль, персональный идентификатор, секретный ключ и т. п.). В последнее время все большее распространение получает биометрическая аутентификация пользователя, позволяющая уверенно аутентифицировать потенциального пользователя путем измерения физиологических параметров и характеристик человека, особенностей его поведения. Основные достоинства биометрических методов:
высокая степень достоверности аутентификации по биометрическим признакам (из-за их уникальности);
неотделимость биометрических признаков от дееспособной личности;
трудность фальсификации биометрических признаков. Активно используются следующие биометрические признаки:
отпечатки пальцев;
геометрическая форма кисти руки;
форма и размеры лица;
особенности голоса;
узор радужной оболочки и сетчатки глаз.
Рассмотрим типичную схему функционирования биометрической подсистемы аутентификации. При регистрации в системе пользователь должен продемонстрировать один или несколько раз свои характерные биометрические признаки. Эти признаки (известные как подлинные) регистрируются системой как контрольный «образ» (биометрическая подпись) законного пользователя. Этот образ пользователя хранится системой в электронной форме и используется для проверки идентичности каждого, кто выдает себя за соответствующего законного пользователя. В зависимости от совпадения или несовпадения совокупности предъявленных признаков с зарегистрированными в контрольном образе предъявивший их признается законным пользователем (при совпадении) или незаконным (при несовпадении).
С точки зрения потребителя, эффективность биометрической аутентификационной системы характеризуется двумя параметрами:
• коэффициентом ошибочных отказов FRR (false-reject rate);
• коэффициентом ошибочных подтверждений FAR (false-
alarm rate).
Ошибочный отказ возникает, когда система не подтверждает личность законного пользователя (типичные значения FRR — порядка одной ошибки на 100). Ошибочное подтверждение происходит в случае подтверждения личности незаконного пользователя (типичные значения FAR — порядка одной ошибки на 10 000). Эти коэффициенты связаны друг с другом: каждому коэффициенту ошибочных отказов соответствует определенный коэффициент ошибочных подтверждений.
В совершенной биометрической системе оба параметра ошибки должны быть равны нулю. К сожалению, биометрические системы тоже не идеальны. Обычно системные параметры настраивают так, чтобы добиться требуемого коэффициента ошибочных подтверждений, что определяет соответствующий коэффициент ошибочных отказов.
К настоящему времени разработаны и продолжают совершенствоваться технологии аутентификации по отпечаткам пальцев, радужной оболочке глаза, по форме кисти руки и ладони, по форме и размеру лица, по голосу и «клавиатурному почерку».
Чаще всего биометрические системы используют в качестве параметра идентификации отпечатки пальцев (дактилоскопические системы аутентификации). Такие системы просты и удобны, обладают высокой надежностью аутентификации.
Дактилоскопические системы аутентификации. Одна из основных причин широкого распространения таких систем — наличие больших банков данных отпечатков пальцев. Пользователями подобных систем главным образом являются полиция, различные государственные и некоторые банковские организации.
В общем случае биометрическая технология распознавания отпечатков пальцев заменяет защиту доступа с использованием пароля. Большинство систем используют отпечаток одного пальца.
Основными элементами дактилоскопической системы аутентификации являются:
сканер;
ПО идентификации, формирующее идентификатор пользователя;
ПО аутентификации, производящее сравнение отсканированного отпечатка пальца с имеющимися в БД «паспортами» пользователей.
Дактилоскопическая система аутентификации работает следующим образом. Сначала проходит регистрация пользователя. Как правило, производится несколько вариантов сканирования в разных положениях пальца на сканере. Понятно, что образцы будут немного отличаться, и поэтому требуется сформировать некоторый обобщенный образец — «паспорт». Результаты запоминаются в БД аутентификации. При аутентификации производится сравнение отсканированного отпечатка пальца с «паспортами», хранящимися в БД.
Задача формирования «паспорта» и задача распознавания предъявляемого образца — это задачи распознавания образов. Для их решения используются различные алгоритмы, являющиеся ноу-хау фирм-производителей подобных устройств.
Сканеры отпечатков пальцев. Многие производители все чаще переходят от дактилоскопического оборудования на базе оптики к продуктам, основанным на интегральных схемах. Последние имеют значительно меньшие размеры, чем оптические считыватели, и поэтому их проще реализовать в широком спектре периферийных устройств.
Некоторые производители комбинируют биометрические системы со смарт-картами и картами-ключами. Например, в биометрической идентификационной смарт-карте Authentic реализован следующий подход. Образец отпечатка пальца пользователя запоминается в памяти карты в процессе внесения в списки идентификаторов пользователей, устанавливая соответствие между образцом и личным ключом шифрования. Затем, когда пользователь вводит смарт-карту в считыватель и прикладывает палец к сенсору, ключ удостоверяет его личность. Комбинация биометрических устройств и смарт-карт является удачным решением, повышающим надежность процессов аутентификации и авторизации.
Небольшой размер и невысокая цена датчиков отпечатков пальцев на базе интегральных схем превращает их в идеальный интерфейс для систем защиты. Их можно встроить в брелок для ключей, и пользователи получат универсальный ключ, который обеспечит защищенный доступ ко всему, начиная от компьютеров до входных дверей, дверей автомобилей и банкоматов.
Системы аутентификации по форме ладони используют сканеры формы ладони, обычно устанавливаемые на стенах. Следует отметить, что подавляющее большинство пользователей предпочитают системы этого типа.
Устройства считывания формы ладони создают объемное изображение ладони, измеряя длину пальцев, толщину и площадь поверхности ладони. Например, продукты компании Recognition Systems выполняют более 90 измерений, которые преобразуются в 9-разрядный образец для дальнейших сравнений. Этот образец может быть сохранен локально, на индивидуальном сканере ладони либо в централизованной БД.
По уровню доходов устройства сканирования формы ладони, занимают 2-е место среди биометрических устройств, но редко применяются в сетевой среде из-за высокой стоимости и размера. Однако сканеры формы ладони хорошо подходят для вычислительных сред со строгим режимом безопасности и напряженным трафиком, включая серверные комнаты. Они достаточно точны и обладают довольно низким коэффициентом ошибочного отказа FRR.
Системы аутентификации по лицу и голосу наиболее доступны из-за их дешевизны, поскольку большинство современных компьютеров имеют видео- и аудиосредства. Системы данного класса применяются при удаленной идентификации субъекта доступа в телекоммуникационных сетях.
Технология сканирования черт лица подходит для тех приложений, где прочие биометрические технологии непригодны. В этом случае для идентификации и верификации личности используются особенности глаз, носа и губ. Производители устройств распознавания черт лица применяют собственные математические алгоритмы для идентификации пользователей
Исследования, проводимые компанией International Biometric Group, говорят о том, что сотрудники многих организаций не доверяют устройствам распознавания по чертам лица. Кроме того, по данным этой компании, сканирование черт лица — единственный метод биометрической аутентификации, который не требует согласия на выполнение проверки (и может осуществляться скрытой камерой), а потому имеет негативный для пользователей подтекст.
Следует отметить, что технологии распознавания черт лица требуют дальнейшего совершенствования. Большая часть алгоритмов распознавания черт лица чувствительна к колебаниям в освещении, вызванным изменением интенсивности солнечного света в течение дня. Изменение положения лица также может повлиять на узнаваемость. Различие в положении в 15 % между запрашиваемым изображением и изображением, которое находится в БД, напрямую сказывается на эффективности: при различии в 45° распознавание становится неэффективным.
Системы аутентификации по голосу экономически выгодны по тем же причинам, что и системы распознавания по чертам лица. В частности, их можно устанавливать с оборудованием (например, микрофонами), поставляемым в стандартной комплектации со многими ПК.
Системы аутентификации по голосу при записи образца и в процессе последующей идентификации опираются на такие особенности голоса, как высота, модуляция и частота звука. Эти показатели определяются физическими характеристиками голосового тракта и уникальны для каждого человека. Распознавание голоса применяется вместо набора номера в определенных системах Sprint. Технология распознавания голоса отличается от распознавания речи: последняя интерпретирует то; что говорит абонент, а технология распознавания голоса абонента подтверждает личность говорящего.
Поскольку голос можно просто записать на пленку или другие носители, некоторые производители встраивают в свои продукты операцию запроса отклика. Эта функция предлагает пользователю при входе ответить на предварительно подготовленный и регулярно меняющийся запрос, например такой: «Повторите числа 0, 1, 3».
Оборудование аутентификации по голосу более пригодно для интеграции в приложения телефонии, чем для входа в сеть. Обычно оно позволяет абонентам получить доступ в финансовые или прочие системы посредством телефонной связи.
Технологии распознавания говорящего имеют некоторые ограничения. Различные люди могут говорить похожими голосами, а голос любого человека может меняться со временем в зависимости от самочувствия, эмоционального состояния и возраста. Более того, разница в модификации телефонных аппаратов и качество телефонных соединений могут серьезно усложнить распознавание.
Поскольку голос сам по себе не обеспечивает достаточной точности, распознавание по голосу следует сочетать с другими биометриками, такими как распознавание черт лица или отпечатков пальцев.
Системы аутентификации по узору радужной оболочки и сетчатки глаз могут быть разделены на два класса:
использующие рисунок радужной оболочки глаза;
использующие рисунок кровеносных сосудов сетчатки глаза.
Сетчатка человеческого глаза представляет собой уникальный объект для аутентификации. Рисунок кровеносных сосудов глазного дна отличается даже у близнецов. Поскольку вероятность повторения параметров радужной оболочки и сетчатки глаза имеет порядок 10~78, такие системы являются наиболее надежными среди всех биометрических систем и применяются там, где требуется высокий уровень безопасности (например, в режимных зонах военных и оборонных объектов).
Биометрический подход позволяет упростить процесс выяснения «кто есть кто». При использовании дактилоскопических сканеров и устройств распознавания голоса для входа в сети сотрудники избавляются от необходимости запоминать сложные пароли. Ряд компаний интегрируют биометрические возможности в системы однократной аутентификации SSO (Single Sign-On) масштаба предприятия. Подобная консолидация позволяет сетевым администраторам заменить службы однократной аутентификации паролей биометрическими технологиями.
Биометрическая аутентификация пользователя может быть использована при шифровании в виде модулей блокировки доступа к секретному ключу, который позволяет воспользоваться этой информацией только истинному владельцу частного ключа. Владелец может затем применять свой секретный ключ для шифрования информации, передаваемой по частным сетям или по Internet. Ахиллесовой пятой многих систем шифрования является проблема безопасного хранения самого криптографического секретного ключа. Зачастую доступ к ключу длиной 128 разрядов (или даже больше) защищен лишь паролем из 6 символов, т. е. 48 разрядов. Отпечатки пальцев обеспечивают намного более высокий уровень защиты и, в отличие от пароля, их невозможно забыть.
Билет 18
Методологии проектирования ПО. CASE-технологии, их содержание и классификации
Общие требования к методологии и технологииМетодологии, технологии и инструментальные средства проектирования (CASE-средства) составляют основу проекта любой ИС. Методология реализуется через конкретные технологии и поддерживающие их стандарты, методики и инструментальные средства, которые обеспечивают выполнение процессов ЖЦ.
Технология проектирования определяется как совокупность трех составляющих:
пошаговой процедуры, определяющей последовательность технологических операций проектирования (рис. 1.4);
критериев и правил, используемых для оценки результатов выполнения технологических операций;
нотаций (графических и текстовых средств), используемых для описания проектируемой системы.
Технологические инструкции, составляющие основное содержание технологии, должны состоять из описания последовательности технологических операций, условий, в зависимости от которых выполняется та или иная операция, и описаний самих операций.
Технология проектирования, разработки и сопровождения ИС должна удовлетворять следующим общим требованям:
технология должна поддерживать полный ЖЦ ПО;
технология должна обеспечивать гарантированное достижение целей разработки ИС с заданным качеством и в установленное время;
технология должна обеспечивать возможность выполнения крупных проектов в виде подсистем (т.е. возможность декомпозиции проекта на составные части, разрабатываемые группами исполнителей ограниченной численности с последующей интеграцией составных частей). Опыт разработки крупных ИС показывает, что для повышения эффективности работ необходимо разбить проект на отдельные слабо связанные по данным и функциям подсистемы. Реализация подсистем должна выполняться отдельными группами специалистов. При этом необходимо обеспечить координацию ведения общего проекта и исключить дублирование результатов работ каждой проектной группы, которое может возникнуть в силу наличия общих данных и функций;
технология должна обеспечивать возможность ведения работ по проектированию отдельных подсистем небольшими группами (3-7 человек). Это обусловлено принципами управляемости коллектива и повышения производительности за счет минимизации числа внешних связей;
технология должна обеспечивать минимальное время получения работоспособной ИС. Речь идет не о сроках готовности всей ИС, а о сроках реализации отдельных подсистем. Реализация ИС в целом в короткие сроки может потребовать привлечения большого числа разработчиков, при этом эффект может оказаться ниже, чем при реализации в более короткие сроки отдельных подсистем меньшим числом разработчиков. Практика показывает, что даже при наличии полностью завершенного проекта, внедрение идет последовательно по отдельным подсистемам;
технология должна предусматривать возможность управления конфигурацией проекта, ведения версий проекта и его составляющих, возможность автоматического выпуска проектной документации и синхронизацию ее версий с версиями проекта;
технология должна обеспечивать независимость выполняемых проектных решений от средств реализации ИС (систем управления базами данных (СУБД), операционных систем, языков и систем программирования);
технология должна быть поддержана комплексом согласованных CASE-средств, обеспечивающих автоматизацию процессов, выполняемых на всех стадиях ЖЦ. Общий подход к оценке и выбору CASE-средств описан в разделе 4, примеры комплексов CASE-средств - в подразделе 5.7.
Реальное применение любой технологии проектирования, разработки и сопровождения ИС в конкретной организации и конкретном проекте невозможно без выработки ряда стандартов (правил, соглашений), которые должны соблюдаться всеми участниками проекта. К таким стандартам относятся следующие:
стандарт проектирования;
стандарт оформления проектной документации;
стандарт пользовательского интерфейса.
Стандарт проектирования должен устанавливать:
набор необходимых моделей (диаграмм) на каждой стадии проектирования и степень их детализации;
правила фиксации проектных решений на диаграммах, в том числе: правила именования объектов (включая соглашения по терминологии), набор атрибутов для всех объектов и правила их заполнения на каждой стадии, правила оформления диаграмм, включая требования к форме и размерам объектов, и т. д.;
требования к конфигурации рабочих мест разработчиков, включая настройки операционной системы, настройки CASE-средств, общие настройки проекта и т. д.;
механизм обеспечения совместной работы над проектом, в том числе: правила интеграции подсистем проекта, правила поддержания проекта в одинаковом для всех разработчиков состоянии (регламент обмена проектной информацией, механизм фиксации общих объектов и т.д.), правила проверки проектных решений на непротиворечивость и т. д.
Стандарт оформления проектной документации должен устанавливать:
комплектность, состав и структуру документации на каждой стадии проектирования;
требования к ее оформлению (включая требования к содержанию разделов, подразделов, пунктов, таблиц и т.д.),
правила подготовки, рассмотрения, согласования и утверждения документации с указанием предельных сроков для каждой стадии;
требования к настройке издательской системы, используемой в качестве встроенного средства подготовки документации;
требования к настройке CASE-средств для обеспечения подготовки документации в соответствии с установленными требованиями.
Стандарт интерфейса пользователя должен устанавливать:
правила оформления экранов (шрифты и цветовая палитра), состав и расположение окон и элементов управления;
правила использования клавиатуры и мыши;
правила оформления текстов помощи;
перечень стандартных сообщений;
правила обработки реакции пользователя.
Примеры CASE-средств и их характеристики.
Аббревиатура CASE расшифровывается как Computer Aided Software Engineering. Этот термин широко используется в настоящее время. На этапе появления подобных средств, термин CASE употреблялся лишь в отношении автоматизации разработки программного обеспечения. Сегодня CASE средства подразкмевают процесс разработки сложных ИС в целом: создание и сопровождение ИС, анализ, формулировка требований, проектирование прикладного ПО и баз данных, генерацию кода, тестирование, документирование, обеспечение качества, конфигурационное управление и управление проектом, а также другие процессы. Таким образом, CASE-технологии образуют целую среду разработки ИС.
Silverrun
CASE-средство Silverrun американской фирмы Computer Systems Advisers, Inc. используется для анализа и проектирования ИС бизнес-класса. Оно применимо для поддержки любой методологии, основанной на раздельном построении функциональной и информационной моделей. Silverrun имеет модульную структуру и состоит из четырех модулей, каждый из которых является самостоятельным продуктом и может приобретаться и использоваться без связи с остальными модулями: модуль построения моделей бизнес-процессов, модуль концептуального моделирования данных, модуль реляционного моделирования и менеджер репозитория рабочей группы. Платой за высокую гибкость и разнообразие изобразительных средств построения моделей является такой недостаток Silverrun, как отсутствие жесткого взаимного контроля между компонентами различных моделей
JAM
Средство разработки приложений JAM - продукт американской фирмы JYACC. Основной чертой JAM является его соответствие методологии RAD, поскольку он позволяет достаточно быстро реализовать цикл разработки приложения, заключающийся в формировании очередной версии прототипа приложения с учетом требований, выявленных на предыдущем шаге, и предъявить его пользователю. JAM имеет модульную структуру и состоит из следующих компонент:
Ядро системы;
JAM/DBi - специализированные модули интерфейса к СУБД (JAM/DBi-Oracle, JAM/DBi-Informix, JAM/DBi-ODBC и т.д.);
JAM/RW - модуль генератора отчетов;
JAM/CASEi - специализированные модули интерфейса к CASE-средствам (JAM/CASE-TeamWork, JAM/CASE-Innovator и т.д.);
JAM/TPi - специализированные модули интерфейса к менеджерам транзакций (например, JAM/TPi-Server TUXEDO и т.д.);
Jterm - специализированный эмулятор X-терминала.
Ядро системы (собственно, сам JAM) является законченным продуктом и может самостоятельно использоваться для разработки приложений. Все остальные модули являются дополнительными и самостоятельно использоваться не могут. При использовании JAM разработка внешнего интерфейса приложения представляет собой визуальное проектирование и сводится к созданию экранных форм путем размещения на них интерфейсных конструкций и определению экранных полей ввода/вывода информации.
Vantage Team Builder
Vantage Team Builder представляет собой интегрированный программный продукт, ориентированный на реализацию каскадной модели ЖЦ ПО и поддержку полного ЖЦ ПО. Наличие универсальной системы генерации кода, основанной на специфицированных средствах доступа к репозиторию проекта, позволяет поддерживать высокий уровень исполнения проектной дисциплины разработчиками: жесткий порядок формирования моделей; жесткая структура и содержимое документации; автоматическая генерация исходных кодов программ и т.д. - все это обеспечивает повышение качества и надежности разрабатываемых ИС.
Локальные средства (ERwin, BPwin, S-Designor)
ERwin - средство концептуального моделирования БД, использующее методологию IDEF1X. ERwin реализует проектирование схемы БД, генерацию ее описания на языке целевой СУБД и реинжиниринг существующей БД. ERwin выпускается в нескольких различных конфигурациях, ориентированных на наиболее распространенные средства разработки приложений 4GL. Для ряда средств разработки приложений (PowerBuilder, SQLWindows, Delphi, Visual Basic) выполняется генерация форм и прототипов приложений. BPwin - средство функционального моделирования, реализующее методологию IDEF0. S-Designor представляет собой CASE-средство для проектирования реляционных баз данных. По своим функциональным возможностям и стоимости он близок к CASE-средству ERwin, отличаясь внешне используемой на диаграммах нотацией. S-Designor реализует стандартную методологию моделирования данных и генерирует описание БД для таких СУБД, как ORACLE, Informix, Ingres, Sybase, DB/2, Microsoft SQL Server и др.
Объектно-ориентированные CASE-средства (Rational Rose)
Rational Rose - CASE-средство фирмы Rational Software Corporation - предназначено для автоматизации этапов анализа и проектирования ПО, а также для генерации кодов на различных языках и выпуска проектной документации. Rational Rose использует синтез-методологию объектно-ориентированного анализа и проектирования, основанную на подходах трех ведущих специалистов в данной области: Буча, Рамбо и Джекобсона. Разработанная ими универсальная нотация для моделирования объектов (UML - Unified Modeling Language) претендует на роль стандарта в области объектно-ориентированного анализа и проектирования. Конкретный вариант Rational Rose определяется языком, на котором генерируются коды программ (C++, Smalltalk, PowerBuilder, Ada, SQLWindows и ObjectPro). Основной вариант - Rational Rose/C++ - позволяет разрабатывать проектную документацию в виде диаграмм и спецификаций, а также генерировать программные коды на С++. Кроме того, Rational Rose содержит средства реинжиниринга программ, обеспечивающие повторное использование программных компонент в новых проектах.
Средства конфигурационного управленияЦель конфигурационного управления - обеспечить управляемость и контролируемость процессов разработки и сопровождения ПО. Для этого необходима точная и достоверная информация о состоянии ПО и его компонент в каждый момент времени, а также о всех предполагаемых и выполненных изменениях.
Для решения задач КУ применяются методы и средства обеспечивающие идентификацию состояния компонент, учет номенклатуры всех компонент и модификаций системы в целом, контроль за вносимыми изменениями в компоненты, структуру системы и ее функции, а также координированное управление развитием функций и улучшением характеристик системы.
Наиболее распространенным средством КУ является PVCS фирмы Intersolv (США), включающее ряд самостоятельных продуктов: PVCS Version Manager, PVCS Tracker, PVCS Configuration Builder и PVCS Notify.
Средства документированияДля создания документации в процессе разработки ИС используются разнообразные средства формирования отчетов, а также компоненты издательских систем. Обычно средства документирования встроены в конкретные CASE-средства. Исключением являются некоторые пакеты, предоставляющие дополнительный сервис при документировании. Из них наиболее активно используется SoDA (Software Document Аutomation).
Продукт предназначен для автоматизации разработки проектной документации на всех фазах ЖЦ ПО. Он позволяет автоматически извлекать разнообразную информацию, получаемую на разных стадиях разработки проекта, и включать ее в выходные документы. При этом контролируется соответствие документации проекту, взаимосвязь документов, обеспечивается их своевременное обновление. Результирующая документация автоматически формируется из множества источников, число которых не ограничено.
Средства тестированияПод тестированием понимается процесс исполнения программы с целью обнаружения ошибок. Регрессионное тестирование - это тестирование, проводимое после усовершенствования функций программы или внесения в нее изменений.
Одно из наиболее развитых средств тестирования Quality Works представляет собой интегрированную многоплатформенную среду для разработки автоматизированных тестов любого уровня, включая тесты регрессии для приложений с графическим интерфейсом пользователя. Quality Works позволяет начинать тестирование на любой фазе ЖЦ, планировать и управлять процессом тестирования, отображать изменения в приложении и повторно использовать тесты для более чем 25 различных платформ.
2.Видеоподсистема ЭВМ
Видеоподсистема любого компьютера состоит из двух основных частей - видеоадаптера, подключаемого к компьютеру и дисплея, подключаемого к видеоадаптеру.
Видеоадаптеры могут быть оформлены в виде отдельной платы, вставляемой в слоты расширения компьютера, или могут быть расположены непосредственно на материнской плате компьютера. В последнее время на рынке появились видеоадаптеры, подключаемые к локальной шине процессора. Такой способ подключения видеоадаптера обеспечивает высокую скорость обмена информацией между оперативной памятью компьютера и центральным процессором с одной стороны и видеоадаптером с другой. Высокая скорость обмена информацией между компьютером и видеоадаптером, в свою очередь, гарантирует высокую производительность видеоподсистемы компьютера.
Видеоадаптер включает в себя видеопамять, в которой хранится изображение, отображаемое в данный момент на экране дисплея, постоянное запоминающее устройство, в котором записаны наборы шрифтов, отображаемые видеоадаптером в текстовых и графических режимах и функции BIOS для работы с видеоадаптером. Кроме того, видеоадаптер содержит сложное управляющее устройство, обеспечивающее обмен данными с компьютером, формирование изображения и некоторые другие действия.
Видеоадаптеры могут работать в различных текстовых и графических режимах, различающихся разрешением, количеством отображаемых цветов и некоторыми другими характеристиками.
Сам видеоадаптер не отображает данные. Для этого к видеоадаптеру необходимо подключить дисплей. Изображение, создаваемое компьютером, формируется видеоадаптером и передается на дисплей для предоставления ее конечному пользователю.
Существует несколько основных способов формирования изображения на экране дисплея. Наиболее распространены так называемые дисплеи с электронно-лучевыми трубками (ЭЛТ). Вы наверняка знакомы с электронно лучевыми трубками. Они используются практически во всех бытовых телевизионных приемников.
В блокнотных и переносных компьютерах применение в дисплее ЭЛТ невозможно, вследствие ее большого размера и большой потребляемой мощности. Поэтому в блокнотных и переносных компьютерах для отображения информации применяют жидкокристаллические и газоразрядные панели.
В настоящее время разработаны и выпускаются компьютеры с цветными жидкокристаллическими экранами, не уступающие по качеству многим дисплеям с электронно-лучевыми трубками.
Более подробную информацию о различных видах видеоадаптеров и дисплеев можно получить в разделах "Какие существуют типы видеоадаптеров" и "Какие существуют типы дисплеев".
Какие существуют типы видеоадаптеров
В настоящее время существует огромное количество всевозможных видеоадаптеров, начиная от простейших монохромных, не поддерживающих графических режимов, кончая современными видеоадаптерами со специальными графическими процессорами, воспроизводящими порядка 16,7 миллионов цветов и подключаемых для повышения быстродействия непосредственно к локальной шине процессора.
Однако можно выделить несколько наиболее общих типов или подмножеств видеоадаптеров. Такое деление можно провести по основным характеристикам видеоадаптеров, таким как поддержка текстовых и графических режимов, максимальное количество одновременно отображаемых цветов, максимальная разрешающая способность, наличие специализированных схем управления - акселераторов или графических сопроцессоров, а также по способу подключения к компьютеру и монитору.
Большинство видеоадаптеров может работать как в текстовых, так и в графических режимах. Возможность отображения графической информации отсутствует только у самого первого видеоадаптера фирмы IBM - MDA. Он использовался вместе с монохромным дисплеем.
Отсутствие возможности отображения графической информации ограничивало возможности использования компьютеров и вскоре небольшая фирма Hercules Computer Technology, Inc. выпустила монохромный видеоадаптер Hercules, который уже имел возможность вывода графики и обеспечивал большую разрешающую способность. Видеоадаптер Hercules можно было также как и адаптер MDA подключить к монохромному дисплею.
Вскоре появился и первый видеоадаптер, позволяющий отображать не только монохромную, но и цветную информацию как в текстовом так и в графическом режиме. Этим видеоадаптером стал видеоадаптер CGA. С его помощью компьютер мог выводить 16-цветную текстовую и 4-цветную графическую информацию. Однако он имел низкую разрешающую способность - 320х200 пикселов. В результате такой низкой разрешающей способности изображение на экране представляло собой совокупность видимых точек и быстро утомляло глаза пользователя.
Видеоадаптер CGA можно было использовать с композитными дисплеями (обычными цветными или черно-белыми бытовыми телевизорами) и со специальными цифровыми цветными дисплеями.
Затем прогресс пошел по пути увеличения разрешающей способности и количества одновременно отображаемых цветов. Были созданы видеоадаптеры EGA и VGA. Видеоадаптер EGA уже мог отображать 16-цветную графическую информацию с разрешением 640х350 пикселов, а VGA - даже с разрешением 800х600 пикселов. Кроме того, в видеоадаптере VGA появился графический режим с разрешением 320х200 пикселов при возможности одновременного отображения 256 различных цветов.
С видеоадаптером EGA можно было использовать либо цветной дисплей, либо улучшенный цветной дисплей. К видеоадаптерам VGA уже нужно подключать специальные многочастотные аналоговые дисплеи.
Сейчас наиболее популярным у нас в стране видеоадаптерами является VGA, но он уже сдает свои позиции более современным моделям, таким как SVGA и графическим акселераторам Windows.
Видеоадаптеры SVGA не являются устоявшимся стандартом наподобие EGA и VGA. Различные фирмы выпускают адаптеры SVGA, имеющие различные возможности. При этом они не всегда совместимы друг с другом. Существуют видеоадаптеры SVGA разрешающая способность которых достигает 1024х768 пикселов при отображении шестнадцати различных цветов. Другие видеоадаптеры SVGA не достигают такой разрешающей способности, но могут отображать одновременно до 32 тысяч и более различных цветов.
В последнее время появились видеоадаптеры SVGA, которые работают в режимах High Color и True Color. В режиме High Color видеоадаптер может одновременно отображать на экране 32768 или 65536 различных цветов. Режим True Color еще более многоцветный. В этом режиме видеоадаптер может одновременно отображать более чем 16,7 миллионов различных цветов. Качество изображения, достигаемое такими видеоадаптерами при условии использования с ними соответствующих дисплеев, почти не уступает цветным слайдам.
Для компьютерных систем, критичных к быстродействию видеоподсистемы, выпускаются специальные видеоадаптеры с графическими сопроцессорами. Такие видеоадаптеры могут брать на себя часть вычислительной работы, связанной с построением изображения, они могут, например, самостоятельно строить окружность, определенную ее центром и радиусом, могут аппаратно выполнять перемещение областей изображений на экране. Вы можете даже самостоятельно программировать такие видеоадаптеры на выполнение определенных действий, освобождая процессорное время для других нужд.
Для облегчения использования графических сопроцессоров вместе с ними поставляются драйвера к различным программам - системам автоматизированного проектирования, моделирования, операционной системе Windows. Таким образом, в большинстве случаев у вас нет необходимости самим программировать графические сопроцессоры.
Частным случаем видеоадаптеров с графическими сопроцессорами являются графические акселераторы для Windows. Они специально предназначены для повышения производительности видеоподсистемы компьютера при работе в среде Windows. Ориентация таких видеоадаптеров на Windows состоит в том, что они могут выполнять характерные для Windows операции с изображениями на аппаратном уровне. Например они могут аппаратно реализовывать указатель (курсор) мыши размером 64х64 пиксела, могут аппаратно выполнять перемещение окон по экрану и т. д. Во всех этих случаях акселератор Windows аппаратно, а значит и намного быстрее, выполняет работу, которую раньше, на видеоадаптерах VGA и SVGA, делал центральный процессор компьютера.
Еще раз подчеркнем, что в отличие от более универсальных графических сопроцессоров, акселератор Windows ориентирован исключительно на использование совместно с Windows. Производительность графического акселератора Windows при использовании его с программами MS-DOS может быть даже ниже, чем у видеоадаптеров SVGA. Если вы предполагаете использовать ваш компьютер для выполнения программ в среде Windows, вам крайне желательно приобрести графический акселератор Windows.
Платы графического акселератора и графические сопроцессоры могут работать в режимах High Color и даже True Color. Однако, при таких объемах изображения, которые содержит видеопамять в режимах High Color и True Color, количество информации, передаваемое из оперативной памяти компьютера в видеопамять адаптера становится просто огромно. В этом случае замедление в отображении становиться видимым даже при использовании видеоадаптером прямого доступа к оперативной памяти компьютера и двухпортовой видеопамяти.
Узким местом становиться шина компьютера. Независимо от типа шины компьютера - EISA, ISA или MCA, ее пропускная способность не превышает 10 МГц. Таким образом, следующим шагом в развитии видеоадаптеров, да и материнских плат, стало использование так называемой локальной шины. Локальная шина непосредственно соединяет процессор и оперативную память компьютера с контроллерами, которые к ним подключены. Таким образом обмен с видеоадаптером производится на частоте работы процессора, которая, естественно, больше 10 МГц.
В настоящее время вырабатывается стандарт на видеоадаптеры с локальной шиной. Такой стандарт носит в настоящее время название VL-bus и разрабатывается комитетом по стандартизации VESA.
Для подключения к компьютеру видеоадаптеров с локальной шиной необходимо, чтобы материнская плата имела специальный разъем.
3.Логическая и физическая организация файла. Операции над файлами.
Логическая организация файлаПрограммист имеет дело с логической организацией файла, представляя файл в виде определенным образом организованных логических записей. Логическая запись - это наименьший элемент данных, которым может оперировать программист при обмене с внешним устройством. Даже если физический обмен с устройством осуществляется большими единицами, операционная система обеспечивает программисту доступ к отдельной логической записи. Записи могут быть фиксированной длины или переменной длины. Записи могут быть расположены в файле последовательно (последовательная организация) или в более сложном порядке, с использованием так называемых индексных таблиц, позволяющих обеспечить быстрый доступ к отдельной логической записи (индексно-последовательная организация). Для идентификации записи может быть использовано специальное поле записи, называемое ключом. В файловых системах ОС UNIX и MS-DOS файл имеет простейшую логическую структуру - последовательность однобайтовых записей.
Физическая организация и адрес файла
Физическая организация файла описывает правила расположения файла на устройстве внешней памяти, в частности на диске. Файл состоит из физических записей - блоков. Блок - наименьшая единица данных, которой внешнее устройство обменивается с оперативной памятью. Непрерывное размещение - простейший вариант физической организации (рисунок 2.34,а), при котором файлу предоставляется последовательность блоков диска, образующих единый сплошной участок дисковой памяти. Для задания адреса файла в этом случае достаточно указать только номер начального блока. Другое достоинство этого метода - простота. Но имеются и два существенных недостатка. Во-первых, во время создания файла заранее не известна его длина, а значит не известно, сколько памяти надо зарезервировать для этого файла, во-вторых, при таком порядке размещения неизбежно возникает фрагментация, и пространство на диске используется не эффективно, так как отдельные участки маленького размера (минимально 1 блок) могут остаться не используемыми.
Следующий способ физической организации - размещение в виде связанного списка блоков дисковой памяти (рисунок 2.34,б ). При таком способе в начале каждого блока содержится указатель на следующий блок. В этом случае адрес файла также может быть задан одним числом - номером первого блока. В отличие от предыдущего способа, каждый блок может быть присоединен в цепочку какого-либо файла, следовательно фрагментация отсутствует. Файл может изменяться во время своего существования, наращивая число блоков. Недостатком является сложность реализации доступа к произвольно заданному месту файла: для того, чтобы прочитать пятый по порядку блок файла, необходимо последовательно прочитать четыре первых блока, прослеживая цепочку номеров блоков. Кроме того, при этом способе количество данных файла, содержащихся в одном блоке, не равно степени двойки (одно слово израсходовано на номер следующего блока), а многие программы читают данные блоками, размер которых равен степени двойки.
Билет 17
1. Понятие базы данных, организация
База данных (БД, database) - поименованная совокупность структурированных данных, относящихся к определенной предметной области.
Предметная область - некоторая часть реально существующей системы, функционирующая как самостоятельная единица. Полная предметная область может представлять собой экономику страны или группы союзных государств, однако на практике для информационных систем наибольшее значение имеет предметная область масштаба отдельного предприятия или корпорации.
Система управления базами данных (СУБД) - комплекс программных и языковых средств, необходимых для создания и модификации базы данных, добавления, модификации, удаления, поиска и отбора информации, представления информации на экране и в печатном виде, разграничения прав доступа к информации, выполнения других операций с базой.
Приложения – программы пользователей, которым необходима информация из базы данных.
Графически систему с базой данных можно представить в виде логической последовательности уровней, представленных на рис. 1.

Рис . 1. Уровни системы
На самом нижнем уровне находятся данные, хранящиеся в физических файлах. На верхнем уровне располагаются приложения, у которых есть собственное представление одних и тех же физических данных. Каждое представление базы данных предполагает определенную логическую структуру, построенную из лежащих в ее основе физических данных. СУБД обеспечивает интерфейс между физической памятью базы данных и ее разнообразными логическими версиями.
2. Устройства печати. Назначение и классификация.На сегодняшний день различают следующие технологии печати: лепестковую, матричную, струйную, лазерную, термопереноса, термопереноса с сублимацией красителя и твердочернильную.
Принцип действия лепесткового принтера аналогичен электрической печатной машинке.
Основой матричного принтера является печатающая головка, которая состоит из блока иголок, формирующих изображение на носителе путем механического воздействия на него через красящую ленту.
При струйной печати изображение на бумаге формируется микрокаплями специальных чернил, которые выбрасываются на бумагу через сопла в печатающей головке. Подвижная печатающая головка, которая и обеспечивает направленный выброс чернил, является основным узлом струйного принтера.
Печатающий элемент термопринтера представляет собой панель с нагреваемыми элементами. В зависимости от подаваемого изображения нагреваются те или иные элементы, которые заставляют темнеть специальную термобумагу в месте нагрева.
Технология печати с термопереносом красителя основана на том, что в печатающей головке используется керамическая подложка с протравленными в ней резисторами, управление каждым из которых реализуются специальной схемой. Управляющая схема по командам, соответствующим выводимому на печать документу, включает либо выключает напряжение на резисторах.
В термосублимационных принтерах твердый краситель мгновенно нагревается до температуры, переводящей его в газообразное состояние, минуя жидкое.
В твердочернильных принтерах краситель представляют собой твердые кубики, цвет которых соответствует модели CMYK. Краситель расплавляется и подается в печатающую головку, которая формирует изображение на алюминиевом барабане и далее переносится на бумагу.
Плоттер – устройство, предназначенное для вывода данных в форме рисунка или графика на носитель большого размера. Плоттер также называют графопостроителем.
Дубликатор (ризограф) предназначен для печати больших тиражей с одного экземпляра.
Струйные принтеры
Несмотря на различия и обширный модельный ряд струйных принтеров, применяемая в них технология печати основана на формировании растровой структуры изображения путем переноса жидких чернил через сопла печатающей головки на носитель (бумагу, либо пленку).
При термоструйной печати каждое сопло печатающей головки оснащается нагревательным элементом, который и испаряет чернильную каплю требуемого объема за счет образования газового пузырька.
Обратный пьезоэлектрический эффект – способность материала (пьезоэлектрика) испытывать деформацию при приложенном к нему напряжении.
При пьезоэлектрической печати чернила выбрасываются за счет колебаний пьезопластины, которая совершает колебательные движения в результате приложения к ней электрического тока.
Для получения цветного изображения во всех современных струйных принтерах используются головки с несколькими рядами сопел (дюз) – для каждого базового цвета; чтобы точнее передать полутона и получить более качественное изображение, увеличивают количество базовых цветов.
Ключевым узлом струйного принтера является печатающая головка, которая конструктивно соединена с емкостью для чернил и вместе образуют узел, называемый картриджем.
Картридж не входит в контакт с бумагой. Наиболее часто встречаются картриджи двух типов: со встроенной печатающей головкой (их используют Hewlett Packard, Lexmark, Xerox, Olivetti и другие) и с отделяемой печатающей головкой.
Большую часть картриджа занимает резервуар, в котором хранятся чернила и капиллярная система, подводящая чернила из резервуара к соплам, откуда чернила и выбрасываются на носитель. В картридже есть собственный чип, управляющий количеством подаваемых чернил и реализующий собственно процесс печати. При выходе из строя электрической части восстановить картридж не удастся.
Конечное качество печати струйного принтера определяется целым рядом факторов, главными из которых являются: количество дюз в картридже и расстояние между ними, количество базовых цветов красителя в картридже, размер капли, качества чернил и носителя.
По типу красящего вещества чернила делятся на три типа: чернила на красителях, которые растворяются в воде, пигментные чернила, которые не растворяются в воде и быстросохнущие чернила.
Лазерные принтеры
В основе работы как копировального аппарата, так и лазерного принтера лежит процесс сухой ксерографии, который, в свою очередь, базируется на технологии электростатической фотографии.
Технология электростатической фотографии использует способность некоторых полупроводников уменьшать свое удельное сопротивление под действием света.
Ключевые этапы процесса ксерографии: зарядка фоторецептора, формирование электростатического изображения, проявление, перенос тонера на носитель, отделение, закрепление и очистка.
Зарядка фоторецептора – это процесс нанесения равномерного заряда определенной величины на поверхность фоторецептора. Зарядка производится специальным устройством, называемым коротроном.
Проявление – это процесс формирования изображения на фоторецепторе тонером.
Тонер представляет собой мелкодисперсный порошок, частицы которого состоят из полимера или резины и красящего вещества (для черного тонера обычно используется сажа).
Перенос – процесс, при котором тонер переносится на бумагу.
Наиболее распространенный способ закрепления – термомеханический – заключается в нагревании носителя с тонером и его механическом сжатии. Такой механизм закрепления называется фьюзер (печка).
Источником света в лазерном принтере является лазер, который уменьшает потенциал в определенных участках фоторецептора. При этом фоновые участки фоторецептора остаются заряженными.
В светодиодных принтерах вместо лазера работает светодиодная панель. Теоретически светодиодная технология более надежна, поскольку является более простой.
Копировальные аппараты
В основе работы как копировального аппарата, так и лазерного принтера лежит процесс сухой ксерографии, который, в свою очередь, базируется на технологии электростатической фотографии.
Современные копировальные аппараты классифицируются по ряду признаков, таким как скорость копирования, формат оригинала и число копии рекомендуемого объёма копирования в месяц.
На панели управления копировального аппарата расположены следующие органы управления и контроля: кнопки для выполнения процесса копирования, табло для отражения масштаба копирования и количества копий и система сигнализации для контроля за процессом копирования.
Помимо оптической и печатающей подсистем копировальный аппарат включает и подсистему подачи и транспортировки бумаги.
Узлы подсистемы транспортировки бумаги осуществляют перемещение бумаги по всему тракту копирования. Поступающая в копировальный аппарат бумага останавливается для синхронизации перед барабаном, и как только на валик синхронизации приходит сигнал от процессора, копирование начинается.
Дуплекс используется для накопления копий и последующей их передачи для печати на обратной стороне.
Автоподатчик из стопки копируемых оригиналов самостоятельно по одному листу подает на стекло экспозиции очередной лист для копирования.
Сортеры выполняют разделение (сортировку) тиража по правилам, задаваемым пользователем. Функционально выполняется в виде небольшой стойки с ячейками для бумаги.
Финишер используется для сортировки тиража.
Степлер автоматически прошивает стопки готовых копий скрепками.
Резюме
На сегодняшний день различают следующие технологии печати: лепестковую, матричную, струйную, лазерную, термопереноса, термопереноса с сублимацией красителя и твердочернильную.
При струйной печати изображение на бумаге формируется микрокаплями специальных чернил, которые выбрасываются на бумагу через сопла в печатающей головке. Подвижная печатающая головка, которая и обеспечивает направленный выброс чернил, является основным узлом струйного принтера.
Печатающий элемент термопринтера представляет собой панель с нагреваемыми элементами. В зависимости от подаваемого изображения нагреваются те или иные элементы, которые заставляют темнеть специальную термобумагу в месте нагрева.
В термосублимационных принтерах твердый краситель мгновенно нагревается до температуры переводящей его в газообразное состояние, минуя жидкое.
Плоттер – устройство, предназначенное для вывода данных в форме рисунка или графика на носитель большого размера. Плоттер также называют графопостроителем.
При термоструйной печати каждое сопло печатающей головки оснащается нагревательным элементом, который и испаряет чернильную каплю требуемого объема за счет образования газового пузырька.
При пьезоэлектрической печати чернила выбрасываются за счет колебаний пьезопластины, которая совершает колебательные движения в результате приложения к ней электрического тока.
По типу красящего вещества чернила делятся на три типа: чернила на красителях, которые растворяются в воде, пигментные чернила, которые не растворяются в воде и быстросохнущие чернила.
В основе работы как копировального аппарата, так и лазерного принтера лежит процесс сухой ксерографии, который в свою очередь базируется на технологии электростатической фотографии.
Ключевые этапы процесса ксерографии: зарядка фоторецептора, формирование электростатического изображения, проявление, перенос тонера на носитель, отделение, закрепление и очистка.
Тонер представляет собой мелкодисперсный порошок, частицы которого состоят из полимера или резины и красящего вещества (для черного тонера обычно используется сажа).
Источником света в лазерном принтере является лазер, который уменьшает потенциал в определенных участках фоторецептора. При этом фоновые участки фоторецептора остаются заряженными.
В светодиодных принтерах вместо лазера работает светодиодная панель. Теоретически светодиодная технология более надежна, поскольку является более простой.
Лазерные принтеры работают быстрее, а светодиодные дешевле.
3. Организация памяти (адресация, распределение). Основные понятия защищенного режимаСуществуют две стратегии распределения оперативной памяти, как и любого ресурса: статическое и динамическое распределение.
При статическом распределении вся необходимая оперативная память выделяется процессу в момент его порождения. При этом память выделяется единым блоком необходимой длины, начало которого определяется базовым адресом. Программа пишется в адресах относительно начала блока, а физический адрес команды или операнда при выполнении программы формируется как сумма базового адреса блока и относительного адреса в блоке. Значение базового адреса устанавливается при загрузке программы в оперативную память. Так как в разных программах используются блоки разной длины, то при таком подходе возникает проблема фрагментации памяти, то есть возникают свободные участки памяти, которые невозможно без предварительного преобразования использовать для вычислительного процесса.
При динамическом распределении памяти каждой программе в начальный момент выделяется лишь часть от всей необходимой ей памяти, а остальная часть выделяется по мере возникновения реальной потребности в ней.
Адресация памяти вычислительных систем — метод указания на ячейку памяти, к которой производится доступ.
Адресация может быть:
Абсолютная — указывается прямой адрес ячейки памяти.
Сегментная — указывается адрес относительно начала сегмента, в случае, если сегменты отсутствуют или совпадают, эквивалентна абсолютной.
Относительная — указывается смещение относительно какого-либо значения.
Косвенная — указывается адрес ячейки, содержащей адрес необходимой ячейки.
Индексная — указывается адрес начала массива, размер элемента и порядковый номер элемента в массиве.
Непосредственная — указывает на определённое число, константу (Например: mov A,#50H - записать число 50H в аккумулятор).
Регистровая — указывает на определённый регистр РОН (регистры общего назначения).
Стековая — с использованием специального регистра - указателя стека (SP - Stack Pointer). Используется для занесения операндов в стек в одном порядке и извлечения в обратном порядке.
Неявная — регистр источник или регистр приёмник подразумевается в самом коде операции.
Все виды адресации могут быть переведены друг в друга, однако использование специфичной адресации может ускорить выполнение программы (например, замена индексной адресации на абсолютную потребует выполнить умножение, сложение, обращение к памяти).
Для получения распределения адресного пространства современных IBM PC-совместимых компьютеров между ОЗУ, переферийными устройствами и зарезервированными областями используется функция E820H прерывания 15H.
Некоторые понятия защищенного режима Защищенный режим является основным и наиболее естественным режимом работы 32-разрядных процессоров. Этот режим был в полной мере реализован в процессорах серии i386 и с тех пор существенных изменений не претерпел.
Защищенный режим 32-разрядных процессоров реализует поддержку следующих механизмов:
Организация памяти, при которой используются два механизма преобразования памяти: сегментация и разбиение на страницы.
Четырехуровневая система защиты пространства памяти и ввода/вывода.
Переключение задач.
Сегмент - это блок пространства памяти определенного назначения, внутри которого применяется линейная адресация. Максимальный размер сегмента при 32-разрядной адресации составляет 4 Гб (232 байт). Максимальное число таких сегментов равно 213 (8192). Сегмент может иметь произвольную длину в допустимых границах.
Каждый сегмент характеризуется 8-байтной структурой данных - дескриптором сегмента, в котором, в числе прочего, указаны:
Права доступа, которые определяют возможность чтения, записи и исполнения сегмента.
Уровень привилегий (относится к четырехуровневой системе защиты).
На сегментации основана защита памяти. При этом не допускается:
использовать сегменты не по назначению (нарушение прав доступа);
обращаться к сегменту, не имея достаточных привилегий;
адресоваться к элементам, выходящим за границы сегмента.
Страничная организация памяти позволяет использовать большее пространство памяти. При этом базовым объектом памяти служит блок фиксированного размера 4 Кб.
Физический адрес памяти, получаемый на выходе сегментного и страничного преобразования памяти, является 32-разрядным, позволяя адресовать, таким образом, до 4 Гб реально доступной физической памяти.
Четырехуровневая система привилегий предназначена для управления использованием привилегированных инструкций, а также для защиты пространства памяти и ввода/вывода.
Уровни привилегий нумеруются от 0 до 3, нулевой уровень соответствует максимальным (неограниченным) возможностям доступа и отводится для ядра ОС, Уровень 3 имеет самые ограниченные права и обычно предоставляется прикладным задачам.
Систему защиты обычно изображают в виде колец, соответствующих уровням привилегий, а сами уровни привилегий иногда называют кольцами защиты.
В зависимости от уровня привилегий осуществляется защита по доступу к привилегированным командам, по доступу к данным с более высоким уровнем привилегий и по передаче управления коду с уровнем привилегий, отличным от текущего.
Защищенный режим предоставляет средства переключения задач. Состояние каждой задачи (значения всех связанных с ней регистров процессора) может быть сохранено в специальном сегменте состояния задачи. Там же хранится карта разрешения ввода/вывода, указывающая для каждого из 64К адресов портов ввода/вывода возможность обращения к нему.
ОС NT использует два кольца защиты - 0 и 3, имея соответственно режим работы в 0 кольце - kernel mode, в 3 кольце — user mode.
Билет 16
1.Этапы проектирования БДНапомним еще раз определение понятия "предметная область":
Предметная область - часть реального мира, подлежащая изучению с целью организации управления и, в конечном счете, автоматизации. Предметная область представляется множеством фрагментов, например, предприятие - цехами, дирекцией, бухгалтерией и т.д. Каждый фрагмент предметной области харакетризуется множеством объектов и процессов, использующих объекты, а также множеством пользователей, харакетризуемых различными взглядами на предметную область.
В теории проектирования информационных систем предметную область (или, если угодно, весь реальный мир в целом) принято рассматривать в виде трех представлений:
представление предметной области в том виде, как она реально существует
как ее воспринимает человек (имеется в виду проектировщик базы данных)
как она может быть описана с помощью символов.
Т.е. говорят, что мы имеем дело с реальностью, описанием (представлением) реальности и с данными, которые отражают это представление.
Внешнее представление (внешняя схема) данных является совокупностью требований к данным со стороны некоторой конкретной функции, выполняемой пользователем. Концептуальная схема является полной совокупностью всех требований к данным, полученной из пользовательских представлений о реальном мире. Внутренняя схема - это сама база данных.
Отсюда вытекают основные этапы, на которые разбивается процесс проектирования базы данных информационной системы:
Концептуальное проектирование - сбор, анализ и редактирование требований к данным. Для этого осуществляются следующие мероприятия:
обследование предметной области, изучение ее информационной структуры
выявление всех фрагментов, каждый из которых харакетризуется пользовательским представлением, информационными объектами и связями между ними, процессами над информационными объектами
моделирование и интеграция всех представлений
По окончании данного этапа получаем концептуальную модель, инвариантную к структуре базы данных. Часто она представляется в виде модели "сущность-связь".
Логическое проектирование - преобразование требований к данным в структуры данных. На выходе получаем СУБД-ориентированную структуру базы данных и спецификации прикладных программ. На этом этапе часто моделируют базы данных применительно к различным СУБД и проводят сравнительный анализ моделей.
Физическое проектирование - определение особенностей хранения данных, методов доступа и т.д.
2. Защита СУБД. Обеспечение отказоустойчивости при отказах программно-аппаратных средств.
В современных условиях любая деятельность сопряжена с оперированием большими объемами информации, которое производится широким кругом лиц. Защита данных от несанкционированного доступа является одной из приоритетных задач при проектировании любой информационной системы. Следствием возросшего в последнее время значения информации стали высокие требования к конфиденциальности данных. Системы управления базами данных, в особенности реляционные СУБД, стали доминирующим инструментом в этой области. Обеспечение информационной безопасности СУБД приобретает решающее значение при выборе конкретного средства обеспечения необходимого уровня безопасности организации в целом.
Для СУБД важны три основных аспекта информационной безопасности - конфиденциальность, целостность и доступность. Темой настоящей статьи является первый из них - средства защиты от несанкционированного доступа к информации. Общая идея защиты базы данных состоит в следовании рекомендациям, сформулированным для класса безопасности C2 в «Критериях оценки надежных компьютерных систем»1.
Политика безопасности определяется администратором данных. Однако решения защиты данных не должны быть ограничены только рамками СУБД. Абсолютная защита данных практически не реализуема, поэтому обычно довольствуются относительной защитой информации - гарантированно защищают ее на тот период времени, пока несанкционированный доступ к ней влечет какие-либо последствия. Разграничение доступа к данным также описывается в базе данных посредством ограничений, и информация об этом хранится в ее системном каталоге. Иногда дополнительная информация может быть запрошена из операционных систем, в окружении которых работают сервер баз данных и клиент, обращающийся к серверу баз данных.
Некоторые терминыКонфиденциальная информация (sensitive information) - информация, которая требует защиты.
Доступ к информации (access to information) - ознакомление с информацией, ее обработка (в частности, копирование), модификация, уничтожение.
Субъект доступа (access subject) - лицо или процесс, действия которого регламентируются правилами разграничения доступа.
Объект доступа (access object) - единица информации автоматизированной системы, доступ к которой регламентируется правилами разграничения доступа. Объектами доступа (контроля) в СУБД является практически все, что содержит конечную информацию: таблицы (базовые или виртуальные), представления, а также более мелкие элементы данных: столбцы и строки таблиц и даже поля строк (значения). Таблицы базы данных и представления имеют владельца или создателя. Их объединяет еще и то, что все они для конечного пользователя представляются как таблицы, то есть как нечто именованное, содержащее информацию в виде множества строк (записей) одинаковой структуры. Строки таблиц разбиты на поля именованными столбцами.
Правила разграничения доступа (security policy) - совокупность правил, регламентирующих права субъектов доступа к объектам доступа.
Санкционированный доступ (authorized access to information) - доступ к информации, который не нарушает правил разграничения доступа.
Несанкционированный доступ (unauthorized access to information) - доступ к информации, который нарушает правила разграничения доступа с использованием штатных средств, предоставляемых средствами вычислительной техники или автоматизированными системами.
Идентификатор доступа (access identifier) - уникальный признак объекта или субъекта доступа.
Идентификация (identification) - присвоение объектам и субъектам доступа идентификатора и (или) сравнение предъявляемого идентификатора с перечнем присвоенных идентификаторов.
Пароль (password) - идентификатор субъекта, который является его секретом.
Аутентификация (authentification) - проверка принадлежности субъекту доступа предъявленного им идентификатора, подтверждение подлинности.
В СУБД на этапе подключения к БД производится идентификация и проверка подлинности пользователей. В дальнейшем пользователь или процесс получает доступ к данным согласно его набору полномочий. В случае разрыва соединения пользователя с базой данных текущая транзакция откатывается, и при восстановлении соединения требуется повторная идентификация пользователя и проверка его полномочий.
Уровень полномочий субъекта доступа (subject privilege) - совокупность прав доступа субъекта доступа (для краткости в дальнейшем мы будем использовать термин «привилегия»).
Нарушитель правил разграничения доступа (security policy violator) - субъект доступа, который осуществляет несанкционированный доступ к информации.
Модель нарушителя правил разграничения доступа (security policy violator model) - абстрактное (формализованное или неформализованное) описание нарушителя правил разграничения доступа.
Целостность информации (information integrity) - способность средства вычислительной техники (в рассматриваемом случае - информационной системы в целом) обеспечить неизменность информации в условиях случайного и (или) преднамеренного искажения (разрушения).
Метка конфиденциальности (sensitivity label) - элемент информации, характеризующий конфиденциальность объекта.
Многоуровневая защита (multilevel secure) - защита, обеспечивающая разграничение доступа субъектов с различными правами доступа к объектам различных уровней конфиденциальности.
В начало
Пользователи СУБДПользователей СУБД можно разделить на три группы:
Прикладные программисты - отвечают за создание программ, использующих базу данных.
В смысле защиты данных программист может быть как пользователем, имеющим привилегии создания объектов данных и манипулирования ими, так и пользователем, имеющим привилегии только манипулирования данными.
Конечные пользователи базы данных - работают с БД непосредственно через терминал или рабочую станцию. Как правило, конечные пользователи имеют строго ограниченный набор привилегий манипулирования данными. Этот набор может определяться при конфигурировании интерфейса конечного пользователя и не изменяться. Политику безопасности в данном случае определяет администратор безопасности или администратор базы данных (если это одно и то же должностное лицо).
Администраторы баз данных - образуют особую категорию пользователей СУБД. Они создают сами базы данных, осуществляют технический контроль функционирования СУБД, обеспечивают необходимое быстродействие системы. В обязанности администратора, кроме того, входит обеспечение пользователям доступа к необходимым им данным, а также написание (или оказание помощи в определении) необходимых пользователю внешних представлений данных. Администратор определяет правила безопасности и целостности данных.
В начало
Дискреционная защитаВ современных СУБД достаточно развиты средства дискреционной защиты.
Дискреционное управление доступам (discretionary access control) — разграничение доступа между поименованными субъектами и поименованными объектами. Субъект с определенным правом доступа может передать это право любому другому субъекту.
Дискреционная защита является многоуровневой логической защитой.
Логическая защита в СУБД представляет собой набор привилегий или ролей по отношению к защищаемому объекту. К логической защите можно отнести и владение таблицей (представлением). Владелец таблицы может изменять (расширять, отнимать, ограничивать доступ) набор привилегий (логическую защиту) . Данные о логической защите находятся в системных таблицах базы данных и отделены от защищаемых объектов (от таблиц или представлений).
Информация о зарегистрированных пользователях базы данных хранится в ее системном каталоге. Современные СУБД не имеют общего синтаксиса SQL-предложения соединения с базой данных, так как их собственный синтаксис сложился раньше, чем стандарт ISO. Тем не менее часто таким ключевым предложением является CONNECT. Ниже приведен синтаксис данного предложения для Oracle и IBM DB2 соответственно:
CONNECT [[logon] [AS {SYSOPER|SYSDBA}]]
пользователь/пароль[@база_данных]
CONNECT TO база_данных USER пользователь USING пароль
В данных предложениях отражен необходимый набор атрибутов, а также показано различие синтаксиса. Формат атрибута база_данных, как правило, определяется производителем СУБД, так же как и имя пользователя, имеющего по умолчанию системные привилегии (SYSDBA/SYSOPER в случае Oracle).
Соединение с системой не идентифицированных пользователей и пользователей, подлинность идентификации которых при аутентификации не подтвердилась, исключается. В процессе сеанса работы пользователя (от удачного прохождения идентификации и аутентификации до отсоединения от системы) все его действия непосредственно связываются с результатом идентификации. Отсоединение пользователя может быть как нормальным (операция DISCONNECT), так и насильственным (исходящим от пользователя-администратора, например в случае удаления пользователя или при аварийном обрыве канала связи клиента и сервера). Во втором случае пользователь будет проинформирован об этом, и все его действия аннулируются до последней фиксации изменений, произведенных им в таблицах базы данных. В любом случае на время сеанса работы идентифицированный пользователь будет субъектом доступа для средств защиты информации от несанкционированного доступа (далее - СЗИ НСД) СУБД.
Следуя технологии открытых систем, субъект доступа может обращаться посредством СУБД к базе данных только из программ, поставляемых в дистрибутиве или подготовленных им самим, и только с помощью штатных средств системы.
Все субъекты контроля системы хранятся в таблице полномочий системы и разделены для системы на ряд категорий, например CONNECT, RESOURCE и DBA. Набор таких категорий определяется производителем СУБД. Мы не случайно предлагаем указанный порядок рассмотрения — именно так происходит нарастание возможностей (полномочий) для каждого отдельного вида подключения:
CONNECT — конечные пользователи. По умолчанию им разрешено только соединение с базой данных и выполнение запросов к данным, все их действия регламентированы выданными им привилегиями;
RESOURCE — привилегированные пользователи, обладающие правом создания собственных объектов в базе данных (таблиц, представлений, синонимов, хранимых процедур).
Пользователь — владелец объекта обладает полным набором привилегий для управления данным объектом;
DBA — категория администраторов базы данных. Включает возможности обеих предыдущих категорий, а также возможность вводить (удалять) в систему (из системы) субъекты защиты или изменять их категорию.
Следует особо отметить, что в некоторых реализациях административные действия также разделены, что обусловливает наличие дополнительных категорий. Так, в Oracle пользователь с именем DBA является администратором сервера баз данных, а не одной-единственной базы данных. В СУБД «Линтер» компании РЕЛЭКС понятие администратора сервера баз данных отсутствует, а наличествует только понятие администратора конкретной базы данных. В IBM DB2 существует ряд категорий администраторов: SYSADM (наивысший уровень; системный администратор, обладающий всеми привилегиями); DBADM (администратор базы данных, обладающий всем набором привилегий в рамках конкретной базы данных). Привилегии управления сервером баз данных имеются у пользователей с именами SYSCTRL (наивысший уровень полномочий управления системой, который применяется только к операциям, влияющим на системные ресурсы; непосредственный доступ к данным запрещен, разрешены операции создания, модификации, удаления базы данных, перевод базы данных или экземпляра (instance) в пассивное состояние (quiesce), создание и удаление табличных пространств), SYSMAINT (второй уровень полномочий управления системой, включающий все операции поддержки работоспособности экземпляра (instance); непосредственный доступ к данным этому пользователю запрещен, разрешены операции изменения конфигурационных файлов базы данных, резервное копирование базы данных и табличных пространств, зеркалирование базы данных). Для каждой административной операции в IBM DB2 определен необходимый набор административных категорий, к которым должен принадлежать пользователь, выполняющий тот или иной запрос администрирования. Так, выполнять операции назначения привилегий пользователям может SYSADM или DBADM, а для того чтобы создать объект данных, пользователь должен обладать привилегией CREATETAB.
Администратор каждой базы занимается созданием круга возможных пользователей создаваемой им БД и разграничением полномочий этих пользователей. Данные о разграничениях располагаются в системном каталоге БД. Очевидно, что данная информация может быть использована для несанкционированного доступа и поэтому подлежит защите. Защита этих данных осуществляется средствами самой СУБД.
СУБД позволяет зарегистрировать пользователя и хранить информацию о его уникальном идентификаторе. Например, подсистема безопасности Oracle позволяет создавать пользователей базы данных посредством предложения:
CREATE USER IDENTIFIED пользователь BY пароль
Подсистема безопасности IBM DB2 может использовать идентификаторы пользователей операционной системы; ее синтаксис SQL не содержит предложения, аналогичного предложению CREATE USER. Microsoft SQL Server может использовать аутентификацию как базы данных, так и операционной системы. Но мы не станем здесь обсуждать достоинства и недостатки выбранных производителями способов аутентификации — все они позволяют строить корректные схемы определения подлинности пользователей. Использование дополнительных средств аутентификации в рамках информационной системы не запрещается.
Набор привилегий можно определить для конкретного зарегистрированного пользователя или для группы пользователей (это могут быть собственно группы пользователей, роли и т.п.). Объектом защиты может являться таблица, представление, хранимая процедура и т.д. (подробный список объектов защиты имеется в документации к используемой СУБД). Субъектом защиты может быть пользователь, группа пользователей или роль, а также хранимая процедура, если такое предусматривается используемой реализацией. Если из используемой реализации следует, что хранимая процедура имеет «двойной статус» (она и объект защиты, и субъект защиты), то нужно очень внимательно рассмотреть возможные модели нарушителей разграничения прав доступа и предотвратить эти нарушения, построив, по возможности, соответствующую систему защиты.
При использовании хранимых процедур следует обращать особое внимание на то, от имени какого пользователя выполняется данная хранимая процедура в каждом конкретном случае. Так, в Oracle до недавнего времени хранимые процедуры выполнялись от имени владельца хранимой процедуры, а не от имени пользователя, выполнившего ее вызов. Текущая версия Oracle предоставляет возможность указать, под чьим именем будет выполняться вызванная хранимая процедура, пользователь же должен иметь только привилегию EXECUTE для данной процедуры. В «Линтер», например, выполнение хранимых процедур всегда происходит от имени пользователя, вызвавшего процедуру.
Привилегии конкретному пользователю могут быть назначены администратором явно и неявно, например через роль. Роль — это еще один возможный именованный носитель привилегий. С ролью не ассоциируют перечень допустимых пользователей — вместо этого роли защищают паролями, если, конечно, такая возможность поддерживается производителем СУБД. Роли удобно использовать, когда тот или иной набор привилегий необходимо выдать (или отобрать) группе пользователей. С одной стороны, это облегчает администратору управление привилегиями, с другой — вносит определенный порядок в случае необходимости изменить набор привилегий для группы пользователей сразу. Нужно особо отметить, что при выполнении хранимых процедур и интерактивных запросов может существовать зависимость набора привилегий пользователя от того, как они были получены: явно или через роль. Имеют место и реализации, например в Oracle, где в хранимых процедурах используются привилегии, полученные пользователем явно. Если используемая вами реализация обладает подобным свойством, то изменение привилегий у группы пользователей следует реализовать как набор команд или как административную процедуру (в зависимости от предпочтений администратора).
Предложения управления привилегиями:
назначение привилегии:
GRANT привилегия [ON объект] TO субъект [WITH GRANT OPTION]
отмена привилегии:
REVOKE привилегия [ON объект] FROM субъект
Если субъект=пользователь, то привилегия назначается ему явно. Если субъект=роль, то для управления привилегиями используются соответственно:
GRANT ROLE имя_роли [ON объект] TO субъект [WITH GRANT OPTION]
REVOKE ROLE имя_роли [ON объект] FROM субъект
Назначение привилегии всем пользователям системы осуществляется следующим образом:
GRANT привилегия [ON объект] TO PUBLIC
В этом случае каждый новый созданный пользователь автоматически получит такую привилегию. Отмена привилегии осуществляется так:
REVOKE привилегия [ON объект] FROM PUBLIC
Необходимо иметь в виду, что некоторые реализации, например IBM DB2, используют группы пользователей, определенные в операционной системе. Поэтому следует обращать внимание на особенности реализации аналогов ролей в СУБД. Нужно выяснить, содержит ли реализация SQL-предложения вида:
CREATE ROLE имя_роли
DROP ROLE имя_роли
При управлении доступом к таблицам и представлениям набор привилегий в реализации СУБД определяется производителем.
Привилегии выборки и модификации данных:
SELECT — привилегия на выборку данных;
INSERT — привилегия на добавление данных;
DELETE — привилегия на удаление данных;
UPDATE — привилегия на обновление данных (можно указать определенные столбцы, разрешенные для обновления).
Привилегии изменения структуры таблиц:
ALTER — изменение физической/логической структуры базовой таблицы (изменение размеров и числа файлов таблицы, введение дополнительного столбца и т.п.);
INDEX — создание/удаление индексов на столбцы базовой таблицы;
ALL — все возможные действия над таблицей.
В реализациях могут присутствовать другие разновидности привилегий, например:
CONTROL (IBM DB2) — комплексная привилегия управления структурой таблицы,
REFERENCES — привилегия создания внешних ключей,
RUNSTAT — выполнение сбора статистической информации по таблице и другие.
Однако дискреционная защита является довольно слабой, так как доступ ограничивается только к именованным объектам, а не собственно к хранящимся данным. В случае реализации информационной системы с использованием реляционной СУБД объектом будет, например, именованное отношение (то есть таблица), а субъектом — зарегистрированный пользователь. В этом случае нельзя в полном объеме ограничить доступ только к части информации, хранящейся в таблице. Частично проблему ограничения доступа к информации решают представления и использование хранимых процедур, которые реализуют тот или иной набор бизнес-действий.
Представление (view) — это сформированная выборка кортежей, хранящихся в таблице (таблицах). К представлению можно обращаться точно так же, как и к таблицам, за исключением операций модификации данных, поскольку некоторые типы представлений являются немодифицируемыми. Часто в реализациях view хранится как текст, описывающий запрос выборки, а не собственно выборка данных; выборка же создается динамически на момент выполнения предложения SQL, использующего view. Но разграничить доступ, например, к двум документам, которые удовлетворяют одному и тому же условию выборки, уже нельзя. Это связано с тем, что даже если ввести отдельный атрибут, который будет хранить информацию о метке конфиденциальности документа, то средствами SQL можно будет получить выборку данных без учета атрибута данной метки. Фактически это означает, что либо сам сервер баз данных должен предоставить более высокий уровень защиты информации, либо придется реализовать данный уровень защиты информации с помощью жесткого ограничения операций, которые пользователь может выполнить посредством SQL. На некотором уровне такое разграничение можно реализовать с помощью хранимых процедур, но не полностью — в том смысле, что само ядро СУБД позволяет разорвать связь «защищаемый объект Ц метка конфиденциальности».
В начало
Мандатная защитаСредства мандатной защиты предоставляются специальными (trusted) версиями СУБД.
Мандатное управление доступом (mandatory access control) — это разграничение доступа субъектов к объектам данных, основанное на характеризуемой меткой конфиденциальности информации, которая содержится в объектах, и на официальном разрешении (допуске) субъектов обращаться к информации такого уровня конфиденциальности.
Для чего же нужна мандатная защита? Средства произвольного управления доступом характерны для уровня безопасности C. Как правило, их, в принципе, вполне достаточно для подавляющего большинства коммерческих приложений. Тем не менее они не решают одной весьма важной задачи — задачи слежения за передачей информации. Средства произвольного управления доступом не могут помешать авторизованному пользователю законным образом получить секретную информацию и затем сделать ее доступной для других, неавторизованных, пользователей. Нетрудно понять, почему это так. При произвольном управлении доступом привилегии существуют отдельно от данных (в случае реляционных СУБД — отдельно от строк реляционных таблиц), в результате чего данные оказываются «обезличенными» и ничто не мешает передать их кому угодно даже средствами самой СУБД; для этого нужно лишь получить доступ к таблице или представлению.
Физическая защита СУБД главным образом характеризует данные (их принадлежность, важность, представительность и пр.). Это в основном метки безопасности, описывающие группу принадлежности и уровни конфиденциальности и ценности данных объекта (таблицы, столбца, строки или поля). Метки безопасности (физическая защита) неизменны на всем протяжении существования объекта защиты (они уничтожаются только вместе с ним) и территориально (на диске) располагаются вместе с защищаемыми данными, а не в системном каталоге, как это происходит при логической защите.
СУБД не дает проигнорировать метки конфиденциальности при получении доступа к информации. Такие реализации СУБД, как правило, представляют собой комплекс средств как на машине-сервере, так и на машине-клиенте, при этом возможно использование специальной защищенной версии операционной системы. Кроме разграничения доступа к информации посредством меток конфиденциальности, защищенные СУБД предоставляют средства слежения за доступом субъектов к объектам защиты (аудит).
Использование СУБД с возможностями мандатной защиты позволяет разграничить доступ собственно к данным, хранящимся в информационной системе, от доступа к именованным объектам данных. Единицей защиты в этом случае будет являться, в частности, запись о договоре N, а не таблица или представление, содержащее информацию об этом договоре. Пользователь, который будет пытаться получить доступ к договору, уже никак не сможет обойти метку конфиденциальности. Существуют реализации, позволяющие разграничивать доступ вплоть до конкретного значения конкретного атрибута в конкретной строке конкретной таблицы. Дело не ограничивается одним значением метки конфиденциальности — обычно сама метка представляет собой набор значений, отражающих, например, уровень защищенности устройства, на котором хранится таблица, уровень защищенности самой таблицы, уровень защищенности атрибута и уровень защищенности конкретного кортежа.
За исключением атрибута собственности (логическая защита), разбивающего данные (таблицы) на собственные (принадлежащие данному субъекту) и чужие, физическая защита разбивает данные более тонко. Но можно ли обойтись без физической защиты или, по крайней мере, попытаться, реализовав, например, сложный набор хранимых процедур. В общем-то некоторое подобие такой защиты реализуемо в случае, когда метки добавляются в таблицу в качестве дополнительного атрибута, доступ к таблицам запрещается вообще и ни одно приложение не может выполнить интерактивный SQL-запрос, а только хранимую процедуру и т.п. Ряд реализаций подобного уровня защиты использует вызов набора хранимых процедур с весьма абстрактными (что очень желательно) именами. Система реализации защиты информации в данном случае достаточно сложна и предполагает определенный уровень доверия к администратору безопасности, так как он имеет право изменять структуру базы данных, а значит, и хранимые процедуры, представления. Физически же администратор безопасности в данном случае не изолирован от управления секретными данными.
Кроме того, защищенные СУБД позволяют разграничить доступ к информационной системе с тех или иных рабочих станций для тех или иных зарегистрированных пользователей, определить режимы работы, наложить ограничения по времени работы тех или иных пользователей с тех или иных рабочих станций. В случае реализации данных опций на прикладном уровне задача, как правило, сводится к созданию сервера приложений, который занимается отслеживанием, «кто и откуда пришел». Отдельный комплекс серверных приложений (обычно — хранимых процедур, если в СУБД отсутствует мандатная защита) обеспечивает аудит.
Рассмотрим мандатную защиту подробнее. В качестве примера возьмем мандатную защиту СУБД «Линтер», которая получила признание в весьма специфическом секторе — силовых структурах, как единственная СУБД, имеющая сертификат по второму классу защиты от несанкционированного доступа, что соответствует классу B3 по американскому национальному стандарту.
Во-первых, все перечисленные объекты (независимо от их иерархии в базе данных) разбиваются здесь на группы принадлежности. Объект может принадлежать только одной из групп (это может быть, например, разбиение по отделам организации). Группы принадлежности напрямую связаны с группами субъектов (см. ниже). Субъект вправе видеть только данные своей группы, если между группами субъектов не установлены отношения доверия.
Во-вторых, все объекты выстроены в иерархию по уровням конфиденциальности и по уровням ценности или важности. Уровень конфиденциальности разбивает объекты по доступности на чтение (и даже на просмотр). Пользователь с более низким уровнем доступа не будет знать даже о существовании объектов с более высоким уровнем конфиденциальности. Уровень ценности, напротив, разбивает данные (объекты) по важности, ограничивая возможность их удаления и модификации.
В уже упоминавшихся «Критериях оценки надежных компьютерных систем» применительно к системам уровня безопасности B описан механизм меток безопасности, реализованный в рассматриваемых данной статьей СУБД.
Метка объекта включает следующее:
Группа субъекта, который внес данный объект.
Уровень доступа на чтение — RAL (Read Access Level).
Уровень доступа на запись — WAL (Write Access Level).
Метка субъекта выглядит аналогично:
Группа, к которой принадлежит субъект.
RAL-уровень субъекта, который представляет собой максимальный RAL-уровень доступной субъекту информации.
WAL-уровень субъекта, то есть минимальный RAL-уровень объекта, который может быть создан этим субъектом.
Все пользователи базы данных считаются разбитыми на непересекающиеся группы. Группа описывает область доступных пользователю данных. Для каждой группы существует администратор группы (уровень DBA для группы), созданный администратором системы. При этом пользователи одной группы не видят данных, принадлежащих пользователям другой группы. В этом плане у СУБД «Линтер» имеется особенность: в системе реализовано такое понятие, как «уровень доверия между группами». При этом уровни доверия не могут быть вложенными. Группа представляет собой числовое значение в диапазоне [1-250]. Группа 0 — группа администратора системы. Только администратор системы может создать пользователя в группе, отличной от своей. Все данные, созданные от имени пользователя, помечаются его группой.
Уровни доступа вводятся для проверки прав на осуществление чтения-записи информации. Вводятся следующие уровни доступа:
Для пользователя (субъекта):
RAL — уровень доступа; пользователь может получать (читать) информацию, RAL-уровень которой не выше его собственного уровня доступа;
WAL — уровень доверия на понижение уровня конфиденциальности; пользователь не может вносить информацию с уровнем доступа (RAL-уровнем) более низким, чем данный WAL-уровень пользователя. Иными словами, пользователь не может сделать доступную ему информацию менее конфиденциальной, чем указано в данном параметре.
Для информации:
RAL — уровень чтения; пользователь может получать (читать) информацию, RAL-уровень которой не выше его собственного RAL-уровня (может читать менее конфиденциальные данные);
WAL — уровень ценности или уровень доступа на запись (модификацию, удаление); пользователь может модифицировать (удалять) информацию, WAL-уровень которой не выше его RAL-уровня.
Создать пользователя с произвольными уровнями может только администратор системы. Остальные администраторы (DBA) могут создавать пользователей (или изменять уровень пользователям) лишь в пределах отведенных им уровней. Пользователь может принудительно пометить вводимые данные, указав в списке атрибутов уровни доступа для соответствующих записей и полей (при выполнении операторов INSERT или UPDATE). По умолчанию вносимые данные наследуют уровни пользователя, вносящего/изменяющего данные. Защищаемые объекты: пользователи, таблицы, столбцы, записи (вносится при выполнении INSERT), поля записей (изменяются при выполнении UPDATE). Уровни, как и группы, нельзя использовать в случае, если они не созданы специальными запросами.
Конфигурация, к которой имеет доступ хотя бы один программист, не может считаться безопасной. Поэтому обеспечение информационной безопасности баз данных — дело весьма сложное, и во многом вследствие самой природы реляционных СУБД.
Помимо систематического применения арсенала средств, описанных выше, необходимо использовать административные и процедурные меры, в частности регулярное изменение паролей пользователей, предотвращение доступа к физическим носителям информации и т.п.
Методы и средства обеспечения отказоустойчивости
Для обеспечения надежного решения задач в условиях отказов системы применяются два принципиально различающихся подхода - восстановление решения после отказа системы (или ее компонента) и предотвращение отказа системы (отказоустойчивость).
Восстановление может быть прямым (без возврата к прошлому состоянию) и возвратное.
Прямое восстановление основано на своевременном обнаружении сбоя и ликвидации его последствий путем приведения некорректного состояния системы в корректное. Такое восстановление возможно только для определенного набора заранее предусмотренных сбоев.
При возвратном восстановлении происходит возврат процесса (или системы) из некорректного состояния в некоторое из предшествующих корректных состояний. При этом возникают следующие проблемы:
Потери производительности, вызванные запоминанием состояний, восстановлением запомненного состояния и повторением ранее выполненной работы, могут быть слишком высоки.
Нет гарантии, что сбой снова не повторится после восстановления.
Для некоторых компонентов системы восстановление в предшествующее состояние может быть невозможно (торговый автомат).
Для восстановления состояния в традиционных ЭВМ применяются два метода (и их комбинация), основанные на промежуточной фиксации состояния либо ведении журнала выполняемых операций. Они различаются объемом запоминаемой информацией и временем, требуемым для восстановления.
Применение подобных методов в распределенных системах наталкивается на следующие трудности:
Для распределенных систем запоминание согласованного глобального состояния является серьезной теоретической проблемой;
методы восстановления после отказов для некоторых систем непригодны из-за прерывания нормального функционирования и др;
Чтобы избежать эти неприятности, создают системы, устойчивые к отказам. Такие системы либо маскируют отказы, либо ведут себя в случае отказа заранее определенным образом.
По мере того как операционные системы реального времени и встроенные компьютеры все чаще используются в критически важных приложениях, разработчики создают новые ОС реального времени высокой готовности. Эти продукты включают в себя специальные программные компоненты, которые инициируют предупреждения, запускают системную диагностику для того, чтобы помочь выявить проблему, или автоматически переключаются на резервную систему.
Обеспечение живучести – это использование специальных средств, позволяющих системе продолжать правильное функционирование при возникновении отказов ее программных и аппаратных компонентов с возможностью деградации качества функционирования [2]. В отличие от отказоустойчивости, где с отказом не связано качество работы ВС, сравнительно сложные средства обеспечения живучести позволяют более рационально расходовать вычислительные ресурсы и увеличивать среднее время наработки до наступления фатального отказа. Обеспечение живучести обычно включает три основные функции: диагностика возникновения отказа, локализация неисправности и перестройка системы. В основе толерантности лежит избыточность как аппаратного, так и программного обеспечения. Поэтому многопроцессорные системы с присущей им аппаратной избыточностью потенциально позволяют создавать не только высокопроизводительные, но и высоконадежные системы.
Другим основополагающим требованием является наличие механизма, позволяющего агентам в каждом устройстве обмениваться топологической информацией со своими соседями посредством эффективных протоколов, не перегружающих сеть широковещательным управляющим трафиком. Каждый управляющий агент должен поддерживать таблицу с локальной топологической информацией. Кроме того, должен предоставляться механизм, практически в реальном времени модифицирующий содержимое базы данных и обеспечивающий правильное отображение топологических изменений, вызванных установкой новых устройств либо реконфигурацией или отказом существующих узлов сети.
Для обеспечения защиты вычислительного процесса программными методами используется программная, информационная и временная избыточности.
Под временной избыточностью понимается использование части производительности для получения диагностической информации о состоянии системы. Программная избыточность используется для контроля и обеспечения достоверности важных решений по управлению и обработке информации. Она заключается в применении нескольких вариантов программ в каждом узле системы (так называемое N-версионное программирование).
Сопоставление результатов независимых решений одного и того же фрагмента задачи называют элементарной проверкой, а совокупность всех проверок образует систему голосования, которое является основным источником диагностической информации о состоянии аппаратной части системы и вычислительного процесса в каждом активном узле системы. Два механизма широко используются при обеспечении отказоустойчивости - протоколы голосования и протоколы принятия коллективного решения.
Протоколы голосования служат для маскирования отказов (выбирается правильный результат, полученный всеми исправными исполнителями).
Протоколы принятия коллективного решения подразделяются на два класса. Во-первых, протоколы принятия единого решения, в которых все исполнители являются исправными и должны либо все принять, либо все не принять заранее предусмотренное решение. Примерами такого решения являются решение о завершении итерационного цикла при достижении всеми необходимой точности, решение о реакции на отказ. Во-вторых, протоколы принятия согласованных решений на основе полученных друг от друга данных. При этом необходимо всем исправным исполнителям получить достоверные данные от остальных исправных исполнителей, а данные от неисправных исполнителей проигнорировать
Однако для систем на последней стадии их деградации (при отказе предпоследнего узла сети) на первый план в качестве диагностической информации выходят признаки исправности-неисправности, формируемые различными программно-аппаратными средствами контроля, такими как:
функциональный контроль вычислений с помощью специальных контрольных операторов и нескольких версий программ;
функциональный контроль входной и выходной информации;
контроль входной информации по специальным признакам и контрольным суммам;
контроль выходной информации по квитанции от приемника - абонента системного интерфейса;
контрольный тест аппаратуры процессора;
контрольные тесты аппаратуры внешнего и внутреннего интерфейсов.
встроенные аппаратные средства контроля процессорных элементов и контроллеров системного интерфейса.
Информационная избыточность состоит в дублировании исходных и промежуточных данных, обрабатываемых комплексом программ.
Часто для обнаружения состояния отказа используются тайм-ауты. В обычных системах исполнения предусматривается три различных вида обслуживания. Неблокирующее обслуживание всегда возвращает управление немедленно вместе с достоверным кодом возврата (успех или неудача), однако, в случае отсутствия данного вида обслуживания, обратившаяся к нему задача может попасть в бесконечный цикл опроса. Блокирующее обслуживание избегает такого опроса путём исключения вызывающей задачи из процесса диспетчеризации до тех пор, пока данный сервис не станет доступным. Если этого не произойдет, то задача рискует навсегда остаться заблокированной. Механизм же таймаутов позволяет возвращать управление задаче, даже в случае, если указанный сервис не предоставляется ей в течение определенного периода времени.
3. Средства линейного и нелинейного компьютерного видеомонтажа
Основной задачей видеомонтажа является состыковка отдельных фрагментов видеоматериала, создание переходов между ними, добавление спецэффектов и поясняющих титров, а также удаление ненужных участков сюжета. Существуют три вида видеомонтажа: линейный, нелинейный и комбинированный.
Линейный монтаж подразумевает перезапись видеоматериала с двух или нескольких видеоисточников на видеозаписывающее устройство с вырезанием ненужных и «склейкой» нужных видеосцен и добавлением эффектов. Этот способ применяется с самого начала видеопроизводства и подразумевает использование, по крайней мере, двух устройств -камеры или видеомагнитофона с исходным материалом и рекордера — видеомагнитофона с чистой кассетой. Посредством различных манипуляций материал переписывается в нужной последовательности с плеера на рекордер, с ленты на ленту. Записываемый видеопоток может проходить через устройство наложения спецэффектов, переходов и титров, которое в реальном времени осуществляет необходимые преобразования. Основными недостатками этого вида видеомонтажа являются высокая трудоемкость, большое количество видеоаппаратуры и потеря качества в процессе перезаписи.
Нелинейный монтаж осуществляется на базе компьютерных систем. При этом исходные видеоматериалы сначала заносятся в компьютер, а затем над ними производятся процедуры монтажа. Отличительным признаком нелинейного монтажа является мгновенный доступ к любому кадру отснятого материала. Данные хранятся в цифровой форме на жестком диске. Для помещения на жесткий диск отснятый материал необходимо предварительно оцифровать с помощью какой-либо платы видеоввода (об этом мы говорили в предыдущем разделе). Соответственно, все спецэффекты потом реализуются из программы, которая обрабатывает файлы-источники и выдает на выходе готовое видео. Заметьте, что все это подразумевает наличие компьютера, что при линейном монтаже вовсе не обязательно.
Достоинствами нелинейного видеомонтажа являются практическое отсутствие потерь качества при многократных перезаписях видеосюжетов, значительная экономия видеоаппаратуры. Недостатки — работа не в реальном времени (при использовании простейших карта захвата), большое время обработки видеоматериала, высокая трудоемкость, ограниченный объем заносимого в компьютер видеоматериала.
Комбинированный монтаж сочетает в себе достоинства линейного и нелинейного монтажа. При этом нелинейная видеомонтажная система выступает в роли видеоисточника. Недостаток — это, как правило, более высокая цена.
Наиболее прогрессивным методом видеомонтажа является нелинейный. В настоящее время существует множество программ нелинейного монтажа.
Обзор программ нелинейного видеомонтажа.
Рынок программных продукт для нелинейного видеомонтажа также достаточно насыщен. Рассмотрим ряд наиболее популярных программ.
AdobePremiere
Впервые появившись в 1991 году, программа Adobe Premiere стала пионером в области нелинейного видеомонтажа на настольных компьютерных системах. Программа имеет поддержку большого количества оборудования для работы с видео. Последние версии программы позволяют предварительно просматривать спецэффекты в реальном масштабе времени. Так же появилась возможность экспорта вMPEG2 и запись видео на DVD. Real-time Preview (предварительный просмотр) дает возможность существенно сократить время работы с видео, так как раньше для просмотра результата требовалось произвести предварительный рендеринг сцены. Adobe Title Designer дает возможность создавать титры с более чем 100 готовыми шаблонами и более чем с 90 высококачественными шрифтами от Adobe.
Для программы выпускаются специальные фильтры и эффекты сторонних разработчиков (Plug ins). Также, многие производители плат нелинейного видеомонтажа поддерживают данную программу.
UleadMediaStudio
Основной конкурент AdobePremiere. Существует много приверженцев данной программы. По возможностям UleadMediaStudio ничуть не уступает AdobePremiere, а порой даже превосходит ее. Существенным недостатком является отсутствие поддержки фильтров и эффектов сторонних производителей.
Pinnacle Studio
Данная программа поставляется с платой Pinnacle Studio DC 10+и является неплохи вариантом для начинающих видеолюбителей. В программе имеются инструменты для авторинга и записи DVD/VCD/SVCD и транскодирования из DV в MPEG2 в реальном времени. Процесс записи на диск также интегрирован в саму программу. Pinnace Studio полностью использует возможности современных процессоров, обеспечивая необходимое быстродействие при создании и редактировании видео и звука.
CanopusEdius
Данная программа имеет все возможности причисленных выше продуктов. Что особенного в ней?
Edius Pro 3 (последняя версия программы) позволяет смешивать на тайм-лайне совершенно разные форматы (DVCPro25, Flash, DivX...) и менять разрешение вывода без предварительного просчета! Программа рассчитана на профессиональное применение – свидетельством тому служит интерфейс, представляющий собой несколько самостоятельных окон, каждое из которых может быть размещено где угодно и как угодно.
Билет №1
1. Автоматизированные информационные системы.
ОТВЕТ:
Автоматизированная информационная система (АИС) — совокупность программно-аппаратных средств, предназначенных для автоматизации деятельности, связанной с хранением, передачей и обработкой информации.
АИС являются, с одной стороны, разновидностью информационных систем (ИС), с другой — автоматизированных систем (АС), вследствие чего их часто называют ИС или АС.
АИС может быть определена как комплекс автоматизированных информационных технологий, предназначенных для информационного обслуживания – организованного непрерывного технологического процесса подготовки и выдачи потребителям научной, управленческой и др. информации, используемой для принятия решений, в соответствии с нуждами для поддержания эффективной деятельности.
Классическими примерами автоматизированных информационных систем являются банковские системы, автоматизированные системы управления предприятиями, системы резервирования авиационных или железнодорожных билетов и т. д.
Основной причиной создания и развития АИС является необходимость ведения учёта информации о состоянии и динамике объекта, которому посвящена система. На основании информационной картины, создаваемой системой, руководители различного звена могут принимать решения об управляющих воздействиях с целью решения текущих проблем.
Учётные данные системы могут быть подвергнуты автоматической обработке для последующего тактического и стратегического анализа с целью принятия управленческих решений большего горизонта действия.
Побочными, возможными, но не гарантированными эффектами от использования системы могут выступать:
повышение производительности работы персонала;
улучшение качества обслуживания клиентов;
снижение трудоемкости и напряженности труда персонала;
снижение количества ошибок в его действиях.
Типы автоматизированных информационных систем
Какая-либо однозначная и общепринятая классификация АИС отсутствует, однако в науке и индустрии по крайней мере выделяют следующие типы систем по назначению:
АСУ — Автоматизированные системы управления
АСУП — Автоматизированные системы управления предприятия
АСКУЭ— Автоматизированная система контроля и учёта энергоресурсов
АСУ ТП — Автоматизированные системы управления технологическими процессами
ГИС — Геоинформационные системы
ИУС — Информационно-управляющие системы
ИИС — Информационно-измерительные системы
ИИС — Интеллектуальные информационные системы
ИПС — Информационно-поисковые системы
ИАС — Информационно-аналитические системы
ИСС — Информационно-справочные системы;
ЛИС — Лабораторная информационная система
СИИ — Системы искусственного интеллекта
СКД, СКУД — Система контроля (и управления) доступом
2. Внутренняя структура МП. Назначение узлов, входящих в типовую структуру МП.
ОТВЕТ:

Схема управления выборкой команд выполняет чтение команд из памяти и их дешифрацию.
Арифметико-логическое устройство (или АЛУ, ALU) предназначено для обработки информации в соответствии с полученной процессором командой. Примерами обработки могут служить логические операции (типа логического "И", "ИЛИ", "Исключающего ИЛИ" и т.д.), а также арифметические операции (типа сложения, вычитания, умножения, деления и т.д.). Над какими кодами производится операция, куда помещается ее результат — определяется выполняемой командой.
Быстродействие АЛУ во многом определяет производительность процессора. Причем важна не только частота тактового сигнала, которым тактируется АЛУ, но и количество тактов, необходимое для выполнения той или иной команды.
Регистры процессора представляют собой по сути ячейки очень быстрой памяти и служат для временного хранения различных кодов: данных, адресов, служебных кодов. Операции с этими кодами выполняются предельно быстро, поэтому, в общем случае, чем больше внутренних регистров, тем лучше. Кроме того, на быстродействие процессора сильно влияет разрядность регистров. Именно разрядность регистров и АЛУ называется внутренней разрядностью процессора, которая может не совпадать с внешней разрядностью.
Регистр признаков (регистр состояния) также является внутренним регистром процессора. Содержащаяся в нем информация — это не данные, не адрес, а слово состояния процессора. Каждый бит этого слова (флаг) содержит информацию о результате предыдущей команды.
Схема управления прерываниями обрабатывает поступающий на процессор запрос прерывания, определяет адрес начала программы обработки прерывания (адрес вектора прерывания), обеспечивает переход к этой программе после выполнения текущей команды и сохранения в памяти (в стеке) текущего состояния регистров процессора. По окончании программы обработки прерывания процессор возвращается к прерванной программе с восстановленными из памяти (из стека) значениями внутренних регистров.
Схема управления прямым доступом к памяти служит для временного отключения процессора от внешних шин и приостановки работы процессора на время предоставления прямого доступа запросившему его устройству.
Логика управления организует взаимодействие всех узлов процессора, перенаправляет данные, синхронизирует работу процессора с внешними сигналами, а также реализует процедуры ввода и вывода информации.
3. Административный уровень защиты информации. Задачи различных уровней управления в решении задачи обеспечения информационной безопасности. Процедурный уровень обеспечения безопасности.
ОТВЕТ:
Под административным уровнем информационной безопасности относятся действия общего характера, предпринимаемые руководством организации к обеспечению защиты информации.
Главная цель - формирование политики безопасности, отражающей подход организации к защите данных.
Политика безопасности административного уровня - совокупность документированных решений, принимаемых руководством организации и направленных на защиту информации и ассоциированных с ней ресурсов. Выработку политики безопасности и ее содержание рассматривают на трех горизонтальных уровнях детализации:
Верхний уровень - вопросы, относящийся к организации в целом;
Средний уровень - вопросы, касающиеся отдельных аспектов ИБ;
Нижний уровень - вопросы относящиеся к конкретным сервисам;
Политика безопасности верхнего уровня. Политика безопасности верхнего уровня, затрагивающая все организацию в целом. На данном уровне выносится: управление ресурсами защиты и координация использования данных ресурсов; выделение персонала для защиты критически важных систем; определение взаимодействия с внешними организациями, обеспечивающими или контролирующими режим безопасности; определение правил соблюдения законодательных и нормативных правил, контроля за действия сотрудников, выработка системы поощрений и наказаний.
Политика безопасности среднего уровня. К среднему уровню относят вопросы, относящиеся к отдельным аспектам информационной безопасности. Например, организация доступа сотрудников в сеть Интернет или установка и использование ПО. Политика среднего уровня для каждого аспекта должна освещать: описание аспекта; область применения; позиция организации по данному вопросу; роли и обязанности; законопослушность; точки контакта.
Политика безопасности нижнего уровня. Политика безопасности нижнего уровня относится к работе конкретных информационных сервисов. Такая политика включает в себя два аспекта: цели; правила достижения заданных целей. Политика безопасности данного уровня быть выражена полно, четко и конкретно. Например, определять сотрудников, имеющих право на работу с конкретной информационной системой и данными. Из целей выводятся правила безопасности, описывающие кто, что и при каких условиях может выполнять те или иные процедуры с информационными сервисами.
После формулирования политики безопасности, составляется программа обеспечения информационной безопасности. Программа безопасности также структурируется по уровням. В простом случае достаточно двух уровней:
верхнего (центрального) - охватывающего всю организацию;
нижнего (служебного) - относящегося к отдельным услугам или группам однородных сервисов.
Программу верхнего уровня возглавляет лицо, отвечающее за информационную безопасность организации. Цели такой программы: Управление рисками (оценка рисков, выбор эффективных решений); Координация деятельности в области информационной безопасности Стратегическое планирование Контроль деятельности в области информационной безопасности. Контроль деятельности в области ИБ должен гарантировать, во-первых, что действия организации не противоречат законам, во-вторых, что состояние безопасности в организации соответствует требованиям и реагировать на случаи нарушений.
Цель программы нижнего уровня - обеспечить надежную и экономичную защиту конкретного сервиса или группы однородных сервисов. На нижнем уровне осуществляется выбор механизмов защиты, технических и программных средств. Ответственность за реализацию программ нижнего уровня обычно несут администраторы соответствующих сервисов.
Под политикой безопасности организации понимают совокупность документированных управленческих решений, направленных на защиту информации и ассоциированных с ней ресурсов. Политика безопасности является тем средством, с помощью которого реализуется деятельность в компьютерной информационной системе организации. Вообще политика безопасности определяется используемой компьютерной средой и отражает специфические потребности организации.
Процедурный уровень обеспечения безопасности ориентирован на людей, а не на технические средства. Именно люди формируют режим информационной безопасности, и они же оказываются главной угрозой, поэтому "человеческий фактор" заслуживает особого внимания.
На процедурном уровне можно выделить следующие классы мер:
управление персоналом;
физическая защита;
поддержание работоспособности;
реагирование на нарушения режима безопасности;
планирование восстановительных работ.
6










рафически систему с базой данных можно представить в виде логической последовательности уровней, представленных на рис. 1.

. Идентификация и аутентификация при входе в информационную систему. Использование парольных схем. Недостатки парольных схем. Применение программно-аппаратных средств аутентификации.