| Похожие рефераты | Скачать .docx |
Дипломная работа: Розробка машини для подрібнення коренебульбоплодів
Міністерство аграрної політики України
Житомирський національний агроекологічний університет
Факультет механізації сільського господарства
Кафедра механізації землеробства
ДИПЛОМНИЙ ПРОЕКТ
«Розробка машини для подрібнення коренебульбоплодів»
Спеціальність 7.091.902 „Механізація сільського господарства”
ОКР “Бакалавр”
Житомир 2011
Зміст
Реферат5
Вступ
1. Аналіз господарської діяльності
1.1 Природно кліматичні умови.8
1.2 Господарська діяльність підприємства
2. Технологічна частина
2.1 Розрахунок генерального плану ферми на 1000 голів ВРХ
2.2 Розрахунок кормоцеху для ВРХ
2.2.1 Зоотехнічні вимоги обробки кормів
2.2.2 Розрахунок загальних показників технологічних ліній
2.2.3 Лінія обробки зерна
2.2.4 Лінія обробки стеблових кормів (силосу, соломи)
2.2.5 Лінія обробки коренеплодів
2.2.6 Лінія змішування кормів
2.2.7 Складання графіка роботи машин кормоцеху
2.2.8 Розрахунок технологічних показників кормоцеху
2.2.9 Розрахунок економічних показників кормоцеху
3. Конструкторська розробка
3.1 Огляд існуючих технологій подрібнення
3.2 Зоотехнічні вимоги до подрібнення коренебульбоплодів
3.3 Аналіз існуючих машин та обладнання для подрібнення коренебульбоплодів
3.4 Технологічний розрахунок дискової коренерізки
4. Заходи охорони праці
4.1 Правове забезпечення охорони праці в господарстві60
4.2 Аналіз стану охорони праці
4.3 Небезпека враження електричним струмом
4.4 Схеми можливого „включення” людини в електричну мережу
4.5 Напруга дотику й кроку68
4.6 Захисне заземлення
5. Екологічна експертиза
6. Техніко-економічна ефективність конструкторської розробки
Висновки та пропозиції
Список використаної літератури
Додатки8
Відомість дипломного проекту
Реферат
Пояснювальна записка дипломного проекту на 91 с. комп’ютерного набору, 17 мал., 25 табл., 19 літературних джерел, 1 додатків, 8 аркушів графічної частини.
МАШИНИ ДЛЯ ПОДРІБНЕННЯ КОРЕНЕБУЛЬБОПЛОДІВ, РОБОЧА КАМЕРА, ПРИСТРІЙ ДЛЯ ВИДАЛЕННЯ ПРОДУКТУ, НОЖІ, ПРИСТРІЙ РЕГУЛЮВАННЯ КРУПНОСТІ ПРОДУКТУ, ОРГАНІЗАЦІЯ РОБІТ, ОХОРОНА ПРАЦІ, ЕКОЛОГІЧНА ЕКСПЕРТИЗА, ЕКОНОМІЧНА ЕФЕКТИВНІСТЬ.
Об’єктом розробки є машини для подрібнення коренебульбоплодів.
Розроблено машину для подрібнення коренебульбоплодів, питання організації роботи при подрібненні коренебульбоплодів. Наведено характеристику і склад машини для подрібнення коренебульбоплодів.
Структурний і якісний склад машини розроблено з використанням програми оптимізації роботи кормоцеху.
Розроблено конструкцію коренерізки.
Наведені заходи по охороні праці та економічної ефективності застосування нової машини для подрібнення коренебульбоплодів.
Вступ
Перед працівниками агропромислового комплексу поставлені відповідальні завдання – досягти стабільного зростання сільськогосподарського виробництва, надійно забезпечити країну продуктами харчування і сільськогосподарською сировиною. При цьому необхідно підвищити продуктивність худоби і птиці, забезпечити стабільне збільшення виробництва продукції тваринництва.
Особливу увагу приділяють нарощуванню виробництва м'яса.
Розв'язуванню цієї проблеми сприятимуть всебічна інтенсифікація скотарства шляхом дальшого поглиблення концентрації та спеціалізації на базі міжгосподарської кооперації, впровадження інтенсивних технологій.
Основними елементами промислової технології виробництва яловичини є ритмічне надходження на комплекс (ферму) телят, інтенсивна, біологічно повноцінна годівля молодняку за деталізованими нормами та оптимальні умови утримання.
Забезпечити ці умови в галузі м'ясного скотарства можна лише шляхом впровадження прогресивної техніки, умілої організації її виробничої експлуатації, а також створення передумов для усування ручної праці на основних технологічних операціях.
Також актуальною проблемою на підприємствах є впровадження нових технологій в приготуванні кормів.
Встановлення нових більш продуктивних подрібнювачів коренебульбоплодів, які б забезпечували гарну якість подрібнення продукту відповідно до зоотехнічних рекомендацій, тобто до такого стану продукту, при якому коренебульбоплоди можна використовувати на корм з найбільшою ефективністю. Подрібнювачі повинні бути універсальними, здатними переробляти всі види коренебульбоплодів і мати можливість регулювання крупнисті продукту в межах, достатніх для згодовування всім групам споживачів цих кормів. Також повинні бути економічними за енергоємністю, добре узгоджуватись із можливостями механізованого завантаження сировини, мати просту конструкцію, бути надійними і зручними в експлуатації.
1. Аналіз господарської діяльності СГ “Невгодівське”
1.1 Природно кліматичні умови
Землі господарства відносяться до кліматичного району, який характеризується помірним кліматом.
Літо тепле, протягом якого випадає значна кількість опадів – 295-310мм. Зима холодна, але є пора в яких є відлиги. Середня річна температура складає 3-5ºС (таблиця 1.1)
Таблиця 1.1
Середньорічна температура району
| Місяць року | I | II | III | IV | V | VI | VII | VIII | IX | X | XI | XII |
| Температура ºС | -7.6 | -7.0 | -2.6 | -7.0 | 14.5 | 18.4 | 19.7 | 18.9 | 12.9 | 6.5 | 0.2 | -4.4 |
Найбільш холодними місяцями є січень та лютий, а теплими – червень. липень та серпень.
Взимку погода має різний характер: низькі температури – -15...-20ºС, змінюються відлигами з температурами +3...+5ºС.
Зимою переважно мають місце західні, північно-східні та північно-західні вітри. Напрямки їх часто змінюються що приводить до швидкої зміни температури повітря.
Тривалість періоду з стійким сніговим покриттям складає – 90-105 днів. Середня багаторічна дата закінчення весняних заморозків – 28 квітня – 2 травня, а осінні заморозки починаються з 2-3 жовтня. Тривалість без морозного періоду складає близько 155 днів. Середньорічна кількість опадів на території району – 501-555мм. Коливання річної суми опадів в окремі роки від 315-340 до 885-930мм.
Таблиця 1.2
Розподіл річних опадів
| Місяць року | I | II | III | IV | V | VI | VII | VII | IX | X | XI | XII |
| Кількість опадів | 31 | 28 | 31 | 29 | 56 | 67 | 76 | 61 | 48 | 49 | 36 | 38 |
Наведені данні показують. що найбільша кількість опадів збігається з періодом розвитку сільськогосподарських рослин, що сприяє підвищенню їх урожайності.
Середня відносна вологість повітря знаходиться улітку в межах 50-15%. Ґрунти перехідної зони, до якої відноситься Сумський район представлені в основному чорноземами, а також світло-сірими, сірими. темно-сірими лісовими ґрунтами та чорноземами пів золеними. Реакція ґрунтового середовища в основному слабо кислотна (р Н = 5,0-5,6). На цих ґрунтах ефективні всі види добрив. В порівнянні з іншими ґрунтами, дані ґрунти дають достатньо високі врожаї практично всіх сільськогосподарських культур.
1.2 Господарська діяльність підприємства
СГ “Невгодівське” – багатогалузеве господарство. В господарстві працює 165 чоловік, з них інженерно-технологічних працівників – 8 чоловік. Основні фонди господарства наведені в таблиці 1.3.
Таблиця 1.3
Фонди господарства
| Показники | Одиниця виміру | 2008р. | 2007р. | 2006р. |
| Площа с/г угідь | га. | 4009 | 4281 | 3921 |
| Вартість валової продукції | тис. га. | 4570,3 | 4364,5 | 3461,5 |
| Вартість товарної продукції | тис.га. | 2942,0 | 3672,0 | 2596,0 |
| Вартість основних виробничих фондів | тис.га. | 2555,5 | 2495,9 | 2390,0 |
| Наявність умовних тракторів | шт. | 32 | 32 | 29 |
| Середньорічна кількість працівників | чол.. | 185 | 186 | 182 |
В рослинництві господарство спеціалізується на вирощуванні зернових культур – пшениці, ячменю, кукурудзи, гречки, гороху. З технічних культур – цукровий буряк, коренеплоди, соняшник.
Таблиця 1.4
Площа зернових і технічних культур господарства в 2008 році
| Культура | Площа, га | % ріллі |
| Пшениця | 1200 | 26,5 |
| Ячмінь | 355 | 7,9 |
| Кукурудза на зерно | 120 | 2,7 |
| Горох | 120 | 2,7 |
| Всього зернових | 2065 | 45,7 |
| Коренеплоди | 82 | 1,8 |
| Кормовий буряк | 300 | 6,6 |
| Інші | 180 | 4 |
Для забезпечення тваринництва кормами в господарстві вирощують декілька видів кормових культур (таблиця 1.5).
Таблиця 1.5
Урожайність сільськогосподарських культур
| Культура | Роки | ||
| 2006 | 2007 | 2008 | |
| Пшениця | 21,3 | 38,7 | 30,6 |
| Ячмінь | 30,0 | 31,2 | 28,2 |
| Кукурудза на зерно | 47,0 | – | 34,2 |
Також в господарстві досить велике поголів’я тварин великої рогатої худоби і свиней.
Таблиця 1.6
Площа, урожайність і валовий збір кормових культур
| Культура | Показники | 2006р. | 2007р. | 2008р. |
| Кукурудза на силос | Площа, га | 270,0 | 500,0 | 440,0 |
| Урожайність, ц/га | 160,0 | 152,0 | 149 | |
| Валовий збір. т | 10491,0 | 7437,7 | 75160,0 | |
| Коренеплоди | Площа, га | 89,0 | 86,0 | 82 |
| Урожайність, ц/га | 290,0 | 301,0 | 210 | |
| Валовий збір. т | 2625,5 | 2588,6 | 1722,0 | |
| Однорічні трави на зелену масу | Площа, га | 375,0 | 362,0 | 95,0 |
| Урожайність, ц/га | 178,0 | 165,0 | 152,0 | |
| Валовий збір. т | 3275,9 | 3081,3 | 1275,0 | |
| Багаторічні трави на сіно | Площа, га | 20,0 | 70,0 | 70,0 |
| Урожайність, ц/га | 20,0 | 26,0 | 32,4 | |
| Валовий збір. т | 70,0 | 250,0 | 130,0 | |
| Багаторічні трави на зелену масу | Площа, га | 57,0 | 57,0 | 27,0 |
| Урожайність, ц/га | 150,0 | 170,0 | 161,0 | |
| Валовий збір. т | 465,0 | 570,0 | 403,0 |
Дані, наведені у таблиці показують, що виробництво кормових культур за останні три роки зменшилось, що негативно впливає на розвиток молочного скотарства та підвищення продуктивності корів.
За останні роки в господарстві спостерігається зменшення поголів’я тварин.
Таблиця 1.7
Динаміка поголів’я тварин господарства
| Вид тварин | 2005 | 2006 | 2007 |
| Велика рогата худоба, гол. | 843 | 753 | 744 |
| утому числі корів | 250 | 250 | 250 |
| Свині, гол. | 192 | 201 | 183 |
| у тому числі основних свиноматок | 15 | 13 | 13 |
В господарстві також спостерігається тенденція до зниження поголів’я ВРХ. На ряду з цим також знижується і продуктивність тварин.
Таблиця 1.8
Продуктивність тварин
| Показники | 2005 рік | 2006 рік | 2007 рік |
| Річний надій, кг/гол. | 10333 | 10420 | 9327 |
| Середньодобовий приріст ВРХ, гр.. | 402 | 436 | 404 |
| Середньодобовий приріст свиней, гр.. | 241 | 218 | 273 |
| Вихід телят на 100 голів корів, гол. | 90 | 96 | 85 |
| Отримано поросят на основну свиноматку, гол | 7 | 9 | 11 |
Зниження поголів’я та продуктивності тварин привело за останні роки і до зниження валового виробництва тваринницької продукції. Однією з причин незадовільного стану у тваринництві є відсутність комплексної механізації на базі сучасної високотехнологічної техніки.
Таблиця 1.9
Рівень механізації виробничих процесів у тваринництві
| Процеси | ВРХ | Свині |
| Поїння тварин | 100,0 | 100,0 |
| Приготування та роздавання кормів | 70,0 | 77,0 |
| Видалення гною | 88,0 | 85,0 |
| Доїння корів | 100,0 | – |
| Створення мікроклімату | 80,0 | 80,0 |
| Комплексна механізація | 86,4 | 85,5 |
Таблиця 1.10
Затрати праці і собівартість одиниці продукції
| Найменування | Затрати праці, тис л/год. | Собівартість, грн.. |
| Пшениця | 16 | 27,80 |
| Ячмінь | 9 | 26,20 |
| Горох | 2 | 25,67 |
| Овес | 1 | 22,43 |
| Молоко | 157 | 59,74 |
| М’ясо | 137 | 1036,54 |
Проаналізувавши сільськогосподарське виробництво господарства можна сказати, що механізація даного підприємства на достатньому рівні, місце розташування дає великі можливості в реалізації виробленої продукції, а близькість з кордонами Білорусі дає можливість транспортування продукції за кордон з мінімальними затратами. Підприємство має за мету розширення посівних площ і збільшення врожайності продукції. А також в планах – збільшення робочих місць і підвищення механізації господарства.
ферма коренебульбоплід дискова коренерізка
2. Технологічна частина
2.1 Розрахунок генерального плану ферми на 1000 голів ВРХ
Генеральний план є основою для розробки комплексної механізації ферми. В ньому повинно бути відображено кількість та структуру поголів’я тварин, типи приміщень, види кормо сховищ, розташування будівель та інших споруд. Усе це в подальшому використовується для обґрунтування комплексу машин для ферми.
Площа земельної ділянки ферми, м2
(2.1)
де М – розмір ферми (корів, основних свиноматок та ін.), гол.;
f– норма площі, м2 /гол. (табл.. 2.1)
Таблиця 2.1
Приблизні норми земельної площі на фермах
| Молочна ферма, м2 /гол. | 150...200 |
| Відгодівля молодняку ВРХ, м2 /гол. | 50...80 |
| Свиноферма із закінченим циклом виробництва. м2 /основну свиноматку | 180...250 |
| Репродуктивна свиноферма, м2 /основну свиноматку | 100...150 |
| Свиноферма по відгодівлі молодняку. м2 /гол. | 15...30 |
![]()
При проектуванні генерального плану можна також використовувати норму площі аналогічного типового проекту.
При розрахунку розмірів земельної ділянки співвідношення його ширини й довжини повинно забезпечувати найбільш компактне розміщення всіх елементів ферми з дотриманням зоогігієнічних нормативів для тваринницьких об'єктів.
Зокрема, при співвідношенні ширини В до довжини L як 1:1,4
(2.2)
(2.3)
![]()
![]()
Визначають необхідну кількість у відповідних тваринницьких приміщеннях, використовуючи показники типових проектів (табл.. 2.2) або шляхом розрахунку за допомогою усереднених нормативів.
При розрахунковому методі довжина приміщення для тварин визначається з умови
(2.4)
де
– довжина приміщення, м;
– норма площі приміщень, м2
/гол.(табл.. 2.3)
b – ширина приміщень, ( 12м – для дворядного приміщення, 18 та 21 для чотирьохрядного).
Таблиця 2.2
Деякі типи тваринницьких приміщень
| Приміщення | Кількість, гол. | Розміри, м | № проекту |
| Корівник прив’язного утримання | 100 | 78×12×2,8 | 801-2-3 |
| 150 | 108×12×3 | 801-482 | |
| 200 | 78×21×3,5 | 801-70-3 | |
| Корівник боксового утримання | 100 | 84×12×3 | 801-2-8 |
| 200 | 84×21×3 | 801-2-16 | |
| 400 | 114×27×3,3 | 801-2-12 | |
| Пологове приміщення для корів | 48 | 36×21×3,4 | 801-337 |
| 72 | 48×21×3,3 | 801-3-3 | |
| 96 | 60×21×3 | 801-390 | |
| Телятник 20 дн. – 6 місяців | 360 | 60×15×3 | 801-340 |
| Телятник 6-11 місяців | 564 | 138×18×3 | 801-4-6 |
| Будівля по відгодівлі молодняку ВРХ | 220 | 72×12×3 | 801-320 |
| 360 | 66×21×3 | 801-340 | |
| 500 | 108×18×3,3 | 801-462 | |
| 720 | 120×21×3,5 | 801-422 |
Таблиця 2.3
Приблизні норми площ утримання тварин, м2 /гол.
| Групи тварин | Приміщення | Вигульні майданчики |
| Корови дійні та сухостійні | 8...10 | 15 |
| Корови в пологовому відділенні | 14...16 | |
| Молодняк ВРХ | 3.5...4.0 | 10 |
| Свиноматки холості та поросні | 3.0...4.5 | 5 |
| Свиноматки підсосні | 13...16 | 10 |
| Поросята на дорощуванні | 1.0...1.3 | 0.5 |
| Молодняк свиней на відгодівлі | 1.4...1.6 | 0.8 |
Довжина приміщення:
![]()
Приймаємо 2будівлі 108×18×3,3.
Розрахунок елементів кормової зони та для зберігання гною зводиться до визначення розмірів та кількості сховищ різноманітного призначення (на прикладі розрахунку сховищ силосу).
Загальна місткість сховищ, м3 :
(2.5)
де
– кількість тварин і - ї виробничої групи, гол (див. ф. 4);
–добова норма видачі корму, кг/гол∙доб;
– розрахункова кількість днів;
– об'ємна маса корму, кг/м3
;
–коефіцієнт використання об'єму сховища (η = 0.8);
к –коефіцієнт врахування втрат корму (к = 1.15).
Загальна площа усіх сховищ силосу, м2 :
(2.6)
де Нс – висота сховища (Нс = 3,0...5,0м)
Нижню межу висоти сховища встановлюють для скорочення відходів за рахунок зниження відношення відкритої поверхні корму до його маси, верхня обмежується можливостями навантажувача.
Загальна довжина усіх сховищ силосу, м:
(2.7)
де Вс - ширина сховища силосу, м ( Вс = 6... 12).
Ширина траншеї повинна бути достатньою для розміщення засобів механізації. З іншого боку вона не повинна бути занадто великою, щоб товщина зрізуємого шару корму кожного дня була не меншою ніж 0.3 м.
Кількість траншей:
(2.8)
де l0 – довжина однієї траншеї, м.
Довжина однієї траншеї повинна бути обмеженою та кратною 6 м (стандартна довжина секції), щоб забезпечити її заповнення при закладці не більш ніж за 3 дні для отримання високоякісного силосу. За звичай, довжину траншеї приймають не більше 48 м.
Таблиця 2.4
Нормативи розрахунку сховищ на фермі
| Назва показників | Сховища | |||||
| силосу | зерна | коренеплодів | сіна | соломи | гною | |
| Розрахункова кількість днів | 220 | 365 | 220 | 220 | 220 | 120 |
| Об'ємна маса, кг/м3 | 600..650 | 550..700 | 570..670 | 60..80 | 60...80 | 700..900 |
| Коефіцієнт використання | 0.8 | 0.8 | 0.8 | 0.8 | 1 | 0.9 |
| Коефіцієнт втрат | 1.15 | 1 | 1.1 | 1.1 | 1.2 | 1 |
| Висота сховища, м | 3...5 | 3...5 | 2 | 5 | 5 | 1.5..2 |
| Ширина сховища, м | 6...12 | 12...18 | 12...18 | 12..18 | 8 | 12...15 |
| Довжина одного сховища 10 не більш, м | 48 | 40 | 40 | 60 | 60 | 60 |
Розміри зерноскладів, коренеплодосховищ, сіносховищ, скирт соломи та гноєсховищ визначають аналогічно, використовуючи відповідні нормативи (табл.. 2.4).
Таблиця 2.5
Середньодобовий вихід гною та витрата підстилки від різних груп тварин, кг/гол
| Групи тварин | Вихід гною | Витрата підстилки |
| Корови | 55 | 1,5 |
| Молодняк ВРХ на відгодівлі в віці: | ||
| 6-9 місяців | 18 | 1,0 |
| 9-12 місяців | 25 | 1,0 |
| 12-15 місяців | 34 | 1,0 |
| 15-18 місяців | 40 | 1,0 |
| 18-21 місяців | 44 | 1,0 |
| 21 - 24 місяця | 50 | 1,0 |
Розрахунок силососховища
Загальна місткість сховища:
![]()
Загальна площа усіх сховищ силосу:
![]()
Загальна довжина усіх сховищ силосу:
![]()
Кількість траншей:
![]()
Розрахунок зерноскладу
Загальна місткість сховища:
![]()
Загальна площа усіх зерноскладів:
![]()
Загальна довжина усіх зерноскладів:
![]()
Кількість складів:
![]()
Розрахунок коренеплодосховища
Загальна місткість сховища:
![]()
Загальна площа усіх коренеплодосховищ:
![]()
Загальна довжина усіх коренеплодосховищ:
![]()
Кількість траншей:
![]()
Розрахунок сіносховища
Загальна місткість сховища:
![]()
Загальна площа усіх сіносховищ:
![]()
Загальна довжина усіх сіносховищ:
![]()
Кількість сіносховищ:
![]()
Розрахунок скирт соломи
Загальна місткість сховища:
![]()
Загальна площа усіх скирт соломи:
![]()
Загальна довжина усіх скирт соломи:
![]()
Кількість скирт:
![]()
Розрахунок гноєсховища
Загальна місткість сховища:
![]()
Загальна площа усіх гноєсховищ:
![]()
Загальна довжина усіх гноєсховищ:
![]()
Кількість траншей:
![]()
При розрахунку кількості скирт норма qвключає добову витрату соломи на їжу та підстилку, а для гноєсховищ — відповідно добову витрату підстилки та вихід гною від однієї тварини (табл.. 2.5).
При розміщенні об'єктів на генеральному плані необхідно відокремити такі зони:
а) адміністративно-господарську (адміністративно-побутова споруда; санпропускник, авто ваги, та інше).
б) виробничу (приміщення для утримання та об'єкти обслуговування тварин);
в) зберігання та приготування кормів;
г) допоміжних будівель та споруд (котельна, гараж, майстерні та інше);
д) зберігання та переробки гною.
В залежності від конкретних умов окремі будівлі та споруди або їх групи можуть бути винесені за межі огорожі ферми (котельна, майстерня, гноєсховище та інше.).
Тваринницькі приміщення розташовують у виробничій зоні в один або декілька рядів з урахуванням протипожежних та зооветеринарних розривів.
В зоні зберігання кормів відстань між скитами соломи та сіна потрібно витримувати не менше 30м (під навісами – 15м), між силососховищами – 10м, коренеплодосховищами – 10 м. Кормоприготувальний цех розміщується в найбільш зручному для транспортування кормів місці. Розміри кормоцеху відповідають результатам технологічного розрахунку або, в залежності від чисельності поголів'я ферми, приймаються рівними 12x12, 12x15, 15x18, 18x24м.
На плані ферми необхідно нанести також насосну станцію (4x4 м), водонапірну башту (діаметр 3м), авто ваги (6x6м), трансформаторну підстанцію (2x2м), ветпункт (9x12м), молочний блок (12x12м). Біля головного в'їзду на ферму обладнується ветсанпропускник з дезбар'єром.
Забороняється пересічення транспортних потоків готової продукції, кормів та гною.
На генеральному плані вказують сторони світу, розу вітрів, дороги, огорожу, зелені насадження.
В правому нижньому кутку аркуша приводиться експлікація споруд та будівель, а на вільній ділянці – основні показники генплану: площа території (га), щільність забудови (%), довжина зовнішньої огорожі (м), площа доріг та майданчиків з твердим покриттям (м2 ),площа вигульних дворів.
2.2. Розрахунок кормоцеху для ВРХ
2.2.1 Зоотехнічні вимоги обробки кормів
Система машин може забезпечувати високу продуктивність тварин (удій від корів, середньодобовий приріст при відгодівлі молодняку та ін.) та економічну ефективність її використання, якщо якість приготованих кормів відповідатиме зоотехнічним вимогам. Недодержання цих вимог в умовах виробництва неприпустиме і призведе до економічного збитку.
У подрібненому зерні (концкормах) кількість мінеральних домішок допускається для поросят на дорощуванні і телят до 20-добюового віку не більше 03%, для молодняку ВРХ та свиней – не більше 0,5%, для корів та овець – не більше 0,7%. Модуль помелу зерна повинен бути для ВРХ у межах 1,0…2,6мм, свиней – 0,2…1,0мм. Стандарт визначає три ступені помелу: дрібний – 0,2…0,1мм, середній – 0,1…1,8мм, крупний – 1,8…2,6мм.
Силос повинен бути подрібнений до розмірів: для ВРХ – 10-15мм, дорослих свиней – 5…7мм, поросят – 3…5мм.
Зелена маса подрібнюється для ВРХ до 30-50мм при окремому годуванні і 10-15мм при приготуванні вологих мішанок, для дорослих свиней 5…7мм і поросят у межах 3…5мм.
Сіно і солома (грубі корми) при окремому годуванні подрібнюється для ВРХ до 50мм. Більш дрібну різку – 10…15мм готують при змішуванні грубих кормів з соковитими.
Коренеплоди мити і подрібнювати можна не більш ніж за 2 години до годування. Залишкова забрудненість після мийки не повинна перевищувати 2% маси чистих коренеплодів. Товщина стружки коренів для дорослої ВРХ повинна бути у межах 10…15мм, для телят і дорослих свиней 5..10мм, для поросят 3…5мм.
Оцінка якості змішування кормів визначається величиною відхилення контрольного компоненту від теоретичної величини у пробах суміші у процентах: до 8% – добра суміш; 8…10% – задовільна; 10…15% – не досить задовільна; більш 15% – погана.
2.2.2 Розрахунок загальних показників технологічних ліній
Добова продуктивність окремої технологічної лінії, т/доб:
(2.9)
де
– добова норма споживання кормового компоненту 1, 2, …, n видом тварин, кг;
– чисельність поголів’я 1, 2, ..., n виробничих груп тварин, гол.
![]()
![]()
![]()
![]()
Попередня годинна продуктивність окремої технологічної лінії, т/год:
(2.10)
де Тл – попередній час роботи технологічної лінії на добу, Тл = 5...8год;
![]()
![]()
![]()
![]()
За формулами (1), (2) визначається добові та попередні годинні продуктивності ліній зерна, силосу, соломи, коренеплодів.
Вологість кормо суміші, %:
(2.11)
де W1 , W2 , …, Wn – вологість компонентів суміші, % (табл. 2.6)
Таблиця 2.6
Деяка властивість кормів
| Корма | Вологість, % | Об’ємна маса, т/м3 |
| Солом’яна різка | 14...16 | 0,08 |
| Трав’яна мука | 12...14 | 0,18...0,20 |
| Зелена маса свіжескошена | 73...80 | 0,28...0,35 |
| Силос розрихлений | 72...77 | 0,35...0,40 |
| Сінаж розрихлений | 45...55 | 0,30...0,35 |
| Кормовий буряк (корені) | 86...88 | 0,57...0,65 |
| Кормовий буряк (стружка) | 86..88 | 0,67...0,74 |
| Цукровий буряк (корені) | 74...76 | 0,58...0,67 |
| Цукровий буряк (стружка) | 74...76 | 0,59...0,72 |
| Зерно ячменю | 13...15 | 0,55...0,75 |
| Зерно кукурудзи | 13...15 | 0,70...0,82 |
| Зерно вівсу | 13...15 | 0,40...0,56 |
| Зерно пшениці | 13...15 | 0,65...0,76 |
| Зерно гороху | 13...15 | 0,60...0,80 |
| Дерть ячмінна | 13...15 | 0,46...0,65 |
| Дерть кукурудзяна | 13...15 | 0,68...0,78 |
| Дерть вівсяна | 13...15 | 0,30...0,36 |
| Дерть пшенична | 13...15 | 0,45...0,63 |
| Дерть горохова | 13...15 | 0,50...0,65 |
| Жом бурячний | 88...92 | 0,70...0,80 |
![]()
Вологість суміші кормів повинна бути для ВРХ – 75%, для свиней – 65%, вівець – 60%. Якщо під час розрахунку Wс ум виявляється менше вологою, то в суміш необхідно добавити воду у кількості:
(2.12)
де Wвим – вимагаєма вологість суміші, %.
![]()
Добова продуктивність лінії змішування, т/доб:
(2.13)
![]()
Попередня годинна продуктивність лінії змішування, т/год:
(2.14)
![]()
Об’ємна маса кормо суміші, т/м3 :
(2.15)
де
– об`ємна маса компонентів кормо суміші (кормів і води), т/м3
.
![]()
Об’єми завальних ям для зерна, дерті, коренеплодів, м3 :
(2.16)
де η – коефіцієнт заповнення, (0,8...0,9);
кі – кратність підвозу корму на добу, (1...3).
![]()
![]()
![]()
2.2.3 Лінія обробки зерна
Побудову лінії необхідно починати з вибору базової машини – дробарки зерна.
(2.17)
де
– годинна продуктивність дробарки при модулі помелу М = 1,0мм та вологості зерна W = 14%, т/год;
– випадковий коефіцієнт за модулем помелу (таблиця 2.7);
– випадковий коефіцієнт за вологістю зерна.
Таблиця 2.7
Залежність
від модуля помелу
| Модуль помелу М, мм | 0,4 | 0,6 | 0,8 | 1,0 | 1,2 | 1,4 | 1,6 | 1,8 | 2,0 | 2,2 |
| Коефіцієнт |
0,4 | 0,6 | 0,8 | 1,0 | 1,2 | 1,5 | 1,8 | 2,1 | 2,4 | 2,8 |
Коефіцієнт
враховує вплив вологості подрібненого зерна на продуктивність дробарки:
(2.18)
де W – вологість зерна, %.
![]()
![]()

Мал.. 2.1. Технологічна схема лінії обробки зерна на базі дробарки А1-БД2-М
1 – завальна яма зерна; 2 – норія НЦГ-10; 3 – дробарка А1-БД2-М; 4 – норія НЦГ-10; 5 – завальна яма концкормів; 6 – живильник ПК-6.
2.2.4 Лінія обробки стеблових кормів (силосу, соломи)
Базовою машиною технологічної лінії є подрібнювач корму, фактична продуктивність якого залежить від довжини різки подрібнюю чого матеріалу:
(2.19)
де l – довжина різки, мм (вибирається у відповідності з зоотехнічними вимогами
![]()

Мал.. 2.2. Технологічна схема лінії обробки силосу на базі подрібнювача
1 – живильник 03; 2 – дисковий подрібнювач 03; 3 – транспортер скребковий 02.
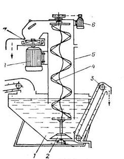
2.2.5 Лінія обробки коренеплодів
Продуктивність базової машини – подрібнювача коренеплодів залежить від товщини стружки, на яку регулюється подрібнюючий апарат, т/год:
(2.20)
де b – товщина стружки у відповідності з зоотехнічними вимогами, мм.
![]()
Лінія обробки коренеплодів повинна враховувати операцію мийки або сухого очищення коренів перед подрібненням, якщо забрудненість перевищує 2% маси корму.

Мал.. 2.3. Технологічна схема лінії обробки коренеплодів
1 – завальна яма; 2 – живильник коренеплодів 06; 3 – мийка-подрібнювач ИКС-5М; 4 – транспортер ШЗС-40.
2.2.6 Лінія змішування кормів
Змішування кормів здійснюється в пропорційних та безперервних змішувачах. В пропорційних корму можна не тільки змішувати, але й при необхідності запарювати. Безперервні змішувачі більш продуктивні, менш метало місткі та енергоємні в порівнянні з пропорційними, однак не придатні для теплової обробки кормів.
(2.21)
де γсум – об’ємна маса кормо суміші, т/м3 ;
ηзм – коефіцієнт заповнення ємності змішувача; ηзм = 0,7 – при наявності в суміші стеблових кормів (силосу, соломи та ін.); ηзм = 0,8 – для інших видів кормо суміші;
τ – коефіцієнт використання часу зміни (0,75);
Тп – тривалість приготування однієї порції кормо суміші в змішувачі (попередньо приймається Тп = 1год).
![]()

Мал. 2.4. Технологічна лінія змішування на базі двох порційних змішувачів.
1 – шнек завантажувальний; 2 – заслінка; 3 – змішувач С-12; 4 – шнек вивантажувальний ШВС-40; 5 – транспортер ТС-40М.
2.2.7 Складання графіка роботи машин кормоцеху
Добовий графік дозволяє погодити за часом роботу окремих машин, встановити їх добове завантажування в годинах, визначити фактичну продуктивність кормоцеху та інші експлуатаційні показники.
Як видно із схеми, змішування кормів здійснюється в одно порційному змішувачах С-10. Тривалість завантажування кожного кормового компонента в змішувач повинна бути такою, щоб їх вагове співвідношення в змішувачі відповідало прийнятому раціону годування.
В змішувачі корм перемішується та при досягненні необхідної якості суміш вивантажується шнеком змішувача через збірний шнек ШВС-40 та похилий транспортер ТС-40М в кормороздавач. Вивантажування порцій кормосуміші із змішувача здійснюється до того часу, доки існуюче поголів'я тварин не отримає потрібної кількості кормів.
Перебудова дробарки ДКУ-1.0 на режим подрібнення зерна та її роботи в цьому режимі здійснюється в зручний час доби при непрацюючій лінії змішування. Зерно з завальної ями подається норією НЦГ-10 в над-розмольний бункер та далі в дробарку ДКУ-1.0. Подрібнене зерно відводиться через циклон дробарки в завальну яму концкормів.
Для побудови графіка роботи машин необхідно попередньо здійснити розрахунки.
Загальна добова кількість порцій кормосуміші:
(2.22)
де
– добова продуктивність лінії змішування, т/доб;
V - об'єм одного змішувача, м3 ;
- коефіцієнт заповнювання ємкості змішувача (
=0,7...0,8);
- об'ємна маса кормосуміші, т/м3
.
Час одного завантажування кормових компонентів в змішувач, год:
(2.23)
де
- добова продуктивність окремої технологічної лінії, т/доб;
- фактична годинна продуктивність лінії або завантажуючого живильника (для концкормів), т/год.
Час завантажування концентрованих кормів:
год.
Час завантажування зеленої маси:
год.
Час завантажування коренеплодів:
год.
Час завантажування соломи:
год.
Розрахунковий час завантажування змішувача, год:
год. в літній період і 1,3 год. відповідно в зимній період роботи кормоцеху.
Час приготування однієї порції суміші, год:
(2.24)
Для літнього сезону:
Тп = 0,667+0,3+0,3 =1,267 год.
Де t1, t2, t3, відповідно час змішування та вивантажування однієї
порції, год (табл. 2.8).
Таблиця 2.8
Приблизний час операцій при роботі порційних змішувачів, год
| Операції | Марка змішувача | |||
| ВК-1 | С-3 | С-7 | С-10 | |
| Змішування | 0,25 | 0,25 | 0,30 | 0,30 |
| Вивантажування | 0,10 | 0,10 | 0,20 | 0,30 |
Тривалість роботи машин, працюючих незалежно від роботи змішувачів (в нашому прикладі дробарка ДКУ-1 на подрібненні зерна та норія НЦГ-10), год.
год. (для дробарки)(2.25)
год. (для норії)
2.2.8 Розрахунок технологічних показників кормоцеху.
Площа кормоцеху, м2
(2.26)
![]()
де К – коефіцієнт, враховуючий площу проходів, робочих місць та ін., К=2...3;
- сумарна площа машин та обладнання, м2
;
Об'єм будови, м3
= 195 · 3 = 585 м3
(2.27)
де Н – висота будови, м. Залежить від розмірів машин, але не менше 3,5 м.
Потреба в робочих залежить від рівня механізації виконання операцій. Якщо всі операції виконуються за допомогою машин, то роль оператора зводиться до контролю та керування роботою технологічних ліній. Наприклад, для розглядаємого кормоцеху достатньо однієї людини: оператора.
Ручне завантажування подрібнювачів може бути застосоване на дрібних фермах при невеликих об'ємах робіт, де застосування живильників економічно необгрунтоване. Однак потрібно мати на увазі, що в цьому разі як правило знижується продуктивність подрібнювачів та погіршуються соціальні умови праці робочих.
Річна потреба в електроенергії, кВт.год:
(2.28)
![]()
де
– добова тривалість роботи і-ї машини, год (береться з графіку роботи машин,);
Nі – потужність приводу і-ї машини, кВт;
Di – кількість днів роботи машини за рік (Di =220 або 365 днів);
n - кількість машин в кормоцеху.
Сумарна потужність електродвигунів, кВт:
(2.29)
![]()
Річна потреба в воді, т:
(2.30)
т.
де n – кількість робочих кормоцеху, люд;
q1 – норма добової витрати води на одного робочого (q1 =0,2 т/люд);
– добова продуктивність лінії коренеплодів, т/доб;
q2 –норма витрати води на мийку коренів (q2 = 0,8);
– добова витрата води для зволоження кормів, т/доб;
КB – коефіцієнт інших витрат води (КB =1,2).
Річна потреба в парі, т:
(2,31)
![]()
де Р1 – норма добової витрати пару на нагрівання води для робочих (Р1 =10 кг/люд);
V– об'єм будови кормоцеху, м3 ;
р2 – норма добової витрати пару на опалювання приміщення (р2 =0,75 кг/м3 );
D о – кількість днів опалювального сезону (Dо =180 днів).
Якщо виникає необхідність запарювати корма в разі порушення режимів зберігання та псування (ураження грибками, мерзлі корені і таке інше), то слід передбачити додаткову витрату пару; для коренеплодів – 0,20 кг/кг, для концкормів – 0,30 кг/кг, для соломи – 0,45 кг/кг.
Годинна продуктивність кормоцеху, т/год:
(2.32)
де
– добова продуктивність лінії змішування, т/доб;
Тк – час роботи кормоцеху на добу, год (знаходиться з графіку роботи машин кормоцеху).
2.2.9 Розрахунок економічних показників кормоцеху.
Балансова вартість обладнання, грн:
(2.33)
![]()
де Сі – ціна і-ї машини, грн;
Км – коефіцієнт, враховуючий витрати на постачання і монтаж, (Км =1,2)
n – кількістьмашин.
Балансова вартість будови, грн:
= 585 · 120 = 70200 (2.34)
де V- об'єм будови, м3 ;
- питома вартість одного кубометру будови
=20 грн/м3
).
Балансова вартість кормоцеху, грн:
ВК =ВО +ВП = 305676 + 70200 = 375876 (2.35)
Питомі витрати праці, люд·год/т:
(2.36)
де n – кількість робочих кормоцеху, люд;
QK – годинна продуктивність кормоцеху, т/год.
Річні експлуатаційні витрати, грн:
S= (SА + Sр + Sо + Sв + Sп ) · Кі (2.37)
де SА – відрахування на амортизацію, грн;
Sр – витрати на ремонт, грн;
SО – витрати на оплату праці робочих, грн;
SВ – вартість води, грн;
SП – вартість пару, грн;
Кі – коефіцієнт інших прямих витрат (Кі = 1,05).
S=(45302 + 31972 + 4805 + 17238 + 5835 + 64960)·1.05 = 178618
SА = Во · ао + Вп · ап (2.38)
де а0 , аП – норми відрахувань на амортизацію обладнання (ао = 0,142) та будови (ап = 0,027)
SА = 305676 · 0,142 + 70200 · 0,027 = 45302
Sр = Во ·pо + Вп · pп (2.39)
де pо , pп – норми відрахувань на ремонт обладнання (ро =0,10) та будови (рп =0,02)
Sр = 305676 · 0,1 + 70200 · 0,02 = 31972
(2.40)
де n – кількість робочих кормоцеху, люд;
Тк – час роботи кормоцеху за добу, год;
Dк – кількість днів роботи кормоцеху за рік;
Со – годинна оплата праці робочих (Со =1 грн/год);
Но – коефіцієнт нарахувань на заробітну платню (Но = 1,05).
S0 = 1· 5,2 · 220 · 4 · 1.05 = 4805
SE = GE ·CE (2.41)
де GE – річна потреба в електроенергії, кВт год;
СЕ – ціна однієї кВттод, (СЕ = 0,10грн/кВт·тод).
SE = 57458 · 0.3 = 17238
SB = GB ·CB (2.42)
де GB – річна потреба в воді, т;
CB – ціна однієї тони води, (CB = 0,3 грн/т).
SB = 4488 · 1.3= 5835
SП = GП ·CП (2.43)
де GП – річна потреба в парі, т;
CП – ціна однієї тони пару (Сп =200 грн/т).
SП = 81,2 · 800 = 64960
Річні приведені витрати, грн:
Р = S+ 0,01R· Вк (2.44)
де R – річний процент на капітал (R =15).
Р = 178618 +0.01·15· 375876 = 235000
Річне виробництво кормів, т:
(2.45)
= 35,6 · 220 = 7832
Питомі експлуатаційні витрати, грн/т:
(2.46)

Питомі капітальні вклади, гр/т:
(2.47)

Питомі приведені витрати, гр/т:
(2.48)

Річний економічний ефект кормоцеху, гр:
Е = Q - Р (2.49)
де Q – вартість додаткової продукції, ферми, отриманої за рахунок підвищення продуктивності тварин, які отримують повноцінні кормо-суміші, грн:
Е = 3066 – 34028 = 27292
Q = W·Cw (2.50)
де W– кількість додаткової продукції, ц;
Cw – ціна додаткової продукції, гр/ц.
Q= 17,52·175 = 3066
Для ферми з відгодівлі молодняка ВРХ та свиней:
W = m·g·Dk ·Kw · 10-5 (2.51)
де m – поголів'я молодняка, гол;
g– мінімальний середньодобовий приріст, при якому можливе рентабельне виробництво; для корів g=400 г/доб; Kw =0,12; Cw =175 гр/ц;
W = 1000 · 365 · 0.12 · 400 · 10-5 =17,52
Результати розрахунку кормоцеху наводяться в вигляді таблиці.
Таблиця 2.9
Техніко економічні показники кормоцеху
| Розмір ферми, корів (голів, основних свиноматок і т. д.) | 1000 |
| Продуктивність кормоцеху, т/год | 35,6 |
| Сумарна потужність електродвигунів, кВт | 79 |
| Обслуговуючий персонал, люд | 1 |
| Балансова вартість кормоцеху, гр | 375876 |
| в т. ч. обладнання, гр | 305676 |
| будови, гр | 70200 |
| Річні експлуатаційні витрати, гр | 178618 |
| Річні приведені витрати, гр | 235000 |
| Питомі витрати праці, людтод/т | 0,15 |
| Питомі експлуатаційні витрати, гр/т | 22,8 |
| Питомі капітальні вкладення, гр/т | 48 |
| Питомі приведені витрати, гр/т | 30 |
| Річний економічний ефект, гр | 27292 |
3. Конструкторська розробка
Подрібнювачі коренебульбоплодів повинні:
– забезпечувати якість подрібнення відповідно до зоотехнічних рекомендацій, тобто до такого стану продукту (щодо крупності і рівномірності фракційного складу), при якому коренебульбоплоди можна використати на корм з найбільшою ефективністю;
– бути універсальними, здатними переробляти всі види корене- та бульбоплодів і мати можливість регулювання крупності продукту в межах, достатніх для згодовування всім групам споживачів цих кормів;
– мати достатньо високу продуктивність, щоб за 1—2 год переробляти таку кількість коренебульбоплодів, яка необхідна для разового споживання;
– бути економічними за енергомісткістю;
– добре узгоджуватись із можливостями механізованого завантаження сировини і виведення готового продукту, а також автоматизації процесу кормоприготування;
– мати просту конструкцію, бути надійними і зручними в експлуатації.
3.1 Огляд існуючих технологій подрібнення
Подрібненням називається розділення твердого тіла на частини шляхом додання зовнішніх сил, що перевершують сили молекулярного зчеплення частинок тіла. Результат розділення тіл на частини називається іноді дробленням, помелом, різанням і подрібненням. Термін дроблення використовується в гірничо-рудній промисловості для характеристики попереднього, грубого помелу матеріалів, а в сільському господарстві зв'язаний, як правило, з результатом роботи молоткастих дробарок, що дають багато крупних частинок в кінцевому продукті. Термін різання пов'язаний з розподілом на частини стеблових кормів, коренебульбоплодів за допомогою різних ножових робочих органів.
Для подрібнення коренебульбоплодів використовують машини, які відрізняються за призначенням, принципом подрібнення, конструктивними особливостями. За призначенням це можуть бути спеціальні машини (лише для переробки коренебульбоплодів та подібних їм за властивостями кормів), універсальні (здатні переробляти й інші види кормової сировини) і комбіновані (подрібнення суміщують із виконанням інших операцій, наприклад зі змішуванням).
Спеціальні подрібнювачі безумовно мають кращі показники якості переробки та енергомісткості процесу порівняно з універсальними і комбінованими машинами, оскільки перші в більшій мірі узгоджені з властивостями коренебульбоплодів, вимогами до подрібнення.
За конструкцією робочих органів і характером їх взаємодії з перероблюваним матеріалом до цієї групи машин належать:
– ножові подрібнювачі, в яких переробка коренебульбоплодів відбувається за принципом різання (коренерізки);
– лускоподібні, або терткові, які зішкрібають стружку (коренетерки);
– молоткові та штифтові, що розбивають коренебульбоплоди на частки;
– комбіновані, наприклад, шнеково-ножові, в яких подрібнення здійснюється в результаті поєднання руйнівних факторів (роздавлювання з різанням, різання з перетиранням) — пастоприготувачі.
Найкращу якість продукту (з малим виділенням соку та утворенням м'язги) при менших витратах енергії забезпечують коренерізки.
Дещо поступаються їм коренетерки. Вказані переваги визначили спеціалізацію машин і обумовили найбільш широке використання, особливо коренерізок, для подрібнення коренебульбоплодів, баштанових та деяких
інших кормів. Коренерізки відзначаються також простотою конструкції, швидкохідністю і високою продуктивністю. Мають широкі можливості регулювання крупності продукту (величиною вильоту леза ножа відносно опорної поверхні, частотою обертання робочого органа тощо). Застосування рекатерів (дек) з цією ж метою супроводжується появою фактора перетирання, який спричиняє утворення м'язги, виділення соку і збільшення енергомісткості процесу.
Коренетерки вимогливіші до стану сировини, ніж коренерізки, особливо стосовно забруднення бадиллям, гичкою та іншими домішками, що в значній мірі стримує їх використання.
Молоткові та штифтові подрібнювачі, а також пастоприготувачі — це більш універсальні машини, які значно поступаються перед спеціальними щодо якості та енергомісткості і будуть розглянуті окремо.
За конструктивними ознаками коренерізки бувають (рис. 1): дискові (з горизонтальним та вертикальним валами), барабанні і циліндричні (відцентрові). Ефективність (продуктивність, енергоємність) технологічного процесу вказаних машин перш за все залежить від рівня коефіцієнта використання ножів Кн Його величина пропорційно впливає на пропускну здатність різального апарата (продуктивність машини). У цьому відношенні коренерізки можна проранжувати таким чином: горизонтально-дискові (Кн =0,7...0,8), вертикально-дискові та відцентрові (Кн = 0,3...0,4) і барабанні (Кн = 0,1...0,15).
Оскільки інші критерії та вимоги стосовно розглянутих типів коренерізок знаходяться приблизно на однаковому рівні, переваги за величиною коефіцієнта використання ножів забезпечують перспективність горизонтально-дисковому та відцентровому варіантам.
При цьому слід відзначити, що горизонтально-дисковий варіант завдяки
простоті конструкції і зручності в експлуатації знайшов широке застосування на тваринницьких підприємствах АПК. Відцентрові ж коренерізки за рахунок можливості використання великої кількості ножів у камері подрібнювання здатні забезпечувати дуже високу продуктивність, що сприяло їх поширенню у переробній промисловості, зокрема на цукрових заводах.

Мал 3.1. Типи коренерізок:
а – вертикально-дискова; б – горизонтально-дискова; в – барабанна; г – відцентрова (циліндрична).
У разі механічної силової дії характер напружень, що виникають у перероблюваному матеріалі, обумовлюється видом та інтенсивністю навантажень, спрямованих на матеріал і спричиняючих в ньому ці напруження. І ті й інші визначаються формою та розмірами, положенням і швидкістю переміщення відносно перероблюваного матеріалу тих тіл, які передають навантаження на цей матеріал. У практиці такі тіла називаються інструментом, робочим або виконавчим органом; стосовно подрібнення — це робочі органи.
За особливостями взаємодії між робочими органами і перероблюваним матеріалом слід виділити такі основні способи подрібнення: роздавлювання, перетирання, розбивання і різання. Загальна суть їх не залежить від характеристик матеріалу, що переробляється. Проте реакція останнього на силові дії при цьому може бути різною. Проаналізуємо основні закономірності кожного із відзначених способів і виділимо найраціональніші можливості їх використання.
Роздавлювання (мал. 3.2, а). Під дією нормальних статичних зусиль N матеріал піддається двобічному стисканню. У ньому виникають внутрішні напруження стискання (у напрямку дії зусилля) та розтягування (у напрямках, перпендикулярних до перших). Якщо внутрішні напруження перевищують межу міцності матеріалу, він деформується у всьому об'ємі і руйнується. Крихкі матеріали при цьому розсипаються (кришаться) на окремі частки, а в’язко пластичні сплющуються, ніби розтікаються в боки.
Перетирання (мал. 3.2, б). У цьому випадку під дією відносно незначних нормальних зусиль перероблюваний матеріал притискається до робочої поверхні або затискується між двома поверхнями, а потім дотичні зусилля Т руйнують його, зміщуючи одні частинки матеріалу відносно інших. У разі перетирання матеріал у більшості випадків також піддається об'ємному деформуванню.

Мал. 3.2. Основні способи подрібнення
а – роздавлювання; б – перетирання; в – розбивання; г – різання
Розбивання (мал. 3.2, в). Руйнування матеріалу відбувається в результаті динамічного навантаження протягом дуже короткого відрізку часу.
Розрізняють зосереджений удар, коли зусилля діє на обмежену ділянку поверхні перероблюваного матеріалу (розміри ударника помітно менші за розміри куска, що руйнується), та розподілений, якщо матеріал піддається деформуванню повністю або ж у великому об'ємі. У першому випадку руйнування матеріалу настає в місцях або площинах локалізації, навантаження і концентрації напружень в результаті розколювання, розривання на частинки. При розподіленому ударі явища нагадують процес роздавлювання, але прискорений у багато разів.
При різанні (мал. 3.2, г) перероблюваний матеріал піддається локальному деформуванню в результаті зусиль, що передаються кромкою (вершина двогранного кута) ножа. Завдяки цій особливості різання є найекономічнішим за витратами енергії способом подрібнення, особливо в разі переробки матеріалів, що відзначаються пружністю та пластичністю.
Інші можливі способи подрібнення за принципом механічної силової дії на перероблюваний матеріал можуть являти собою різновид одного з чотирьох основних способів або який-небудь їх комбінований варіант. Наприклад, розколювання дією клина – це різновид різання, а розколювання шляхом стискування – роздавлювання; розламування – це роздавлювання на не суцільній (двоопорній) основі; розпилювання – різання з перетиранням.
Таким чином, незалежно від способу силової дії безпосереднє руйнування настає від розтягуючих та дотичних напружень у тому випадку, якщо вони перевищують місцеву міцність матеріалу. При цьому дотичні напруження порушують внутрішні зв'язки речовини шляхом зсуву, а розтягуючі ведуть до розривання зв'язків. Деякі вчені зсув також розглядають як особливий випадок непрямого розтягування.
Проте в жодному з розглянутих вище способів подрібнення не здійснюється безпосереднє розтягування перероблюваного матеріалу. В практиці подрібнення розривні напруження в матеріалі звичайно виникають більш складним шляхом від нормальних (стискування) та дотичних зусиль. І цілком закономірно, що чим складніший механізм перетворення прикладених зусиль в елементарні руйнівні напруження в перероблюваному матеріалі, тим нижче енергетичний коефіцієнт корисної дії прийнятого способу подрібнення.
Із опору матеріалів відомо, що міцність їх залежить не тільки від величини, але й від характеру напруженого стану.
Наприклад, багато твердих ізотропних тіл витримують без руйнування дію навіть дуже високого однакового всебічного навантаження, якщо воно спрямоване на ущільнення матеріалу. Проте ті ж тіла часто руйнуються при значно менших напруженнях розтягування або зсуву. Звідси виходить, що для різних матеріалів не в однаковій мірі підходить, а іноді і не підходить той чи інший спосіб подрібнення.
Крім того, різні способи силової дії (подрібнення) стосовно до одного й того ж матеріалу забезпечують неоднакові характерні форми часток і фракційний склад продукту. Так, дуже тонке подрібнення (до пиловидного стану) простіше здійснювати шляхом розтирання, дещо складніше – в результаті розбивання з підпорою чи роздавлюванням. Різання та вільні удари забезпечують відносно крупне подрібнення з малим утворенням пиловидної фракції. Причому подрібнення високошвидкісними ударами дозволяє одержувати рівномірніший фракційний склад продукту, ніж за допомогою ударів, що наносяться з низькою швидкістю або в результаті статичного руйнування.
3.2 Зоотехнічні вимоги до подрібнення коренебульбоплодів
Продукцію тваринництва одержують переважно за рахунок використання кормових ресурсів рослинного походження (власного виробництва чи на основі кооперування з кормовиробничими підприємствами). Для цього колективні, державні і фермерські господарства вирощують зернофуражні культури, коренебульбоплоди, а також однорічні і багаторічні трави на зелену масу, силос, сінаж та сіно.
З метою забезпечення високоефективного використання поживної цінності більшість кормів необхідно заготовляти і готувати до згодовування відповідно до діючих стандартів або зоотехнічних вимог, які враховують фізіологічні особливості тварин або птиці. Сутність цих вимог полягає у наступному.
Збирати кормові культури необхідно в період, коли вони мають найбільшу врожайність та поживну цінність. Якість кормів визначається не лише їх поживною цінністю, а й наявністю або відсутністю) в них баластних, некорисних чи інколи навіть шкідливих включень. Останні можуть спричиняти травмування чи отруєння споживачів, знижувати ефективність роботи та надійність технологічного обладнання.
Для попередження таких явищ корми в процесі підготовки до згодовування очищають. Допустимий ступінь залишкового забруднення залежить від виду кормів, а також характеру включень та їх можливих наслідків. Так, домішки землі не повинні перевищувати 1-2%, піску – 0,3-1%, металеві домішки розміром до 2 мм з незагостреними краями – 30мг на 1 кг корму, насіння отруйних трав – 0,25 %.
Для високоефективного використання кормів важливим є забезпечення оптимальної крупносгі кормових часток, що залежить від біологічного виду та віку тварин і птиці, а також від виду кормової сировини й характеру використання кормів (згодовування роздільне чи в складі кормових сумішей, у розсипному стані чи у вигляді гранул або брикетів). З цією метою кормову сировину перед згодовуванням подрібнюють.
Доведено, що готувати комбікорми для свиней необхідно з інгредієнтів дрібного (середній розмір частинок – 0,2-1 мм) помелу, а для великої рогатої худоби і птиці – середнього (1-1,8 мм) та крупного (1,8-2,6 мм). Грубі корми для свиней слід переробляти до розміру частинок 1-2 мм, для великої рогатої худоби –на січку завдовжки 30-50 мм при роздільному згодовуванні і 10-15 мм у складі кормових сумішей.
Таблиця 3.1
Зоотехнічні вимоги до параметрів кормових сумішей
| Показник | Для ВРХ | Для свиней |
| Вологість,% | До 75 | 60-80 |
| Рівномірність змішування, % не менше | 80 | 90 |
| Допустимі відхилення (за масою) вмісту компонентів у суміші, %: | ||
| грубі, соковиті | ±10 | ±10 |
| концентровані | ±5 | ±5 |
| кормові дріжджі | ±2,5 | ±2,5 |
| рибні | – | ±5 |
| молочні | ±5 | ±5 |
| поживні розчини | ±5 | ±5 |
| мінеральні добавки | ±5 | ±5 |
| харчові відходи | – | ±5 |
Коренебульбоплоди перед згодовуванням (не раніше як за 1,5-2год) рекомендується подрібнювати на частинки розміром 5-10 мм для свиней і на стружку завтовшки 10-15 мм для великої рогатої худоби.
Готові кормові суміші повинні задовольняти зоотехнічним вимогам, наведеним у таблиці 3.1.
3.3 Аналіз існуючих машин та обладнання для подрібнення коренебульбоплодів
Коренерізка КПИ-4 призначена для подрібнення коренеплодів. Вона складається з приймальної камери, до бокової стінки якої приварена протирізальна пластина, верхнього диска з горизонтальними ножами, змінних дек, середнього диска з вертикальними ножами, нижнього розвантажувального диска, рами та електропривода.
Машина може працювати в кількох режимах:
– на валу встановлюють розвантажувальний диск та диск з ножем № 8 і використовують деку без зубів. У цьому разі коренеплоди подрібнюються на кусочки товщиною до 10 мм;
– на верхньому диску замість ножа № 8 встановлюють ніж № 5. При цьому одержують кусочки товщиною до 7 мм;
– на валу додатково встановлюють середній диск з вертикальними ножами, а на верхньому диску — ніж № 8 і використовують деку із зубами. Одержують пасту з частинками розмірами до 3-5 мм;
– так як у попередньому варіанті, але на верхньому диску замість ножа № 8 встановлюють ніж № 5. Паста матиме розмір часток до 1-2 мм.
Машина призначена для автономного використання і не має захисного пристрою від потрапляння каміння.
Подрібнювач соковитих кормів ИКС-5М (мал. 3.3) призначений для миття і подрібнення коренеплодів. Він має приймальний бункер 1, у нижній частині якого є камене-вловлювач 2, гвинтову мийку 3, зрошувач 4, барабан-подрібнювач 6, деку 7, водяний насос 8, ванну для води і два електроприводи 5 і 10. У процесі роботи коренеплоди завантажувальним транспортером подаються в бункер і потрапляють у воду, де відбувається відмокання часток землі. Шнек забирає коренебульбоплоди і транспортує вверх до подрібнювача. При цьому коренебульбоплоди інтенсивно труться об стрічку і трубу шнека та між собою. Крім того, в процесі транспортування вони обмиваються чистою водою із зрошувача.

Мал. 3.3. Конструктивно функціональна схема подрібнювача ИКС-5М
1 – приймальний бункер; 2 – каменевловлювач; 3 – гвинтова мийка; 4 – зрошувач; 5, 10 – електропроводи; 6 – барабан-подрібнювач; 7 – дека; 8 – водяний насос; 9 – фільтр; 11 – ванна для води; 12 – лоток.
Вимиті коренебульбоплоди потрапляють у подрібнювач під удари шарнірно підвішених молотків, які взаємодіють із зубчастою декою. Завдяки високій коловій швидкості барабана продукти подрібнення викидаються по напрямному кожуху. Машина налагоджена на одержання пасти з частинками розмірами від 2 до 60 мм і не має пристрою для широкого регулювання ступеня подрібнення коренеплодів. Часткове регулювання ступеня подрібнення продукту можливе шляхом знімання деки.
У машині передбачено багаторазове використання води» що значно знижує її втрати на миття коренебульбоплодів. Із ванни 11 через фільтр 9 вода засмоктується насосом 8 і подається у зрошувач 4 для розбризкування у гвинтовій мийці назустріч коренеплодам. Після миття брудна вода знову надходить у ванну, де перед повторним використанням частково відстоюється. У міру забруднення воду випускають через люки 12 у відстійник і далі в каналізацію. Каміння чи інші предмети, що потрапляють у бункер разом з коренебульбоплодами і мають питому вагу більшу ніж у води, при обертанні шнека потрапляють у заглиблення, з якого періодично вибираються вручну.
У разі потреби машину можна використовувати як гвинтову мийку. При цьому барабан-подрібнювач ії деку знімають.
Привод гвинтової мийки здійснюється від електродвигуна 10 потужністю 1,5 кВт через черв'ячний редуктор і ланцюгову передачу, а барабана-подрібнювача та водяного насоса — від електродвигуна 5 потужністю 7 кВт через клинопасову передачу.
Подрібнювач-каменевловлювач ИКМ-5 (мал. 3.4) призначений для відокремлення каміння від коренебульбоплодів, їх миття і подрібнення на частки розміром до 10 мм (для свиней) або 15 мм (для великої рогатої худоби).Фін складається з ванни 4, гвинтової мийки 3 з диском-активатором 2, транспортера 16 для видалення каміння, горизонтально-дискової коренерізки 13 і рами 1. Робочі органи машини приводяться в дію від окремих електроприводів. Електропривод коренерізки має дві швидкості обертання, що дозволяє регулювати ступінь подрібнення коренеплодів.

Мал. 3.4. Конструктивно-функціональна схема подрібнювача-каменовловлювача ИКМ-5
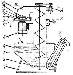
1 – рама; 2 – диск-активатор; 3 – гвинтова мийка; 4 – ванна; 5, 14 – жувальні лопаті; 8 – дека; 9 – вертикальні ножі; 10 – горизонтальні ножі; 11 – проти різальний елемент; 12 – кришка; 13 – горизонтально-дискова коренерізка; 15 – зрошувач; 16 – транспортер для видалення каміння.
До початку роботи машини ванну 4 заповнюють водою. Коренебульбоплоди подають у ванну через завантажувальне вікно. Там вони відмиваються від землі вихровим потоком води, що створюється диском-активатором. Каміння та інші важкі предмети, що потрапляють у ванну, тонуть у воді і опускаються на диск-активатор. Із нього відцентровою силою поступово закидаються в приймальну горловину транспортера-каменевловлювача 16 і виносяться ним за межі мийки. З ванни коренебульбоплоди захоплюються шнеком 3 і піднімаються вверх, де додатково обмиваються водою із зрошувача 15. Забруднена вода зливається патрубком у відстійник каналізації. Вимиті коренеплоди надходять до камери подрібнювача. Горизонтальними ножами верхнього диска коренеплоди розрізаються на стружку, яка надходить начеревній диск і відцентровою силою відкидається до нерухомої проти різальної деки. Під дією вертикальних ножів 9 і деки відбувається подальше подрібнення корму. Подрібнений продукт через деку потрапляє на нижній диск і його лопатами видаляється з машини.
Зубчасту деку 8 використовують у випадку переробки коренебульбоплодів для свиней. При цьому електродвигун переключають на 1000 об/хв. У разі подрібнення коренеплодів для великої рогатої худоби електродвигун переключають на 500 об/хв, знімають деку, а при необхідності і вертикальні ножі, що знаходяться на середньому диску.
При переробці мерзлих коренебульбоплодів на верхньому диску встановлюють зубчасті горизонтальні ножі і частоту обертання електродвигуна 1000 об/хв.

Мал.. 3.5. Конструктивно-функціональна схема мийки-подрібнювача ИКМ-Ф-10:
1 – ванна; 2 – диск-активатор; 3 – транспортер для видалення каміння; 4 – шнек; 5 – кожух шнека; 6 – електропривод мийки; 7 – дискова коренерізка; 8 – електродвигун коренерізки.
Для одержання крупних фракцій знімають зубчасту деку і всі вертикальні ножі.
Машину використовують також як мийку. Для цього знімають верхній диск та зубчасту деку, на їх місце ставлять стопор нижнього диска, а електродвигун переключають на 500 об/хв.
При перевантаженні шнека або подрібнювача відкривають кришку 12 для запобігання виникнню поломок машини.
Подрібнювач ИКМ-Ф-10 (мал. 3.5) призначений для очистки від каміння, миття і подрібнення коренебульбоплодів для свиней і великої рогатої худоби. Може використовуватись у поточних технологічних лініях кормоцехів тваринницьких ферм, обладнаних системою водопостачання та каналізацією, а також як самостійна машина.
Будова, технологічний процес роботи і регулювання цього подрібнювача такі, як машини ИКМ-5. Відмінність полягає в тому, що шнек – безвальний. Він складається з гвинтової спіралі, верхньої цапфи і нижньої труби. Верхня цапфа обертається в підшипниках кочення, встановлених у корпусі, який закріплено в торці кожуха шнека.
Технічне обслуговування машин для миття та подрібнення коренебульбоплодів передбачає щоденні (ЩТО) і періодичні (ТО-1, через кожні 50 годин роботи) заходи.
При ЩТО видаляють залишки корму і каміння, очищають внутрішні і зовнішні поверхні подрібнювача, перевіряють і підтягують різьбові з'єднання. Особливу увагу приділяють кріпленню робочих органів (ножів молотків).
Періодичне технічне обслуговування (ТО-1) включає всі попередні операції, крім того, мащення машини відповідно до таблиці мащення і перевірку кріплення всіх основних вузлів, натяг клинопасових і ланцюгових передач, а також стан ізоляції електродвигунів та опір вторинного контуру заземлення.
Таблиця 3.2
Технічна характеристика мийок –подрібнювачів
| Показники | КПИ-4 | ИКС-5М | ИКМ-5 | ИКМ-Ф-10 |
| Продуктивність, т/год. | 4 | 5 | 7 | 10-12 |
| Частота обертання диска подрібнювача. об/хв.. | 1440 | 2070 | 500, 1000 |
465 |
| Встановлена потужність, кВт | 4,5 | 8,5 | 10,5 | 14,3 |
| Витрати води на миття коренебульбоплодів. кг. | – | 0,1-0,2 | 0,2-0,6 | 1,5 |
| Розмір частинок подрібнення продукту, мм: | ||||
| шматочки | 7-10 | – | 5,15 | 5,15 |
| паста | 1-5 | 2-60 | 2-5 | 2-5 |
| Маса машини. кг | 157 | 1200 | 950 | 940 |
Технічна характеристика мийок-подрібнювачів наведена у табл. 3.2.
Агрегат ЗПК-4 (мал. 3.6) призначений для миття, відокремлення каменів і плаваючих домішок, запарювання, розминання та вивантаження картоплі в кормозмішувачі і кормороздавачі на свинарських фермах, а також для силосування картоплі у запареному вигляді. Для роботи запарника необхідна наявність пароутворювача та ковшового конвеєра ТК-3.
Агрегат має мийку 6 із завантажувальним шнеком 12, запарювальну камеру 20, паропровід, вивантажувальні шнеки 1 і 3 з м'ялкою 2, механізм привода та шафу керування.
Перед початком роботи агрегату через верхній та нижній крани водопроводу зливають воду в мийку. Потім перекривають нижній кран і включають завантажувальний шнек та конвеєр подачі картоплі. Диск-активатор завантажувального шнека приводить в рух воду в мийці.
Картопля подається на щілинний лотік 11, де крізь щілини земля та пісок відокремлюються, а картопля потрапляє на розподільний щиток 9, а з нього рівномірно в мийку, де також приводиться в рух і миється.
Каміння та інші предмети, важчі за воду, тонуть і відкидаються диском-активатором в уловлювач 7, з якого періодично видаляються відкриванням на 3-6 с кришки. Солому та інші домішки також періодично спрямовують щитками 5 у зливне вікно.
Для кращого забирання картоплі шнек 12 мийки розміщений ексцентрично відносно її циліндра. Попередньо вимита картопля піднімається шнеком і додатково миється водою, яка надходить із зрошувача 15. Потім картопля потрапляє на розподільний пристрій 19, з якого рівномірно заповнює запарювальну камеру 20.

Мал. 3.6. Конструктивно-функціональна схема запарювального агрегату ЗПК-4:
1, 3 – вивантажувальні шнеки; 2 – м'ялка; 4 – отвір для конденсату; 5 – збиральний щиток; 6 – мийка; 7 – каменевловлювач; 8 – диск-активатор; 9 – розподільний щиток; 10 – конвеєр; 11 – щілинний лотік; 12 – завантажувальний шнек; 13, 14 – нижній та верхній крани; 15 – зрошувач; 16 – привод шнека мийки; 17 – кулачкова муфта; 18 – кінцевий вимикач; 19 – диск; 20 – запарювальна камера; 21 – колектор паропроводу.
Розподільний пристрій (диск, що обертається), крім рівномірного завантаження запарювальної камери, вимикає привод 16 шнека мийки при заповненні її картоплею. Це здійснюється в результаті гальмування диска 19 і спрацьовування кулачкової муфти 17.
Спеціальним колектором 21 в камеру подається пара. Конденсат, що утворюється при запарюванні картоплі, стікає у нижню частину кожуха вивантажувального шнека і через отвір зливається в каналізацію. Після 10-20 хв. запарювання знову включають завантажувальний шнек на 5-7 хв. і звільняють мийку від залишків картоплі, потім процес запарювання картоплі продовжують. Закінчення запарювання характеризується виходом пари із зливного отвору конденсату. При цьому припиняють подачу пари і роблять витримку 5-10 хв., щоб залишки пари перетворились у конденсат, який зливається у каналізацію.
Запарена картопля шнеком подається на ножі м'ялки 2, розминається ними і далі шнеком вивантажується безпосередньо в змішувач або проміжні транспортні засоби.
Технічне облуговування запарника ЗПК-4 включає щозмінні, а також періодичні заходи.
При щозмінному ТО виконують такі операції. Перед роботою перевіряють натяг клинопасових і ланцюгової передач, надійність різьбових кріплень і болтових з'єднань. Перевіряють і при необхідності регулюють систему автоматичного виключення електродвигуна мийки. Після роботи очищають машину від залишків кормів, пилу та бруду. Виявлені несправності усувають.
Технічне обслуговування ТО-1 (через кожні 100 год роботи) починають з операцій ЩТО. Крім того, змащують всі підшипники і приводні ланцюги, перевіряють рівень масла в редукторі і при необхідності доливають його до верхньої мітки, очищають від пилу і бруду електродвигун та пульт керування, перевіряють їх кріплення та приєднання контурів заземлення, а також надійність контактів. Розбирають, зачищають і змащують технічним вазеліном окислені контакти.
Таблиця 3.3
Технічна характеристика запарника ЗПК-4
| Показники | ЗПК-4 |
| Продуктивність, т/год. | 0,95 |
| Місткість запарюючого чану, т. | 1,6 |
| Потужність електродвигунів, кВт. | 4,4 |
| Витрата пари на 1 кг картоплі, кг | 0,16-0,19 |
| Висота вивантаження корму, м. | 2,05 |
| Маса, кг. | 1180 |
3.4 Технологічний розрахунок дискової коренерізки
Після миття коренеплоди подрібнюються з метою підвищення їх поїдання та перетравлювання тваринами. В відповідності з зоотехнічними вимогами товщина подрібнення коренеплодів при згодовуванні великій рогатій худобі повинна бути 10...15мм, свиням 5...10мм, птиці 3...4мм. Усі коренеплоди потрібно готувати не раніш чим за 2 години перед згодовуванням щоб уникнути псування.

Мал. 3.7 Технологічна схема горизонтальної дискової коренерізки.
1 – завантажувальна камера; 2 – протиріз; 3 – ніж; 4 – лопатка викидання стружки коренів; 5 – диск; 6 – вивантажувальний лоток.
H, – висота завантажувальної камери;
D – діаметр диска по зовнішніх кінцях ножів;
d – діаметр диска по внутрішніх кінцях ножів;
Lн – довжина ножа, що дорівнює товщині різки.
Основними параметрами коренерізки є розміри робочої камери (діаметр, висот чи довжина), кількість і розміри (довжина) ножів, частота обертання робочого органа, тривалість перебування коренебульбоплодів у камері.
Добова продуктивність коренерізки, кг/доб:
(3.1)
де
– добова норма коренеплодів в розрахунку на одну тварину, кг/доб∙гол;
– кількість тварин у різних виробничих групах, що обслуговуються машиною, гол.
Таблиця 3.4
Приблизні добові раціони годування тварин. Добові зимові раціони для корів живою масою 500кг при добовому надої 15 кг/гол.
| Групи корів | сіно | Солома | Силос | коренеплоди | концентрати |
| Дійні | 5 | 4 | 28 | 18 | 3 |
| Сухостійні | 4 | 4 | 12 | 4 | 2 |
![]()
Годинна продуктивність коренерізки, кг/год:
(3.2)
де Т – час роботи коренерізки за добу (Т = 5...7год).
![]()
Секундна продуктивність подрібнювача, кг/с:
(3.3)
![]()
Щоб товщина стружки відповідала зоотехнічним вимогам, необхідно щоб корінь після зрізання стружки встиг опуститись на обертаючий диск до підходу до нього наступного ножа.
Критична (максимальна) частота обертів диска з ножами, об/с:
(3.4)
де φ – коефіцієнт, що враховує розміри кормів (φ = 0,5...0,8). Чим більші корені тим менше φ;
Z – кількість ножів на диску (Z = 1...4);
g – прискорення сили тяжіння, м/с2 ;
В – товщина різки, м (згідно з зоотехнічними вимогами).
![]()
Зовнішній діаметр, що описується ножами, м:
(3.5)
де Кн – коефіцієнт використання ножів (Кн = 0,6...0,8);
γ – об’ємна маса коренеплодів, кг/м3 (γ = 570...670 кг/м3 )
![]()
Якщо Д > 0,2м, тоді приймаємо Дн = Д; nн = nк .
Якщо Д < 0,2м,то тоді приймаємо Дн = 0,2м, тобто не менше крупнисті перероблюючи коренів. В цьому випадку також коректуємо в бік зменшення частоти обертання диска.
Частота обертів диска, об/с:
(3.6)
де Дн – прийнятий діаметр (Дн = 0,2м).
![]()
Довжина ножа, м:
(3.7)
![]()
Діаметр диска, м:
(3.8)
де
.
![]()
Діаметр завантажувальної камери, м:
(3.9)
![]()
Висота завантажувальної камери, м:
(3.10)
![]()
Питоме зусилля різання коренів, Н/м (формула застосовується при товщині різки до 15мм):
(3.11)
![]()
Зусилля різання ножа, Н:
(3.12)
![]()
Момент різання, Н∙м:
(3.13)
![]()
Потужність різання, Вт:
(3.14)
![]()
Вага коренів у завантажувальній камері, Н:
(3.15)
де ψ – коефіцієнт заповнення камери (ψ = 0,4...0,8).
![]()
Зусилля тертя коренів об диск, Н:
(3.16)
де f – коефіцієнт тертя (f = 0,80...0,85).
![]()
Момент тертя, Н∙м:
(3.17)
![]()
Потужність що витрачається на тертя коренів по диску, Вт:
(3.18)
![]()
Потужність приводу подрібнювача, кВт:
(3.19)
де η – ККД приводу (η = 0,95...0,96).
![]()
Розрахункова потужність електродвигуна, кВт:
(3.20)
де К3 – коефіцієнт запасу (К3 = 1,2).
![]()
Приймаємо поправочний коефіцієнт в розрахунках потужності електродвигуна.
![]()
Приймаємо двигун 4А100L8У3;
Частота обертання двигуна 700об/с.
4. Заходи охорони праці
Охоронний автоматизації важких і шкідливих виробничих процесів, широкому впровадженню сучасних засобів техніки безпеки, усуненню причин, що породжують травматизм і професійні захворювання робітників та службовців, створенню на виробництві необхідних гігієнічних санітарно – побутових умов – найважливіша на сьогоднішній день задача. Інтенсивні технології, механізація й автоматизація виробництва, ріст та споживання електроенергії роблять необхідними – знання робітниками, керівниками і фахівцями безпечних і здорових умов праці.
Корінне поліпшення профілактичної роботи з попередження виробничого травматизму і професійної захворюваності повинне стати основним напрямком у практичній роботі.
Перехід від окремих заходів до планомірної роботи, парне визначення обов'язків, здійснення заходів для попередження травматизму кожним працівником господарства, підприємства – основа керування охороною праці, що передбачає систематичний аналіз стану виробничого травматизму, захворюваності, ступінь безпеки устаткування, технологічних процесів, паспортизацію й атестацію робочих місць, моральні і матеріальні стимули і ряд інших аспектів.
4.1 Правове забезпечення охорони праці в господарстві.
Законодавство з охорони праці є частиною трудового права і повинне забезпечувати здорові та безпечні умови праці, сприяти зростанню її продуктивності.
Основні принципи законодавства з охорони праці базуються на положеннях, закріплених Конституцією України. Крім Конституції, у нашій країні діють закони та інші державні акти, постанови Кабінету міністрів і відомств та норми з
охорони праці, наведені у правилах внутрішнього розпорядку підприємств і організацій.
Важливе значення має Кодекс законів про працю. Конституційне право громадян нашої держави на охорону їх життя і здоров'я у процесі трудової діяльності відображено у Законі України „Про охорону праці" прийнятого Верховною Радою України 14 жовтня 1992 року, в якому закріплено гарантії прав громадян на охорону праці, порядок організації охорони праці на виробництві, дії державних, міжгалузевих та галузевих нормативних актів про охорону праці, встановлено відповідальності працівників за порушення законодавства. Дія закону поширюється на всі підприємства, установи та організації незалежно від форми власності і виду їх діяльності, на всіх працюючих незалежно від їх посади і рівня кваліфікації
У господарстві всі роботи з охорони праці організовують і проводять у плановому порядку. Керівним документом є „Типове положення про службу охорони праці" . Загальну відповідальність за стан охорони праці на виробництві безпосередньо покладено на керівника господарства. Крім того наказом по господарству обов'язки інженера з охорони праці покладені на головного інженера господарства. Загальні обов'язки та умови праці для кожного окремого працівника господарства, а також і для всього колективу передбачені у колективному договорі.
4.2 Аналіз стану охорони праці
В господарстві керівники виробничих ланок слідкують за справністю тракторів, комбайнів, автомобілів, сільськогосподарських механізмів. До роботи не допускаються особи, що не мають на це дозволу, не пройшли інструктажу з техніки безпеки по проведенню шкідливих для організму людини робіт, головні спеціалісти виробничих ділянок контролюють дотримання правильності виконання технологічних процесів.
Інженер з охорони праці координує роботи по техніці безпеки в процесі виробництва. Перед ним стоять такі завдання як проведення аналізу та оцінки всіх підрозділів, проводити контроль та планування охоронних заходів, забезпечувати правову основу поліпшення умов праці.
В господарстві охороні праці приділяється велика увага, але фінансування дуже слабке. Рівень механізації праці у рослинництві складає – 81%, а у тваринництві – 62%, рівень санітарно-побутових забезпечень – 55%.
При вивченні причин виробничого травматизму використовують статичний, монографічний і економічний методи.
Користуючись оціночними показниками травматизму, можна визначити закономірність росту травматизму або його зниження в цілому по господарству.
Коефіцієнт частоти травматизму (Кч ) показує число потерпілих на 1000 працюючих за аналізований період і визначається по формулі
Кч
=
(4.1)
де Т – число потерпілих за аналізований період;
Р – середнє списочне число робітників за той же період.
Коефіцієнт ваги травматизму (Кт ) показує число днів непрацездатності на один нещасний випадок і визначається по формулі
Кт
=
(4.2)
де D – сумарне число днів непрацездатності по травматизму (по хворобних аркушах) за аналізований період.
Показник утрат робочого часу (Кп ) показує, скільки робочих днів загублено в перерахуванні на 1000 працюючим. Його визначають по формулі
Кп
= Кч
*Кт
=
(4.3)
Показники які характеризують стан охорони праці в господарстві наведені в таблиці 4.1.
Таблиця 4.1
Показники стану охорони праці у господарстві
| Назва показника | Од. виміру |
По роках | ||
| 2006 | 2007 | 2008 | ||
| Середньооблікова чисельність працюючих, (Р) | чол | 216 | 192 | 184 |
| Кількість нещасних випадків, (Т) | вип | 1 | 2 | 1 |
| У тому числі з летальним наслідком (Тсм) | вип | - | - | - |
| Кількість днів непрацездатності, (D) | днів | 47 | 20 | 7 |
| Матеріальний збиток від травматизмові | грн | 128 | 106 | 172 |
| Коефіцієнт частоти (Кч) | - | 4,6 | 5,2 | 5,4 |
| Коефіцієнт тяжкості (Кт ) | - | 47 | 10 | 7 |
| Коефіцієнт втрати робочого часу ( Кп ) | - | 217 | 104 | 38 |
| Асигновано коштів на охорону праці | грн | 327 | 106 | 172 |
| Витрачена, усього | грн | 327 | 106 | 172 |
З таблиці 1 видно, що проблема охорони праці в господарстві стоїть дуже гостро і для її вирішення потрібно докласти багато зусиль і уваги. Спец одяг, засоби захисту органів дихання, зору та слуху надаються в недостатній кількості за браком коштів.
4.3 Небезпека враження електричним струмом
Дія електричного струму на організм людини й тварини проявляється в складних і своєрідних формах. Проходячи через організм, електричний струм робить хімічні, теплові й біологічні дії. При хімічному впливі розкладається кров і інші органічні рідини організму. Теплова дія виражається в опіках окремих ділянок тіла. Біологічний вплив електроструму проявляється в подразненні й ушкодженні живих тканин організму, що супроводжується мимовільними судорожними скороченнями м'язів.
Електричний удар (шок) становить найбільшу небезпеку. При проходженні електричного струму через тіло людини ушкоджується весь організм, викликаючи повний або частковий параліч нервової системи, серця, органів дихання.
На результат враження організму електричним струмом впливає ряд факторів: сила струму, опір тіла людини, величина напруги, частота й рід струму, шлях струму, тривалість дії, а також індивідуальні особливості людського організму.
Сила струму впливає на результат враження. Можна виділити наступні приближені граничні значення струму:
1. Відчутний струм (до 2мА) – викликає при проходженні через організм подразнення;
2. Струм, що не відпускає (10...25мА) –викликає при проходженні струму непереборні судорожні скорочення м'язів рук, у якій затиснутий провідник.
3. Фібриляційний струм (понад 50мА) – викликає при проходженні через організм фібриляцію серця (безладне скорочення серцевого м'яза).
При враженні електричним струмом велике значення має опір людського тіла. Опір тіла Rл електричному струму змінюється в широких межах – від 100000 до 1000Ом і залежить від стану шкірного покриву (суха, волога, огрубіла, неушкоджена або ушкоджена шкіра), від площі й щільності контакту, а також від сили й частоти струму що проходить й тривалості його дії.
На результат ураження впливає шлях струму в організмі. Найбільшу небезпеку представляє шлях, коли струм проходить від руки до ноги, тому що він охоплює найбільш важливі органи людини (серце, легені).
У статистиці електротравматизму відомі випадки смертельного ураження, коли порівняно невеликий струм проходив через особливо уразливі точки на тілі людини: тильна сторона руки, область скроні, хребет, місця сплетіння нервових волокон і інших.
Результат ураження електрострумом у значній мірі визначається індивідуальними властивостями людини. Та сама величина струму, що протікає через людину, в одного може викликати лише слабке відчуття, а для іншого він може привести до скорочення м'язів. У тієї самої людини граничні значення струму міняються залежно від його фізичного й психічного стану. Стан сп'яніння зменшує електричний опір організму, а отже, і збільшує небезпеку ураження. Найнебезпечніша дія робить струм на людей, що страждають деякими захворюваннями (хвороби серця, органів внутрішньої секреції, туберкульозу, нервові захворювання). Тому обслуговування електроустановок доручається особам, що пройшли медичний огляд і спеціальне навчання.
На організм тварини електричний струм діє так само, як на організм людини. Досліди над тваринами показали, що небезпечна дія електричного струму тим менша, чим більша маса тварини. Струм величиною 100мА ніяких розладів дихання або серцевої діяльності в них не викликає. Однак, опір тіла тварини значно менший, ніж тіла людини. Опір тіла великої рогатої худоби між передніми й задніми ногами становить 400...600Ом, а при падінні тварини зменшується, до 50...100Ом залежно від вологості тіла.
Доведено, що навіть малі напруги, що постійно діють на тварин, є причиною зниження продуктивності. При величині напруги 4...8В молоковіддача зменшується на 20...40%.
4.4 Схемиможливого«включення»людини велектричнумережу
Ураження людини електричним струмом можливе тільки в тому випадку, якщо він торкається одночасно двох точок з різним електричним потенціалом. Величина струму, що проходить через людину, залежить від особливостей електричної мережі й схеми можливого включення в неї людини. Найбільш типовими є дві схеми включення: між двома проводами (двофазний дотик) і між провідником або корпусом ушкодженого обладнання й землею (однофазний дотик).
На малюнку 4.1, а показане одночасний дотик до двох фаз трифазної мережі. При такому включенні людини в ланцюг струм Jл (А), що протікає через, його, буде:
(4.4)
деUл – лінійна напруга, В;
Uф – фазну напругу, В;
Rл – опір тіла людини, Ом.
, А
Значно частіше відбувається однофазний дотик при замиканні фази на корпус (мал. 4.1, б, 4.2). У мережі з ізольованої нейтраллю напругою до 1000В струм, що протікає через людину, повертається до джерела через опір ізоляції двох інших фаз і ємність (мал. 4.1, б).


Мал. 4.1. Схеми двофазного (а) та однофазного (б) дотику до мережі ізольованою нейтраллю.
У цьому випадку сила струму залежить не тільки від опору тіла людини, але й від опору ізоляції r1 , r2 , r3 ємності фаз щодо землі c1 , c2 , c3 . Для повітряних мереж невеликої довжини ємність проводів щодо землі мала, тобто c1 =c2 =c3 =0. Опір ізоляції проводів щодо землі можна прийняти рівним r1 = r2 = r3 = r, тоді:
(4.5)
, А

Мал. 4.2. Схема однофазного дотику до мережі із глухозаземленою нейтраллю.
Сила струму, що проходить через людину в мережах з ізольованою нейтраллю, залежить від якості ізоляції в електричних установках: чим краща ізоляція, тим менша сила струму.
При схемі однофазного включення в мережу трифазного струму із глухо заземленою нейтраллю (мал. 4.2) шлях струму буде: фаза – корпус електроспоживача – людина – заземлювач – нульовий провід, а його величина:
(4.6)
де R0 – опір заземлення нейтралі, Ом.
, А
Знехтуваши опором R0 як величиною, значно меншою Rл , одержимо:
(4.7)
, А
Із цієї рівності випливає, що людина, доторкнувшись до однієї фази мережі із глухо заземленою нейтраллю, попадає під повну фазну напругу.
У сільському господарстві в основному застосовуються мережі із глухо заземленою нейтраллю напругою до 1000 В. Перевага їх полягає в тому, що вони дозволяють одержати дві робочі напруги – лінійну380 В і фазну 220 В, а також не вимагають високих вимог до якості ізоляції проводів і можуть застосовуватися при великій разгалуженості ліній.
Для посилення гарантій безпеки всі особи, що обслуговують електроспоживачів, повинні уникати ситуацій, при яких вони з'єднують своїм тілом корпус електроспоживача із землею або з деталями, що мають контакт із землею.
4.5 Напруга дотику й кроку
Напруга дотику – це напруга між двома точками ланцюга струму, яких одночасно торкається людина. Вона може виникнути між корпусом електродвигуна або корпусом устаткування при пробої ізоляції проводів і точкою землі, де стоїть людина, або деталлю, з'єднаної із землею, на якій він перебуває. Уявлення про напругу дотику можна одержати зі схеми, зображеної на малюнку 3.13, де показані два корпуси споживача (А и Б), приєднаних до одиночного заземлювача R3. . Крива φ = f(x) характеризує зміну потенціалу на поверхні землі поблизу заземлювача при замиканні фази на корпус електроспоживача. Якщо людина доторкнеться до будь-якого корпуса електроспоживача А або Б, то його рука придбає потенціал корпуса – φр = φк. Для випадків А и Б він буде однаковий і рівний потенціалу корпуса. Ноги, торкаючись землі, придбають потенціал точок землі. У результаті людина виявиться під дією різниці потенціалів. Ця величина й буде напругою дотику Uд. На корпусі електроспоживачаА напруга дотику ніг UнА = φр - φна , а у Б відповідно Uпб = φр – φнб .
Для людини, що перебуває безпосередньо над заземлювачем, напруга дотику φр = φп і Uп = 0 , тому що потенціали рук і ніг тут однакові. У міру віддалення від заземлювача напруга дотику зростає. Для людини, що доторкнулася до корпуса електроспоживача Б, потенціал ніг φнб буде близький до нуля, і тоді напруга дотику Uпб = Uф .
Всі вищенаведені висновки були зроблені в припущенні, що опір основи, на якій стоїть людина, розтікання струму дорівнює нулю. У дійсності цей опір має деяке певне значення.

Мал. 4.3. Схема для визначення напруги дотику.
У загальному виді напруга дотику (В) у полі розтікання струму із заземлювача визначається по формулі:
Uпб = Uф α1 α2 (4.8)
де α1 – коефіцієнт напруги дотику;
α2 – коефіцієнт, що враховує спад напруги в додаткових опорах ланцюга: людина – взуття – підлога.
Uпб = 220 · 1 · 0,76 = 167, В
Коефіцієнт α1 залежить від відстані між точкою землі, на якій стоїть людина, і заземлювачем. Якщо людина перебуває над заземлювачем, то а1 = 0, якщо в положенні Б (на відстані більше 20 м від заземлювача), то а1 = 1.
Коефіцієнт α2 визначають по формулі:
(4.9)
,Ом (4.10)
де Rс – сумарний опір ланцюга, Ом;
Rл – опір людини, Ом;
Rсб – опір взуття, Ом;
Rп – опір підлоги, Ом.
, Ом
![]()
Людина може потрапити під дією струму не тільки при безпосередньому дотику до провідника або корпусу електрообладнання. Як відзначалося вище, при проходженні струму із заземлювача в землю на поверхні землі виникає зона електричних потенціалів, величина яких зменшується в міру віддалення від заземлювача. Подібне явище відбувається й при обриві проводу електролінії й торканні його землі. Якщо біля цього місця виявиться людина (або тварина), то він може знаходитись під дією різниці електричних потенціалів, у результаті чого по його тілу пройде електричний струм (мал. 3.14).
Напруга між двома точками землі з різними електричними потенціалами, що перебувають одна від одної на відстані кроку «б» (на яких одночасно стоїть людина), називається напругою кроку – Rш. Зі схеми, зображеної на малюнку 3.14,видно, що
Uш = φл — φп (4.11)
де фл , фп –потенціали точок, наякихперебуваютьлівайправаногилюдини.
Uш = 220-20 = 200В

Мал. 4.4. Схема утворення крокової напруги.
Чим більша величина кроку й чим ближче людина перебуває до місця дотику дроту до землі, тим більша величина напруги кроку й більша небезпека поразки.
Особливу небезпеку напруга кроку представляє для сільськогосподарських тварин і в першу чергу для великої рогатої худоби й коней, тому що в них відстань між передніми й задніми ногами значно більша, ніж відстань між ногами людини.
Людина що потрапила у зону крокової напруги повинна швидко поставити ноги вмісті і виходити з її необхідно короткими кроками або послідовною перестановкою обох п'ят і носків, або стрибками на двох ногах. На відстані 20м від точки торкання проводу напруга кроку практично дорівнює нулю.
4.6 Захисне заземлення
Найпоширенішою й надійною мірою захисту людей і тварин від враження електричним струмом є захисне заземлення – навмисне електричне з’єднання із землею або його еквівалентом металевих неструмопровідних частин, які можуть бути під напругою. Принципова схема заземлення показана на малюнку 4.5. При замиканні фази C на корпус електроустановки електричний струм пройде в землю через заземлювач, тому що опір людини Rл значно більше, ніж опір заземленняRз , яке повинне бути не більше 10 Ом. Головне призначення заземлення – понизити потенціал на корпусі електроспоживача до безпечної величини.
Захисне заземлення застосовують в електроустановках напругоюдо1000В мереж з ізольованою нейтраллю, а вище 1000 В – з будь-яким режимом нейтралі. Заземленню підлягають: зовнішні установки при напрузі вище 36В змінного струму та 110В постійного струму, установки в особливо небезпечних приміщеннях, а також всі установки змінного й постійного струму при напрузі 500В і вище.

а б
Мал. 4.5. Захисне заземлення:
а – принципова схема; б – заземлюючий пристрій; 1 – заземлювач; 2 – з’єднуюча смуга.
Не заземлюють установки, що працюють при напрузі 36В и нижче змінного струму й менше 110В постійного струму у всіх випадках, за винятком вибухонебезпечних установок і вторинних обмоток зварювального трансформатора.
Заземлюючий пристрій (мал. 4.5) складається із заземлювача і з’єднувальної смуги 2. Розрізняють заземлювачі штучні, призначені винятково для цілей заземлення, і природні, та у землі металеві предмети іншого призначення. У якості штучних заземлювачів використають сталеві труби й кутову сталь довжиною 2...3м і товщиною стінок не менш 3,5 мм. Вертикальні заземлювачі з'єднують у контур смугою зі сталі перерізом не менш 4×12 мм або круглим діаметром не менш 6 мм за допомогою зварювання. У якості природних заземлювачів можна використати прокладені в землі водопровідні труби; обсадні труби артезіанських колодязів, шахт; металеві конструкції й арматуру залізобетонних конструкцій будинків і будівель, що мають з'єднання із землею; свинцеві оболонки кабелів, прокладені в землі. Приєднання обладнання, до магістралі заземлення здійснюється за допомогою окремих провідників.
Опір заземлювачів визначається розрахунковим шляхом або безпосереднім виміром на місці.
Опір розтікання струму Rс (Ом) одиночного стрижневого заземлювача визначають по формулі:
(4.12)
де р – питомий опір ґрунту, Ом ∙ м;
1, d – довжина й діаметр заземлювача, м;
h – глибина закладення труби, м.
, Ом

Мал. 4.6. Схеми виміру опору заземлення:
а – методом амперметр – вольтметр; б – мегомметром М-416.
Необхідне число заземлювачів п дорівнює:
(4.13)
де Kс – коефіцієнт сезонності;
Rн – нормативний опір заземлення;
ηе – коефіцієнт використання (екранування) заземлювачів.
1) ґрунт вологий:
![]()
2) ґрунт середньої вологості:
![]()
3) ґрунт сухий:
![]()
Контроль заземлення здійснюється оглядом і виміром опору заземлювачів. Зовнішній огляд повинен здійснюватися не рідше одного разу в шість місяців, а в приміщеннях з підвищеною небезпекою й особливо небезпечних один раз у три місяці. Перевірка опору заземлення проводиться не рідше одного разу в рік, а також після капітального ремонту й тривалої перерви в роботі установки.
Вимір опору розтіканню струму може бути проведено різними способами. Найбільш поширені вимірювання за допомогою амперметра - вольтметра й спеціальних приладів заземлення (М-416, М-1103 і інші).
На малюнку 4.6 зображені схеми виміру опорів заземлення. Перед виміром у землю забивають на глибину 0,8...0,7 м два додаткових стрижні; Т – допоміжний заземлювач і П – зонд. Щоб їхнього поля розтікання не накладалися, вони повинні розташовуватися один від одного і від вимірюваного контуру на відстані не менш 20м.
В проекті в основному проведений розрахунок кількості заземлювачів які знаходяться в ґрунті середньої вологості. Необхідна кількість заземлювачів – 1, яких достатньо для забезпечення надійності заземлення.
5. Екологічна частина
Як і кожна галузь сільського господарства сільськогосподарське виробництво взаємодіє своєю виробничою діяльністю з оточуючим природним середовищем і його ресурсами. В рослинництві це внесення добрив, ядохімікатів, гербіцидів, а в тваринництві за рахунок викидів від технологічного утримання і використання тварин.
В останній час з усіх програмних питань охорони навколишнього середовища важливого значення набуває екологічна експертиза. Верховною Радою України прийняті два закони: "Про охорону навколишнього природного середовища" (25 червня 1991 року), "Про екологічну експертизу" (5 лютого 1995 року). Завданням цих законів є регламентування відносин в галузі охорони використання і відтворення екологічної безпеки попередження і ліквідації негативнгого впливу господарської чи іншої діяльності на оточуюче середовище, збереження природних ресурсів, генерального фонду живої природи, ландшафтів і других природних комплексів цілісних територій і природних об’єктів зав’язаних з історично-культурною спадщиною.
Екологічній експертизі повинні підлягати не тільки діючі господарські об’єкти, а й проекти на майбутнє їх будівництво і звичайно реконструюємі в процесі державної програми розбудови на новому етапі власника, господаря на землі – сільськогосподарського виробника.
Даним дипломним проектом розроблена комплексна механізація ферми по відгодівлі на 1000 голів молодняку ВРХ. При здійсненні екологічної експертизи необхідно визначитись з факторами впливу ферми на природне середовище.
Основним джерелом забруднення навколишнього природного середовища від тваринницької ферми є гній, а також викиди в атмосферу відпрацьованого повітря з тваринницького приміщення. Під час утримання сільськогосподарських тварин виділяється вуглекислий газ (при диханні тварин) і аміак в процесі амофосного бродіння гною. Для досягнення нормальних параметрів мікроклімату в приміщеннях для утримання молодняку та дорослої худоби (гранично допустима концентрація вуглекислого газу в повітрі приміщень – 2,5л/м3 (0,25%), аміаку – 20мг/м3 , сірководню – 10мг/м3 ) здійснюється повітрообмін за допомогою примусової вентиляції приміщень. Кратність годинного повітрообміну становить 4,95год.
Технологічні процеси і інженерне обладнання в проекті підібрані із умов найменшого негативного впливу на оточуюче середовище. На фермі застосовується технології видалення та обробки (біотермічне знезараження) гною, що забезпечує екологічну безпеку. Гній видаляється з приміщення щозмінно до гноєсховища. При виникненні епізоотії на фермі секцію з зараженим гноєм необхідно піддати біологічному, фізичному або хімічному знезараженню в строки, що встановлюються ветеринарною службою. Слід суворо дотримуватись правил організації буртів (пошарове складання гною з землею, опалим листям, соломою або тирсою і покриття їх шаром ґрунту).
Для досягнення дегільмитизації у весняно-літній період гній в буртах вологістю до 70% необхідно зберігати на протязі одного, а в осінньо-зимовий період не менше шести місяців. При цьому температура в буртах сягає 70°С. що забезпечує не тільки дегельметизації гною, а й загибель переважної більшості забрудників інфекційних хвороб.
Охорону повітря басейну необхідно забезпечувати за рахунок впровадження сучасних, технологій виробництва, підвищення екологічної чистоти процесів, очищення викидів та розсіювання шкідливостей в атмосфері до безпечних концентрацій, а також не допускається неорганізованих викидів.
З метою охорони та раціонально використання водних ресурсів при проектуванні скотарських підприємств необхідно:
а). застосовувати маловодні технології прибирання гною;
б). застосовувати маловодні технології виробництва;
в). досягати скорочення витрат питної води за рахунок впровадження оборотних систем водопостачання;
г). впроваджувати прогресивні економічні ефективні методи очистки стоків біотермічні з використанням агрегатів в трьох середовищах: відкриті гноєсховища в закритих танках і реакторах.
Тривалість ферми при порушенні в системах утилізації виробничих стоків (рідкого гною, виробничих і господарсько побутових стоків, силосного стоку, вод і др.) або при відсутності таких систем можуть у значній мірі забруднювати ґрунт і водойми.
З метою освітлення і обеззараження стоків використовують їх механічну, хімічну і біологічну очистку. На проектуємій фермі утворюється велика кількість стоків, біля 36м3 , які мають високу цінність як органічні добрива. Велику кількість стоків можна використовувати для полів і особливо для луків як органічне добриво, яке підвищує врожайність і покращує якість ґрунту.
Для правильного використання стоків організовують фермерські поля зрошення, необхідну площу яких визначають із умови 1500 кг живої маси тварин 1га сільськогосподарських угідь. Організація таких полів дозволяє повністю виключити складання стоків в відкритті водойми і разом з тим включити в сільськогосподарський процес додаткове джерело елементів мінерального живлення і органічного елементу для підвищення врожайності кормових культур.
Зрошувальні системи при використанні тваринницьких стоків виконують роль природних біологічних очисних споруд. запобігають поверхневі і підземні води від забруднення і дозволяють створювати міцну кормову базу.
Таким чином тваринницькі стоки перед внесенням в ґрунт піддають дегельмінтизації і знезараженню різними методами: шляхом довготривалого витримування в накопичувачах хімічною обробкою дезинфікуючими засобами. іонізуванням, гамма-опроміненням, пастеризацією, обробкою паром. Обеззараження застерігає оточуюче середовище від розповсюдження інфекційних захворювань для людей і тварин.
В результаті складних фізичних, фізико-хімічних і мікробіологічних процесів, які протікають в ґрунті підвищується родючість ґрунту, повністю очищується сточні води з зберіганням необхідного режиму, ґрунтових вод і зображенням охорони навколишнього середовища від забруднення.
На фермах господарства ЧСП „Гарант” знаходиться обладнання яке в повній мірі задовольняє екологічним нормам. На фермах використовується маловодна система видалення гною. Видалення гною з приміщень виконується скреперними установками УС-15 в тракторні причепи. Господарство намагається в повній мірі використовувати сточні води, гній як добрива. Керівництво господарства виділяє кошти для ремонту обладнання або заміни старого обладнання новим, що дає можливість оцінити екологічний стан господарства як задовільний.
6. Техніко-економічна ефективність конструкторської розробки
Запропонований варіант конструкторської розробки повинен забезпечувати при його впровадженні позитивний економічний ефект, який може бути досягне ний за рахунок одного чи декількох перерахованих нижче факторів:
а) зниження виробничих витрат на одиницю продукції;
б) підвищення якості і відповідно споживаючих властивостей продукта (підвищення сортності молока, вмісту цукру в буряці, ресурсу праці після ремонту і т. д.);
в) підвищення продуктивності тварин.
Позитивний ефект може бути досягне ний при певних умовах за рахунок покращення соціальних умов (поліпшення праці та підвищення її безпеки).
Щоб визначити економічний ефект впровадження запропонованої конструкторської розробки в порівнянні з існуючим варіантом механізації необхідно перш за все визначити вартість її виготовлення.
Витрати на виготовлення машини, грн.:
(6.1)
де Q1 – вартість матеріалів, грн.;
Q2 – зарплатня робітникам на виготовлення деталей, грн.;
Q3 – зарплатня робітникам на складання машини, грн..;
Q4 – загально виробничі накладні витрати, грн.;
Q5 – вартість придбаних виробів, грн., (електродвигун) Q5 = 120грн.;
(6.2)
де G – вага машини або вага виготовлених деталей, кг. Визначається орієнтовно по аналогії з однотипними зразками;
К1 – середній коефіцієнт запасу на відходи при механічній обробці заготовок (К1 = 2,0...2,2)
q1 – середня вартість 1кг матеріалу заготовки, грн./кг (q1 = 1,8грн./кг)
![]()
(6.3)
де t2 – середня трудомісткість виготовлення деталей машини, люд·год/кг; (t2 =2,4...2,6);
q2 – середня оплата праці робітникам на виготовлення деталей, грн./ люд·год (q2 = 5). До робіт мають залучатись тільки токарі не менше 4 розряду.
![]()
(6.4)
де t3 – середня трудомісткість складання машини. люд·год/кг (t3 = 1,2);
q3 – середня оплата робітників на складанні, (q3 =5,2грн/ люд·год)
![]()
(6.5)
де К4 – коефіцієнт доплат до основної зарплатні та нарахування за соцстрахом (К4 = 1,15...1,20);
q4 – доля нарахувань на загально виробничі накладні витрати (q4 = 0,4).
![]()
![]()
Річний економічний ефект від впровадження нової машини, грн.
Р = (Е · К1 + S1 ) – (Е · К2 + S2 ) (6.6)
де Е – нормативний коефіцієнт ефективності капітальних вкладень (Е = 0,15);
К1 – капітальні вкладення на машину при існуючій технології, грн.;
К2 – капітальні вкладення на виготовлення машини, грн.;
S1 – річні експлуатаційні витрати при існуючій технології, грн..;
S2 – річні експлуатаційні витрати при використанні нової машини, грн..
К1 = Qc · Кд (6.7)
де Qс – вартість існуючої машини, грн.. (за прейскурантом);
Кд – коефіцієнт додаткових витрат: Кд = 1,1 – для машин без монтажа; Кд = 1,2 – для машини потребуючої монтажу.
К1 = 3500 · 1,1 = 3850
К2 = Q = 2841грн – для нової машини.
К2 = К1 + Q – для модернізованої машини.
S1 = В1 + А1 + R1 +U1 (6.8)
де В1 – річні витрати на оплату праці робітникам які обслуговують машину, грн..;
А1 – річні витрати на амортизацію машини, грн..;
R1 – річні витрати на ремонт та техобслуговування машини. грн.;
U1 – витрати на електроенергію, грн..
(6.9)
де V1 – річний об’єм робіт, виконаний існуючою машиною, т, гол, м3 і т.д.;
W1 – продуктивність машини, т/год;
n1 – число обслуговуючого персоналу існуючої машини, люд;
q – середня оплата праці робітника, обслуговуючого машину, грн./год, (q = 3).
![]()
А1 = К1 · а (6.10)
де а – норма відрахувань на амортизацію (а = 0,16)
А1 = 3850 · 0,16 = 616
R1 = К1 · r (6.11)
де r – річна норма відрахувань на ремонт та техогляд (r = 0,18).
R1 = 3850 · 0,18 = 693
Витрати на електроенергію:
(6.12)
де Nе –потужність електродвигуна, кВт;
Се – вартість електроенергії. грн./кВт·год (0,4)
![]()
S1 = 19285 + 616 + 693 + 1800 = 22394
Аналогічно визначаються річні експлуатаційні витрати при використанні нової машини.
S2 = В2 + А2 + R2 +U2 (6.13)
(6.14)
А2 = К2 · а (6.15)
R2 = К2 · r (6.16)
(6.17)
![]()
А2 = 2841 · 0,16 = 455
R2 = 2841 · 0,18 = 511
![]()
Р = (0,15 · 3850 + 22394) – (0,15 · 2841 + 20991) = 1555
Термін окупності додаткових витрат на виготовлення машини, р
(6.18)
![]()
Таблиця 6.1
Показники економічної ефективності використання машини
| Показник | Формула для визначення | Значення проектного варіанту |
| 1. Витрати на виготовлення машини, грн. | 2841 | |
| 2. Вартість матеріалів, грн. | 324 | |
| 3. Зарплатня робітникам на виготовлення деталей, грн. | 1080 | |
| 4. Зарплатня робітникам на складання машини, грн. | 562 | |
| 5. Загально виробничі накладні витрати, грн. | 755 | |
| 6. Вартість придбаних виробів, грн. | Q5 | 120 |
| 7. Річний економічний ефект від впровадження нової машини, грн. | Р = (Е · К1 + S1 ) – (Е · К2 + S2 ) | 1555 |
| 8. Капітальні вкладення на виготовлення машини, грн. | К2 = Q | 2841 |
| 9. Річні експлуатаційні витрати при існуючій технології, грн. | S1 = В1 + А1 + R1 + U1 | 22394 |
| 10. Річні експлуатаційні витрати при використанні нової машини, грн. | S2 = В2 + А2 + R2 + U2 | 20991 |
| 11. Термін окупності додаткових витрат на виготовлення машини, р. | 2,2 |
Додаток
Довідкові данні (для навчальних цілей) до розрахунку техніко-економічної ефективності конструкторської розробки (в порівняльних цінах на 1.01.2007 рік).
1. Середня вартість 1кг матеріалу заготовки – 1,8грн/кг;
2. Середня оплата праці робітників на складанні машини – 5,2грн/люд год;
3. Середня оплата праці робітників на виготовлення деталей – 5грн/люд год;
4. Середня оплата праці робітників обслуговуючих машину – 3грн/люд год;
5. Вартість електроенергії – 0,4грн/кВт год.
Висновки та пропозиції
В дипломному проекті проведений розрахунок генерального плану ферми по відгодівлі 1000 голів ВРХ. Обґрунтовані розміри і кількість споруд для утримання тварин, кормоцехів та майданчиків для вигулу тварин, а також кількість сховищ кормів і гноєсховищ необхідних для утримання такої кількості тварин. Також розраховано і обґрунтовано склад машин кормоцеху і кількість машин для приготування кормів для молодняку. Склад і продуктивність машин кормоцеху підібрано для швидкого приготування відповідної кормової суміші.
Виконано розрахунок економічних показників і вдосконалення коренерізки КПИ-4 яка може використовуватись на фермах для подрібнення коренеплодів до відповідної товщини. Також описані машини які використовуються в кормоцехах для подрібнення і мийки коренеплодів.
Дана розробка значного економічного ефекту досягає в використанні з іншими машинами – мийки, транспортування і т.д.. В основному найбільш придатна вдосконалена коренерізка для невеликих тваринницьких комплексів в основному для кількості тварин до 1000 голів.
Список використаної літератури
1. Водяницький Г.П. Методичні вказівки з курсового і дипломного проектування. Житомир. – 2005. – 195 с.
2. Герук С.М., Обиход А.І., Сукманюк О.М. Інженерно-технологічні вимоги до написання дипломних (курсових) проектів і робіт. – Житомир, ДАЕУ. – 2006. – 255 с.
3. Ферма доращивания и откорма молодняка крупного рогатого скота на 2,5 тысяч голов в год с интенсивным использованием жома: ТП 801-01-70.86. В двух альбомах. Альбом 1. Общая пояснительная записка/«УкрНИИгипросельхоз Госагропрома УССР. - К, 1986. - 65 с.
4. Булгаков В.Є., Сова О. А. Довідник оператора по вирощуванню і відгодівлі великої рогатої худоби. - С. Урожай, 1989. - 83 с
5. Проектування механізованих технологічних процесів тваринницьких підприємств /II. Ревенко, В.Д. Роговий, В. І. Кравчук та ін.; за ред. 1.1. Ревенка. - К: Урожай, 1999. - 192 с
6. Брагинец НВ., Палишкин Д.А Курсовое и дипломное проектирование по механизации животноводства. - М.: Агропромиздат, 1991. - 192 с.
7. Справочник по механизации и автоматизации в животноводстве и птицеводстве / А.С. Марченко, Г.Е. Кистень, Ю.Н Лавриненко и др.; Под ред. А.С. Марченко. - К: Урожай, 1990. - 456 с.
8. Ндомчі норми технологічного проектування: Скотарські підприємства: ВНГП-СГЇП-46-1.94 / Мінсільгосппрод України. - К.: Ноосфера, 1994. - 60 с
9. Письменов В.Н Получение и использование бесподстилочного навоза. — М.: Росагропромиздат, 1988. — 206 с.
10. Механизация и электрификация животноводства: Методические указания по изучению дисциплины и задание для курсового проекта/ Всесоюзн. с.-х. ин-т заоч. образования; Сост. С.Г. Аббасов, СВ. Жужжа В.Н Куликов. - М, 1989. - 108 с.
11. Енохович А. С. Справочник по физике. - М.: Просвещение, 1990. - 384 с.
12. Брагінець М.В., Педченко ПВ., Резчик І.Г. Монтаж, експлуатація і ремонт машин у тваринництві. - К: Вйща шк., 1991. - 359 с.
13. Машиновикористання у тваринництві /1.1. Ревенко, В.М. Манько, В.І. Кравчук; За ред. І.І. Ревенка. - К: Урожай, 1999. - 208 с.
14. Нормативи часу і чисельності працівників тваринницьких ферм: В 2ч./Держагропром УРСР; Центр, нормат.-досл. ст. з праці Держагропрому УРСР. - К: Урожай, 1999. - ч. 1. - 536 с
15. Удосконалення експлуатації машин і обладнання тваринницьких ферм і комплексів / Г.М. Кукта, В.П Гейфман, В.І. Дешко та ін.; За ред. Г.М Кукта. - К: Урожай, 1989. - 224 с
16. Охорона праці /Г.М Грядник, С.Д. Лехман, Д.А. Бутко та ін.. - К: Урожай, 1994. - 271 с
17. Екологічна експертиза: Методичні вказівки студентам вузів сільського господарства для написання розділу або дипломної роботи з питань екології /Полгав, держ. с.-г. ін-т; Укладачі О.М. Куценко, В.М Писаренко. - Полтава 1992. - 20 с.
18. Кукта Г.М Машины и оборудование для приготовления кормов. - М.: Агропромиздат, 1987. - 303 с.
19. Малахов В.А., Макаренко А.П Эксплуатация машин и оборудования свиноводческих ферм. - М.: Росагропромиздат, 1989. -271с.
20. Курсовое проектирование деталей машин / С. А. Чернавский, Г.М Ицкович, КН Боков и др.; Под ред. С.А. Чернавского. - М.: Машиностроение, 1979. - 351 с.
21. Сопротивление материалов / Г. С. Писаренко, В. А. Агарев, АЛ. Квитка; Под ред. Г.С. Писаренко. - К: Вйщашк., 1979. - 696 с.
Додатки
| № | Формат | Позначення | Назва | Кіл. | № арк.. | Примітка |
| Текстові документи | ||||||
| 1 | А4 | 09 19 ДП 26 10 2009 2346-ст 58 ПЗ | Пояснювальна записка | 1 | ||
| Графічні матеріали | ||||||
| 2 | А1 | 09 19 ДП 26 10 2009 2346-ст 58 01 | Генплан ферми на 1000 корів | 1 | ||
| 3 | А1 | 09 19 ДП 26 10 2009 2346-ст 58 02 | План корівника на 200 голів | 1 | ||
| 4 | А1 | 09 19 ДП 26 10 2009 2346-ст 58 03 | Існуючі технології подрібнення | 1 | ||
| 5 | А1 | 09 19 ДП 26 10 2009 2346-ст 58 04 | Коренерізка КПН-4 | 1 | ||
| 6 | А1 | 09 19 ДП 26 10 2009 2346-ст 58 05 | Деталювання | 1 | ||
| 7 | А1 | 09 19 ДП 26 10 2009 2346-ст 58 06 | Техніко-економічні показники проекту | 1 |
Похожие рефераты:
Комплексний заклад ресторанного господарства
Стан мінерального обміну у бичків та шляхи його корекції
Молочне скотарство, перспективи розвтитку галузi
Організація охорони праці на прикладі закритого акціонерного товариства "Ратнівський молокозавод"
Сучасний стан сільского господарства України
Технологічне забезпечення відновлення дисків сошників зернових сівалок
Лікувально-профілактичні заходи при гельмінтозах свиней
Технологія виробництва і переробки продукції тваринництва
Характеристика стада бурої молочної худоби за господарсько-біологічними якостями в умовах агрофірми
Впровадження технології експандування при виробництві кормів
Діагностика і лікування гельмінтозів у коней в умовах іподрому м. Харків
Ветеринарно-санітарна експертиза продуктів забою свиней в умовах ППВКО "Еталон"