| Похожие рефераты | Скачать .docx | Скачать .pdf |
Реферат: Разработка способов обезвреживания и утилизации сточных вод ОАО "Автотранс"
ВВЕДЕНИЕ
Город – это живой, постоянно изменяющийся организм, сложная экологическая система с целым комплексом проблем. Загрязнение окружающей среды – одна из основных проблем экологии города. Меры, принимаемые по ее защите и сохранению городской экосистемы, недостаточны. Для сохранения жизнеобеспечивающих функций нужен экологический подход к городу, сущность которого заключается в рациональном использовании природной среды и ресурсов, что будет способствовать повышению устойчивости экосистемы города к технологическому и антропогенному воздействию. Негативный результат данного влияния на город заключается в загрязнении воды, воздуха и почвы города и прилежащих к нему территорий. Одним из мощных источников загрязнения природной среды является автомобильный транспорт, увеличение численности которого в начале второй половины XX века привело к насыщению городов легковыми автомобилями и переключению на них большей части пассажирских перевозок. Это резко ухудшило санитарные условия проживания в крупных городах: автомобиль не только загрязняет воздушную среду и создает шум, но еще и негативно влияет на гидросферу. Каким же образом автомобиль загрязняет гидросферу? В качестве примера загрязнения водной среды транспортом обычно рассматривается загрязнение окружающей среды при транспортировке нефтепродуктов.
Но для города эта проблема выглядит несколько иначе. Всему миру хорошо известны российские дороги. Самара и Самарская область не являются исключением. Все мы еще не забыли те времена, когда желающие заработать мальчишки выставляли на дорогах ведра и импровизированные таблички «Мойка машин». Машины мыли прямо у обочины дороги или во дворах, лишь бы рядом была колонка. Грязные ручьи текли, куда придется, а через них прыгали горожане. Но будем надеяться, что эти времена уже прошли, ведь это были первые мойки машин.
В настоящее время предъявляются очень высокие требования к строящимся автомойкам. Прежде чем начать свою работу, автомойка должна быть одобрена государственными экологическими службами и СЭС. В Самаре разрешено использовать только те мойки, в которых предусмотрено оборотное водоснабжение. На бумаге все, как правило, выглядит замечательно, а на практике возникает еще множество проблем. О них и пойдет речь в данной работе.
РЕЦЕНЗИЯ
На выпускную квалификационную работу …., выполненную на тему "Разработка способов обезвреживания и утилизации сточных вод ОАО "Автотранс".
Работа выполнена на актуальную тему, т.к. количество автотранспорта на улицах города резко возрасло, что привело к увеличению объемов сточной воды, образующейся в результате мойки автомобилей. Увеличилось также число автозаправочных станций и автосервисов, практически в каждом из которых присутствует автомойка. И на каждом из этих предприятий не высоком уровне должна быть решена проблема очистки сточной воды, поскольку требования экологических служб и СЭС очень жесткие.
В работе описано множество способов очистки применяемых как в нашей, так и в других станах. Особое внимание уделено Самаре и Самарской области. Подробно описаны три наиболее часто встречающиеся схемы очистки.
В этой области уже достаточно технических решений и проблема заключается в выборе максимально экономически выгодного способа очистки сточных вод. Для решения этой проблемы автор предлагает исключить наиболее дорогие и энергоемкие процессы или оптимизировать работу аппаратов.
Недостатком работы является то, что не рассматриваются возможности выбора аппаратов на оптимальный режим.
Считаю, что выпускная квалификационная работа Величко А.А. заслуживает оценки "ОТЛИЧНО", а ее автор – присвоения квалификации инженера-эколога.
РЕФЕРАТ
Табл. 6. Ил. 11. Библиогр.: 15 назв. 60с.
Мойка автомобилей. Оборотное водоснабжение. Сточная вода. Нефтепродукты. Взвешенные вещества. Очистка. Песколовка. Гидроциклон. Фильтр. Шлам.
Рассмотрены предлагаемые способы очистки сточных вод от мойки автомобилей. Описаны схемы оборотного водоснабжения для мойки автомобилей, применяемые в Самаре и Самарской области. Произведена экономическая оценка этих схем. Наиболее применяемая по экономическим и экологическим параметрам схема предложена для очистки стоков автотранспортного предприятия ОАО "Автотранс".
1. ЛИТЕРАТУРНЫЙ ОБЗОР
1.1. Места образования сточных вод.
Сточные воды от мойки автомобилей образуются на специализированных мойках для легковых автомобилей в черте города, на постах мойки транспортных средств за городом, на передвижных установках для мойки автомобилей, на автотранспортных предприятиях, трамвайно-троллейбусных парках, городских автостанциях. Сточные воды аналогичного состава могут образовываться при мойке гаражей, автостоянок, заправочных станций, помещений автотранспортного сервиса.
1.2. Вещества, содержащиеся в сточных водах.
Основные загрязнители сточных вод, образующиеся при мойке автомобилей – механические примеси и нефтепродукты.
Сточные воды содержат моторные масла, асфальт, песок, СОЖ, ПАВ, соли тяжелых металлов, различные виды топлива, а также моющие вещества, используемые при мойке. Концентрация углеводородов в сточных водах достигает 10 мл/л.
1.3. Основные направления в способах очистки сточных вод, образующихся в процессе мойки автомобилей.
Существуют два основных направления в способах очистки сточных вод – локальная очистка и оборотное водоснабжение.
Для снижения нагрузки на очистные сооружения предлагается проводить локальную очистку сточных вод от мойки автомобилей на установке с безотходной утилизацией отходов. Установка осуществляет непрерывный процесс пиролиза углеводородсодержащих отходов в цепные углеводороды с возможностью их дальнейшего использования в газогенераторах и котлах утилизаторах. В качестве адсорбента предлагается верховой сфагновый торф с последующей утилизацией (1т торфа сорбирует до 6т нефти и нефтепродуктов, в пересчете на сухое вещество). Установка может работать в автоматическом режиме. Установка является экологически безопасной, т.к. лабораторные исследования показали, что в атмосферу выбрасывается CO, SO2 , NO2 с концентрацией, ниже ПДФ в 4 – 25 раз.
Однако в большинстве способов предлагается осуществлять оборотное водоснабжение. Эти способы позволяют повторно использовать 90-95% исходной воды и обеспечить бессточный цикл мойки автомобилей. Свежую воду применяют только в конце мойки машины.
1.4. Способы очистки сточных вод, обеспечивающие оборотное водоснабжение.
В настоящее время предпочтение отдается установкам с оборотным водоснабжением. Это связано с необходимостью уменьшить расход питьевой воды не по назначению.
Все предлагаемые способы включают предварительную механическую очистку.
Предлагается способ механобиологической очистки сточных вод в аэрируемом отстойнике, аэротенке и двух последовательно установленных вторичных отстойниках (рисунок 1.1). Часть очищенных сточных вод после дополнительной фильтрации собирается в накопительной емкости для повторного использования на стадии мойки автомашин. Другая часть сточных вод возвращается в аэрируемый отстойник и циркулирует через контур всех ступеней очистки.
Достоинством представленной на рисунок 1.1 схемы является отсутствие токсичных осадков в связи с их обезвреживанием в процессе аэрируемой биологической очистки. Недостаток схемы заключается в громоздкости конструкций и больших затратах времени на очистку воды. Данный способ представлен в Германии.
Рисунок 1.1
Представленная схема установки электрохимической очистки воды. При производительности 5 м3 /ч, соответствующей потребностям автоколонны из 250–300 автомобилей, установка занимает производительную площадь 100 м2 и может быть размещена как в существующем закрытом помещении, так и на открытой площадке. В случае размещения установки на открытой площадке, аппараты и коммуникации, заполняемые водой, термостатируют. Установка имеет энергопотребление от 0.6 до 1 кВт/(ч. м3 ) и не требует каких-либо реагентов для корректировки кислотности среды. Стоимость комплекта оборудования установки, включая стоимость монтажа и пуско-наладки, в ценах октября 1993 года составляет 12 миллионов рублей. Система позволяет вернуть очищенную воду для повторной мойки автомобилей (95% исходной воды) и таким образом обеспечить бессточный цикл мойки автомобилей.
Описывается установка и способ очистки сточной воды (рис 1.2), в котором предварительно очищенная от песка и смазки сточная вода подается на фильтр, заполненный диатомовой землей, для отделения механических загрязнителей, затем на фильтр с активным углем для отделения растворенных органических веществ. Далее вода поступает в сборник и циркулирует через названные фильтры до тех пор, пока не достигает степени очистки, необходимой для ее повторного использования.
Рисунок 1.2
Данный способ очистки воды предложен в Австралии.
Технология очистки сточных вод мойки автомобилей разработана КНПВЦ “Экоергис” (г. Пермь). Производительность установки – 3.5 м3 /ч, она очищает от взвешенных веществ и нефтепродуктов сточные воды, образующиеся при мойке до 60 автомобилей в день. Установка оборудована аппаратами заводского изготовления: тонкослойными отстойниками и фильтрами с зернистой загрузкой. Вода, прошедшая очистку, возвращается в оборот и повторно используется для мойки автомобилей, сброс очищенной воды в городскую канализацию отсутствует.
Фирма Cheminvest (Швеция) разработала свой способ очистки сточной воды от мойки автомобилей. Предусмотрено применение химических добавок, осветление, фильтрование сточной воды от взвешенных веществ и повторное использование 90% очищенной сточной воды. Промывку фильтров проводят в ночное время. Расход свежей воды на 1 автомобиль сокращен до 40 л. Свежую воду применяют только в конце мойки машины. []
Предложен способ очистки сточной воды, образующейся в процессе мойки автомобилей, от нефтепродуктов и взвешенных веществ, включающий отстаивание и фильтрацию с предварительным введением флокулянта (рисунок 1.3).
Недостатком данного способа является высокая продолжительность времени отстаивания сточных вод (3 – 5 часов) и недостаточная степень очистки воды. []
Московский научно-исследовательский и проектно-изыскательский институт “МосводоканалНИИпроект” предлагает способ очистки сточных вод от мойки автомашин. Сущность предлагаемого изобретения заключается в том, что в способ очистки сточных вод от мойки автомобилей включается отстаивание, фильтрация и сорбция на загрузках, при этом в качестве загрузок используют фильтрующий и сорбционный материал, при следующих отношениях диаметров и высот слоев загрузок:

и , где
D1 – диаметр частиц фильтрирующей загрузки;
D2 – диаметр частиц собцирующей загрузки;
H1 – высота слоя фильтрирующей загрузки;
H2 – высота слоя собцирующей загрузки.
Предлагаемое изобретение дает возможность максимально использовать сорбционную емкость загрузки, что позволяет резко сократить объем сооружений и достичь степени очистки воды, позволяющей использовать ее повторно. Способ осуществляется следующим образом: исходная вода, содержащая нефтепродукты и взвешенные вещества, поступает в отстойник, затем в фильтровальный аппарат с фильтрующей загрузкой, а затем в фильтрующий аппарат с сорбционной загрузкой (рисунок 1.4). []
Предприятие группы KAPXEP предлагает установку для очистки воды Rainbow. Установка работает автоматически. Это комплексная система очистки воды. Вода, получаемая в результате очистки, используется для мойки автомобилей. Составные части системы: фильтр с активированным углем, дезинфицирующая труба и управление. Принцип работы: с помощью насоса вода попадает в гидроциклон, далее проходит через угольный фильтр, затем вода попадает в буферный резервуар. Дезинфекция воды происходит перманентно. Дополнительно работает дезинфекционная труба. Перед началом работы или каждый час после начала работы можно проводить обратную промывку. Промывка возможна не только чистой водой, но и очищенной. Вода после очистки вновь поступает в шламоулавливатель. Пропускная способность установки до 20 м3 /ч, токоподвод 2.2 кВт, необходимая площадь (приближенно): длина 1200 мм, ширина 1200 мм, высота 2200мм.
2. СХЕМЫ СИСТЕМ ОБОРОТНОГО ВОДОСНАБЖЕНИЯ, ИСПОЛЬЗУЕМЫХ В САМАРЕ
2.1. Обзор систем.
В настоящее время в Самаре разрешена эксплуатация только моек, имеющих оборотное водоснабжение. Такое решение связано с желанием уменьшить расход не по назначению питьевой воды.
Системы оборотного водоснабжения позволяют повторно использовать 90 – 95% исходной воды и исключить сброс сточных вод в окружающую среду. Свежую воду только добавляют в систему для восполнения потерь (15% от всей используемой воды).
В Самаре в основном используются три системы очистки воды после мойки автомобилей, осуществляющие водооборот:
1) Система рециркуляции воды для автомобильных моек. Фирма Karcher (Германия). Моноблок с реагентами и фильтрами.
2) Установка для мойки легковых автомобилей с оборотным водоснабжением (УМ). АО “Самарский Опытно-Эксперементальный завод”.
3) Мойка с оборотным водоснабжением. ЗАО “СамараАВТОтех”.
2.2. Система рециркуляции воды для автомобильных моек фирмы Karcher (Германия).
Принцип работы системы заключается в следующем. Как изображено на рисунке 2.1, грязная вода, после операции мойки аппаратом высокого давления (11), скапливается в отстойнике (1), где оседают крупные частицы грязи. Затем, с помощью погружного насоса (2), вода поступает в бак-смеситель. Здесь встроенная дозирующая система добавляет необходимое количество специального реагента RM 847 (3) и антибактериального вещества RM 851 (4). После интенсивного перемешивания смесителем (5), происходит отделения грязи и масел. При этом тяжелые частицы оседают на дне, а минеральные собираются наверху. Очищенная вода накапливается в буферном баке (6), затем проходит через специальные фильтры (7) в резервуар (8), откуда через клапан (9) снова подается в аппарат высокого давления.
Ополаскивание автомобиля должно производиться свежей водой. Во избежание переполнения системы, расход свежей воды на ополаскивание не должен превышать 15% от общего расхода воды. После определенного периода (до 50 циклов) отработанная вода должна быть вывезена специальными службами для утилизации.
Очищенная после мойки автомобилей вода может снова использоваться для работы аппаратами высокого давления, что позволяет экономить до 80% воды и значительно (в 5 раз) снизить расход моющих средств.
Достоинства системы:
- экономия воды;
- экономия моющих средств;
- автоматический режим работы;
- работа с аппаратами высокого давления с нагревом и без нагрева;
- компактность: система HDR 555 при размерах 1200´1082´800 мм весит 100 кг;
- выполнение требований санитарно-технических служб.
Однако в процессе эксплуатации системы стали очевидны и ее недостатки. Во-первых, используются дорогостоящие реагенты; во-вторых, при интенсивной работе оказывается недостаточным время пребывания загрязненной воды в отстойнике; в-третьих, необходимость вывоза отработанной воды для ее утилизации после пятидесяти циклов.
Но основной недостаток, о котором говорят работники моек, - это недостаточная степень очистки воды. То есть в воде, поступающей из аппарата высокого давления, присутствует даже песок, который может повредить краску на машине или поцарапать стекла.
Из всего вышесказанного можно сделать вывод, что данная установка не пригодна для Российских условий. В связи с этим АО “Электрощит” предлагает установку МОВ1, принцип действия которой полностью соответствует принципу действия германских установок, но на трубопроводе, соединяющем блок очистки с аппаратом высокого давления, установлен фильтр тонкой очистки, что делает установку применимой к Российским условиям. В таблице 2.1 даны характеристики вышеописанных установок.
Таблица 2.1
Характеристики систем рециркуляции воды для автомобильных моек.
| Название | Производи-тельность | Размеры | Мощность | Цена |
Karcher HDR 555 |
0.2 м3 /час | 1.2´1.082´0.8 м | 0.6 кВт | 6700 $ |
Karcher A3A 600 |
0.6 м3 /час | 1.55´0.63´1.3 м | 1.2 кВт | 14500 $ |
Электрощит МОВ1 |
1 м3 /час | 10´5´2.7 м | 5.6 кВт | 185000 руб. (» 7400 $) |
Как видно из таблицы, мойка МОВ1 при самой большой производительности имеет низкую цену по сравнению с германскими. Плюс ко всему мойка завода АО “Электрощит” приспособлена к работе с очень сильно загрязненной водой.
2.3. Установка для мойки легковых автомобилей с оборотным водоснабжением (УМ) Самарского Опытно-Эксперементального завода.
2.3.1. Устройство мойки легковых автомобилей.
Мобильная установка мойки легковых автомобилей с оборотным водоснабжением представляет собой комплекс, состоящий из двух блоков-модулей:
- блока мойки легковых автомобилей с применением водо-воздушной смеси с подогретой водой и системой сушки автомобилей после мойки;
- блок двухступенчатой очистки стоков, загрязненных от мойки автомобилей.
Первая ступень очистки обеспечивает отстой взвеси механических примесей, очистку стоков на напорном гидроциклоне от мелкодисперсных частиц и нерастворимых нефтепродуктов, очистку стоков низконапорной флотацией с флокуляцией.
Вторая ступень очистки включает в себя фильтрацию на фильтре с текстильно-волокнистой загрузкой, бактерицидную обработку стоков гипохлоритом натрия и финишную очистку в адсорбере с активированным углем и де хлорированием стока на подслое дробленого антрацита марки АС.
2.3.2. Назначение и область применения.
Установка мойки легковых автомобилей предназначена для косметической и углубленной мойки легковых автомобилей с очисткой загрязненных стоков с оборотным водоснабжением, исключающим сброс стоков в окружающую среду.
Метод очистки стоков мойки легковых автомобилей – физико-химический с применением следующего оборудования:
- напорного гидроциклона;
- узла низконапорной флотации;
- фильтра с текстильно-волокнистой загрузкой;
- узла адсорбции на активированном угле;
- узла бактерицидной обработки воды;
- узла приготовления и дозирования флокулянта.
Основное технологическое оборудование мойки легковых автомобилей изготовлено в виде двух транспортабельных блок-модулей полной заводской готовности.
2.3.3. Основные технологические данные и характеристики.
Определяющие характеристиками комплекса мойки являются:
Производительность мойки по пропускной способности автомобилей, шт. в час шт. в сутки |
6 96 |
| Расход воды на мойку одного автомобиля, л | 50 |
| Расход воды в сутки (максимальный), м3 | 4.8 – 5.0 |
| Производительность по очистке загрязненных стоков, м3 /час | 3.5 |
| Экономия водопроводной воды, % | 96 – 98 |
Качество очищенной воды, мг/л, не более: - по взвешенным веществам - по нефтепродуктам |
5 0.05 – 0.1 |
Характеристики сети питания оборудования: - напряжение, В - частота, Гц |
220/380 50 |
| Установленная мощность, кВт | 43.8 |
Потребляемая мощность, кВт в режиме - мойки - очистки - мойки с нагревом воды - мойки с нагревом воды и обдувом теплым воздухом |
0.8 8.2 8.3 31.4 |
| Вентиляция – принудительная, вытяжная с естественным притоком. | |
| Кратность обмена воздуха | 10 |
Рабочие помещения установки имеют естественное и искусственное освещение, выполненное с учетом СНиП 11-4-79 |
|
| Численность обслуживающего персонала в одну смену, чел. | 2 |
Блок мойки оборудован 4 точками подачи воды: - давление воды, мПа (кгс/см2 ), не менее - давление воздуха, мПа (кгс/см2 ), не более |
0.15 (1.5) 0.5 (5) |
Санитарно-защитная зона между установкой и жилыми застройками определяется заказчиком (покупателем) и согласовывается с местными органами санитарного надзора в соответствии со СНиП.
| Требуемая площадь размещения мойки, м2 | 120 |
Габаритные размеры мойки автомобилей, м: - длина с пандусами - ширина - высота |
12 6.5 3.41 |
Масса установки (сухой вес), т. с. не более в том числе: - блок мойки (порожний) (с водой) - блок очистки (порожний) (с водой) |
13 5.2 11.3 7.5 16.2 |
Расход сырья и материалов: - флокулянт ВПК-402, мг/л, г/м3 не более всего в сутки, г не более в год, кг не более - гипохлорит натрия, мг/л, г/ м3 всего в сутки, г в год, кг - вода (для возмещения естественной убыли) не более л/час л/сут подпитка в год, м3 |
5 75 27 3 45 16.2 3 48 17.3 |
Климатическое исполнение по ГОСТ 15150-69 УХЗЛ, при этом: а) для эксплуатации в рабочем состоянии температура, °С: - окружающей среды, не ниже - внутри установки мойки, не ниже б) нормативная снеговая нагрузка в) нормативная ветровая нагрузка г) сейсмичность в баллах, не выше |
-30 +5 до 150 кг/м2 до 55 кг/м2 6 |
Показатели надежности а) коэффициент готовности б) ресурс, назначенный до 1-го капитального ремонта, лет, не менее |
0.98 5 |
2.3.4. Описание технологического процесса очистки сточных вод установки мойки автомобилей.
Установка мойки автомобилей показана на рисунке 2.2. Загрязненные сточные воды из бака грязной воды (1) поступают на прием насоса (2). Очистка сточной воды производится последовательно и раздельно в 2 ступени:
1 ступень очистки – очистка стоков в гидроциклоце (3) и низконапорном флотаторе с флокулянтом (4).
2 ступень очистки – очистка стоков в фильтре с текстильно-волокнистой загрузкой (8) и адсорбере с активированным углем (10) с бактерицидной обработкой гипохлоритом натрия.
Очистка сточных вод производится после прекращения операций по мойке машин и осуществляется раздельно по ступеням до достижения необходимого качества.
Загрязненная при мойке автомобилей вода с механическими примесями, взвесями и нефтепродуктами насосом (2) подается на напорный гидроциклон (3). Гидроциклон предназначен для очистки от грубодисперсных примесей и взвесей. Для обеспечения надежной работы гидроциклона должен быть обеспечен напор не менее 0.3 мПа и расход воды на очистку не менее 8м3 /час. Шлам из гидроциклона поступает в бак для шлама (13), откуда эвакуируется по мере накопления и вывозится на место складирования отходов, согласованное с местными организациями по охране окружающей среды.
Очищенная от грубодисперсных примесей вода поступает во флотатор (4). В системе используется низконапорный флотатор с пневматическими аэраторами ПА-1 (ПА-2). Низконапорная флотация характеризуется малыми энергетическими затратами на подачу воздуха, а за счет диспергаторов происходит максимальное насыщение воздухом очищаемой водой.
Во флотаторе происходит очистка воды от тонкодисперсных взвесей и нефтепродуктов соответственно до 20 мг/л и 5 мг/л (при условии подачи флокулянта ВПК-402 в количестве от 2 до 5 мг/л) в зависимости от загрязненности воды. Подача флокулянта ВПК-402 в концентрации 2 – 2.5% производится в отсек флотатора в зону поступления очищаемых стоков. Флокулянт готовится в растворном баке, затем в необходимом количестве перепускается в расходный бак (5) на весь цикл очистки воды.
Флотатор рассчитан на 30-и минутное пребывание в нем очищаемой воды и разделен на 3 секции: две секции флотации и одна секция отстоя. Пеношлам, образующийся на поверхности флотатора, сдувается сжатым воздухом, лопастным пеносъемником сбрасывается в карман для пены, где пена гасится за счет контакта с теплонагревательным элементом, и далее поступает в бак для шлама (13). Очищенная вода поступает через слив в емкость грязной воды и далее вновь возвращается на очистку через гидроциклон во флотатор. Достигнув необходимого качества, вода из бака насосом (16) направляется на вторую ступень очистки.
Флотация осуществляется подачей воздуха от компрессора типа МК-06 в количестве от 20 до 35 нм3 /час и зависит от характера загрязнений и режима флотации.
Переход на вторую ступень очистки производится после исчезновения устойчивого пенного слоя на поверхности воды.
При включении в работу 2-й ступени очистки, насос (16) подает воду, предварительно очищенную на 1-й ступени, из бака грязной воды (1) на текстильно-волокнистый фильтр в количестве до 4.5 м3 /час, миную флотатор. Вода, пройдя очитку в фильтре с текстильно-волокнистой загрузкой, поступает самотеком в адсорбер с загрузкой из активированного угля (10). На линии подачи воды в адсорбер установлен дозирующий бачок (9) с гипохлоритом натрия для бактерицидной обработки очищаемого стока в количестве до 3 мг/л. После текстильно-волокнистого фильтра и адсорбера с активированным углем достигаются следующие показатели:
- взвешенные вещества – до 3 мг/л;
- нефтепродукты – 0.05 – 0.1 мг/л.
Для удаления хлорного запаха (дехлорирования) при ошибках в дозировке гипохлорита натрия слой активированного угля укладывается на слой дробленого антрацита марки АС.
Очищенная вода после адсорбера самотеком поступает в бак чистой воды (11), откуда бытовым насосом подается в напорный бак, где происходит ее подогрев до температуры 20 – 40 °С. Из напорного бака вода поступает в блок-модуль мойки. Для экономии воды и более эффективной мойки предусмотрена врезка воздуха от компрессора в линию подачи воды на мойку.
Регенерация фильтра с текстильно-волокнистой загрузкой предусмотрена через 4 – 5 суток при проскоке взвешенных частиц и нефтепродуктов выше заданных значений.
Для регенерации используется вода из бака грязной воды, подаваемая насосом (16) с интенсивностью 15 м3 /час, и подача воздуха в нижний барботер фильтра в объеме около 35 нм3 /час в течение 1 – 1.5 часов. При этом трубопровод слива чистой воды закрывается, а сброс промывной воды производится в бак грязной воды через верхний боковой патрубок и рукав.
Регенерация адсорбера с активированным углем не предусмотрена. Ориентировочно через полгода эксплуатации, а также при проскоке органики выше допустимых параметров производится замена угольной и антрацитовой загрузок. По мере расходования воды за счет испарения и уноса с автомобилями производится периодическая дозаправка мойки (1 – 2 раза в месяц) водопроводной водой бойлером через крышки на баке в блоке-модуле мойки.
2.3.5. Достоинства и недостатки.
Достоинства:
- экономия водопроводной воды 96 – 98%;
- очень высокое качество очищенной воды;
- возможность установки моек с одним или несколькими постами, то есть с разной производительностью.
Недостатки:
- использование дорогостоящих реагентов (флокулянт ВПК 402, гипохлорит натрия);
- использование адсорбера с активированным углем экономически не выгодно;
- способ очистки включает в себя энергоемкие процессы (флотация);
- установка мойки занимает большую площадь, в результате чего ее установка возможна только на свободной территории.
2.4. Мойка автомобилей с оборотным водоснабжением, предлагаемая фирмой СамараАВТОтех.
Конструкция очистных сооружений, предлагаемая фирмой СамараАВТОтех, обеспечивает полную механизацию удаления и сбора грязевых осадков, автоматизацию процесса очистки воды, регенерацию фильтров без их разборки (рисунок 2.3).
Принцип работы заключается в следующем. Сточные воды от мойки поступают в песколовку с пневмовыбросом, расположенную в приямке размером не более 2´2´2 м. Основная часть взвешенных веществ оседает в песколовке и, сжатым воздухом по мере накопления, выбрасывается в грязевой бункер, из которого после обеззараживания выгружается в кузов самосвала. Песколовка способна собирать и удалять взвешенные вещества размером до 20 – 25 мм, обеспечивая надежную и долговечную работу насосов.
Из приямка вода, прошедшая песколовку, подается в циклон с пневмовыбросом. Циклон обеспечивает сбор и удаление более тонкой взвеси и нефтепродуктов. После циклона вода очищается сначала в фильтре с плавающей гранулированной загрузкой, затем в фильтре с волокнистым синтетическим наполнителем. После второго фильтра вода собирается в емкость очищенной воды и вновь используется для мойки.
Первый фильтр грубой очистки заполнен гранулами пенопропилена. Промывка фильтра желательна после каждого рабочего дня. Второй фильтр тонкой очистки содержит фильтрующий материал сепрон. Этот фильтр желательно промывать один раз в неделю. Менять загрузку из не тканого материала в фильтре тонкой очистки необходимо один раз в 2 – 3 года.
Данная система оборотного водоснабжения требует добавления в нее чистой воды в количестве 15% от всей используемой воды, как любая другая система оборотного водоснабжения. Основным достоинством данной системы является то, что способ очистки не требует добавления в воду дорогостоящих реагентов. В фильтрах так же не используются дорогостоящие загрузки. Фильтр тонкой очистки заполнен обрезками волокнистого нетканого материала сепрона. Только для профилактического обеззараживания оборудования, особенно после длительного пребывания системы без работы, добавляют специальный реагент.
Основными техническими характеристиками системы являются:
| Тип | Стационарный |
Производительность, м3 /час |
3 – 40 (в зависимости от комплектации) |
Степень очистки: - взвешенных веществ не более - нефтепродуктов не более |
15 0.5 |
| Работа гидросистемы | В автоматическом режиме |
| Давление сжатого воздуха, МПа | 0.2 – 0.6 |
| Время очистки пневмовыбросов, час не более | 0.08 |
| Потребляемая мощность, кВт | 2 – 25 (в зависимости от производительности) |
В процессе мойки автомобилей можно использовать аппарат высокого давления фирмы Karcher, так как нашей промышленностью подобное оборудование не выпускается. Аппарат высокого давления стоит от 600$ до 3000$. Более дорогие – с подогревом, менее дорогие – без подогрева.
Очистные сооружения фирмы СамараАВТОтех успешно эксплуатируются в Самаре – ПАТП-5 (ул. Пугачевская, 71), в фирме “Водолей” (ул. Народная, 3), в гараже областной налоговой инспекции (ул. Мичурина, 3), Тольяттинском ПАТП-1 (Южное шоссе, 28), а так же во многих других городах страны.
Еще одно немаловажное достоинство данных очистных сооружений состоит в том, что они занимают небольшую площадь и могут быть размещены практически в любом помещении, например, в гараже.
3. Выбор технологической схемы
3.1. Общие требования к схеме.
Выбор схемы очистки стоков мойки автомобилей зависит от следующих факторов:
- количество, состав и свойства сточных вод;
- возможность их достаточной очистки для повторного использования;
- схема очистки стоков мойки должна обеспечивать полный водооборот очищаемых стоков и исключать сброс воды на грунт и в окружающую среду;
- извлечение поступающих примесей или их нейтрализация с целью полного использования воды в оборотном водоснабжении, исключая накопления нежелательных для мойки легковых автомобилей солей, механических примесей, запахов, нефтепродуктов, то есть песка, илистых и глинистых частиц, масла, солидола, нигрола, керосина и бензина.
3.2. Образование сточных вод.
На мойке легковых автомобилей образуются стоки, содержащие следующие виды загрязнений:
- коллоидные и взвешенные вещества минерального и органического происхождения;
- загрязнения нефтяного и масляного происхождения от мойки автомобилей.
3.3. Необходимая степень очистки сточных вод.
Состав сточных вод и их свойства зависят от времени года, состояния дорог, технического состояния автомобиля, а также качества и продолжительности мойки. При заданном количестве воды на мойку одного автомобиля в 50 л состав стоков может значительно колебаться по взвешенным веществам, эфирорастворимым, цветности и жесткости.
Учитывая данное положение, система очистки должна обладать большими резервами для достижения необходимого качества при экстремальных значениях загрязнения стоков. Нормативные требования к качеству воды, используемой для мытья легковых автомобилей в системе автотранспортных предприятий по «Укрупненным нормам водопотребления и водоотведения для различных отраслей промышленности» указаны в таблице 3.1.
Таблица 3.1
Нормативные требования к качеству воды.
| Показатели | Ед. из. | Вода, используемая для мойки |
| Температура | °C | не нормируется |
| Взвешенные вещества | мг/л | 40 |
| Эфирорастворимые | мг/л | 15 |
| Запах | балл | до 3 |
| pH | - | 7.2 – 8.5 |
| Жесткость карбонатная | мгэкв/л | - |
| Щелочность общая | мгэкв/л | до 10 |
| Сухой остаток | мг/л | до 2000 |
| Cl- (хлориды) | мг/л | до 350 |
| SO4 2- (сульфаты) | мг/л | до 500 |
| Feобщ. | мг/л | до 4 |
| Окисляемость перманганатная | мг О/л | до 15 |
| БПКполн. | мг О2 /л | до 20 |
| Биогенные элементы | мг/л | не нормируется |
| Мешающие, токсичные, возгораемые вещества, выделяющиеся при нагревании с образованием огня и взрывоопасных смесей | не допускаются |
Необходимая степень очистки:
1. Взвешенные вещества, не более 40 мг/л.
2. Нефтепродукты, не более 15 мг/л.
3. Вода не должна иметь на поверхности пленку нефтепродуктов и масел.
4. Вода не должна оставлять солевых пятен на поверхности автомобиля после обдува вентилятором с целью сушки корпуса.
5. Вода не должна содержать абразивных веществ, вызывающих повреждение лакокрасочного покрытия автомобиля и стекол.
3.4. Выбор способа очистки и технологического оборудования для сточных вод, образующихся на АТП ОАО «Автотранс».
На предприятии имеются пятикаскадные очистные сооружения, представляющие собой бетонные резервуары общей емкостью 800 м3 . Неудобство такого способа очистки заключается в следующем: отстойники занимают большие площади, степень очистки воды очень низкая, большое количество испарений с поверхности воды. Водооборот на предприятии отсутствует. Шлам со дна отстойников выгружается вручную в кузов самосвала и вывозится на полигон промышленных отходов в Зубчаниновке. Как видно, при использовании такого способа очистки возникает множество проблем. Основная проблема – это нерациональное использование воды.
Основная часть сточных вод предприятия образуется в результате мойки автомобилей. В силу специфики своего рода деятельности предприятие имеет в основном грузовые автомобили. Всего на предприятии 50 машин.
На предприятии необходимо установить очистные сооружения с замкнутым водооборотом, обеспечивающими высокое качество воды, механизацию удаления и сбора грязевых осадков, автоматизацию процесса очистки воды. Поскольку вода от мойки грузовых автомобилей загрязнена значительно больше, чем вода от мойки легковых автомобилей, то целесообразно будет выбрать схему очистки, включающую в себя первичную механическую очистку сточной воды в песколовке. В связи с этим для очистки стоков ОАО «Автотранс» выбираем схему очистки воды, предложенную фирмой «СамараАВТОтех» (рисунок 3.1.). Обоснование выбора этой схемы будет приведено в технико-экономическом расчете.
Установка очистки сточной вод фирмы «СамараАВТОтех»

Рисунок 3.1
3.5. Расчет показателей очистки воды для выбранной схемы.
Масса извлеченного загрязнителя определяется по формуле:
M = Q ×(Сн -Ск ) , где
Q – расход воды в год, м3 .
Q = 730 м3
Сн – концентрация загрязнителя в сточной воде, г/ м3
Для нефтепродуктов Сн =188 г/ м3 .
Для взвешенных веществ Сн =1954 г/ м3 .
Ск – концентрация загрязнителя в очищенной воде, г/ м3
Для нефтепродуктов Ск =0.5 г/ м3 .
Для взвешенных веществ Ск =15 г/ м3 .
Масса извлеченных взвешенных веществ
Мв.в. = 730×(1954-15) = 0.14 т
4. РАСЧЕТ ОСНОВНОГО ОБОРУДОВАНИЯ
4.1. Описание схемы.
Производительность выбранной установки от 3 до 40 м3 /час. Поскольку на предприятии всего 50 машин, достаточно будет производительности 3м3 /час.
Схема содержит следующие элементы:
1. Емкость для сточной воды.
2. Вертикальная песколовка с пневмовыбросом.
3. Многоярусный гидроциклон.
4. Фильтр грубой очистки с плавающей загрузкой из пенопропилена.
5. Фильтр тонкой очистки с загрузкой из сепрона.
6. Емкость чистой воды.
4.2. Вертикальная песколовка.
В вертикальной песколовке (рисунок 4.1) длина пути воды равна высоте цилиндрической части от места ввода сточных вод внизу до уровня, с которого отводится вода из песколовки. Длительность протекания воды через эту зону составляет 2 – 2.5 минуты. Скорость восходящего 0.02 – 0.05 м/с. Днище песколовки должно иметь угол конусности больше 60° для обеспечения самопроизвольного сползания осевшего песка. Осевший песок удаляют без остановки песколовки гидроэлеватором, эрлифтом или грейфером. Время пребывания воды в песколовке составляет 2 – 3.5 минуты.
Диаметр цилиндрической части D=1000 мм.
Соотношение длины и диаметра L:D » 1:1.
Длина цилиндрической части L=1020 мм.
Угол конусности цилиндрической части a=60°.
Глубина цилиндрической части H=470 мм.
Схема вертикальной песколовки
Рисунок 4.1
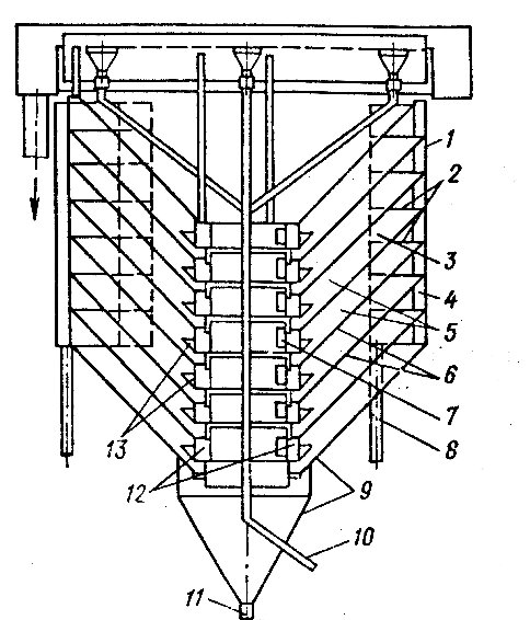
4.3. Расчет многоярусного гидроциклона.
Многоярусные гидроциклоны используют для интенсификации процесса очистки. В них рабочий объем разделен на отдельные ярусы свободно вставленными коническими диафрагмами. Вследствие этого высота слоя отстаивания уменьшается. Вращательное движение позволяет полнее использовать объем яруса и способствует агломерации взвешенных частиц. Каждый ярус гидроциклона работает самостоятельно. Гидроциклон (рисунок 4.2) имеет устройство для удаления всплывающих примесей.
Расход сточных вод до 3 м3 /час. Циклон установлен на второй ступени очистки, концентрация взвесей в исходной воде составляет 800 – 1200 мг/л. В очищенной воде содержание примесей не должно превышать 150 мг/л. Гидроциклон должен задерживать частицы гидравлической крупностью 0.2мм/с.
Принимаем многоярусный гидроциклон с периферийным отбором очищенной воды.
Многоярусный гидроциклон

Рисунок 4.2
Задаемся следующими параметрами гидроциклона D =2м; диаметр центрального отверстия верхней диафрагмы прямоточного яруса dd = 0.6м; высота ярусов hti = 0.1м.
Рассчитываем удельную гидравлическую нагрузку, приходящуюся на 1 ярус гидроциклона. b – ширина периферийной щели для отвода очищенной воды; b = 0.1м. k – коэффициент использования объема яруса; k = 0.4.


Определим расход воды, которая может подаваться на 1 ярус.

Определим количество ярусов.

Высоту цилиндрической части определим, исходя из количества ярусов.
H = 2000×h×n+400 = 2000×0.1×2+400 = 800мм
По таблице назначаем остальные размеры:
- количество впусков – 3;
- угол конической части – 60°;
- угол конуса диафрагмы – 50°;
- диаметр центрального отверстия – dd = 0.6м;
- высота ярусов h = 0.1м;
- зазор между корпусом и диафрагмой – DD = 0.1м;
- скорость потока на входе – v = 0.3 м/с;
- высота водосливной стенки – H2 =0.5м.
4.4. Расчет фильтра грубой очистки.
Расчет фильтров выполняют, исходя из производительности.
Общая площадь фильтрования F, м2 , приближенно определяется по формуле
.
Q – производительность фильтра по осветленной воде, м3 /ч.
Q=3 м3 /ч
a - коэффициент, учитывающий расход осветленной воды на промывку, a принимает значения от 1.03 до 1.1 в зависимости от числа промывок в сутки (1 – 2 раза). Промывка фильтра грубой очистки осуществляется 1 раз в день. Принимаем a=1.03.
wн – скорость фильтрования при нормальном режиме работы фильтра, м/ч, принимаем по таблице wн =10 м/ч.
Подставляя указанные значения в формулу для F, получим
.
Скорость фильтрования при нормальном режиме работы фильтров определяется по формуле
.
q – среднечасовой расход воды на промывку фильтра, м3 /ч.
f – площадь фильтрования стандартного фильтра, м2 . Принимается по таблице.
Среднечасовой расход воды на промывку определяется по формуле
, где
d – расход воды на одну промывку фильтра, м3 ; r – число промывок в сутки.
Расход воды на одну промывку фильтра определяется по формуле
, где
i – интенсивность взрыхления,
;
t – продолжительность взрыхляющей промывки, принимается по таблице.
Расход воды на одну промывку
.
Среднечасовой расход воды на промывку
.
Скорость фильтрования
.
Скорость фильтрования не превышает допустимую (10 – 12 м/ч), следовательно выбираем фильтр с площадью фильтрования f=0.29 м2 и диаметром Dу =700 мм.
Схема работы фильтра указана на рисунке 4.3.
Схема работы фильтра грубой очистки.
![]() |
Рисунок 4.3
5. Технико-экономический расчет
5.1. Цели и задачи технико-экономического расчета.
В последнее время резко возросла численность автомобильного транспорта, особенно в крупных городах, что привело к увеличению объемов сточных вод от мойки автомашин.
Известно множество способов очистки сточных вод от мойки автомобилей, поэтому целью работы был не поиск технического решения данной проблемы, а оценка экономической эффективности уже существующих схем очистки.
Расчет сводится к сравнению трех схем очистки воды, используемых в Самаре и Самарской области по следующим показателям:
- цена установки;
- себестоимость очистки 1 м3 воды;
- коэффициент очистки воды (КОВ) по нефтепродуктам и взвешенным веществам.
Сравниваются следующие три схемы:
1) Схема системы рециркуляции воды для автомобильных моек. Фирма Karcher (Германия). Моноблок с реагентами и фильтрами.
2) Схема установки УМ Самарского Опытно-Эксперементальный завода.
3) Схема оборотного водоснабжения фирмы “СамараАВТОтех”.
Все три схемы осуществляют оборотное водоснабжение, то есть сброс сточной воды в окружающую среду отсутствует.
Самую приемлемую по экономическим и экологическим показателям схему в соответствии с техническим заданием следует предложить для очистки стоков АТП «Автотранс».
Основная часть сточных вод предприятия образуется в результате мойки автомобилей. Существующие на предприятии очистные сооружения не обеспечивают необходимой степени очистки и не осуществляют водооборот. Эти проблемы будут решены, если установить на предприятии одну из названных выше схем очистки воды.
5.2. Исходные данные.
1. Концентрация загрязняющих веществ в исходной воде
| нефтепродуктов | 188 мг/л |
| взвешенных веществ | 1954 мг/л |
2. Относительная опасность Ai , ТУВ/т
Aн-ты = 20 ТУВ/т
Aв.в. = 0.05 ТУВ/т
3. На одну машину расходуется 50 литров воды.
4. За 1 час можно помыть 4 машины (по 15 минут каждую).
5. Рабочий день – 10 часов, следовательно, можно мыть по 40 машин в день.
6. Расход воды в сутки 40´50=2000 л.
7. Расход воды в год Q=2´365=730 м3
8. Стоимость воды 28.75 руб./ м3
Стоимость канализации 25.5 руб./ м3
Итого: 54.25 руб./ м3
5.3. Расчет коэффициента очистки воды (КОВ).
Расчет КОВ производится по следующим формулам:
m=m ×Ai , где
m – масса загрязнителя в 50 л воды.
, где
m до – приведенная масса вредного вещества до очистки;
m – приведенная масса после очистки.
Установка Karcher.
Нефтепродукты:
mдо = 9.4×10-6 ´20 = 188×10-6
m = 0.75×10-6 ´20 = 15×10-6

Взвешенные вещества:
mдо = 97.7×10-6 ´0.05 = 4.885×10-6
m = 2.25×10-6 ´0.05 = 0.1125×10-6

Установка УМ.
Нефтепродукты:
mдо = 188×10-6
m = 0.05×10-6 ´20 = 0.1×10-6

Взвешенные вещества:
mдо = 4.885×10-6
m = 0.25×10-6 ´0.05 = 0.0125×10-6

Установка СамараАВТОтех.
Нефтепродукты:
mдо = 188×10-6
m = 0.025×10-6 ´20 = 0.5×10-6

Взвешенные вещества:
mдо = 4.885×10-6
m = 0.75×10-6 ´0.05 = 0.0375×10-6

5.4. Расчет себестоимости очистки 1 м3 воды.
Установка Karcher.
Амортизационные отчисления
A = Na ×ОФ
– норма амортизации.
Тсл – срок службы установки.
ОФ = 14500$ = 362500 руб.

A=0.33×362500=120833 руб.
Энергозатраты
Мощность 1.2 кВт
Рабочий день 10 часов
Плата за электричество:
Пэ = 1.2×10×365×0.33 = 1445.4 руб.
Реагенты:
| RM 846 | 20 кг в год | 90$ (2250 руб.) |
| RM 851 | 30 кг в год | 235$ (5875 руб.) |
Заработная плата
Численность обслуживающего персонала – 1 человек.
Зарплата = 1000 руб. в месяц.
Установка УМ.
Амортизация

А = 120000×0.2 = 24000 руб.
Энергозатраты
Мощность 7.5 кВт
Рабочий день 10 часов
Плата за электричество:
Пэ = 7.5×10×365×0.33 = 9033.4 руб.
Реагенты:
Гипохлорит натрия
| 2.2 кг в год | 132 руб. |
| 3.65 кг в год | 365 руб. |
Текстильно-волокнистая загрузка
| 100 кг на 5 лет | 100 руб. в год |
Итого: 597 руб.
Заработная плата
Численность обслуживающего персонала – 3 человека.
Зарплата = 1000 руб. в месяц.
Итого за месяц: 3´1000 = 3000 руб.
Установка СамараАВТОтех.
Амортизация

А = 36700×0.666 = 5780 руб.
Энергозатраты
Мощность 2.0 кВт
Рабочий день 10 часов
Плата за электричество:
Пэ = 2×10×365×0.33 = 2409 руб.
Реагенты:
Безреагентная система очистки.
Заработная плата
Численность обслуживающего персонала – 2 человека.
Зарплата = 1000 руб. в месяц.
Итого за месяц: 2´1000 = 2000 руб.
5.5. Годовые затраты на очистку воды.
Таблица 5.1
Затраты на очистку воды на установке Karcher в год.
| Вид затрат | Ед. из. | Цена за ед., руб | Количество | Стоимость, руб. |
| Амортизация | – | – | – | 40277.66 |
| Энергия | кВт×час | 0.33 | 4380 | 1445.4 |
| Зарплата | чел. | 1000 | 1 | 1000 |
| Реагенты | кг | 112.5 195.8 |
20 30 |
2250 5875 |
| Итого | 50848.06 |

Таблица 5.2
Затраты на очистку воды на установке УМ в год.
| Вид затрат | Ед. из. | Цена за ед., руб | Количество | Стоимость, руб. |
| Амортизация | – | – | – | 4800 |
| Энергия | кВт×час | 0.33 | 27375 | 9033.75 |
| Зарплата | чел. | 1000 | 3 | 3000 |
| Реагенты | кг | 60 100 5 |
2.2 3.65 100 на 5 лет |
132 365 100 |
| Итого | 17430.75 |

Таблица 5.2
Затраты на очистку воды на установке «СамараАВТОтех» в год.
| Вид затрат | Ед. из. | Цена за ед., руб | Количество | Стоимость, руб. |
| Амортизация | – | – | – | 385.33 |
| Энергия | кВт×час | 0.33 | 4380 | 9033.75 |
| Зарплата | чел. | 1000 | 1 | 3000 |
| Реагенты | кг | 60 100 5 |
2.2 3.65 100 на 5 лет |
132 365 100 |
| Итого | 17430.75 |

5.6. Выбор оптимальной схемы очистки.
В таблице 5.4 приведены сравнительные характеристики трех установок. Как видно, установка фирмы «СамараАВТОтех» обладает высоким КОВ при самой низкой цене и себестоимости очистки.
Таблица 5.4
Сравнительные характеристики установок
| Наименование установки | Цена установки, руб. | Себестоимость очистки 1м3 воды, руб./м3 | КОВ | Мощность, кВт | |
| н.-ты | в.в. | ||||
Karcher Германия |
362 500 | 69.65 | 0.92 | 0.97 | 1.2 |
УМ СОЭЗ |
120 000 | 23.88 | 0.99 | 0.99 | 7.5 |
| СамараАВТОтех | 86 700 | 6.57 | 0.99 | 0.99 | 2.0 |
На основании полученных данных можно сделать вывод, что на предприятии ОАО «Автотранс» выгоднее осуществить третью схему очистки, то есть схему фирмы «СамараАВТОтех».
6. Охрана труда
6.1. Анализ опасности процесса очистки сточных вод от мойки автомобилей.
Установка очистки сточных вод от мойки автомобилей предусматривает оборотное водоснабжение, то есть вода после очистки возвращается на мойку автомобилей, сброс сточной воды в окружающую среду отсутствует. Таким образом, обеспечивается экологическая безопасность процесса мойки автомобилей.
Единственным отходом процесса очистки является шлам. Основные составляющие шлама: вода, механические загрязнители, нефтепродукты. По степени воздействия на организм человека данный отход относят к третьему классу опасности (умеренно опасные). Шлам вывозится с территории предприятия на полигон промышленных отходов в Зубчаниновке.
Способ очистки воды не предусматривает применение каких-либо реагентов. В процессе работы установки токсичные вещества не используются и не выделяются.
Монтаж электрооборудования выполнен в соответствии с «Правилами устройства электрической установки ПУЭ». Напряжение силовых цепей – 380/220В, цепей управления – 220В переменного тока частотой 50Гц. Электроосвещение выполнено во влагозащитном исполнении.
6.2. Мероприятия по обеспечению безопасности процесса.
6.2.1. Меры безопасности при пуске установки.
По окончании монтажных работ необходимо проверить затяжку крепежных деталей во всех узлах и аппаратах технологического оборудования. Насосы, компрессоры, запорная арматура, электрооборудование должны быть подготовлены к работе согласно инструкциям и паспортам заводов-поставщиков. Должна быть проверена надежность заземления и зануления электрооборудования.
6.2.2. Техника безопасности на мойке автомобилей.
Весь персонал должен быть проинструктирован и обучен правильным и безопасным приемам работы. Персонал, обслуживающий мойку автомобилей, выполняющий налад ку и ремонт технологического оборудования, должен иметь квалификационную группу не ниже 3 до 1000в и изучить описание, схемы и чертежи.
Система очистки должна соответствовать требованиям ГОСТ12.1.004-85 в части пожаробезопасности. При эксплуатации системы очистки необходимо руководствоваться «Правилами технической эксплуатации электроустановок потребителей» и «Правилами техники безопасности при эксплуатации электроустановок потребителей».
Персона л мойки автомобилей должен снабжаться спецодеждой по установленным нормам. По окончании работы спецодежду следует высушить.
В производственном корпусе в помещении оператора должна быть полностью укомплектована аптечка.
Меры безопасности при эксплуатации.
Эксплуатация мойки автомобилей должна соответствовать требованиям ГОСТ12.2.003-74 и ГОСТ12.3.002-75. При эксплуатации необходимо соблюдать требования мер безопасности, указанные в эксплуатационной документации на комплектующие изделия.
Во время технического обслуживания или ремонта механизмов необходимо обесточить шкаф управления, выключить вводной автоматический выключатель и вывесить табличку: «Не включать - работают люди!»
Работа по очистке и ремонту мойки автомобилей производится не менее чем двумя рабочими.
Электродвигатели, шкаф управления, металлок онструкции должны быть заземлены в соответствии с требованиями ГОСТ 12.1.030-81, ГОСТ 12.2.007-75. Шкаф управления должен иметь знак электрического напряжения по ГОСТ 12.4.026-76.
Требования к болту и знаку заземления должны соответствовать ГОСТ 21130-78. Величина сопротивления защитного заземления должна быть не более 0,5 0м. Электрическое сопротивление между заземляющим болтом и каждой, доступной прикосновению, металлической нетоковедущей частью ШУ, которая может оказаться под напряжением, не должна превышать 0,1 0м. Место оператора должно быть оборудовано диэлектрическим ковриком по ГОСТ 4997-75.
Запрещается:
- работа мойки автомобилей с неисправностями в электросхеме ее агрегатов;
- ремонт агрегатов электропитания до отключения их от сети питания;
- работа мойки без наличия необходимых средств пожаротушения;
- работа мойки без включенной вентиляции.
6.3. Санитарные мероприятия.
6.3.1. Применение освещения.
Предусматривается два вида освещения: рабочее на напряжении 220В и ремонтное на напряжении 12 В от понижающего трансформатора типа ОСОВ-0.25. Питание сети рабочего освещения предусматривается от осветительного щитка типа ЩОА-9, установленного у двери в блоке очистки стоков. Величины освещенности в помещениях приняты в соответствии со СНиП 23-5-95. Управление освещением производится выключателями со щитка освещения. Светильники с люминесцентными лампами пылеводозащищенными типа ЛСП16 – 2´40.
Питающая и групповые сети освещения выполняются кабелем марки АВВГ открыто по установленным металлоконструкциям. Для обеспечения безопасности обслуживающего персонала от поражения электрическим током предусматривается зануление металлических корпусов электрооборудования. Занулению подлежат все нормально нетоковедущие части электрооборудования, которые могут оказаться под напряжением при повреждении изоляции. В качестве зануляющих проводников используются нулевые рабочие проводники и специально проложенная по контуру блока очистки стоков магистраль, изготовленная из стальной полосы 40´4 мм, соединенная с нулевым проводом питающей сети. Ответвления от магистрали заземления к элементам оборудования, подлежащим занулению, выполнены круглой стальной проволокой Æ6 мм.
Рабочие помещения установки имеют естественное и искусственное освещение, выполненное с учетом СНиП 23-5-95.
6.3.2. Применение вентиляции.
Обеспечение нормальных условий работы в помещениях станций обработки воды достигается с помощью соответствующего обмена воздуха. Воздухообмен в помещениях предусматривается так же для поддержания определенной температуры и влажности. В помещении воздухообмен зависит от количества выделяющегося тепла и влаги в единицу времени.
При наличии в помещениях постоянного обслуживающего персонала температура в них должна быть не ниже 18°С.
Применяется вентиляция принудительная, вытяжная с естественным притоком.
Кратность обмена воздуха – 10.
Относительная влажность воздуха – 50-60%.
Коэффициент естественной освещенности – 1.
6.3.3. Меры противопожарной безопасности.
В целях обеспечения пожарной безопасности обслуживающий персонал обязан:
- следить за исправностью электропроводки, кабелей и заземления ;
- не допускать попадания воды на электроаппаратуру и ШУ;
- оборудовать металлический ящик с плотно закрывающейся крышкой для сбора обтирочного материала, который д олжен иметь надпись «Ящик для обтирочного материала» и очищаться не реже одного раза в смену;
- систематически убирать с территории мойки горючий материал и мусор;
- отключить систему электропитания при неисправностях в электросхеме, не позволяющих выдержать заданные напряжения и ток электрооборудования;
- при возникновении в механизмах в процессе эксплуатации посторонних шумов, стуков, скрежета или перегрева немедленно отключить неисправный механизм и сообщить об этом техническому руководству;
- постоянно следить за исправной работой приточно-вытяжной вентиляции.
Средства пожаротушения следующие: ручной химический пенный огнетушитель ОП-5 и углекислотный огнетушитель ОУ-2. Углекислотный огнетушитель применяется при тушении электроустановок и ценного оборудования. Кроме этого на мойке имеется пожарный щит с набором инструментов для тушения пожара и ящик с песком.
|
|
|
|
Похожие рефераты:
Использование городских сточных вод для технического водоснабжения
Влияние предприятия на окружающую природную среду
Природоохранные мероприятия по снижению выбросов в атмосферу на примере предприятия "Варан"
Разработка технологии и процесса ремонта двигателей автомобиля КамАЗ 5320 на АТП
Вторичные ресурсы в автомобильном хозяйстве и требования к ним
Cистемы оборотного водоснабжения поста мойки СТО
Экономическая эффективность производства ферритовых стронциевых порошков на ОАО Олкон
Переработка и утилизация углеотходов угледобывающих предприятий междуреченска
Автоматическая автозаправочная станция на 250 заправок в сутки
Разработка экологического паспорта сельскохозяйственного предприятия
Влияние на окружающую среду агрофирмы "Сосновоборская"
Пути повышения рентабельности на промышленном предприятии (на примере УП "МЭМЗ")
