| Похожие рефераты | Скачать .docx |
Курсовая работа: Вторичные ресурсы в автомобильном хозяйстве и требования к ним
Министерство образования РФ
Московский Автомобильно-дорожный Институт
(Государственный Технический Университет)
Волжский филиал
Курсовая работа
По дисциплине: Ресурсосбережение в автомобильном хозяйстве
На тему: Вторичные ресурсы в автомобильном хозяйстве и требования к ним
Выполнил: студент 5-го курса
Гр. АА-1-01
Сибатров Д.Н.
Проверил: Попов Н.В.
1. Вторичные ресурсы и требования к ним
1.1 Технология регенерации отработанного масла
В процессе эксплуатации масел в них накапливаются продукты окисления, загрязнения и другие примеси, которые резко снижают качество масел. Масла, содержащие загрязняющие примеси, неспособны удовлетворять предъявляемым к ним требованиям и должны быть заменены свежими маслами. Отработанные масла собирают и подвергают регенерации с целью сохранения ценного сырья, что является экономически выгодным. За год на территории бывшего Советского Союза собирается около 1,7 млн. тонн масел, перерабатывается до 0,25 млн. тонн, т.е.15%. Переработать отработанные моторные масла совместно с нефтью на НПЗ нельзя, т.к присадки, содержащиеся в маслах, нарушают работу нефтеперерабатывающего оборудования.
В зависимости от процесса регенерации получают 2-3 фракции базовых масел, из которых компаундированием и введением присадок могут быть приготовлены товарные масла (моторные, трансмиссионные, гидравлические, СОЖ, пластичные смазки). Средний выход регенерированного масла из отработанного, содержащего около 2-4% твердых загрязняющих примесей и воду, до 10% топлива, составляет 70-85% в зависимости от применяемого способа регенерации.
Для восстановления отработанных масел применяются разнообразные технологические операции, основанные на физических, физико-химических и химических процессах и заключаются в обработке масла с целью удаления из него продуктов старения и загрязнения. В качестве технологических процессов обычно соблюдается следующая последовательность методов: механический, для удаления из масла свободной воды и твердых загрязнений; теплофизический (выпаривание, вакуумная перегонка); физико-химический (коагуляция, адсорбция). Если их недостаточно, используются химические способы регенерации масел, связанные с применением более сложного оборудования и большими затратами.
Физические методы позволяют удалять из масел твердые частицы загрязнений, микрокапли воды и частично -смолистые и коксообразные вещества, а с помощью выпаривания - легкокипящие примеси. Масла обрабатываются в силовом поле с использованием гравитационных, центробежных и реже электрических, магнитных и вибрационных сил, а также фильтрование, водная промывка, выпаривание и вакуумная дистилляция. К физическим методам очистки отработанных масел относятся также различные массо - и теплообменные процессы, которые применяются для удаления из масла продуктов окисления углеводородов, воды и легкокипящих фракций.
Отстаивание является наиболее простым методом, он основан на процессе естественного осаждения механических частиц и воды под действием гравитационных сил.
В зависимости от степени загрязнения топлива или масла и времени, отведенного на очистку, отстаивание применяется либо как самостоятельно, либо как предварительный метод, предшествующий фильтрации или центробежной очистке. Основным недостатком этого метода является большая продолжительность процесса оседания частиц до полной очистки, удаление только наиболее крупных частиц размером 50-100мкм.
Фильтрация - процесс удаления частиц механических примесей и смолистых соединений путем пропускания масла через сетчатые или пористые перегородки фильтров. В качестве фильтрационных материалов используют металлические и пластмассовые сетки, войлок, ткани, бумагу, композиционные материалы и керамику. Во многих организациях эксплуатирующих СДМ реализован следующий метод повышения качества очистки моторных масел - увеличивается количество фильтров грубой очистки и вводится в технологический процесс вторая ступень - тонкая очистка масла.
Центробежная очистка осуществляется с помощью центрифуг и является наиболее эффективным и высокопроизводительным методом удаления механических примесей и воды. Этот метод основан на разделении различных фракций неоднородных смесей под действием центробежной силы. Применение центрифуг обеспечивает очистку масел от механических примесей до 0,005% по массе, что соответствует 13 классу чистоты по ГОСТ 17216-71 и обезвоживание до 0,6% по массе.
Физико-химические методы нашли широкое применение, к ним относятся коагуляция, адсорбция и селективное растворение содержащихся в масле загрязнений, разновидностью адсорбционной очистки является ионно-обменная очистка.
Коагуляция, т. е укрупнение частиц загрязнений, находящихся в масле в коллоидном или мелкодисперсном состоянии, осуществляется с помощью специальных веществ - коагулятов, к которым относятся электролиты неорганического и органического происхождения, поверхностно активные вещества (ПАВ), не обладающие электролитическими свойствами, коллоидные растворы ПАВ и гидрофильные высокомолекулярные соединения.
Процесс коагуляции зависит от количества вводимого коагулянта, продолжительности его контакта с маслом, температуры, эффективности перемешивания и т.д. Продолжительность коагуляции загрязнений в отработанном масле составляет, как правило 20-30 мин., после чего можно проводить очистку масла от укрупнившихся загрязнений с помощью отстаивания, центробежной очистки или фильтрования.
Адсорбционная очистка отработанных масел заключается в использовании способности веществ, служащих адсорбентами, удерживать загрязняющие масло продукты на наружной поверхности гранул и на внутренней поверхности пронизывающих гранулы капилляров. В качестве адсорбентов применяют вещества природного происхождения (отбеливающие глины, бокситы, природные цеолиты) и полученные искусственным путем (силикагель, окись алюминия, алюмосиликатные соединения, синтетические цеолиты).
Адсорбционная очистка может осуществляться контактным методом - масло перемешивается с измельченным адсорбентом, перколяционным методом - очищаемое масло пропускается через адсорбент, методом противотока - масло и адсорбент движутся навстречу друг другу. К недостаткам контактной очистки следует отнести необходимость утилизации большого количества адсорбента, загрязняющего окружающую среду. При перколяционной очистке в качестве адсорбента чаще всего применяется силикагель, что делает этот медом дорогостоящим. Наиболее перспективным методом является адсорбентная очистка масла в движущемся слое адсорбента, при котором процесс протекает непрерывно, без остановки для периодической замены, регенерации или отфильтрования адсорбента, однако применение этого метода связано с использованием довольно сложного оборудования, что сдерживает его широкое распространение.
Ионно-обменная очистка основана на способности ионитов (ионно-обменных смол) задерживать загрязнения, диссоциирующие в растворенном состоянии на ионы. Иониты представляют собой твердые гигроскопические гели, получаемые путем полимеризации и поликонденсации органических веществ и не растворяющиеся в воде и углеводородах. Процесс очистки можно осуществить контактным методом при перемешивании отработанного масла с зернами ионита размером 0,3-2,0мм или преколяционным методом при пропускании масла через заполненную ионитом колонну. В результате ионообмена подвижные ионы в пространственной решетке ионита заменяются ионами загрязнений. Восстановление свойств ионитов осуществляется путем их промывки растворителем, сушки и активации 5%-ным раствором едкого натра. Ионно-обменная очистка позволяет удалять из масла кислотные загрязнения, но не обеспечивает задержки смолистых веществ.
Селективная очистка отработанных масел основана на избирательном растворении отдельных веществ, загрязняющих масло: кислородных, сернистых и азотных соединений, а также при необходимости полициклических углеводородов с короткими боковыми цепями, ухудшающих вязкостно-температурные свойства масел.
В качестве селективных растворителей применяются фурфурол, фенол и его смесь с крезолом, нитробензол, различные спирты, ацетон, метил этиловый кетон и другие жидкости. Селективная очистка может проводиться в аппаратах типа "смеситель - отстойник" в сочетании с испарителями для отгона растворителя (ступенчатая экстракция) или в двух колоннах экстракционной для удаления из масла загрязнений и ректификационной для отгона растворителя (непрерывная экстракция). Второй способ экономичнее и получил более широкое применение.
Разновидностью селективной очистки является обработка отработанного масла пропаном, при которой углеводороды масла растворяются в пропане, а асфальтосмолистые вещества, находящиеся в масле в коллоидном состоянии, выпадают в осадок.
Химические методы очистки основаны на взаимодействии веществ, загрязняющих отработанные масла, и вводимых в эти масла реагентов. При этом в результате химических реакций образуются соединения, легко удаляемые из масла. К химическим методам очистки относятся кислотная и щелочная очистки, окисление кислородом, гидрогенизация, а также осушка и очистка от загрязнений с помощью окислов, карбидов и гидридов металлов. Наиболее часто используются:
Сернокислотная очистка. По числу установок и объему перерабатываемого сырья на первом месте в мире находятся процессы с применением серной кислоты. В результате сернокислотной очистки образуется большое количество кислого гудрона - трудно утилизируемого и экологически опасного отхода. Кроме того, сернокислотная очистка не обеспечивает удаление из отработанных масел полициклических аренов и высокотоксичных соединений хлора.
Гидроочистка. Гидрогенизационные процессы все шире применяются при переработке отработанных масел. Это связано как с широкими возможностями получения высококачественных масел, увеличения их выхода, так и с большой экологической чистотой этого процесса по сравнению с сернокислотной и адсорбционной очистками.
Недостатки процесса гидроочистки - потребность в больших количествах водорода, а порог экономически целесообразной производительности (по зарубежным данным) составляет 30-50 тыс. т/год. Установка с использованием гидроочистки масел, как правило, блокируется с соответствующим нефтеперерабатывающим производством, имеющим излишек водорода и возможность его рециркуляции.
Процессы с применением натрия и его соединений Для очистки отработанных масел от полициклических соединений (смолы), высокотоксичных соединений хлора, продуктов окисления и присадок применяются процессы с использованием металлического натрия. При этом образуются полимеры и соли натрия с высокой температурой кипения, что позволяет отогнать масло. Выход очищенного масла превышает 80%. Процесс не требует давления и катализаторов, не связан с выделением хлоро - и сероводорода. Несколько таких установок работают во Франции и Германии. Среди промышленных процессов с использованием суспензии металлического натрия в нефтяном масле наиболее широко известен процесс Recyclon (Швейцария). Процесс Lubrex с использованием гидроксида и бикарбоната натрия (Швейцария) позволяет перерабатывать любые отработанные масла с выходом целевого продукта до 95%.
Для регенерации отработанных масел применяются разнообразные аппараты и установки, действие которых основано, как правило, на использовании сочетания методов (физических, физико-химических и химических), что дает возможность регенерировать отработанные масла разных марок и с различной степенью снижения показателей качества.
Необходимо отметить, что при регенерации масел возможно получать базовые масла, по качеству идентичные свежим, причем выход масла в зависимости от качества сырья составляет 80-90%, таким образом, базовые масла можно регенерировать еще по крайней мере два раза., но это возможно реализовать при условии применения современных технологических процессов.
Одной из проблем, резко снижающей экономическую эффективность утилизации отработанных моторных масел, являются большие расходы, связанные с их сбором, хранением и транспортировкой к месту переработки.
Организация мини-комплексов по регенерации масел для удовлетворения потребностей небольших территорий (края, области или города с населением 1-1,5 млн. человек) позволит снизить транспортные расходы, а получение высококачественных конечных продуктов - моторных масел и консистентных смазок, приближает такие мини-комплексы по экономической эффективности к производствам этих продуктов из нефти!
1.2 Очистка воды после мойки автомобиля
Характерными загрязнителями сточных вод, образующихся на мойке автомобилей, являются нефть и нефтепродукты. Нефтесодержащие воды представляют собой сложную гетерогенную полидисперсную систему и содержат помимо частиц нефтепродуктов различных размеров загрязнения минерального (песок, глинистые частицы, продукты коррозии, растворы солей) и органического происхождения. При этом нефтепродукты могут находиться в эмульгированном состоянии (размер частиц от 100 до 0,1 мк), в коллоидном (от 0,1 до 0,001 мк) и в растворенном, составляя с водой однофазную систему (менее 0,001 мк). Концентрация растворенных в воде нефтепродуктов в основном зависит от их вида и молекулярного веса. Растворимость дизельного топлива составляет 0,78 мг/л, сырой нефти - 1,46 мг/л, бензина А76 - 46 мг/л. В связи с необходимостью устанавливать на АЗС локальные очистные сооружения для очистки дождевых вод и стоков от мойки автомобилей, в Петербурге появилось большое количество фирм, предлагающих подобные установки. Наиболее часто на автозаправках можно встретить установки отечественных фирм ''Полихим'', ''Потенциал-2'', 'Экотранс'', ''Севзапналадка'', а также финские ''Labko'' и немецкие ''Karcher''. Предлагаемые этими фирмами технологические схемы очистки сточных вод различны, например ''Экотранс'' и ''Karcher'' используют реагентную коагуляцию, ''Потенциал-2'' - электрокоагуляцию, ''Полихим'' совмещает электрокоагуляцию с предварительным анодным окислением и флотацией. Далее перечисленные установки будут рассмотрены более конкретно. К фирмам, использующим при очистке сточных вод от моек автомобилей электрохимические методы очистки, относится НИЦ "Потенциал-2", производящий водоочистные комплексы "УКОС-АВТО". Очистка воды должна обеспечиваться применением комбинированной технологии, включающей механическую, электрохимическую и физико-химическую очистку. Водоочистной комплекс включает в себя гидроциклон-осветлитель, электрокоагулятор с алюминиевыми электродами, контактный осветлитель и адсорбер. Комплекс оснащен бункером осадка, устройством промывки контактного осветлителя, емкостью очищенной воды, контейнером для твердых отходов и сборником нефтепродуктов. Все элементы комплекса размещены в одном корпусе. На наш взгляд, применение метода электрокоагуляции для очистки стока от мойки автомобилей, содержащего до 3000 мг/л взвешенных веществ, ведет к неоправданно большому расходу электроэнергии. Этот недостаток усиливается из-за эффекта пассивации электродов. Также представляет проблему преимущественное адсорбирование на образующихся хлопьях гидроксида алюминия молекул ПАВ, содержащихся в большом количестве в оборотной воде от мойки автомобилей, что приводит к уменьшению эффекта очистки по взвешенным веществам и нефтепродуктам. К слову сказать, вызывает недоумение желание фирмы "Потенциал-2" все проблемы водоочистки решить электрокоагуляцией - то они предлагают очищать таким образом хоз-бытовой сток (такая попытка потерпела фиаско на компрессорной станции "Лентрансгаза"), то сточные воды завода по производству маргарина. Постоянство, конечно, черта хорошая, но, как нам кажется, не в данном случае - к каждому стоку нужно все-таки подходить индивидуально.
НПФ ''Экотранс'' производит очистные малогабаритные блочно - модульные установки оборотного водоснабжения для мойки легковых автомобилей ''Сова'' с производительностью 1; 1,5; 2,5 м3 /ч (Сова-1000, 1500, 2500). Технологический процесс очистки воды включает в себя реагентную флотацию, тонкослойное отстаивание и фильтрование через синтетическую загрузку. Реагентное хозяйство для них не требуется, внутри самой установки предусматривается бак реагента, откуда коагулянт по каплям подается в очищаемую воду. Очевидный недостаток такой схемы, как и метода флотации в целом при использовании его в малопроизводительных сооружениях для очистки стока с большим количеством ПАВ - активное пенообразование, относительно большое количество образующегося осадка, сложность наладки. К тому же примененный здесь метод диспергирования воздуха через патрон-аэратор очевидно менее эффективна, чем напорная флотация. Реагентная схема очистки сама по себе безусловно, не является недостатком, но вызывает вопрос ее использование на очистных сооружениях мойки автомобилей в связи с очевидностью того, что реагент в лучшем случае будет заливаться от случая к случаю. Без реагента же флотация превращается в барботирование воды воздухом.
Научно-технологический Центр "Астра-Тех" (г. Москва) производит установки для оборотного водоснабжения моек автомобилей "Аист-М-0,5; 1,0; 2,0" производительностью соответственно 0,5 м3 /ч; 1,0 м3 /ч; 2,0 м3 /ч. В состав установок входят реагентный блок, камера хлопьеобразования, тонкослойный отстойник, песчаный фильтр и емкость чистой воды. Стоки после мойки автомобилей собираются в приямке под автомобилем, где происходит частичное выделение грубодисперсных примесей и капельных нефтепродуктов. Сточная вода, собранная после мойки автомобиля, под напором подается на вход установки - в смеситель, куда подается также реагент - флокулянт "SUPERFLOCA100", а затем поступает в камеру хлопьеобразования, где при механическом воздействии мешалки происходит формирование хлопьев. Затем вода поступает в отстойник, после которого самотеком подается на фильтр с загрузкой из кварцевого песка, где фильтруется в направлении сверху вниз.
Фильтр периодически промывается в направлении снизу вверх с помощью насоса из резервуара чистой воды. Более классическую схему очистки воды сложно придумать. Однако, на наш взгляд то, что подходит для водопроводных очистных сооружений, вовсе не обязательно должно подходить для очистки такого специфического стока, как оборотная вода от мойки автомобилей.
Выше уже было подробно сказано о нерациональности применения в подобных схемах реагентов из-за преимущественного адсорбирования на образующихся хлопьях молекул ПАВ и из-за необязательности обслуживающего персонала, не следящего надлежащим образом за очистными сооружениями.
Для очистки сточных вод от мойки автомобилей применяется установка немецкой фирмы ''Karcher''. В основе ее схемы лежит реагентная обработка воды с последующей фильтрацией через тканевый фильтр. В установке используются 2 реагента: катионный полимер RM 847, обеспечивающий очистку воды от минеральных масел и RM 851 на основе перекиси водорода (35%).
Эта установка не получила большого распространения в связи с дороговизной импортных реагентов и необходимостью частой замены тканевого фильтра. Как сообщается, опыт применения подобных установок оказался неудачным как в Петербурге, так и в Петрозаводске.
Очистка сточных вод, образующихся при мойке легковых и грузовых автомобилей, автобусов, мотоколясок и мотоциклов.

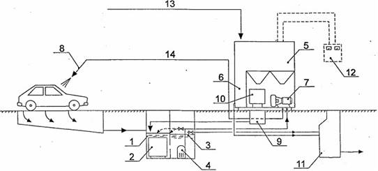
Блочно-модульная станция для очистки сточных вод включает (см. рисунок) производственное помещение с закрытым решеткой водосборником под обрабатываемым автомобилем, приемным колодцем с двумя 1 и 3 сообщающимися секциями, приямком 9 и колодцем канализации 11, размещенные в секциях колодца контейнер 2 для сбора твердых загрязнений и погружной самовсасывающий насос 4 установленный в удобном месте силовой блок питания 12. трубопроводы подачи очищенной воды 14 к форсунке 8 и подвода подпиточной технической воды 13, а также собственно устройство 5 комплексной очистки стоков (УКОС-АВТО).
В состав УКОС-АВТО входят размещенные в одном корпусе гидроциклон-осветлитель, контейнер 10 для осадка, электрореактор, контактный осветлитель, адсорбер, промыватель контактного осветлителя, емкость 6 для очищенной воды и насосы очищенной 7 и грязной воды.
Предлагаемый комплекс имеет 4 ступени очистки сточных вод. На первой ступени в гидроциклоне-осветлителе вода очищается от механических примесей и не эмульгированных нефтепродуктов в виде пленки.
После механической очистки предусмотрена обработка сточных вод в электрореакторе со стальными или алюминиевыми электродами, где происходит коагуляция микрочастиц примесей и эмульгированных нефтепродуктов.
Затем сточные воды проходят контактное осветление в слое синтетического материала - плавающей загрузке при механическом задержании коагулированных примесей.
Глубокая финишная доочистка сточных вод осуществляется адсорбцией, в результате которой происходит поглощение примесей из очищаемой воды высокопористым гранулированным материалом.
В результате комбинированной технологии, сочетающей механическую, электрохимическую и физико-химическую очистки, воду можно использовать в системе оборотного водоснабжения или сбрасывать в канализацию. После дополнительной глубокой доочистки вода может отводиться в водоем или реку.
На блочно-модульные комплексы имеется Гигиеническое заключение №78.01.03.361. Т.09891.10 98 Министерства здравоохранения.
1.3 Восстановление шин
И действительно, если шины износились, зачем покупать новые, когда их можно восстановить или приобрести уже восстановленные. Это выходит ходит дешевле и выгоднее для транспортных компаний. Тем более что современные технологии позволяют произвести качественное вторую "жизнь", практически на 100% равную первой.
В мировой практике существуют две технологии продления жизни шин: горячая наварка и холодная. Первый способ предполагает следующие действия: шерохование колеса, очищение остаточного протектора; только затем колесо помещается в пресс-форму, где и происходит наварка на каркас состава из сырой резины. Эта технология более старая и требует больших капиталовложений, поэтому сейчас от нее отказываются.
Восстанавливают шины в настоящее время преимущественно по технологии так называемой "холодной наварки". Принцип практически остается тот же самый, что и в первом случае. Главное отличие его состоит в том, что на каркас накладывается уже предвулканизованная протекторная лента, которая приклеивается (вулканизируется) к каркасу в автоклаве под воздействием температуры и давления. А это дает большие преимущества данной технологии. Способом "горячей наварки" шину восстанавливают только один раз. Холодное восстановление можно делать 3-4 раза при условии, что каркас не "убитый". Температура, при которой происходит вулканизация t = + (105-115) ° С. Это допустимый нагрев для шины. При горячем восстановлении температура достигает +150° С. Происходит нежелательный перегрев шины, сродни перегреву шины при ее неправильной эксплуатации, и второму восстановлению шина уже не подлежит из-за нарушения связи между металлическим брокером и резиной. Фирма "Новый протектор" занимается возрождением к новой "жизни" грузовых шин, применяя самый распространенный в настоящее время метод холодной наварки, используя в своей практике последние технологические разработки компании "GOODYEAR". Директор фирмы рассказал об особенностях данной технологии. Холодную наварку можно осуществлять тремя способами. Наиболее простым и доступным является процесс Unitac (Юнитак). По существу, это самый традиционный вид холодного восстановления, при котором используется ровная плоская протекторная лента. Принцип наварки заключается в следующем: счищается остаточный протектор с колеса, и на каркас накладывается предвулканизированная протекторная лента.
За ним следует другой технологический уровень - Uniwing (Юнивинг). Его отличие от первого способа состоит в том, что очищение остаточного протектора делается по контуру шины, соответственно лента повторяет радиус кривизны отшерохованного каркаса. Для такого сложного шерохования используется специальный шероховальный станок с программным обеспечением, содержащим данные о различных моделях покрышек. Достоинства технологии Uniwing позволяют максимально очистить шину от старого протектора, что существенно облегчает ее вес, приготовив для наложения нового протекторного слоя. Благодаря этим новациям, шина в процессе эксплуатации, или "второй жизни", будет ходить дольше и дальше.
Второе преимущество этой технологии состоит в том, что контурная лента цепляется краями за боковины шин. Это создает дополнительное поверхностное крепление. Таким образом, благодаря контурному шерохованию, лента Uniwing крепче держится на каркасе.
Но наибольшую популярность принесло использование технологии Unicircle (Юнисёкл). Ее преимущества позволяют монтировать на отшерохованный каркас протектор в виде сплошного бесшовного кольца.
При раскрое ленты, в параметрах первых двух методов, остаются отрезки различной длины, из которых труднее смонтировать качественную покрышку. Довольно часто при монтаже ленты на каркасе не совпадает рисунок протектора в месте стыка. И хотя этот недостаток несущественен, некоторых клиентов такое положение дел не устраивает. Другое дело - Unicircle. Готовое кольцо выпускается в тех же геометрических конфигурациях, что и новая шина. Накладывается оно на каркас равномерно, без напряжений и стыков. Так же как в Uniwing при шероховании повторяется контур каркаса, что позволяет максимально уменьшить вес и увеличить поверхность контакта с новым протектором, а протекторное кольцо имеет крылья, заходящие на боковину шины. Технология Unicircle обеспечивает явно самое высокое качество восстановления шин.
Технология Unicircle на российском рынке является нашим эксклюзивном на сегодняшний день. Она и в Европе не очень распространена, потому что такие общеизвестные фирмы как "Bandag" и "Kraiburg", занимающиеся восстановлением шин, используют только плоское шерохование. Но для наших дорог самый приемлемый способ - это Unicircle. Пробег шин, восстановленных по данной технологии, достигает 280000 км, - говорит Владимир Добрынин.
А с какими шинами вы в основном работаете: отечественного или западного производства? - Фирма работает с шинами любых западных производителей, так называемыми, шинами ЦМК (цельнометаллический корд). На сегодняшний день в России шины ЦМК производит только одно предприятие - "Ярославский шинный завод". Это шины торговой марки "Медведь".
По каким критериям вы оцениваете состояние шины? - Основная проблема при восстановлении - это состояние каркаса, или корда шины, потому что большинство шин, выпускаемых в России, нецельнометаллические. Они не выдерживают больших пробегов. А так как мы даем основательные гарантии на восстановленные шины, нам нужен качественный исходный продукт. Вот поэтому мы работаем с шинами зарубежного производства.
Какие гарантии вы даете на восстановленные шины? - Мы даем гарантии без ограничения по пробегу, до меток максимального износа, то есть это гарантия как на новую шину. Стандартный расчет пробега шины производится от глубины протектора. Если мы говорим о прицепной шине, то глубина протектора у нее 14-16 мм. Один миллиметр глубины протектора - это 10000 км пробега шины; соответственно приблизительный пробег будет 150000 км. Это стандартный пробег. У нас есть показатели в 200 000 км восстановленных нами прицепных шин. К тому же мы даем твердые гарантии на каркас восстановленной шины, купленной у нас.
А как вы определяете пригодность шины к восстановлению? - У нас стоит ультразвуковой сканер Technic Systems, который работает в водной среде. Мы используем этот точный прибор на этапе отбора каркасов для восстановления. С его помощью оператор получает возможность как бы заглянуть внутрь покрышки, не разрушая ее, чтобы оценить состояние брокера на предмет расслоения, повреждения, ржавчины. Это очень важно, поскольку в процессе эксплуатации шина испытывает нагрев, а при неправильной эксплуатации - значительный перегрев, который, в свою очередь, нарушает связь брекера с резиной. Таким образом, происходит внутреннее расслоение брокера, не всегда определяемое снаружи даже после шерохования. Этому особенно подвержены плечевые зоны покрышки. С помощью ультразвукового сканера мы можем определить места расслоения с целью их дальнейшего ремонта или отбраковки каркаса, если зоны расслоения значительны. Другими словами, покрышки, восстановленные после тестирования на ультразвуковом сканере, имеют стопроцентную целостность каркаса. После вулканизации покрышки проходят окончательный контроль качества опять же на сканере, где помимо расслоения брекера определяется также качество вулканизации нового протектора и ремонта (заплатки, грибки), если таковой имел место.
С какими повреждениями вы не беретесь восстанавливать шины? - Во-первых, это повреждения ободной зоны до корда. Большие повреждения в протекторной зоне, значительные боковые повреждения. Я хотел бы обратить внимание на шины внедорожных грузовиков. В частности, строительные компании редко обращаются за восстановлением и тем самым лишают себя возможности сэкономить лишний раз далеко нелишний рубль. Аргументируют они это тем, что новые шины не служат положенный им срок, постоянно режутся, прокалываются, наезжая на арматуру и острые камни. Но новая шина дороже восстановленной в 1,5-2 раза, а рваться и портиться на стройках она будет так же, как и восстановленная.
Что вы можете посоветовать автоперевозчикам по поводу шин? - Общие рекомендации следующие: следить за давлением, вовремя ремонтировать шины и не допускать эксплуатации шины дольше положенного срока. То есть, если дело дошло до меток максимального износа хотя бы в одном месте, то эту шину выгоднее восстановить, так как мы дадим ей "жизнь", почти равную жизни новой шины, нежели лишние 20000 км откатать на ней, а потом выкинуть.
Краткое описание технологического процесса восстановления шин на комплекте оборудования BANDAG. Процесс восстановления шин при использовании холодного способа по методу BANDAG. состоит из следующих операций:
1. Первоначальная проверка - возможно, самая важная часть процесса восстановления. Каркас - это несущая конструкция "хребтовина" при восстановлении автошины, поэтому очень важно отделить пригодные к восстановлению каркасы от непригодных. Проверка производится визуально и делится на:
проверку внутреннего слоя;
проверку бортов;
проверку боковины;
проверку коронки;
маркировку повреждений;
заполнение сопроводительной рабочей карточки.
2. Шерохование. - Устройство для шерохования удаляет слой материала предшествующего протектора и придает каркасу форму, размер и текстуру поверхности, которые необходимы для наложения нового протектора. Устройство для шерохования функционирует по принципу токарного станка. Каркас монтируется в специальном зажиме, надувается воздухом для приобретения твердости и упругости и раскручивается вместе с зажимом. Мощные обдирочные ножи-рашпили удаляют материал протектора. Каркас обрабатывается идеально кругло как для лучшего контакта с протектором, так и для лучшей балансировки автошины. При этом он обрабатывается, по копиру до заранее определенного профиля, ширины и радиуса. Эти параметры определяются специальными программами, заложенными в автоматику устройства шерохования и зависят от размеров колеса, типа восстанавливаемого протектора и фирмы - производителя. Шероховатость обработанной поверхности должна быть как можно более мелкой, чтобы обеспечить максимальное количество точек вулканизации и, таким образом, хорошее сцепление (адгезию). На этой стадии производится окончательная отбраковка каркаса, так как шерохование иногда вскрывает внутренние дефекты автошины, не замеченные при визуальном осмотре.
Состоит из следующих операций:
установка каркаса в станке;
определение радиуса шерохования;
непосредственно шерохование;
зачистка;
измерение.
3. Ультрозвуковая инспекция каркаса.
За один быстрый и удобный рабочий цикл станок сканирует каркас от борта до борта, не пропуская не единого повреждения. Все видимые повреждения и подозрительные участки, выявленные с помощью NDI® должным образом инспектируются, обрабатываются и ремонтируются. За счет этого повышается надежность и расширяются возможности восстановления протектора в будущем.
4. Зачистка и подготовка шины к восстановлению - выполняются только высококвалифицированным персоналом и только лучшими материалами. Поскольку в процессе шерохования снимается не только сам протектор, но и подпротекторная часть (состоящая из старой, "устаревшей" резины) этот слой нужно восстанавливать. Кроме того, необходим промежуточный слой из материала, который установит прочный контакт между старым каркасом и новым протектором. На слой резины наносится высокопрочный резиновый клей ("цементный раствор"), изготовленный на основе натурального каучука, который надежно приклеит новый протектор.
5. Подготовка протектора - заключается в
обрезке протекторной ленты на столе по определенной длине;
настольной стыковке протекторной ленты;
нанесении прослоенной резины (тоже в виде ленты)
6. Нанесение протектора - производится на накачанную шину давлением 1 бар при температуре 18 градусов Цельсия. Операция заключается в том, что на уже подготовленный каркас накладывается протекторная лента.
7. Упаковка в оболочку - подготовленный каркас с наложенной протекторной лентой помещается между двумя резиновыми камерами-оболочками, из которых выкачивается воздух. Этим достигается плотное сжатие каркаса и протектора.
8. Вулканизация - ключевыми факторами вулканизации являются точное соотношение времени, температуры и давления. Все параметры прохождения процесса в автоклаве регулируются автоматически. Подготовленные к отработке и упакованные в камеры-оболочки каркасы, с наклеенными протекторами, помещаются в автоклав и одновременно подсоединяются к вакуумному насосу, который продолжает отсасывать из оболочки воздух. Одновременно в автоклаве создается высокое давление не менее 6 бар. Благодаря этому технологическому приему протектор буквально вдавливается в каркас, а точно подобранная температура (98 - 105) градусов Цельсия довершает процесс химического сцепления в единое целое.
9. Финальная проверка - проводится пока шина еще горячая, так как на ней легче обнаружить возможные дефекты восстановления. Финальная проверка проводится визуальным методом.
2. Сравнительные характеристики шин при эксплуатации в зависимости от их конструкции
Классификация шин Маркировка шин Конструктивные элементы и основные размеры шин Многослойное внутреннее строение шины Необходимые качества шины Эксплуатация и уход за шинами
Классификация шин в зависимости от назначения:
для легковых автомобилей - для грузовых автомобилей по способу герметизации:
камерные - бескамерные по конструкции:
диагональные - радиальные по форме профиля поперечного сечения:
обычного профиля - широкопрофильные - низкопрофильные - сверхнизкопрофильные - арочные по типу рисунка протектора - летние - всесезонные - зимние - 4х4
Диагональные шины .Каркас диагональной шины состоит из определенного количества прорезиненных кордовых прокладок, края которых обвиваются вокруг проволочных кольцевых стержней (эти стержни обеспечивают посадку шины на диск). Все нити корда каркаса и брекера перекрещиваются в смежных слоях и имеют в средней части беговой дорожки углы наклона нитей корда каркаса и брекера 45° - 60°. Число смежных слоев обычно четыре. Конструкция диагональных шин устарела, но их продолжают выпускать (в основном для машин старых конструкций), потому что они относительно дешевы в производстве, их каркас менее подвержен разрушению при ударах и порезах.
Радиальные ши ны.В радиальных шинах (типа R) все нити корда каркаса расположены параллельно по радиусу от одного борта к другому. Нити корда брекера лежат аналогично диагональным, только под большим углом. При такой конструкции одного лишь каркаса недостаточно чтобы выдерживать усилия в поперечном направлении при езде по кривой, а также значительные нагрузки при ускорении. Поэтому они должны поддерживаться и дополняться другими элементами шины. Эту задачу берет на себя пояс стального корда, в котором два слоя наматываются попеременно под острым углом. Многие шины дополнительно стабилизируются нейлоновым бандажом.
Камерные шины .Состоят из покрышки и камеры с вентилем. Вентиль (обратный воздушный клапан) позволяет нагнетать воздух в шину и препятствует его выходу наружу.
Бескамерные шины .Отличаются наличием воздухонепроницаемого резинового слоя, наносимого под первый слой каркаса (вместо камеры). Герметичность в них достигается плотной посадкой покрышки на обод. Вентиль для нагнетания воздуха в шину размещается и герметизируется в отверстии обода колеса.
Летние шины .Их отличают четко выраженные продольные канавки для отвода воды из пятна контакта протектора с дорогой, слабо выраженные поперечные канавки и отсутствие микрорисунка. Кроме того, они всегда имеют плавный скругленный переход от протектора к боковинам.
Шины этого типа обеспечивают максимальное сцепление с сухой и мокрой дорогой, обладают максимальной износостойкостью и наилучшим образом приспособлены для скоростной езды. Но для движения по грунтовым (особенно мокрым) и зимним дорогам они малопригодны.
Скоростные шины. (категория Н и выше) отличаются повышенной способностью противостоять перегреву, сохранением стабильного коэффициента сцепления с дорогой независимо от особенностей качения на высокой скорости.
Всесезонные шины .Хорошо приспособлены для работы на сухом и мокром асфальте, отличаются удовлетворительной приспособленностью к зимним дорогам и большим износом, по сравнению с летними.
Рисунок протектора более разветвленный, элементы рисунка группируются в хорошо различимую дорожку и разделены канавками разной ширины: на элементах рисунка - "шашках" - имеются узкие прорези дополнительного микрорисунка.
Как правило, на таких шинах стоит маркировка all season, tous terrain или условные знаки (снежинка или капля).
Зимние шины .Предназначены для работы на заснеженных и обледенелых дорогах, сцепные качества покрытия которых могут изменяться в зависимости от ситуации, от минимальных (гладкий лед или каша из снега и воды) до небольших (укатанный снег на морозе). Рисунок протектора таких шин имеет четко выраженные шашки от продольных и поперечных канавок значительной глубины. У шашек сложный фигурный рельеф для увеличения рабочих боковых поверхностей, а также разветвленный микрорисунок.
Зимние шины обозначают индексом M + S. Зачастую они имеют строго определенное направление движения (указано стрелкой).
Более пластичная резина (для работы при низких температурах) зимних шин в летних условиях подвержена быстрому износу, перегреву, в протектор таких шин легко проникают мелкие твердые предметы.
Износостойкость зимних шин на 30-50% меньше летних еще и из-за специфического протектора.
Многие зимние шины позволяют устанавливать шипы противоскольжения или имеют их. При движении автомобиля при температуре воздуха - 10 0С в зоне контакта шины с дорогой всегда присутствует тонкий слой влаги (шина нагревается от трения и деформации). Поэтому на заснеженной дороге задача шипов противоскольжения - продавливать влажную пленку, играющую роль смазки, и обеспечивать надежный контакт шины с дорогой. Для каждой шины конкретного автомобиля и с учетом характера (интенсивности) движения подбирают наиболее подходящие по типоразмеру шипы. Некоторые фирмы указывают на боковине предпочтительный размер шипов.
4х4 - это разреженный рисунок шашечного типа с развитыми грунтозацепами по плечевой зоне, с мощными недеформируемыми шашками, часто не расчлененными прорезями.
Маркировка шин

Обозначения:
DOT - Department of Transportation (Министерство транспорта США) ETRTO - The European Tyre and Rim Technical Organization (Объединение европейских производителей шин и дисков, Брюссель) ECE - Economic Commission for Europe (Ведомство ООН в Женеве) FMVSS - Federal Motor Vehicle Safety Standards (Нормативы безопасности США)
1
Производитель (марка или фирменный знак)
1а
Наименование продукции
2
Обозначение типоразмера 205 - ширина шины в мм 55 - отношение высоты к ширине в% R - обозначение радиальной конструкции 15 - диаметр диска в дюймах
3
87 - индекс грузоподъемности V - индекс скорости
4
Tubeless - бескамерная
5
Страна - производитель
6
Показатель США для предельной грузоподъемности (max. Load rating) (545 кг на колесо=1201 фунт), 1 фунт соответствует 0,4536 кг
7
Tread: под протектором находится 5 слоев s (1 слой района (искусственного шелка), 3 слоя стального корда, 1 слой нейлона) Sidewall: внутренняя часть шины состоит из 1 слоя района (искусственного шелка)
8
Ограничение США для максимального давления воздуха - 44 Y (psi) (1 бар=14,5 psi)
9
Е - шина соответствует требованиям ECE R 30 (норматив по ЕСЕ) 4 - код страны, в которой производилось испытание (здесь Голландия)
10, 11, 12
США: гарантия производителя шин по выполнению определенных показателей качества в сравнении с установленным законом нормативами испытаний стандартных шин.
Treadwear: относительный ожидаемый километраж пробега по сравнению с специальным стандартным тестом США.
Traction: А, В или С - способность шины к торможению на влажном дорожном полотне.
Temperature: А, В или С термостойкость шины при высоких скоростях на испытательном стенде. С - удовлетворяет нормативные требования США (PMVSS 109).
13
Номер допуска согласно ECE R 30
14
Department of Transportation (Министерство транспорта США, ответственное за нормативы безопасности шин)
15
Код производителя:
шинный завод - типоразмер шины - вариант исполнения шины - дата изготовления (неделя изготовления, год изготовления)
Типоразмер шины

Например, 195/60R14 информирует:
1 - о ширине ее профиля (195). Ширина профиля шины представляет собой выраженное в миллиметрах линейное расстояние между наружными сторонами боковин накачанной шины без учета возвышений из-за наличия маркировки, отделки или защитных поясов или ободов;
2 - об отношении высоты профиля к его ширине (60), выраженном в процентах.
Высота профиля представляет собой половину разности общего диаметра и номинального диаметра обода. В процессе развития конструкций шин их форма изменялась от почти круговой до более широких типов с более плоской поверхностью. При этом отношение высоты профиля к его ширине изменялось от 100% до 70%, 60%, 50% и до еще меньших значений.
Это отношение (Н/В, где Н - высота, В - ширина) принято называть серией шины. Серия - исключительно важный параметр, от него во многом зависят ездовые качества шин. Некоторые фирмы (в основном, американские) ставят перед обозначением размера буквы Р (Passenger), подчеркивая тем самым, что данная шина предназначена для легковых автомобилей (например Р195/60R14), LT (Light Truck) - шина для легкого грузовика;
3 - буква R означает радиальную "RADIAL" конструкцию шины и монтажный диаметр обода. Диаметр обода измеряется как в дюймах, так и в миллиметрах. При переводе надлежит считать 1 дюйм = 25,4 мм. В соответствии с европейской инструкцией ЕСЕ-R 30 за обозначением размера шин для легковых автомобилей идет обозначение эксплуатационных характеристик, состоящее из коэффициента нагрузки и условного обозначения скорости.
Индекс грузоподъемности (коэффициент нагрузки) обозначает предельную весовую нагрузку, которую способна выдержать шина. Проставленное на шине двузначное число математически никак не привязано к конкретным килограммам - это просто условный индекс. В приведенной ниже таблице показывается соотношение между:
коэффициентом нагрузки (КН) - первая цифра
фактическими значениями нагрузки в кг (ФН) - вторая цифра
| КН | ФН | КН | ФН | КН | ФН | КН | ФН | КН | ФН |
| 50 | 190 | 66 | 300 | 82 | 475 | 98 | 750 | 114 | 1180 |
| 51 | 195 | 67 | 307 | 83 | 487 | 99 | 775 | 115 | 1215 |
| 52 | 200 | 68 | 315 | 84 | 500 | 100 | 800 | 116 | 1250 |
| 53 | 206 | 69 | 325 | 85 | 515 | 101 | 825 | 117 | 1285 |
| 54 | 212 | 70 | 335 | 86 | 530 | 102 | 850 | 118 | 1320 |
| 55 | 218 | 71 | 345 | 87 | 545 | 103 | 875 | 119 | 1360 |
| 56 | 224 | 72 | 355 | 88 | 560 | 104 | 900 | 120 | 1400 |
| 57 | 230 | 73 | 365 | 89 | 580 | 105 | 925 | 121 | 1450 |
| 58 | 236 | 74 | 375 | 90 | 600 | 106 | 950 | 122 | 1500 |
| 59 | 243 | 75 | 387 | 91 | 615 | 107 | 975 | 123 | 1550 |
| 60 | 250 | 76 | 400 | 92 | 630 | 108 | 1000 | 124 | 1600 |
| 61 | 257 | 77 | 412 | 93 | 650 | 109 | 1030 | 125 | 1650 |
| 62 | 265 | 78 | 425 | 94 | 670 | 110 | 1060 | 126 | 1700 |
| 63 | 272 | 79 | 437 | 95 | 690 | 111 | 1090 | 127 | 1750 |
| 64 | 280 | 80 | 450 | 96 | 710 | 112 | 1120 | 128 | 1800 |
| 65 | 290 | 81 | 462 | 97 | 730 | 113 | 1150 | 129 | 1850 |
Индекс скорости.
Условное обозначение скорости показывает максимальную расчетную скорость шины. В приводимой ниже таблице указывается эквивалентная максимальная скорость в км/ч. В старом обозначении шин условное обозначение скорости помещалось внутри обозначения размера на боковине (например 155SR13).
| индекс | J | K | L | M | N | P | Q | R | S | T | U | H | V | VR | W | Y | ZR |
| км/ч | 100 | 110 | 120 | 130 | 140 | 150 | 160 | 170 | 180 | 190 | 200 | 210 | 240 | >210 | 270 | 300 | >240 |
Шины имеющие маркировку "VR" - сконструированы для скоростей превышающих 210 км/ч
Шины имеющие маркировку "ZR" - сконструированы для скоростей превышающих 240 км/ч
Шины маркированные "V" совместно с индексом грузоподъемности, например 91V, предназначены для скоростей превышающих 210 км/ч до 240 км/ч. (Данный индекс грузоподъемности указан для скорости 210 км/ч. Нагрузка должна быть уменьшена на 3% для каждого увеличения скорости на 10 км/ч до 240 км/ч)
Шины маркированные "W" совместно с индексом грузоподъемности, например 100W предназначены для скоростей превышающих 240 км/ч до 270 км/ч. (Данный индекс грузоподъемности указан для скорости 240 км/ч. Нагрузка должна быть уменьшена на 5% для каждого увеличения скорости на 10 км/ч до 270 км/ч)
Шины маркированные индексом скорости "W", могут иметь дополнительную маркировку "ZR"
Шины маркированные "Y" совместно с индексом грузоподъемности, например 95Y предназначены для скоростей превышающих 270 км/ч до 300 км/ч. (Данный индекс грузоподъемности указан для скорости 270 км/ч. Нагрузка должна быть уменьшена на 5% для каждого увеличения скорости на 10 км/ч до 300 км/ч)
Скоростная категория, присваиваемая шине по результатам специальных стендовых испытаний, подразумевает МАКСИМАЛЬНУЮ скорость, выдерживаемую шиной. То есть ту скорость, при малейшем превышении которой никто не может гарантировать, что шина не начнет разваливаться. А для эксплуатации устанавливается "щадящий" режим - Ваш автомобиль должен бегать со скоростью на 10-15% меньшей, нежели та, которую "допускают" шины.
Конструктивные элементы и основные размеры шин


D - наружный диаметр H - высота профиля покрышки B - ширина профиля d - посадочный диаметр обода колеса (шины) 1 - каркас 2 - брекер 3 - протектор 4 - боковина 5 - борт 6 - бортовая проволока 7 - наполнительный шнур Каркас (1) - главный силовой элемент шины (покрышки), который придает ей прочность и гибкость. Представляет собой один или несколько слоев обрезиненного корда.
Брекер (2) - подушечный слой (пояс), представляет собой резинотканевую или металлокордную прослойку по всей окружности между каркасом и протектором. Брекер состоит из двух и более слоев обрезиненного корда.
Протектор (3) - " беговая" часть шины (покрышки), непосредственно контактирующая с дорогой. Представляет собой толстый слой специальной износостойкой резины, состоящий из сплошной полосы (закрывающей брекер) и наружной рельефной части, которая и называется собственно протектором. Рисунок рельефной части определяет приспособленность шины в различных дорожных условиях.
Боковина (4) - тонкий эластичный слой резины толщиной 1,5-3,0 мм на боковых стенках каркаса. Защищает каркас от механических повреждений, проникновения влаги. На боковину наносят наружную маркировку шины.
Борт (5) - жесткая посадочная часть покрышки для фиксации шины на ободе колеса. Состоит из слоя корда каркаса, завернутого вокруг проволочного кольца (6), и твердого наполнительного резинового шнура (7). Борта придают шине нерастягивающуюся конструкцию и необходимую структурную жесткость при номинальном внутреннем давлении воздуха.
Многослойное внутреннее строение шины

Конструкционные части шины:
1 - Протектор 2 - Бандаж 3 - Пояса-слои стального корда 4 - Прокладки из текстильного корда 5 - Внутренний слой 6 - Бортовые полосы 7 - Крыльевая лента 8 - Кольцевой стержень 9 - Бортовая защитная лента
Каркасы. Внутренний слой .
Материал: Бутилкаучук Задачи:
Уплотнение наполненного воздухом внутреннего пространства - В современных (бескамерных) шинах заменяет камеру.
Кольцевой стержень .
Материал: Покрытая каучуком стальная проволока Задачи: Обеспечивает прочную посадку шины на диск.

Материал: Синтетический каучук Задачи:
Стабильность при езде - Точная управляемость - Оказывает решающее влияние на комфортность амортизации.

Материал: Нейлон, арамид Задачи:
Стабильность при езде - Точная управляемость

Материал: Природный каучук Задачи:
Защищает каркас от повреждений сбоку и от воздействия погодных условий.

Кордовые текстильные прокладки
Материал: Район или полиэстер Задачи:
Оказывает сопротивление внутреннему давлению (избыточному давлению в шинах)

Покрышка. Стальной корд для поясных прокладок .
Материал: Высокопрочный стальной корд Задачи:
Увеличивает стабильность формы и повышает устойчивость при езде - Снижает сопротивление качения - Увеличивает километраж пробега шины.

Бандаж .
Материал: Покрытый каучуком нейлон Задачи:
Улучшает пригодность шины для высоких скоростей и точность изготовления.

Материал: Синтетический и природный каучук Задачи:
Поверхность протектора обеспечивает сцепление с любой дорожной поверхностью и придает устойчивость и стабильность при езде - База снижает сопротивление качения и демпфирует передачу толчков на каркас - Боковина образует оптимальный переход протектора в боковую часть.

Для современных легковых автомобилей шина является важной деталью конструкции ходовой части и должна иметь ряд необходимых качеств. Она должна пружинить, амортизировать, обеспечивать выдерживание прямого направления, обладать хорошими свойствами протектора и высоким ожидаемым пробегом.
Кроме того, ей необходимо выдерживать высокие нагрузки в продольном и поперечном направлениях, чтобы обеспечить оптимальное и надежное сцепление с дорожным полотном.
Все перечисленные качества должны сохраняться независимо от состояния дорожного полотна (влага, грязь, снег).
Разнообразие требований предъявляемых при конструировании шин приводит их создателей к частичным компромиссам, когда приходится уравновешивать противоположные свойства. Например, от шин, предназначенных для автомобилей с мощным двигателем, ожидают высокого сцепления с дорожным полотном в любые погодные условия.
Соответствующее улучшение этого свойства приводит к снижению ожидаемого пробега, уменьшению сопротивления качению и комфортабельности езды.
Но все критерии при разработке шин подчинены одной цели: безопасности. Это глобальное понятие охватывает на практике большой объем различных требований.
При конструировании шин учитываются приведенные ниже семь аспектов, причем улучшение каждого отдельного аспекта влияет на многие другие свойства:
Вес шины
Устойчивость на дороге
Управляемость
Комфортабельность езды
Торможение на мокрой дороге
Аквапланирование
Сопротивление качения
Ожидаемый пробег
Шины являются единственным связующим звеном между автомобилем и дорогой.
При любых дорожных условиях безопасность зависит от пятна контакта сравнительно небольшого по площади. Таким образом, очень важно поддерживать шины в хорошем состоянии и при их замене использовать надлежащее оборудование.
Размер шин при первой комплектации на вашем автомобиле определяется конструкторами автомобилей и производителями шин с учетом всех аспектов эксплуатации. При их замене не следует изменять размеры, тип, индексы нагрузки и скорости, не проконсультировавшись предварительно со специалистом.
Монтаж и демонтаж шин.
Эти операции должны производится только профессионалами с использованием надлежащего оборудования. Неправильный монтаж может стать причиной несчастного случая или повреждения шины, камеры и обода.
Монтажшин, не совпадающих по типу и размеру. За исключением особых случаев и случаев использования запасного колеса, шины, монтируемые на одну ось, должны быть одного типа и размера.
Не рекомендуется, а в некоторых станах даже запрещено, монтировать на заднюю ось диагональные шины, если на передней оси установлены радиальные шины.
Монтажшинынаобод. Дополнительная информация. Необходимо монтировать шину так, чтобы маркировка DOT (расположенная в зоне борта) находилась с внешней стороны колеса. За исключением шин:
с предписанным направлением вращения
с белой боковиной
с защитным поясом на боковине
Монтаж бескамерной шины без камеры допускаются только на автомобили, оборудованные ободами для бескамерных шин (с хампом, с плоским хампом).
Категорически не рекомендуется монтировать бескамерную шину вместе с камерой, если производится монтаж на диск с ободом для бескамерной шины (с хампом, с плоским хампом).
Если подобный монтаж должен быть выполнен, при его осуществлении камеру следует накачивать очень медленно, чтобы облегчить выход воздуха, который может остаться между камерой и покрышкой.
Монтаж бескамерной шины на обод для камерной шины (без хампа, без плоского хампа) производится обязательно с камерой.
Монтаж камерной шины на обод для бескамерных или на обод для камерных шин осуществляется только вместе с камерой.
При монтаже бескамерных шин следует использовать вентиль, соответствующий ободу. Монтировать новый вентиль (или новую уплотнительную прокладку при использовании металлических вентилей) при каждой замене покрышки.
Чтобы облегчить хорошее прилегание борта, после монтажа легковых шин их следует накачать до 3,5 бар, а затем довести давление до уровня, необходимого для эксплуатации.
Внутреннее давление.
Соблюдение норм по внутреннему давлению шины имеет определенное значение для обеспечения безопасности движения. Недостаточный уровень внутреннего давления приводит к перегреву шины.
Эксплуатация автомобиля, на котором установлены шины с внутренним давлением ниже нормы, рекомендованный конструктором или производителем, может стать причиной повреждения шин. Эти повреждения необратимы: они могут вызвать разрушение шины и привести к резкой потере давления.
Отрицательные последствия недостаточного внутреннего давления не всегда дают знать о себе сразу и выявиться лишь через некоторое время после того, как вы восстановили внутреннее давление до нормы.
Необходимо регулярно, через каждые две недели, проверять уровень внутреннего давления, не забыв при этом о запасном колесе.
Контроль должен производится на "холодной" шине, так как в результате нагрева при эксплуатации давление в ней повышается.
НИКОГДА НЕ ПОНИЖАЙТЕ ДАВЛЕНИЕ В "ГОРЯЧЕЙ" ШИНЕ! Внутреннее давление, измеренное в "холодной" шине, должно всегда соответствовать норме, рекомендованной конструктором автомобиля или производителем шин.
Необходимо следить за плотной посадкой колпачка вентиля для обеспечения абсолютной герметичности и предохранения внутренний части вентиля.
Индексы нагрузки и скорости шин.
На большой части шин указаны эксплутационные характеристики типа индексов нагрузки (число) и скорости (буква).
Шины, установленные при первичной комплектации, предусмотрены для максимальной загрузки автомобиля.
Чтобы быть уверенным в том, что шины, монтируемые при замене, соответствуют техническим требованиям, обращайтесь к специалисту. Что касается зимних шин "M+S", их индекс скорости может быть ниже, чем у шин первичной комплектации, но в таком случае скорость движения должна соответствовать данному показателю. На автомобили, максимальная скорость которых превышает 160 км/ч, могут устанавливаться шины "M+S", имеющие индекс скорости ниже, чем предусмотренный производителем, но он должен, по крайней мере, равняться Q (160 км/ч).
Уход за шинами.
Следует регулярно производить осмотр шин, обращая особое внимание на:
протектор, чтобы проверить степень износа, наличие порезов, местных повреждений и посторонних предметов (частиц гравия, гвоздей и т.д.)
боковины, чтобы проверить наличие порезов, растрескиваний, степень износа и аномальные деформации
Следует безотлагательно устанавливать причины возникновения аномалий при движении: сильные вибрации, боковой увод в право или влево и т.д. В случае потери давления следует немедленно остановится, так как движение при внутреннем пониженном давлении приводит к повреждению элементов конструкции шины.
Необходимо демонтировать шину и определить причину потери давления.
При наличии какого-либо повреждения следует обратиться к специалисту, чтобы узнать его мнение о необходимости или возможности ремонта. Прежде чем приступить к ремонту, рекомендуется осмотреть ее внутреннюю часть, чтобы убедиться в отсутствии повреждений или посторонних предметов.
Замена шин.
Следует регулярно проверять глубину рисунка протектора. На шинах есть индикаторы, по которым владелец автомобиля может судить о степени износа протектора. Чем выше степень износа, тем больше риск проскальзывания на мокрой дороге.
В случае замены двух шин, с точки зрения поведения автомобиля на дороге, рекомендуется монтировать новые шины или наименее изношенные на заднюю ось. Если монтируются шины бывшие в эксплуатации необходимо заручиться мнением специалиста.
Для обеспечения безопасности рекомендуется использовать новую камеру для новой камерной шины и новый вентиль при монтаже новой бескамерной шины. Бескамерные шины следует монтировать только на диски, обода которых предназначены для камерных шин. Основные факторы, влияющие на долговечность шин. Независимо от уже перечисленных факторов срок службы значительного количества шин уменьшится из-за:
скорости и условий вождения: неровные дороги, резкое ускорение движения, частое торможение создают условия, которые могут значительно снижать срок службы шин (при скорости 120 км/ч шина изнашивается в 2 раза быстрее, чем при скорости 70км/ч);
температуры окружающей среды: износоустойчивость шины в немалой степени зависит и от температуры воздуха во время движения;
перегрузок: при перегрузке шины на 20% ее срок службы уменьшается на 30%;
недостаточного уровня внутреннего давления: при давлении на 20% ниже нормы наблюдается снижение срока службы в среднем на 30% ударов: бордюры тротуаров, движение по выбоинам на высокой скорости, камни и другие препятствия могут быть причиной повреждения шины, последствия которых не всегда проявляются сразу.
Основные показатели эксплуатации шин:

где Кпн и Кпв - это коэффициенты соответственно новым и восстановленным шинам для своих нормативных пробегов.
Кв
- коэффициент восстановления шины, где ![]()
- количество списанных в утиль из числа восстановленных.
Lобщ -общий пробег
Lн - начальный пробег до первичного восстановления.
- на сколько своевременно получает предприятие шины после восстановления и сколько полностью вводят их в эксплуатацию.
Для обезличенной формы используют показатель Кнр - коэффициент использования ресурса шин
Кнр - показывает:
исправность протектора
позволяет судить все этапы ресурса восстановления шин
сохранность ресурса восстановленных шин
полноту восстановления шин.
3. Производственные процессы ресурсосберегающих технологий
Техническое обслуживание представляет собой совокупность работ определенного назначения, каждая из которых, в свою очередь, состоит из операций, выполняемых в определенной последовательности, составляющей в целом технологический процесс.
Операция - это комплекс последовательных действий по обслуживанию агрегата или группы агрегатов автомобиля.
Под технологическом процессом ТО автомобиля понимается определенная последовательность выполнения работ и операций имеющих своей целью поддержание работоспособности автомобиля.
Основной задачей технологического процесса ТО является высокое качество выполняемых работ при наименьшей затрате рабочего времени, а следовательно, при наибольшей производительности труда рабочего.
Правильно организованный технологический процесс обеспечивает оптимальные затраты и безопасность труда, высокое качество работ, сокращение передвижения исполнителей, особенно, если 1 чел. Выполняет несколько операций, уравнение загрузки между исполнителями, персональную ответственность за качество выполнения закрепленных операций. Технологический процесс ТО и ТР осуществляется на рабочих постах, т.е. участке производственной площади, снабженной оборудованием и приспособлениями, предназначенном для размещения автомобиля и выполнения одной или нескольких однорядных работ и включающем в себя одно или несколько рабочих мест.
ТО автомобиля состоит из большого числа технологических операций, которые по своему назначению, характеру, условиям выполнения, применяемому оборудованию, инструменту и квалификации исполнительского состава объединяются в определенные группы работ.
Совокупность технологических процессов технического обслуживания и текущего ремонта представляет собой производственный процесс автотранспортного предприятия.
Литература
1. Положение о техническом обслуживании и ремонте подвижного состава автомобильного транспорта. М.: Транспорт, 1986.
2. Суханов, Б.Н. и др. Техническое обслуживание и ремонт автомобилей. Пособие по дипломному проектированию. М.: Транспорт, 1991.
3. Румянцев С.И. и др. Техническое обслуживание и ремонт автомобилей. Учебник для ПТУ. М.: Машиностроение, 1989.
4. Крамаренко Г.В., Барашков И.В. Техническое обслуживание автомобилей. М.: Транспорт, 1982.
5. Кузнецов Ю.М. Охрана труда на авторемонтных предприятиях. М.: Транспорт, 1990.
6. Семенов Н.В. Техническое обслуживание и ремонт автобусов. М.: Транспорт, 1987.
7. Механизация технического обслуживания и ремонта автомобилей и восстановление автомобильных шин. Под ред. С.И. Щуплякова. М.: ВДНХ, 1962.
8. Гаражное и авторемонтное оборудование. Каталог-справочник. М.: Транспорт, 1966.
Похожие рефераты:
Полные ответы на билеты по автоделу (экзамен 2002)
Проект автотранспортного парка для техобслуживания автомобилей
Разработка программы совершенствования организации международных перевозок
Особенности эксплуатации автомобильных шин
Исследование особенностей технической эксплуатации ходовой части автомобилей "Toyota"
Исследование трасологических следов, образующихся при наезде транспортных средств на пешехода
Организация перевозок и управление на транспорте
Проектирование зоны диагностики АТП
Модернизация подвески автомобиля ЗАЗ1102 Таврия
Организация дорожного движения на перекрестке ул. Карла Маркса и ул. 10 лет Независимости Казахстана
Техническая диагностика средств вычислительной техники
Повышение эксплуатационной и технической надежности автомобилей на ООО "ИГАТП"
