| Похожие рефераты | Скачать .docx |
Реферат: Атомно-эмиссионный спектральный анализ
Негосударственное некомерческое образовательное учреждение среднего профессионального образования "покровский горный колледж"
Контрольная работа
Атомно-эмиссионный спектральный анализ
Выполнил:
Учащийся группы
"Лаборант-аналитик"
Профессия: ОК16-94
Лаборант химического анализа
Оглавление
Введение
1. Атомно-эмиссионный спектральный анализ (АЭСА)
2. Атомизаторы
3 Процессы в пламени
4. Количественный атомно-эмиссионный анализ
5. Спектрографический анализ
6. Спектрометрический анализ
7. Визуальный анализ
Заключение
Список литературы
Введение
Цель практического эмиссионного спектрального анализа состоит в качественном обнаружении, в полуколичественном или точном количественном определении элементов в анализируемом веществе
Методы спектрального анализа, как правило, просты, экспрессные, легко поддаются механизации и автоматизации, т. е. они подходят для рутинных массовых анализов. При использовании специальных методик пределы обнаружения отдельных элементов, включая некоторые неметаллы, чрезвычайно низки, что делает эти методики пригодными для определения микроколичеств примесей. Эти методы, за исключением случаев, когда в наличии имеется лишь незначительное количество пробы, являются практически неразрушающими, так как для анализа требуются только малые количества материала образцов.
Точность спектрального анализа, в общем, удовлетворяет практическим требованиям в большинстве случаев определения примесей и компонентов, за исключением определения высоких концентраций основных компонентов сплавов. Стоимость спектрального анализа низка, хотя первоначальные капиталовложения достаточно высоки. Однако последние быстро окупаются вследствие высокой производительности метода и низких требований к материалам и обслуживающему персоналу.
Цели работы:
1. ознакомление с теорией атомно-эмиссионного спектрального анализа;
2. научиться разбираться в основных характеристиках оборудования АЭСА;
3. изучение методов АЭСА;
1. Атомно-эмиссионный спектральный анализ (АЭСА)
Методы анализа, основанные на измерении какого-либо излучения определяемым веществом носят названия эмиссионных. Эта группа методов основана на измерении длины волны излучения и его интенсивности.
Метод атомно-эмиссионной спектроскопии основан на термическом возбуждении свободных атомов или одноатомных ионов и регистрации оптического спектра испускания возбужденных атомов.
Для получения спектров испускания элементов, содержащихся в образце, анализируемый раствор в водят в пламя. Излучение пламени поступает в монохроматор, где оно разлагается на отдельные спектральные линии. При упрощенном применении метода светофильтром выделяется определенная линия. Интенсивность выбранных линий, которые являются характеристическим и для определяемого элемента, регистрируется с помощью фотоэлемента или фотоумножителя, соединенного с измерительным прибором. Качественный анализ проводится по положению линий в спектре, а интенсивность спектральной линии характеризует количество вещества.
Интенсивность излучения прямо пропорциональна числу возбужденных частиц N*. Поскольку возбуждение атомов имеет термическую природу, возбужденные и невозбужденные атомы находятся между собой в термодинамическом равновесии, положение которого описывается законом распределения Больцмана (1):
(1)
где N0 - число невозбужденных атомов;
g* и g0 - статистические веса возбужденного и невозбужденного состояния; E - энергия возбуждения;
k - постоянная Больцмана;
T - абсолютная температура.
Таким образом, при постоянной температуре число возбужденных частиц прямо пропорционально числу невозбужденных частиц, т.е. фактически общему числу данных атомов N в атомизаторе (поскольку в реальных условиях атомно-эмиссионного анализа доля возбужденных частиц очень мала: N* << N0 ). Последнее, в свою очередь, при заданных условиях атомизации, определяемых конструкцией и режимом работы прибора и рядом других факторов), пропорционально концентрации определяемого элемента в пробе С. Поэтому между интенсивностью испускания и концентрацией определяемого элемента существует прямо пропорциональная зависимость:
(2)
Таким образом, интенсивность эмиссионной спектральной линии может быть использована в качестве аналитического сигнала для определения концентрации элемента. Коэффициент а в уравнении (2) является сугубо эмпирической величиной, зависящей от условий процесса. Поэтому в АЭС решающее значения имеет правильный выбор условий атомизации и измерения аналитического сигнала, включая градуировку по образцам сравнения.
Метод широко применяется в аналитических целях в медицинских, биологических, геологических, сельскохозяйственных лабораториях.
эмиссионный спектральный атомизация фотометр
2. Атомизаторы
Основные типы источников атомизации и возбуждения приведены в таблице 1.
Таблица 1
| Тип источника атомизации | Т, ºC | Состояниепробы | С min, % масс | Относит. станд. отклонен |
| пламя | 1500 - 3000 | раствор | 10-7 – 10-2 | 0,01 – 0,05 |
| электрическая дуга | 3000- 7000 | твердая | 10-4 – 10-2 | 01 – 0,2 |
| электрическая искра | 10000 -12000 | твердая | 10-3 – 10 -1 | 0,05 – 0,10 |
Индуктивносвязанная плазма |
6000 - 10000 | раствор | 10-8 – 10 -2 | 0,01 – 0,05 |
Важнейшей характеристикой любого атомизатора является его температура. От температуры зависит физико-химическое состояние анализируемого вещества и, следовательно, величина аналитического сигнала и метрологические характеристики методики.
Пламя. Пламенный вариант метода основан на том, что определяемое вещество в виде аэрозоля вместе с используемым растворителем попадает в пламя газовой горелки. В пламени с анализируемым веществом протекает целый ряд реакций и появляется излучение, которое характерно только для исследуемого вещества и являющееся в данном случае аналитическим сигналом.
Схемы горелок, применяемых в методе фотометрии пламени, показаны на рис. 1. Ввод анализируемой жидкости в пламя обычно осуществляется путем ее пневматического распыления. Применяют распылители главным образом двух типов: угловые и концентрические, работающие вследствие создаваемого разряжения над отверстием распыляющего капилляра (или вокруг него), второй конец которого погружен в раствор анализируемой пробы. Вытекающая из капилляра жидкость разбрызгивается струей газа, образуя аэрозоль. Качество работы распылителя оценивают по отношению количества жидкости и газа (МЖ /МГ ), расходуемых в единицу времени.

Рис. 1. Горелки для атомно-эмиссионной пламенной спектрометрии:
а) и б) обычная горелка Меккера и усовершенствованная горелка: 1 — корпус горелки; 2 — поверхность, на которой формируется пламя; 3 — отверстия для выхода горючих газов; 4 — подача смеси горючих газов и аэрозоля; 5 — выступ на корпусе горелки с отверстиями; в) комбинированная горелка с разделением зон испарения — атомизации и возбуждения спектров: 1 — основная горелка с выступом и отверстиями в нем; 3 — вторая дополнительная горелка с однотипным или более высокотемпературным пламенем; 4 — пламя; 5 — зона регистрации излучения; 6 — подача смеси горючих газов в дополнительную горелку; 7 — подача смеси горючих газов и аэрозоля в основную горелку.
Для образования пламени готовят газовую смесь, состоящую из горючего газа и газа-окислителя. Выбор компонентов той или иной газовой смеси определяется, прежде всего, требуемой температурой пламени.
Таблица 2 содержит информацию о температурах различных племен в атомно-эмиссионном анализе и их основные характеристики.
Таблица 2 Характеристика племен, применяемых в атомно-эмиссионном анализе
| Состав смеси | T ºC | |
| Горючий газ | Окислитель | |
| метан CH4 | Воздух | 1700 -1900 |
| водород H2 | Воздух | 2000-2100 |
| ацетилен C2 H2 | Воздух | 2100-2400 |
| ацетилен C2 H2 | N2 O | 2600-2800 |
| ацетилен C2 H2 | O2 | 3050-3150 |
Существуют определённые аналитические характеристики пламени. Пламя, безусловно, должно быть стабильным, безопасным, и стоимость компонентов для его поддержания должна быть невысока; оно должно иметь относительно высокую температуру и медленную скорость распространения, что повышает эффективность десольватации и получения пара, и в результате приводит к большим сигналам эмиссии, абсорбции или флуоресценции. К тому же, пламя должно обеспечивать восстановительную атмосферу. Многие металлы в пламени имеют тенденцию образовывать устойчивые оксиды. Эти оксиды тугоплавкие, трудно диссоциируют при обычных температурах в пламени. Для повышения степени образования свободных атомов их необходимо восстановить. Восстановление может быть достигнуто почти в любом пламени, если создать скорость потока горючего газа по большей, чем это необходимо стехиометрии горения. Такое пламя называют обогащённым. Обогащенные пламёна, образуемые такими углеводородными горючими, как ацетилен, обеспечивают прекрасную восстановительную атмосферу, обусловленную большим количеством углерод-содержащих радикальных частиц.
Пламя – самый низкотемпературный источник атомизации и возбуждения, используемый в АЭС. Достигаемые в пламени температуры оптимальны для определения лишь наиболее легко атомизируемых и возбудимых элементов – щелочных и щелочно-земельных металлов. Для них метод фотометрии пламени является одним из самых чувствительных – до 10-7 % масс. Для большинства других элементов пределы определения на несколько порядков выше. Важное достоинство пламени – как источника атомизации – высокая стабильность и связанная с ней хорошая воспроизводимость результатов измерений (Sr – 0,01-0,05).
Выбор необходимой температуры пламени зависит от индивидуальных свойств определяемых веществ.
Если, например, необходимо определять легко возбуждающиеся вещества (щелочные металлы), то температура пламени может быть достаточно низкой.
Электрическая дуга. В АЭС используют дуговые разряды постоянного и переменного тока. Между парой электродов (как правило, угольных) пропускают электрический разряд. При этом в углубление одного из электродов помещают пробу в твердом состоянии. Температура дугового разряда составляет 3000 – 7000 ºC. Таких температур достаточно для атомизации и возбуждения большинства элементов, кроме наиболее трудновозбудимых неметаллов – галогенов. Поэтому для большого числа элементов пределы обнаружения в дуговом разряде ниже, чем в пламени, и составляют - 10-4 - 10-2 масс. %. Дуговые атомизаторы в отличие от пламенных, не обладают высокой стабильностью работы, поэтому воспроизводимость результатов не велика и составляет Sr – 0,1-0,2. Поэтому одна из основных областей применения дуговых атомизаторов - качественный анализ.
Электрическая искра. Искровой атомизатор устроен так же, как и дуговой и предназначен в первую очередь для анализа твёрдых образцов на качественном уровне.
Индуктивно связанная плазма (ИСП). Самый современный источник атомизации, обладающий наилучшими аналитическими возможностями и метрологическими характеристиками. Атомизатор с индуктивно связанной плазмой представляет собой горелку с аргоновой плазмой, которая инициируется искровым зарядом и стабилизируется высокочастотной индукционной катушкой. Температура аргоновой плазмы изменяется по высоте горелки и составляет 6000 – 10000 ºC. При столь высоких температурах возбуждается большинство элементов. Чувствительность метода составляет 10-8 - 10-2 масс. % в зависимости от элемента. Воспроизводимость характеристик аргоновой горелки высока, что позволяет в широком концентрационном диапазоне проводить количественный анализ с воспроизводимостью Sr – 0,01-0,05. Основной фактор, сдерживающий применение АЭС ИСП – дороговизна оборудования и расходных материалов, в частности аргона высокой чистоты, потребление которого при проведении анализа составляет 10-30 л/мин.

Рис. 6. Схема горелки для высокочастотного индукционного разряда:
1 — аналитическая зона; 2 — зона первичного излучения; 3 — зона разряда (скин-слой); 4 — центральный канал (зона предварительного нагрева); 5 — индуктор; 6 — защитная трубка, предотвращающая пробой на индуктор (устанавливается только на коротких горелках); 7, 8, 9 — внешняя, промежуточная, центральная трубки соответственно
3. Процессы в пламени
Анализируемое вещество МХ в виде аэрозоля попадает в пламя и там претерпевает ряд превращений:
MX(раствор) ↔ MX(твердое вещ.) ↔ MX(газ) ↔ M + X ↔ М+ + Х↔ …
M + hν
M*
M+
+ hν
(M+
)*
M* - возбужденное состояние определяемого элемента М.
На первой стадии происходит испарение используемого растворителя и образуются молекулярные формы ранее растворенных веществ в кристаллическом состоянии. Затем происходит процесс распада молекул анализируемых веществ. При достаточно низких температурах происходит распад молекул на атомы, при более высоких температурах может происходить процесс ионизации образовавшихся атомов, а при очень высоких температурах могут образовываться голые ядра и электронный газ.
На стадии атомизации атомарные частицы за счет столкновения друг с другом, либо за счет поглощения квантов излучения возбуждаются.
Возбуждение – это переход некоторых электронов атома на более высокий энергетический уровень.
В возбужденном состоянии атомы живут недолго (10-5 - 10-8 сек), потом они возвращаются в исходное состояние, испуская при этом квант энергии. Этот квант энергии, испускаемой возбужденным атомом – и есть аналитический сигнал в АЭС.
Интенсивность линии в спектре испускания может быть рассчитана по уравнению:
Iν исп. = hν 12 A12 N1
где h – постоянная Планка,
ν12 – частота перехода между состояниями атома 1 и 2, котораясвязана с длиной волны соотношением: νλ = c (с – скорость света),
А12 – коэффициент Эйнштейна, определяющий вероятность данного перехода,
N1 – число атомов, находящихся в состоянии 1.
В пламени кроме отмеченных основных процессов протекают и некоторые нежелательные процессы, приводящие к возникновению помех, мешающих определению.
Наиболее типичные помехи классифицируются следующим образом:
• помехи при образовании атомного пара
• спектральные помехи
• ионизационные помехи.
Помехи при образовании атомного пара наблюдаются в тех случаях, когда некоторый компонент пробы влияет на скорость испарения частиц, содержащих определяемое вещество. Источником таких помех может быть химическая реакция, влияющая на испарение твердых частиц, или физический процесс, при протекании которого испарение основных компонентов пробы влияет на образование пара атомов (молекул) определяемых веществ.
Примером такого влияния является определение кальция в присутствии фосфат-ионов. Установлено, что раствор кальция, содержащий фосфат-ионы, дает меньший сигнал в пламени, чем раствор кальция такой же концентрации, но в отсутствии фосфат-ионов.
Предполагается, что это явление обусловлено образованием стехиометрического соединения между кальцием и фосфатом, которое испаряется медленнее, чем кальций в отсутствие фосфат-ионов.
Доказательством такого предположения является то, что степень, с которой фосфат подавляет сигнал кальция, является наибольшей в точках, расположенных в нижней части пламени вне посредственной близости от края горелки. Если этот сигнал измерять в верхней части пламени, где содержащие кальций частицы имеют большее время для испарения, то величина сигнала увеличивается, поскольку освобождается большая часть атомов кальция, которые были связаны с фосфат-ионами.
Помехи, вызванные фосфат-ионами, можно свести к минимуму не только измеряя величину сигнала в верхней части пламени, но и другими способами.
Так, применение более совершенных конструкций распылителя и горелки позволяют получить очень тонкий аэрозоль, который легко образует после испарения растворителя мельчайшие частички анализируемого вещества, для испарения которых требуется гораздо меньше времени, и помехи от присутствия фосфат-ионов снижаются.
Увеличить скорость испарения частиц можно также путем увеличения температуры используемого пламени.
Помехи при образовании атомного пара могут быть сведенных к минимуму, или вовсе устранены, при использовании специальных веществ, которых называют "освобождающие агенты". Эти вещества способствуют высвобождению атомов кальция из медленно испаряющихся кальций - содержащих частиц.
Например, при добавлении к анализируемому раствору, содержащему ионы кальция и фосфат-ионы, больших количеств ионов лантана, атомизация кальция увеличивается в результате того, что с фосфат-ионами преимущественно связываются ионы лантана.
В качестве освобождающих агентов могут выступать комплексообразователи, например, этилендиаминтетрауксусная кислота, добавление которых к анализируемому раствору предотвращает образование соединения кальция с фосфат-ионами.
Другой тип освобождающих агентов способен образовывать матрицу, в которой могут быть диспергированы кальций и фосфат. Такие частицы в пламени очень быстро разлагаются и переходят в пар. Например, если к раствора, содержащему фосфат и щелочно-земельные элементы, добавить большое количество глюкозы, то после испарения растворителя частицы будут состоять в основном из глюкозы в которой распределены кальций и фосфат-ионы. Когда такие частицы разлагаются в пламени, то частички кальция с фосфатом имеют очень малые размеры и легко переходят в пар.
Второй нежелательный процесс, который имеет место в пламени при образовании атомного пара - это образование моноокисей металлов FeO, CaO, поскольку в составе горючего газа присутствует кислород):
Me + O →MeO
При этом моноокиси тоже могут возбуждаться и испускать свет, но в другой области длин волн. Устраняют этот процесс повышением температуры пламени.
Третий нежелательный процесс, происходящий в пламени при образовании атомного пара – образование карбидов МеС (в горючем газе присутствует углерод). Чтобы подавить этот процесс, следует строго подбирать необходимую газовую смесь и температуру.
Спектральные помехи возникают чаще всего по двум причинам.
Во-первых, может иметь место достаточная близость эмиссионных линий различных атомов анализируемого образца, которые в условиях фотометрии пламени воспринимается как излучение одного типа атомов. Например, наиболее чувствительная эмиссионная линия бария (553,56 нм) совпадает с широкой полосой, испускаемой СаОН. Для разрешения этой проблемы следует использовать спектральные диспергирующие системы высокого разрешения.
Во-вторых, спектральные помехи могут возникать и от самого используемого пламени. Поскольку области длин волн такого фонового излучения используемых пламен хорошо известны, помехи этого типа могут быть достаточно легко устранены.
Ионизационные помехи являются следствием протекания в пламени нежелательного процесса – процесса ионизации атомов исследуемых веществ:
Mg - ē → Mg+
Процесс ионизации при высоких температурах пламени может идти и дальше до полной потери всех электронов в атоме.
Образовавшиеся ионы также, как и атомы, могут возбуждаться, и, соответственно, излучать поглощенную энергию. Однако, безусловно, характеристики этого излучения будут отличаться от излучения возбужденных атомов.
Это обстоятельство затрудняет выполнение анализа, так как протекание процесса ионизации приводит к снижению концентрации определяемых атомов, т.е. снижает тот сигнал, который необходимо отследить, и на основе которого проводят расчет концентрации.
Этот процесс подавляют введением в анализируемый образец соли такого металла, атом которого отдает электроны легче, чем определяемый атом.
Из доступных солей, которые можно использовать для этой цели – это соли цезия. Они способны генерировать избыток электронов в пламени, и ионизация определяемых более трудно ионизирующихся атомов подавляется, т.е. анализируемые ионы при имеющемся избытке электронов легко переходят в атомы – в их аналитико-активную форму.
Можно подавить ионизацию определяемых атомов путем понижением температуры используемого пламени. Но с понижением температуры также падает и концентрация возбужденных атомов в пламени, что нежелательно.
Таким образом, интересующее нас излучение вызвано переходом электронов из возбужденного состояния в основное, которое определяется разностью энергий электронов на разных уровнях ∆Е.
Естественно, что для различных атомов в подавляющем большинстве ∆Е также различна.
Далее, ∆Е связана с частотой излучения, длиной волны, через скорость света и постоянной Планка уравнением Планка:
Е2
– Е1
= hν =
=
, где
h – постоянная Планка;
c – скорость света.
Зная ∆Е (величины табулированы), можно рассчитать длину волны излучения.
Если ∆Е выражается в эВ, зная ∆Е, можно рассчитать λ.
Например, для кальция ∆Е = 2,95 эВ, тогда
λCa
=
= 4200 Å
Если излучение пламени, содержащего кальций, пропустить через монохроматор, а затем сфотографировать, то это изображение будет иметь следующий вид и называться спектром испускания:

Рис. 1. Линейчатый спектр испускания
Естественно, что чем больше возможных электронных переходов, то тем больше число ν.
Такое изображение называют линейчатым спектром испускания, который является, "спектральным отпечатком" атома, потому что по набору этих линий, по их энергиям можно определить, какой атом присутствует в анализируемом растворе. Поэтому спектр – это мощная качественная характеристика вещества.
Существуют некоторые зависимости: чем больше температура, тем больше линий с большими энергиями переходов наблюдается. При невысоких температурах самая интенсивная линия будет определяться переходом электронов из первого возбужденного состояния в основное, например 3р → 3s.
Данный спектр пригоден не только для качественного, но и для полуколичественного анализа с точностью ± 0,5 порядка.
Полуколичественный анализ основан на том, что исчезновение, либо появление тех или иных линий в спектре, зависит от концентрации вещества. При самых низких концентрациях проявляются лишь самые жирные линии, при более высоких концентрациях линий больше, а при самых высоких – намного больше. Имеются таблицы, в которых приведены данные по концентрационным пределам появления либо исчезновения тех или иных линий, и это может быть использовано для полуколичественной оценки концентрации вещества.
Для анализа переходных металлов необходимо более высокотемпературное пламя, так как их возбуждение происходит только при высоких температурах, что обеспечивается применением горючих смесей состоящих из закиси азота и ацетилена, или кислорода и водорода.
4. Количественный атомно-эмиссионный анализ
Количественный атомно-эмиссионный анализ основан на использовании приборов двух типов:
• атомно-эмиссионных фотометров
• атомно-эмиссионных спектрофотометров.
С помощью этих приборов выделяется либо достаточно широкий участок в спектре, содержащий не только определяемую линию, либо более узкий участок спектра, содержащий только одну определяемую линию, и направляется далее на фотоэлемент или светодиод.
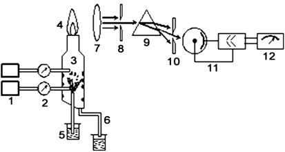
Простейшая схема атомно-эмиссионного фотометра (часто его называют пламенным фотометром) имеет следующий вид:

Рис. 2. Принципиальная схема пламенного фотометра
1 – емкости с компонентами горючей смеси, 2 – регуляторы давления,
3 – распылительная камера, 4 – горелка, 5 – исследуемый раствор,
6 – устройство для осушения распылительной камеры,
7 –фокусирующая линза, 8 – входная щель,
9 – призма, разделяющая излучение по длине волны, или светофильтр,
10 – выходнаящель,11- фотоэлектрический детектор,
12 – регистрирующее устройство
К экрану со щелью предъявляются определенные требования: экран должен быть как можно более широким, а щель как можно более узкой, чтобы пропустить без изменения только излучение от центральной части пламени горелки, т.е., чтобы излучение было линейным, либо близким к линейному.
Учитывая то обстоятельство, что Li, Cs в природе мало, а в основном встречаются К, Na, тем более, что различие в длинах волн излучения для К и Na составляет порядка 150 нм, прибор обычно комплектуется четырьмя светофильтрами, которые пропускают тот участок спектра, в котором находится излучение только одного из данного атома: светофильтр на К, на Na, на Li, на Cs. Более сложной системой является атомно-эмиссионный спектрофотометр. Атомно-эмиссионный спектрофотометр имеет одно существенное отличие от пламенного фотометра: содержит монохроматическую систему – трехгранную призму с подвижным экраном. Монохроматическая система в атомно-эмиссионном спектрофотометре выполняет туже функцию, что и светофильтр в атомно-эмиссионном фотометре: выделяет определенный участок спектра, который далее подается через щель на фотоэлемент. Принципиальное отличие этих приборов заключается в том, что монохроматор позволяет выделить гораздо более узкий участок спектра, чем светофильтр: участок шириной уровня2-5 нм, в зависимости от используемой системы. Существуют системы, позволяющие выделить еще более узкий участок спектра – это дифракционная решетка. Если сделать ее очень больших размеров, то можно выделить участок спектра шириной 0,01- 0,001 нм. Благодаря таким возможностям атомно-эмиссионный спектрофотометр позволяет исследовать высокотемпературные пламена, в которых присутствует много линий самых различных атомов. Еще большими аналитическими возможностями обладает многоканальный атомно-эмиссионный спектрофотометр. Его принципиальная схема отличается тем, что после монохроматора в многоканальном атомно-эмиссионном спектрофотометре расположен не фотоэлемент, а диодная линейка, где в разных положениях размещено до 1000 диодов. Каждый из диодов соединен с ЭВМ, обрабатывающей суммарный сигнал и передающей аналитический сигнал (измеряется сила тока от каждого диода).

Рис. 3. Принципиальная схема многоканального атомно-эмиссионного спектрофотометра: 1 – горелка, 2 – входная щель, 3 – призма, 4 – диодная линейка, 5 – регистратор
Выбор системы информации может быть различным. В дуговом и искровом вариантах атомно-эмиссионной спектрофотометрии спектр регистрируют с помощью фотографической пластинки, т.е фотографируют сам спектр. Анализ спектра дает полуколичественную информацию о составе вещества. Полуколичественный анализ вещества по спектру на пластинке основан на том, что интенсивность той или иной линии логарифмически связана с концентрацией вещества.
Количественные методы основаны на суммировании аналитического сигнала – усиленного фототока, полученного от светодиода либо от фотоэлемента, который обрабатывается компьютером, либо в простейшем случае подается на стрелочную шкалу прибора.
Сила фототока связана с концентрацией через коэффициент пропорциональности:
I = k×С
Коэффициент k будет постоянным при постоянных электрических характеристиках системы, а также при постоянных концентрациях аналитико-активной формы в пламени.
• Концентрация аналитико-активной формы в пламени зависит от очень многих параметров:
• от скорости подачи аэрозоля в пламя, которая, в свою очередь определяется давлением газа во всасывающей системе прибора,
• от температуры пламени, т.е. от соотношения горючий газ - газ-окислитель.
Однако, в узкий промежуток времени, например, в течение часа, коэффициент k можно обеспечить постоянным.
5. Спектрографический анализ
После получения спектра следующей операцией является его аналитическая оценка, которую можно проводить объективным либо субъективным методом. Объективные методы можно подразделить на непрямые и прямые. Первая группа охватывает спектрографические, а вторая — спектрометрические методы. В спектрографическом методе фотоэмульсия позволяет получить промежуточную характеристику интенсивности линии, в то время как спектрометрический метод основан на прямом измерении интенсивности спектральной линии с помощью фотоэлектрического приемника света. В субъективном методе оценки чувствительным элементом является человеческий глаз.
Спектрографический метод состоит в фотографировании спектра на подходящих пластинках или пленке с помощью соответствующего спектрографа. Полученные спектрограммы можно использовать для качественного, полуколичественного и количественного анализов.
Спектрографические методы спектрального анализа имеют особое значение. Это обусловлено главным образом высокой чувствительностью фотоэмульсии и ее способностью интегрировать интенсивность света, а также огромным объемом информации, заложенным в спектре, и возможностью сохранять эту информацию в течение длительного времени. Необходимые приборы и оборудование относительно недороги, стоимость материалов низка, метод несложен и легко поддается стандартизации. Спектрографический анализ пригоден для рутинного анализа и научных исследований. Его недостаток заключается в том, что вследствие трудоемкости фотографических операций он не пригоден для экспрессных анализов, и его точность ниже, например, точности спектрометрического или классического химического анализа. Спектрографический анализ получил большое развитие, особенно в области обработки огромного объема полезной информации, заключенной в спектре, с помощью автоматического микрофотометра, связанного с вычислительной машиной.
6. Спектрометрический анализ
Спектрометрический аналитический метод отличается от спектрографического метода по существу только способом измерения спектра. В то время как в спектрографическом анализе интенсивность спектра измеряют через промежуточную стадию фотографирования, спектрометрический анализ основан на прямом фотометрировании интенсивности спектральных линий. Прямое измерение интенсивности имеет два практических преимущества: из-за отсутствия продолжительной операции обработки сфотографированных спектров и связанных с ней источников погрешностей существенно возрастает как скорость анализа, так и воспроизводимость его результатов. В спектрометрическом анализе операции пробоотбора, подготовки и возбуждения спектров идентичны соответствующим операциям спектрографического метода. То же относится ко всем процессам, протекающим во время возбуждения, и спонтанным или искусственно создаваемым эффектам. Поэтому они не будут здесь больше обсуждаться. Оптическая установка, используемая и спектрометрическом методе, включая источник излучения, его отображение, всю диспергирующую систему и получение спектра, практически идентична спектрографической установке. Однако существенное различие, заслуживающее отдельного обсуждения, состоит в способе подведения световой энергии спектральных линий к фотоэлектрическому слою фотоумножителя. Конечная операция анализа, а именно измерение, совершенно отличается от соответствующей операции спектрографического метода. Поэтому эта стадия анализа нуждается в детальном обсуждении.
7. Визуальный анализ
Третья группа методов эмиссионного спектрального анализа включает визуальные методы, которые отличаются от спектрографического и спектрометрического методов способом оценки спектра и, за исключением редких случаев, используемой областью спектра. Способ оценки спектра субъективный в противоположность объективным способам двух других методов. В визуальной спектроскопии приемником света является человеческий глаз и используется видимая область спектра примерно от 4000 до 7600 Å.
В визуальных методах спектрального анализа предварительная подготовка проб и возбуждение их спектров по существу не отличаются от аналогичных операций других методов спектрального анализа. В то же время разложение света в спектр производится исключительно с помощью спектроскопа. И наконец, вследствие субъективности способа оценки визуальные методики существенно отличаются от спектрографических и особенно спектрометрических методик. Это означает также, что из трех методов спектрального анализа визуальный обладает наименьшей точностью.
Предел обнаружения визуального метода относительно велик. Наиболее чувствительные линии элементов, за исключением щелочных и щелочноземельных, находятся в ультрафиолетовой области спектра. В видимой области расположены только относительно слабые линии наиболее важных тяжелых металлов. Поэтому их предел обнаружения визуальным методом обычно хуже в десять — сто раз. За исключением очень редких случаев, визуальный метод не пригоден для определения неметаллических элементов, поскольку их линии в видимой области особенно слабы. Кроме того, возбуждение неметаллических элементов требует специального сложного оборудования и интенсивность источника света недостаточна для оценки спектральных линий невооруженным глазом.
В противоположность отмеченным выше недостаткам большое преимущество визуального метода заключается в его простоте, скорости и малой стоимости. Работать со спектроскопом очень легко. Хотя для оценки спектра необходима некоторая тренировка, выполнению простейших анализов можно обучиться быстро. Спектры можно оценивать невооруженным глазом без тех трудностей, которые присущи косвенным методам. Этот метод экспрессен: на определение одного компонента требуется обычно не более минуты. Стоимость относительно простого вспомогательного оборудования для визуального метода низка, пренебрежимо малы также затраты на инструмент для обработки проб, материалы для противоэлектродов и электроэнергию. Методики настолько просты, что после некоторой тренировки анализы могут выполнять неквалифицированные лаборанты. Вследствие высокой экспрессности метода трудозатраты на один анализ низки. Экономическая эффективность метода увеличивается также в связи с тем, что анализ можно проводить без разрушения анализируемого образца и на том месте, где он находится. Это означает, что с помощью портативных приборов можно анализировать без пробоотбора на месте их нахождения промежуточную продукцию (например, металлические штанги), готовую продукцию (например, детали станка) или уже вмонтированные изделия (например, перегреваемые трубки паровых котлов). Экономятся также инструмент и время, упрощается организационная работа и отпадает необходимость в деструктивных методах пробоотбора.
Наиболее важной областью применения визуального метода спектрального анализа является контроль металлических сплавов и главным образом легированных сталей в процессе их производства с целью сортировки. Используется метод также для классификации металлов или легированных сталей при отборе ценных материалов из металлического лома.
Заключение
АЭС — способ определения элементного состава вещества по оптическим линейчатым спектрам излучения атомов и ионов анализируемой пробы, возбуждаемым в источниках света. В качестве источников света для атомно-эмиссионного анализа используют пламя горелки или различные виды плазмы, включая плазму электрической искры или дуги, плазму лазерной искры, индуктивно-связанную плазму, тлеющий разряд и др.
АЭС — самый распространённый экспрессный высокочувствительный метод идентификации и количественного определения элементов примесей в газообразных, жидких и твердых веществах, в том числе и в высокочистых. Он широко применяется в различных областях науки и техники для контроля промышленного производства, поисках и переработке полезных ископаемых, в биологических, медицинских и экологических исследованиях и т.д. Важным достоинством АЭС по сравнению с другими оптическими спектральными, а также многими химическими и физико-химическими методами анализа, являются возможности бесконтактного, экспрессного, одновременного количественного определения большого числа элементов в широком интервале концентраций с приемлемой точностью при использовании малой массы пробы.
Список литературы
1. Пискарева С.К. "Аналитическая химия" М.,Высшая школа 1994. учебник для средних специальных учебных заведений, 192 ст.
2. Дроздов В.А., Кузнецов В.В., Рогатинская С.Л. "Введение в физико-химические методы анализа" М., 1980 под общей ред. Петрухина О.М., 41ст.
3. Лурье Ю.Ю., Справочник по аналитической химии.
4. www.himiki.com/wp-content/uploads/2009/07/atom-emis.pdf
5. www.biometrica.tomsk.ru/tat3.pdf
Похожие рефераты:
Развитие, становление и основные аспекты фармации
Принципы определения примесей арсена в неизвестном минерале
Физические и физико-химические методы в криминалистической экспертизе материалов документов
Биокерамика на основе фосфатов кальция
Программа для поступающих в вузы (ответы)
Возможности экологического воспитания школьников при изучении темы: "Кальций и его соединения"
Лазерное излучение в биологических исследованиях
Контроль качества сгорания топлива в методических нагревательных печах