| Похожие рефераты | Скачать .docx |
Реферат: Газоанализаторы
, приборы, измеряющие содержание (концентрацию) одного или нескольких компонентов в газовых смесях. Каждый газоанализатор предназначен для измерения концентрации только определенных компонентов на фоне конкретной газовой смеси в нормированных условиях. Наряду с использованием отдельных газоанализаторов создаются системы газового контроля, объединяющие десятки таких приборов. В большинстве случаев работа газоанализаторов невозможна без ряда вспомогательных устройств, обеспечивающих создание необходимых титры и давления, очистку газовой смеси от пыли и смол, а в ряде случаев и от некоторых мешающих измерениям компонентов и агрессивных веществ. Газоанализаторов классифицируют по принципу действия на пневматические, магнитные, электрохимические, полупроводниковые и др. Ниже излагаются физические основы и области применения наиболее распространенных газоанализаторов.
Термокондуктометрические газоанализаторы. Их действие основано на зависимости теплопроводности газовой смеси от ее состава. Для большинства практически важных случаев справедливо уравнение:
![]()
Где теплопроводность смеси, - теплопроводность i - того компонента, Ci - eгo концентрация, n-число компонентов.
Термокондуктометрические газоанализаторы не обладают высокой избирательностью и используются, если контролируемый компонент по теплопроводности существенно отличается от остальных, например для определения концентраций Н2, Не, Аг, СО2 в газовых смесях, содержащих N2, О2 и др. Диапазон измерения - от единиц до десятков процентов по объему.
Изменение состава газовой смеси приводит к изменению ее теплопроводности и, как следствие, титры и электрическое сопротивления нагреваемого током металлического или полупроводникового терморезистора, размещенного в камере, через которую пропускается смесь. При этом:
![]()
где a-конструктивный параметр камеры, R1 и R2 - сопротивление терморезистора в случае пропускания через него тока I при теплопроводности газовой среды соответствует и, температурный коэффициент электрического сопротивления терморезистора.

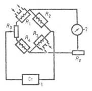
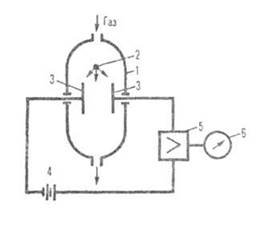
Рис.1. Термокондуктометрический газоанализатор: 1 - источник стабилизированного напряжения; 2-вторичный прибор; R1 и R3 - рабочие терморезисторы; R2 и R4 - сравнительные терморезисторы; R0 и потенциометры; вход и выход анализируемой газовой смеси показаны стрелками.
На рис.1 приведена схема, применяемая во многих Термокондуктометрических газоанализаторах. Чувствительные элементы R1 и R3 (рабочие терморезисторы) омываются анализируемой смесью; сравнительные терморезисторы R2 и R4 помещены в герметичные ячейки, заполненные сравнительным газом точно известного состава. Потенциометры R0 и предназначены для установки нулевых показаний и регулировки диапазона измерения. Мера концентрации определяемого компонента - электрический ток, проходящий через, который измеряется вторичным (т.е. показывающим или регистрирующим) прибором. Термокондуктометрические газоанализаторы широко применяют для контроля процессов в производстве H2SO4, NH3, HNO3, в металлургии и др.
Термохимические газоанализаторы. В этих приборах измеряют тепловой эффект химической реакции, в которой участвует определяемый компонент. В большинстве случаев используется окисление компонента кислородом воздуха; катализаторы - марганцевомедный (гопкалит) или мелкодисперсная Pt, нанесенная на поверхность пористого носителя. Изменение титры при окислении измеряют с помощью металлического или полупроводникового терморезистора. В ряде случаев поверхность платинового терморезистора используют как катализатор. Величина связана с числом молей М окислившегося компонента и тепловым эффектом соотношением:, где kо коэффициент, учитывающий потери тепла, зависящие от конструкции прибора.
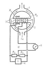
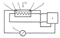
Схема (рис.2) включает измерительный мост с постоянными резисторами (R1 и R4) и двумя терморезисторами, один из которых (R2) находится в атмосфере сравнительного газа, а второй (R3) омывается потоком анализируемого газа. Напряжение Uвых в диагонали моста пропорционально концентрации определяемого компонента. Для устойчивой работы газоанализаторы исключают влияние титры среды (термостатированием или термокомпенсацией), стабилизируют напряжение, поддерживают постоянным расход газа, очищают его от примесей, отравляющих катализатор (С12, НС1, H2S, SO2 и др.).

Рис.2. Термохимический газоанализатор: 1 - источник стабилизированного напряжения; 2-вторичный прибор; R1 и R4 - постоянные резисторы; R2 и R3-соотв, сравнительный и рабочий терморезисторы.
Большинство термохимических газоанализаторов используют в качестве газосигнализаторов горючих газов и паров (Н2, углеводороды и др.) в воздухе при содержании 20% от их нижних КПВ, а также при электролизе воды для определения примесей водорода в кислороде (диапазон измерения 0,02-2%) и кислорода в водороде (0,01-1%).
Магнитные газоанализаторы. Применяют для определения О2. Их действие основано на зависимости магнитной восприимчивости газовой смеси от концентрации О2, объемная магнитная восприимчивость которого на два порядка больше, чем у большинства остальных газов. Такие газоанализаторы позволяют избирательно определять О2 в сложных газовых смесях. Диапазон измеряемых концентраций 10-2 - 100%. Наиболее распространены магнитомеханические и термомагнитные газоанализаторы.
В магнитомеханических газоанализаторах (рис.3) измеряют силы, действующие в неоднородном магнитном поле на помещенное в анализируемую смесь тело (обычно ротор). Сила F, выталкивающая тело из магнитного поля, определяется выражением:
![]()
Где объемная магнитная восприимчивость соответствует анализируемой смеси и тела, помещенного в газ, V-объем тела, H-напряженность магнитного поля. Обычно мерой концентрации компонента служит вращающий момент, находимый по углу поворота ротора. Показания магнитомеханического газоанализатора определяются магнитными свойствами анализируемой газовой смеси и зависят от титры и давления, поскольку последние влияют на объемную магнитною восприимчивость газа.
Более точны газоанализаторы, выполненные по компенсационной схеме. В них момент вращения ротора, функционально связанный с концентрацией О2 в анализируемой смеси, уравновешивается известным моментом, для создания которого используются магнитоэлектрической или электростатической системы. Роторные газоанализаторы ненадежны в промышленных условиях, их сложно юстировать.

Рис.3. Магнитомеханический газоанализатор: 1-ротор; 2-полюсы магнита; 3-растяжка; 4-зеркальце; 5-осветитель; 6-шкала вторичного прибора.
Действие термомагнитных газоанализаторов основано на термомагнитной конвекции газовой смеси, содержащей О2, в неоднородных магнитном и температурном полях. Часто применяют приборы с кольцевой камерой (рис.4), которая представляет собой полое металлическое кольцо. Вдоль его диаметра установлена тонкостенная стеклянная трубка, на которую намотана платиновая спираль, нагреваемая электрическим током. Спираль состоит из двух секций - R1 и R2, первая из которых помещается между полюсами магнита. При наличии в газовой смеси О2 часть потока направляется через диаметральный канал, охлаждая первую секцию платиновой спирали и отдавая часть тепла второй. Изменение сопротивлений R1 и R2 вызывает изменение выходного напряжения U, пропорциональное содержанию О2 в анализируемой смеси.

Рис.4. Термомагнитный газоанализатор: 1 - кольцевая камера; 2-стеклянная трубка; 3-постоянный магнит; 4-источник стабилизированного напряжения; 5-вторичный прибор; Rt и R2 - соответственно рабочий и сравнительные терморезисторы (секции платиновой спирали); R3 и R4 - постоянные резисторы.
Пневматические газоанализаторы. Их действие основано на зависимости плотности и вязкости газовой смеси от ее состава. Изменения плотности и вязкости определяют, измеряя гидромеханические параметры потока. Распространены пневматические газоанализаторы трех типов.
Газоанализаторы с дроссельными преобразователями измеряют гидравлическое сопротивление дросселя (капилляра) при пропускании через него анализируемого газа. При постоянном расходе газа перепад давления на дросселе - функция плотности (турбулентный дроссель), вязкости (ламинарный дроссель) или того и другого параметра одновременно.
Струйные газоанализаторы измеряют, динамический напор струи газа, вытекающего из сопла. Содержат два струйных элемента типа "сопло - приемный канал" (рис.5). Для подачи анализируемого и сравнительных газов служит эжектор 2. Давление на выходе из элементов поддерживается регулятором 4. Равенство давлений газов на входе в элементы обеспечивается, соединительным каналом 5 и настройкой вентиля 6. Разница динамических давлений (напоров), воспринимаемых трубками 1б, - функция отношения и мера концентрации определяемого компонента газовой смеси. Струйные газоанализаторы используют, например, в азотной промышленности для измерения содержания Н2 в азоте (диапазон измерения 0-50%), в хлорной промышленности - для определения С12 (0-50 и 50-100%). Время установления показаний этих газоанализаторов не превышает нескольких секунд, поэтому их применяют также в газосигнализаторах довзрывных концентраций газов и паров некоторых веществ (например, дихлорэтана, винилхлорида) в воздухе промышленных помещений.

Рис.5. Пневматический струйный газоанализатор: 1 - элемент "сопло - приемный канал"; 1а-сопло; 1б-приемная трубка; 2-эжсктор; 3-вторичный прибор; 4 - регулятор давления; 5 - соединит, канал; 6-вентиль.
Пневмоакустические газоанализаторы содержат два свистка (Рис.6) с близкими частотами (3-5 кГц), через один из которых проходит анализируемый газ, через второй - сравнительный. Частота биений звуковых колебаний в смесителе частот зависит от плотности анализируемого газа. Биения (частота до 120 Гц) усиливаются и преобразуются в пневматические колебания усилителем. Для получения выходного сигнала (давления) служит частотно-аналоговый преобразователь.

Рис.6. Пневмоакустический газоанализатор: 1 - свисток; 2-смеситель частот; 3 - усилитель - преобразователь; 4 - частотно-аналоговый преобразователь; 5-вторичный прибор.
Пневматические газоанализаторы не обладают высокой избирательностью. Они пригодны для анализа смесей, в которых изменяется концентрация только одного из компонентов, а соотношение между концентрациями других остается постоянным. Диапазон измерения - от единиц до десятков процентов. Пневматические газоанализаторы не содержат электрических элементов и поэтому могут использоваться в помещениях любой категории пожаро- и взрывоопасности. Элементы схемы, контактирующие с газами, выполнены из стекла и фторопласта, что позволяет анализировать весьма агрессивные газы (хлор-, серосодержащие и др.).
Инфракрасные газоанализаторы. Их действие основано на избирательном. поглощении молекулами газов и паров ИК - излучения в диапазоне 1-15 мкм. Это излучение поглощают все газы, молекулы которых состоят не менее чем из двух различных атомов. Высокая специфичность молекулярных спектров поглощения различных газов обусловливает высокую избирательность таких газоанализаторов и их широкое применение в лабораториях и промышленности. Диапазон измеряемых концентраций 10-3 - 100%. В дисперсионных газоанализаторах используют излучение одной длины волны, полученное с помощью монохроматоров (призмы, дифракционной решетки). В недисперсионных газоанализаторах, благодаря особенностям оптической схемы прибора (применению светофильтров, специальных приемников излучения и т.д.), используют немонохроматическое излучение. В качестве примера на рис.7 приведена. Наиболее распространенная схема такого газоанализатора. Излучение от источника последовательно проходит через светофильтр и рабочую кювету, в которую подается анализируемая смесь, и попадает в специальный приемник. Если в анализируемой смеси присутствует определяемый компонент, то в зависимости от концентрации он поглощает часть излучения, и регистрируемый сигнал пропорционально изменяется. Источником излучения обычно служит нагретая спираль с широким спектром излучения, реже - ИК-лазер или светодиод, испускающие излучение в узкой области спектра. Если используется источник немонохроматического излучения, избирательность определения достигается с помощью селективного приемника.

Рис.7. Недисперсионный инфракрасный газоанализатор: 1-источник излучения; 2-светофильтр; 3-модулятор; 4 и 4'-соотв. рабочая и сравнит. (внизу) кюветы; 5-приемник излучения; 6-усилитель; 7-вторичный прибор.
Наиболее распространены газоанализаторы с газонаполненным оптико-акустическим приемником. Последний представляет собой герметичную камеру с окном, заполненную именно тем газом, содержание которого нужно измерить. Этот газ, поглощая из потока излучения определенную часть с характерным для данного газа набором спектральных линий, нагревается, вследствие чего давление в камере увеличивается. Посредством механического модулятора поток излучения прерывается с определенной частотой. В результате с этой же частотой пульсирует давление газа в приемнике. Амплитуда пульсации давления - мера интенсивности поглощенного газом излучения, зависящая от того, какая часть характерного излучения поглощается тем же газом в рабочей кювете. Другие компоненты смеси излучение на этих длинах волн не поглощают. Т. обр., амплитуда пульсации давления в приемнике излучения - мера количества определяемого компонента в анализируемой смеси, проходящей через рабочую кювету. Изменение давления измеряют обычно конденсаторным микрофоном или микроанемометром (датчиком расхода газа). Заменяя газ в приемнике излучения оптико - акустического газоанализатора, можно избирательно измерять содержание различных компонентов смесей.
В инфракрасных газоанализаторах используют также неселективные приемники излучения - болометры, термобатареи, полупроводниковые элементы. Тогда в случае источников с широким спектром излучения избирательность определения обеспечивают применением интерференционных и газовых фильтров. Для повышения точности и стабильности измерения часть потока излучения
обычно пропускают через сравнительною кювету, заполненную газом, не поглощающим регистрируемое излучение, и измеряют разность или отношение сигналов, полученных в результате прохождения излучения через рабочую и сравнительную кюветы.
Инфракрасные газоанализаторы широко используют для контроля качества продукции, анализа отходящих газов, воздуха помещений. С их помощью определяют, напр., СО, СО2, NH3, СН4 в технологических газах производства синтетического аммиака, пары ряда растворителей в воздухе промышленных помещений, оксиды азота, SO2, СО и углеводороды в выхлопных газах автомобилей и т.д.
Ультрафиолетовые газоанализаторы. Принцип их действия основан на избирательном поглощении молекулами газов и паров излучения в диапазоне 200-450 нм. Избирательность определения одноатомных газов весьма велика. Двух - и многоатомные газы имеют в УФ - области сплошной спектр поглощения, что снижает избирательность их определения. Однако отсутствие УФ - спектра поглощения у N2, O2, СО2 и паров воды позволяет во многих практически важных случаях проводить достаточно селективные измерения в присутствии этих компонентов. Диапазон определяемых концентраций обычно 10-2-100% (для паров Hg нижняя граница диапазона 2,5-10-6%).
Схема ультрафиолетового газоанализатора аналогична схеме, приведенной на рис.7. Имеются также приборы с двумя детекторами излучения без модулятора, в которых световые потоки не прерываются. В качестве источников излучения обычно применяют ртутные лампы низкого (= 253,7 нм) и высокого (спектр с большим набором линий) давлений, газоразрядные лампы с парами других металлов (=280, 310 и 360 нм), лампы накаливания с вольфрамовой нитью, водородные и дейтериевые газоразрядные лампы. Приемники излучения - фотоэлементы и фотоумножитель. При использовании неселективного источника излучения избирательность измерения в большинстве приборов обеспечивают с помощью оптических фильтров (стеклянных или интерференционных).
Ультрафиолетовые газоанализаторы применяют главным образом для автоматического контроля содержания С12, О3, SO2, NO2, H2S, C1O2, дихлорэтана, в частности в выбросах промышленных предприятий, а также для обнаружения паров Hg, реже Ni (СО) 4, в воздухе промышленных помещений.
Люминесцентные газоанализаторы. В хемилюминесцентных газоанализаторах измеряют интенсивность люминесценции, возбужденной благодаря химической реакции контролируемого компонента с реагентом в твердой, жидкой или газообразной фазе. Пример - взаимодействия NO с О3, используемое для определения оксидов азота:
N0 + 03 - > N02+ + 02 - > N02 + hv + 02
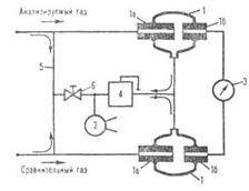
Схема хемилюминесцентного газоанализатора с газообразным реагентом представлена на рис.8. Анализируемая смесь и реагент через дроссели поступают в реакционную камеру. Побудитель расхода (насос) обеспечивает необходимое давление в камере. При наличии в смеси определяемого компонента излучение, сопровождающее хемилюминесцентную реакцию, через светофильтр подается на катод фотоумножителя, который расположен в непосредственной близости к реакционной камере. Электрический сигнал с фотоумножителя, пропорциональный концентрации контролируемого компонента, после усиления поступает на вторичный прибор. При измерении слабых световых потоков, возникающих при малых концентрациях определяемого компонента, фотокатод охлаждают электрическими микрохолодильниками с целью уменьшения темнового (фонового) тока.

Рис.8. Хемилюминесцентный газоанализатор: 1-рсакц. камера; 2-светофильтр; 3 - фотоумножитель; 4-вторичный прибор; 5-побудитель расхода газа; 6-дроссели.
Для измерения содержания NO2 в приборе предусмотрен конвертер, где NO2 превращается в NO, после чего анализируемая смесь направляется в реакционную камеру. При этом выходной сигнал пропорционален суммарному содержанию NO и NO2. Если же смесь поступает, минуя конвертер, то по выходному сигналу находят концентрацию только NO. По разности этих сигналов судят о содержании NO 2 в смеси.
Высокая избирательность хемилюминесцентных газоанализаторов обусловлена специфичностью выбранной реакции, однако сопутствующие компоненты в смеси могут изменять чувствительность прибора. Такие газоанализаторы применяют для определения NO, NO2, NH3, O3 в воздухе в диапазоне 10-7-1%.
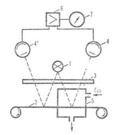
Во флуоресцентных газоанализаторах измеряют интенсивность флуоресценции (длина волны), возникающей при воздействии на контролируемый компонент УФ - излучения (с частотой v1). В качестве примера на рис.9 представлена схема такого газоанализатора для определения SO2 в воздухе. Анализируемая смесь поступает в детекторную камеру, которая отделена от импульсного источника УФ - излучения и от фотоумножителя светофильтрами 3 и 4, пропускающими излучение с длинами волн соответствующими импульсами. Фотоумножитель, расположенный под углом 90° к источнику излучения, регистрирует импульсы флуоресценции, амплитуда которых пропорциональна концентрации определяемого компонента в камере. Электрический сигнал с фотоумножителя после усиления и обработки поступает на вторичный прибор. Газоанализаторы для определения SO2 характеризуются высокой чувствительностью и избирательностью. Они используются в автоматических станциях контроля окружающей среды.

Рис.9. Флуоресцентный газоанализатор: 1 - детекторная камера; 2-источник УФ - излучения; 3-светофильтр возбуждающего излучения; 4 - светофильтр люминесценции; 5-зеркало; 6-фотоумножитель; 7-вторичный прибор.
Для удаления паров воды, влияющих на показания люминесцентных газоанализаторов, применяют специальные фильтры (типа молекулярного сита) на входе потока газа в камеру.
Фотоколориметрические газоанализаторы. Эти приборы измеряют интенсивность окраски продуктов избирательной реакции между определяемым компонентом и специально подобранным реагентом. Реакцию осуществляют, как правило, в растворе (жидкостные газоанализаторы) или на твердом носителе в виде ленты, таблетки, порошка (соответственно ленточные, таблеточные, порошковые газоанализаторы).

Рис.10. Жидкостной фотоколориметрический газоанализатор: 1 - источник излучения; 2-светофильтр; 3 и 3'-рабочая и сравнит. кюветы; 4-абсорбер; 5 и 5'-приемники излучения; б - усилитель; 7-вторичный прибор.
Принципиальная схема жидкостного газоанализатора представлена на рис.10. Излучение от источника проходит через рабочую и сравнительную кюветы и поступает на соответствующие приемники излучения. Индикаторный раствор протекает с постоянной скоростью через обе кюветы и абсорбер. Навстречу потоку раствора через абсорбер барботирует анализируемый газ. Определяемый компонент, присутствующий в газе, взаимодействует с реагентом в растворе, вызывая изменение оптической плотности в рабочей кювете, пропорциональное концентрации компонента. В результате интенсивность излучения через одну из кювет изменяется, а через другую - нет. Разность (или отношение) сигналов рабочего и сравнительных каналов - мера концентрации определяемого компонента в анализируемой смеси.
Подача раствора может быть как непрерывной, так и периодической. При периодической подаче анализируемый газ пропускают в течение некоторого времени через одну и ту же порцию раствора, что позволяет повысить чувствительность определения. Такие газоанализаторы дают возможность измерить среднюю концентрацию определяемого компонента за заданный промежуток времени, например при установлении среднесменных или среднесуточных концентраций токсичных примесей в воздухе.
В ленточных газоанализаторах (рис.11) анализируемый газ поступает в газовую камеру, через которую непрерывно или с заданной периодичностью протягивается лента с нанесенным на нее реактивом. В результате реакции с определяемым компонентом на ленте образуется цветовое пятно, интенсивность окраски которого пропорциональна концентрации компонента. Разность (или отношение) световых потоков, отраженных от окрашены и неокрашенных участков ленты, - мера концентрации контролируемого компонента в смеси. Иногда используют индикаторную ленту с жидким реактивом. В этом случае реактив наносится на ленту из капельницы непосредственно перед ее контактом с газом.

Рис.11. Ленточный фотоколориметрический газоанализатор: 1 - источник излучения; 2-индикаторная лента; 3-светофильтр; 4 и 4'-приемники излучения; 5-газовая камера; 6-усилитель; 7-вторичный прибор.
Принцип действия таблеточных и порошковых газоанализаторов такой же, как у ленточных, но эти приборы, как правило, циклического действия. Для получения чистой поверхности перед каждым циклом измерения срезается верх, окрашенный слой таблетки или заменяется порция порошка.
Время работы ленточных и таблеточных газоанализаторов без замены ленты или таблетки достигает 30 суток и более. Источники излучения в фотоколориметрических газоанализаторов - обычно лампы накаливания и полупроводниковые светодиоды, фотоприемники - фотоумножители, фотоэлементы, фотодиоды и фототранзисторы. Эти приборы позволяют с высокой избирательностью определять различные газообразные (парообразные) вещества в диапазоне концентраций 10-5-1%. Особенно высока чувствительность у газоанализаторах периодического действия; их недостаток - некое запаздывание показаний.
Фотоколориметрические газоанализаторы применяют главным образом для измерения концентраций токсичных примесей (например, оксидов азота, О2, С12, CS2, O3, H2S, NH3, HF, фосгена, ряда органических соединений) в атмосфере промышленных зон и в воздухе промышленных помещений. При контроле загрязнений воздуха широко используют переносные приборы периодического действия. Значит, число фотоколориметрического газоанализатора применяют в качестве газосигнализаторов.
Электрохимические газоанализаторы. Их действие основано на зависимости между параметром электрохимической системы и составом анализируемой смеси, поступающей в эту систему.
В кондуктометрических газоанализаторов измеряется электропроводность раствора при селективном поглощении им определяемого компонента. Обычно схема прибора включает электрический мост постоянного или переменного тока с двумя кондуктометрическими ячейками, через которые протекает электролит. В одну из ячеек электролит поступает после контакта с потоком анализируемого газа. Выходной сигнал пропорционален разности электропроводностей раствора до и после контакта с контролируемой смесью. Эта разность зависит от концентрации растворенного в электролите определяемого компонента. Изменяя расходы электролита и анализируемой смеси, можно в широких пределах изменять диапазон определяемых концентрации. Недостатки этих газоанализаторов - низкая избирательность и длительность установления показаний при измерении малых концентраций. Кондуктометрические газоанализаторы широко применяют для определения О2, СО, SO2, H2S, NH3 и других.
Действие потенциометрических газоанализаторов основано на зависимости потенциала Е индикаторного электрода от активности а электрохимических активных ионов, образовавшихся при растворении определяемого компонента:
![]()
где E° - стандартный электродный потенциал, R - универсальная газовая постоянная, Т - абсолютная температура, F - число Фарадея, n-число электронов, участвующих в электрохимической реакции. Измеряемое значение Е пропорционально концентрации контролируемого компонента, растворенного в электролите. Эти газоанализаторы применяют для определения СО2, H2S, HF, NH3, SO2 и др.
Большое распространение получили потенциометрические газоанализаторы с твердым электролитом для измерения содержания О2. Керамическая пластина на основе СаО и ZrO2 при высокой температуре начинает проводить ионы кислорода, т.е. ведет себя как электролит. На поверхность такой пластины с обеих сторон наносят тонкие слои пористой платины (платиновые электроды). С одной стороны пластины подают анализируемую газовую смесь, с другой - сравнительный газ. Разность потенциалов между электродами - мера содержания О2. Термостат поддерживает температуру электрохимической ячейки в нужном диапазоне. С помощью таких газоанализаторов определяют О2 в широком диапазоне концентраций (10-4-100% по объему). Присутствие углеводородов в анализируемой смеси приводит к искажению результатов из-за их окисления при высокой температуре.
Действие амперометрических газоанализаторов основано на зависимости между электрическим током и количеством определяемого компонента, прореагировавшим на индикаторном электроде. Если контролируемый компонент полностью вступает в электрохимическую реакцию, то выполняется закон Фарадея: I = = nFQC, где I-ток, Q - расход газа, С-концентрация определяемого компонента, F-число Фарадея, n-число электронов, участвующих в реакции.
Электрохимическое превращение данного компонента газовой смеси со 100% -ным выходом по току (т.е. отсутствие побочных электродных реакций) обеспечивается выбором индикаторного электрода и его потенциала. Необходимое постоянное значение разности потенциалов поддерживается благодаря тому, что сравнительно и индикаторный электроды выполняют из двух разных специально подобранных металлов, например из Аи и Zn, Au и Pb, Ni и Cd (ячейки гальванического типа). Разность потенциалов можно стабилизировать и посредством электронной системы с использованием третьего вспомогательного электрода (ячейки потенциостатического типа).

Рис.12. Амперометрический газоанализатор: 1-электрохим. ячейка; 2-вспомогат. электрод; 3-измерит, электрод; 4-потенциостат; 5 - электрод сравнения; 6-усилитель; 7-вторичный прибор; 8-побудитель расхода газа; 9-камера с запасным электролитом.
Амперометрические газоанализаторы применяют для определения газов, обладающих окислительно - восстановительными свойствами, например SO2, NO2, H2S, О2, С12, О3. В газоанализаторы для измерения содержания SO2 в воздухе (рис.12) анализируемый газ поступает на измерительный электрод 3 электрохимические ячейки и по газовому каналу - в камеру с запасным электролитом 9, в который помещен электрод сравнения 5. Вспомогательный электрод 2 расположен в отдельной камере, которая, как и камера 9, соединена с камерой измерительного электрода электролитическим каналом. Достоинства амперометрического газоанализатора - высокая чувствительность и избирательность.
Кроме рассмотренной выше конструкции электрохимической ячейки барботажного типа (с непосредственно продуванием смеси через электролит) широкое применение находят ячейки с т. Называется газодиффузионными электродами, где газ отделен от электролита пористой газопроницаемой полимерной мембраной. Со стороны, контактирующей с электролитом, на мембрану наносят мелкодисперсный электродный материал (Pt, Pd, Au). Такие системы отличаются более высокой чувствительностью и стабильностью характеристик.
В основе кулонометрических газоанализаторах компенсация типа лежит метод кулонометрического титрования, который заключается в электрохимическом получении (генерировании) реагента - титранта, способного быстро взаимодействовать с определяемым компонентом газовой смеси, растворенным в электролите. Этот газоанализатор включает цепи генерирования и индикации. Электрохимическая ячейка содержит соответственно две пары электродов - катод и анод, на которых идет электролиз и генерируется титрант, а также индикаторный электрод и электрод сравнения. Ток электролиза автоматически поддерживается постоянным. После того как все контролируемое вещество полностью прореагирует с электро-генерированным титрантом, окислительно-восстановительный потенциал системы резко изменяется, что обнаруживается по скачку потенциала индикаторного электрода. Количество электричества, прошедшее через ячейку до завершения реакции, эквивалентно концентрации определяемого компонента.
Ионизационные газоанализаторы. Их действие основано на зависимости электрической проводимости ионизованных газов от их состава. Появление в газе примесей оказывает, дополнительное воздействие на процесс образования ионов или на их подвижность и, следовательно, рекомбинацию. Возникающее при этом изменение проводимости пропорционально содержанию примесей.
Все ионизационном газоанализаторе содержат проточную ионизационною камеру (как на рис.13), на электроды которой налагают определенную разность потенциалов. Эти приборы широко применяют для контроля микропримесей в воздухе, а также в качестве детекторов в газовых хроматографах. Ниже рассмотрены наибольше распространенные типы ионизационные газоанализаторы, используемые без предварительного хроматографического разделения пробы.

Рис.13. Радиоизотопный ионизационный газоанализатор: 1 - ионизационная камера; 2-источник ионизации; 3-электроды; 4-источник напряжения; 5-усилитель; 6-вторичный прибор.
К радиоизотопным газоанализаторам (рис.13), в которых ионизацию газов осуществляют радиоактивным излучением, относятся приборы на основе сечения ионизации, электронно-захватные и аэрозольно-ионизационные. В первых используют разницу в сечениях (вероятности) ионизации компонентов смеси. Ионизацию осуществляют обычно излучением 90Sr, 3H, 63Ni, 147Pm. Эти газоанализаторы не избирательны, их применяют для анализа смесей H2-N2, N2-CO2, Н2 - этилен, Н2-СН4, H2-CH3SiCl3, H2-BC13 и т.п.; диапазон измерения 0,01-100%; время установления показаний - до 0,1 с.
Действие электронно-захватных газоанализаторов основано на способности молекул ряда веществ (О2, Н2О, галогены, галогенсодержащие органические соединения, ароматические углеводороды, спирты, карбонильные соединения и др.) захватывать свободные электроны, возникающие при ионизации газов, и превращаться при этом в ионы. Последние имеют меньшую подвижность, чем электроны, в результате чего ионизационный ток падает пропорционально концентрации вещества. Электронно-захватные газоанализаторы применяют для контроля примесей (в частности, галогенов при их концентрации 10-3-104%) в чистых газах и воздухе. При определении примесей в воздухе на входе в газоанализаторы обычно помещают полимерные мембраны, задерживающие О2.
В основе действия аэрозольно-ионизационных газоанализаторах лежит зависимость ионизационного тока от концентрации аэрозольных частиц, образующихся после предварительного избирательного перевода определяемого компонента смеси в аэрозоль. Этот перевод осуществляют обычно химическую реакцией с соответствующим реагентом или фотохимической реакцией в газовой фазе, пиролизом исследуемого вещества, а также сочетанием пиролиза с послед, химической реакцией с реагентом. Например, при определении NH3 в качестве реагента можно использовать пары соляной кислоты; в результате образуется аэрозоль NH4C1. Размер аэрозольных частиц 10-7-10-4 см. Концентрации анализируемых компонентов 10-5-10-3%. Аэрозольно-ионизационный газоанализатор используют, в частности, для определения микропримесей NH3, аминов, НС1, HF, NO2, паров HNO3, карбонилов Ni и Со, фосгена и ряда др. соединений в воздухе промышленных помещений.
В пламенно - ионизационных газоанализаторах анализируемые органические соединения ионизуют в водородном пламени. Эффективность ионизации пропорциональна числу атомов С, поступающих в пламя в единицу времени, но зависит также от наличия в молекуле вещества атомов др. элементов. Схема такого прибора представлена на рис.14. Горелка служит одним из электродов ионизационной камеры. Второй электрод ("коллекторный") - тонкостенный цилиндр или кольцо. Эти газоанализаторы используют для определения органических веществ в воздухе и технологических газах. При совместном присутствии ряда органических компонентов находят либо их сумму, либо концентрацию компонентов со значительно большей эффективностью ионизации. С помощью пламенно-ионизационных газоанализаторы контролируют изменения суммарного содержания углеводородов в атмосфере и токсичные примеси в воздухе пром. помещений, чистоту выхлопных газов автомобилей, утечки газов из трубопроводов и подземных коммуникаций. Диапазон измеряемых концентраций 10-5-1%. Имеется непосредственная взаимосвязь между эффективностью ионизации органических газов и паров и степенью взрывоопасности их смесей с воздухом. Это позволяет контролировать довзрывные концентрации органических веществ в пром. помещениях, шахтах, туннелях.

Рис.14. Пламенно - ионизационный газоанализатор: 1-ионизац. камера; 2-горелка; 3-коллекторный электрод; 4-источник напряжения; 5-усилитель; 6-вторичный прибор.
В поверхностно-ионизационных газоанализаторах образуются, положительные ионы при адсорбции газов на нагретых поверхностях металлов или их оксидов. Ионизоваться могут компоненты с достаточно низкими потенциалами ионизации, сравнимыми по величине с работой выхода электронов из нагретой поверхности (эмиттера). Обычно ионизуются не контролируемые компоненты смеси, а продукты их реакций на каталитически активной поверхности. В качестве эмиттеров применяют, например, нагреваемые током спирали из Pt, оксидов Мо или W. Нагретый эмиттер одновременно служит одним из электродов ионизационной камеры. Второй ("коллекторный") электрод выполняют в виде наружного цилиндра. Температуру нагрева эмиттера изменяют, от 350 до 850 °С. С помощью таких газоанализаторов определяют, фенол, уксусную и муравьиную кислоты, а также (с высокой избирательностью) азотсодержащие органические соединения, в частности анилин, амины, гидразины. Созданы приборы для контроля ряда аминов (диэтиламин, триэтиламин и др.) в воздухе пром. помещений. Диапазон измеряемых концентраций 10-5-10-2%.
В так называемых "галогенных" газоанализаторах на поверхности платины, нагретой до 800-850 °С, ионизуются щелочные металлы (обычно Na и К), добавляемые в виде солей в зону нагрева и ионизации. Эмиссия щелочных ионов зависит от содержания в окружающем воздухе галогенов и их соединений. Эти приборы позволяют определять галогены (С1, Вг) в воздухе пром. помещений, хладоны при] контроле герметичности холодильных установок и бытовых аэрозольных баллончиков с пределами обнаружения около 10-4%.
В фотоионизационных газоанализаторах молекулы определяемого компонента ионизуются УФ - излучением. Это возможно, если энергия фотонов не ниже потенциала ионизации молекул. В качестве источников излучения используют лампы, генерирующие фотоны с энергиями 9,5, 10, 10,2, 10,9 и 11,7 эВ. Основы компоненты воздуха (О2, N2, CO, СО2, Н2О), а также СН4 имеют потенциалы ионизации в диапазоне 12-20 эВ и такими фотонами не ионизуются. Фотоионизационные газоанализаторы применяют для контроля примесей ароматических и непредельных углеводородов, альдегидов, кетонов, спиртов и других органических соединений в воздухе с пределами обнаружения 10-5 - 10-4%. Подбирая излучение с подходящей энергией, можно избирательно определять, например, ароматические соединения в присутствии алканов и кислородсодержащих органических соединений, меркаптаны в присутствии H2S.
Полупроводниковые газоанализаторы. Их действие основано на изменении сопротивления полупроводника (пленки или монокристалла) при воздействии анализируемого компонента смеси. В основе работы полупроводниковых окисных газоанализаторах лежит изменение проводимости чувствительности слоя (смеси оксидов металлов) при хемосорбции на его поверхности молекул химически активных газов (рис.15). Такие газоанализаторы применяют для определения горючих газов (в частности, Н2, СН4, пропана), а также О2, СО2 и др. Селективность анализа достигается варьированием состава чувствительности слоя и его температуры (при помощи встроенного нагревателя). Диапазон измеряемых концентраций горючих газов 0,01-1% по объему.

Рис.15. Полупроводниковый окисный газоанализатор: 1-подложка; 2-контакты; 3-чувствит. слой; 4-нагреват. элемент; 5-вторичный прибор; 6-источник напряжения.
В полупроводниковых газоанализаторах с кристаллическими чувствительными элементами измеряют проводимость монокристалла или более сложной полупроводниковой структуры с р-n-переходами при изменении зарядового состояния поверхности, т.е. концентрации или распределения зарядов на ней. Например, для определения Н2 используют чувствительные элементы в виде системы слоев металл - диэлектрик - полупроводник (канальные транзисторы), причем верхний металлический слой получают из Pd или его сплавов. Изменение зарядового состояния поверхности достигается изменением контактной разности потенциалов между полупроводником и Pd при растворении в последнем Н2, присутствующего в анализируемой смеси. Диапазон измеряемых концентраций Н2 в инертных газах 10-5-10-3%.
Для серийного производства полупроводниковых газоанализаторов применяют современные технологию микроэлектроники, что позволяет создавать измерительный преобразователь, включающий чувствительность элементов, систему термостатирования и усилитель электрического сигнала в виде отдельного микромодуля.
Литература для статьи "ГАЗОАНАЛИЗАТОРЫ"
1. Павленко В.А., Газоанализаторы, М. -Л., 1965;
2. Бражников В.В., Дифференциальные детекторы для газовой хроматографии, М., 1974;
3. Кулаков М.В., Технологические измерения и приборы для химических производств, М., 1983.
Похожие рефераты:
Контроль качества сгорания топлива в методических нагревательных печах
Лекции по дисциплине безопасность жизнедеятельности и экология
Проект реконструкции цеха первичной переработки нефти и получения битума на ОАО «Сургутнефтегаз»
Организация поста технического обслуживания и ремонта карбюраторов двигателей легковых автомобилей
Межпредметные связи в курсе школьного предмета химии на предмете углерода и его соединений
Развитие, становление и основные аспекты фармации
Разработка анализатора газов на базе газового сенсора RS 286-620
Перевозка природного газа морем
Совершенствование метрологического обеспечения измерений в турбокомпрессорном цехе Узюм-Юганской ГКС
Методы анализа лекарственных препаратов