| Похожие рефераты | Скачать .docx |
Реферат: Переработка полимеров
ВВЕДЕНИЕ
Полимерные молекулы представляют собой обширный класс соединений, основными отличительными характеристиками которых являются большая молекулярная масса и высокая конформационная гибкость цепи. Можно с уверенностью сказать, что и все характеристические свойства таких молекул, а также связанные с этими свойствами возможности их применения обусловлены вышеуказанными особенностями.
В нашем урбанизированном быстро развивающемся мире резко возрос спрос на полимерные материалы. Трудно себе представить полноценную работу заводов, электростанций, котельных, учебных заведений, электрической бытовой техники, которая нас окружает дома и на работе, современных вычислительных машин, автомобилей и много другого без использования этих материалов. Хотим ли мы сделать игрушку или создать космический корабль - и в том, и в другом случае не обойтись без полимеров. Но каким образом можно придать полимеру требуемую форму и вид? Чтобы ответить на этот вопрос, рассмотрим иной аспект технологии полимеров, а именно их переработку, что и является предметом данной работы.
В широком смысле переработку полимеров можно рассматривать как некую инженерную специальность, занимающуюся превращением исходных полимерных материалов в требуемые конечные продукты. Большинство методов, применяемых в настоящее время в технологии переработки полимеров, являются модифицированными аналогами методов, используемых в керамической и металлообрабатывающей промышленности. Действительно, нам необходимо понять все тонкости переработки полимеров для того, чтобы заменить обычные традиционные материалы другими материалами с улучшенными свойствами и внешним видом.
Около 50 лет назад существовало очень ограниченное количество процессов переработки полимеров в конечные изделия. В настоящее время имеется множество процессов и методов, основными из них являются каландрование, отливка, прямое прессование, литье под давлением, экструзия, пневмоформование, холодное формование, термоформование, вспенивание, армирование, формование из расплава, сухое и мокрое формование. Последние три метода используют для производства волокон из волокнообразующих материалов, а остальные - для переработки пластических и эластомерных материалов в промышленные изделия. В следующих разделах я попытался в общем виде рассмотреть эти важные процессы. Для более детального ознакомления с этими и другими процессами, такими, как нанесение покрытий окунанием и методом вихревого напыления псевдоожиженного слоя, электронная и тепловая герметизация и сварка, следует обратиться к специальным учебникам по переработке полимеров. За пределы этого реферата также выходят и вопросы, касающиеся покрытий и адгезивов.
Перед тем, как непосредственно перейти к рассмотрению способов и методов переработки полимеров в конечные продукты необходимо узнать: что же представляют собой полимеры, какие они бывают и где могут использоваться, т.е. какие конечные продукты могут быть получены из полимеров? Роль полимеров очень велика и мы должны понять необходимость их переработки.
1. ПОЛИМЕРЫ И ПОЛИМЕРНЫЕ МАТЕРИАЛЫ
1.1 ОБЩАЯ ХАРАКТЕРИСТИКА И КЛАССИФИКАЦИЯ
Полимером называется органическое вещество, длинные молекулы которого построены из одинаковых многократно повторяющихся звеньев — мономеров. По происхождению полимеры делятся на три группы.
Природные образуются в результате жизнедеятельности растений и животных и содержатся в древесине, шерсти, коже. Это протеин, целлюлоза, крахмал, шеллак, лигнин, латекс.
Обычно природные полимеры подвергаются операциям выделения очистки, модификации, при которых структура основных цепей остается неизменной. Продуктом такой переработки являются искусственные полимеры. Примерами являются натуральный каучук, изготовляемый из латекса, целлулоид, представляющий собой нитроцеллюлозу, пластифицированную камфарой для повышения эластичности.
Природные и искусственные полимеры сыграли большую роль в современной технике, а в некоторых областях остаются незаменимыми и до сих пор, например в целлюлозно-бумажной промышленности. Однако резкий рост производства и потребления органических материалов произошел за счет синтетических полимеров – материалов, полученных синтезом из низкомолекулярных веществ и не имеющих аналогов в природе. Развитие химической технологии высокомолекулярных веществ — неотъемлемая и существенная часть современнойНТР. Без полимеров уже не может обойтись ни одна отрасль техники, тем более новой. По химической структуре полимеры делятся на линейные, разветвленные, сетчатые и пространственные.
Молекулы линейных полимеров химически инертны по отношению друг к другу и связаны между собой лишь силами Ван-дер-Ваальса. При нагревании вязкость таких полимеров уменьшается и они способны обратимо переходить сначала в высокоэластическое, а затем и в вязкотекучее состояния (рис. 1).

Рис.1. Схематическая диаграмма вязкости термопластичных полимеров в зависимости от температуры: Т1 – температура перехода из стеклообразного в высоко эластичное состояние, Т2 – температура перехода из высокоэластичного в вязкотекучее состояние.
Поскольку единственным следствием нагрева является изменение пластичности, линейные полимеры называют термопластичными . Не следует думать, что термин «линейные» обозначает прямолинейные, наоборот, для них более характерна зубчатая или спиральная конфигурация, что придает таким полимерам механическую прочность.
Термопластичные полимеры можно не только плавить, но и растворять, так как связи Ван-дер-Ваальса легко рвутся под действием реагентов.
Разветвленные (привитые) полимеры более прочны, чем линейные. Контролируемое разветвление цепей служит одним из основных промышленных методов модификации свойств термопластичных полимеров.
Сетчатая структура характерна тем, что цепи связаны друг с другом, а это сильно ограничивает движение и приводит к изменению как механических, так и химических свойств. Обычная резина мягка, но при вулканизации серой образуются ковалентные связи типа S-0, и прочность растет. Полимер может приобрести сетчатую структуру и спонтанно, например, под действием света и кислорода произойдет старение с потерей эластичности и работоспособности. Наконец, если молекулы полимера содержат реакционно-способные группы, то при нагревании они соединяются множеством прочных поперечных связей, полимер оказывается сшитым, т. е. приобретает пространственную структуру . Таким образом, нагрев вызывает реакции, резко и необратимо изменяющие свойства материала, который приобретает прочность и высокую вязкость, становится нерастворимым и неплавким. Вследствие большой реакционной способности молекул, проявляющейся при повышении температуры, такие полимеры называют термореактивными.
Рис.2 Реакции образования полимеров: а) – полимеризация, б) - поликонденсация |
Термопластичные полимеры получают по реакции полимеризации,
протекающей по схеме пМ
Мп
(рис.2), где М —
молекула мономера, Мп
— макромолекула, состоящая из мономерных звеньев, п —
степень полимеризации.
При цепной полимеризации молекулярная масса нарастает почти мгновенно, промежуточные продукты неустойчивы, реакция чувствительна к присутствию примесей и требует, как правило, высоких давлений. Неудивительно, что такой процесс в естественных условиях невозможен, и все природные полимеры образовались иным путем. Современная химия создала новый инструмент — реакцию полимеризации, а благодаря ему большой класс термопластичных полимеров. Реакция полимеризации реализуется лишь в сложной аппаратуре специализированных производств, и термопластичные полимеры потребитель получает в готовом виде.
Реакционно-способные молекулы термореактивных полимеров могут образоваться более простым и естественным путем — постепенно от мономера к димеру, потом к тримеру, тетрамеру и т. д. Такое объединение мономеров, их «конденсацию», называют реакцией поликонденсации; она не требует ни высокой чистоты, ни давлений, но сопровождается изменением химического состава, а часто и выделением побочных продуктов (обычно водяного пара) (рис. 2). Именно эта реакция реализуется в природе; она может быть легко осуществлена за счет лишь небольшого нагрева в самых простых условиях, вплоть до домашних. Такая высокая технологичность термореактивных полимеров предоставляет широкие возможности изготовлять различные изделия на нехимических предприятиях, в том числе на радиозаводах.
Независимо от вида и состава исходных веществ и способов получения материалы на основе полимеров можно классифицировать следующим образом: пластмассы, волокниты, слоистые пластики, пленки, покрытия, клеи. Я не буду особо заострять внимание на всех этих продуктах, расскажу лишь о самых широко используемых. Необходимо показать, насколько велика потребность полимерных материалов в наше время, а, следовательно, и важность их переработки. Иначе проблема была бы просто необоснованна.
1.2 ПЛАСТИКИ
Слово "пластик" происходит из греческого языка и обозначает материал, который может быть спрессован или сформован в любую форму по выбору. Согласно этой этимологии даже глину можно было бы назвать пластиком, однако в действительности пластиками называют только изделия из синтетических материалов. Американское общество испытаний и материалов определяет, что такое пластик, следующим образом: "это любой представитель широкого круга разнообразных материалов, полностью или частично органических по составу, которому можно придать необходимую форму при воздействии температуры и (или) давления".
Известны сотни пластиков. В табл. 1 представлены основные их виды и приведены отдельные представители каждого из видов. Следует отметить, что в настоящее время не существует единого способа описания всего разнообразия пластиков ввиду их многочисленности.
Таблица 1. Основные типы пластиков
| Тип | Типичные представители | Тип | Типичные представители |
| Акриловые пластики Аминопластики | Полиметилметакрилат (ПММА) Полиакрилонитрил (ПАН) Мочевиноформальдегидная смола Меламиноформальдегидная смола | Полиэфиры | Ненасыщенные полиэфирные смолы Полиэтилснтерефталат (ПЭТФ) Полиэтилснадипат |
| Целлюлозы | Этилцеллюлоза Ацетат целлюлозы Нитрат целлюлозы |
Полиолефины Стирольные пластики | Полиэтилен (ПЭ) Полипропилен (ПП) Полистирол (ПС) |
| Эпоксидные пластики | Эпоксидные смолы | Сополимер стирола с акрилонитрилом | |
| Фторопласты | Политетрафторэтилен (ПТФЭ) Поливинилиденфторид | Сополимер акрилонитрила со стиролом и бутадиеном (АБС) | |
| Фенопласты | Фенолоформальдегидная смола Фенолофурфуроловая смола | Виниловые пластики | Поливинилхлорид (ПВХ) Поливинилбутираль |
| Полиамидные пластики (найлоны) | Поликапролактам (ПА-6) Полигексам етиленадипамид (ПА-6,6) | Сополимер винилхлорида с винилацетатом |
Первым термопластом, нашедшим широкое применение, был целлулоид — искусственный полимер, полученный путем переработки природного — целлюлозы. Он сыграл большую роль в технике, особенно в кинематографе, но вследствие исключительной пожароопасности (по составу целлюлоза очень близка к бездымному пороху) уже в середине XX в. ее производство упало почти до нуля.
Развитие электроники, телефонной связи, радио настоятельно требовало создания новых электроизоляционных материалов с хорошими конструкционными и технологическими свойствами. Так появились искусственные полимеры, изготовленные на основе той же целлюлозы, названные по первым буквам областей применения этролами. В настоящее время лишь 2 ... 3% мирового производства полимеров составляют целлюлозные пластики, тогда как примерно 75% — синтетические термопласты, причем 90% из них приходится на долю только трех: полистирола, полиэтилена, поливинилхлорида.
Полистирол вспенивающийся, например, широко используется как теплозвукоизоляционный строительный материал. В радиоэлектронике он находит применение для герметизации изделий, когда надо обеспечить минимальные механические напряжения, создать временную изоляцию от воздействия тепла, излучаемого другими элементами, или низких температур и устранить их влияние на электрические свойства, следовательно, — в бортовой иСВЧ- аппаратуре.
1.3 ЭЛАСТОМЕРЫ
Обычно эластомеры называют каучуками. Воздушные шары, подошвы ботинок, шины, хирургические перчатки, садовые шланги – это типичные примеры изделий из эластомеров. Классическим примером эластомеров является природный каучук.
Макромолекула каучука имеет спиральное строение с периодом идентичности 0,913 нм и содержит более 1000 изопреновых остатков. Строение макромолекулы каучука обеспечивает его высокую эластичность – наиболее важное техническое свойство. Каучук обладает поразительной способностью обратимо растягиваться до 900% первоначальной длины.
Разновидностью каучука является менее эластичная гуттаперча, или балата, - сок некоторых каучуконосных растений, произрастающих в Индии и на Малайском полуострове. В отличие от каучука молекула гуттаперчи короче и имеет транс-1,4-строение с периодом идентичности 0,504 нм.
Выдающееся техническое значение натурального каучука, отсутствие его в ряде стран, в том числе в Советском Союзе, экономически рентабельных источников, стремление располагать материалами, превосходящими по ряду свойств (масло-, морозостойкость, прочность к стиранию) натуральный каучук, стимулировали исследования по получению синтетического каучука.
В настоящее время используется несколько синтетических эластомеров. Они включают в себя полибутадиены, сополимеры стирола с бутадиеном, акрилонитрила с бутадиеном (нитрильный каучук), полиизопрен, полихлоропрен (неопрен), сополимер этилена с пропиленом, сополимер изопрена с изобутиленом (бутиловый каучук), полифторуглерод, полиуретан и силиконовые каучуки. Сырьем для получения синтетического каучука по способу Лебедева служит этиловый спирт. Теперь разработано получение бутадиена из бутана через каталитическое дегидрирование последнего.
Ученые добились успеха и сегодня более одной трети резины, производимой в мире, изготовляется из синтетического каучука. Каучук и резина внести огромный вклад в технический прогресс последнего столетия. Вспомним хотя бы о резиновых сапогах и разнообразных изоляционных материалах, и нам станет ясна роль каучука в важнейших отраслях хозяйства. Более половины мирового производства эластомеров расходуется на производство шин. На изготовление покрышек для малолитражки нужно около 20-ти кг каучука, причем разных сортов и марок, а для самосвала почти 1900 кг. Меньшая часть идет на остальные виды резиновых изделий. Каучук делает нашу жизнь удобнее.
1.4 ВОЛОКНА
Всем нам известны волокна природного происхождения, такие, как хлопок, шерсть, лен и шелк. Также нам знакомы синтетические волокна из найлона, полиэфиров, полипропилена и акрилов. Основной отличительной чертой волокон является то, что их длина в сотни раз превосходит их диаметр. Если натуральные волокна (кроме шелка) представляют собой штапельные волокна, то синтетические могут быть получены как в виде непрерывных нитей, так и в виде штапельною волокна.
С точки зрения потребителя волокна могут быть трех типов; повседневного спроса, безопасные и промышленные.
Волокнами повседневного спроса называют волокна, используемые для изготовления нижней и верхней одежды. В эту группу входят волокна для изготовления белья, носков, рубашек, костюмов и пр.Эти волокна должны обладать соответствующей прочностью и растяжимостью, мягкостью, не горючестью, поглощать влагу и хорошо окрашиваться. Типичными представителями этого класса волокон являются хлопок, шелк, шерсть, найлон, полиэфиры и акрилаты.
Безопасными волокнами называют волокна, используемые для производства ковров, занавесей, чехлов для кресел, драпировок и пр. Подобные волокна должны быть жесткими, прочными, долговечными и износостойкими. С точки зрения безопасности к этим волокнам предъявляются следующие требования: они должны плохо воспламеняться, не распространять пламя и при горении выделять минимальное количество тепла, дыма и токсических газов. При добавлении небольших количеств веществ, содержащих такие атомы, как В, N, Si, P, C1, Вг или Sb, в волокна повседневного спроса удается придать им огнестойкие свойства и, таким образом, превратить их в безопасные волокна. Введение в волокна модифицирующих добавок уменьшает их горючесть, снижает распространение пламени, но не приводит к уменьшению выделения токсических газов и дыма при горении. Исследования показали, что в качестве безопасных волокон' могут быть использованы ароматические полиамиды, полиимиды, полибензимидазолы и полиоксидиазолы. Однако при горении этих волокон наблюдается выделение токсических газов, поскольку в их молекулах содержатся атомы азота. Этого недостатка лишены ароматические полиэфиры.
Промышленные волокна используются в качестве армирующих материалов в композитах. Эти волокна также называют структурными волокнами, поскольку они обладают высоким модулем, прочностью, термостойкостью, жесткостью, долговечностью. Структурные волокна используют для упрочнения таких изделий, как жесткие и гибкие трубы, трубки и шланги, а также в композиционных структурах, называемых волокнитами и применяемых в конструкциях кораблей, автомобилей, самолетов и даже зданий. К этому классу волокон относятся одноосно ориентированные волокна ароматических полиамидов и полиэфиров, углеродные и кремневые волокна.
2. ПЕРЕРАБОТКА ПОЛИМЕРОВ
2.1 КОМПАУНДИРОВАНИЕ
Полимеры в чистом виде, полученные с промышленных предприятий после их выделения и очистки, называются "первичными" полимерами или "первичными" смолами. За исключением некоторых полимеров, таких, как полистирол, полиэтилен, полипропилен, первичные полимеры обычно не пригодны для прямой переработки. Первичный поливинилхлорид, например, является материалом рогоподобной фактуры и не может быть сформован без предварительного смягчения путем добавления пластификатора. Аналогично этому для формования натурального каучука требуется введение в него вулканизующего агента. Большинство полимеров защищают от термической, окислительной и фотодеструкции введением в них подходящих стабилизаторов. Добавление в полимер красителей и пигментов перед формованием позволяет получить изделия самых различных цветов. Для уменьшения трения и улучшения течения полимера внутри перерабатывающего оборудования в большинство полимеров добавляют смазочные материалы и вещества для улучшения технологических свойств. Наполнители же в полимер обычно добавляют для придания им специальных свойств и уменьшения стоимости конечного продукта.
Процесс, включающий в себя введение таких ингредиентов, как пластификаторы, вулканизирующие агенты, отвердители, стабилизаторы, наполнители, красители, пламегасители и смазочные вещества, в первичный полимер, называют “компаундированием”, а смеси полимеров с этими добавками – “компаундами”.
Первичные пластические полимеры, такие, как полистирол, полиэтилен, полиметилметакрилат и поливинилхлорид, обычно находятся в виде сыпучих мелких порошков. Ингредиенты в виде мелкого порошка или жидкости смешивают с порошкообразным первичным полимером с использованием планетарных миксеров, V-смесителей, мешалок с ленточной винтовой лопастью, Z-миксеров или опрокидывателей. Смещение можно проводить или при комнатной, или при повышенной температуре, которая, однако, должна быть намного ниже температуры размягчения полимера. Жидкие форполимеры смешивают с использованием простых высокоскоростных мешалок.
Первичные эластомерные полимеры, такие, как натуральный каучук, бутадиенстирольный каучук или нитрильный каучук, получают в виде крошки, спрессованной в толстые пластины, называемые "кипами". Они, как правило, смешаны с вулканизирующими агентами, катализаторами, наполнителями, антиоксидантами и смазочными материалами. Поскольку эластомеры не являются сыпучими порошками, как первичные пластические материалы, их нельзя смешивать с названными выше ингредиентами, используя методы, применяемые для первичных пластиков. Смешение первичных пластических полимеров с другими компонентами компаунда достигается перемешиванием, тогда как получение компаунда первичных эластомеров включает в себя вальцевание крошки в пластичные листы и последующее введение в полимер требуемых ингредиентов. Компаундирование эластомеров проводят или на двухвальковой каучуковой мельнице, или на смесителе Бенбери с внутренним смешением. Эластомеры в виде латекса или низкомолекулярных жидких смол могут быть смешаны простым перемешиванием с использованием высокоскоростных мешалок. В случае волокнообразующих полимеров компаундирование не проводят. Такие компоненты, как смазочные вещества, стабилизаторы и наполнители, обычно напрямую вводят в расплав или раствор полимера непосредственно перед прядением нити.
2.2 ТЕХНОЛОГИЯ ПЕРЕРАБОТКИ
Тот факт, что полимерные материалы используют в самых различных формах, таких, как стержни, трубы, листы, пенопласты, покрытия или адгезивы, а также как прессованные изделия, подразумевает наличие разнообразных способов переработки полимерных компаундов в конечные продукты. Большинство полимерных изделий получено либо формованием, либо обработкой, либо отливкой жидких форнолимеров в форме с последующим отвердением или сшиванием. Волокна получают в процессе прядения.
Процесс формования можно сравнить, например, с лепкой какой-либо фигуры из глины, а процесс обработки — с вырезанием той же фигуры из куска мыла. В процессе формования компаунд в виде порошка, чешуек или гранул помещают в пресс-форму и подвергают воздействию температуры и давления, в результате чего образуется конечный продукт. В процессе обработки получают изделия в виде простых форм, таких, как листы, стержни или трубы, используя штапелирование, штамповку, склейку и сварку.
Прежде чем перейти к обсуждению разнообразных методов переработки полимеров, напомним, что полимерные материалы могут быть термопластичными или термореактивными (термоотверждающимися). После формования термопластичных материалов под действием температуры и давления перед освобождением из пресс-формы их следует охлаждать ниже температуры размягчения полимера, так как в противном случае они теряют форму. В случае термореактивных материалов такой необходимости нет, поскольку после однократного совместного воздействия температуры и давления изделие сохраняет приобретенную форму даже при его освобождении из пресс-формы при высокой температуре.
2.3 КАЛАНДРОВАНИЕ
Процесс каландрования обычно применяют для производства непрерывных пленок и листов. Основной частью аппарата (рис.1) для каландрования является комплект гладко отполированных металлических валков, вращающихся в противоположных направлениях, и устройство для точного регулирования зазора между ними. Зазор между валками определяет толщину каландрованного листа. Полимерный компаунд подается на горячие валки, а лист, поступающий с этих валков, охлаждается при прохождении через холодные валки. На последнем этапе листы сматываются в рулоны, как показано на рис.1. Однако если вместо листов требуется получить тонкие полимерные пленки, применяют серию валков с постепенно уменьшающимся зазором между ними. Обычно в листы каландруют такие полимеры, как поливинилхлорид, полиэтилен, каучук и сополимер бутадиена, стирола и акрилонитрила.

Рис. 1. Схема аппарата для каландрования
/ — полимерный компаунд; 2 — каландровочные валки: горячие (3) и холодный (4); 5 — каландрованный лист; б — направляющие валки; 7 — сматывающее устройство
При использовании в каландровочной машине профилированных валков можно получать тисненые листы различных рисунков. Различные декоративные эффекты, такие, как имитация под мрамор, могут быть достигнуты путем введения в каландр смеси компаундов различных цветов. Технология обработки под мрамор обычно используется в производстве плиток для пола из поливинилхлорида.
2.4 ЛИТЬЕ
ЛИТЬЕ В ФОРМЕ. Это сравнительно недорогой процесс, который состоит в переработке жидкого форполимера в твердые изделия требуемой формы. Этим методом могут быть получены листы, трубы, стержни и т.п. изделия ограниченной длины. Схематически процесс литья в форме представлен на рис.2. В этом случае форполимер, смешанный в соответствующих пропорциях с отвердителем и другими ингредиентами, выливают в чашку Петри, которая и служит формой. Затем чашку Петри помещают на несколько часов в печь, нагретую до необходимой температуры, до полного завершения реакции отвердения. После охлаждения до комнатной температуры твердый продукт вынимают из формы. Твердое тело, отлитое таким образом, будет иметь форму внутреннего рельефа чашки Петри.

Рис. 2. Простейшее изображение процесса литья в форме
б — наполнение чашки Петри форполимером и отвердителем; б - нагревание в печи; б — извлечение из формы остывшего продукта
Если вместо чашки Петри использовать цилиндрическую стеклянную трубу, закрытую с одного конца, можно получить изделие в виде цилиндрического стержня. Кроме того, вместо форполимера и отвердителя в форме можно вылить смесь мономера, катализатора и других ингредиентов, нагретую до температуры полимеризации. Полимеризация в этом случае будет протекать внутри формы до образования твердого продукта. Для литья в форме подходят акрилы, эпоксиды, полиэфиры, фенолы и уретаны.
Формы для литья изготавливают из алебастра, свинца или стекла. В процессе отвердения происходит усадка полимерного блока, что облегчает его освобождение из формы.
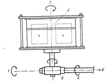
РОТАЦИОННОЕ ЛИТЬЕ . Полые изделия, такие, как мячи и куклы, получают в процессе, называемом "ротационное литье". Аппарат, используемый в этом процессе, представлен на рис.3.
Компаунд термопластического материала в виде мелкого порошка помещают в полую форму. Используемый аппарат имеет специальное приспособление для одновременного вращения формы вокруг первичной и вторичной осей. Форму закрывают, нагревают и вращают. Это приводит к однородному распределению расплавленного пластика по всей внутренней поверхности полой формы. Затем вращающуюся форму охлаждают холодной водой. При охлаждении расплавленный пластический материал, однородно распределенный по внутренней поверхности формы, затвердевает. Теперь форму можно открывать и вынуть конечное изделие.
Также в форму может быть загружена жидкая смесь термореактивного форполимера с отвердителем. Отвердение в этом случае будет происходить при вращении под действием повышенной температуры.
Ротационным литьем производят изделия из поливинилхлорида, такие, как галоши, полые шары или головы для кукол. Отвердение поливинилхлорида осуществляется путем физического гелеобразования между поливинилхлоридом и жидким пластификатором при температурах 150
200°С. Мелкие частицы поливинилхлорида однородно диспергированы в жидком пластификаторе вместе со стабилизаторами и красителями, образуя, таким образом, вещество со сравнительно низкой вязкостью. Этот пастообразный материал, называемый "пластизоль", загружают в форму и откачивают из нее воздух. Затем форму начинают вращать и нагревать до требуемой температуры, что приводит к гелеобразованию поливинилхлорида. Толщина стенок образующегося продукта определяется временем гелеобразования.

Рис.3. В процессе ротационного литья полые формы, наполненные полимерным материалом, одновременно вращают вокруг первичной и вторичной осей
1 — первичная ось; 2 — вторичная ось; 3 — деталь разъемной формы; 4 — полости формы; 5 — кожух зубчатой передачи; б—к мотору
После достижения требуемой толщины стенок избыток пластизоля удаляется для проведения повторного цикла. Для окончательной гомогенизации смеси частиц поливинилхлорида с пластификатором гелеобразный продукт внутри формы нагревают. Конечный продукт вынимают из формы после его охлаждения струёй воды. Метод ротационного литья с использованием жидкого материала известен как метод "формования полых изделий заливкой и вращением формы".
ЛИТЬЕ ПОД ДАВЛЕНИЕМ. Наиболее удобным процессом для производства изделий из термопластичных полимеров является процесс литья под давлением. Несмотря на то что стоимость оборудования в этом процессе достаточно высока, его несомненным достоинством является высокая производительность. В этом процессе дозированное количество расплавленного термопластичного полимера впрыскивается под давлением в сравнительно холодную пресс-форму, где и происходит его затвердевание в виде конечного продукта.
Аппарат для литья под давлением изображен на рис.6. Процесс состоит из подачи компаундированного пластического материала в виде гранул, таблеток или порошка из бункера через определенные промежутки времени в нагретый горизонтальный цилиндр, где и происходит его размягчение. Гидравлический поршень обеспечивает давление, необходимое для того, чтобы протолкнуть расплавленный материал по цилиндру в форму, расположенную на его конце. При движении полимерной массы вдоль горячей зоны цилиндра устройство, называемое "торпедой", способствует однородному распределению пластического материала по внутренним стенкам горячего цилиндра, обеспечивая таким образом равномерное распределение тепла по всему объему. Затем расплавленный пластический материал впрыскивают через литьевое отверстие в гнездо пресс-формы.
В простейшем виде пресс-форма представляет собой систему из двух частей: одна из частей движущаяся, другая — стационарная (см. рис.6). Стационарная часть пресс-формы фиксируется на конце цилиндра, а подвижная снимается и надевается на нее.
При помощи специального механического устройства пресс-форма плотно закрывается, и в это время происходит вспрыскивание расплавленного пластического материала под давлением 1500 кг/см
. Закрывающее механическое устройство должно быть сделано таким образом, чтобы выдерживать высокие рабочие давления. Равномерное течение расплавленного материала во внутренних областях пресс-формы обеспечивается ее предварительным нагревом до определенной температуры. Обычно эта температура несколько ниже температуры размягчения прессуемого пластического материала. После заполнения формы расплавленным полимером ее охлаждают циркулирующей холодной водой, а затем открывают для извлечения готового изделия. Весь этот цикл может быть повторен многократно как в ручном, так и в автоматическом режиме.
ОТЛИВКА ПЛЕНОК. Метод отливки используют также и для производства полимерных пленок. В этом случае раствор полимера соответствующей концентрации постепенно выливают на движущийся с постоянной скоростью металлический пояс (рис.4), на поверхности которого и происходит образование непрерывного слоя полимерного раствора.

Рис.4. Схема процесса отливки пленок
/ — раствор полимера; 2 — распределительный клапан; 3 — раствор полимера растекается с образованием пленки; 4 — растворитель испаряется; 5 — бесконечный металлический пояс; 6 — непрерывная полимерная пленка; 7 — сматывающая катушка
При испарении растворителя в контролируемом режиме на поверхности металлического пояса происходит образование тонкой полимерной пленки. После этого пленка снимается простым отслаиванием. Этим способом получают большинство промышленных целлофановых листов и фотографических пленок.
2.5 ПРЯМОЕ ПРЕССОВАНИЕ
Метод прямого прессования широко используется для производства изделий из термореактивных материалов. На рис.5 представлена типичная пресс-форма, используемая для прямого прессования. Форма состоит из двух частей — верхней и нижней или из пуансона (позитивная форма) и матрицы (негативная форма). В нижней части пресс-формы имеется выемка, а в верхней — выступ. Зазор между выступом верхней части и выемкой нижней части в закрытой пресс-форме и определяет конечный вид прессуемого изделия.
В процессе прямого прессования термореактивный материал подвергается однократному воздействию температуры и давления. Применение гидравлического пресса с нагреваемыми пластинами позволяет получить желаемый результат.

Рис.5. Схематическое изображение пресс-формы, используемой в процессе прямого формования
1 — полость формы, наполненная термореактивным материалом; 2 — направляющие шипы; 3 — заусенец; 4 - сформованное изделие
Температура и давление при прессовании могут достигать 200 °С и 70 кг/см2 соответственно. Рабочие температура и давление определяются реологическими, термическими и другими свойствами прессуемого пластического материала. Выемка пресс-формы полностью заполняется полимерным компаундом. Когда под давлением пресс-форма закрывается, материал внутри нее сдавливается и прессуется в требуемую форму. Избыточный материал вытесняется из пресс-формы в виде тонкой пленки, которую называют "заусенец". Под действием температуры прессуемая масса отвердевает. Для освобождения конечного продукта из пресс-формы охлаждения не требуется.

Рис..6. Схематическое изображение процесса литья под давлением
1 — компаундированный пластический материал; 2 — загрузочная воронка; 3 — поршень; 4 — электрический нагревательный элемент; 5 — стационарная часть формы;
6 — подвижная часть формы; 7 — основной цилиндр; 8 - торпеда; 9 - размягченный пластический материал; 10 — пресс-форма; 11 - изделие, сформованное методом литья под давлением
2.6 ФОРМОВАНИЕ
ПНЕВМОФОРМОВАНИЕ. Большое количество полых пластических изделий производят методом пневмоформования: канистры, мягкие бутылки для напитков и пр. Пневмоформованию могут быть подвергнуты следующие термопластичные материалы: полиэтилен, поликарбонат, поливинилхлорид, полистирол, найлон, полипропилен, акрилы, акрилонитрил, акрилонитрил-бутадиенсти-рольнын полимер, однако по ежегодному потреблению первое место занимает полиэтилен высокой плотности.
Пневмоформование ведет свое происхождение от стеклодувной промышленности. Схема этого процесса дана на рис.7.
Горячую размягченную термопластичную трубку, называемую "заготовкой", помещают внутрь полой формы, состоящей из двух частей. Когда форма закрыта, обе ее половины зажимают один конец заготовки и иглу для подачи воздуха, расположенную на другом конце трубки.

Рис.7. Схематическая диаграмма, объясняющая стадии процесса пневмоформования
а — заготовка, помещенная в открытую пресс-форму; б — закрытая пресс-форма;
в — вдувание воздуха в пресс-форму; г — открывание пресс-формы. 1— заготовка;
2 - игла для подачи воздуха; 3 - пресс-форма; 4 - воздух; 5 - изделие, изготовленное методом пневмоформования
Под действием давления, подаваемого из компрессора через иглу, горячая заготовка раздувается как шар до плотного соприкосновения с относительно холодной внутренней поверхностью формы. Затем форму охлаждают, открывают и вынимают готовое твердое термопластичное изделие.
Заготовка для пневмоформования может быть получена методом литья под давлением или экструзии, и в зависимости от этого метод называют соответственно литьем под давлением с раздувкой или пневмоформованием с экструзией.
ФОРМОВАНИЕ ЛИСТОВЫХ ТЕРМОПЛАСТОВ. Формование листовых термопластов является чрезвычайно важным процессом для производства трехмерных изделий из пластиков. Этим методом из листов акрилонитрилбутадиенстирола получают даже такие крупные изделия, как корпуса подводных лодок.
Схема этого Процесса такова. Термопластичный лист нагревают до температуры его размягчения. Затем пуансон впрессовывает горячий гибкий лист в матрицу металлической пресс-формы (рис.9), при этом лист принимает определенную форму. При охлаждении сформованное изделие затвердевает и извлекается из пресс-формы.
В модифицированном методе под действием вакуума горячий лист засасывается в полость матрицы и принимает требуемую форму (рис.10). Этот метод называется методом вакуумного формования.
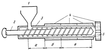
2.7 ЭКСТРУЗИЯ
Экструзия является одним из самых дешевых методов производства широко распространенных пластических изделий, таких, как пленки, волокна, трубы, листы, стержни, шланги и ремни, причем профиль этих изделий задается формой выхлопного отверстия головки экструдера. Расплавленный пластик при определенных условиях выдавливают через выходное отверстие головки экструдера, что и придает желаемый профиль экструдату. Схема простейшей экструзионной машины показана на рис.8.

Рис 8. Схематическое изображение простейшей экструзионной машины
1 — загрузочная воронка; 2 - шнек; 3 - основной цилиндр; 4 — нагревательные элементы; 5 — выходное отверстие головки экструдера, а — зона загрузки; б — зона сжатия; в ~ зона гомогенизации
В этой машине порошок или гранулы компаундированного пластического материала загружают из бункера в цилиндр с электрическим обогревом для размягчения полимера. Спиралевидный вращающийся шнек обеспечивает движение горячей пластической массы по цилиндру. Поскольку при движении полимерной массы между вращающимся шнеком и цилиндром возникает трение, это приводит к выделению тепла и, следовательно, к повышению температуры перерабатываемого полимера. В процессе этого движения от бункера к выходному отверстию головки экструдера пластическая масса переходит три четко разделенные зоны: зону загрузки (а), зону сжатия (б) и зону гомогенизации (в) (см. рис 9).
Каждая из этих зон вносит свой вклад в процесс экструзии. Зона загрузки, например, принимает полимерную массу из бункера и направляет ее в зону сжатия, эта операция проходит без нагревания.

Рис. 9. Схема процесса формования листовых термопластов
1 — лист термопластического материала; 2 — зажим; 3 — пуансон; 4 — размягченный нагревом лист; 5 — матрица; 6 — изделие, полученное методом формования листовых термопдастов

Рис.10. Схема процесса вакуумного формования термопластов
1 — зажим; 2 — лист термопласта; 3 — пресс-форма; 4 — изделие, полученное методом вакуумного формования термопластов
В зоне сжатия нагревательные элементы обеспечивают плавление порошкообразной загрузки, а вращающийся шнек сдавливает ее. Затем пастообразный расплавленный пластический материал поступает в зону гомогенизации, где и приобретает постоянную скорость течения, обусловленную винтовой нарезкой шнека.
Под действием давления, создаваемого в этой части экструдера, расплав полимера подается на выходное отверстие головки экструдера и выходит из него с желаемым профилем. Из-за высокой вязкости некоторых полимеров иногда требуется наличие еще одной зоны, называемой рабочей, где полимер подвергается воздействию высоких сдвиговых нагрузок для повышения эффективности смешения. Экструдированный материал требуемого профиля выходит из экструдера в сильно нагретом состоянии (его температура составляет от 125 до 350°С), и для сохранения формы требуется его быстрое охлаждение. Экструдат поступает на конвейерную ленту, проходящую через чан с холодной водой, и затвердевает. Для охлаждения экструдата также применяют обдувку холодным воздухом и орошение холодной водой. Сформованный продукт в дальнейшем или разрезается или сматывается в катушки.
Процесс экструзии используют также для покрытия проволок и кабелей поливинилхлоридом или каучуком, а стержнеобразных металлических прутьев — подходящими термопластичными материалами.
2.8 ВСПЕНИВАНИЕ
Вспенивание является простым методом получения пено- и губкообразных материалов. Особые свойства этого класса материалов — амортизирующая способность, легкий вес, низкая теплопроводность - делают их весьма привлекательными для использования в различных целях. Обычными вспенивающимися полимерами являются полиуретаны, полистирол, полиэтилен, полипропилен, силиконы, эпоксиды, ПВХ и пр. Вспененная структура состоит из изолированных (закрытых) или взаимопроникающих (открытых) пустот. В первом случае, когда пустоты закрыты, они могут заключать в себе газы. Оба тина структур схематически представлены на рис.11.

Рис.11. Схематическое изображение ячеистых структур открытого и закрытого типов, образующихся в процессе вспенивания
1- дискретные (закрытые) ячейки; 2 — взаимопроникающие (открытые) ячейки;
3 — стенки ячеек
Существует несколько методов для производства вспененных или ячеистых пластиков. Один из них заключается в том, что через расплавленный компаунд продувают воздух или азот до его полного вспенивания. Процесс вспенивания облегчается при добавлении поверхностно-активных агентов. По достижении требуемой степени вспенивания матрицу охлаждают до комнатной температуры. В этом случае термопластичный материал затвердевает во вспененном состоянии. Термореактивные жидкие форполимеры могут быть вспенены в холодном состоянии, а затем нагреты до полного их отвердения. Обычно вспенивание достигается добавлением в полимерную массу пено- или газообразователей. Такими агентами являются низкомолекулярные растворители или определенные химические соединения. Процесс кипения таких растворителей, как н-пентан и н-гексан, при температурах отвердения полимерных материалов сопровождается интенсивным процессом парообразования. С другой стороны, некоторые химические соединения при этих температурах могут разлагаться с выделением инертных газов. Так, азо-бис-изобутиронитрил термически разлагается, освобождая при этом большой объем азота
, выделяющийся в полимерную матрицу в результате протекания реакции между изоцианатом и водой, также используется для производства вспененных материалов, например пены полиуретана:
![]()
Поскольку полиуретаны получают по реакции полиола с диизоцианатом, то для вспенивания продукта реакции необходимо добавление дополнительных небольших количеств диизоцианата и воды.
Итак, большое количество паров или газов, выделяемых пено- и газообразователями, приводит к вспениванию полимерной матрицы. Полимерную матрицу во вспененном состоянии охлаждают до температур ниже температуры размягчения полимера (в случае термопластичных материалов) или подвергают реакции отвердения или сшивания (в случае термореактивных материалов), в результате матрица приобретает жесткость, необходимую для сохранения вспененной структуры. Этот процесс называется процессом "стабилизации пены". Если матрицу не охлаждать ниже температуры размягчения или не сшивать, наполняющие ее газы покидают систему пор и пена коллапсирует.
Пенопласты могут быть получены в гибкой, жесткой и полужесткой формах. Для того чтобы получить изделия из пенопласта напрямую, вспенивание следует проводить непосредственно внутри пресс-формы. Пенопластовые листы и стержни также могут быть использованы для производства различных изделий. В зависимости от природы полимера и степени вспенивания плотность пенопластов может составлять от 20 до 1000 кг/см3 . Использование пенопластов весьма многообразно. Например, автомобильная промышленность использует большие количества пенопластов из ПВХ и полиуретана для обивки. Большую роль эти материалы играют и при изготовлении мебели. Жесткие полистирольные пенопласты широко используются для упаковки и теплоизоляции зданий. Пенорезины и пенополиуретаны используют для набивки матрасов и пр. Жесткие пенополиуретаны также применяются для теплоизоляции зданий и для изготовления протезов.
2.9 АРМИРОВАНИЕ
При армировании пластической матрицы высокопрочным волокном получают системы, называемые "армированные волокном пластики" (АВП). АВП обладают весьма ценными свойствами: их отличает высокое отношение прочности к весу, значительная коррозионная стойкость и простота изготовления. Методом армирования волокнами удается получать широкий круг изделий. Например, конструкторов, создателей космических кораблей при создании искусственных спутников в АВП прежде всего привлекает поразительно высокое отношение прочности к весу. Красивый внешний вид, небольшой вес и коррозионная стойкость позволяют использовать АВП для обшивки морских судов. Кроме того, АВП используют даже в качестве материала для танков, в которых хранят кислоты.
Остановимся теперь подробнее на химическом составе и физической природе этих необычных материалов. Как было отмечено выше, они представляют собой полимерный материал, специальные свойства которого обусловлены введением в него армирующих волокон. Основными материалами, из которых изготовляют армирующие волокна (как мелко нарезанные, так и длинные), являются стекло, графит, алюминий, углерод, бор и бериллий. Самые последние достижения в этой области связаны с использованием в качестве армирующих волокон полностью ароматического полиамида, что обеспечивает более чем 50%-ное уменьшение веса по сравнению с армированными пластиками на основе традиционных волокон. Для армирования также используются и натуральные волокна, такие, как сисал, асбест и пр. Выбор армирующего волокна прежде всего определяется требованиями, предъявляемыми к конечному продукту. Однако стеклянные волокна остаются и по сей день широко используемыми и до сих пор вносят основной вклад в промышленное производство АВП. Наиболее привлекательными свойствами стеклянных волокон являются низкий коэффициент термического расширения, высокая стабильность размеров, низкая стоимость производства, высокая прочность при растяжении, низкая диэлектрическая константа, не горючесть и химическая стойкость. Другие армирующие волокна используют в основном в тех случаях, когда требуются некоторые дополнительные свойства для эксплуатации АВП в специфических условиях, несмотря на их более высокую стоимость по сравнению со стеклянными волокнами.
АВП получают путем связывания волокон с полимерной матрицей и ее последующего отвердения под действием давления и температуры. Армирующие добавки могут быть в виде мелко порезанных волокон, длинных нитей и тканей. Основными полимерными матрицами, используемыми в АВП, являются полиэфиры, эпоксиды, фенолы, силиконы, меламин, производные винила и полиамиды. Большинство АВП получают на основе полиэфирных полимеров, главное достоинство которых составляет их низкая стоимость. Фенольные полимеры используют в тех случаях, когда требуется высокая термостойкость. Чрезвычайно высокие механические свойства АВП приобретают при использовании в качестве полимерной матрицы эпоксидных смол. Использование силиконовых полимеров придает АВП замечательные электрические и термические свойства.
В настоящее время существует несколько методов армирования пластикой. Наиболее часто используемыми из них являются: 1) метод наслоения листов вручную, 2) метод наматывания волокна и 3) метод пропитки распылением.
МЕТОД НАСЛОЕНИЯ ЛИСТОВ ВРУЧНУЮ. Вполне вероятно, что это самый простой метод армирования пластиков. В этом случае качество конечного продукта во многом определяется умением и мастерством оператора. Весь процесс состоит из следующих стадий. Вначале форму покрывают тонким слоем адгезионной смазки на основе поливинилового спирта, силиконового масла или парафина. Это делается для предотвращения прилипания конечного изделия к форме. Затем форму покрывают слоем полимера, поверх которого кладут стеклоткань или мат. Эту стеклоткань, в свою очередь, покрывают другим слоем полимера.

Рис.12. Схематическое изображение метода наслоения листов вручную
1 - чередующиеся слои полимера и стеклоткани; 2 - пресс-форма; 3 - прокатывающий ролик
Все это для однородного прижимания стеклоткани к полимеру и удаления пузырьков воздуха плотно прокатывают роликами. Количество чередующихся слоев полимера и стеклоткани определяет толщину образца (рис.12).
Затем при комнатной или повышенной температуре происходит отвердение системы. После отвердения армированный пластик снимают с формы и проводят зачистку и окончательную отделку. Этим методом получают листы, части автомобильного кузова, корпуса для судов, трубы и даже фрагменты зданий.
МЕТОД НАМАТЫВАНИЯ ВОЛОКОН. Этот метод очень широко используется для производства таких армированных пластических изделий, как цилиндры, выдерживающие высокие давления, цистерны для хранения химических веществ и корпуса моторов ракет. Он состоит в том, что непрерывную мононить, волокно, пучок волокон или тканую ленту пропускают через ванную со смолой и отвердителем. По мере выхода волокна из ванны избыток смолы отжимается. Пропитанные смолой волокна или ленту затем наматывают на сердечник требуемой формы и отверждают под действием температуры.

Рис.13. Схематическое изображение метода наматывания волокна
1- подающая катушка; 2 - непрерывная нить; 3 - узел для пропитки волокна и отжима смолы; 4 - сердечник; 5 - пропитанные смолой волокна, намотанные на сердечник
Наматывающая машина (рис.13) сконструирована так, чтобы волокна могли наматываться на сердечник определенным образом. Натяжение волокна и способ его наматывания очень важны с точки зрения конечных деформационных свойств готового изделия.
МЕТОД ОПРЫСКИВАНИЯ. В этом методе используют пульверизатор с многоручьевой головкой. Струи смолы, отвердителя и нарезанного волокна одновременно подаются из пульверизатора на поверхность формы (рис.14), где они образуют слой определенной толщины. Нарезанное волокно определенной длины получают непрерывной подачей волокон в измельчающую головку аппарата. После достижения требуемой толщины полимерную массу при нагревании отверждают. Распыление является экспресс-методом для покрытия больших поверхностей. Многие современные пластические изделия, такие, как грузовые платформы, резервуары для хранения, кузова грузовиков и корпуса кораблей, получают именно этим методом.

Рис.14. Схематическое изображение метода опрыскивания
1 — форма; 2 — распыленная смесь нарезанного волокна и смолы; 3 — струя нарезанного волокна; 4 — непрерывное волокно; 5— смола; 6— отвердитель; 7 — узел для нарезания волокна и распыления; 8 — струя смолы
ДРУГИЕ МЕТОДЫ. Кроме описанных выше методов, в производстве армированных пластиков известны и другие, каждый из которых имеет свое специфическое назначение. Так, метод изготовления непрерывных слоистых материалов используют для производства непрерывных листов армированных слоистых пластиков различной толщины. В этом процессе каждый отдельный слой тканой ленты, поступающей с рулонов, пропитывают смолой и отвердителем, а затем спрессовывают вместе, пропуская через систему горячих валков. После отвердения под действием температуры получают слоистый пластик I требуемой толщины (рис.15). Толщину материала можно варьировать, изменяя количество слоев.

Рис.15. Схематическое изображения метода производства непрерывных слоистых материалов
1— подающие катушки; 2 — непрерывные листы стеклоткани; 3 — ванна для пропитки в смеси смолы с отвердителем; 4 - непрерывный слоистый пластик; 5 - слоистый пластик, нарезаемый на куски необходимого размера
Другой метод, известный как метод получения одноосно ориентированного волокнистого пластика, позволяет изготовить из непрерывных пучков волокон такие изделия, как полые прутья или рыболовные удочки. Этот процесс сравнительно прост. Непрерывный пучок волокон, предварительно обработанный смолой и отвердителем, протягивают через фильеру соответствующего профиля (рис.16), нагретую до определенной температуры. На выходе из фильеры профилированное изделие продолжают нагревать. Отвержденный профиль вытягивают из фильеры системой вращающихся валков. Этот процесс несколько напоминает экструзию с той лишь разницей, что при экструзии полимерный материал проталкивают через фильеру изнутри с помощью вращающегося шнека, а в описанном методе материал протягивают через выходное отверстие фильеры с внешней стороны.

Рис.16. Схематическое изображение метода получения одноосно ориентированного волокнистого пластика
1 — непрерывный пучок волокон, пропитанный смолой и отвердителем; 2 — нагревательный элемент; 3 — фильера; 4 — вращающиеся вытягивающие валки; 5 — готовое изделие, нарезанное на куски; 6 — профиль готового изделия
Кроме того, смесь, содержащая нарезанные волокна, смолу и отвердитель, может быть сформована любым другим подходящим методом, например методом прямого прессования. Термопластичные материалы, наполненные нарезанными волокнами, могут быть сформованы прямым прессованием, литьем под давлением или экструзией для получения конечного продукта с улучшенными механическими свойствами.
2.10 ПРЯДЕНИЕ ВОЛОКОН
Полимерные волокна получают в процессе, называемом прядением. Существуют три принципиально различных метода прядения: прядение из расплава, сухое и мокрое прядение. В процессе прядения из расплава полимер находится в расплавленном состоянии, а в других случаях - в виде растворов. Однако во всех этих случаях полимер, в расплавленном или растворенном состоянии, протекает через многоканальный мундштук, представляющий собой пластину с очень мелкими отверстиями для выхода волокон.
ПРЯДЕНИЕ ИЗ РАСПЛАВА. В своей простейшей форме процесс прядения из расплава может быть представлен следующим образом. Первоначально полимерные чешуйки расплавляют на нагретой решетке, превращая полимер в вязкую подвижную жидкость. Иногда в процессе нагревания происходит образование комков вследствие протекания процессов сшивания или термической деструкции. Эти комки могут быть легко удалены из горячего полимерного расплава пропусканием через систему блок-фильтров. Кроме того, для предотвращения окислительной деструкции расплав следует защищать от кислорода воздуха. Это достигается в основном созданием вокруг расплава полимера инертной атмосферы азота, СОд и водяного пара. Дозирующий насос подает расплав полимера с постоянной скоростью на многоканальный мундштук (фильеру). Расплав полимера проходит через систему мелких отверстий мундштука и выходит оттуда в виде непрерывных и очень тонких мононитей. При контакте с холодным воздухом происходит мгновенное затвердевание волокон, выходящих из фильер. Процессы охлаждения и отвердения могут быть в значительной мере ускорены при обдувке холодным воздухом. Выходящие из фильер твердые мононити наматываются на катушки.
Важная особенность, которую следует учитывать в процессе прядения из расплава, заключается в том, что диаметр мононити в значительной степени зависит от скорости, с которой расплавленный полимер проходит через фильеру, и от скорости, с которой мононить вытягивают из фильеры и сматывают на катушки.

Рис.17. Схематическое изображение процессов сухого прядения (а) и прядения из расплава (б)
1 — загрузочная воронка; 2 — полимерные чешуйки; 3 — нагретая решетка; 4 — горячий полимер; 5 — дозирующий насос; б — расплав; 7— многоканальный мундштук, 8 — свежеспряденное волокно; 9 — катушка; 10 — раствор полимера; 11 — фильтр;
12 — дозирующий насос; 13 — многоканальный мундштук; 14 — свежеспряденное волокно; 15 — на катушку
СУХОЕ ПРЯДЕНИЕ. Большое количество таких традиционных полимеров, как ПВХ или полиакрилонитрил, перерабатывают в волокна в крупных масштабах в процессе сухого прядения. Суть этого процесса показана на рис.17. Полимер растворяют в соответствующем растворителе с образованием высококонцентрированного раствора. Вязкость раствора регулируют увеличением температуры. Горячий вязкий раствор полимера продавливают через фильеры, получая, таким образом, тонкие непрерывные струйки. Волокно из этих струек образуется при простом испарении растворителя. Испарение растворителя может быть ускорено путем обдувания встречным потоком сухого азота. Волокна, образующиеся из раствора полимера, в конце концов наматывают на катушки. Скорость прядения волокон может достигать 1000 м/мин. Промышленные ацетатцеллюлозные волокна, полученные из 35%-ного раствора полимера в ацетоне при 40 °С, служат типичным примером получения волокон методом сухого прядения.
МОКРОЕ ПРЯДЕНИЕ. При мокром прядении, как и при сухом, используют сильно концентрированные полимерные растворы, высокую вязкость которых удается понизить повышением температуры прядения. Детально процесс мокрого прядения показан на рис.18. В процессе мокрого прядения происходит переработка вязкого раствора полимера в тонкие струнки при пропускании через фильеры. Затем эти полимерные струйки попадают в коагуляционную ванну с осадителем, где и происходит высаживание полимера из раствора в виде тонких нитей, которые после промывки, сушки и пр. собирают на катушках. Иногда в процессе мокрого прядения вместо непрерывных нитей образуются комки, что происходит в результате обрыва вытекающей из фильеры струйки под действием сил поверхностного натяжения.

Рис.18. Схематическое изображение процесса мокрого прядения
1 — раствор полимера; 2 — фильтр; 3 — дозирующий насос; 4 — многоканальный мундштук; 5 — осадитель; 6 — свежеспряденное волокно; 7 — ванна для коагуляции и осаждения; 8 — ванна для промывки; 9 — сушка; 10 — на катушку
Этого удается избежать при увеличении вязкости полимерного раствора. Коагуляция, которая является лимитирующей стадией мокрого прядения, процесс довольно медленный, чем и объясняется низкая, по сравнению с другими, скорость прядения раствора, равная 50 м/мин. В промышленности процесс мокрого прядения используют для получения волокон из полиакрилонитрила, целлюлозы, вискозного волокна и т.д.
ОДНООСНАЯ ОРИЕНТАЦИЯ. В процессе прядения волокон из полимерного расплава или раствора макромолекулы в волокне не ориентированы и, следовательно, их степень кристалличности сравнительно низка, что нежелательным образом отражается на физических свойствах волокна. Для улучшения физических свойств волокна подвергают операции, называемой одноосной вытяжкой, используя растягивающие аппараты определенного типа.
Основной особенностью аппарата является наличие системы двух роликов А и В (рис.19), вращающихся с различными скоростями. Ролик В вращается в 4-5 раз быстрее ролика А. Спряденную нить последовательно пропускают через ролик А, растягивающую шпильку 3 и ролик В. Поскольку ролик В вращается со скоростью большей, чем ролик А, волокно вытягивается под нагрузкой, задаваемой шпилькой 3. Вытяжка волокна осуществляется в зоне 2. После прохождения через ролик В вытянутая полимерная нить наматывается на металлическую бобину. Несмотря на то что в процессе вытяжки происходит уменьшение диаметра нити, ее прочностные свойства в значительной степени улучшаются вследствие ориентации макромолекул, параллельно оси волокна.
Рис.19. Схематическое изображение аппарата для одноосного ориентирования
1— невытянутая нить; 2 — зона вытяжки; 3 — растягивающая шпилька; 4— вытянутое волокно
ПОСЛЕДУЮЩАЯ ОБРАБОТКА ВОЛОКОН. Для улучшения полезных свойств волокон их часто подвергают дополнительной специальной обработке: очистке, смазке, проклейке, крашению и т.д.
Для очистки используют мыла и другие синтетические моющие средства. Очистка есть не что иное, как удаление грязи и других примесей с поверхности волокна. Смазка заключается в обработке волокон с целью защиты
их от трения с соседними волокнами и грубыми металлическими поверхностями в процессе переработки. В качестве смазывающих агентов в основном используют природные масла. Смазывание приводит также к уменьшению статического электричества, накапливающегося на волокнах.
Проклейкой называют процесс защитного покрытия волокон. В качестве проклеивающих материалов для большинства волокон используют поливиниловый спирт или желатину. Проклейка позволяет удерживать волокна в пределах компактного пучка и обеспечивает таким образом равномерное ткачество. Перед крашением ткани проклейку следует удалять промыванием в воде.
Для окрашивания волокна помещают в раствор красителя, молекулы которого проникают обычно лишь в аморфные области волокна.
Волокна на основе целлюлозы или белков быстро адсорбируют кислотные красители, которые легко связываются с амино- или гидроксильными группами полимеров. Процесс крашения синтетических волокон, таких, как полиэфиры, полиамиды или акрилы, протекает намного медленнее. Скорость крашения в этом случае удается увеличивать повышением температуры. Крашение волокон на основе поливинилхлорида, полиэтилена и пр. практически невозможно без введения в них активных абсорбционных центров при сополимеризации и химическом окислении.
ЗАКЛЮЕНИЕ
Как ранее было отмечено, к полимерам относятся многочисленные природные соединения: белки, нуклеиновые кислоты, целлюлоза, крахмал, каучук и другие органические вещества. Большое число полимеров получают синтетическим путем на основе простейших соединений элементов природного происхождения путем реакций полимеризации, поликонденсации, и химических превращений.
В начале 60-х г. полимеры считали лишь дешевыми заменителями дефицитного природного сырья - хлопка, шелка, шерсти. Но вскоре пришло понимание того, что полимеры, волокна и другие материалы на их основе подчас лучше традиционно используемых природных материалов - они легче, прочнее, более жаростойки, способны работать в агрессивных средах. Поэтому все свои усилия химики и технологи направили на создание новых полимеров, обладающих высокими эксплуатационными характеристиками, и методов их переработки. И достигли в этом деле результатов, порой превосходящих результаты аналогичной деятельности известных зарубежных фирм.
Полимеры широко применяются во многих областях человеческой деятельности, удовлетворяя потребности различных отраслей промышленности, сельского хозяйства, медицины, культуры и быта. При этом уместно отметить, что в последние годы несколько изменилась и функция полимерных материалов в любой отрасли, и способы их получения. Полимерам стали доверять все более и более ответственные задачи. Из полимеров стали изготавливать все больше относительно мелких, но конструктивно сложных и ответственных деталей машин и механизмов, и в то же время все чаще полимеры стали применяться в изготовлении крупногабаритных корпусных деталей машин и механизмов, несущих значительные нагрузки.
Рубеж прочностных свойств полимерных материалов удалось преодолеть переходом к композиционным материалам, главным образом стекло и углепластикам. Так что теперь выражение “пластмасса прочнее стали” звучит вполне обоснованно. В то же время полимеры сохранили свои позиции при массовом изготовлении огромного числа тех деталей, от которых не требуется особенно высокая прочность: заглушек, штуцеров, колпачков, рукояток, шкал и корпусов измерительных приборов. Еще одна область, специфическая именно для полимеров, где четче всего проявляются их преимущества перед любыми иными материалами, - это область внутренней и внешней отделки.
Кстати, те же преимущества стимулируют и широкое применение полимерных материалов в авиационной промышленности. Например, замена алюминиевого сплава графитопластиком при изготовлении предкрылка крыла самолета позволяет сократить количество деталей с 47 до 14, крепежа - с 1464 до 8 болтов, снизить вес на 22%, стоимость - на 25%. При этом запас прочности изделия составляет 178%. Лопасти вертолета, лопатки вентиляторов реактивных двигателей рекомендуют изготовлять из поликонденсационных смол, наполненных алюмосиликатными волокнами, что позволяет снизить вес самолета при сохранении прочности и надежности.
Все эти примеры показывают огромную роль полимеров в нашей жизни. Трудно себе представить какие материалы на их основе будут еще получены. Но можно с уверенностью сказать, что полимеры займут если не первое, то хотя бы одно из первых мест в производстве. Совершенно очевидно, что качество, характеристики и свойства конечных продуктов напрямую зависят от технологии переработки полимеров. Важность этого аспекта заставляет искать все новые и новые способы переработки для получения материалов с улучшенными показателями. В данном реферате были рассмотрены лишь основные методы. Общее же их число на этом не ограничивается.
СПИСОК ЛИТЕРАТУРЫ
1.Пасынков В.В., Сорокин В.С., Материалы электронной техники, - М.: Высшая школа, 1986.
2.А. А. Тагер, Физикохимия полимеров, М., химия, 1978.
3.Третьяков Ю.Д., Химия: Справочные материалы. – М.: Просвещение, 1984.
4.Материаловедение/Под ред. Б.Н. Арзамасова. – М.: Машиностроение, 1986.
5.Донцов А. А., Догадкин Б. А., Шершнев В. А., Химия эластомеров, - М.: Химия, 1981.
Похожие рефераты:
Разработка школьного элективного курса "Полимеры вокруг нас"
Композиционные триботехнические материалы на основе олигомеров сшивающихся смол
Перспективы развития экологического сознания школьников при изучении темы "Полимеры" в курсе химии
Структура и адгезионные свойства отверждённых эпоксидных смол
Композиционные хемосорбционные волокнистые материалы "Поликон К", наполненные углеродными волокнами
Переработка одноразовых шприцов
Технология переработки из расплавов аморфных и кристаллизующихся веществ
Технология производства эпоксидных смол
Современные методы литья. Полимерная индустрия
Разработка системы защиты атмосферы при производстве поливинилхлорида
Изготавление изделий из пласмассы
Бутадиен-стирольные каучуки, получаемые в растворе и эмульсии
Адсорбция полимеров на границе раздела твердое тело - водный раствор
