| Похожие рефераты | Скачать .docx |
Реферат: Электрический ток в газах
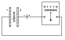
Самостоятельная и несамостоятельная проводимость газов. В естественном состоянии газы не проводят электрического тока, т.е. являются диэлектриками. В этом легко убедиться с помощью простого тока, если цепь прервана воздушным промежутком.
![]() |
Изолирующие свойства газов объясняются тем, что атомы и молекулы газов в естественном состоянии являются нейтральными незаряженными частицами. Отсюда ясно, что для того, чтобы сделать газ проводящим, нужно тем или иным способом внести в него или создать в нем свободные носители заряда – заряженные частицы. При этом возможны два случая: либо эти заряженные частицы создаются действием какого-нибудь внешнего фактора или вводятся в газ извне – несамостоятельная проводимость, либо они создаются в газе действием самого электрического поля, существующего между электродами – самостоятельная проводимость.
В приведенном рисунке гальванометр в цепи показывает отсутствие тока несмотря на приложенное напряжение. Это свидетельствует об отсутствии проводимости газов в обычных условиях.
![]() |
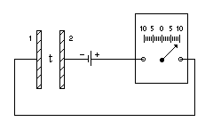
Нагреем теперь газ в промежутке 1-2 до очень высокой температуры, внеся в него зажженную горелку. Гальванометр укажет появление тока, следовательно при высокой температуре доля нейтральных молекул газа распадается на положительные и отрицательные ионы. Такое явление называется ионизацией газа.
![]() |
Если направить в газовый промежуток струю воздуха от маленькой воздуходувки, и на пути струи, вне промежутка, поместить ионизующее пламя, то гальванометр покажет некоторый ток.
Это значит, что ионы не исчезают мгновенно, а перемещаются вместе с газом. Однако при увеличении расстояния между пламенем и промежутком 1-2 ток постепенно ослабевает, а затем исчезает. При этом разноименно заряженные ионы стремятся сблизиться под влиянием силы электрического притяжения и при встрече вновь воссоединяются в нейтральную молекулу. Такой процесс носит название рекомбинации ионов.
Нагревание газа до высокой температуры не является единственные способом ионизации молекул или атомов газа. Нейтральные атомы или молекулы газа могут ионизироваться также и под воздействием других факторов.
Ионная проводимость имеет рад особенностей. Так, нередко положительные и отрицательные ионы представляют собой не единичные ионизированные молекулы, а группы молекул, прилипших к отрицательному или положительному электрону. Благодаря этому, хотя заряд каждого иона равен одному-двум, редко большему числу элементарных зарядов, массы их могут значительно отличаться от масс отдельных атомов и молекул. Этом газовые ионы существенно отличаются от ионов электролитов, представляющих всегда определенные группы атомов. В силу этого различия при ионной проводимости газов не имеют место законы Фарадея, столь характерные для проводимости электролитов.
Второе, также очень важное, отличие ионной проводимости газов от ионной проводимости электролитов состоит в том, что для газов не соблюдается закон Ома: вольтамперная характеристика имеет более сложный характер. Вольтамперная характеристика проводников (в том числе и электролитов) имеет вид наклонной прямой (пропорциональность I и U), для газов она имеет разнообразную форму.
![]() |
В частности, в случае несамостоятельной проводимости, при небольших значениях U график имеет вид прямой, т.е. закон Ома приближенно сохраняет силу; с ростом U кривая загибается с некоторого напряжения и переходит в горизонтальную прямую.
Это означает, что начиная с некоторого напряжения, ток сохраняет постоянное значение, несмотря на увеличение напряжения. Это постоянное, не зависящее от напряжения значение силы тока называют током насыщения .
Нетрудно понять смысл полученных результатов. Вначале с ростом напряжения увеличивается число ионов, проходящих через сечение разряда, т.е. увеличивается ток I, ибо ионы в более сильном поле движется с большей скоростью. Однако, как бы быстро не двигались ионы, число их, проходящее через это сечение за единицу времени, не может быть больше, чем общее число ионов, создаваемых в разряде в разряде в единице времени внешними ионизирующим фактором.
![]() |
Опыты показывают, однако, что если после достижения тока насыщения в газе продолжать значительно повышать напряжение, то ход вольтамперной характеристики внезапно нарушается. При достаточно большом напряжении ток резко возрастает.
Скачок тока показывает, что число ионов сразу резко возросло. Причиной этого является само электрическое поле: оно сообщает некоторым ионам столь большие скорости, т.е. столь большую энергию, что при соударении таких ионов с нейтральными молекулами последние разбиваются на ионы. Общее число ионов определяется теперь не ионизирующим фактором, а действием самого поля, которое может само поддерживать необходимую ионизацию: проводимость из несамостоятельной становится самостоятельной. Описанное явление внезапного возникновения самостоятельной проводимости, имеющее характер пробоя газового промежутка, - не единственная, хотя и весьма важная, форма возникновения самостоятельной проводимости.
Искровой разряд. При достаточно большой напряженности поля (около 3 МВ/м) между электродами появляется электрическая искра, имеющая вид ярко светящегося извилистого канала, соединяющего оба электрода. Газ вблизи искры нагревается до высокой температуры и внезапно расширяется, отчего возникают звуковые волны, и мы слышим характерный треск.
Описанная форма газового разряда носит название искрового разряда или искрового пробоя газа. При наступлении искрового разряда газ внезапно утрачивает свои диэлектрические свойства и становится хорошим проводником. Напряженность поля, при которой наступает искровой пробой газа, имеет различное значение у разных газов и зависит от их состояния (давления, температуры). Чем больше расстояние между электродами, тем большее напряжение между ними необходимо для наступления искрового пробоя газа. Это напряжение называется напряжением пробоя .
![]() |
Зная, как зависит напряжение пробоя от расстояния между электродами какой-либо определенной формы, можно измерить неизвестное напряжение по максимальной длине искры. На этом основано устройство искрового вольтметра для грубой больших напряжений.
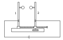
Он состоит из двух металлических шаров, закрепленных на стойках 1 и 2, 2-я стойка с шаром может приближаться или удаляться от первой при помощи винта. Шары присоединяют к источнику тока, напряжение которого требуется измерить, и сближают их до появления искры. Измеряя расстояние при помощи шкалы на подставке, можно дать грубую оценку напряжению по длине искры (пример: при диаметре шара 5 см и расстоянии 0,5 см напряжение пробоя равно 17,5 кВ, а при расстоянии 5 см – 100 кВ).
![]() |
Возникновение пробоя объясняется следующим образом: в газе всегда есть некоторое число ионов и электронов, возникающих от случайных причин. Однако, число их настолько мало, что газ практически не проводит электричества. При достаточно большой напряженности поля кинетическая энергия, накопленная ионом в промежутке между двумя соударениями, может сделаться достаточной, чтобы ионизировать нейтральную молекулу при соударении. В результате образуется новый отрицательный электрон и положительно заряженный остаток – ион.
Свободный электрон 1 при соударении с нейтральной молекулой расщепляет ее на электрон 2 и свободный положительный ион. Электроны 1 и 2 при дальнейшем соударении с нейтральными молекулами снова расщепляет их на электроны 3 и 4 и свободные положительные ионы, и т.д.
Такой процесс ионизации называют ударной ионизацией , а ту работу, которую нужно затратить, чтобы произвести отрывание электрона от атома – работой ионизации . Работа ионизации зависит от строения атома и поэтому различна для разных газов.
![]() |
Образовавшиеся под влиянием ударной ионизации электроны и ионы увеличивает число зарядов в газе, причем в свою очередь они приходят в движение под действием электрического поля и могут произвести ударную ионизацию новых атомов. Таким образом, процесс усиливает сам себя, и ионизация в газе быстро достигает очень большой величины. Явление аналогично снежной лавине, поэтому этот процесс был назван ионной лавиной .
Образование ионной лавины и есть процесс искрового пробоя, а то минимальное напряжение, при котором возникает ионная лавина, есть напряжение пробоя.
Таким образом, при искровом пробое причина ионизации газа заключается в разрушении атомов и молекул при соударениях с ионами (ударная ионизация).
Молния. Красивое и небезопасное явление природы – молния – представляет собой искровой разряд в атмосфере.
Уже в середине 18-го века обратили внимание на внешнее сходство молнии с электрической искрой. Высказалось предположение, что грозовые облака несут в себе большие электрические заряды и что молния есть гигантская искра, ничем, кроме размеров, не отличающаяся от искры между шарами электрической машины. На это указывал, например, русский физик и химик Михаил Васильевич Ломоносов (1711-65), наряду с другими научными вопросами занимавшийся атмосферным электричеством.
Это было доказано на опыте 1752-53 г.г. Ломоносовым и американским ученым Бенджамином Франклином (1706-90), работавшими одновременно и независимо друг от друга.
Ломоносов построил «громовую машину» - конденсатор, находившийся в его лаборатории и заряжавшийся атмосферным электричеством посредством провода, конец которого был выведен из помещения и поднят на высоком шесте. Во время грозы из конденсатора можно было рукой извлекать искры.
Франклин во время грозы пустил на бечевке змея, который был снабжен железным острием; к концу бечевки был привязан дверной ключ. Когда бечевка намокла и сделалась проводником электрического тока, Франклин смог извлечь из ключа электрические искры, зарядить лейденские банки и проделать другие опыты, производимые с электрической машиной (Следует отметить, что такие опыты чрезвычайно опасны, так как молния может ударить в змей, и при этом большие заряды пройдут через тело экспериментатора в Землю. В истории физики были такие печальные случаи. Так погиб в 1753 г. в Петербурге Г.В. Рихман, работавший вместе с Ломоносовым).
Таким образом, было показано, что грозовые облака действительно сильно заряжены электричеством.
Разные части грозового облака несут заряды различных знаков. Чаще всего нижняя часть облака (отраженная к Земле) бывает заряжена отрицательно, а верхняя – положительно. Поэтому, если два облака сближаются разноименно заряженными частями, то между ними проскакивает молния. Однако грозовой разряд может произойти и иначе. Проходя над Землей, грозовое облако создает на ее поверхности большие индуцированные заряды, и поэтому облако и поверхность Земли образуют две обкладки большого конденсатора. Разность потенциалов между облаком и Землей достигает огромных значений, измеряемых сотнями миллионов воль, и воздухе возникает сильное электрическое поле. Если напряженность этого поля делается достаточно большой, то может произойти пробой, т.е. молния, ударяющая в Землю. При этом молния иногда поражает людей и вызывает пожары.
Согласно многочисленным исследованиям, произведенным над молнией, искровой заряд характеризуется следующими примерными числами: напряжение (U) между облаком и Землей 0,1 ГВ (гигавольт);
сила тока (I) в молнии 0,1 МА (мегаампер);
продолжительность молнии (t) 1 мкс (микросекунда);
диаметр светящегося канала 10-20 см.
Гром, возникающий после молнии, имеет такое же происхождение, как и треск при проскакивании лабораторной искры. Именно, воздух внутри канала молнии сильно разогревается и расширяется, отчего и возникают звуковые волны. Эти волны, отражаясь от облаков, гор, и т.п., часто создают длительное эхо – громовые раскаты.
Коронный разряд. Возникновение ионной лавины не всегда приводит к искре, а может вызвать и разряд другого типа – коронный разряд.
![]() |
Натянем на двух высоких изолирующих подставках металлическую проволоку ab, имеющую диаметр несколько десятых миллиметра, и соединим ее с отрицательным полюсом генератора, дающего напряжение несколько тысяч вольт. Второй полюс генератора отведем к Земле. Получится своеобразный конденсатор, обкладками которого являются проволока и стены комнаты, которые, конечно, сообщаются с Землей.
Поле в этом конденсаторе весьма неоднородно, и напряженность его вблизи тонкой проволоки очень велика. Повышая постепенно напряжение и наблюдая за проволокой в темноте, можно заметить, что при известном напряжении возле проволоки появляется слабое свечение (корона), охватывающее со всех сторон проволоку; оно сопровождается шипящим звуком и легким потрескиванием. Если между проволокой и источником включен чувствительный гальванометр, то с появлением свечения гальванометр показывает заметный ток, идущий от генератора по проводам к проволоке и от нее по воздуху комнаты к стенам, между проволокой и стенами переносится ионами, образованными в комнате благодаря ударной ионизации. Таким образом, свечение воздуха и появление тока указывает на сильную ионизацию воздуха под действием электрического поля. Коронный разряд может возникнуть не только вблизи проволоки, но и у острия и вообще вблизи любых электродов, возле которых образуется очень сильное неоднородное поле.
Применение коронного разряда. Электрическая очистка газов (электрофильтры) . Сосуд, наполненный дымом, внезапно делается совершенно прозрачным, если внести в него острые металлические электроды, соединенные с электрической машиной, а все твердые и жидкие частицы будут осаждаться на электродах. Объяснение опыта заключается в следующем: как только и проволоки зажигается корона, воздух внутри трубки сильно ионизируется. Газовые ионы прилипают к частицам пыли и заряжают их. Так как внутри трубки действует сильное электрическое поле, заряженные частицы пыли движутся под действием поля к электродам, где и оседают.
![]() |
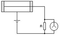
Счетчики элементарных частиц . Счетчик элементарных частиц Гейгера – Мюллера состоит из небольшого металлического цилиндра, снабженного окошком, закрытым фольгой, и тонкой металлической проволоки, натянутой по оси цилиндра и изолированной от него. Счетчик включают в цепь, содержащую источник тока, напряжение которого равно нескольким тысячам вольт. Напряжение выбирают необходимым для появления коронного разряда внутри счетчика.
При попадании в счетчик быстро движущегося электрона последний ионизирует молекулы газа внутри счетчика, отчего напряжение, необходимое для зажигания короны, несколько понижается. В счетчике возникает разряд, а в цепи появляется слабый кратковременный ток. Чтобы обнаружить его, в цепь вводят очень большое сопротивление (несколько мегаом) и подключают параллельно с ним чувствительный электрометр. При каждом попадании быстрого электрона внутрь счетчика листка электрометра будут откланяться.
Подобные счетчики позволяют регистрировать не только быстрые электроны, но и вообще любые заряженные, быстро движущиеся частицы, способные производить ионизацию путем соударений. Современные счетчики легко обнаруживают попадание в них даже одной частицы и позволяют поэтому с полной достоверностью и очень большой наглядностью убедиться, что в природе действительно существуют элементарные заряженные частицы.
Громоотвод . Подсчитано, что в атмосфере всего земного шара происходит одновременно около 1800 гроз, которые дают в среднем около 100 молний в секунду. И хотя вероятность поражения молнией какого-либо отдельного человека ничтожно мала, тем не менее молнии причиняют немало вреда. Достаточно указать, что в настоящее время около половины всех аварий в крупных линиях электропередачи вызывается молниями. Поэтому, защита от молнии представляет собой важную задачу.
Ломоносов и Франклин не только объяснили электрическую природу молнии, но и указали, как можно построить громоотвод, защищающий от удара молнии. Громоотвод представляет собой длинную проволоку, верхний конец которой заостряется и укрепляется выше самой высокой точки защищаемого здания. Нижний конец проволоки соединяют с металлическим листом, а лист закапывают в Землю на уровне почвенных вод. Во время грозы на Земле появляются большие индуцированные заряды и у поверхности Земли появляется большое электрическое поле. Напряженность его очень велика около острых проводников, и поэтому на конце громоотвода зажигается коронный разряд. Вследствие этого индуцированные заряды не могут накапливаться на здании и молнии не происходит. В тех же случаях, когда молния все же возникает (а такие случаи очень редки), она ударяет в громоотвод и заряды уходят в Землю, не причиняя вреда зданию.
В некоторых случаях коронный разряд с громоотвода бывает настолько сильным, что у острия возникает явно видимое свечение. Такое свечение иногда появляется и возле других заостренных предметов, например, на концах корабельных мачт, острых верхушек деревьев, и т.д. Это явление было замечено еще несколько веков тому назад и вызывало суеверный ужас мореплавателей, не понимавших истинной его сущности.
Электрическая дуга. В 1802 году русский физик В.В. Петров (1761-1834) установил, что если присоединить к полюсам большой электрической батареи два кусочка древесного угля и, приведя угли в соприкосновение, слегка их раздвинуть, то между концами углей образуется яркое пламя, а сами концы углей раскалятся добела, испуская ослепительный свет.
Простейший прибор получения электрической дуги состоит из двух электродов, в качестве которых лучше брать не древесный уголь, а специально изготавливаемые стержни, получаемые прессованием смеси графита, сажи и связующих веществ. Источником тока может служить осветительная сеть, в которую для безопасности включается реостат.
Заставляя гореть дугу при постоянном токе в сжатом газе (20 атм), удалось довести температуру конца положительного электрода до 5900°С, т.е. до температуры поверхности солнца. Еще более высокой температурой обладает столб газов и паров, обладающий хорошей электрической проводимостью, через который идет электрический заряд. Энергичная бомбардировка этих газов и паров электронами и ионами, подгоняемыми электрическим полем дуги, доводит температуру газов в столбе до 6000-7000°С. Такая сильная ионизация газа возможна только благодаря тому, что катод дуги испускает очень много электронов, которые своими ударами ионизирую газ в разрядном пространстве. Сильная электронная эмиссия с катода обеспечивается тем, что катод дуги сам накален до очень высокой температуры (от 2200 до 3500°С). Когда для зажигания дуги угли приводятся в соприкосновение, то в месте контакта, обладавшем очень большим сопротивлением, выделяется почти все джоулево тепло проходящего через угли тока. Поэтому концы углей сильно разогреваются, и этого достаточно для того, чтобы при их раздвижении между ними вспыхнула дуга. В дальнейшем катод дуги поддерживается в накаленном состоянии самим током, проходящим через дугу. Главную роль в этом играет бомбардировка катода падающими на него положительными ионами.
Вольтамперная характеристика дуги носит совершенно своеобразный характер. В дуговом разряде при увеличении тока напряжение на зажимах дуги уменьшается, т.е. дуга имеет падающую вольтамперную характеристику.
Применение дугового разряда . Освещение . Вследствие высокой температуры электроды дуги испускают ослепительный свет (свечение столба дуги слабее, так как излучающая способность газа мала), и поэтому электрическая дуга является одним из лучших источников света. Она потребляет всего около 3 Вт на канделу и является значительно более экономичной, нежели наилучшие лампы накаливания. Электрическая дуга впервые была использована для освещения в 1875 году русским инженером-изобретателем П.Н. Яблочкиным (1847-1894) и получила название «русского света» или «северного света». Сварка . Электрическая дуга применяется для сварки металлических деталей. Свариваемые детали служат положительным электродом; касаясь их углем, соединенным с отрицательным полюсом источника тока, получают между телами и углем дугу, плавящую металл. Ртутная дуга . Большой интерес представляет ртутная дуга, горящая в кварцевой трубке, так называемая кварцевая лампа. В этой лампе дуговой разряд происходит не в воздухе, а в атмосфере ртутного пара, для чего в лампу вводят небольшое количество ртути, а воздух откачивают. Свет ртутной дуги чрезвычайно богат ультрафиолетовыми лучами, обладающими сильным химическим и физиологическим действием. Чтобы можно было использовать это излучение, лампу делают не из стекла, которое сильно поглощает УФО, а из плавленого кварца. Ртутные лампы широко используют при лечении разнообразных болезней, а также при научных исследованиях как сильный источник ультрафиолетового излучения.
В качестве источника информации был использован Элементарный учебник физики под
редакцией академика Г.С. Ландсберга (том 2). Москва, издательство «Наука», 1985.
Выполнил МАРКИДОНОВ ТИМУР, г. Иркутск.
Похожие рефераты:
История и развитие сварочного производства
Теория безопасности жизнедеятельности
Электрическое поле - взаимодействие зарядов
Шпаргалки к экзамену по ОБЖ (Брянск)
Химия, элементы таблицы Менделеева
Синхронные машины. Машины постоянного тока
Компенсация реактивной мощности в системах электроснабжения с преобразовательными установками
Проект новой подстанции для обеспечения электроэнергией нефтеперерабатывающего завода









