| Похожие рефераты | Скачать .docx |
Реферат: Оптические квантовые генераторы
Успехи, достигнутые при разработке и исследовании квантовых усилителей и генераторов в радиодиапазоне, послужили базой для реализации предложения об усилении и генерации света на основе индуцированного излучения и привели к созданию квантовых генераторов оптического диапазона. Оптические квантовые генераторы (ОКГ) или лазеры являются единственными источниками мощного монохроматического света. Принцип усиления света с помощью атомных систем был впервые предложен в 1940 г. В.А. Фабрикантом. Однако обоснование возможности создания оптического квантового генератора было дано лишь в 1958 г. Ч. Таунсом и А. Шавловым на основе достижений разработок квантовых приборов в радиодиапазоне. Первый оптический квантовый генератор был реализован в I960 г. Это был ОКГ с кристаллом рубина в качестве рабочего вещества. Создание инверсии населенностей в нем осуществлялось методом трехуровневой накачки, применявшимся обычно в парамагнитных квантовых усилителях.
В настоящее время разработано множество разнообразных оптических квантовых генераторов, отличающихся рабочими веществами (в этом качестве используются кристаллы, стекла, пластмассы, жидкости, газы, полупроводники) и способами создания инверсии населенностей (оптическая накачка, разряд в газах, химические реакции и т.д.).
Излучение существующих оптических квантовых генераторов охватывает диапазон длин волн от ультрафиолетовой до дальней инфракрасной области спектра, примыкающей к миллиметровым волнам. Аналогично квантовому генератору в радиодиапазоне оптический квантовый генератор состоит из двух основных частей: рабочего (активного) вещества, в котором тем или иным способом
создается инверсия населенностей, и резонансной системы (рис .62). В качестве последней в ОКГ используются открытые резонаторы типа интерферометра Фабри - Перо, образуемые системой из двух зеркал, удаленных друг от друга.
Рабочее вещество осуществляет усиление оптического излучения благодаря индуцированному испусканию активных частиц. Резонансная система, вызывая многократное прохождение возникающего оптического индуцированного излучения через активную среду, обусловливает эффективное взаимодействие поля с ней. Если рассматривать ОКГ как автоколебательную систему, то резонатор обеспечивает положительную обратную связь в результате возвращения части распространяющегося между зеркалами излучения в активную среду. Дяя возникновения колебаний мощность в ОКГ, получаемая от активной среды, должна быть равна мощности потерь в резонаторе иди превышать ее. Это эквивалентно тому, что интенсивность волны генерации после прохождения через усиливающую среду, отражения от зеркал -/ и 2 , возвращения в исходное сечение должна оставаться неизменной или превышать первоначальное значение.
|
|
При прохождении через активную среду интенсивность волны 1^ изменяется по экспоненциальному закону (при пренебрежении насыщением) L, ° 1^ ежр [ (ос,^ - b())-c ] , а при отражении от зеркала она изменяется в г раз ( т - коэффициент . отражения зеркала), поэтому условие возникновения генерации можно записать как
где L - длина рабочей активной среды; r1 и r2 - коэффициенты отражения зеркал 1 и 2 ; au - коэффициент усиления активной среды; b0 - постоянная затухания, учитывающая потери энергии в рабочем веществе в результате рассеяния на неоднородностях и дефектах.
I. Резонаторы оптических квантовых генераторов
Резонансные системы ОКГ, как отмечалось, представляют собой открытые резонаторы. В настоящее время наиболее широко применяются открытые резонаторы с плоскими и сферическими зеркалами. Характерная особенность открытых резонаторов - их геометрические размеры во много раз превышают длину волны. Подобно объемным открытые резонаторы обладают набором собственных типов колебаний, характеризующихся определенным распределением поля в них и собственными частотами. Собственные типы колебаний открытого резонатора представляют собой решения уравнений поля, удовлетворяющие граничным условиям на зеркалах.
Существует несколько методов расчета объемных резонаторов, позволяющих находить собственные типы колебаний. Строгая и наиболее полная теория открытых резонаторов дана в работах Л.А.Вайв-штейна.* Наглядный метод расчета типов колебаний в открытых резонаторах развит в работе А.Фокса и Т.Ли.
| (113) |
В ней используется. численный расчет, моделирующий процесс установления типов колебаний в резонаторе в результате многократного отражения от зеркал. Первоначально задается произвольное распределение поля на поверхности одного из зеркал. Затем, применяя принцип Гюйгенса, вычисляют распределение поля на поверхности другого зеркала. Подученное распределение принимают за исходное и вычисление повторяется. После многократных отражений распределение амплитуды и фазы поля на поверхности зеркала стремится к стационарному значению, т.е. поле на каждом зеркале самовоспроизводится в неизменном виде. Полученное распределение поля представляет собой нормальный тип колебаний открытого резонатора.
Расчет А.Фокса и Т.Ли базируется на следующей формуле Кирхгофа, являющейся математическим выражением принципа Гюйгенса, которая позволяет находить поде в точке наблюдения А по заданному полю на некоторой поверхности Sb
![]()
где Eb - поле в точке B на поверхности Sb; k- волновое число ; R - расстояние между точками А и В ; Q - угол между линией, соединяющей точки А и В , и нормалью к поверхности Sb
(рис.63).
С увеличением числа проходов поде на зеркалах стремится к стационарному распределению, которое можно представить так:
![]()
где V(x ,у) - функция распределения, зависящая от координат на поверхности зеркал, не меняющаяся от отражения к отражению;
у - комплексная постоянная, не зависящая от пространственных координат.
Подставив формулу (112) в выражение (III). получим интегральное уравнение
![]()
Оно имеет решение лишь при определенных значениях [Гамма] =[гамма миним.] называемых собственными значениями, Функции Vmn, удовлетворяющие интегральному уравнению, характеризуют структуру поля различных типов колебаний резонатора, которые называют поперечными колебаниями и обозначают как колебания типа ТЕМmn Символ ТЕM указывает на то, что водны внутри резонатора близки к поперечным электромагнитным, т.е. не имеющим составляющих поля вдоль направления распространения волны. Индексы m и n обозначают число изменений направления поля вдоль сторон зеркала (для прямоугольных зеркал) или по углу и вдоль радиуса (для круглых зеркал). На рис.64 показана конфигурация электрического поля для простейших поперечных типов колебаний открытых резонаторов с круглыми зеркалами. Собственные типы колебаний открытых резонаторов характеризуются не только поперечник распределением поля, но и распределением его вдоль оси резонаторов, которое представляет собой стоячую волну и отличается числом полуволн, укладывающихся по длине резонатора. Для учета этого в обозначения типов колебаний вводится третий ивдекс а , характеризующий число полуволн, укладывающихся вдоль оси резонатора.
Оптические квантовые генераторы на твердом теле
В оптических квантовых генераторах на твердом теле, или твердотельных ОКГ, в качестве активной усиливающей среды используются кристаллы или аморфные диэлектрики. Рабочими частицами, переходы меяду энергетическими состояниями которых определяют генерацию, как правило, являются ионы атомов переходных групп Периодической таблицы Менделеева, Наиболее часто используются ионы Na3+ , Cr3+ , Но3+ , Pr3+ . Активные частицы составляют доли или единицы процента от общего числа атомов рабочей среды, так что они как бы образуют "раствор" слабой концентрации и потому мало взаимодействуют друг с другом. Используемые энергетические уровни представляют собой уровни рабочих частиц, расщепленные и уширенные сильными неоднородными внутренними полями твердого вещества. В качестве основы активной усиливающей среды используются наиболее часто кристаллы корунда (Al2O3), иттриево-алюминиевого граната YAG (Y3Al5O12), разные марки стекол и т.д.
Инверсия населенностей в рабочем веществе твердотельных ОКГ создается методом, аналогичным используемому в парамагнитных усилителях. Она осуществляется с помощью оптической накачки, т.е. воздействием на вещество светового излучения высокой интенсивности.
Как показывают исследования, большинство существующих в настоящее время активных сред, используемых- в твердотельных ОКГ, удовлетворительно описываются двумя основными идеализированными энергетическими схемами: трех- и четырехуровневой (рис.71).
|
|
Рассмотрим вначале метод создания инверсии населенностей в средах, описываемых трехуровневой схемой (см.рис.71,а). В нормальном состоянии заселен лишь нижний основной уровень 1 (энергетическое расстояние между уровнями значительно больше kT), так как переходы 1—>2, и 1—>3) принадлежат оптическому диапазону. Переход между уровнями 2 и 1 является рабочим. Уровень 3 вспомогательный и используется для создания инверсии рабочей пары уровней. Он в действительности занимает широкую полосу допустимых значений энергии, обусловленную взаимодействием рабочих частиц с внутрикристаллическими полями.
Для создания инверсии рабочее вещество облучают интенсивным светом с частотным спектром, соответствующим переходу между уровнями 1— >3 . С уровня 3 атомы переходят на уровень 2, . Этот переход, как правило, является безизлучательным. Энергия при этом идет на нагревание рабочего тела. При достаточной интенсивности накачки на уровне 2. удается получить больше атомов, чем их остается на основном уровне, т.е. возникает инверсия населенностей для рабочей пары уровней.
В активных средах, описываемых четырехуровневой схемой (см .рис. 71,б), переход 3-2 является рабочим, верхний уровень так же, как в трехуровневой схеме, представляет собой широкую полосу. Второй уровень находится от основного на энергетическом расстоянии, значительно большем kT. Поэтому при термодинамическом равновесии он практически не заселен. Большинство частиц, попавших на уровень 4 , затем переходит безизлучательным путем на уровень 3 , что при соответствующих условиях приводит к инверсии населенностей для пары уровней 3-2.
В четырехуровневой системе по сравнению с трехуровневой легче создать инверсию населенностей, так как нижний рабочий уровень не заселен. Для этого необходимо перевести незначительное количество частиц с основного уровня на верхний рабочий. В трехуровневой системе для получения инверсии требуется перебросить на верхний рабочий уровень с основного по крайней мере половину частиц.
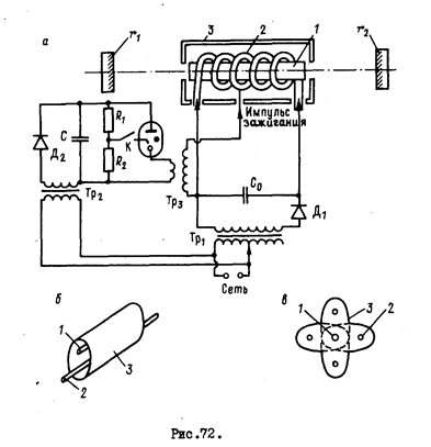
На рис.72, а приведена схема ОКГ на твердом теле. Она включает оптический резонатор, рабочее тело 1 , лампу накачки 2 с отражателем 3 , систему ее питания и зажигания разряда. Оптический резонатор образован зеркалами r1 и r2. Обычно в них используются многослойные интерференционные диэлектрические отражающие покрытия, в которых показатель преломления переменно меняется от слоя к слою. Слои наносят вакуумным напылением или химическим путем, они имеют толщину, равную четверти длины волны в диэлектрике на рабочей частоте. С увеличением количества слоев коэффициент отражения возрастает. При n=15 и больше он превышает 99%.
Иногда в качестве отражающих покрытий используются серебряные пленки, но они позволяют получать коэффициент отражения не выше 95-96% и в отличие от интерференционных диэлектрических покрытий имеют большое поглощение, а потому часто выгорают в процессе работы. Одно из зеркал резонатора делается полупрозрачным для вывода энергии. Коэффициент пропускания выходного зеркала выбирается так, чтобы вывести из ОКГ максимальную энергию. При малом коэффициенте пропускания будет выводиться лишь незначительная доля энергии из резонатора. В случае большого пропускания ухудшаются условия возбуждения колебаний. При некотором пропускании выходного зеркала генерация срывается, так как не выполняются пороговые условия. Оптимальный коэффициент пропускания, при котором выводится максимальная энергия генерации, зависят от качества кристалла, его длины, энергии накачки. Оптимальное пропускание выходного зеркала для большинства твердотельных ОКГ составляет 20-60%.
Рабочее тело выполняют в форме стержня с хорошо обработанными торцевыми поверхностями, имеющими плоскопараллельную или сферическую форму. Точность отклонения обработки торцевых поверхностей от заданной формы лежит в пределах десятых долей длины волны. Параллельность плоских торцов выдерживается с точностью до нескольких угловых минут.
Иногда вместо внешних зеркал используются отражающие покрытия, нанесенные непосредственно на торцы рабочего тела. Боковая поверхность рабочих стержней частично или полностью делается матовой, чтобы предотвратить возбуждение типов колебаний, распространяющихся с отражением от боковых поверхностей.
Инверсия населенностей в рабочем теле создается методом оптической накачки. Как отмечено выше, пороговая мощность накачки имеет величину до сотен ватт на кубический сантиметр рабочего вещества ОКГ. Столь высокая плотность мощности накачки приводит к сильному нагреванию рабочих тел ОКГ. Это вызывает трудности, часто непреодолимые, в реализации непрерывного режима накачки твердотельных ОКГ. Поэтому ОКГ на твердом теле, как правило, работают в режиме одиночных или периодически повторяющихся импульсов. Источником накачки служат газоразрядные лампы. Наиболее часто используются импульсные ксено-новые лампы, обладающие наилучшей эффективностью преобразования электрической энергии в световое излучение, спектральный состав которого соответствует линиям поглощения используемых активных сред.
Лампы конструктивно выполняются в виде прямой или свитой в спираль трубки с введенными на концах электродами. Для инициации разряда в лампах предусматривается специальный внутренний или внешний поджигающий электрод. Лампы и рабочий стержень размещают внутри отражателя, обеспечивающего эффективность передачи световой энергии накачки в активную среду. При использовании спиральных ламп рабочее тело помещается внутри них, а отражатель, выполняемый в виде кругового цилиндра, охватывает лампу.
Более эффективны системы с прямыми лампами и отражателями в виде эллиптического цилиндра (рис.72, б), обеспечивающего фокусировку излучения ламп на рабочий образец. Для этого рабочее тело и лампы размещаются вдоль фокусных осей цилиндра.(Рис. 72,в иллюстрирует систему, в которой содержатся несколько ламп и одно рабочее тело.) Столь же эффективной оказывается более простая система, в которой лампа и активное тело находятся рядом внутри узкого отражателя с круглым или овальным сечением. Отражатель выполняется из серебряной или алюминиевой фольги. В конструкциях систем накачки очень часто предусматриваются охлаждение рабочего тела и ламп путем обдува их воздухом ахи обтекания хладоагентом.
Питание ламп осуществляется от батареи конденсаторов Со (см.рис.72,а ), заряжаемых часто от сети переменного напряжения через повышающий трансформатор Тр. и выпрямительный элемент Д. . Нормальное напряжение заряда конденсаторов должно быть меньше напряжения самопробоя импульсной лампы накачки. Зажигание разряда в лампе осуществляется подачей на поджигапщий электрод высоковольтного инициирующего импульса от управляющей схемы. На рис.72,а последняя состоит из конденсатора С , заряжаемого от сети через диод Д2, тиратрона с холодным катодом и импульсного трансформатора Тр1. При замыкании кнопки К тиратрон зажигается, конденсатор с разряжается через первичную обмотку трансформатора и на вторичной обмотке появляется высоковольтный импульс.
Рубиновые ОКГ
Были первыми практически осуществленными оптическими квантовыми генераторами. В настоящее время ОКГ на рубине - наиболее распространенные и широко используемые в практике. Это объясняется следующими достоинствами рубиновых ОКГ: излучение происходит в удобном спектральном диапазоне (в видимой области), обеспечивается большая Энергия генерации, рубиновые кристаллы легко получить высокого качества, они имеют высокую прочность и не требуют охлаждения Рубив представляет собой кристалл корунда Аl2 03 ,в котором часть ионов Al3+ замещена трехвалентными ионами хрома Сг3 - Активными частицами, определяющими генерацию, являются ионы хрома. В ОКГ используют кристаллы розового рубина о массовой концентрацией Сr2О3 относительно Al2O3 , примерно равной 0,05 массы что составляет 1,6*1019 ионов хрома в I см3 .
На рис.73 приведена система нижних энергетических уровней ионов хрома. Она существенно отличается от системы уровней свободных ионов, что связано со взаимодействием ионов с сильными

полями кристаллической решетки. Обозначения уровней, приведенные на рис.73, заимствованы из теории групп, которая используется при расчете, и не связаны непосредственно с принятыми обозначениями уровней свободных ионов. Рабочим является переход 2Е ->4 А2 . Состояние 2Е является метастабильным. При комнатной температуре его время жизни составляет около 3 мс. Уровень 2 E в действительности состоит из двух подуровней Е и 2А , разделенных промежутком 29 см-1. Переходы с этих подуровней в основное состояние 4А2 соответствуют линиям излучения света R1 и R2 с длиной волны 694,3 и 692,9 нм при температуре 300°С.
Уровень 4F2 состоит из шести подуровней, которые из-за неоднородности кристаллического поля настолько уширены, что перекрывают друг друга, превращая его в полосу. Уровень 4F1 также представляет собой полосу (см.рис.73).
Обычно генерация происходит на R1 -линии, для которой легче реализуются пороговые условия. Это связано с тем, что между ионами, находящимися на подуровнях Е и 2-4 , ответственных за линии ^ и Rn , существует интенсивный обмен. В результате населенности подуровней Е и 2А устанавливаются в соответствии с законом Больцмана и нижний подуровень имеет большую населенность. Возникновение генерации на частоте R1 - линии предотвращает возбуждение генерации на R2-линии, так как интенсивные релаксационные процессы вызывают переход ионов с 2A на Е и населенность уровня 2А не может достигнуть порогового значения.
Рубиновые ОКГ работают, как правило, в режиме разовых и периодических импульсов. Имеются лишь отдельные разработки генераторов непрерывного действия. Для рубиновых ОКГ характерна длительность импульсов порядка миллисекунд, частота следования обычно не превышает сотни герц. Ее ограничивает нагревание кристалла и ламп накачки.
Важной характеристикой импульсного твердотельного ОКГ является пороговая энергия накачки. Под ней понимают минимальную величину энергии питания ламп за одну вспышку, при которой возникает генерация. Пороговая энергия накачки зависит от размеров кристалла, его температуры, типа используемой лампы, конструкции системы накачки, добротности резонатора и т.д.
Обычно пороговая энергия рубиновых ОКГ составляет десятки и coтни джоулей. С увеличением энергии накачки энергия ОКГ ограничивается возможностями системы накачки, размерами кристалла, его качеством, световой прочностью зеркал и другими факторами.
В ОКГ с кристаллом диаметром 2 см и длиной 30 см генерируемая за импульс энергия достигает десятков джоулей. При длительности импульса ~ I мс пиковая мощность генерации составляет десятки киловатт. В ОКГ о модулированной добротностью (будут рассмотрены далее) импульсная мощность достигает десятков и более мегаватт. Коэффициент полезного действия, определяемый как отношение излучаемой энергии ОКГ к потребляемой им электрической энергии, для рубиновых ОКГ равен единицам процентов. Малый КПД связан во многом с низкой эффективностью системы накачки. Используемые в настоящее время импульсные газоразрядные лампы накачки преобразуют в свет около 50% потребляемой электрической энергии. Примерно 30% световой энергии ламп, т.е. 15% электрической энергии, соответствует полосам поглощения рубина. Оптическая часть системы накачки обеспечивает передачу в рубин приблизительно 00% полезной энергии. Так что реально всего несколько процентов расходуемой электрической энергии идет непосредственно на накачку рубина.
|
И |
Излучение рубиновых ОКГ в зависимости от времени имеет сложный "пичковый" характер. В пределах каждого импульса накачки обычно оно представляет собой хаотический набор разных по амплитуде пичков, всплесков интенсивности генерации с длительностью и интервалом между ними порядка микросекунд.
На рис.75 приведены осциллограммы интен-сивностей накачки (а) и выходного излучения (б).
На характер этого режима влияют многие факторы, в частности конфигурация резонатора, распределение интенсивности накачки по объему кристалла, его температура, однородность и т.д. Так, эксперимент показывает, что хаотичность пульсации излучения значительно уменьшается вплоть до регулярного следования пичков при использовании в ОКГ открытых резонаторов, характеризующихся большим числом высоко-добротных типов колебаний (например, резонатора с одинаковыми сферическими зеркалами, расположенными на расстоянии, меньшем их удвоенного радиуса кривизны). Получению режима регулярных пульсации излучения способствует также однородное распределение интенсивности накачки в рабочем кристалле и понижение его
температуры.
Важной характеристикой работы ОКГ является картина распределения поля по площади сечения выходного пучка. Она определяет диаграмму направленности выходного излучения. Минимальная ширина диаграммы направленности соответствует основному поперечному ТЕМ00 q типу колебаний. В случае использования плоских круглых зеркал ширина диаграммы направленности по уровню половинной мощности для ТЕМ00 q типа равна Т = 0,63 Л/d рад ( d - диаметр пятна на зеркале; Л - длина волны). При d = I см, Л = 0,6943 мкм Т = 4«10~4 рад, т.е. примерно 1,5'. Практически ширина диаграммы излучения для рубиновых ОКГ превышает величину, вычисленную по этой формуле, раз в десять .Столь сравнительно большая ширина диаграммы направленности связана с возбуждением высших типов колебаний, оптическим несовершенством реальных рубиновых кристаллов (наличием в них центров рассеяния и градиентов преломления по площади сечения образца). Распределение поля по площади зеркала часто имеет весьма сложную мозаичную картину, которая в процессе генерации меняется от пичка к пичку.
Излучение рубиновых ОКГ обычно частично иди полностью поляризовано. Поляризация излучения определяется анизотропией рубиновых кристаллов, и ее характер зависит от угла ориентации оптической оси кристалла относительно геометрической оси стержня, вдоль которой распространяется свет в резонаторе. Обычно используются рубиновые стержни с ориентацией оси 60 или 90°. Излучение в ОКГ с такими стержнями имеет линейную поляризацию с электрическим вектором, перпендикулярным плоскости, в которой лежат оптическая ось ж ось стержня. В ОКГ с кристаллом 0-градусной ориентации излучение неполяризовано.
Оптические к вантовые генераторы на стекле
Активированном неодимом, находят такое же широкое распространение, как рубиновые.Это обусловлено достоинствами стекла: простотой изготовления образцов больших размеров (до нескольких сантиметров в диаметре и длиной до метра и более), высокой оптической однородностью, возможностью введения рабочих частиц в необходимых концентрациях с равномерным распределением по объему.
Недостатком стекла является низкая теплопроводность, что затрудняет создание генераторов большой средней мощности и ограничивает его работу режимом одиночных импульсов.
Средняя мощность в импульсе генерации достигает единиц мегаватт. Коэффициент полезного действия таких генераторов составляет доли процента, их выходное излучение, так же как и у рубиновых ОКГ, носит пичковый характер. Ширина спектра излучения при больших уровнях накачки достигает 20 нм. Излучение ОКГ на неодимовом стекле неполяризовано. Это связано с хаотической ориентацией ионов неодима и оптической однородностью стекла.
Угловая расходимость выходного луча ОКГ на неодимовом стекле достигает обычно единиц угловых минут, что значительно меньше величины расходимости излучения рубиновых ОКГ. Это обусловлено более высокой оптической однородностью стекла.
Газовые оптические квантовые генераторы
В газовых ОКГ, как следует из названия, активной усиливающей средой является газ. Рабочими частицами, переходы между энергетическими состояниями которых определяют генерацию, служат атомы, ионы или молекулы. В соответствии с этим говорят об атомных, молекулярных и ионных ОКГ.
В настоящее время предложено множество методов создания инверсии населенвостей в газовых средах, использувдих электрический разряд, энергию химических реакций, оптическую накачку и т.д.
Наиболее часто инверсия в газовых ОКГ осуществляется в результате электрического разряда, создаваемого непосредственно в самой рабочей среде. Основными механизмами, приводящими к избыточной населенности верхних энергетических уровней в газоразрядных ОКГ, являются следующие процессы:
I. Неупругие столкновения электронов с частицами газа (соударения первого рода), сопровождаемые передачей кинетической энергии движения электронов частицам, которые переходят в возбужденное состояние. Символически такой процесс обозначают
![]()
Соударения первого рода приводят не только к прямому возбуждению, но и определяют ступенчатое возбуждение частиц. При не-yupyl'их столкновениях электрона е с возбужденной частицей А* последняя переводится в более высокое энергетическое состояние А**:
![]()
Процессы возбуждения частиц путем электронных неупругих соударений первого рода играют основную роль во всех газоразрядных ОКГ.
2. Соударения второго рода между разнородными атомами смеси двух газов. При соударении атомов, один из которых - А* - находятся в возбужденном состоянии, а другой - В - в основном, происходит передача возбуждения от первого атома ко второму. При этом первоначально возбужденный атом переходит в основное состояние, а партнер по соударению - в возбужденное состояние :
![]()
Этот процесс происходит эффективно лишь в случае, когда энергии возбужденных состояний взаимодействующих атомов совпадают с точностью до величин порядка kT ( Т - температура газовой смеси). Примером газового оптического квантового генератора, в котором используется механизм, описываемый формулой (122), является широко используемый гелий-неоновый ОКГ.
3. Неупрутие атомно-молекудярные соударения, приводящие к диссоциации молекул с переходом одного из атомов в возбужденное состояние
![]()
На рис.80 показано схематическое устройство газового ОКГ. Он состоит из двух основных частей: открытого резонатора, образованного зеркалами 3^ и 3^ , и газоразрядной камеры, наполненной рабочей смесью He-Ne .

Газоразрядная камера представляет собой кварцевую или стеклянную трубку (обычно длиной от 1,5+2 дм до 1,&г2 м и диаметром до &т8 мм), с торцов закрытую плоскопараллельными оптическими окнами, наклоненными под углом Брюстера к оси трубки. Такие окна имеют пренебрежимо малые потери энергии на отражение для волны, поляризованной в плоскости падения, и практически делают невозможной генерацию излучения, поляризованного в перпендикулярной плоскости.
Иногда зеркала укрепляют на концах газоразрядной трубки. Однако такое расположение зеркал значительно усложняет конструкцию вакуумной части ОКГ (необходимо использовать сильфоны для юстировки зеркал) и создает технические трудности для смены зеркал, изменения расстояния между ними, введения в резонатор дополнительных элементов (диафрагм, линз и т.п.). Поэтому конструкции ОКГ с внутренними зеркалами применяются редко и главным образом тогда, котаа необходимо получить генерацию с произвольной поляризацией излучения.
Газоразрядная трубка наполняется рабочей смесью гелия и неона с общим давлением ^-10^ Па. Перед напуском рабочей смеси производят тщательную откачку с интенсивным нагреванием трубки. Для устранения оставшихся после откачки и выделяющихся в процессе работы газов перед отпайкой в трубку вводят геттер обыч но барий), активно поглощающий кислород, водород, азот и другие газы, но не вступающий в соединение с гелием и неоном.
|
|
Исследования показывают, что усиление активной среды в гелий-неоновом ОКГ невелико и составляет несколько процентов на метр (например, для перехода 3s о -2рц с Л, = 0,6328 стоя оно не превышает А% на метр, для перехода 2Sn -2рц с Д= I, 152 мкм - 12%). Поэтому в резонаторах гелий-неонового ОКГ приходится использовать зеркала с коэффициентом отражения, близким к единице и отличающимся от нее на доли и единицы процентов. При-меняются главным образом зеркала с интерференционными покрытиями. Малый коэффициент усиления активной среды налагает жесткие требования на точность юстировки зеркал резонатора. Так, в случае резонатора с плоскими зеркалами непараллельность их всего в несколько угловых секунд существенно сказывается на выходной мощности. Значительно меньше зависят от юстировки резо-иаторы со сферическими зеркалами. Обычно поворот сферических зеркал от оптимального положения в пределах нескольких угловых минут мало влияет на величину выходной мощности ОКГ. Поэтому в болышнстве газовых ОКГ используют резонаторы со сферическими зеркалами.
Для возбуждения газовой смеси используют либо разряд на постоянном токе, либо высокочастотный разряд. В первом случае в газоразрядную трубку, как показано на рис.80, вводят электроды - катод Щ, анод ('?). Напряжение питания составляет в зависимости от длины разрядного промежутка величину от нескольких сотен вольт до двух-трех киловольт,ток разряда - несколько десятков миллиампер, Высокочастотный разряд возбуждается радиочастотным генератором с мощностью от десятков до сотен ватт, напряжение от которого подводится к внешним кольцевым электродам, накладываемым на трубку.
Мощность генерации ОКГ зависит от парциальных давлений гелия и неона, размеров газоразрядной трубки, от тока (мощности) разряда. На рис.81 представлена зависимость мощности генерации р от давления гелия при различных давлениях неона.Мощность генерации растет с увеличением парциального давления гелия и неона, достигая максимума при общем давлении,, близком к 100 Па, и затем уменьшается. Рост мощности с давлением гелия объясняется увеличением концентрации его атомов, находящихся в мета-стабильном состоянии, что благодаря процессу резонансной передачи энергии атомам неона, описываемому формулой (123), ведет к росту инверсии населенностей рабочей среды и, следовательно, мощности генерации. При больших давлениях газовой смеси время свободного пробега электронов снижается настолько, что они не успевают достаточно ускориться в электрическом поле и приобрести необходимую энергию. Поэтому эффективность возбуждения ато-мов уменьшается. Мощность генерации существенно зависит от соотношения парциальных давлений гелия и неона в газовой смеси. Как показывают исследования, для генерации на переходе 3$^ --— 2/Dn с /I = 0,6328 мкм оптимальное соотношение для неона и • гелия равно I : 5, а для перехода 25^—2^ с Л-= 1,15 мкм оно равно I : 10 при общем давлении смеси около 100 Па.
Важным вопросом получения максимальной выходной мощности является выбор оптимального диаметра газоразрядной трубки. С одной стороны, увеличение диаметра трубки, а значит, и объема активной среды должно приводить к росту мощности генерации. С другой - чрезмерное увеличение диаметра трубки ведет к уменьшению инверсии населенностей рабочей пары уровней. Это связано с тем, что в процессе генерации опустошение нижнего рабочего уровня 2рь происходит посредством каскадных переходов на ме-тастабильный уровень Is , с которого атомы возвращаются в основное состояние, главным образом под влиянием соударений со стенками трубки. Чем больше радиус трубки, тем больше время диффузии атомов неона к стенкам, а значит, время их жизни в состоянии is . В результате на уровне is скашиваются атомы, откуда они в результате электронного возбуждения переходят в состояние 2р и Зр , уменьиая инверсию населенностей. Экспериментально установлено, что для трубок длиной I м оптимальный диаметр составляет 7-8 мм. Для трубок меньшей длины он получается соответственно меньше.
|
|
На рис.82 приведена типичная для гелий-неонового ОКГ зависимость выходной мощности
^вых от тока РварВД® I (мощности разряда). Характер этой
зависимости полностью определяется механизмом возбуждения гелий-неоновой смеси. С увеличением разрядного тока возрастает концентрация электронов в плазме и увеличиваются населенности всех возбужденных состояний атомов гелия и неона, особенно 2s- и 35-состояний, благодаря процессу, описываемому формулами
(123). Поэтому мощность генерации с увеличением тока растет. По мере дальнейшего возрастания тока рост инверсии из-за интенсивного заселения нижних рабочих
уровней 2р и Зр в результате процесса ступенчатого возбуждения через метаотабилъный уровень Is, описываемого формулами
(124), начинает замедляться. При больших разрядных токах (> 100 мА) концентрация атомов неона в долгоживущем метаста-бильном состоянии is становится настолько высокой, что ступенчатое заселение уровней 2р и Зр приводит к уменьшению инверсной заселенности рабочей пары уровней, и мощность генерации падает.
Оптимальная величина тока разряда для разных ОКГ находится в диапазоне 20*80 мА. Исследования показывают, что в оптимальном режиме удельная мощность (мощность с единицы длины разрядной трубки) генерации составляет 30 мВг/м для перехода 3Sn-- 2pq ( Л- = 0,6328 мкм), 50 мВт/м для перехода 25g -2рц (Л, = = 1,152 мкм) и 100 мВт/м для перехода За^ - Зрц ( Л/ =3,394мий).
Коэффициент полезного действия гелий-неонового ОКГ составляет доли процента. Столь низкий КПД объясняется малой квантовой эффективностью рабочих переходов атомов неона и несовершенством процесса возбуждения их. Квантовая эффективность рабочего перехода - это отношение энергии излучаемого фотона к энергии, которая сообщается частице для возбуждения ее до верхнего рабочего уровня. Иными словами, квантовая эффективность показывает , какая доля энергии,затраченная на возбуждение частиц, переходит в энергию генерации. Очевидно, что квантовая эффективность рабочего перехода определяет теоретическое предельное значение КПД ОКГ. Для атомэв неона энергия верхнего рабочего уровня составляет 20 аВ, а энергия фотона генерации с Д=0,6328 мкм равна 2 эВ. Поэтому квантовая эффективность т?д„ « 10?. Таким образом, в когерентное излучение может быть преобразовано лишь 10% общей энергии, сообщенной атому.
С другой стороны, в процессе возбуждения атома Afe до верхнего рабочего уровня эффективно могут участвовать только те электроны, энергия которыг превышает 20 эВ. Так как в гелий-неоновой плазме наиболее аероятная энергия электронов составляет 6+8 аВ, то для возбуждения верхнего рабочего уровня используется лишь небольшая часть энергии, затрачиваемой на поддержание газового разряда. Поатому КПД гелий-неонового ОКГ значительно меньше квантовпй эффективности и составляет доли процента .
Спектр излучения гелий-неонового ОКГ состоит из отдельных . линий, соответствующих продольным к поперечным типам колебаний используемого открытого резонатора. Общая ширина спектра генерации определяется шириной линии усиления активной среды ОКГ. Линия усиления активной среды гелий-неонового ОКГ определяется эффектом Доплера, и ее ширина Д-^у растет с увеличением интенсивности накачки. Для перехода с Л/ = 0,6328 мкм она достигает 2000 МГц, для ^ = 1,152 мкм Ai)^» 1000 МГц, для Л = = 3,394 мкм Дг?,, йг 400 МГц. При длине резонатора I м в ОКГ может генерироваться на ^ = 0,6328 мкм до 10+12, на Л.=1,]5мкм - до 5-6 продольных типов колебаний.
Применяя специальные методы селекции типов колебаний (см. § 5 гл.17), можно получить генерацию в гелий-неоновом ОКГ на одной частоте.
Аргоновый ОКГ. В отличие от атомных ОКГ, к которым относится рассмотренный гелий-неоновый ОКГ и в которых используются переходы между возбужденными состояниями атомов, в ионных ОКГ рабочий переход соответствует возбужденным уровням ионов. Ионный ОКГ в настоящее время - один из наиболее мощных газовых ОКГ, излучение которых лежит в видимой области спектра. Это связано с особенностями структуры энергетических уровней ионов и механизмом создания инверсии населенностей.
Инверсия населен— ностей в ионных ОКГ осуществляется газовым разрядом. Так как рабочими частицами в них являются ионы, то газовая плазма разряда должна быть высокоионизированной. Поэтому в ионных ОКГ используется дуговой разряд, отличающийся повышенной степенью ионизации.
Характерным представителем ионных ОКГ служит аргоновый ионный ОКГ, наиболее изученный и разработанный в настоящее время. Давно налажен их промышленный выпуск.
Рассмотрим механизм возбуждения аргоновых ионных ОКГ. На рис. 83 приведена упрощенная диаграмма нижних состояний ионов аргона.В основном.состоянии атом
Др имеет электронную конфигурацию fs^Ss^p-Ss-S^6 . Первое возбужденное
состояние атома Аг соответствует переводу одного из внешних электронов на 4 д -оболочку. При однократной ионизации получается конфигурация iss •г,sг •г.pG Зsг 'Зp5 , которой соответствуют два уровня. Перевод одного из электронов с Зр -оболочки иона аргона на оболочку ^ дает пять энергетических уровней, а возбуждение электрона с Зр -оболочки на 4р -оболочку ведет к образованию 13 уровней.
Генерация в аргонных ОКГ осуществляется на переходах между состояниями иона Аг''' с электронной конфигурацией Зр^4р и З/^з. Инверсия населенностей обеспечивается процессами ступенчатого электронного возбуждения и разным временем жизни верхних и нижних рабочих уровней. В аргоновой плазме с большой эффективностью идет процесс образования возбужденных атомов и ионов посредством электронных соударений:

Далее повторные соударения с электронами приводят к образованию возбужденных ионов с электронными конфигурациями Зр^р и

Кроме того, рабочие уровни заселяются в результате ступенчатых переходов через уровни состояний ионов с электронной конфигурацией 3p^d и Зр^д (эта система уровней на рис.83 не изображена).
Как показывают исследования, скорость заселения верхних и нижних уровней одинакова. Инверсия населенностей образуется лишь вследствие того, что время жизни уровней Зр^р примерно в 25 раз выше, чем время жизни уровней 3p^4s. Нижние рабочие уровни Зр^д опустошаются вследствие спонтанных переходов в основное состояние ионов с излучением в ультрафиолетовой вакуумной области. Наибольшая инверсия населенностей получается для переходов ^ р ^^ -* 4s г ?^.
На рис.84, о. приведена схема аргонового ОКГ. Он отличается от гелий-неонового ОКГ лишь конструкцией газоразряцной трубки. Как уже отмечалось, в ионных ОКГ используется сильноточный дуговой разряд, обеспечивающий высокую степень ионизации газа. Для генерации необходима плотность тока разряда до нескольких сотен ампер на I см~. Разряд происходит в узкой капиллярной трубке 3 , охлаждаемой водой 1 . Рабочее давление аргона в разрядном капилляре устанавливается в несколько десятков паокалей. Электроды трубки должны быть рассчитаны на разрядные токи до сотен ампер и иметь высокую стойкость к электронной и ионной бомбардировке. Анод Ч обычно охлаждают водой. Часто применяют в таких ОКГ оксвдные катоды 5 . Хорошо зарекомендовали себя также импрегнированные катоды, представляющие собой пористую

вольфрамовую губку, пропитанную алюминатом бария или кальция. Такие катоды обладают большой удельной эмиссией, превышающей во много раз оксвдные катоды. Они не теряют своей эмиссионной способности при многократных нарушениях вакуума в трубке.
При мощном дуговом разряде происходит процесс перекачки газа от анодного конца трубки к катодному, в результате чего образуется перепад давления и разряд гаснет. Для выравнивания давления по длине капилляра катодную и анодную колбы соединяют обводным каналом 6 , обеспечивающим свободную циркуляцию газа.
Разрядный капилляр должен выдерживать высокие тепловые нагрузки (сотни ватт на квадратный сантиметр) и ионную бомбардировку. Капилляр часто выполняется из кварца. Он термостоек, имеет хорошие электроизоляционные свойства и устойчив к эрозии. Изготовление разрядных трубок из кварца не представляет технологических трудностей. Обычно используют разрядные трубки диаметром до I5+20 мм и длиной от 10 см до нескольких метров. Существенный недостаток кварца - малая теплопроводность . Она позволяет доводить плотность разрядного тока только до сотен ампер на I си2 в ОКГ непрерывного действия. Кварцевые капилляры пока не обеспечивают длительную работу ОКГ при больших мощностях. Срок службы кварцевых капилляров достигает нескольких сотен часов. При плотностях тока 500 А/см и более кварцевые капилляры практически непригодны для работа. В этом случае в качестве материала для разрядных капилляров используют различную тугоплавкую керамику и анодированный алюминий.
Разрядные капилляры из керамики значительно долговечнее, обладают более высокой теплопроводностью, чем плавленный кварц.
Проблема создания стойких разрядных трубок для аргоновых ОКГ во многом решается путем использования секционированных разрядных трубок, состоящих из металлических шайб 7 тугоплавкого материала (молибдена, тантала, графита, керамики из окиси берилия), разделенных диэлектрическими изоляционными кольцами 8 (из кварца, резины) (рис.84, (у). В ряде стран промышленностью выпускаются ОКГ с капиллярами из тугоплавких керамик и секционированными разрядными трубками мощностью 3+10 Вт и выше. Срок службы их достигает нескольких тысяч часов.

Многочисленные исследования ионных аргоновых ОКГ привели к оригинальному решению проблемы создания дугового разряда высокочастотными поляки. На рис.85 приведена схема аргонового ОКГ с высокочастотным питанием < . Замкнутая кольцевая трубка 2 ОКГ служит как бы одновитковой вторичной обмоткой высокочастотного трансформатора 3 . Для питания используется генератор с частотой в несколько мегагерц. Высокочастотное возбуждение имеет следующие достоинства: снижается эрозия кварцевого капилляра, отсутствует жестчение газа, существенно уменьшаются шумы в излучении. Уменьшение эрозии, по-видимому, связано с тем, что ионы не успевают приобрести значительную скорость при движении в высокочастотном поле. В ОКГ с высокочастотным возбуждением нет металлических электродов, что позволяет использовать в них химически активные газы (в таком разряде получена генерация на ионах мышьяка, брома, селена).
Практически в большинстве ионных аргоновых ОКГ используется наложение внешнего продольного магнитного поля на разряд, приводящее к существенному увеличению мощности генерации. Магнитное поле создается соленоидами (см.^| на рис.84,а) или постоянными магнитами. Оно прижимает разряд к оси трубки,.уве-личивает концентрацию электронов в центре капилляра, уменьшает поток заряженных частиц на его стенки. Последнее уменьшает тепловые нагрузки на капилляр и увеличивает тем самым срок его службы.Напряженность магнитного поля имеет величину порядка 10° А/м.
|
|
Важное значение при эксплуатации и разработке аргоновых ОКГ имеет определение их оптимального режима работы, соответствующего наибольшей выходной мощности. Мощность генерации 'зависит от силы тока разряда, давления газа, размеров разрядного капилляра, величины напряженности магнитного поля и т.д.
На рис.86 приведена зависимость выходной мощности ОКГ с разрядной трубкой диаметром 10 мм от давления аргона при разных величинах разрядного тока. Из рисунка видно, что существует оптимальное давление, соответствующее максимальной мощности. При малых давле-ниях концентрация ионов незначительна и мощность излучения оказывается небольшой. При больших давлениях концентрация ионов велика, но мала длина свободного пробега электронов и, следовательно, мала их энергия. Это ведет к снижению эффективности возбуждения ионов при соударениях с электронами, вследствие чего инверсия, а значит, и мощность излучения получаютсянезначительными. Величина оптимального давления зависит от диаметра разрядной трубки. Она растет с уменьшением диаметра. Экспериментально установлено, что величина оптимального давления рот в зависимости от диаметра трубки d определяется при jd = 100 А/см ( j - плотность тока разряда) соотношением Ропт = 6,5ct ~^, здесь d выражено в сантиметрах. Для реально используемых трубок d = 0,1+1,5 см, ру^ = 100+4 Па.
Мощность генерации при токах выше порогового значения растет пропорционально квадрату силы тока. Квадратичная зависимость мощности от тока характерна для всех аргоновых ОКГ. Она объясняется ступенчатым процессом механизма возбуадения ионов из основного состояния атомов. Лишь при очень больших плотностях тока ('>1000 А/см^) мощность излучения с увеличением силы тока перестает расти, наступает насыщение и далее мощность уменьшается. Однако такого режима трудно достигнуть из-за разрушения разрядных капилляров. Насыщение мощности излучения с ростом оиды тока, по-ввдимому, связано с эффектом пленения излучения. Инверсия населенностей, как было уже показано, в аргоновых ОКГ обеспечивается в результате опустошения нижнего рабочего уровня 3^48 интенсивными спонтанными переходами ионов в основное ионное состояние. Спонтанное излучение, распространяясь в плазме, частично поглощается не-возбухденными ионами, что приводит к переводу их с уровня Зр^ на уровень Зр4 4s. При большой концентрации ионов каждому спонтанному переходу Зр 4з •— Зр соответствует акт поглощения, ведущий к возвращению иона в возбужденное состояние 3^45. Происходит как бы увеличение эффективного времени жизни частиц в Зр^д -состоянии, что ведет к уменьшению инверсии насе-ленностей и, как следствие этого, падению мощности генерации. Удельная мощность генерации вблизи режима насыщения достигает 2,5 Вт/см.
Большой практический интерес представляет зависимость мощности генерации от диаметра разрядной трубки (рис.87). Из рисунка видно, что удельная мощность генерации растет с увеличением диаметра разрядной трубки. Поэтому для получения большой мощности выгоднее использовать разрядные трубки увеличенного диаметра (до 10+15 мм). Однако при этом встречаются трудности в получении равномерного разряда по всей площади трубки, требуются мощные катоды, обеспечивающие большие токи эмиссии (до сотен ампер).

В настоящее время с трубками диаметром 10 + +15 мм в аргоновом ОКГ достигнута мощность генерации 500 Вт.
При создании мощных аргоновых ОКГ возникают существенные трудности, связанные с распылением электродов и стенок разрядных трубок. Распыленные частицы, оседая на брюстеровы окна (или на внутренние зеркала), образуют поглощающий слой. В результате абсорбции излучения в поглощающем слое происходит термическая деформация оптических элементов, что приводит к значительной расходимости луча и падению выходной мощности. Поглощающий слой на поверхности окон и разрушение отражающих слоев зеркал резонатора полем излучения большой мощности являются основными препятствиями, которые ограничивают рост мощности аргоновых ОКГ непрерывного действия.
Существенное влияние на выходную мощность аргоновых ОКГ оказывает также аксиальное магнитное поле. Наложение продольного магнитного поля приводит к спиральному движению электронов и ионов вокруг магнитных_силовых линий, что снижает радиальную диффузию к стенкам капилляра, увеличивая концентрацию их на оси трубки. Уменьшение ионной бомбардировки облегчает тепловую нагрузку на стенки разрядной трубки и увеличивает срок ее службы. Экспериментальные исследования показывают, что с ростом напряженности магнитного поля выходная мощность ОКГ увеличивается, достигая максимума при некотором оптимальном значении напряженности, а затем падает.
Рис.88 иллюстрирует зависимость мощности генерации от величины напряженности магнитного поля при различных давлениях газа ОКГ с капилляром диаметром 4 мм, длиной 28 см, при силе тока 30 А. Видно, что с ростом давления ^/опт уменьшается. Величина оптимальной напряженности также зависит от силы тока и диаметра разрядного капилляра. С ростом силы тока и давления hq „т уменьшается. Оптимальная, величина напряженности магнитного поля лежит в диапазоне от нескольких десятков тысяч до (2*3)- 1СГ3 А/м. Исследования показывают, что падение мощности генерации при полях напряженностью, большей оптимальной, когда образуется значительная концентрация заряженных частиц на оси разрядной трубки, связано главным образом с эффектом пленения резонансного излучения и ростом числа тушащих соударений ионов с электронами, приводящими к безызлучательной дезактивации верхних рабочих уровней.
Как уже отмечалось, инверсия йаселенностей в дуговом аргоновом разряде обеспечивается для систем уровней, соответствующих электронным конфигурациям Зр 4р и Зр4S ионов аргона.Потому при выполнении пороговых условий в аргоновом ОКГ мэхвт возникнуть генерация когерентного излучения на целом раде переходов этой системы уровней.
В аргоновых ОКГ генерация наблидается на многих длинах волн, лежащих в пределах от фиолетовой (450 нм) до зеленой (530 мн) области. Наиболее интенсивная генерация идет на линии 488 нм, отвечающей переходу ^pг Do cln — ^s^Pw • Незначительно ей уступает по интенсивности генерация на переходе ^Р^ю— — Чв^^с длиной волны 514,5 нм. В линиях 488 и 514,5 нм может заключаться соответственно до 45 и У?% общей мощности генерации. Для этих линий обеспечиваются наибольшие величины инверсии населенностей и соответственно большие коэффициенты усиления. Измерение усиления для ОКГ с капилляром 0,5 см при давлении 10 Па и плотности тока 600 А/см для перехода о А, = = 488 нм дает величину I3-IO"3 см"1 , для перехода с A=5I4,5i»i-примерно 3,6-Ю"3 см"1 .
Следующей по интенсивности после линий 488 и 514,5 нм является линия 496 либо 476 нм, на которую приходится около 6% полной выходной мощности. При небольших превышениях тока над пороговым значением генерация происходит на переходе ^Р^то---••^-^м. Линия усиления имеет доплеровское уширение, и полная ширина спектра генерации достигает 10 ГГц, превышая ширину спектра Не-Ne ОКГ в 4-5 раз. Последнее объясняется, во-первых, тем, что рабочие частицы в аргоновой плазме имеют значительно большую скорость, чем атомы неона в смеси Не-Me, и, во-вторых, более высоким избыточным усилением (превышением усиления над потерями в резонаторе). Для обеспечения генерации на отдельных переходах из системы рабочих уровней электронных конфигураций Зр 4р и 3p-4s необходимо использование селективных элементов в ОКГ (призм, дифракционных решеток).
Оптический квантовый генератор на углекислом газе
Относится к группе газовых лазеров, в которых используются переходы между колебательно-вращательными состояниями молекул. В настоящее время осуществлена генерация на кодебательно-врашательных переходах многих молекул: СО , ti^O ,НуО , СО^ и т.д. Лучшие результаты получены с ОКГ на COq . Они являются самыми мощными из всех газоразрядных ОКГ, работающих в непрерывном режиме, и имеют высокий коэффициент полезного действия, достигающий 20 т 30%.
Рассмотрим механизм создания инверсии населенностей в ОКГ на углекислом газе. Инверсия наоеленностей в таких ОКГ осуществляется посредством газового разряда. Прежде чем рассматривать вопрос о механизме генерации, приведем некоторые данные о молекуле СО^ и ее уровнях. Молекула COn - линейная симметричная молекула. Она имеет три нормальных типа колебаний: валент-ное полносимметричное (^ ), деформационное ( ^ ) и валентное антисимметричное (^д) (рис.89). Деформационные колебания являются дважды вырожденными, так как колебания с одной и той же частотой могут происходить в двух ортогональных плоскостях, проходящих через ось молекулы. Колебательное состояние молекулы описывается тремя квантовыми числами и, ,
Vn
и ^з • каждое из которых представляет число возбужденных квантов колебаний г>
! ' ^2. • "^З • Соответствующие уровни обозначаются комбинацией квантовых чисел (^ ,и^ ,
v^
). Квантовое число t
,
записываемое. в виде индекса, обусловлено двукратным вырождением деформационного -
колебания. Оно принимает значения ^"1^,0^-2,..., О для четных и, и I « Do, Uo-1,..., 1 Для нечетных и определяет значение момента количества движения Р^ = /г.^/(2Х), связанного с колебаниями в направленного вдоль оси молекулы. Уровни с Ь = 0 являются невырожденными, с Ь > 0 - дважды вырожденными. При и, > I вследствие ангармоничности колебаний СО^ вырождение снимается. На рис.90 дана схема нижних колебательных уровней молекул СОп .
Для эффективного заселения верхнего рабочего уровня молекул СО в в рабочую трубку ОКГ вводят азот..Так как Ng — двухатомная молекула, то она имеет только одну колебательную степень свободы. Ее колебательная энергия определяется квантами энергии, обусловленными колебаниями атомов вдоль оси молекулы. Соответственно колебательные уровни энергии молекулы азота описываются одним колебательным квантовым числом v . На рис.90 приведена также система нижних колебательных уровней молекул No. Весьма примечательно то, что энергия первого возбужденного колебательного уровня молекулы Nn почти равна энергии уровня (00°1) молекулы СОр . Разница энергии состояний (00°1) молекулы СОр и ( о =1) молекулы Nn составляет всего 0,0023 эВ.
Генерация в ОКГ на СО^ осуществляется на переходах (DO0 !)-—(П^О) и (00°I) — (02°0). Наиболее интенсивная генерация идет на переходе (00°1) — (ГС°0) с длиной волны около 10,6 мкм, которая подавляет почти полностью генерацию на длине волны 9,6 мкм (00°1) -.(02°0).
Возбуждение верхнего рабочего уровня (00°1) обусловлено несколькими процессами. Основной процесс возбуждения связан с неупругими соударениями молекул N^ с СО^ , что ведет к резонансной передаче колебательной энергии от молекул азота к молекулам углекислого газа:
![]()
В газовом разряде электронные соударения приводят к эффективному образованию колебательно-возбужденных молекул Nn (v = I) (до 30% общего числа молекул Nn). Так как молекула азота состоит из двух одинаковых атомов, то ее дипольный момент равен нулю, поэтому дипольное излучение отсутствует и разрушение возбужденных колебательных состояний происходит только в результате столкновений. Вследствие почти полного совпадения уровней энергии первого колебательного уровня {и = I) молекул No и уровня (00 I) СОр соударения возбужденных молекул No с молекулами СОп , находящимися в основном состоянии, ведут к селективному заселению верхнего рабочего уровня (00 I) СО^ .
Существенную роль в заселении верхнего рабочего уровня играет резонансная передача колебательной энергии от молекул СО молекулам СОр . В газовом разряде благодаря диссоциации молекул СОо образуется значительное количество молекул СО , которые при соударениях с электронами интенсивно переводятся в колебательно-возбужденное состояние. Первый возбужденный колебательный уровень молекулы СО почти совпадает с верхним рабочим уровнем (00 Г) молекул СОр. Благодаря этому происходит процесс резонансной передачи колебательной энергии от молекул СО (так же, как от молекул Nn ) молекулам СОр:
![]()
Этот процесс - один из основных в заселении верхнего рабочего уровня ОКГ на чистом СОр .
Верхний рабочий уровень (00°1) дополнительно заселяется благодаря процессу неупругого соударения молекул двуокиси углерода и электронов:
со-(ооо) + ё — со (оо°<) + е . fc *•
Для работы ОКГ наряду с заселением верхнего уровня такое же важное значение имеет разрушение нижнего рабочего уровня. Релаксация нижнего лазерного уровня обусловлена столкновениями молекул СОо (10'0) с невозбухденными молекулами С0^( ООО):
С0^10°0) + СО^(ООО)-- CO^OI 'O+COg^O). (125)
Этот процесс идет с большой эффективностью, что связано с соответствием нижнему лазерному уровню (10°0) молекул СОр энергии почти вдвое большей, чем требуется для возбуждения колебательного уровня (01^0). В результате соударения молекул СОп (10°0) и СОп (000) приводят к перераспределению колебательной энергии между ними с возбуждением каждой на уровень (01 0). Переход молекул СОп из состояния (01 0) в основное состояние (000) обеспечивается столкновениями их с частицами постороннего газа. При этом энергия деформационных колебаний молекулы С0о_ (01 0) превращается в энергию поступательного движения со-ударяющихся молекул.
Значительное уменьшение времени релаксации уровней (01-0) и (10 0) и увеличение тем самый инверсии населенностей,а значит и мощности генерации вызывают гелий, водород, пары воды, которые вводят для этой цели в рабочую трубку ОКГ.
По устройству ОКГ на СОо не имеют принципиальных отличий от других газоразрядных генераторов. Однако они характеризуются конструктивными особенностями, обусловленными спектральным диапазоном и высокой мощностью излучения.
На рис.91 приведены схемы конструкций ОКГ на углекислом газе. В мощных СКГ длина разрядных трубок достигает нескольких метров, а диаметр - 70 -5-80 мм. Дальнейшему увеличению диаметра препятствует контрагирование столба газового разряда, которое наступает для смеси No-СОо при диаметрах, больших,чеп 40 мм, а на смесях Nn-CO-He при диаметрах, больших» чем 70* т80 мм. В ОКГ на СО^ используется принудительное водяное охла ждение трубок ( 1 на рис.91,а). 1%

Разряд осуществляют как на постоянном токе (см.рис.91, а), так и переменным напряжением промышленной частоты ( и на рис. 91.ff ). В длинных трубках для упрощения зажигания и поддержания разряда создают секции длиной 80+100 см, разряд в каждой из которых поддерживается независимо от других секций. Обычно используют источники с напряжением примерно 20 кВ и током, достигающим десятков и сотен миллиампер.
Применяют как внутренние (3), так и внешние зеркала(^> Пло-скопараллельные пластины брюстеровских окон (.5) газоразрядных трубок делают из NuCL , KCL , Ge , SL , -прозрачных в области 9+11 мкм. Используют зеркала с металлическими или интерференционными диэлектрическими отражающими покрытиями. Подложки зеркал для ОКГ небольшой мощности (порядка I Вт) делаются из кварца. Наилучшим материалом при высоких уровнях мощности для подложек зеркал и для брюстеровских окон является иртрай, представляющий собой прессованный поликристалл ZnSe . Для вывода излучения из ОКГ в зеркалах с металлическими отражающими покрытиями делается небольшое отверстие" - окно (диаметром несколько миллиметров). Коэффициент пропускания выходных зеркал с диэлектрическими покрытиями имеет величину 10 т 30%.
Разрад в рабочей смеси газов сопровождается диссоциацией и изменением исходного состава газа. Поэтому очень часто, особенно в мощных ОКГ, используется непрерывная прокачка газа (б) через разрядную трубку.
|
|
Рассмотрим основные характеристики ОКГ на COg . На рис.92 показана зависимость выходной мощности от силы тока разряда паи различных давленяях СОп для ОКГ с отпаянной трубкой длиной I м и диаметром 10 мм. Сначала мощность возрастает вместе с током, а затем падает. Такая зависимость объясняется конкуренцией двух факторов. Увеличение концентрации электронов, о одной стороны, ведет к возрастанию скорости возбуждения молекул СОп на уровень (00^1), а с другой,- повышает газовую температуру, что увеличивает ^ скорость разрушения антисимме-- тричных колебаний молекул.
Значительное увеличение мощности генерации достигается добавлением к СО^ азота.
Рис.93 иллюстрирует влияние введения азота в разрядную трубку на мощность и КПД ОКГ на СОп • При добавлении азота благодаря резонансной передаче колебательной энергии от молекул Nn антисимметричному типу колебаний СОо инверсия населенностей. а следовательно, и мощность растут. Однако по мере введения N^ повышается температура газа, что приводит к увеличению скорости релаксации уровня (00°1), уменьшению его заселенности, а также росту населенности нижнего лазерного уровня (Ю°0). Поэтому инверсия населенностей снижается и мощность падает.
Существенное влияние на энергетические характеристики ОКГ на COp-Nn оказывает введение в разрядную камеру гелия (рис.94)1 Гелий, обладая теплопроводностью, в несколько раз превышавшей теплопроводность СОв^ и Nn, снижает газовую температуру, что способствует увеличению инверсной населенности, а значит,и выходной мощности. Кроме того, с введением в разряд гелия воз
|
|
растает возбуждение колебательных уровней молекул СО- , Мд и СО . Однако при больших парциальных давлениях гелия в газовой смеси мощность генерации падает, так как уменьшается населенность верхнего лазерного уровня (00°!) из-за релаксации антисимметричных колебаний молекул СОр при столкновениях COn-He . Мощность генерации также повышается при введения в разряд паров воды.
Оптимальный состав рабочей смеси газов в ОКГ на СОр зависит от размеров разрядной трубки, температуры ее стенок, скорости прокачки смеси и т.д. Обычно используются смеси угле
кислого газа, азота и гелия в соотношении 1:1+5:3*8 при общем давлении порядка I03 Па. Удельная мощность генерации достигает I Вт на I см разряда газовой смеси. Типичный ОКГ на углекислом газе при длине разрядной трубки 200 см дает непрерывную мощность около 150 Вт. Увеличение длины разрядной трубки ведет к примерно пропорциональному росту мощности. Таким путем удается создать ОКГ на углекислом газе с выходной мощностью больше I кВт. На уникальной установке с длиной разрядного канала ВО м была получена мощность генерации около 9 кВт.*
Похожие рефераты:
Оптические методы исследования процессов горения
Устройства генерирования и канализации субмиллиметровых волн
Лазеры и их применение в медицине
Анализ погрешностей волоконно-оптического гироскопа
Лазерное излучение в биологических исследованиях
Контроль качества сгорания топлива в методических нагревательных печах
Революция в оптике (лазеры и их применения)
Электромагнитное загрязнение окружающей среды
Управление напряжением рентгеноскопической установки







