| Похожие рефераты | Скачать .docx |
Реферат: Эксимерные лазеры
МГТУ им. Н.Э. Баумана
Учебно-методическое пособие
Эксимерные лазеры
Н.В. Лисицына
Москва 2006
Содержание
Введение
1. Теоретические основы
1.1 Активная среда
1.1.1 Лазеры на галогенидах инертных газов
1.1.2 Лазеры на окислах инертных газов
1.1.3 Лазеры на эксимерных молекулах чистых инертных газов
1.1.4 Лазеры на двухатомных галогенах
1.1.5 Лазеры на парах металлов
1.1.6 Охлаждение, вентиляция и очистка рабочего газа
1.2 Накачка
1.2.1 Накачка электронным пучком
1.2.2 Накачка электрическим разрядом
1.2.2.1 Разрядные цепи
1.2.2.2 Накачка быстрым поперечным электрическим разрядом
2.2.3 Накачка электрическим разрядом с предионизацией электронным пучком
1.2.2.4 Накачка двойным электрическим разрядом
1.3 Параметры выходного излучения
2. Коммерческие модели эксимерных лазеров
2.1 Лазер LPXPro 305 фирмы LAMBDA PHYSIK (Германия)
2.2 Лазер eX5 ФИРМЫ gam lasers, inc (сша)
3. Применения
3.1 Фотолизное возбуждение лазерных сред
3.2 Генерация коротковолнового излучения
3.2.1 Фотолитография
3.2.2 Лазерная хирургия. Пример пересчета параметров лазерного излучения
Литература
Введение
Эксимерные лазеры - один из самых интересных видов лазеров. Излучение источников, относящихся к этому виду, в спектральном диапазоне занимает промежуток от 126 нм до 558 нм. Благодаря такой малой длине волны излучение эксимерных лазеров может быть сфокусировано в пятно очень маленького размера. Мощность этих источников достигает единиц кВт. Эксимерные лазеры относятся к импульсным источникам. Частота повторения импульсов может доходить до 500 Гц. Этот вид лазеров имеет очень высокий квантовый выход и, как следствие, достаточно высокий КПД (до 2 - 4%).
Благодаря таким необычным характеристикам, излучение эксимерных лазеров находит применение во многих областях и приложениях. Они используются в клиниках при проведении операций (на радужной оболочке глаза и других), где необходимо выжигание тканей. На основе этих лазеров созданы микрофотолитографические установки для тонкого травления материалов при создании электронных печатных плат. Широкое применение нашли эксимерные лазеры в экспериментальных научных исследованиях.
Однако, все эти замечательные характеристики эксимерных лазеров влекут за собой некоторые трудности при их изготовлении и создании установок на их основе. Например, при столь высокой мощности излучения необходимо препятствовать образованию дуги в активной газовой смеси. Для этого необходимо усложнить механизм накачки с целью сокращения длительности ее импульса. Коротковолновое излучение эксимерных лазеров требует использования специальных материалов и покрытий в конструкциях резонаторов, а также в оптических системах для преобразования их излучения. Поэтому одним из недостатков источников этого вида является высокая, по сравнению с другими видами лазеров, стоимость.
1. Теоретические основы
1.1 Активная среда
Активной средой эксимерного лазера являются молекулы газа. Но, в отличие от лазеров на CO, CO2 или N2 , генерация в эксимерных лазерах происходит не на переходах между различными колебательно-вращательными состояниями, а между различными электронными состояниями молекул. Существуют вещества, которые в основном состоянии не могут образовывать молекулы (их частицы в невозбужденном состоянии существуют лишь в мономерной форме). Это происходит, если основное состояние вещества соответствует взаимному отталкиванию атомов, является слабосвязанным, либо связанным, но при наличии больших межъядерных расстояниях (рис.1).

Рисунок 1: а - резко отталкивательная кривая; б - плоская кривая; в - кривая связанного состояния на больших межъядерных расстояниях
Молекулы рабочего вещества эксимерных лазеров грубо можно разделить на два вида: образованные частицами одного и того же вещества и частицами двух различных веществ. В соответствии с этим сами активные среды можно назвать "эксимеры" (excimer, exciteddimer - возбужденный димер) и "эксиплексы" (exciplex, excitedcomplex - возбужденный комплекс).
Процесс получения генерации в эксимерном лазере удобно рассмотреть с помощью рисунка 2, на котором представлены кривые потенциальной энергии для основного и возбужденного состояний двухатомной молекулы А2 .

Рисунок 2. Энергетические уровни эксимерного лазера.
Поскольку кривая потенциальной энергии возбужденного состояния имеет минимум, молекула А2 * может существовать. Данная молекула является эксимером. В процессе релаксации возбужденной среды устанавливается определенная траектория потока энергии, которая содержит скачок, преодолеваемый только испусканием излучения. Если в некотором объеме накопить довольно большое количество таких молекул, то на переходе между верхним (связанным) и нижним (свободным) уровнями можно получить генерацию (вынужденное излучение) - связанно-свободный переход.
Этот переход характеризуется следующими важными свойствами:
При переходе молекулы в основное состояние в результате генерации она немедленно диссоциирует;
Не существует четко выраженных вращательно-колебательных переходов, и переход является относительно широкополосным.
Если инверсия населенностей не достигается, то наблюдается флюоресценция.
Если нижнее состояние является слабосвязанным, то молекула в этом состоянии претерпевает быструю диссоциацию либо сама (предиссоциация), либо вследствие первого же столкновения с другой молекулой газовой смеси.
В настоящее время получена лазерная генерация на ряде эксимерных комплексов - квазимолекулах благородных газов, их окислах и галогенидах, а также парах металлических соединений. Длины волн генерации этих активных сред приведены в таблице 1.
Таблица 1
| Эксимерные комплексы | Квазимолекулы благородных газов | Окислы благородных газов |
Пары металлических соединений | ||||
| Активная квазимолекула | Xe2 * | Kr2 * | Ar2 * | ArO* | KrO* | XeO* | CdHg* |
| λген , нм | 172 | 145,7 | 126 | 558 | 558 | 540 | 470 |
| ∆λ, нм | 20 | 13,8 | 8 | 25 | |||
Римп , МВт (Рср , Вт) |
75 | 50 | |||||
| τ, нс | 10 | 10 | 4-15 | ||||
| Активная квазимолекула | XeBr* | XeF* | ArF* | ArCl* | XeCl* | KrCl* | KrF* |
| λген , нм | 282 | 351 | 193 | 175 | 308 | 220 | 248 |
| ∆λ, нм | 1 | 1,5 | 1,5 | 2 | 2,5 | 5 | 4 |
Римп , МВт (Рср , Вт) |
(100) | 3 | 1000 | (0,02) | (7) | 5 (0,05) |
1000 |
| τ, нс | 20 | 20 | 55 | 10 | 5 | 30 | 55 |
Для получения квазимолекул благородных газов используются чистые газы, находящиеся под давлением в десятки атмосфер; для получения окислов благородных газов - смесь исходных газов с молекулярным кислородом или соединениями, содержащими кислород, в соотношении 10000: 1 под таким же давлением; для получения галогенидов благородных газов - их смеси с галогенами в соотношении 10000: 1 (для аргона и ксенона) или 10: 1 (для ксенона или криптона) при общем давлении 0,1 - 1 МПа.
1.1.1 Лазеры на галогенидах инертных газов
Рассмотрим наиболее интересный класс эксимерных лазеров, в которых атом инертного газа в возбужденном состоянии соединяется с атомом галогена, что приводит к образованию эксиплекса галогенидов инертных газов. В качестве конкретных примеров можно указать ArF (λ = 193 нм), KrF (λ = 248 нм), XeCl (λ = 309 нм), XeF (λ = 351 нм), которые генерируют все в УФ диапазоне. То, почему галогениды инертных газов легко образуются в возбужденном состоянии, становится ясным, если учесть, что в возбужденном состоянии атомы инертных газов становятся химически сходными с атомами щелочных металлов, которые легко вступают в реакцию с галогенами. Эта аналогия указывает также на то, что в возбужденном состоянии связь имеет ионный характер: в процессе образования связи возбужденный электрон переходит от атома инертного газа к атому галогена. Поэтому подобное связанное состояние также называют состоянием с переносом заряда.
В лазерах на галогенидах инертных газов существенное влияние на состояние плазмы оказывают процессы фотопоглощения. К ним относится фотодиссоциация исходного галогена, из которого образуется галогенид инертного газа F2 + hν → 2F; фотораспад образованного в плазме отрицательного иона F - + hν → F + e- ; фотоионизация возбужденных атомов и молекул инертного газа Ar* + hν → Ar+ + e- ; фотодиссоциация димеров ионов инертного газа Ar2 + + hν → Ar+ + Ar. А также поглощение самими молекулами галогенидов инертных газов.
Фотопоглощение в активной среде лазеров на галогенидах инертных газов можно разделить на линейчатое и широкополосное. Линейчатое поглощение возникает на связанно-связанных переходах, присутствующих в лазерной смеси примесей атомарных и молекулярных газов, а также свободных атомов и радикалов, образующихся под действием разряда либо при разложении примесных молекул, либо за счет эрозии электронов. Показано, что линейчатое поглощение в некоторых случаях может довольно существенно искажать спектр генерации, однако, как правило, не приводит к заметному снижению ее энергии. Широкополосное поглощение обусловлено, главным образом, связанно-свободными переходами, происходящими в процессах типа фотодиссоциации, фотоотлипания и фотоионизации.
Эксимерные лазеры на галогенидах инертных газов обычно накачиваются электрическим разрядом.
Эффективная накачка эксимерных лазеров, т.е. создание разряда оптимального с точки зрения вклада энергии в активную среду, еще не гарантирует получения высоких генерационных характеристик лазера. Не менее важно организовать извлечение из активной среды запасенной в ней световой энергии.
Это приобретает особое значение для лазеров на галогенидах инертных газов, так как их существенным отличием от большинства типов газовых лазеров оказывается наличие ненасыщающегося (линейного) фотопоглощения в активной среде. Потери на фотопоглощение, даже при отсутствии данных по измеренному поглощению слабого сигнала
, могут быть оценены следующим образом.
При измеренных для данного эксимерного лазера коэффициенте усиления слабого сигнала
и интенсивности насыщения рабочего перехода
предельная, в пренебрежении всеми потерями, интенсивность, снимаемая с единицы апертуры активной среды, составит
. Сравнение
с экспериментально измеряемой интенсивностью на выходе позволяет оценить долю энергии, теряемую на фотопоглощение. Такое сравнение правомерно при невысоких сосредоточенных потерях, т.е. потерях на оптических окнах и зеркалах, что обычно имеет место.
1.1.2 Лазеры на окислах инертных газов
Лазеры на окислах инертных газов могут быть использованы при необходимости получения импульсов с длительностью порядка наносекунды и меньше и энергией несколько килоджоулей. Это связано с тем, что сечение вынужденного излучения генерирующего перехода в таких системах удовлетворяет необходимым требованиям. С одной стороны оно должно быть достаточно малым, чтобы паразитные потери не истощали инверсию населенностей, и в то же время для эффективного извлечения запасенной энергии это сечение должно быть достаточно большим, чтобы насыщение происходило при величинах потока, не достигающих порога разрушения оптических материалов. Учитывая все эти требования, можно заключить, что сечение вынужденного излучения должно быть около
см2
.
Во всех эксимерных системах типа "инертный газ + элемент VI группы", за исключением случая XeO, переходы являются в основном свободно-свободными лишь с небольшим вкладом связанно-свободных эксимерных переходов.
В случае XeO характер взаимодействия следующий. Благодаря эффектам перекрывания взаимодействие между атомами с заполненной и незаполненной оболочками является главным образом отталкивательным. Силы притяжения возникают по двум причинам: во-первых, за счет дисперсионного и электростатического взаимодействия и, во-вторых, за счет переноса заряда, возникающего вследствие взаимодействия ионных и ковалентных конфигураций. Роль переноса заряда возрастает, если потенциал ионизации инертного газа уменьшается.
Излучательные переходы между синглетными валентными состояниями происходят исключительно вследствие столкновений. Взаимодействие с переносом заряда является преобладающим в переходах на более коротких расстояниях между атомами. С увеличением межатомных расстояний более важную роль начинают играть силы электростатического взаимодействия.
Что касается методов накачки, то кислород (или другие доноры элементов VI группы) в смеси с инертными газами целесообразно подвергнуть действию электронного пучка, чтобы воспользоваться передачей энергии за счет столкновений.
1.1.3 Лазеры на эксимерных молекулах чистых инертных газов
Обычно эксимерные лазеры на инертных газах работают при относительно высоких давлениях (более двух атмосфер), а источником возбуждения являются пучки электронов сравнительно высокой энергии и плотности (~1 МэВ, сотни А·см-2 ). При таких условиях концентрация электронов в образующейся плазме довольно высока (более 1014 см-3 ).
Механизм селективной накачки эксимерных уровней можно упрощенно рассматривать как последовательность столкновений с обменом энергией. Электроны высокой энергии ионизируют или возбуждают основной газ в результате реакций типа e - + Ar → Ar+ + 2e- ; e - + Ar → Ar* + e. Все примеры, приводимые для аргона, справедливы также для ксенона и криптона. В зависимости от используемого газа вторичные электроны имеют среднюю энергию в диапазоне 5 - 7 эВ.
При высоких давлениях, характерных для рассматриваемых лазеров, трехчастичная ассоциация по схеме Ar+ + 2Ar → Ar2 + + Ar протекает достаточно быстро. Затем в процессе диссоциации образуются нейтральные возбужденные диссоциирующие молекулы e - + Ar2 + → Ar2 → Ar** + Ar. Процессы трехчастичной ассоциации, имеющие большую скорость при высоких давлениях, приводят затем к образованию связанных молекулярных уровней Ar** + 2Ar → Ar2 * + Ar. Самые низкие возбужденные состояния молекул не пересекаются отталкивательными кривыми, и поэтому молекулы в таких состояниях не диссоциируют. При высоких давлениях процессы, описанные выше, протекают быстрее радиационного распада, так что эта цепочка процессов позволяет получить высокую плотность инверсии населенностей.
1.1.4 Лазеры на двухатомных галогенах
Между лазерами на гомоядерных молекулах галогенов и лазерами на эксимерных соединениях атома инертного газа и атома галогена имеется значительное сходство. Однако, они относятся к разным типам устройств.
Лазеры на двухатомных галогенах, так же как лазеры на моногалогенидах инертных газов и лазеры на галогенидах ртути, генерируют на переходах между верхним состоянием ионного типа и нижним ковалентным состоянием. Таким образом, и характеристики этих лазеров должны быть аналогичными. Нижние состояния моногалогенидов инертных газов (за исключением XeF) являются отталкивательными, что облегчает получение инверсии населенностей. Однако гомоядерные молекулы галогенов имеют тенденцию к переходам на высокие колебательные уровни связанных нижних электронных состояний. Поэтому в них инверсия определяется быстрой колебательной и электронной релаксацией.
Основные кинетические процессы, протекающие в лазерах на галогенидах, представлены на рисунке 3.
Лазерная накачка электронным пучком или разрядом способна быстро и эффективно создавать первичные состояния во всем объеме газа. В реакциях с передачей энергии от примеси галогену образуются возбужденные атомы галогенов X* . Возможной реакцией, в которой создаются другие первичные состояния, является реакция с одновременным образованием отрицательных ионов X - ( за счет диссоциативного прилипания электронов низкой энергии) и галогенсодержащих положительных ионов X+ или RX+ . Реакции ион-ионной нейтрализации (процесс 1) могут затем произвести возбужденные состояния гомоядерных галогенов. Возбужденные нейтральные атомы могут образовывать молекулы галогенов путем гарпунных реакций (процесс 2).

Рисунок 3. Схема основных кинетических процессов, связанных с возникновением генерации в двухатомных галогенах
При высоком давлении газа в рабочем объеме быстрая электронная и колебательная релаксация приводит к заселению наинизших уровней ионных термов. Чтобы эти процессы оказались эффективными, молекула не должна иметь отталкивательных потенциальных кривых, соответствующих атомам в основных состояниях и пересекающих потенциальные кривые связанных верхних состояний. Дезактивация верхних уровней происходит за счет излучения (процесс 4) и тушения (процесс 5), первый из которых является желательным, а второй - нежелательным процессом. Из спектроскопических измерений следует, что излучательные процессы заканчиваются на высоких колебательных уровнях нижней потенциальной кривой, которая не представляет собой основное состояние. Последующие столкновения в газе способствуют быстрой колебательной релаксации или даже диссоциации нижнего уровня, поддерживая таким образом инверсию населенностей. К заселению верхнего лазерного уровня могут приводить несколько различных процессов. Нижний уровень не обязательно является самым низким энергетическим состоянием молекулы.
На рисунке 4 приведены спектры испускания галогенов.



Рисунок 4. Спектры испускания галогенов
В случае йода спектр был снят за 1, 3 и 5 импульсов, а в случае брома - за 1, 5 и 10 импульсов. Длинноволновая часть импульсов характеризуется большим количеством подавленных импульсов.
1.1.5 Лазеры на парах металлов
Эксимерные молекулы с атомами металлов характеризуются несколькими важными свойствами. Во-первых, их эксимерные полосы располагаются на крыльях линий паров металлов; следовательно, наиболее интересные полосы, соответствующие переходам из основного состояния в первое возбужденное, обычно находятся в видимой или ближних УФ и ИК областях спектра. Во-вторых, многие из возбужденных состояний AB* , определяющие эти полосы, являются слабосвязанными. Для того, чтобы иметь соответствующее давление паров металлов, требуемое для получения достаточного коэффициента усиления, необходимы повышенные температуры (за исключением случая Hg). При этом возникает сложная техническая проблема, связанная с химическим взаимодействием с материалами окон и прокладок. И, наконец, энергия атомов металлов в наинизшем возбужденном состоянии, как правило, составляет менее половины энергии ионизации. Это свойство имеет важные следствия для электронных столкновительных сечений, которыми определяется КПД потенциальных электроионизационных и электроразрядных лазеров высокой мощности.
Наличие слабой связи у многих эксимеров с участием атомов металлов сильно отражается на их оптических свойствах, когда они используются как лазерная среда. Это приводит к низкому показателю усиления в расчете на возбужденный атом металла; однородному уширению эксимерной полосы; быстрым переходам между возбужденными атомами A* и соответствующими эксимерными молекулами AB* ; а также к необходимости повышать плотность инертного газа и к довольно строгим требованиям, накладываемым на степень возбуждения атомов металлов. Также наличие слабой связи позволяет получать (благодаря низкому показателю усиления и однородному уширению) высокие уровни мощности, а также большие энергии в импульсе, чему способствует отвод тепла инертным газом, находящимся при высоком давлении.
1.1.6 Охлаждение, вентиляция и очистка рабочего газа
В эксимерных лазерах, работающих при, примерно, 2% -ном соотношении входной электрической и выходной оптической энергий, избыток энергии должен эффективно выводиться как избыток тепла. Как во всех охлаждающих системах газовых лазеров, плохой теплообмен между рабочим газом и теплообменником становится причиной появления проблем. Обычно активная среда содержится в алюминиевом резервуаре определенного объема под давлением. Встроенный вентилятор создает мощную циркуляцию рабочего газа, что позволяет сохранять активную среду хорошо перемешанной и обновляемой в области генерации и получать высокую скорость прохождения газа через фильтр и теплообменник. Последний, обычно использующий в качестве охлаждающей среды воду, для обеспечения высокой температурной стабильности (особенно в режиме частых повторений) должен иметь определенную зону контакта со средой. На рисунке 5 схематично представлен резонатор эксимерного лазера.

Рисунок 5. Резонатор эксимерного лазера.
На рисунке 6 приведен пример кюветы с коронной предионизацией (см. ниже) и системой охлаждения.

Рисунок 6: A - коронный разряд, B - электроды, C - кювета, D - вентилятор, E - электростатический фильтр, F - теплообменник
1.2 Накачка
Для накачки лазеров на основе эксимеров имеется несколько методов, общим требованием к которым является обеспечение большого удельного энерговклада в активную рабочую среду. К числу этих методов относятся: возбуждение пучков высокоэнергетических электронов (электронное возбуждение), возбуждение электрическим разрядом, поддерживаемым электронным пучком (электроразрядные лазеры с электронной предионизацией), возбуждение быстрым поперечным разрядом, оптическое возбуждение (излучение взрывающихся проволочек).
1.2.1 Накачка электронным пучком
При электронном возбуждении пучок высокоэнергетических электронов обладает энергией от 300 кэВ до 1 МэВ и выше. Формирование электронного пучка производится отдельной электронной пушкой, а сам пучок вводится в активный объем лазера, заполненный газовой смесью, через тонкий слой фольги, разделяющий вакуумный объем электронной пушки и рабочий объем лазера, давление в котором обычно превышает атмосферное. Длительность импульсов возбуждения обычно составляет несколько десятков наносекунд, а плотность тока электронного пучка от нескольких десятков до нескольких сотен ампер на квадратный сантиметр. При данном методе возбуждения удалось обеспечить генерацию на большинстве из перечисленных выше активных сред: KrF* , ArF* , XeCl* , XeF* .

Рисунок 7.Накачка электронным пучком.
Наилучшие результаты достигнуты на фторидах криптона и аргона (KrF и ArF), удельный энергосъем при использовании которых достигает 3 - 30 Дж/л, а рабочий объем возбуждения несколько десятков литров. Энергия импульса излучения при объеме рабочей среды 36 л равна 100 Дж при КПД 1,5% (КПД это отношение энергии излучения к поглощенной энергии электронного пучка). Для оценки полного КПД необходимо учесть КПД преобразования энергии первичного источника питания в энергию электронного возбуждающего пучка, в оптимальных условиях достигающих 50%.
Создана лазерная установка с рабочим объемом 40 см3 (камера длиной 20 см и диаметром 2 см), на которой получены импульсы излучения с энергией 7 мДж. Возбуждение осуществляется электронным пучком 250 - 300 кэВ и током до 5 кА. В качестве рабочей лазерной среды используется смесь газов Ar, Xe, SF6 в соотношении 75: 1: 0,1 при давлении 0,71 МПа.
Способ возбуждения электронным пучком имеет ряд достоинств, к которым следует отнести: возможность возбуждения высоколежащих уровней атомов (т.е. получения излучения в УФ и видимом диапазонах длин волн); возможность возбуждения газов при высоком давлении и больших объемах, что обеспечивает поучение больших энергий излучения; возможность работы при частотах следования импульсов до 100 и более Гц и, следовательно, получение больших средних мощностей излучения. Но этому способу возбуждения присущи и некоторые недостатки, к числу которых относятся трудности введения энергии электронного пучка в газ с достаточно равномерным ее распределением по объему, сложность электронных ускорителей, существенно повышающих стоимость лазера.
Что касается перспектив дальнейшего совершенствования эксимерных лазеров с электронным возбуждением, то можно отметить следующее. Для рассматриваемого типа лазеров наиболее перспективной с точки зрения эффективности представляется квазимолекула KrF* . Теоретический КПД лазера на основе этой активной среды (по отношению к энергии, вложенной в активную среду) составляет 22%, а при возбуждении электрическим разрядом и пучком 35%. Во всех экспериментальных установках, на которых была получена генерация, параметры были неоптимальными, в связи с чем полный КПД таких лазеров не превышал 1 - 2%. Поэтом вопрос с реально достижимых КПД остается открытым и требует дальнейших исследований; энергосъем этих лазеров предполагается увеличить до 40 - 50 Дж/л.
1.2.2 Накачка электрическим разрядом
При использовании электроразрядного способа накачки эксимерных лазеров необходимо обеспечить предионизацию активной среды.
Предионизация используется для предотвращения дугового разряда и обычно достигается излучающими в УФ диапазоне искровыми разрядами, пробегающими параллельно оси трубки. Поскольку глубина проникновения УФ излучения в газовую смесь ограничена, для больших установок иногда применяют предионизацию рентгеновским излучением.
Рисунок 8. Накачка электрическим разрядом.
К другим методам предионизации относятся использование импульсных источников электронного пучка (предионизация электронным пучком) и ионизация благодаря коронному эффекту (коронная предионизация). Как только произошла ионизация во всем объеме лазерного разряда, закорачивается быстродействующий вентиль и через электроды разряда проскакивает главный разрядный импульс. Поскольку время жизни верхнего уровня сравнительно невелико, а также чтобы избежать образования дуги, необходимо обеспечить быструю накачку (длительность импульса накачки 10 - 20 нс). В случае, представленном на рисунке 1, это достигается тем, что уменьшают по возможности индуктивность контура и используют безындукционные конденсаторы.
Эффект предионизации тлеющим разрядом помогает получить равномерные и согласованные профили разрядов с минимумом ответвлений от основного разряда. Параметры, влияющие на предионизацию, такие как порог предионизации, начальная плотность электронов и согласованность предионизации, сильно зависят от составляющих резонатора: профиль электрода, тип электрода, давление в газовой среде, длительность предионизации, потери электронов при предионизации, временная задержка между предионизацией и основным разрядом, время нарастания основного импульса; а так же от основных геометрических параметров резонатора.
Два наиболее распространенных метода предионизации:
для эксимерных лазеров малых и средних размеров - предионизация электродами, расположенными вблизи от главных электродов;
для больших систем - предионизация рентгеновскими источниками.

Рисунок 9. Сектор кюветы, отвечающий за предионизацию газа.
Предионизационные электроды, показанные на рисунке 7, генерируют искровой разряд приблизительно за 10 нс до основного разряда. Искры инициируют УФ излучение, достаточное для предионизации рабочего газа с начальной плотностью около 108 электронов/см3 между электродами. В последних моделях коммерческих эксимерных лазеров были введены новые методы предионизации, например, Поверхностный разряд в диэлектрике - CreepingDischargeonDielectricSurface (CDDS-preionizerforXeCl-lasers) или Поверхностная коронная предионизация - SurfaceCoronaPreionization (SCP). Особенно в качестве источника предионизации зарекомендовал себя метод SCP, позволяющий создавать уровни с одинаковой плотностью электронов с гораздо большей равномерностью, достигаемой значительным снижением полной энергии.
1.2.2.1 Разрядные цепи
Пороговые значения инверсной населенности в эксимерных лазерах обычно высокие в связи с короткой длиной волны и значительной шириной линии основных переходов. Типичное значение концентрации активных носителей заряда на верхнем рабочем уровне составляет 1014 - 1015 см3 . Такие концентрации могут быть получены только при очень высокой плотности энергии накачки (10-2 Дж/см3 ). Для этого необходимы специальные электроразрядные цепи. Обычно они состоят из емкостей и индуктивностей и в их состав входят специальные высоковольтные ключи.

Рисунок 10. Разрядная цепь эксимерного лазера с тиратроном
В современных эксимерных лазерах высоковольтные ключи заменили тиратроны. Конструкции стандартного и усовершенствованного тиратронов приведены на рисунке 11.

Рисунок 11. Конструкции стандартного и усовершенствованного тиратронов
Колба тиратрона заполнена H2 . Давление водорода в колбе определяет запирающее напряжение. В режиме отсутствия проводимости решетка, расположенная между электродами, смещается в отрицательном направлении для удержания свободных электронов, смещаемых при нагреве ближе к катоду. При подаче положительного импульса электроны начинают проходить через решетку, и тиратрон переходит в режим проводимости.
Дополнительные решетки в усовершенствованной модели тиратрона позволяют получить более высокое запирающее напряжение, более надежное включение и более равномерный разряд.
Часто для снижения нагрузки на тиратроне в цепь вводят магнитный ключ (рис.12).

Рисунок 12. Цепь с магнитным переключателем.
Еще одно решение при проектировании разрядных цепей заключается в использовании твердотельных полупроводниковых ключей. Последние разработки в этой области нацелены на адаптацию твердотельных ключей к работе с высокими напряжениями.
1.2.2.2 Накачка быстрым поперечным электрическим разрядом
Более простым в технической реализации является электроразрядный способ накачки эксимерных лазеров. В этом случае для получения возбужденных квазимолекул применяется быстрый поперечный разряд. Такой термин применим потому, что длительность импульса возбуждения выбирается меньше времени установления стримерного разряда и накачка активной среды аналогична накачке пучком электронов, но вводимым в рабочий объем не извне, а образующимся в нем самом. При электроразрядном способе накачки объем активной области не превышает десятых долей литра, так как разряд с большой плотностью тока при сохранении высокой электронной температуры тока реализовать в больших объемах не удается.
В качестве генераторов импульсов накачки в рассматриваемых лазерах используются формирующие линии, заряжаемые до напряжения в несколько десятков кВ и разряжающиеся через активную лазерную среду за времена от нескольких единиц до нескольких десятков нс.
В некоторых конструкциях предусматривается введение дополнительного третьего электрода, устанавливаемого вблизи от анода. Возникающий в этом случае между третьим электродом и анодом микроразряд играет роль предионизатора основного электронного разряда.
Преимуществом такой схемы накачки является простота конструкции по сравнению со схемами электронного возбуждения, поскольку в данном случае отпадает необходимость в дополнительной электронной пушке (электронном ускорителе) и разделительной фольги со всеми вытекающими из-за ее применения трудностями. Кроме того, в подобных лазерах можно получить значительно более высокие частоты следования (до 1000 Гц), чем в схемах с электронным возбуждением. За рубежом в экспериментальных образцах на основе KrF* получены импульсы излучения с энергией до 1,75 Дж с КПД около 0,3% при длительности импульса 20 нс в рабочем объеме 0,1 л, а на основе XeF* - импульсы с энергией 17 мДж при КПД 1% и длительности 3 нс. При этом удельный энергосъем достигает 5 - 6 Дж/л. Предполагается, что дальнейшее совершенствование лазерного модуля с активным объемом 0,1 л позволит работать на частотах следования до 1000 Гц со средней мощностью излучения до 10 Вт при КПД, равном нескольким процентам. Кроме того, полагается, что более детальные исследования позволят увеличить удельную энергию в несколько раз, более совершенные конструкции будут рассчитаны на большие активные рабочие объемы, что позволит создать эксимерные электроразрядные лазеры со средней мощностью излучения в сто или несколько сотен Вт. Уже сейчас на отдельных образцах удается получить среднюю мощность излучения 200 Вт.
2.2.3 Накачка электрическим разрядом с предионизацией электронным пучком
Перспективным способом накачки эксимерных лазеров является также комбинированный способ - электрическим разрядом и электронным пучком, используемым для предионизации.
При накачке активной среды электрическим разрядом с предионизацией последнего электронным пучком требуется два источника накачки - электронный ускоритель и источник импульсного высоковольтного напряжения. Но большая доля энергии накачки в этом случае приходится на электрический разряд, что позволяет использовать для предионизации относительно маломощные электронные ускорители.
Комбинированный способ накачки позволяет сохранить преимущества возбуждения электронным пучком и создать потенциальные возможности для повышения эффективности лазера за счет более полного использования энергии электрического разряда. Предполагается, что оптимизация параметров блока электрической накачки и увеличение длительности импульсов пучка электров позволит существенно увеличить энергию излучения и КПД лазера. Возможность существенного увеличения активного объема лазера с таким методом накачки до нескольких кубических метров позволяет надеяться на получение средней мощности излучения выше 1 кВт при работе в частотном режиме.
Что касается работы в режиме редко повторяющихся вспышек, то в настоящее время получен удельный энергосъем, достигающий 5 Дж/л. Ожидается, что при оптимизации параметров лазера это значение будет увеличено в несколько раз.

Рисунок 13. Лазер с разрядом, стабилизированным электронным пучком
Учитывая опыт разработки СО2 - лазеров, можно полагать, что активный объем рабочей лазерной камеры будет увеличен до 100 л.
Поэтому вполне реальным представляется создание эксимерных лазеров с энергией излучения в импульсе порядка 1 кДж и более.
1.2.2.4 Накачка двойным электрическим разрядом
Возбуждение двойным электрическим разрядом также является довольно перспективным методом для эксимерных лазеров. В этом случае первый импульс выполняет роль предионизатора активной лазерной среды, а второй - рабочего. Интервал между этими импульсами выбирается меньше постоянной времени релаксации предварительно ионизированных частиц, что существенно облегчает условия для возникновения основного электрического разряда и позволяет повысить КПД системы.
Наилучшие результаты в настоящее время получены на квазимолекулах хлорида ксенона. При длине резонатора 100 см и импульсном рабочем напряжении 40 - 50 кВ получена средняя мощность излучения 1 Вт при частоте следования импульсов 100 Гц. Полный КПД лазера составляет 0,1% при работе в частотном режиме и 0,5% при работе в режиме одиночных импульсов. Импульсная мощность излучен6ия в рассматриваемом случае составляет несколько сотен киловатт при длительности импульса 1 - 20 нс. Состав рабочей смеси меняется от импульса к импульсу, что приводит к необходимости его смены в промежутках между последующими импульсами.
Сравнительные характеристики различных типов эксимерных лазеров показаны в таблице 2.
Таблица 2
| Параметр | Способ накачки | ||||
| Электронный пучок | Электрический разряд с предионизацией электронным пучком | Быстрый электрический разряд | Двойной электрический разряд | ||
| Энергия импульса, Дж | 100 | 10 | 10-2 | 10-2 | |
| Удельный энергосъем, Дж/л | 3 - 30 | 3 - 5 | 1 | 0,1 - 1 | |
| Максимальная частота повторения, Гц | 100 | 100 200 | 1000 | 200 | |
| КПД,% | 1 - 2 | 0,3 | 0,25 | 0,1 - 0,5 | |
| Средняя мощность, Вт | 10 | 2 - 10 | 0,1 - 2 | 1 | |
Наилучшие результаты при возбуждении электронным пучком получены на молекулах KrF* и ArF* , при возбуждении электрическим разрядом с предионизацией и при быстром поперечном электрическом разряде - на молекулах XeF* , а при возбуждении двойным электрическим разрядом - на молекулах XeCl* .
1.3 Параметры выходного излучения
Сильное влияние на параметры выходного излучения лазера оказывает резонатор. В качестве резонаторов в эксимерных лазерах используются неустойчивые системы. Это обусловлено следующими факторами. Основным преимуществом неустойчивых резонаторов является возможность высокоэффективной селекции поперечных мод при больших числах Френеля, что практически соответствует большому поперечному сечению активной среды, обеспечивающей большую выходную мощность. В неустойчивых резонаторах распределение поля поперечных мод таково, что потери высших поперечных мод на излучение существенно превышают потери основной моды, что обеспечивает высокоэффективную селекцию. Поэтому в лазерах с неустойчивыми резонаторами обычно генерируется только низший поперечный тип колебаний. Существенно, что в отличие от высокодобротных резонаторов распределение поля основной моды в неустойчивых резонаторах практически не имеет спада по мере удаления от оси. Это доказывает, что все участки поперечного сечения активной среды зондируются полем достаточно высокоэффективно, что, в свою очередь, обеспечивает высокий КПД.
Но стоит отметить, что, несмотря на вышеперечисленные достоинства неустойчивых резонаторов, потери на излучение в них очень велики, что позволяет их использовать на практике лишь в мощных лазерах, каковыми и являются рассматриваемые в данной работе эксимерные лазеры.
Еще одним преимуществом неустойчивых резонаторов (например, по сравнению с плоским резонатором) является сужение пучка вблизи точки схода лучей, что позволяет использовать дополнительные оптические элементы с небольшим поперечным сечением внутри резонатора. Но, если сужение пучка проявляется в полной мере, то возможно возникновение пробоя или повреждение оптических элементов.
Устойчивые и плоские типы резонаторов также используются в эксимерных лазерах. Генераторы с плоскими или устойчивыми резонаторам позволяют получать расходимость, близкую к дифракционной, при размещении внутри резонатора одной или двух диафрагм малого диаметра.
Выходное излучение характеризуется также специфическим (близким к прямоугольному в поперечном сечении) распределением поля. В одном продольном сечении пучок излучения эксимерного лазера имеет вид гауссоиды, а в другом - супергауссоиды.

Рисунок 14. Профиль пучка эксимерного лазера.
Также пучок лазерного излучения характеризуется стабильностью направленности и, следовательно, положения пятна на плоскости анализа (рис.15).

Рисунок 15. Стабильность направленности и позиции пучка KrF лазера
Эксимерные лазеры имеют множество применений. Среди них множество областей (плоскопанельные экраны, полупроводниковые элементы электронных приборов и др.), которые требуют максимальной однородности и высокого качества пучка. Поэтому необходимо следить не только за стабильностью таких параметров их излучения, как направленность, расходимость, но и за его однородностью. Для этого в системы, в которые входит эксимерный лазер, вводят элемент, называемый гомогенизатором (рис.16).

Рисунок 16. Достижение однородности пучка KrF лазера
Для решения некоторых задач при помощи эксимерных лазеров также необходимо использовать элементы, позволяющие придать пучку определенную форму (например, квадрат, круг или кольцо).
Спектр излучения эксимерных лазеров часто является сравнительно широкополосным. Это позволяет использовать эти генераторы для накачки других лазеров (часто лазеров на красителях), а также организовать перестройку длины волны излучения лазера. Сужение спектра осуществляется, как правило, с помощью дисперсионного резонатора. Для эксимерных лазеров на XeF существует другая возможность управления спектральным составом. В нем относительная спектральная мощность на различных колебательных переходах, зависящая от инверсии населенностей на соответствующем переходе, может целенаправленно изменяться в зависимости от давления и температуры среды, а также уровня накачки. Возможно создание перестраиваемых эксимерных лазеров.
Для сужения полосы излучения эксимерного генератора может быть использован один или несколько резонаторов Фабри-Перо или дифракционная решетка.
2. Коммерческие модели эксимерных лазеров
2.1 Лазер LPXPro 305 фирмы LAMBDA PHYSIK (Германия)
Разработчиками немецкой фирмы LambdaPhysik был создан эксимерный лазер для получения и обработки тонких пленок.
Эксимерные лазеры для высокоточной абляции материала должны отвечать высоким требованиям к их эффективности и параметрам выходного излучения. Для получения качественных результатов и повышения эффективности лазер должен иметь стабильные выходные характеристики.
Для увеличения времени самостоятельной работы лазера были модифицированы механизмы введения газа в кювету и его очищения от примесей. Вредные примеси эффективно устраняются с помощью элементов электростатического фильтра. При помощи сложной системы очистки рабочего газа, установленной в лазере LPXPro 305, энергетическая характеристика работы газа остается практически неизменной после долгой работы даже при энергии импульса, составляющей несколько тысяч мДж.

Рисунок 2.
Для повышения качества результатов абляции резонатор лазера был сделан внешним. В результате удалось избежать влияния на резонатор таких факторов, как перепады давления, возникающие при накачке кюветы рабочим газом, или колебания температуры, вызывающие механические напряжения. Так как кювета герметизирована выходными окнами, не относящимися к резонатору, сам резонатор не подвержен влиянию перепадов давления и температуры, происходящих в кювете. Для обеспечения наибольшего времени эксплуатации оптики и покрытия внешний резонатор не взаимодействует с инертным газом.
Рисунок 3.
Эксимерный лазер обладает стандартной прямоугольной в поперечном сечении конфигурацией пучка (вдоль короткой оси распределение гауссово, вдоль длинной - с плоской вершиной).

Рисунок 4.
Не маловажен такой параметр лазерного излучения как отклонение пучка. График, приведенный на рисунке 5, построен по экспериментальным данным.

Рисунок 5.
Основные параметры описанного лазера приведены в таблице 3.
Таблица 3
| Активная среда | ArF |
| Длина волны | 193 нм |
| Резонатор | плоско-параллельный |
| Максимальная энергия импульса | 650 мДж |
| Средняя мощность | 45 Вт |
| Максимальная частота повторений | 200 Гц |
| Стабильность энергии | σ< 2% |
| Размер пучка | 25×11 мм2 |
| Расходимость | 3×1 мрад2 |
| Стабильность направленности пучка | < 100 мрад |
| Длительность импульса | 13 нс |
Габариты лазерного излучателя: 1966×800×474 мм; масса: 300 кг.
Габариты блока накачки: 230×240×530 мм; масса: 23 кг.
Габариты энергоблока: 460×185×750 мм; масса: 50 кг.
2.2 Лазер eX5 ФИРМЫ gam lasers, inc (сша)
EX5 - компактный эксимерный лазер с воздушным охлаждением, коронной предионизацией. Блоки лазерного излучателя и накачки объединены в одном корпусе, что способствует снижению габаритов системы.


Рисунок.
Существует две версии этого лазера: EX5 и EX5 TypeII. Их основные параметры приведены в таблицах 3 и 3.
Таблица 3 (EX5)
| Активная среда | F2 | ArF | KrF | XeCl | XeF |
| Длина волны | 157 нм | 193 нм | 248 нм | 308 нм | 351 нм |
| Максимальная энергия импульса | 2 мДж | 12 мДж | 20 мДж | 8 мДж | 6 мДж |
| Пиковая мощность | 280 кВт | 1200 кВт | 2000 кВт | 800 кВт | 600 кВт |
| Средняя мощность (250 Гц) | 0,4 Вт | 2,4 Вт | 4 Вт | 1,4 Вт | 1,3 Вт |
| Средняя мощность (500 Гц) | 0,65 Вт | 4 Вт | 8 Вт | 2,5 Вт | 2,4 Вт |
| Максимальная частота повторений | 250/500 Гц | ||||
| Стабильность энергии | σ < 3% | ||||
| Размер пучка | 6×3 мм2 | ||||
| Расходимость | 0,5×1 мрад2 | ||||
| Длительность импульса | 10 нс | ||||
| Охлаждение | Воздушное охлаждение | ||||
| Эксплуатационный срок кюветы | 2 млрд. импульсов | ||||
Таблица 3 (EX5 TypeII)
| Активная среда | ArF | KrF | XeCl | XeF | |||
| Длина волны | 193 нм | 248 нм | 308 нм | 351 нм | |||
| Максимальная энергия импульса | 5 мДж | 8 мДж | 4 мДж | 2 мДж | |||
| Средняя мощность | 3 Вт | 5 Вт | 3 Вт | 1 Вт | |||
| Максимальная частота повторений | 1000 Гц | ||||||
| Стабильность энергии | σ < 2% | ||||||
| Размер пучка | 6×3 мм2 | ||||||
| Расходимость | 0,7×1,4 мрад2 | ||||||
| Длительность импульса | 9 нс | ||||||
| Охлаждение | Принудительное воздушное охлаждение | ||||||
| Эксплуатационный срок оптики | 500 млн. импульсов | 1 млрд. импульсов | 150 млн. импульсов | 150 млн. импульсов | |||
Габариты: 470×250×250 мм; масса: 15 кг.
Оптические компоненты лазера изготовлены из материалов, позволяющих работать на различных длинах волн (157 - 351 нм) без потери качества получаемого излучения. Для получения генерации на другой длине волны нужно просто заменить рабочий газ в камере. Для снижения уровня шумов в лазере предусмотрена встроенная клетка Фарадея. Вторая версия позволяет получить более высокую выходную мощность при увеличении на 50% времени жизни рабочего газа.

Рисунок.

Рисунок.
Излучение лазера обладает высокой стабильностью энергии от импульса к импульсу (0,77% для KrF).


Рисунок.
Управление лазером осуществляется с помощью программного обеспечения, разработанного для операционных систем Windows.
Данный лазер может быть использован:
как источник ионизации;
в компактных оптикоэлектромеханических системах;
для микрообработки;
в лазерной рефрактивной хирургии.
3. Применения
3.1 Фотолизное возбуждение лазерных сред
Фотолизное возбуждение лазерной среды представляет собой случай, когда используется эксимерное излучение в некогерентном виде. В этом случае источник фотонов, возбуждаемый каким-либо способом (например, накачка электронным пучком, разрядом или их комбинацией) посылает излучение через окно в поглощающую активную среду.
Фотолизное возбуждение используется по трем основным причинам. Во-первых, такое возбуждение происходит без участия электронов. С помощью эксимерных систем может быть осуществлена как оптическая накачка (твердотельные и жидкостные лазеры), так и лазерная накачка (лазеры на красителях и мощных твердотельных систем).
Во-вторых, оптическая накачка может иметь преимущества в случае накопительных лазеров. Импульс излучения может быть сжат со времени накачки до времени высвечивания. Один из самых эффективных процессов получения возбужденных частиц - фотодиссоциация.
В-третьих, оптическая накачка эксимерными лазерами может быть отрегулирована по частоте. Это существенно для резонансно-накачиваемых твердотельных систем.
С помощью таких методов как оптическая накачка другой лазерной среды, вынужденное комбинационное рассеяние и параметрическое преобразование можно значительно расширить возможности перестройки частоты излучения эксимерных лазеров (например, на галогенидах инертных газов). Для оптической накачки обычно используют лазеры на красителях, поскольку они могут непрерывно перестраиваться в широком диапазоне длин волн. Стоит отметить, что при этом краситель подвергается значительно меньшему разрушению, чем при накачке импульсной лампой.
Вынужденное комбинационное рассеяние применялось для получения сдвига волны в ArF-, KrF - и XeF-лазерах. Использование околорезонансного комбинационного рассеяния в парах бария позволило перестроить длину волны XeF-лазера с 351 нм на 585 нм, причем КПД преобразования составил 80%. Благодаря тому, что исходное лазерное излучение не находится в резонансе с рассеивающей средой, усиление на смещенной вследствие комбинационного рассеяния длине волны почти такое же, как и усиление на исходной длине волны, в результате чего наблюдаются последовательно сдвинутые линии излучения. Таким образом, любая комбинация лазера и рассеивающей среды позволяет получить несколько линий излучения.
3.2 Генерация коротковолнового излучения
Рентгеновские когерентные источники нашли применение в диагностике очень плотной плазмы, микропроцессах, биохимических и генетических исследованиях. Также источники этого типа применяются в рентгеновской голографии, производстве компонент для микроэлектроники.
3.2.1 Фотолитография
Фотолитография - метод нанесения рисунка на тонкую пленку материала. Минимальный размер детали рисунка определяется дифракционным пределом.
В процессе фотолитографии на толстую подложку (часто кремниевую) наносится тонкий слой материала, из которого нужно сформировать рисунок. На этот слой наносится фоторезист (материал, изменяющий свои фотохимические свойства при облучении светом). Далее производится экспонирование через фотошаблон (пластину, прозрачную для видимого света, с рисунком, выполненным непрозрачным красителем). Облученные участки фоторезиста изменяют свою растворимость, и их можно удалить с помощью травления. Освобожденные от фоторезиста участки тоже удаляются. В завершении производится удаление остатков фоторезиста.

Рисунок 7. Микроструктура, полученная фотолитографическим методом
В случае получения недостаточно малых размеров создаваемых лазером пятен возможно применение технологии иммерсионной фотолитографии. Основным отличием технологии является тот факт, что между проекционной системой и кремниевой пластиной помещается слой жидкости с коэффициентом преломления большим, нежели у газовой смеси. Зачастую для этих целей используется обыкновенная очищенная вода.
3.2.2 Лазерная хирургия. Пример пересчета параметров лазерного излучения
Лазерная коррекция зрения на сегодняшний день является самым прогрессивным направлением современной офтальмологии. С помощью новейших методик возможно эффективное лечение близорукости, дальнозоркости и астигматизма, при этом результаты лечения остаются неизменными в течение всей жизни.
В 80-х гг. ХХ века появилась новая технология - эксимер-лазерная коррекция зрения. Лазерный луч, управляемый специальным компьютером по заданной программе перепрофилирования роговицы, устраняет дефекты оптической линзы глаза и выравнивает ее поверхность таким образом, чтобы лучи света, проецируемые хрусталиком, четко фокусировались на сетчатке.
Сегодня широко применяются два метода лазерной коррекции зрения: PRK (ФРК - фоторефрактивная кератэктомия) и LASIK (лазерный кератомилез).
Метод ФРК является первой попыткой использовать эксимерный лазер для медицинских целей. Суть данного метода восстановления зрения заключается в устранении неровностей роговицы путем выпаривания ее тканей. Этот метод является бесконтактным. Однако у метода ФРК есть некоторые недостатки: микроэрозия, возникающая в ходе операции, заживает в течение двух дней. При этом пациент испытывает болевые ощущения.
Метод LASIK - это сочетание микрохирургического воздействия и эксимер-лазерной технологии. Он позволяет сохранить анатомию слоев роговицы, что значительно снижает неприятные ощущения у пациента во время реабилитации после операции. В ходе лазерной коррекции зрения методом LASIK используется автоматический микрохирургический прибор (микрокератом), который срезает верхний слой роговицы, открывая лазерному лучу доступ к более глубоким слоям глазной линзы. Проводится выравнивание роговицы - микро-испарение ткани с внутренних слоёв роговицы на заданное количество микрон для придания нужной кривизны в центральной зоне без повышения температуры ткани, после чего отделенный слой возвращается на место и фиксируется за счет коллагена, вещества роговицы.
Обеспечение перестройки длины волны лазерного излучения. Сужение полосы пропускания резонатора на основной длине волны.
Благодаря короткой длине волны излучения, высокой мощности импульса, высокой стабильности мощности и направленности пучка лазеры серии LPX немецкой фирмы LambdaPhysikпозволяют проводить очень точную обработку материалов (с разрешением до 2 мкм).
При создании установок для микролитографии с использованием линзовых оптических систем объектива и осветителя приходится использовать эксимерный лазер с очень высокой монохроматичностью. Причиной этого являются трудности, возникающие при ахроматизации кварцевой оптики. Отклонение длины волны лазерного излучения (если основная длина волны
нм) составляет около
нм!
Предлагается дополнить резонатор существующего эксимерного лазера диспергирующим элементом с целью обеспечения перестройки длины волны и сужения диапазона
.
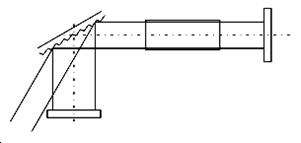
Предлагается использовать схему дисперсионного резонатора с двумя концевыми зеркалами и отражательной дифракционной решеткой между ними (рис.5).

Рисунок 5.
Дисперсия такого резонатора становится максимальной при скользящем угле падения света на решетку
. В этом случае избирательность резонатора значительно выше, чем с автоколлимационной решеткой (угол падения равен углу дифракции).
Отсутствие неселективного (нулевой порядок) обратного отражения в активную среду резко снижает интенсивность сверхлюминесцентного фона в выходном узкополосном излучении.
Принципиальный недостаток резонаторов "со скользящим падением" - низкая дифракционная эффективность. Поэтому они используются в основном в лазерах с высоким усилением (в том числе эксимерных).
Для такого резонатора полоса пропускания по уровню 0.5 составляет
, (1)
где
- радиус пучка до дифракционной решетки (в активной среде);
- угол дифракции;
- коэффициент телескопичности.
Длину волны перестройки резонатора такого типа наиболее удобно менять вращением ближайшего к решетке концевого зеркала. При скользящем падении излучения на решетку перестройка производится по закону
(2)
и коэффициент перестройки
, (3)
- период решетки, мм.
Основное уравнение дифракционной решетки выглядит следующим образом
. (4)
При скользящем падении и угле дифракции близком к нулю период решетки примерно равен длине волны падающего излучения.
Итак, используем резонатор "со скользящим падением" (
), где дифракционная решетка работает во втором порядке (65 - 70%), а нулевой порядок используется для вывода излучения из резонатора.
Рассчитываем решетку на основную длину волны
нм, работающую во втором порядке, с периодом
нм.
Из основного уравнения дифракционной решетки видно, что
и, следовательно, угол дифракции
. При таком соотношении углов
и
телескопичность
.
Оценим полосу пропускания резонатора с такой решеткой:
пм
и
пм.
Отметим, что для дальнейшего сужения полосы возможно применение эталона Фабри-Перо, полоса пропускания которого
, где
- резкость идеального эталона Фабри-Перо,
- коэффициент отражения зеркал эталона. Но любое дополнительное средство сужения полосы пропускания будет приводить к снижению КПД системы. Итак, можно сделать выводы.
Литература
1. Звелто О. "Принципы лазеров". М.: Мир, 1990г.
2. п. р. Роудза Ч. "Эксимерные лазеры". М.: Мир, 1981г.
3. Ed. Dr. D. Basting “Excimer Laser Technology: Laser Sources, Optics, Systems and Applications"
4. Баранов В.Ю., Борисов В.М., Степанов Ю.Ю. "Электроразрядные эксимерные лазеры на галогенидах инертных газов". М.: Энергоатомиздат, 1988г.
5. Рябов С.Г. "Приборы квантовой электроники".
6. Пахомов И.И., Рожков О.В., Рождествин В.Н. "Оптико-электронные квантовые приборы". М:. Радио и связь, 1982г.
7. Официальный сайт фирмы LambdaPhysik: www.lambdaphysik.com
8. Ralph F. Delmdahl “Pulsed Excimer Lasers For Thin Film Applications”, Lambda Physik AG
9. Официальный сайт фирмы GamLaserswww.gamlasers.com
10. Соскин М.С. "Перестраиваемые лазеры"
Похожие рефераты:
Передающее устройство одноволоконной оптической сети
Лазеры и их применение в медицине
СОИ (стратегическая оборонная инициатива США)
Проект высокоскоростной локальной вычислительной сети предприятия
Лазерное излучение в биологических исследованиях
Передающее устройство одноволоконной оптической сети
Контроль качества сгорания топлива в методических нагревательных печах
Анализ погрешностей волоконно-оптического гироскопа