| Похожие рефераты | Скачать .docx |
Реферат: Фотоэффект
Содержание
Введение
1. История открытия фотоэффекта
2. Законы Столетова
3. Уравнение Эйнштейна
4. Внутренний фотоэффект
5. Применение явления фотоэффекта
Список литературы
Введение
Многочисленные оптические явления непротиворечиво объясняли, исходя из представлений о волновой природе света. Однако в конце XIX – начале XX в. были открыты и изучены такие явления, как фотоэффект, рентгеновское излучение, эффект Комптона, излучение атомов и молекул, тепловое излучение и другие, объяснение которых с волновой точки зрения оказалось невозможным. Объяснение новых экспериментальных фактов было получено на основе корпускулярных представлений о природе света. Возникла парадоксальная ситуация, связанная с применением совершенно противоположных физических моделей волны и частицы для объяснения оптических явлений. В одних явлениях свет проявлял волновые свойства, в других – корпускулярные.
Среди разнообразных явлений, в которых проявляется воздействие света на вещество, важное место занимает фотоэлектрический эффект , то есть испускание электронов веществом под действием света. Анализ этого явления привел к представлению о световых квантах и сыграл чрезвычайно важную роль в развитии современных теоретических представлений. Вместе с тем фотоэлектрический эффект используется в фотоэлементах получивших исключительно широкое применение в разнообразнейших областях науки и техники и обещающих еще более богатые перспективы. [1]1. История открытия фотоэффекта
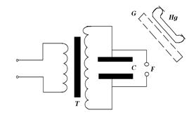
Открытие фотоэффекта следует отнести к 1887 г., когда Герц обнаружил, что освещение ультрафиолетовым светом электродов искрового промежутка, находящегося под напряжением, облегчает проскакивание искры между ними.
Явление, обнаруженное Герцом, можно наблюдать на следующем легко осуществимом опыте (рис. 1).

Величина искрового промежутка F подбирается таким образом, что в схеме, состоящей из трансформатора Т и конденсатора С, искра проскакивает с трудом (один – два раза в минуту). Если осветить электроды F, сделанные из чистого цинка, светом ртутной лампы Hg, то разряд конденсатора значительно облегчается: искра начинает проскакивать Рис. 1. Схема опыта Герца.
Фотоэффект был объяснён в 1905 году Альбертом Эйнштейном (за что в 1921 году он получил Нобелевскую премию) на основе гипотезы Макса Планка о квантовой природе света. В работе Эйнштейна содержалась важная новая гипотеза – если Планк предположил, что свет излучается только квантованными порциями, то Эйнштейн уже считал, что свет и существует только в виде квантовых порций. Из представления о свете как о частицах (фотонах) немедленно следует формула Эйнштейна для фотоэффекта:
,
где
– кинетическая энергия вылетающего электрона,
– работа выхода для данного вещества,
– частота падающего света,
– постоянная Планка, которая оказалась ровно той же, что и в формуле Планка для излучения абсолютно чёрного тела.
Из этой формулы следует существование красной границы фотоэффекта. Таким образом, исследования фотоэффекта были одними из самых первых квантово – механических исследований.
2. Законы Столетова
Впервые (1888–1890), подробно анализируя явление фотоэффекта, русский физик А.Г. Столетов получил принципиально важные результаты. В отличие от предыдущих исследователей он брал малую разность потенциалов между электродами. Схема опыта Столетова представлена на рис. 2.

Два электрода (один в виде сетки, другой – плоский), находящиеся в вакууме, присоединены к батарее. Включенный в цепь амперметр служит для измерения возникающей силы тока. Облучая катод светом различных длин волн, Столетов пришел к выводу, что наиболее эффективное действие оказывают ультрафиолетовые лучи. Кроме того, было установлено, что сила тока, возникающего под действием света, прямо пропорциональна его интенсивности.
В 1898 г. Ленард и Томсон методом отклонения зарядов в электрическом и магнитном полях определили удельный заряд заряженных частиц, вырываемых Рис. 2. Схема опыта Столетова.
светом из катода, и получили выражение
СГСЕ ед. з/г, совпадающее с известным удельным зарядом электрона. Отсюда следовало, что под действием света происходит вырывание электронов из вещества катода.
Путем обобщения полученных результатов были установлены следующие закономерности фотоэффекта:
1. При неизменном спектральном составе света сила фототока насыщения прямо пропорциональна падающему на катод световому потоку.
2. Начальная кинетическая энергия вырванных светом электронов линейно растет с ростом частоты света и не зависит от его интенсивности.
3.
Фотоэффект не возникает, если частота света меньше некоторой характерной для каждого металла величины
, называемой красной границей.
Первую закономерность фотоэффекта, а также возникновение самого фотоэффекта легко объяснить, исходя из законов классической физики. Действительно, световое поле, воздействуя на электроны внутри металла, возбуждает их колебания. Амплитуда вынужденных колебаний может достичь такого значения, при котором электроны покидают металл; тогда и наблюдается фотоэффект.
Ввиду того, что согласно классической теории интенсивность света прямо пропорциональна квадрату электрического вектора, число вырванных электронов растет с увеличением интенсивности света.
Вторая и третья закономерности фотоэффекта законами классической физики не объясняются.

Изучая зависимость фототока (рис. 3), возникающего при облучении металла потоком монохроматического света, от разности потенциалов между электродами (такая зависимость обычно называется вольт – амперной характеристикой фототока), установили, что: 1) фототок возникает не только при
, но и при
; 2) фототок отличен от нуля до строго определенного для данного металла отрицательного значения разности потенциалов
, так называемого задерживающего потенциала; 3) величина запирающего (задерживающего) потенциала не зависит от интенсивности падающего света; 4) фототок растет с уменьшением абсолютного значения задерживающего потенциала; 5) величина фототока растет с ростом
и с какого-то определенного значения
фототок (так называемый ток насыщения) становится постоянным; 6) величина тока насыщения растет с увеличением интенсивности падающего света; 7) величина задерживающего Рис. 3. Характеристика
потенциала зависит от частоты падающего света; фототока.
8) скорость вырванных под действием света электронов не зависит от интенсивности света, а зависит только от его частоты. [2]
3. Уравнение Эйнштейна
Явление фотоэффекта и все его закономерности хорошо объясняются с помощью квантовой теории света, что подтверждает квантовую природу света.
Как уже было отмечено, Эйнштейн (1905 г.), развивая квантовую теорию Планка, выдвинул идею, согласно которой не только излучение и поглощение, но и распространение света происходит порциями (квантами), энергия и импульс которых:
![]()
,
,
где
– единичный вектор, направленный по волновому вектору. Применяя к явлению фотоэффекта в металлах закон сохранения энергии, Эйнштейн предложил следующую формулу:
, (1)
где
- работа выхода электрона из металла,
– скорость фотоэлектрона. Согласно Эйнштейну, каждый квант поглощается только одним электроном, причем часть энергии падающего фотона тратится на совершение работы выхода электрона металла, оставшаяся же часть сообщает электрону кинетическую энергию
.
Как следует из (1), фотоэффект в металлах может возникнуть только при
, в противном случае энергия фотона будет недостаточной для вырывания электрона из металла. Наименьшая частота света
, под действием которого происходит фотоэффект, определяется, очевидно, из условия
,
откуда
. (2)
Частота света, определяемая условием (2), называется «красной границей» фотоэффекта. Слово «красная» не имеет никакого отношения к цвету света, при котором происходит фотоэффект. В зависимости от рода металлов «красная граница» фотоэффекта может соответствовать красному, желтому, фиолетовому, ультрафиолетовому свету и т. д.
С помощью формулы Эйнштейна можно объяснить и другие закономерности фотоэффекта.

Положим, что
, т. е. между анодом и катодом существует тормозящий потенциал. Если кинетическая энергия электронов достаточна, то они, преодолев тормозящее поле, создают фототок. В фототоке участвуют те электроны, для которых удовлетворяется условие
. Величина задерживающего потенциала определяется из условия
, (3)
где
– максимальная скорость вырванных электронов. Рис. 4.
Подставив (3) в (1), получим
,
откуда
.
Таким образом, величина задерживающего потенциала не зависит от интенсивности, а зависит только от частоты падающего света.
Работу выхода электронов из металла и постоянную Планка можно определить, построив график зависимости ![]()
от частоты падающего света (рис. 4). Как видно,
и отрезок, отсекаемый от оси потенциала, дает
.
Ввиду того, что интенсивность света прямо пропорциональна количеству фотонов, увеличение интенсивности падающего света приводит к увеличению числа вырванных электронов, т. е. к увеличению фототока.
Формула Эйнштейна для фотоэффекта в неметаллах имеет вид
.
Наличие
– работы отрыва связанного электрона от атома внутри неметаллов – объясняется тем, что в отличие от металлов, где имеются свободные электроны, в неметаллах электроны находятся в связанном с атомами состоянии. Очевидно, при падении света на неметаллы часть световой энергии тратится на фотоэффект в атоме – на отрыв электрона от атома, а оставшаяся часть тратится на работу выхода электрона и сообщение электрону кинетической энергии. [2]

Электроны проводимости не покидают самопроизвольно металл в заметном количестве. Это объясняется тем, что металл представляет для них потенциальную яму. Покинуть металл удается только тем электронам, энергия которых оказывается достаточной для преодоления потенциального барьера, имеющегося на поверхности. Силы, обуславливающие этот барьер, имеют следующее происхождение. Случайное удаление электрона от наружного слоя положительных ионов решетки приводит к возникновению в том месте, которое покинул электрон, избыточного положительного заряда. Кулоновское взаимодействие с этим зарядом заставляет электрон, скорость которого не очень велика, вернуться обратно. Таким образом, отдельные электроны все время покидают поверхность металла, удаляются от нее на несколько межатомных расстояний и затем поворачивают обратно. В результате металл оказывается окруженным тонким облаком электронов. Это облако образует совместно с наружным слоем ионов двойной электрический слой (рис. 5; кружки – ионы, черные точки – электроны). Силы, действующие на электрон в таком слое,направлены внутрь металла. Работа, совершаемая против этих сил при переводе электрона из металла наружу, идет на увеличение потенциальной энергии электрона
(рис. 5).

Таким образом, потенциальная энергия валентных электронов внутри металла меньше, чем вне металла, на величину, равную глубине потенциальной ямы
(рис. 6). Изменение энергии происходит на длине порядка нескольких межатомных расстояний, поэтому стенки ямы можно считать вертикальными.
Потенциальная энергия электрона
Рис. 6.
и потенциал
той точки, в которой находится электрон, имеют противоположные знаки. Отсюда следует, что потенциал внутри металла больше, чем потенциал в непосредственной близости к его поверхности, на величину
.
Сообщение металлу избыточного положительного заряда увеличивает потенциал как на поверхности, так и внутри металла. Потенциальная энергия электрона соответственно уменьшается (рис. 7, а).

а) б)
Рис. 7.
За начало отсчета приняты значения потенциала и потенциальной энергии на бесконечности. Сообщение отрицательного заряда понижает потенциал внутри и вне металла. Соответственно потенциальная энергия электрона возрастает (рис. 7, б).
Полная энергия электрона в металле слагается из потенциальной и кинетической энергий. При абсолютном нуле значения кинетической энергии электронов проводимости заключены в пределах от нуля до совпадающей с уровнем ферми энергии
. На рис. 8 энергетические уровни зоны проводимости вписаны в потенциальную яму (пунктиром изображены незанятые при 0К уровни). Для удаления за пределы металла разным электронам нужно сообщить не одинаковую энергию. Так, электрону, находящемуся на самом нижнем уровне зоны проводимости, необходимо сообщить энергию
; для электрона, находящегося на уровне Ферми, достаточна энергия
.
Наименьшая энергия, которую необходимо сообщить электрону для того, чтобы удалить его из твердого или жидкого тела в вакуум, называется работой выхода. Работа выхода электрона из металла определяется выражением
. (4)

Мы получили это выражение в предположении, что температура металла равна 0К. При других температурах работу выхода также определяют как разность глубины потенциальной ямы и уровня Ферми, т. е. распространяют определение (4) на любые температуры. Это же определение применяется и для полупроводников.
Уровень Ферми зависит от температуры. Кроме того, из – за обусловленного тепловым расширением изменения средних расстояний между атомами слегка изменяется глубина потенциальной ямы
. Это приводит к тому, что работа выхода немного зависит от температуры.
Работа выхода очень чувствительна к состоянию поверхности металла, в частности к ее чистоте. Подобрав надлежащим образом Рис. 8.
покрытие поверхности, можно сильно снизить работу выхода. Так, например, нанесение на поверхность вольфрама слоя окисла щелочноземельного металла (Ca, Sr, Ba) снижает работу выхода с 4,5 эВ (для чистого W) до 1,5 – 2 эВ. [4]
4. Внутренний фотоэффект
Выше мы говорили об освобождении электронов из освещаемой поверхности вещества и переходе их в другую среду, в частности в вакуум. Такое испускание электронов называют фотоэлектронной эмиссией , а само явление внешним фотоэффектом. Наряду с ним известен также и широко используется в практических целях так называемый внутренний фотоэффект , при котором, в отличие от внешнего, оптически возбужденные электроны остаются внутри освещенного тела, не нарушая нейтральности последнего. При этом в веществе изменяется концентрация носителей заряда или их подвижность, что приводит к изменению электрических свойств вещества под действием падающего на него света. Внутренний фотоэффект присущ только полупроводникам и диэлектрикам. Его можно обнаружить, в частности, по изменению проводимости однородных полупроводников при их освещении. На основе этого явления – фотопроводимости создана и постоянно совершенствуется большая группа приемников света – фоторезисторов . Для них используется в основном селенид и сульфид кадмия.
В неоднородных полупроводниках наряду с изменением проводимости наблюдается также образование разности потенциалов (фото – э.д.с.). Это явление (фотогальванический эффект) обусловлено тем, что в силу однородностей проводимости полупроводников происходит пространственное разделение внутри объема проводника оптически возбужденных электронов, несущих отрицательный заряд и микрозон (дырок), возникающих в непосредственной близости от атомов, от которых оторвались электроны, и подобно частицам несущих положительный элементарный заряд. Электроны и дырки концентрируются на разных концах полупроводника, вследствие чего и возникает электродвижущая сила, благодаря которой и вырабатывается без приложения внешней э.д.с. электрический ток в нагрузке, подключенной параллельно освещенному полупроводнику. Таким образом достигается прямое преобразование световой энергии в электрическую. Именно по этой причине фотогальванические приемники света и используются не только для регистрации световых сигналов, Нои в электрических цепях как источники электрической энергии.
Основные промышленно выпускаемые типы таких приемников работают на основе селена и сернистого серебра. Весьма распространен также кремний, германий и ряд соединений – GaAs, InSb, CdTeи другие. Фотогальванические элементы, используемые для преобразования солнечной энергии в электрическую, приобрели особенно широкое применение в космических исследованиях как источники бортового питания. Они обладают относительно высоким коэффициентом полезного действия (до 20 %), весьма удобны в условиях автономного полета космического корабля. В современных солнечных элементах в зависимости от полупроводникового материала фото – э.д.с. достигает 1 – 2 В, съем тока с
– нескольких десятков миллиампер, а на 1 кг массы выходная мощность достигает сотен ватт. [1]
5. Применение явления фотоэффекта
В настоящее время на основе внешнего и внутреннего фотоэффекта строится бесчисленное множество приемников излучения, преобразующих световой сигнал в электрический и объединенных общим названием – фотоэлементы . Они находят весьма широкое применение в технике и в научных исследованиях. Самые разные объективные оптические измерения немыслимы в наше время без применения того или иного типа фотоэлементов. Современная фотометрия, спектрометрия и спектрофотометрия в широчайшей области спектра, спектральный анализ вещества, объективное измерение весьма слабых световых потоков, наблюдаемых, например, при изучении спектров комбинационного рассеяния света, в астрофизике, биологии и т. д. трудно представить себе без применение фотоэлементов; регистрация инфракрасных спектров часто осуществляется специальными фотоэлементами для длинноволновой области спектра. Необычайно широко используются фотоэлементы в технике: контроль и управление производственными процессами, разнообразные системы связи от передачи изображения и телевидения до оптической связи на лазерах и космической техники представляют собой далеко не полный перечень разнообразнейших технических вопросов в современной промышленности и связи.
История создания фотоэлементов насчитывает уже более 130 лет. Первый фотоэлемент, основанный на внутреннем фотоэффекте и использующий явление фотопроводимости, был построен в 1875 г., первый же вакуумный фотоэлемент, основанный на внешнем фотоэффекте, был построен в 1889 г. Промышленное производство вакуумных фотоэлементов в России было организовано П.В. Тимофеевым в 1930 г. Интересно отметить, что фотоэлементы, использующие внешний фотоэффект, раньше приобрели широкое развитие, хотя внутренний фотоэффект был открыт по крайней мере на 50 лет раньше. Только в сороковых годах нашего столетия благодаря бурному развитию физики полупроводников и детальному изучению внутреннего фотоэффекта началось создание новых фотоэлементов на основе полупроводниковых материалов.
Огромное разнообразие задач, решаемых с помощью фотоэлементов, вызвало к жизни чрезвычайно большое разнообразие типов фотоэлементов с различными техническими характеристиками. Выбор оптимального типа фотоэлементов для решения каждой конкретной задачи основывается на знании эти характеристик. Для фотоэлементов с внешним фотоэффектом (вакуумных фотоэлементов) необходимо знание следующих характеристик: рабочая область спектра; относительная характеристика спектральной чувствительности (она строится как зависимость от длины волны падающего света безразмерной величины отношения спектральной чувствительности при монохроматическом освещении к чувствительности в максимуме этой характеристики); интегральная чувствительность (она определяется при освещении фотоэлемента стандартным источником света); величина квантового выхода (процентное отношение числа эмитированных фотоэлектронов к числу падающих на фотокатод фотонов); инерционность (для вакуумных фотоэлементов она определяется обычно через время пролета электронов от фотокатода к аноду). Важным параметром служит также темновой ток фотоэлемента, который складывается из термоэмиссии фотокатода при комнатной температуре и тока утечки.
В зависимости от материала фотокатода и материала колбы фотоэлемента их можно применять в диапазоне 0,2 – 1,1 мкм. Их интегральная чувствительность лежит в пределах 20 – 100 мкА на 1 лм светового потока, а термоэмиссия – в пределах
. Очень важным достоинством вакуумных фотоэлементов является их высокое постоянство и линейность связи светового потока с фототоком. Поэтому они длительное время преимущественно использовались в объективной фотометрии, спектрометрии, спектрофотометрии и спектральном анализе в видимой ультрафиолетовой областях спектра. Главным недостатком вакуумных фотоэлементов при световых измерениях следует считать малость электрических сигналов, вырабатываемых этими приемниками света. Последний недостаток полностью устраняется в фотоэлектронных умножителях (ФЭУ), представляющих как бы развитие фотоэлементов. ФЭУ были впервые построены в 1934 г.

Рис. 9. Схема устройства фотоумножителя
Принцип действия ФЭУ можно проследить на рис 9. Фотоэлектроны, эмитируемые с фотокатода ФК под действием электрического поля, ускоряются и попадают на первый промежуточный электрод
. Падая на него, фотоэлектроны вызывают эмиссию вторичных электронов, причем в определенных условиях эта вторичнаяэмиссия может в несколько раз превышать первоначальный поток фотоэлектронов. Конфигурация электродов такова, что большинство фотоэлектронов попадает на электрод
, а большинство вторичных электронов попадает на следующий электрод
, где процесс умножения повторяется, и т. д. Вторичные электроны с последнего из электродов (динодов), а их бывает до 10 – 15, собираются на анод. Общий коэффициент усиления таких систем достигает
, а интегральная чувствительность ФЭУ достигает тысяч ампер на люмен. Это, конечно, не означает возможности получения больших токов, а свидетельствует лишь о возможности измерения малых световых потоков.
Очевидно, те же технические характеристики, что и у вакуумных фотоэлементов, а также коэффициент усиления и его зависимость от питающего напряжения полностью характеризуют ФЭУ. В настоящее время последние повсеместно вытесняют вакуумные фотоэлементы. К недостаткам ФЭУ следует отнести необходимость применения источника высоковольтного и стабилизированного питания, несколько худшую стабильность чувствительности и большие шумы. Однако путем применения охлаждения фотокатодов и измерения не выходного тока, а числа импульсов, из которых каждый соответствует одному фотоэлектрону, эти недостатки могут быть в значительной степени подавлены.
Большим преимуществом всех приемников света, использующих внешний фотоэффект, является то обстоятельство, что их фототок не изменяется при изменении нагрузки. Это означает, что при малых значениях фототока можно применить практически сколь угодно большое сопротивление нагрузки и тем самым достичь значения падения напряжения на нем, достаточно удобного для регистрации и усиления. С другой стороны, заменяя сопротивление на емкость, можно, измеряя напряжение на этой емкости, получать величину, пропорциональную усредненной величине светового потока за заданный интервал времени. Последнее чрезвычайно важно в тех случаях, когда необходимо измерить световой поток от нестабильного света – ситуация, типичная для спектроаналитических измерений.
Спектрометрия в инфракрасной области спектра не может производиться с помощью вакуумных фотоэлементов и ФЭУ по той причине, что современные фотокатоды имеют красную границу не выше 1100 нм. Однако уже сейчас известны материалы, позволяющие продвинуться до 3 – 4 мкм. Поэтому в инфракрасной области применяются фотоэлементы, работающие на основе внутреннего фотоэффекта. Сюда следует отнести неохлаждаемые фоторезисторы на основе InSb, PbSeи PbS, которые могут быть использованы до 6 мкм, и глубоко охлаждаемые фоторезисторы на основе германия, легированного золотом, цинком, медью и другими металлами, пригодные до 40 мкм.
Для измерения в более длинноволновой области спектра применяются тепловые приемники; последние либо изменяют свою проводимость, либо на них создается э.д.с. при нагревании падающим излучением.
Полупроводниковые фотоэлементы характеризуются не строгой линейностью зависимости величины электрического сигнала от освещения. Этот недостаток, равно как и непостоянство чувствительности фотоэлемента, нестабильность его питания, а также дрейф усиления измерительной схемы, устраняется применением двухлучевой системы, в которой измеряется не абсолютное значение интенсивности света, прошедшего через поглощающее вещество, а ее отношение к интенсивности света просвечивающего источника.
В чрезвычайно большом числе случаев применения фотоэлементов не предъявляются строгие требования к их измерительным свойствам. Поэтому фотоэлементы, работающие на основе внутреннего фотоэффекта, в силу их малых габаритов, низких напряжений питания и ряда конструктивных достоинств повсеместно применяются для автоматических систем, систем управления, преобразования солнечной энергии, контроля производства и т. д., за исключением тех случаев, когда относительно невысокие инерционные свойства этих фотоэлементов препятствуют их использованию. [1]
Список литературы
1. Ландсберг Г.С. Оптика. Учеб. пособие. – 5-е изд. испр. – М.: Наука. Главная редакция физико – математической литературы, 1976. – 928 с.
2. Годжаев Н.М. Оптика. Учеб. пособие для вузов. – М.: «Высшая школа», 1977. – 432 с.
3. Шпольский Э.В. Атомная физика. Том 1: Введение в атомную физику. Учебное пособие. – 7-е изд. исправл. – М.: Наука. Главная редакция физико-математической литературы, 1984. – 552 с.
4. Савельев И.В. Курс общей физики: Учеб. пособие. В 3-х т. Т. 3. Квантовая оптика. Атомная физика. Физика твердого тела. Физика атомного ядра и элементарных частиц. – 3-е изд. испр. – М.: Наука, Гл. ред. физ. – мат. лит., 1987. – 320 с.
5. Гершензон Е.М., Малов Н.Н., Мансуров А.Н. Оптика и атомная физика: Учеб. пособие для студ. высш. пед. учеб. заведений. – М.: Издательский центр «Академия», 2000. – 408 с.
Похожие рефераты:
Вступительные вопросы по физике для заочников, поступающих в СГАУ.
Фотоэлектронная эмиссия. Эффективные фотокатоды
Физические основы работы лазерного принтера
Лекции по твердотельной электронике
Давно ли люди гибнут за металл и как именно закалялась сталь
История и развитие сварочного производства
Владимира Иннокентьевича Бабецкого (3 семестр)
Ответы к экзаменационным билетам по физике 11 класс (ответы к 29 билетам)