| Похожие рефераты | Скачать .docx |
Дипломная работа: Электрооборудование сталкивателя
Содержание
Введение
1. Общая часть
1.1 Назначение механизма, характеристики условий окружающей среды
1.2 Техническая характеристика механизма
1.3 Кинематическая схема механизма
1.4 Требования, предъявляемые к электроприводу и качеству электрической энергии
1.5 Выбор системы электропривода, род тока и напряжения, способ регулирования скорости и торможения
2. Специальная часть
2.1 Расчет статических нагрузок и мощности электродвигателя
2.2 Выбор типа электродвигателя и проверка его по нагреву и перегрузочной способности
2.3 Выбор источника питания
2.4 Выбор элементов схемы управления электроприводом
2.5 Выбор аппаратов защиты
2.6 Выбор проводов, кабелей (троллеев) и проверка по потере напряжения
2.7 Расчет токов КЗ, проверка аппаратов защиты на чувствительность
2.8 Описание работы схемы управления электроприводом
2.9 Решение по заземлению электрооборудования механизма
2.10 Решения по монтажу электроаппаратуры и электропроводки
2.11 Ведомость основного электрооборудования
3. Организация производства
3.1 Организация ремонта электрооборудования
3.2 Соединение и оконцевание жил проводов, кабелей сваркой
3.3 Техника безопасности при выполнении работ
3.4 Сдача-приемка в эксплуатацию
4. Экономическая часть
4.1 Сметно-финансовый расчет стоимости электрооборудования и материалов
4.2 Расчет амортизационных отчислений
4.3 Расчет численности и фонда заработной платы электриков
4.4 Составление сметы затрат на содержание электрооборудования
5. Безопасность жизнедеятельности
5.1 Безопасность при эксплуатации электрооборудования механизма
5.2 Меры безопасности при монтаже
5.3 Пожарная безопасность
5.4 Мероприятия по охране окружающей среды
5.5 Гражданская оборона
Литература
Введение
Волгоградский металлургический завод "Красный Октябрь" является одним из крупнейших производителей качественного металлопроката, специальных марок стали для предприятий автомобилестроения и авиационной промышленности, химического, нефтяного и энергетического машиностроения, нефтегазодобывающей промышленности в нашей стране.
История предприятия насчитывает более ста лет. Основан завод 30 апреля 1897 года французским акционерным "Уральско-Волжским металлургическим обществом" на окраине г. Царицына, а в ноябре 1898 г. была пущена первая мартеновская печь. За годы первых пятилеток (1929-1940 гг.) завод был коренным образом реконструирован и превращён в важнейшую базу производства высококачественной стали для предприятий автомобильной, тракторной промышленности, с.-х. машиностроения. Наращивая темпы производства и осваивая новые марки, к 1941 г. предприятие становится единственным металлургическим гигантом Юга страны, производящим 9 % всей выпускаемой стали для оборонной промышленности СССР. Во время Великой Отечественной войны 1941-45 гг. завод был полностью разрушен, но уже через 5 мес. после окончания Сталинградской битвы 31 июля 1943 завод выдал первую плавку стали, а 31 августа - первую тонну проката. К 1949 г. был превзойден довоенный уровень производства.
Свою действующую структуру и окончательную специализацию завод получил уже в послевоенное время. Основные производственные мощности были запущены в 50 - 70-е годы. К 1986 году завод располагал производственным потенциалом, способным обеспечить в год выплавку стали в объеме 2 млн. тонн, проката - 1,5 млн. тонн. Его доля составляла 12 % производства качественных сталей в стране, в т. ч. Нержавеющих сталей - 14 %, стали электрошлакового переплава - 52 %. В сортаменте завода насчитывалось 500 марок стали, выпускаемой по стандартам РФ, Германии, США, Японии.
Завод награждён орденом Ленина (1939) и орденом Трудового Красного Знамени (1948), в 1985
ВМЗ "Красный Октябрь" был удостоен ордена "Отечественной войны" I степени за заслуги в обеспечении Советской Армии и военно-морского флота в годы II-ой Мировой войны.
После акционирования предприятие пережило несколько собственников, в том числе - арбитражное управление в 1998 - 1999 годах. 16 октября 2003 года компания "Midland Resources Holding LTD" в партнерстве с предпринимателем Игорем Шамисом приобрела 100 процентов акций группы компаний "Волгоградский металлургический завод "Красный Октябрь".
Сегодня на ВМЗ "Красный Октябрь" идет широкомасштабная реконструкция, цель которой - расширение производства легированных сталей специального назначения. В сентябре 2003 года завод выплавлял 37 582 тонн стали, а в сентябре 2004 эта цифра составила 55558 тонн. "Красный Октябрь" уверенно движется к достижению объема производства жидкой стали 1 млн. тонн в год. Количество марок выпускаемой стали увеличилось практически в два раза, в настоящее время оно составляет более 450 видов. Численность работающих на предприятии превышает 8 тыс. человек. На заводе разработана и планомерно осуществляется долгосрочная экологическая программа. Предприятие обладает полноценной развивающейся инфраструктурой, которая позволяет продекларировать, что на сегодняшний день "Красный Октябрь" является одним из мощнейших предприятий в России по производству сталей специального назначения.
1. Общая часть
1.1 Назначение механизма, характеристики условий окружающей среды
Сталкиватели предназначены для сталкивания блюмсов, слябов или других заготовок имеющих большой вес, на транспортеры или укладчики, на рольганги перед печами, холодильники и т.д.
Характеристика условий окружающей среды: по электробезопасности цех находится в среде с повышенной опасностью, это характеризуется наличием высокой температуры в помещении (около 35° С); по окружающей среде – пыльное; по взрывоопасности – категории В-Ia; по пожарной опасности – категории П-II
1.2 Техническая характеристика механизма
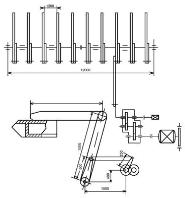
Механизм сталкивателя имеет следующие технические данные: длина хода штанг Н = 1,5 м; количество штанг m = 10; расстояние между штангами – 1,2 м; вес штанги Gш = 50 кг; передаточное число редуктора i = 40,2; общий к.п.д. η=0,85; коэффициент трения скольжения штанги сталкивателя о направляющие настила μ = 0,5; радиус кривошипа редуктора r = 0,25 м; радиус кривошипа качающегося рычага R = 0,5 м; длина качающегося рычага l = 1,5 м; длина шатуна lш = 1,5 м. Работа привода сталкивателя осуществляется от асинхронного двигателя с фазным ротором, закрытого исполнения и независимым охлаждением типа МТНБ12-10У1, Uн =380 В, Рн = 60 кВт, nн = 575 об/мин.
1.3 Кинематическая схема механизма

Рисунок 1.3.1 Кинематическая схема механизма
1.4 Требования, предъявляемые к электроприводу и качеству электрической энергии
Электропривод сталкивателя должен обладать:
· Широким диапазоном регулирования скорости;
· Ступенчатым регулированием скорости;
· Возможность частых включений;
· Возможностью частого реверса;
· Работа в кратковременном режиме;
Качество электроэнергии определяется совокупностью ее характеристик, при которых электроприемники могут нормально работать и выполнять заложенные в них функции. Качество электроэнергии в значительной степени влияет на технологический процесс производства и качество выпускаемой продукции, на расход электроэнергии, на все параметры СЭС промышленного предприятия и зависит не только от питающей электросети но и от промышленных потребителей, так как на современных предприятиях имеется большое количество электроустановок снижающих качество электроэнергии.
Из всех показателей качества электроэнергии наибольшее влияние на режим работы электроприемников и электрооборудования сетей оказывают отклонения и колебания электрической энергии. Нормы качества электроэнергии оговорены в ГОСТ 13109-87.
Отклонение напряжения у электроприемников называется алгебраическая разность между фактическим напряжением сети и номинальным напряжением электроприемника.
В таблице 1.4.1 приведены значения основных показателей качества электроэнергии
Таблица 1.4.1 Значения основных показателей качества электроэнергии (ПКЭ)
| ПКЭ | Допустимые значения ПКЭ | |
| Нормальный режим | Послеаварийный режим | |
| Отклонение напряжения в % в сетях | ||
| до 1 кВ | ± 5 | ± 10 |
| 6 – 20 кВ | – | ± 10 |
| Отклонение частоты ГЦ | ± 0,2 | ± 0,4 |
1.5 Выбор системы электропривода, род тока и напряжения, способ регулирования скорости и торможения
Выбор системы электропривода для какого-либо производственного механизма связан с обеспечением технических требований. Основными требованиями являются надежность и долговечность работы электропривода.
Электрооборудование сталкивателя требует систему электропривода со ступенчатым регулированием скорости, для чего используют асинхронный двигатель с фазным ротором, в цепь ротора которого включены ящики резисторов.
Торможение двигателя сталкивателя осуществляется двумя способами:
А) С помощью электромагнитного тормоза
Б) Динамическое торможение двигателя
Выбираем, согласно требованиям электроприемников, в силовой цепи переменный ток с трехфазным напряжением 380 В; на питание цепи управления выбран постоянный ток с напряжением 220 В.
2. Специальная часть
2.1 Расчет статических нагрузок и мощности электродвигателя
Статическая сила F, действующая на качающийся рычаг сталкивателя, создается суммарным весом штанг mGш и весом сталкиваемого слитка Gсл :
F = (0,6mGш + Gсл )∙μ
Где Gш = mш ∙ g = 50 ∙ 9,81 = 490,5 Н
Gсл = mсл ∙ g = 25000 ∙ 9,81 = 245,25 кН
F = (0,6∙10∙490,5 + 245250)∙ 0,5 = 124 кН
Усилие сталкивателя при возврате будет иметь вид:
F = 0,6mGш ∙μ
F = 0,6∙10∙490,∙ 0,5 = 1471,5 Н
Статический момент, приведенный к валу двигателя будет рассчитываться с учетом угла, под которым производится процесс сталкивания. Все углы до 180˚ свидетельствуют о движении вперед (под нагрузкой), после 180˚ наза (холостой ход), в этом случае формула будет иметь вид:
Mc = Fl ∙ (r/R) ∙ (1 / (I ∙ η)) ∙ sinα(1 – k∙cosα)
Mc = 124000 ∙ 1,5 ∙ (0,25/0,5) ∙ (1/40,2∙0,85) ∙ sinα(1 – 0,167 ∙ cosα) =
= 2790 ∙ sinα(1 – 0,167 ∙ cosα)
Mc = 1471,5 ∙ 1,5 ∙ (0,25/0,5) ∙ (1/40,2∙0,85) ∙ sinα(1 – 0,167 ∙ cosα) =
= 33,1 ∙ sinα(1 – 0,167 ∙ cosα)
В таблице 2.1.1 приведены результаты расчетов Mc для различных значений углов α.
Таблица 2.1.1 Статическая нагрузка сталкивателя
| α˚ | 0 | 30 | 60 | 90 | 120 | 150 | 180 | 210 | 240 | 270 | 300 | 330 |
| Mc | 0 | 1192 | 2224,6 | 2790 | 2630 | 1597,7 | 0 | 18,95 | 31,2 | 33,1 | 26,4 | 14,15 |
2.2 Выбор типа электродвигателя и проверка его по нагреву и перегрузочной способности
Предварительно выбираем асинхронных двигатель с фазным ротором, типа МТНБ12-10У1, Uн =380 В, Рн = 60 кВт, nн = 575 об/мин, cosφн = =0,86, ηн = 85%, Ммах = 3200 н∙м, J = 4,25 кг∙м2 , Ен = 248 В. Двигатель должен удовлетворять требованию МЭк / Мн ≤ 1
Мн = (9,55 ∙ Рн ) / nн = (9,55 ∙ 60000) / 575 = 996 н∙м
МЭ = ∑Мс / nМс = (1192 + 2224,6 + 2790 + 2630 + 1597,7 + 0 + 18,95 + 31,2 + +33,1 + 14,15 + 0) / 11 = 957 н∙м
МЭк = МЭ ∙ √ε / εк = 957 √0,208 / 0,25 = 870,8 н∙м
Где, ε – фактическая относительная продолжительности работы
εк продолжительности работы
МЭк / Мн = 870,8 / 996 = 0,87 < 1 следовательно, двигатель проходит
2.3 Выбор источника питания
Электропривод сталкивателя включает в себя двигатель с номинальным напряжением 380 В, следовательно питание силовой части электропривода должно осуществляться переменным напряжением 380 В, и частотой 50 Гц. Питание цепи управления должно осуществляться постоянным током, с напряжением 220 В. Следовательно питание сталкивателя осуществляется от трансформаторной подстанции с двумя трансформаторами ТМГ 630/0,4 , удаленной от распределительного пункта на 120 м.
2.4 Выбор элементов схемы управления электроприводом
2.4.1.Выбор резисторов
Расчет сопротивления ротора двигателя
Rр.н. = Ен / (√3 ∙ Iн )
Где, Ен – ЭДС двигателя
Iн – номинальный ток
Расчет номинального тока
Iн = Iр = Рн / (√3 ∙ Uн ∙ cosφн ∙ ηн ) = 60000/ (1,73 ∙ 380 ∙ 0,86 ∙ 0,85) = 125 А
Rр . н . = 248/ (1,73 ∙ 125) = 1,15 Ом
По таблице 5-4 [1,с355], считая сопротивление отнесенным к Rр.н. = 1,15 Ом и токи к Iр = 125 А производим расчет ящиков сопротивления производим в таблице 2.4.1 – выбор резисторов
Таблица 2.4.1 Выбор резисторов
| Ступень | Относит. Соп-е | Расчет. Соп-е | Относит. ток | Iр | Тип ящика | Подобранное соп | Подобранный ток |
| rпост | 0,05*1,15 | 0,06 | 1 | 1*125=125 | 50174 | 1*0,0575 | 128 |
| r3 | 0,1*1,15 | 0,115 | 0,6 | 06*125=75 | 50173 | 3*0,04 | 152 |
| r2 | 0,2*1,15 | 0,23 | 0,47 | 0,47*125=58,75 | 50161 | 3*0,077 | 107 |
| r1 | 0,34*1,15 | 0,4 | 0,29 | 0,29*125=39,25 | 50162 | 4*0,102 | 91 |
| rпр | 1,26*1,15 | 1,5 | 0,22 | 0,22*125=27,5 | 50167 | 3*0,45 + +1*0,16 | 46 |
Проверка на погрешность
∆ = (∑Rрас – ∑Rпод ) / ∑Rрас ∙ 100% = ((0,06+0,115+0,23+,4+1,5) – (0,057+3∙0,04+3∙0,077+4∙0,102+3∙0,45+0,26) / (0,06+0,115+0,23+,4+1,5) ∙ 100% = (2,305 – 2,326) / 2,305 ∙ 100% = 0,9% < 10%
Резисторы подобраны верно
2.4.2 Выбор контакторов
Условие выбора Iн.к. ≥ Iн. ; Uн.к ≥ Uн
КМ1: контактор в цепи динамического торможения
Iн = 125 А; Uн = 220 В
Выбираем контактор КТПБ022Б Uн.к. = 220 В = Uн
Iн.к. = 160 А > Iн
КМ6, КМ7: контакторы в цепи двигателя
Iн = 125 А; Uн = 380 В
Выбираем контактор КТПБ023Б Uн.к. = 380 В = Uн
Iн.к. = 160 А > Iн
2.5 Выбор аппаратов защиты
Выбор автоматических выключателей
Условие выбора Iн.а. ≥ Iн. ; Uн.а. ≥ Uн ; Iэл ≥К∙ Iкр
QF1: автоматический выключатель в силовой цепи привода
Iн = 125 А; Uн = 380 В
Iкр = Iпуск = Iн. ∙ α = 125 ∙ 2,5 = 312 А
Где α – коэффициент пуска для АД с ФР = 2,5
Iэл = К∙ Iкр = 1,25 ∙ 312 = 390 А
Где К – коэффициент запаса
Выбираем автоматический выключатель типа А3716 ФУЗ
Uн.а. = 380 В = Uн ;
Iн.а. = 160 А ≥ Iн ;
Iэл = 600 А ≥ К∙ Iкр = 390А
QF2: автоматический выключатель в цепи управления привода
Iн = 16 А; Uн = 220 В
Выбираем автоматический выключатель типа АП505 – 2МУЗ
Uн.а. = 220 В = Uн ;
Iн.а. = 63 А ≥ Iн ;
Iэл = 5 Iн.а
2.6 Выбор проводов, кабелей (троллеев) и проверка по потере напряжения
Кабели выбираются по длительно допустимому току.
Условие выбора кабелей: Iдл.доп. ≥ Iдл.доп.рас
Выбираем кабель от двигателя до автомата типа АВВГ 3*95 Iдл.доп = 170 А.
Длительно допустимый ток зависит от поправочных коэффициентов на температуру.
Iдл . доп . рас = Iн . / (Кн 1 ∙ Кн 2 ) = 125/ 1*0,87 = 143,7 А
∆U1 = 0,46 ∙ Iр. ∙ l1 ∙ (r0 ∙ cosφ + x0 ∙ sinφ) = 0,46 ∙ 125 ∙ 0,015 ∙ ( 0,32 ∙ 0,86 + 0,07∙ ∙0,51) = 0,27%
Где r0 – активное сопротивление кабеля с , рассчитывается по формуле:
1000/(32 ∙ S) = 1000/(32 ∙ 95) = 0,32 Ом
x0 – реактивное сопротивление кабеля = 0,07 Ом
l – длинна кабеля в км – 0,015 км
Кн1 и Кн2 – поправочные коэффициенты на температуру [2, c.370]
Выбираем кабель от автомата до РЩ типа АВВГ 3*95 Iдл.доп = 170 А
Iдл . доп . рас = Iн . / (Кн 1 ∙ Кн 2 ) = 125/ 1*0,87 = 143,7 А
∆U2 = 0,46 ∙ Iр. ∙ l2 ∙ (r0 ∙ cosφ + x0 ∙ sinφ) = 0,46 ∙ 125 ∙ 0,005 ∙ ( 0,32 ∙ 0,86 + 0,07 ∙ ∙ 0,51) = 0,09%
Где l2 = 5 м
Выбираем кабель от РЩ до ШР типа АВВГ 3*120 Iдл.доп = 250 А
Iдл . доп . рас = Iн . / (Кн 1 ∙ Кн 2 ) = 200/ 1*0,87 = 230 А
∆U3 = 0,46 ∙ Iр . ∙ l3 ∙ (r0 ∙ cosφ + x0 ∙ sinφ) = 0,46 ∙ 200 ∙ 0,03 ∙ ( 0,26 ∙ 0,86 + 0,07 ∙ ∙ 0,51) = 0,7%
Где Iр = 200 А
l3 = 30 м
r0 = 0,26 Ом
Выбираем кабель от ШР до РУ типа АВВГ 2(3*95) Iдл.доп = 170 * 2 = 340 А
Iдл . доп . рас = Iн . / (Кн 1 ∙ Кн 2 ) = 300/ 1,2*0,87 = 287,4 А
∆U4 = 0,46 ∙ Iр. ∙ l4 ∙ (r0 ∙ cosφ + x0 ∙ sinφ) = 0,46 ∙ 300 ∙ 0,12 ∙ ( 0,32 ∙ 0,86 + 0,07 ∙ ∙ 0,51) = 5,8 / 2 = 2,9%, так как проложены 2 параллельных кабеля
Где Iр = 300 А
L4 = 120 м
∆U = ∑∆Un =∆U1 +∆U2 +∆U3 +∆U4 = 0,27 + 0,09 + 0,7 +2,9 = 3,96% < 5%
Кабели выбраны верно.
2.7 Расчет токов КЗ, проверка аппаратов защиты на чувствительность
На рисунке 2.7.1 представлена расчетная схема тока короткого замыкания

Рисунок 2.7.1 Расчетная схема
Активное и индуктивное сопротивление трансформатора по таблице П.11 [3, с.368]. rт = 5,7 мОм; хт = 17,2 мОм
Сопротивление шин от трансформатора до РУ
rш = r0 ∙ l = 0,142 ∙ 15 = 2,12 мОм;
хш = х0 ∙ l = 0,2 ∙ 15 = 3 мОм
где, r0 и х0 по таблице П.11 [3, с.369].
Сопротивление обмоток расцепителя и контакторов автоматов по таблице П.13 [3, с.371].
На 400 А rа = 0,2 мОм; ха = 0,15 мОм
На 200 А rа = 0,4 мОм; ха = 0,3 мОм
На 160 А rа = 0,8 мОм; ха = 0,6 мОм
Сопротивление кабеля АВВГ 2(3*95); l = 120 м
rк1 = (r0 ∙ lк1 ) / 2 = (0,12 ∙ 0,34) / 2 = 0,02 Ом = 20 мОм;
хк1 = (х0 ∙ lк1 ) / 2 = (0,12 ∙ 0,07) / 2 = 0,004 Ом = 4 мОм
Где, r0 =0,34 Ом/кми х0 = 0,07 Ом/км по таблице П.1 и П.2 [3, с.361].
Сопротивление кабеля АВВГ 3*120; l = 30 м
rк2 = r0 ∙ lк2 = 0,26 ∙ 0,03= 0,008 Ом = 8 мОм;
хк2 = х0 ∙ lк2 = 0,07 ∙ 0,03= 0,0021 Ом = 2,1 мОм
Где, r0 =0,26 Ом/кми х0 = 0,07 Ом/км по таблице П.1 и П.2 [3, с.361].
Сопротивление кабеля АВВГ 3*95; l = 5 м и кабеля АВВГ 3*95; l = 15 м
rк3 = r0 ∙ lк3 = (0,015 + 0,005) ∙ 0,34= 0,007 Ом = 7 мОм;
хк3 = х0 ∙ lк3 = (0,015 + 0,005) ∙ 0,07= 0,0014 Ом = 1,4 мОм
Где, r0 =0,34 Ом/кми х0 = 0,07 Ом/км по таблице П.1 и П.2 [3, с.361].
Переходные сопротивления контактов по таблице П.12 [3, с.370].
rп = 25 мОм
r∑ = rт + rш + rа -400 + rа -200 + rа -160 + rк 1 + rк 2 + rк 3 + rп = 5,7 + 2,12 + 0,2 + 0,4 + 0,8 + 20 + 8 + 7 + 25 = 69,22 мОм
х∑ = хт + хш + ха-400 + ха-200 + ха-160 + хк1 + чк2 + чк3 = 17,2 + 3 + 0,15 + 0,3 +
+ 0,6 + 4 + 2,1 + 1,4 = 28,3 мОм
Определяем ток трехфазного короткого замыкания на двигателе
I(3) = Uср /√3 (√r∑ 2 + х∑ 2 ) = 2,93 кА
Определяем ток двухфазного короткого замыкания
I(2) = I(3) ∙ 0,865 = 2,93 ∙ 0,865 = 2,53 кА
Проверяем коэффициент чувствительности автоматического выключателя
Кч = I(3) / Iна = 2530/160 = 15,8> 3
Кч = I(3) / Iэл = 2530/600 = 4,2> 3
2.8 Описание работы схемы управления электроприводом
Пуск сталкивателя в полуавтоматическом режиме осуществляется через нажатие кнопки SB, при условии, что все контакты нулевой защиты находятся в замкнутом положении и сталкиватель находится в исходном положении (работает лампа HL1), в противном случае пуск не осуществится. После нажатия на кнопку пуска подается сигнал на промежуточное реле К2 и включается самоблокировка кнопки, за счет контакта реле К2. Также замыкаются вспомогательные контакты реле К2 в цепи реле времени КТ4 (работающей на выдержку времени динамического ускорения двигателя) и в цепи контактора КМ6 (включающего работу двигателя на движение "вперед"). В результате этого замыкаются контакты контактора КМ6 в силовой цепи и двигатель включается в сеть, но так как в этот момент замыкается контакт с выдержкой времени реле КТ4, сталкиватель стоит без движения.
Одновременно с этим на реле времени КТ1 подается напряжение и ее нормально замкнутый контакт с выдержкой времени КТ1 отпадает (одновременно к контактом КТ4), в результате чего сигнал поступает на контактор КМ2 и его контакты КМ2 выводят первый блок резисторов. Сталкиватель начал движение. По истечению времени срабатывают контакторы КМ3 и КМ4 через реле времени КТ2 и КТ3 и двигатель выходит на естественную характеристику. Останов привода осуществляется с помощью электромагнитного тормоза YB и контактора торможения КМ5.
Дойдя до конечного положения, у сталкивателя срабатывает конечный выключатель SQ, в результате чего срабатывают его контакты и прекращается подача сигнала на промежуточное реле К5 (движение вперед) и подается напряжение на К6. Его контакт К6 в цепи движение "назад" замыкается, в результате чего подается сигнал на реле К3, через нормально разомкнутый контакт которого сигнал идее на контактор "назад" КМ7. Сталкиватель начинает свое движение в исходное положение.
2.9 Решение по заземлению электрооборудования механизма
При обслуживании электроустановки опасность представляют не только неизолированные токоведущие части, находящиеся под напряжением, но и те конструктивные части электрооборудования, которые нормально не находятся под напряжением, но могут оказаться под напряжением при повреждении изоляции (корпуса электродвигателя, металлических каркасов щитов и т.п.)
Для защиты людей от поражения электрическим током при повреждении изоляции применяется защитное заземление [4, с.65].
Заземлители связаны с магистралями заземлений двумя проводниками, присоединенные к заземлителю в разных местах. В месте хорошего электрического соединения корпуса аппарата с металлической станиной производственного механизма, которая стальной полосой присоединена к общему контуру заземления цеха. В местах не имеющих надежного контакта со станиной или расположенных на подвижных частях станка или машины, дополнительно заземляется с помощью специальных шин или гибким проводом, помещенным в шланг, где расположены токоведущие провода.
При монтаже электрооборудования сталкивателя заземлению подвергаются: корпус электродвигателя; кожухи всех аппаратов; стальные трубы, в которых проложены провода; ограждающие панели; каркасы регулировочных резисторов; кожухи контроллеров и т.п.
2.10 Решения по монтажу электроаппаратуры и электропроводки
Электроэнергию к сталкивателю подводят от общей сети переменного тока с напряжением 380В и для аппаратов управления от сети постоянного тока на 220В. Поскольку механизм сталкивателя вместе с электродвигателем и аппаратурой не перемещается относительно источника питания (перемещаются лишь его штанги), токопровод осуществляется при помощи кабеля проложенного в стальной трубе, для защиты от механических повреждений.
Панель распределительного щита установлена в щитовом помещении. Контакторы, ящики резисторов и другие аппараты установлены в комплекте с кнопками управления и представляют собой монтажный узел, расположенный на заранее подготовленном крепежном устройстве.
Ящики резисторов смонтированы на железобетонной конструкции (в виде стула), прикрепленные болтами. Высота конструкции подобрана таким образом, что маховик реостата находится на расстоянии 700 мм от пола.
Под корпусы реле подложены прокладки из электрокартона, а крепежные болты снабжены резиновыми шайбами. Все приборы установлены строго вертикально, за исключением тех, которые по условиям нормальной работы должны находиться в горизонтальном или наклонном положении.
Вся станция управления собрана в один щит и смонтирована в стальном каркасе, который установлен на площадке в цехе, вблизи от обслуживаемого электродвигателя.
2.11 Ведомость основного электрооборудования
Ведомость основного электрооборудования сталкивателя представлена в таблице 2.11.1
Таблица 2.11.1 Ведомость основного электрооборудования
| Наименование оборудования | Краткая техническая характеристика | Единица измерения | Кол |
| Электродвигатель | МТНБ12-10У1 | шт. | 1 |
| Выключатель автоматический | А 3716 ФУЗ | шт. | 1 |
| Выключатель автоматический | АП505-2МУЗ | шт. | 1 |
| Контактор | КТП60236 | шт. | 2 |
| РУ на ВН | КСО 386-05 | шт. | 2 |
| РУ на НН | ЩО – 1 – 33 | шт. | 7 |
| Силовой трансформатор | ТМГ 630 кВА 10/0,4 | шт. | 2 |
| Кабель | АВВГ 3х95 | м | 500 |
| Кабель | АВВГ 3х120 | м | 650 |
3. Организация производства
3.1 Организация ремонта электрооборудования
На сегодняшний день существует несколько видов подразделений осуществляющих ремонтные работы. Во-первых стоит отметить территориальные предприятия электроремонта, выполняющие свои функции на определенных местах. Наряду с территориальными предприятиями электроремонта существуют ремонтные заводы и цехи по ведомственной принадлежности. При такой организации ремонта у ремонтных предприятий снижается номенклатура ремонтируемых изделий, что позволяет создавать необходимые обменные фонды по всей номенклатуре (сокращает время замены неисправного оборудования), а также применять при ремонте специализированное оборудование (повышает качество и уменьшает стоимость ремонта).
При определении масштаба ремонтного предприятия следует иметь в виду не только объем парка обслуживаемого электрического оборудования, но и экономическую эффективность его работы.
Особое внимание при организации электроремонтного производства следует уделять качеству ремонта, чтобы в соответствии с задачами ремонта работоспособность электрического и электромеханического оборудования была бы полностью восстановлена. Это в свою очередь требует применения достаточно дорогого специализированного оборудования, окупающегося при достаточно высокой его загрузке. Иначе говоря, для создания эффективного электроремонтного производства необходимо иметь достаточное количество ремонтируемого на нем оборудования.
Стоимость ремонта электрического и электромеханического оборудования достигает в настоящее время до 60... 80 % стоимости нового оборудования при практическом отсутствии его дефицита. Поэтому некачественный ремонт не имеет никакого смысла. Если качественный ремонт невозможно обеспечить, то целесообразнее заменить вышедшее из строя оборудование на новое. А если же все-таки имеется возможность обеспечения качественного ремонта с минимальными затратами на него, т его осуществление не оспаривается, а производится должным образом.
Периодичность капитального и текущего ремонтов и длительность простоев в этих ремонтах для отдельных видов электрооборудования и аппаратов устанавливаются в соответствии с ПТЭ и действующими отраслевыми нормами.
Объем и графики ремонтов электрооборудования и аппаратов регламентируются ежегодными планами и утверждаются ответственным за электрохозяйство.
Капитальный ремонт электрооборудования осуществляется в целях восстановления его исправности и обеспечения надежной и экономичной работы в межремонтный период.
При капитальном ремонте оборудования производят его разборку, подробный осмотр, проверку, измерения, испытания, регулировку. При обнаружении дефектов их устраняют, восстанавливают и заменяют изношенные узлы и детали.
При текущем ремонте оборудования выполняют осмотр, очистку, уплотнение, регулировку и ремонт отдельных узлов и деталей с устранением дефектов, возникших в процессе эксплуатации.
Конструктивные изменения электрооборудования и аппаратов, а так же изменение электрических схем при выполнении ремонтов осуществляются только по утвержденной технической документации
До вывода электрооборудования в капитальный ремонт:
· Составляют ведомости объема работ и сметы, уточняемые после вскрытия и осмотра электрооборудования
· Составляют график ремонтных работ
· Заготавливают согласно ведомостям объема работ необходимые материалы и запасные части
· Составляют и утверждают технические документации на реконструктивные работы, намеченные к выполнению в период капитального ремонта, подготавливают материалы и оборудования для их выполнения
· Укомплектовывают и приводят в исправное состояние инструмент, приспособления, такелажное оборудование и подъемно-транспортные механизмы
· Подготавливают рабочие места для ремонта, производят планировку площадки с указанием мест размещения частей и деталей
· Укомплектовываются и инструктируются ремонтные бригады
Документацию по капитальному ремонту электрооборудования утверждает лицо, ответственное за электрохозяйство предприятия, а при централизованном выполнении ремонта ее согласовывают с ответственным руководителем работ ремонтного предприятия
Установленное на предприятие электрооборудование должно быть обеспечено запасными частями и материалами.
Должен вестись учет имеющихся на складе, в цехах и на участках запасных частей и запасного оборудования. Списки и наличие запасных частей должны периодически проверять лица, ответственные за электрохозяйство.
При хранении запасных частей, запасного электрооборудования и материалов необходимо обеспечивать их сохранность от порчи и использование по прямому назначению.
Вновь вводимое после ремонта оборудование испытывается в соответствии с Нормами испытания электрооборудования и аппаратов электроустановок потребителей.
Все работы, выполненные при капитальном ремонте основного электрооборудования, применяются по акту, к которому должна быть приложена техническая документация по ремонту. Акты со всеми приложениями хранятся в паспорте оборудования.
О работах, выполненных при ремонте, делается подробная запись в паспорте оборудования или специальном ремонтном журнале.
3.2 Соединение и оконцевание жил проводов, кабелей сваркой
Газовую сварку проводят в пропано-, ацетилено-, или бензино-кислородном пламени. Подготовку жил, сварку и обработку мест соединений выполняют во многом так же, как и при электросварке. При ацетилено-кислородной сварке выбирают наконечник для горелки, а при бензино-кислородной—мундштук. При пропано-кислородной сварке применяют то же оборудование и приспособления, что и при ацетилено-кислородной сварке. Для пропан-бутана используют специальные баллоны.
В последнее время широко используют для соединения алюминиевых жил пропано-кислородную сварку. Технологическая последовательность выполнения операций такова: сначала ножом или инструментом с концов свариваемых жил снимают изоляцию на длине 30-40 мм. Концы жил зачищают стальной щеткой и скручивают их вместе. Концы скрутки покрывают тонким слоем флюса ВАМИ, предварительно разведя его в воде до пастообразного состояния. Далее открывают вентиль на баллоне с кислородом и регулируют рабочее давление кислорода до 0,15 МПа. На горелке открывают вентиль пропана (на вентиле надпись "ацетилен") и зажигают горелку.
Для выполнения соединений необходимо следующее оборудование и материалы: Набор НСПК-1 механизмы и инструменты необходимые для скругления секторных, комбинированных и однопроволочных жил, пресс - клещи ПК-1М со специальными губками для откусывания литниковой прибыли или рамка ножовочная ручная с ножовочным полотном для металла, плоский напильник с насечкой №2, молоток, плоскогубцы, стальная щетка, кисточка для нанесения флюса.
С концов жил удаляют изоляцию, в зависимости от сечения жилы. С оголенных жил с бумажной изоляцией удаляют маслоканифольный состав ветошью, смоченной бензином или ацетоном. После чего необходимо стянуть конец многопроволочной жилы бандажом из алюминиевой проволоки. При соединении комбинированных и секторных однопроволочных жил необходимо скруглить их по длине снятой изоляции. После чего подбирают вкладыши соответствующие сечению жилы и устанавливают их в охладители.
После всего этого надо поставить на концы свариваемых жил 1 (Рисунок 3.2.1) полуформы 2, так, что бы стык жил находился в середине литникового отверстия. Концы жилы и пластину вводят в сварочную форму, таким образом, чтобы стык между ними находился в середине литникового отверстия. Полуформы струбциной 3 прижимают одна к другой и в направляющие вставляют клин. Легким постукиванием молотка по клиньям плотно (без зазоров) плотно прижимают поверхности полуформ одну к другой. На секторные однопроволочные жилы вплотную к торцу формы накладывают уплотнение 2-3 слоя асбестового шнура на длине 6-7 мм.

Рисунок 3.2.1. Установка сварочных форм на жилы
После этого на горелке открывают вентиль кислорода и регулируют пропано-кислородное пламя до нормального. Горелка должна равномерно разогревать стенки формы в зоне сварочной ванны, не задерживаясь на одном месте. После нагрева формы до красного цвета вводят покрытую флюсом присадку через литниковое отверстие и расплавляют ее до полного заполнения литника алюминием. Расплав алюминия перемешивают мешалкой и удаляют заодно шлак до полного расплавления проволок алюминия в объеме сварочной ванны.
После закрывают вентиля пропана, а затем гасят горелку, закрывая кислород. Остатки флюса с места сварки удаляют стальной щеткой, соединение протирают чистой ветошью и изолируют скрутки изолирующими колпачками или изоляционной лентой.

Рисунок 3.2.2. Варианты сварных соединений прямоугольных шин и ответвлений:
а — соединение встык, б—то же, под углом, в — ответвление, г — присоединение к аппарату, д, е—ответвление от шин, расположенных плашмя, ж—температурный компенсатор; 1 — шина, 2 — шов, 3—косынка, 4—заклепка, 5—пакет гибких лент.
После кристаллизации расплавленного металла удаляют литниковую прибыль при помощи клещей ПК-1М и закругляют кромки монолитной цилиндрической части сварного соединения. После чего снимают защитный экран и охладители с кабеля и асбест с изоляции. Напильником запиливают острые края в месте образования литниковой прибыли, после частичного ее удаления клещами ПК-1М, и закругляют кромки монолитной цилиндрической части сварного соединения. Место соединения зачищают стальной щеткой, протирают салфеткой, смоченной в бензине или ацетоне, до полного удаления шлаков и опилок.
На рисунке 3.2.2 показаны окончательные варианты сварных соединений.
При термитной сварке используют патроны различных конструкций. Соединения алюминиевых жил сечением 16-800 мм² встык и приварку наконечников ЛС на жилах сечением 300-800 мм² производят термитными патронами ПА (рисунок3)

Рисунок 3.2.3 Патрон ПА (а) и детали к нему для термитной сварки,
б — алюминиевые колпачки к патрону, в, г — алюминиевые шайбы и втулки: 1—термитный муфель, 2 — литниковое отверстие, 3 — стальной кокиль, 4 — втулка, 5 — отверстие в донышке втулки для контроля глубины вхождения в него жил
Для выполнения сварки необходимы следующие инструменты и материалы: набор НТС-2М, пресс - клещи ПК-1М со специальными губками для откусывания литниковой прибыли или рамка ножовочная ручная с ножовочным полотном для металла, слесарное зубило длинной 125 мм с лезвием шириной 10 мм, отвертку длинной 200 мм с лезвием шириной 9 мм, конопатку с полукруглым лезвием шириной 8 мм, плоский напильник длинной 200 мм с насечкой №2, молоток массой 0,4 – 0,5 кг, плоскогубцы.
Перед выполнением работы необходимо провести заготовительные операции. А именно, подобрать термитные патроны в зависимости от сечения свариваемых жил, покрыть внутреннюю часть кокиля слоем мела, предварительно разведенного до пастообразного состояния. Слой мела высушить до начала сварки. При жировых загрязнениях кокиль протереть тканью смоченной бензином или ацетоном, собрать термитные патроны, для чего ввести кокиль с двумя алюминиевыми колпачками в муфель таким образом, чтобы литниковые отверстия кокиля и муфеля располагались соосно.
Термитные патроны подбирают в зависимости от сечения свариваемых жил, перед сваркой снимают на необходимую длину изоляцию с жил. Жилы зачищают, обезжиривают и покрывают тонким слоем флюса ВАМИ (хлористый калий — 50%, хлористый натрий — 30%, криолит — 20% по массе). На концы жил насаживают алюминиевые колпачки или секторные втулки (предохраняют поверхность жил от непосредственного соприкосновения с кокилем патрона).
Затем устанавливают охладители и экраны, выполняют уплотнения асбестовым шнуром. Для поджигания термитных патронов используют специальные спички.
Комбинированные и многопроволочные секторные жилы предварительно скругляют плоскогубцами. При соединении секторных однопроволочных жил вместо алюминиевых колпачков применяют секторные втулки. Свободное пространство между колпачком и жилой заполняют отрезками присадки.
Термический патрон устанавливают на жилу таким образом, что бы стык находился в центре литникового отверстия. Нижние половины охладителей закрепляют на соединительной планке. Под охладитель установленный на жиле кабеля (провода), подкладывают прямоугольную прокладку 6, толщина которой равна половине толщины контактной пластины наконечника, для выравнивания осей кабеля и наконечника. Затем жилу закрепляют в охладителях. Между охладителем и формой (вплотную к охладителю) устанавливают тепловой экран из асбестового картона, выступающий за края охладителя не менее чем на 10 мм. Перед сваркой на боковую поверхность патронов по обе стороны от литникового отверстия накладывают тепловую изоляцию – ленты из асбестового картона шириной 25-30 мм, стянутые бандажами из стали толщиной 1-1,5 мм. В литниковое отверстие термитного патрона вводят присадочный пруток и приступают к сварке.
По мере горения муфеля в кокиль сплавляют присадочный пруток, а образовавшуюся сварочную массу тщательно перемешивают. После кристаллизации расплавленного металла удаляют литниковую прибыль при помощи клещей ПК-1М и закругляют кромки монолитной цилиндрической части сварного соединения. Муфель скалывается зубилом при помощи молотка.После чего снимают защитный экран и охладители с кабеля и асбест с изоляции. Напильником запиливают острые края в месте образования литниковой прибыли, после частичного ее удаления клещами ПК-1М, и закругляют кромки монолитной цилиндрической части сварного соединения. Место соединения зачищают стальной щеткой, протирают салфеткой, смоченной в бензине или ацетоне, до полного удаления шлаков и опилок.Процесс термитной сварки показан на рисунке 3.2.4

Рисунок 3.2.4.Процесс термитной сварки: 1 - мешалка; 2 - присадочный пруток; 3 - охладители; 4 - асбестовый экран; 5 - термитный патрон.
3.3 Техника безопасности при выполнении работ
К электросварочным работам допускаются электросварщики, достигшие 18-летнего возраста, имеющие не ниже второй квалификационной группы по технике безопасности. Все электросварщики цветных металлов должны проходить ежегодно медосмотр.
Все виды посторонних работ по электросварке в зданиях должны производиться в специально отведенных вентилируемых помещениях, площадь и кубатура которых удовлетворяет правилам СНиП с учетом габаритов сварочного оборудования и свариваемых изделий.
Ручная дуговая сварка или сварка в защитном газе, выполняемые систематически, должны производиться в специально хорошо вентилируемых кабинах со светонепроницаемыми стенками, из несгораемого материала. Те же виды сварки выполняемые не систематически, а так же на крупногабаритных изделиях, должны производиться при ограждении мест работы светонепроницаемыми щитами или занавесами из несгораемого материала.
В помещениях для сварки запрещается хранить легковоспламеняющиеся вещества и материалы
В помещениях для электросварочных работ должны быть предусмотрены проходы достаточной ширины проходы (не менее 0,8 м), обеспечивающие удобство и безопасность при сварочных работах и доставке изделий к месту сварки.
Многопостовые агрегаты и установки из нескольких сварочных агрегатов должны располагаться в отдельном помещении или в части общего производственного помещения, отделенной постоянными перегородками, решетками, сетками и т.п. не ниже 1,7 м.
В сварочной цепи для подвода тока к электроду следует применить гибкий шланговый кабель (провод). Изоляция кабеля должна быть защищена от механических повреждений. Запрещается применять сварочные провода с нарушенной изоляцией и оплеткой. При повреждении оплетки сварочные провода необходимо заключить в резиновый шланг.
В качестве обратного провода, соединяющего свариваемое изделие с источником сварочного тока, могут служить гибкие провода. Использование в качестве обратного провода сети заземления, металлических строительных конструкций зданий, коммуникаций и не сварочного технологического оборудования – запрещается. Следует тщательно соединять между собой отдельные элементы, используемые в качестве обратного провода (сваркой, с помощью болтов, струбцин или зажимов).
Сварочные установки, со стороны питающей сети, должны быть защищены предохранителями или автоматами. Многопостовые сварочные агрегаты, кроме того, должны иметь автоматы с максимальной защитой в общем проводе сварочной цепи и предохранители на каждом проводе к сварочному посту.
Подсоединять сварочные посты к многопостовому агрегату можно только можно только при отключенном от сети агрегате. Передвижные сварочные установки на время их передвижения необходимо отсоединять от сети.
Подсоединять к сети и отключать электросварочные установки на монтажном объекте, а так же на монтажном объекте, а так же наблюдать за их состоянием в процессе эксплуатации должен обученный персонал.
Корпус сварочных агрегатов, сварочные столы, плиты и т.п., а также обратные провода источников питания следует заземлять.
При одновременной работе сварщиков на различных высотах по одной вертикали должны быть предусмотрены надежные средства для защиты работающих от брызг металла и возможного падения огарков электродов и других предметов.
Спецодежда электросварщика должна состоять из брезентовых или суконных брюк и куртки, ботинок с глухим верхом, рукавиц, фартука с нагрудником и головного убора. При потолочной сварке необходимо пользоваться асбестовыми или брезентовыми нарукавниками. При сварке семейных сплавов, содержащих цинк, медь, свинец, необходимо пользоваться фильтрующим респиратором.
При ручной сварке угольным электродом тяжелых алюминиевых и медных шин и при электрической сварке должен быть предусмотрен отсос газов непосредственно из зоны сварки. При ручной сварке рекомендуется, кроме того, подача воздуха непосредственно под щиток сварщика. В случае необходимости следует работать в шланговом противогазе.
Для защиты рук сварщика от ожогов электрической дуги на электрододержателе следует укрепить металлический экран. Электрододержатель должен прочно удерживать электрод. Ручку электрододежателя следует изготовлять из диэлектрического и теплоизолирующего материала, металлическая ручка должна быть надежно изолирована.
Для защиты глаз и лица от лучей дуги и брызг металла, сварщик должен пользоваться маской, снабженной темными светозащитными и предохранительными стеклами.
3.4 Сдача-приемка в эксплуатацию
Сдача станка в эксплуатацию производится совместно механиками и наладчиками. При этом бригадир наладчиков заполняет журнал производства наладочных работ, в котором должны быть отражены все данные измерений устранение выявленных дефектов, изменения в принципиальной электрической схеме, протоколы испытаний электрооборудования и акт приемки-сдачи станка. С момента подписания акта приемки-сдачи станок поступает в постоянную эксплуатацию.
До приемки смонтированной установки комиссией эксплуатирующая и монтажная организации выполняют ряд предварительных мероприятий: осматривают и принимают скрытые монтажные работы (скрытые трубные прокладки, прокладки кабелей в траншеях, электропроводки). Осуществляют указанную приемку на основе технического надзора со стороны эксплуатирующей организации за этими работами в процессе их выполнения. Приемка скрытых работ оформляется актом, который и представляется приемочной комиссии. К числу подготовительных мероприятий, которые выполняет эксплуатирующая организация, относят также подготовку схемы управления электрохозяйством предприятия, обучение и подготовку электротехнического персонала, разработку эксплуатационных и должностных инструкций.
Приемка смонтированной электроустановки включает в себя проверку соответствия установки проекту и требованиям ПУЭ, СНиП и инструкциям заводов-изготовителей электрооборудования. Тщательным наружным осмотром проверяют исправность смонтированного электрооборудования и качество электромонтажных работ. Учитывая, что наружный осмотр электрооборудования не позволяет выявить скрытые дефекты, при приемке проводят испытания принимаемого оборудования, предусмотренные ПУЭ. Приемочная комиссия при приемке электроустановки также проверяет техническую документацию, выполненную в процессе монтажа электроустановки, ее испытаний и наладки.
Электрическую изоляцию проверяют измерением её сопротивления и испытанием установки повышенным напряжением. Испытание повышенным напряжением обязательно для всего электрооборудования 35 кВ и ниже. Оно предшествует осмотру и измерению сопротивления изоляции.
Сопротивление изоляции РУ, щитов и токопроводов до 1 кВ, вторичных цепей управления, защиты, сигнализации в релейно-контакторных схемах установок до 1кВ, измеренное мегаомметром 0,5-1 кВ, должно быть не менее 0,5 МОм. Сопротивления изоляции каждого присоединения вторичных цепей и цепей питания приводов выключателей и разъединителей со всеми присоединенными к ним аппаратами (катушки приводов, контакторы, реле, приборы, вторичные обмотки трансформаторов тока и напряжения) должны быть не менее 1 МОм. В РУ измерения производят для каждой секции.
Электроустановки, кроме электропроводок, испытывают повышенным напряжением промышленной частоты, равным 1 кВ, в течение 1 минуты. Такие испытания могут быть заменены измерением значения сопротивления изоляции R60 мегаомметром на напряжение 2,5 кВ в течение 1 минуты при этом измеренное сопротивление изоляции должно быть не менее приведенного в нормах. Если значение сопротивления изоляции меньше приведенного в нормах, испытание напряжением 1 кВ промышленной частоты является обязательным.
Сопротивление изоляции обмоток статора электродвигателей переменного тока до 1 кВ, измеренное мегаомметром на напряжение 1 кВ, должно быть не менее 0,5 Мом при температуре 10-30 °С.
Пред включением электрооборудования под напряжение выборочно проверяют (осматривают) заземляющие устройства, наличие цепи между заземлителями и заземляемым оборудованием, полное сопротивление петли фаза – нуль производят прибором М-417 для наиболее удаленных, а также наиболее мощных электроприемников.
Тщательная приемка в эксплуатацию вновь смонтированных электроустановок - одно из условий, обеспечивающих нормальную работ электрооборудования промышленных предприятий. Каждое отступление от требований, предъявляемых к смонтированным электроустановкам, может при эксплуатации послужить причиной различных неполадок и аварий.
Электромонтажная организация после окончания работ производит предварительную приемку смонтированной электроустановки внутренней комиссией. В акте предварительной приемки отмечают все дефекты и недоделки, обнаруженные в электроустановке, которые устраняют до представления электроустановки приемочной комиссии. Если в процессе выполнения электромонтажных работ были допущены какие-либо отклонения от утвержденного проекта, эти отклонения фиксируют в специальной ведомости, а в чертежи, схемы и кабельные журналы вносят соответствующие изменения.
После выполнения указанных мероприятий смонтированную электроустановку принимает приемочная комиссия, назначаемая главным инженером промышленного предприятия. В состав комиссии обычно входит представитель от эксплуатирующей организации, представитель от электромонтажной организации и представитель от соответствующей энергосистемы. До начала работы приемочной комиссии представляют проектную документацию с ведомостью допущенных отклонений от проекта; техдокументацию, выполненную в процессе производства электромонтажных и наладочных работ; техдокументацию заводов-поставщиков смонтированного электрооборудования, а также акты предварительной приемки смонтированных электроустановок внутренней комиссией электромонтажной организации с документацией, подтверждающей устранение дефектов, обнаруженных при . предварительной приемке.
После окончания работ приемочной комиссии, завершаемых пробным включением электроустановки под нагрузку, акт приемки передают на утверждение главному инженеру предприятия. Утверждение акта рассматривается как передача электроустановки в промышленную эксплуатацию.
После представления электроинспекции оформленного акта приемки электроустановки приемочной комиссией с утвержденным проектом и протоколом произведенных измерений и испытаний электроустановку осматривают, выдают разрешение на подключение и подключают к сетям энергоснабжающей системы соответствующего энергосбыта.
4. Экономическая часть
4.1 Сметно-финансовый расчет стоимости электрооборудования и материалов
На основании ведомость основного электрооборудования (табл. 2.11.1) составляется сметно-финансовый расчет стоимости электрооборудования в виде таблицы 4.1.1. Стоимость электрооборудования определена с помощью прейскурантов и ценников.При отсутствии ценников на монтаж оборудования расходы на монтажные работы принимаются в размере 6 – 15% от стоимости оборудования (в зависимости от сложности монтажа).
Таблица 4.1.1 Сметно-финансовый расчет стоимости электрооборудования

4.2 Расчет амортизационных отчислений
Амортизационные отчисления – часть основных фондов (в том числе электрооборудования), переносимая на себестоимость годовой продукции для возмещения износа.

Где ОФ – стоимость электрооборудования, руб
На – норма амортизации, %
Таблица 4.2.1 Расчет амортизационных отчислений
| Наименование и характеристика эл. Оборудования | Кол | Стоимость | Норма амортизации | Сумма амортизационных отчислений (руб) | |
| Единицы (руб) | Общая (руб) | ||||
| Электродвигатель МТНБ12-10У1 | 1 | 199 420,00 | 219362,00 | 12,6% | 27639,61 |
| Выключатель автоматический А 3716 ФУЗ | 1 | 1 991,81 | 2190,99 | 12,6% | 276,06 |
| Выключатель автоматический АП505-2МУЗ | 1 | 230,52 | 253,57 | 12,6% | 31,95 |
| Контактор КТП60236 | 2 | 2 869,21 | 6312,26 | 12,6% | 759,34 |
| КСО 386-05 | 2 | 38 808,00 | 85377,60 | 12,6% | 10757,58 |
| ЩО – 1 – 33 | 7 | 1 649,83 | 12703,69 | 12,6% | 1600,66 |
| Силовой трансформатор ТМГ 630 кВА 10/0,4 | 2 | 135 840,00 | 298848,00 | 12,6% | 37654,85 |
| Кабель АВВГ 3х95 | 500 | 129,00 | 70950,00 | 5,2% | 3689,40 |
| Кабель АВВГ 3х120 | 650 | 160,00 | 114400,00 | 5,2% | 5948,80 |
| ИТОГО | 88358,24 | ||||
4.3 Расчет численности и фонда заработной платы электриков
4.3.1 Расчет численности электриков
На предприятии основная роль принадлежит кадрам, так как, именно, от них зависит, насколько эффективно используются на предприятии средства производства и насколько успешно работает предприятие в целом.
Кадры предприятия – это состав работников обладающих производственно-техническими занятиями, навыком, опытом для осуществления производственного процесса и управления им.
Персонал предприятия – это совокупность физических лиц состоящих с предприятием, как с юридическим лицом в отношениях регулируемых договором найма.
Различают количественный и качественный состав работников предприятия. Качественный состав работников характеризуется стажем работы, полом, возрастом, квалификацией.
На количественный и качественный состав персонала влияют:
· Высокая профессиональная квалификация
· Способность к сотрудничеству, коммуникабельность
· Мобильность
· Способность к обучению
Кадры предприятия по участию в производственной деятельности делятся на:
A. ППП (Промышленно-производственный персонал) Это работники, связанные с выполнением производственного процесса, его обслуживания и управления
B. Непромышленный персонал. Это работники не участвующие в промышленном процессе (Работники общежитий, медицинские работники и др.)
В Свою очередь промышленно производственный персонал по характеру выполняемых функций делится на:
a) Руководители
b) Специалисты
c) Служащие
d) Рабочие (Основные, вспомогательные)
Руководители – это лица, в круг обязанностей которых входит руководство и управление фирмой. В зависимости от выполняемых функций они подразделяются на руководителе высшего, среднего и низкого звеньев.
Специалисты – это лица осуществляющие учет, контроль, оформление документации и другие функции.
К рабочим относят работников предприятия, непосредственно занятых созданием материальных ценностей или оказанием производственных и транспортных услуг. К основным работникам (производственным) относят – тех, которые производят продукцию. К вспомогательным работникам относят – тех, которые занимаются обслуживанием производства.
Персонал электриков цеха состоит из электромонтеров, занимающихся текущим обслуживанием электрооборудования и электромонтеров, проводящих текущие ремонты и средние ремонты.
Количество дежурного персонала рекомендуется принимать 40-60% нормативной численности ремонтного персонала электрослужбы. Норматив численности рабочих электрослужбы определяется видом, количеством и мощностью установленного электрооборудования.
В зависимости от этих показателей рассчитывается количество условных единиц ремонтной сложности (ЕСР). Количество единиц сложности ремонта определяется по категории сложности в зависимости от наличия установленного электрооборудования в цехе. За единицу сложности ремонта (ЕСР) принято электрооборудование, трудозатраты на один текущий ремонт которого составляют 2 чел/часа.
Таблица 4.3.1.1 Расчет количества единиц сложности ремонта электрооборудования
| Наименование и характеристика электрооборудования | Кол (шт/м) | Суммарная мощность (кВт) | Мощность двигателей и силовых тр-ов (кВт) | Количество ЕСР на ед. сложности оборудования | Всего условных единиц в группе |
| Электродвигатель МТНБ12-10У160 кВт, 575 об/мин | 1 | 60 | 60 | 4 | 4 |
| Выключатель автоматический А 3716 ФУЗ | 1 | 1 | 1 | ||
| Выключатель автоматический АП505-2МУЗ | 1 | 1 | 1 | ||
| Контактор КТП60236 | 2 | 1 | 2 | ||
| КСО 386-05 | 2 | 3 | 6 | ||
| ЩО – 1 – 33 | 7 | 2 | 14 | ||
| Силовой трансформатор ТМГ 630 кВА 10/0,4 | 2 | 1260 | 630 | 16 | 32 |
| Кабель АВВГ 3х95 | 500 | 0,006 | 3 | ||
| Кабель АВВГ 3х120 | 650 | 0,006 | 3,9 | ||
| ИТОГО | 66,9 |
На основании графы 5 и таблицы 6 (категория сложности ремонтов основных видов электрооборудования) [7 с.13] определяем количество условных единиц сложности ремонта электрооборудования на единицу сложности (гр.5), а затем общее ЕСР (гр.6).
Так, для силового трансформатора (мощностью 630 кВт), будет, 16 × 2 = 32
Аналогично рассчитываем для остальных электроприборов. Суммарное количество условных единиц сложности ремонта электрооборудования в цехе равно сумме ЕСР всех приборов:
4+1+1+2+6+14+32+3+3,9 = 72,9 ЕСР
Нормативная численность составит: Чн рем = 0,067 × 15 = 1 чел.
Списочная численность ремонтного персонала цеха определяется с помощью списочного коэффициента.
Списочный коэффициент определяется на основании построения баланса рабочего времени как отношение номинального времени к фактическому.
Таблица 4.3.1.2 Баланс рабочего времени на 2006 год
| Показатели | Прерывный график (пятидневная рабочая неделя с двумя выходными днями) | Непрерывный трехсменный, четырех бригадный график |
| Календарное время | 365 | 365 |
| Нерабочее время: | 115 | |
| в том числе | ||
| - выходные дни | 104 | |
| - праздничные дни | 11 | |
| Номинальное время | 250 | 365*3/4=274 |
| потери всего | 36 | 36 |
| в том числе | ||
| - отпуска | 30 | 30 |
| - выполнение государственных и общественных обязанностей | 2 | 2 |
| - отпуска для учащихся | 1 | 1 |
| - болезни | 3 | 3 |
| Фактическое время | 214 | 238 |
Тогда Ксп рем = 250/214 = 1,17
Чсп рем =Ксп рем × Чн рем = 1 × 1,17 = 1,17 = 1 чел
4.3.2 Расчет численности и фонда заработной платы электриков
Оплата труда работников – это цена трудовых ресурсов действующих в производственном процессе.
Под системой оплаты труда понимают способ исчисления вознаграждения работнику в соответствии с результатом труда.
Существует несколько трактатов определения "заработанная плата".
Заработанная плата – вознаграждение за труд – важный стимул повышения жизненного уровня работника.
Заработанная плата – доля работников предприятия в той части национального дохода, которая поступает в их личное распоряжение в соответствии с количеством затраченного ими труда.
Заработанная плата – это часть издержек на производство и реализацию продукции, идущая на оплату труда работников предприятия.
Заработанная плата – основная часть необходимого фонда жизненных средств работников.
В настоящее время наряду с оплатой по труду работник может получать доходы и за счет других источников (это – доходы от подсобного хозяйства, либо доходы пропорционально вложенному капиталу, доходы по ценным бумагам).
Различают номинальную и реальную заработную плату. Номинальная – это сумма денег исчисленная и полученная работником за определенный период времени. А Реальная – это сумма благ и услуг приобретаемых на номинальную заработную плату.
Реальная заработная плата – это "покупательская способность" номинальной заработной платы. Реальная заработная плата зависит:
1) От величины номинальной заработной платы
2) от величины цен на товары и услуги.
Например, при увеличении номинальной заработной платы на 15% и инфляции за этот период на уровне 10% реальная заработная плата увеличится только на 5%.
Таким образом, повышение жизненного уровня людей может быть достигнуто не только за счет повышения номинальной заработной платы, но и за счет снижения цен на товары и услуги.
При определении заработка работника на предприятии различают основную и дополнительную оплату труда.
Под основной заработной платой принято понимать:
· Выплаты за отработанное время, за количество и качество выполненных работ
· Премии, премиальные надбавки
· Доплаты за работу в ночное время и праздничные дни и др.
Дополнительная заработная плата включает выплаты, за не проработанное время, предусмотренные законодательством о труде – это:
· Оплата времени отпусков (основных, дополнительных, ученических)
· Время выполнения государственных обязанностей
· Оплата льготных часов подростков и т.д.
При разработке политики в области заработной платы и ее организации необходимо учитывать следующие принципы:
· Право на труд, ослаблено в результат безработицы
· Оплата по труду (равная оплата за равный труд в соответствии с количеством и качеством труда и его результатами)
· Сочетание материальных и моральных стимулов
· Правильное соотношение между темпами роста производства труда и среднемесячной заработной платой
· Государственное регулирование заработной платы на всех уровнях
С переходом на рыночные отношения произошли довольно существенные изменения в организации заработной платы на предприятиях. Расширены права предприятий в распределении заработанных ими средств. Государство оставляет за собой только: регулирование минимальной заработной платы, ее корректировку по мере инфляции и создание равных возможностей для предприятий по зарабатыванию средств на оплату труда.
Нормирование труда включает такие основные показатели как: норму выработки, норму времени, норму численности, норму обслуживания.
Нормирование труда – это установленные меры затрат труда на качественное изготовление единицы продукции или выполнения заданного объема работ в определенных организационно-технических условиях.
Норма времени – затраты на изготовление единицы продукции, производимой одним работником или группой работников определенной квалификации при определенных условиях труда.
Норма выработки – количество продукции в натуральном выражении, которое должно быть изготовлено в единицу времени одним работником или одной бригадой.
Норма обслуживания – количество единиц оборудования или производственных площадей, которые должны быть обслужены одним работником или одной бригадой
Норма численности – максимально допустимая численность работников определенной квалификации для выполнения определенного объема работ.
По данным предприятия среднемесячная заработная плата электриков составляет:
Ремонтный персонал V разряд 6794 рублей
Принимаем у ремонтного персонала одного электрика с V разрядом
Годовой фонд заработной платы составит:
ФЗПрем = 6794 × 1 × 12 = 143028 руб.
4.4 Составление сметы затрат на содержание электрооборудования
В хозяйственной практике нашей страны для определения величины издержек используется экономическая категория "себестоимость".
Себестоимость продукции является одним из важнейших обобщающих показателей деятельности фирмы, отражающих эффективность производства. Она является нормируемой и регулируемой государством величиной. Она выполняет важную учетную функцию, регулируя систему налогообложения в Российской Федерации.Себестоимость продукции – это денежное выражение затрат на производство и реализацию продукции.Себестоимость продукции является не только важнейшей экономической категорией, но и качественным показателем, так как она характеризует уровень использования всех ресурсов, находящихся в распоряжении предприятия.
Функции себестоимости :
· Учет всех затрат на производство и реализацию продукции
· Себестоимость является базой для определения цены предпреятия а так же величины прибыли и рентабельности.
· Экономическое обоснование, вложение реальных инвестиций
· Экономическое обоснование принятия решений
В условиях рыночной экономики роль и значение себестоимости продукции резко возрастают. С экономических и социальных позиций значение себестоимости состоит в следующем:
Значения снижения себестоимости:
· В увеличении прибыли предприятия
· В появлении дополнительных возможностей увеличении зарплаты работникам предприятия и решение других социальных проблем
· В улучшении финансового состояния предприятия
· В появлении возможности снижения цены на продукцию с целью расширения рынка сбыта и повышения конкурентоспособности продукции
Таблица 4.4.1 Смета текущих ремонтов и содержания электрооборудования
| Наименование статей | Руб. | Обоснование |
| 1. Фонд заработной платы (ФЗП) электриков | 143028 | Раздел 4.3.2 |
| 2. Отчисления на соц. страхование | 37187,28 | 26% от ФЗП |
| 3. Амортизационные отчисления | 88358,24 | Таблица 4.2.1 |
| 4. Возмещение износа малоценного и быстроизнашивающегося оборудования | 4500 | 4500 руб. на 1 чел. |
| 5. Расходы на содержание электрооборудования | 16208 | 2% от стоимости электрооборудования Таблица 4.1.1 |
| 6. Расходы на эксплуатацию электрооборудования | 24312 | 3% от стоимости электрооборудования Таблица 4.1.1 |
| 7. Расходы на охрану труда | 7151,4 | 5% от ФЗП |
| 8. Прочие расходы | 8581,68 | 6% от ФЗП |
| ИТОГО | 329326,60 | Сумма всех статей |
Отчисления на соц. страхование:
143028 × 0,26 = 37187,28 руб.
Возмещение износа малоценного и быстроизнашивающегося:
4500 × 1 = 4500 руб.
Расходы на содержание электрооборудования:
810398,12 × 0,02 = 16208 руб.
Расходы на эксплуатацию электрооборудования:
810398,12 × 0,03 = 24312 руб.
Расходы на охрану труда:
143028 × 0,05 = 7151,4 руб.
Прочие расходы:
143028 × 0,06 = 8581,68 руб.
Итого: 37187,28 + 4500 + 16208 + 24312 + 7151,4 + 8581,68 + 143028 +
+ 88358,24 = 329326,60 рублей
5. Безопасность жизнедеятельности
5.1 Безопасность при эксплуатации электрооборудования сталкивателя
Оперативные переключения должен выполнять оперативный или оперативно-ремонтный персонал, допущенный распорядительным документом.
В электроустановках не допускается приближение людей, механизмов и грузоподъемных машин, к находящимся под напряжением не огражденным токоведущим частям.
Находящийся на дежурстве работник из числа административно-технического персонала должен иметь 5 группу допуска.
При осмотре электроустановок разрешается открывать двери щитов, сборок, пультов управления и других устройств. При осмотре установок не допускается входить в помещение, камеры, необорудованные ограждениями или барьерами, препятствующих приближению к токоведущим частям. Не допускается какой-либо работы во время осмотра.
Проверка отсутствия напряжения на токоведущих частях электроустановки проводит допускающий перед началом всех видов работ со снятием напряжения. В электроустановках проверять отсутствие напряжения необходимо указателем напряжения заводского изготовления, исправность которого пред применением должна быть установлена приближением к токоведущим частям, расположенным по близости и заведомо находящихся под напряжением.
Проверка отсутствия напряжения у отключенного оборудования должна производиться на всех фазах, а выключателя и разъединителя – на всех шести вводах зажимах. Если на месте есть разрыв электрической цепи, то отсутствие напряжения проверяется на токоведущих частях с обеих сторон разрыва.
В электроустановке с заземленной нейтралью отсутствие напряжения проверяется как между фазами, так и между каждой фазой с заземленным корпусом оборудования или заземляющим проводом.
Непосредственно после проведения необходимых отключений на приводах разъединителей, отделителей и выключателей, на ключах и кнопках дистанционного управления или, на коммутационной аппаратуре, отключенных при подготовке рабочего места, должны быть вывешены плакаты << Не включать. Работают люди.
Не отключенные токоведущие части доступные для непреднамеренного прикосновения, должны быть на время роботы ограждены. Для временного ограждения могут применяться щиты, экраны и т.п., изготовленные из дерева или других изоляционных материалов.
Устанавливать и снимать накладки должны два лица с группой V и IV в электроустановках напряжением выше 1000В, IV и III в установках до 1000В, пользуясь диэлектрическими перчатками и изолирующими штангами либо клещами с применением защитных очков.
Электроустановки должны быть немедленно отключены от сети в следующих случаях: при несчастных случаях с людьми; появлении дыма или огня из корпуса электродвигателя, а также из его пускорегулирующей аппаратуры и устройства возбуждения; поломке приводного механизма; резком увеличении вибрации подшипников агрегата; нагреве подшипников сверх допустимой температуры, установленной в инструкции завода-изготовителя.
5.2 Меры безопасности при монтаже
При распаковке ящиков с частями машин для предотвращения перемещения и опрокидывания частей внутри упаковки распаковывать ящики следует в соответствии с чертежом упаковки, а при отсутствии чертежа упаковки необходимо вырезать лаз в обшивке и осмотреть крепление внутри упаковки. Порядок распаковки ящиков и особенно порядок снятия бандажей и стяжных болтов должны указываться руководителем работ.
Поднимать электрические машины и их части следует только за специально предназначенные для этой цели детали, которые, как правило, приведены в заводских монтажных чертежах. Оставлять детали оборудования электрических машин на перекрытиях и площадках разрешается в устойчивом положении не ближе 1 м от края перекрытия или площадки.
При чистке, промывке спиртом, бензином, керосином частей машины необходимо обеспечить вентиляцию помещения, а работающих снабдить респираторами. При этом вблизи машины и ее частей не разрешается производить никаких работ с огнем. Использованный после обтирки машины материал собирают в металлический ящик с крышкой для последующего уничтожения. При обточке и шлифовке коллектора запрещается работать без защитных очков.
Ямы, каналы вокруг электрический машины должны быть закрыты настилом.
При сушке или контрольном прогреве электрических машин для утепления применяют негорючие теплоизоляционные материалы. При этом электровоздуходувки должны иметь приспособление, не пропускающее искр. Помещение для сушки периодически вентилируют или проветривают. До начала сушки машин электрическим током их корпуса заземляют. Заземляют также воздуходувки и электрические печи, применяемые для сушки.
Заводку ротора в статор, установку лобовых щитов и проворачивание ротора выполняют по заводской инструкции, предусматривающей безопасное выполнение этих работ.
Работы по разборке, сборке и установке на фундаменты и конструкции электрических машин выполняют в рукавицах.
Перед пробным пуском машин необходимо проверить крепление фундаментных болтов; отсутствие посторонних предметов внутри оборудования; наличие защитного заземления.
Запрещается устранять какие-либо дефекты в маслоочистительной аппаратуре во время ее работы. Дефекты следует устранять при выключенном общем рубильнике, на котором вывешивают плакат: "Не включать — работают люди!"
С момента присоединения силовых кабелей или шин к выводам электрической машины и к ячейке распредустройства, находящегося в эксплуатации или законченного монтажом и подготовленного к эксплуатации, производить подачу напряжения или какие бы то ни было монтажные работы на машине без соблюдения правил работы в действующих установках запрещается. Действующими считаются электроустановки, на которых имеется или может быть подано напряжение включением коммутирующих аппаратов.
5.3 Пожарная безопасность
Организации, их должностные лица и граждане, нарушившие требования пожарной безопасности, несут ответственность в соответствии с законодательством Российской Федерации.
Наряду с правилами пожарной безопасности, следует также руководствоваться иными нормативными документами по пожарной безопасности и нормативными документами, содержащими требования пожарной безопасности, утвержденными в установленном порядке.
Технологические процессы должны проводиться в соответствии с регламентами, правилами технической эксплуатации и другой утвержденной в установленном порядке нормативно-технической и эксплуатационной документацией, а оборудование, предназначенное для использования пожароопасных и взрывопожароопасных веществ и материалов, должно соответствовать конструкторской документации.
На каждом предприятии должны быть данные о показателях пожарной опасности применяемых в технологических процессах веществ и материалов.
При работе с пожароопасными и взрывопожароопасными веществами и материалами должны соблюдаться требования маркировки и предупредительных надписей на упаковках или указанных в сопроводительных документах.
Совместное применение (если это не предусмотрено технологическим регламентом), хранение и транспортировка веществ и материалов, которые при взаимодействии друг с другом вызывают воспламенение, взрыв или образуют горючие и токсичные газы (смеси), не допускается.
Плановый ремонт и профилактический осмотр оборудования должны проводиться в установленные сроки и при выполнении мер пожарной безопасности, предусмотренных соответствующей технической документацией по эксплуатации.
Конструкция вытяжных устройств (шкафов, окрасочных, сушильных камер и т. д.), аппаратов и трубопроводов должна предотвращать накопление пожароопасных отложений и обеспечивать возможность их очистки пожаробезопасными способами. Работы по очистке должны проводиться согласно технологическим регламентам и фиксироваться в журнале.
Искрогасители, искроуловители, огнезадерживающие, огнепреграждающие, пыле- и металлоулавливающие и противовзрывные устройства, системы защиты от статического электричества, устанавливаемые на технологическом оборудовании, трубопроводах и в других местах, должны содержаться в рабочем состоянии.
Технологические проемы в стенах и перекрытиях следует защищать огнепреграждающими устройствами.
Механизмы для самозакрывания противопожарных дверей должны содержаться в исправном состоянии. Огнепреграждающие устройства по окончании рабочего дня должны закрываться.
Необходимо регулярно проверять исправность огнепреградителей и производить чистку их огнегасящей насадки, а также исправность мембранных клапанов. Сроки проверки должны быть указаны в цеховой инструкции.
Сушильные камеры периодического действия и калориферы перед каждой загрузкой должны очищаться от производственного мусора и пыли.
Газоопасные работы должны проводиться только по наряду в соответствии с правилами безопасности. С персоналом должен проводиться инструктаж о мерах пожарной безопасности. Члены бригады, не прошедшие инструктаж, к работе не допускаются.
Не разрешается, кроме аварийных ситуаций, осуществлять останов конвейеров, нагруженных топливом. В случае аварийного останова конвейерные ленты должны быть освобождены (разгружены) от топлива в кратчайшие сроки.
В кабельных сооружениях не реже чем через 60 м должны быть установлены указатели ближайшего выхода.
На дверях секционных перегородок должны быть нанесены указатели (схема) движения до ближайшего выхода. У выходных люков из кабельных сооружений должны быть установлены лестницы так, чтобы они не мешали проходу по туннелю (этажу).
Прокладка бронированных кабелей внутри помещений без снятия горючего джутового покрова не разрешается.
Двери секционных перегородок кабельных сооружений должны быть самозакрывающимися, открываться в сторону ближайшего выхода и иметь уплотнение притворов.
При эксплуатации кабельных сооружений указанные двери должны находиться и фиксироваться в закрытом положении.
Допускается по условиям вентиляции кабельных помещений держать двери в открытом положении, при этом они должны автоматически закрываться от импульса пожарной сигнализации в соответствующем отсеке сооружения. Устройства самозакрывания дверей должны поддерживаться в технически исправном состоянии.
Не разрешается при проведении реконструкции или ремонта применять кабели с горючей полиэтиленовой изоляцией.
Металлические оболочки кабелей и металлические поверхности, по которым они прокладываются, должны быть защищены негорючими антикоррозийными покрытиями.
В помещениях подпитывающих устройств маслонаполненных кабелей хранить горючие и другие материалы, не относящиеся к данной установке, не разрешается.
Кабельные каналы и двойные полы в распределительных устройствах и других помещениях должны перекрываться съемными негорючими плитами. В помещениях щитов управления с паркетными полами деревянные щиты должны снизу защищаться асбестом и обиваться жестью или другим огнезащитным материалом. Съемные негорючие плиты и цельные щиты должны иметь приспособления для быстрого их подъема вручную.
В местах установки передвижной пожарной техники должны быть оборудованы и обозначены места заземления. Места заземления передвижной пожарной техники определяются специалистами энергетических объектов совместно с представителями пожарной охраны и обозначаются знаками заземления.
Столы и шкафчики (тумбочки) в отделениях машинного набора должны быть покрыты листовой нержавеющей или оцинкованной сталью или термостойкой пластмассой.
Настольные фонари монтажных столов и ретушерских пультов должны иметь двойное остекление. Не допускается работать на монтажных столах с разбитым матовым стеклом и заменять его на обычное прозрачное с бумажным рассеивателем.
Запрещается:
· подвешивать на металлоподаватель отливных машин влажные слитки;
· загружать отливной котел наборными материалами, загрязненными красками и горючими веществами;
· оставлять на наборных машинах или хранить около них горючие смывочные материалы и масленки с маслом;
· подходить к отливочному аппарату и работать на машине в спецодежде, пропитанной ГЖ;
· пользоваться для смывки набора и форм бензином, бензолом, ацетоном и скипидаром.
5.4 Мероприятия по охране окружающей среды
Классификация мер по охране окружающей среды на производстве и рабочего места:
· Воздушная среда
· Освещение рабочего места
· Производственный шум
· Производственные вибрации
· Лазерное излучение на производстве
· Электромагнитные излучения диапазона радиочастот (ЭМИ РЧ)
При эксплуатации электроустановок должны приниматься меры для предупреждения или ограничения прямого и косвенного воздействия на окружающую среду выбросов загрязняющих веществ атмосферу и сбросов сточных вод в водные объекты, снижения звукового давления и сокращения потребления воды из природных источников.
Выброс загрязняющих веществ в атмосферу должен быть не выше нормы предельно допустимых или временно согласованных выбросов, сброс загрязняющих веществ в водные объекты - норм предельно допустимых сбросов, шумовое воздействие – норм звуковой мощности, установленных для каждого объекта.
На предприятии, эксплуатирующем электрооборудование с большим объемом масла, должны быть разработаны мероприятия по предотвращению аварийных и других залповых выбросов его в окружающую среду.
Предприятия, на которых при эксплуатации электроустановок образуются токсичные отходы, должны обеспечивать их своевременную утилизацию, обезвреживание и захоронения.
Эксплуатация электроустановок без устройств, обеспечивающих соблюдение установленных санитарных норм и природоохранных требований или с неисправными устройствами, не обеспечивающими соблюдение этих требований, запрещается.
5.5 Гражданская оборона
Система Гражданской обороны (ГО) должна решать следующие задачи:
1) Обеспечение защиты населения от оружия массового поражения и других средств нападения противника, что включало:
- укрытие населения в защитных сооружениях;
-эвакуацию его на места, по которым противником могут быть нанесены или ужи нанесены удары;
-снабжение населения средствами индивидуальной защиты.
2) Повышение устойчивости работы объектов и отраслей народного хозяйства в чрезвычайных условиях.
3) Проведение аварийно-спасательных работ при ликвидации последствий нападения противника, а также стихийных бедствий.
Важное место в системе гражданской обороны занимают объекты народного хозяйства (предприятия, организации и учреждения, учебные заведения).
Начальником гражданской обороны предприятия является его директор (руководитель). На всех предприятиях создаются штабы гражданской обороны.
Для выполнения инженерно-технических, медицинских и других специальных мероприятий образованы службы Гражданской обороны: противопожарная, медицинская, охраны общественного порядка, оповещения и связи, автотранспортная, торговли и питания и другие.
Как правило, на промышленных объектах создаются невоенизированные формирования общего назначения: сводные отряды, команды и группы; спасательные отряды, команды и группы невоенизированные формирования служб: разведывательные, связи, противорадиационной и противохимической защиты, обслуживания убежищ и укрытий, охраны общественного порядка и др.
Сводные и спасательные отряды предназначены для ведения спасательных и неотложных аварийно-восстановительных работ.
Разведывательные группы и посты радиационного и химического наблюдения ведут разведку на маршрутах ввода сил гражданской обороны в очаг поражения (заражения), в местах проведения спасательных работ и наблюдают за радиационной, химической и бактериологической обстановкой.
Противопожарные команды предназначены для ведения пожарной разведки, локализации и тушения пожаров на маршрутах выдвижения сил гражданской обороны и на объектах спасательных работ.
Аварийно-технические команды предназначены для локализации аварий на коммунально-энергетических и инженерных сетях.
На команды охраны общественного порядка возлагается поддержание порядка в районах рассредоточения и эвакуации, на маршрутах выдвижения формирований и на объектах в очагах поражения при ведении спасательных и неотложных аварийно-восстановительных работ
Все эти службы оснащаются индивидуальными средствами защиты, приборами радиационной и химической разведки, инструментом, медицинскими препаратами, имеющимися средствами пожаротушения, а так же средствами механизации работ (бульдозерами, экскаваторами, автокранами, компрессорами и т.п.).
Литература
1. Вешневский С.Н. Характеристики электродвигателей в электроприводе – М: Высшая школа, 1984 г.
2. Липкин Б.Ю. Электроснабжение промышленных предприятий и установок – М:Высшая школа, 1981 г.
3. Цигельман И.Е. Электроснабжение гражданских зданий и коммунальных предприятий – М: Энергоатомиздат, 1986 г.
4. Правила устройства электроустановок – М: Главгосэнергогонадзор России, 1998 г.
5. Зимин Е.Н. Электрооборудования промышленных предприятий и установок – М: Энергоиздат, 1981 г.
6. Майстер Н.А. Экономика организаций предприятия: Учебное пособие – Волгоград: ВГЭТК, 2005.
7. Первушина Л.Ф. Методические рекомендации по курсовым работам по экономике, специальность 1806 – Волгоград: ВГЭТК, 2003.
Похожие рефераты:
Электроснабжение электрооборудование ремонтно-механического цеха
Электрооборудование свинарника на 1200 голов СПК "Холопеничи"
Электроснабжение нефтеперерабатывающего завода
Правила технической эксплуатации электроустановок
Проект новой подстанции для обеспечения электроэнергией нефтеперерабатывающего завода
Разработать лабораторный стенд для испытания устройств защиты судовых генераторов
Компенсация реактивной мощности в системах электроснабжения с преобразовательными установками
Реконструкция подстанции "Гежская" 110/6 кВ
Электроснабжение текстильного комбината
Правила охраны труда при эксплуатации электроустановок
Модернизация релейной защиты на тяговой подстанции Улан-Удэ на базе микропроцессорной техники