| Скачать .docx |
Дипломная работа: Дипломная работа: зависимая повеска автомобилей
План:
Введение.
1.Теоретическая часть.
1.1.Назначение.
1.2.Основное устройство.
1.3.Конструкция подвесок.
1.4.Амортизаторы.
1.5.Плюсы и минусы зависимой подвески.
2.Технологический процесс.
2.1. Замена рессор Зил-130.
2.2. Безопасность труда при техническом обслуживании и ремонте автомобиля.
3.Графическая часть.
Заключение.
ВВЕДЕНИЕ
Автомобильный транспорт в отличии от других видов транспортных средств является наиболее массовым и удобным для перевозки грузов и пассажиров на относительно небольшие расстояния. Он обладает большей маневренностью, хорошей приспосабливаемостью и проходимостью в различных климатических и биографических условиях.
Автомобильный транспорт играет важную роль в транспортной системе страны. Работой автомобильного транспорта обеспечивается нормальное функционирование предприятий. Свыше 80% объема всех перевозимых грузов приходится на этот вид транспорта, именно автомобильный подвоз является началом и завершением любых перевозок (железнодорожных, морских, воздушных). Ежедневно автобусы и легковые автомобили перевозят десятки миллионов людей.
Повышение надежности автомобиля и снижение затрат на их содержание составляют одну из важнейших задач народного хозяйства. С целью решения данной проблемы, заводы изготовители транспортных средств установили нормы технического обслуживания и ремонта с учетом эксплуатации.
Безотказная работа автомобиля в значительной степени зависит от своевременного и качественного выполнения технического обслуживания.
Техническое обслуживание предназначено для поддержки автомобилей в работоспособном состоянии приличном внешнем виде. Для уменьшения интенсивного изнашивания деталей, а также для выявления отказов и неисправностей с целью их своевременного устранения.
Техническое обслуживание является профилактическим мероприятием, проводится в плановом порядке через определенный пробег или срок службы. Из-за несвоевременного или некачественного технического обслуживания происходит быстрый износ агрегатов и узлов двигателя, а также увеличивается вероятность поломок автомобиля.
Одним из важных механизмов автомобиля является подвеска. Подвеска
подразделяется на две группы: зависимая и независимая подвески. Благодаря подвеске автомобиль, может двигаться плавно даже на неровных поверхностях не, допуская износа других агрегатов и их разрушений. Подвеска состоит из многих узлов и, элементов, которые при износе заменяются.
1.1.Назначение.
Подвеской называется совокупность устройств, осуществляющих упругую связь колес с несущей системой автомобиля (рамой или кузовом).
Подвеска служит для обеспечения плавности хода автомобиля и повышения безопасности его движения.
Плавность хода — свойство автомобиля защищать перевозимых людей и грузы от воздействия неровностей дороги. Смягчая толчки и удары от дорожных неровностей, подвеска обеспечивает возможность движения автомобиля без дискомфорта и быстрой утомляемости людей и повреждения грузов.
Подвеска повышает безопасность движения автомобиля, обеспечивая постоянный контакт колес с дорогой и исключая их отрыв от нее.
Подвеска разделяет все массы автомобиля на две части — подрессоренные и неподрессоренные.
Подрессоренные — части, опирающиеся на подвеску: кузов, рама и закрепленные на них механизмы.
Неподрессоренные — части, опирающиеся на дорогу: мосты, колеса, тормозные механизмы.
При движении по неровной дороге подрессоренные части автомобиля колеблются с низкой частотой (60... 150 мин-1), а неподрессоренные — с высокой чистотой (350...650 мин-1).
1.2.Основное устройство.
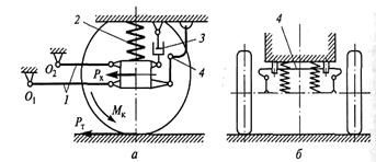
Подвеска автомобиля (рисунок 1) состоит из четырех основных устройств — направляющего 1, упругого 2, гасящего 3 и стабилизирующего 4.
Направляющее устройство подвески направляет движение колеса и определяет характер его перемещения относительно кузова и дороги. Направляющее устройство передает продольные и поперечные силы и их моменты между колесом и кузовом автомобиля.
Упругое устройство подвески смягчает толчки и удары, передаваемые от колеса на кузов автомобиля, при наезде на дорожные неровности. Упругое устройство исключает копирование кузовом неровностей дороги и улучшает плавность хода автомобиля.
Гасящее устройство подвески уменьшает колебания кузова и колес автомобиля, возникающие при движении по неровностям дороги, и приводит к их затуханию. Гасящее устройство превращает механическую энергию колебаний в тепловую энергию последующим ее рассеиванием в окружающую среду.
Рисунок 1. Схемы подвески (а) и стабилизатора (б) поперечной устойчивости:
1 — направляющее устройство; 2 — упругое устройство; 3 — гасящее устройство (амортизатор); 4 — стабилизирующее устройство (стабилизатор)
Стабилизирующее устройство подвески уменьшает боковой креп и поперечные угловые колебания кузова автомобиля.
Подвеска обеспечивает движение автомобиля, и ее работа осуществляется следующим образом. Крутящий момент Мк, передаваемый от двигателя на ведущие колеса, создает между колесом дорогой силу тяги Рг, которая приводит к возникновению на ведущем мосту толкающей силы Рх. Толкающая сила через направляющее устройство 1 подвески передается на кузов автомобиля приводит его в движение. При движении по неровностям дороги колесо перемещается в вертикальной плоскости вокруг точек и О2. Упругое устройство 2 подвески деформируется, а кузов колеса совершают колебания, гасит которые амортизатор. Корпус амортизатора 3, заполненный амортизаторной жидкостью, прикреплен к балке моста. В корпусе находится поршень с отверстием и клапанами, шток которого связан с кузовом автомобиля. В процессе колебаний кузова и колес поршень совершает возвратно поступательное движение. При ходе сжатия (колесо и кузов сближаются) амортизаторная жидкость из полости под поршнем вытесняется в
полость над поршнем, а при ходе отдачи (колесо кузов расходятся) перетекает в обратном направлении. При этом жидкость проходит через отверстия в поршне, прикрываемые клапанами, испытывает сопротивление, и в результате жидкостного трения обеспечивается гашение колебаний кузова и колес автомобиля. Боковой крен и поперечные угловые колебания кузова автомобиля уменьшает стабилизатор 4 поперечной устойчивость который представляет собой специальное упругое устройстве устанавливаемое поперек автомобиля. Средней частью стабилизатор связан с кузовом, а концами — с рычагами подвески. При боковых кренах и поперечных угловых колебаниях кузова концы стабилизатора перемещаются в разные стороны: один опускается, а другой поднимается. Вследствие этого средняя часть стабилизатора закручивается, препятствуя тем самым крену и поперечным угловым колебаниям кузова автомобиля. В то же время стабилизатор не
препятствует вертикальным и продольным угловым колебаниям кузова, при которых он свободно поворачивается в своих опорах.
Рисунок 2. Типы подвесок, классифицированных по различным признакам
На автомобилях в зависимости от их класса и назначения применяются различные типы подвесок (рисунок 2).
По направляющему устройству все подвески автомобилей разделяются на два основных типа — зависимые и независимые.
Зависимой называется подвеска (рисунок 3, а), при которой колеса одного моста связаны между собой жесткой балкой, вследствие чего перемещение одного из колес вызывает перемещение другого колеса.
На легковых автомобилях зависимые подвески применяются обычно для задних колес. Они просты по конструкции и в обслуживании, имеют малую стоимость.
Независимой называется подвеска (рисунок 3, б), при котом колеса одного моста не имеют между собой непосредственно связи, подвешены независимо друг от друга и перемещение одного колеса не вызывает перемещения другого колеса.

По направлению движения колес относительно дороги и кузова автомобиля независимые подвески могут быть с перемещением колес в поперечной, продольной и одновременно в продольной и поперечной плоскостях.
Рисунок 3 Схемы зависимой (а) и независимой (б) подвесок
Независимые подвески в легковых автомобилях применяются для передних и задних колес. Эти подвески обеспечивают более высокую плавность хода, чем зависимые подвески, но сложное по конструкции, при обслуживании и более дорогостоящие. Тип подвески автомобиля также определяет и ее упругое устройство, которое может быть выполнено в виде листовой рессоры, спиральной пружины, торсиона и пневмобаллона. При этом упругость подвески обеспечивается за счет упругих свойств
металла, из которого изготовлены рессоры, пружины и торсионы.
В соответствии с упругим устройством подвески называются рессорными, пружинными, торсионными и пневматическими. Рессорные подвески в качестве упругого устройства имеют листовые рессоры (рисунок 4, а).
Рессора состоит из собранных вместе отдельных листов выгнутой формы. Стальные листы имеют обычно прямоугольное сечение, одинаковую ширину и различную длину. Кривизна листов и неодинакова и зависит от их длины. Она увеличивается с уменьшением длины листов, что необходимо для плотного прилегания их друг к другу в собранной рессоре. Вследствие различной кривизны листов также обеспечивается разгрузка листа 1 рессоры.
Рисунок 4. Упругие устройства подвески:
а — рессора; б — пружина; в — торсион; г — пневмобаллон; 1 — коренной ли 2, 5 — болты; 3 — хомут; 4 — прокладка; 6, 7 — кольца; 8 — оболочка
Взаимное положение листов в собранной рессоре обычно обеспечивается стяжным центровым болтом 2. Кроме того, листы скреплены хомутами 3, которые исключают боковой сдвиг одного листа относительно другого и передают нагрузку от листа 1 разгружают его на другие листы при обратном прогибе рессоры. Лист 1, имеющий наибольшую длину, называется коренным. Часто он имеет и наибольшую толщину. С помощью коренного листа концы рессоры крепят к раме или кузову автомобиля. От способа крепления рессоры зависит форма концов коренного листа, которые в легковых автомобилях делаются загнутыми в виде ушков.
При сборке рессоры ее листы смазывают графитовой смазкой, которая предохраняет их от коррозии и уменьшает трение между ними. В рессорах легковых автомобилей для уменьшения трения между листами по всей длине или на концах листов часто устанавливают специальные прокладки 4 из неметаллических антифрикционных материалов (пластмассы, фанеры, фибры и т.п.).
Основным преимуществом листовых рессор является их способность выполнять одновременно функции упругого, направляющего, гасящего и стабилизирующего устройств подвески.
Листовые рессоры способствуют также гашению колебаний кузова и колес автомобиля. Кроме того, листовые рессоры просты и изготовлении и легко доступны для ремонта в эксплуатации. По сравнению с упругими устройствами других типов листовые рессоры имеют повышенную массу (наиболее тяжелые), менее долговечны, обладают сухим (межлистовым) трением, ухудшают плавность хода автомобиля и требуют ухода (смазывания) в процессе эксплуатации.
Листовые рессоры получили наибольшее применение в зависимых подвесках. Обычно их располагают вдоль автомобиля.
Концы рессоры шарнирно соединяют с рамой или кузовом автомобиля. Передний конец закрепляют с помощью пальца, а задний — чаще всего подвижной серьгой. При таком соединении концов рессоры ее длина может изменяться во время движения автомобиля. Для крепления концов рессоры применяют шарниры различных типов.
Пружинные подвески в качестве упругого устройства имеют спиральные (витые) цилиндрические пружины (рисунок 4, б).
Пружины подвески изготавливают из стального прутка круглого сечения.
В подвеске витые пружины воспринимают только вертикальные нагрузки и не могут передавать продольные и поперечные усилия и их моменты от колес на раму и кузов автомобиля. Поэтому при их установке требуется применять направляющие устройства. При использовании витых пружин также необходимы гасящие устройства, так как в пружинах отсутствует трение. По сравнению с листовыми рессорами спиральные пружины имеют меньшую массу, более долговечны, просты в изготовлении и не требуют технического обслуживания.
Спиральные пружины в качестве основного упругого элемента применяются
главным образом в независимых подвесках и значительно реже в зависимых. Их обычно устанавливают вертикально на нижние рычаги подвески.
Торсионные подвески в качестве упругого устройства имеют торсионы (рисунок 4, в).
Торсион представляет собой стальной упругий стержень, работающий на скручивание. Он может быть сплошным круглом сечения, а также составным — из круглых стержней или прямо угольных пластин. На концах торсиона имеются головки (угол трения) с нарезанными шлицами или выполненные в форме многогранника (шестигранные и т.д.). С помощью головок торсион одним концом крепится к раме или кузову автомобиля, а другим к рычагам подвески. Упругость связи колеса с рамой обеспечивается вследствие скручивания торсиона.
Торсионы, как и пружины, требуют применения направляющих и гасящих устройств. По сравнению с листовыми рессорами торсионы имеют те же преимущества, что и спиральные пружины. Однако по сравнению со спиральными пружинами торсионы менее долговечны. Торсионы наиболее распространены в независимых подвесках. Их располагают вдоль или поперек автомобиля.
Пневматические подвески в качестве упругого устройства имеют пневматические баллоны различной формы. Упругие свойства в таких подвесках обеспечиваются за счет сжатия воздуха. Наибольшее применение в пневматических подвесках получили двойные (двухсекционные) круглые баллоны.
Двойной круглый баллон (рисунок 4, г) состоит из эластичном оболочки 8, опоясывающего или разделительного кольца 7 и прижимных колец 6 с болтами 5. Оболочка баллона резинокордовая, обычно двухслойная. Корд оболочки капроновый или нейлоновый. Внутренняя поверхность оболочки покрыта воздухонепроницаемым слоем резины, а наружная — маслобензостойкой резиной. Для упрочнения бортов оболочки внутри размещена металлическая проволока, как у покрышки пневматической шины. Опоясывающее кольцо 7 служит для разделения секций баллона и позволяет уменьшить его диаметр. Прижимные кольца 6 с болтами 5 предназначены для крепления баллона. Грузоподъемность двойных круглых баллонов обычно составляет 2... 3 т при внутреннем давлении воздуха 0,3...0,5 МПа. Двойные круглые баллоны распространены в подвесках автобусов, грузовых автомобилей, прицепов и полуприцепов. Обычно баллоны располагают вертикально в количестве от двух (передние подвески) до четырех (задние подвески).
Резиновые упругие элементы широко применяются в подвесках современных автомобилей в виде дополнительных упругих устройств, которые называются
ограничителями, или буферами. Часто внутрь буферов вулканизируют металлическую арматуру, которая повышает их долговечность и служит для крепления буферов.
Буфера подразделяются на буфера сжатия и отдачи. Первые ограничивают ход колес вверх, а вторые — вниз. При этом буфера сжатия ограничивают деформацию упругого устройства подвески и увеличивают его жесткость. Буфера сжатия и отдачи совместно применяют обычно в независимых подвесках. В зависимых подвесках используют главным образом буфера сжатия.
![]() |
1.3.Конструкции подвесок.
Рассмотрим конструкцию передней подвески легковых автомобилей.
|
|
Рисунок № 5.Передняя подвеска: 1 – поперечная тяга передней подвески; 2 – пружина передней подвески; 3 – буфер сжатия передней подвески; 4 – опора пружины передней подвески; 5 – втулки верхнего крепления амортизатора; 6 – амортизатор передней подвески; 7 – рама; 8 – стремянки штанги стабилизатора поперечной устойчивости; 9 – продольная штанга передней подвески; 10 – штанга стабилизатора поперечной устойчивости; 11 – муфта отключения колеса; 12 – передняя ступица; 13 – поворотный кулак |
На рисунке №5 подвеска зависимая, состоит из двух шаровых шкворней с каждой стороны, двух продольных штанг, одной поперечной тяги, витых цилиндрических пружин, гидравлических телескопических амортизаторов и стабилизатора поперечной устойчивости.
Продольные штанги и поперечная тяга — это направляющие элементы передней подвески, которые обеспечивают правильную фиксацию переднего моста, что, в свою очередь, влияет на управляемость, устойчивость и тормозные качества автомобиля.
Продольные штанги соединены с передним мостом с помощью неразборных резинометаллических шарниров (сайлентблоков) и кронштейнов, а с рамой посредством кронштейна через резиновые шарниры. Максимальный ход подвески вверх ограничен резиновым буфером. Для гашения колебаний подвески автомобиля предназначены два телескопических амортизатора, которые служат также для ограничения хода подвески вниз.
|
|
На цапфах поворотных кулаков установлены ступицы 10 Каждая ступица вращается на двух роликовых конических подшипниках. На ступице установлен тормозной диск. Со стороны тормозного щита ступица уплотнена сальником, а снаружи — прокладкой с муфтой отключения колеса. Затяжку подшипников ступицы регулируют гайкой, которую фиксируют на цапфе замочной шайбой с контргайкой.
Передняя подвеска грузовых автомобилей КамАЗ показана на рисунке 9, а. Подвеска зависимая, рессорная, с амортизаторами. Она выполнена на двух продольных полуэллиптических рессорах с двумя гидравлическими телескопическими амортизаторами. Каждая рессора средней частью прикреплена к балке переднего моста
стремянками 1 и накладкой 5. Между рессорой и балкой моста установлена подкладка 6 с кронштейном для крепления нижнего конца амортизатора 4. Взаимное положение листов рессоры обеспечивается специальными коническими углублениями, выполненными в средней части листов, а собранной рессоры относительно балки моста — штифтом 7. Передний конец рессоры имеет съемное ушко 75 с втулкой 14, прикрепленное к коренному листу рессоры
болтом 11 и накладкой 9. Конец рессоры крепится к раме в кронштейне 12 шарнирно на гладком пальце 13, который фиксируется двумя стяжными болтами 10. Задний конец рессоры — скользящий. Он свободно установлен в кронштейне 7 рамы и опирается на сухарь 19. К заднему концу рессоры прикреплена накладка, предохраняющая коренной лист от изнашивания. Для предохранения от изнашивания кронштейна 17 на пальце 18 сухаря установлены вкладыши 16.
Ход переднего моста вверх ограничивают полые резиновые буфера 2 сжатия, установленные на лонжеронах рамы. Амортизаторы 4 нижними концами присоединены к кронштейнам подкладок 6, а верхними — к кронштейнам 3 рамы. Для крепления амортизаторов применяются резинометаллические шарниры.
Рисунок 7 Передняя (а) и задняя (б) подвески грузовых автомобилей
КамАЗ:
1, 21 — стремянки; 2 — буфер; 3, 12, 17, 29, 30 — кронштейны; 4 — амортизатор; 5, 9, 20 — накладки; 6 — подкладка; 7 — штифт; 8, 22 — рессоры; 10, 11 — болты; 13, 18— пальцы; 14— втулка; 15— ушко; 16— вкладыш; 19— сухарь; 23 — опора; 24, 32 — мосты; 25 — ступица; 26 — ось; 27 — шарнир; 28, 31 — штанги
Задняя подвеска грузовых автомобилей КамАЗ (рисунок 9, б) балансирная, зависимая. Основными ее частями являются две продольные полуэллиптические рессоры и шесть продольных реактивных штанг. Каждая рессора 22 прикреплена средней частью к ступице 25 накладкой 20 и двумя стремянками 21. Концы
рессоры свободно установлены в опорах 23, прикрепленных к балкам среднего 32 и заднего 24 ведущих мостов. Ступица 25 установлена на изготовленной из антифрикционного материала втулке на оси 26, закрепленной в кронштейне 29, который
связан с кронштейном 30 подвески, прикрепленным к лонжерону рамы. Ступица крепится на оси гайкой и защищена снаружи крышкой, а с внутренней стороны — манжетами и уплотнительными кольцами. В крышке имеется отверстие с пробкой для заливки масла.
Средний 32 и задний 24 ведущие мосты соединены каждый с рамой тремя реактивными штангами — двумя нижними 28и верхней 31. Концы реактивных штанг закреплены в кронштейнах на
раме и мостах самоподжимными шарнирами 27. Эти шарниры состоят из шаровых пальцев, внутренних и наружных вкладышей и поджимающих их пружин. Шарниры закрыты крышками, ушки манжетами и смазываются через масленки.
Ход среднего и заднего мостов вверх ограничивается рези новыми буферами, которые установлены на лонжеронах рамы. Гашение колебаний в подвеске происходит за счет трения между листами рессор.
На рисунок 10 представлена задняя подвеска автобуса. Подвеска зависимая, пневматическая, с амортизаторами. Она выполнена на четырех пневматических баллонах с реактивными штангами, четырьмя гидравлическими телескопическими амортизаторами и стабилизатором поперечной устойчивости торсионного типа. Упругим устройством подвески являются двойные круглые баллоны 7, снабженные дополнительными резервуарами 3 и заполненные сжатым воздухом. Баллоны установлены попарно с каждой стороны между кузовом автобуса и специальными кронштейнами 8, закрепленными на балке заднего моста.
Рисунок 8. Задняя подвеска автобуса:
1 — регулятор; 2, 9 — штанги; 3 — резервуар; 4 — амортизатор; 5, 6 — буфера; 7 — баллон; 8 — кронштейн
Регуляторы 7 постоянства высоты кузова размещены на его основании и через тяги соединены с кронштейнами 8. Передача толкающих усилий и во
сприятие реактивных моментов осуществляются штангами 2 и 9, которые соединяют задний мост с кузовом. В подвеске с каждой стороны
расположено по два амортизатора 4, а также буфера сжатия 6 и отдачи 5.

1.4.Амортизаторы.
Амортизаторами называются устройства, преобразующие механическую энергию колебаний в тепловую с последующим ее рассеиванием в окружающую среду.
Амортизаторы служат для гашения колебаний кузова и колес автомобиля и повышения безопасности движения автомобиля.
На автомобилях в передних и задних подвесках применяются гидравлические амортизаторы телескопического типа (рисунок 11).
Рисунок 9. Типы гидравлических амортизаторов, классифицированных по различным признакам
Гидравлические амортизаторы по конструкции аналогичны поршневым насосам. Отличие состоит в том, что амортизаторная жидкость (масло) перекачивается только внутри амортизаторов из одной камеры в другую по замкнутому кругу циркуляции. При этом амортизаторы работают при давлении 3,0...7,5 МПа, скорости перетекания жидкости 20...30 м/с и при работе могут нагреваться до 160 °С и более.
Гидравлические амортизаторы гасят колебания кузова и колес автомобиля в результате создаваемого ими сопротивления (жидкостного трения) перетеканию жидкости через клапаны и калиброванные отверстия.
Амортизаторы повышают безопасность движения автомобиля, гак как предотвращают отрыв колес от поверхности дороги и обеспечивают их постоянный контакт с дорогой.
Двухтрубные амортизаторы имеют рабочий цилиндр и резервуар, а однотрубные — только рабочий цилиндр.
В двухтрубных амортизаторах амортизаторная жидкость и воздух
соприкасаются между собой, а внутреннее давление воздуха составляет 0,08...0,1 МПа.
В однотрубных амортизаторах амортизаторная жидкость и газ разделены и не соприкасаются друг с другом.
В амортизаторах низкого давления внутреннее давление газа до 0,1 МПа или несколько больше, а в амортизаторах высокого давления 1,0 МПа и выше. Однотрубные амортизаторы высокого давления называются газонаполненными амортизаторами.
Однотрубные газонаполненные амортизаторы по сравнению с двухтрубными лучше охлаждаются, имеют меньшее рабочее давление, проще по конструкции, легче по массе, более надежны в работе и могут устанавливаться на автомобиле в любом положении — от горизонтального до вертикального. Однако они имеют большую длину и стоимость и требуют высокой точности изготовления и уплотнений.
На рис. 12 представлен гидравлический телескопический амортизатор автомобиля. Амортизатор двухтрубный, низкого давления, двухстороннего действия. Он гасит колебания кузова и колес как при ходе сжатия (колеса и кузов сближаются), так и при ходе отдачи (колеса и кузов расходятся).
Амортизатор состоит из трех основных узлов: цилиндра 12 с днищем 2, поршня 10 со штоком 13 и направляющей втулки 21 с уплотнителями 17, 18, 20. В поршне амортизатора имеются два ряда сквозных отверстий, расположенных по окружности, и установлено поршневое кольцо 27. Отверстия наружного ряда сверху закрыты перепускным клапаном 24 с ограничительной тарелкой 22, находящимся под воздействием слабой пластинчатой пружины 23. Отверстия внутреннего ряда снизу закрыты клапаном отдачи 29 с дисками 25, 28, гайкой 8, шайбой 26 и сильной
пружиной 9.
Рисунок 10. Амортизатор: 1 — проушина; 2 — днище; 3, 4, 2 28 — диски; 5, 9, 23 — пружины, 19 — обоймы; 7, 22 — тарелки; 8, 15 М гайки; 10 — поршень; 11 — резервуар; 12 — цилиндр; 13 — шток; 14 — жух; 16, 27 — кольца; 17, 18, 20 -уплотнители; 21 — втулка; 24, 29
I
клапаны; 26 — шайба; 30 — камера
В днище цилиндра амортизатора расположен клапан сжатия С дисками 3, 4 и пружиной 5, обойма 6 и тарелка 7 которого имеют ряд сквозных отверстий. Цилиндр 12 заполнен амортизаторной жидкостью, вытеканию которой препятствует уплотнитель 18 с обоймой 19, поджимаемый гайкой 75, которая ввернута в резервуар 11 с проушиной 1.
Полость амортизатора, заключенная между цилиндром 12 и резервуаром 11, служит для компенсации изменения объема жидкости в цилиндре по обе стороны поршня, возникающего из-за перемещения штока 13 амортизатора, который защищен кожухом 14.
При ходе сжатия (колеса и кузов автомобиля сближаются) поршень 10 движется вниз и шток 13 входит в цилиндр 12, а защитное кольцо 16 снимает со штока грязь. Давление, оказываемое поршнем на жидкость, вытесняет ее по двум направлениям: в пространство над поршнем и в компенсационную камеру 30. Пройдя через наружный ряд отверстий в поршне, жидкость открывает перепускной клапан 24 и поступает из-под поршня в пространство над ним. Часть жидкости, объем которой равен объему вводимого в цилиндр штока, поступает через клапан сжатия в компенсационную камеру, повышая при этом давление находящегося в камере воздуха. При плавном сжатии жидкость в компенсационную камеру перетекает через специальный проход в диске 4 клапана сжатия. При резком сжатии поршень перемещается быстро, и давление жидкости в цилиндре значительно возрастает. Под действием высокого давления прогибается внутренний край дисков 3 и 4, и поток жидкости проходит через кольцевую щель между тарелкой 7 и диском 4 клапана сжатия. В
результате дальнейшее увеличение сопротивления амортизатора резко замедляется.Внутри цилиндра амортизатора находятся рабочая полость 9. заполненная амортизаторной жидкостью, и компенсационная камера 8, заполненная газом. Камера компенсирует изменение объема жидкости в рабочей полости при ее нагревании и охлаждении, при входе штока поршня в цилиндр и выходе из него за счет изменения объема сжатого газа в камере. Газ и жидкость разделены плавающим поршнем 6, который ограничивает рабочую полость 9.
В процессе работы амортизатора жидкость перетекает через каналы переменного сечения, выполненные в поршне 4, и клапаны сжатия 3 и отдачи 5. При ходе отдачи поршень 4 перемещается вниз, и жидкость из-под поршня перетекает в полость над поршнем через клапан отдачи 5, испытывая при этом сопротивление. В этом случае давление сжатого газа перемещает разделительный поршень б вниз, компенсируя изменение объема жидкости вследствие выхода штока 1 из цилиндра амортизатора.
При ходе сжатия поршень 4 перемещается вверх, и жидкость из надпоршневого пространства перетекает в полость под поршнем через клапан сжатия 3, также испытывая сопротивление. При этом давлением жидкости перемещается вверх разделительный поршень, сжимает газ в компенсационной камере 8 и компенсирует изменение объема жидкости в рабочей полости амортизатора из-за входа штока внутрь цилиндра.
1.5.Плюсы и минусы зависимой подвески.
Основным недостатком этого типа подвески является значительная масса балки заднего моста. Этот показатель особенно возрастает, когда мост выполняется ведущим: приходится "нагружать" балку весом картера главной передачи, редуктора и т.п. А приводит все это к возрастанию так называемых неподрессоренных масс, из-за чего значительно ухудшается плавность хода и появляются вибрации.
Но несмотря на совершенствование конструкции, все зависимые подвески обладают одним и весьма существенным минусом: проявляется несбалансированное поведение автомобиля при старте и торможении. Машина начинает "приседать" при интенсивном разгоне и "клевать носом" во время торможения. Для устранения этого эффекта стали применять дополнительные направляющие элементы.
Плюс зависимой задней подвески подобного типа - очевидная простота конструкции, правда, это имеет какое-либо серьезное значение только для производителя. На практике же рядового автомобилиста ожидают только минусы: недостаточная эффективность работы рессор, как направляющих элементов. При достижении высоких скоростей относительно "мягкие" рессоры оказываются не в состоянии придавать заднему мосту необходимое положение в пространстве, отчего сильно ухудшается сцепление шин с дорогой, и, как следствие, проявляется неудовлетворительная управляемость машины на высоких скоростях.
2.1.Замена рессор автомобиля Зил-130.
Отсоединяем амортизаторы от подкладок вывешиваем заднюю часть автомобиля.
|
|
Головкой “на 19” отворачиваем четыре гайки стремянок. |
|
|
Поддев отверткой, снимаем подкладку рессоры... |
|
|
...и обойму вместе с резиновой подушкой. |
|
|
Снимаем стремянки рессор... |
|
|
...и буфер. |
|
|
Приподнимаем освободившуюся сторону заднего моста над рессорой (10–15 мм), подставив под кожух полуоси домкрат или подставку. |
|
|
Снимаем с рессоры обойму... |
|
|
...с резиновой подушкой. Для наглядности показано при снятой рессоре. |
|
|
Отворачиваем ключом “на 22” гайку пальца… |
|
|
…и специальным съемником с обратной стороны извлекаем палец. |
Вынуть палец без специального съемника трудно, но возможно. Для этого, не отворачивайте гайку пальца полностью, оставьте ее на резьбе – заподлицо с торцом. Заверните два болта в резьбовые отверстия шайбы.
Вставив между ними монтажную лопатку, нужно провернуть палец во втулке или сами втулки внутри рессоры. Будьте осторожны, чтобы не сломать болты. Не стремитесь провернуть палец с первого раза. Простучите соединение через медную оправку, ударяя по пальцу со стороны гайки. Соблюдайте аккуратность – промахнувшись, легко погнуть кронштейн.
|
|
Так, постепенно раскачивая палец, выбиваем его из резиновых втулок. |
Можно вынуть палец за головки болтов, монтажной лопаткой. Болты для этого необходимо соединить друг с другом металлической пластиной.
|
|
Вставив монтажную лопатку между болтами и оперевшись через прокладку о лонжерон, вытягиваем палец. |
|
|
Отворачиваем ключом “на 22” обе гайки серьги. |
|
|
Монтажной лопаткой вынимаем половину серьги и снимаем рессору. |
|
|
Извлекаем из рессоры вторую половину серьги и втулки. |
Разбираем рессору в тисках, зажав ее как можно ближе к центральному болту. Пометьте направление листов рессор,
для облегчения сборки.
Распрямляем концы хомутов и снимаем их.
|
|
Ключами “на 17“ и “14” отворачиваем гайку центрального болта... |
|
|
...и вынимаем болт. |
Смазываем графитной смазкой и сжимаем листы рессоры в тисках, совместив отверстия стержнем диаметром 10 мм.
Собираем и устанавливаем рессору в обратной последовательности. При этом сначала присоединяем рессору к кронштейну кузова (коротким концом вперед), а затем крепим серьгу.
|
|
Резиновые втулки непосредственно перед установкой смочите бензином и, сразу же, не дав им высохнуть, вставьте в шарнир. Гайки пальцев серьги следует заворачивать поочередно, чтобы не погнуть пластины серьги. |
Окончательно затягиваем гайки крепления рессор, опустив автомобиль на колеса.
Также поочередно подтягиваем и гайки стремянок.
Окончательно затягиваем стремянки рессор до соприкосновения фланцев обойм друг с другом. При этом рекомендуется загрузить багажник так, чтобы рессоры выпрямились.
2.2.безопасность труда при техническом обслуживании и ремонте автомобиля.
Техническое обслуживание и ремонт автомобилей выполняются, как правило, в помещениях, в предназначенных для этого местах (на постах), оборудованных необходимыми для выполнения работ устройствами (осмотровыми канавами, эстакадами, подъемниками и т.п.), а также подъемно-транспортными механизмами, приборами, приспособлениями и инвентарем.
Расположение рабочих мест в помещениях технического обслуживания автомобилей должно исключать возможность наездов автомобилей на работающих. Канавы и эстакады должны иметь направляющие предохранительные реборды для предотвращения возможности падения автомобиля в канаву или с эстакады во время его передвижения. Площадки эстакад, на которых работают рабочие, должны надежно ограждаться перилами.
В помещениях для обслуживания автомобилей запрещается оставлять порожнюю тару из-под топлива и смазочных материалов. По окончании каждой смены и после выхода автомобилей на линию необходимо убирать из помещений и осмотровых канав мусор, отходы и т. п. Разлитое масло или топливо необходимо немедленно удалять при помощи песка или опилок, которые после употребления следует ссыпать в металлические ящики с крышками, установленные вне помещения. Использованные обтирочные материалы (промасленные концы, тряпки и пр.) должны быть убраны в металлические ящики с плотными крышками, а по окончании рабочего дня удалены в безопасное в пожарном отношении место. Отработавшее масло разрешается хранить вне помещений в железных бочках, либо в специальном огнестойком помещении, либо в подземных цистернах.
Помещения для ремонта автомобилей должны обеспечивать нормальные санитарные условия труда.
В ремонтной зоне запрещается:
- пользоваться открытым огнем, переносными горнами, паяльными лампами и т.п. в тех помещениях, где применяются легковоспламеняющиеся и горючие жидкости (бензин, керосин, краски, лаки разного рода и пр.), а также в помещениях с легковоспламеняющимися материалами (деревообделочных, обойных и других цехах);
- мыть детали бензином и керосином (для этого должно быть специально приспособленное помещение);
- хранить легковоспламеняющиеся и горючие жидкости в количествах, превышающих сменную потребность;
- ставить автомобили при наличии подтекания топлива из бака (топливо необходимо сливать), а также заправлять автомобили топливом;
- хранить чистые обтирочные материалы вместе с использованными;
- пользоваться ломами при перекатывании бочек с горючими жидкостями;
- загромождать проходы между стеллажами и выходы из помещений материалами, оборудованием, тарой и т. п.
Хранить в общих складах и кладовых краску, лаки, кислоты, карбид кальция (краски и лаки должны содержаться отдельно от кислот и карбида кальция) запрещается.
До направления на посты технического обслуживания или ремонта автомобили моют и очищают от грязи и снега. При постановке автомобиля на пост технического обслуживания или ремонта на рулевое колесо вывешивают табличку с надписью: «Двигатель не пускать — работают люди!». При обслуживании автомобиля на подъемнике любой конструкции на механизме управления подъемником вывешивают табличку с надписью: «Не трогать — под автомобилем работают люди!». В рабочем положении плунжер подъемника надежно фиксируют упором, гарантирующим самопроизвольное опускание подъемника. В помещениях технического обслуживания с поточным движением автомобилей устраивают световую или звуковую сигнализацию, своевременно предупреждающую работающих на линии обслуживания о моменте начала движения автомобиля с поста на пост.
При постановке автомобиля на пост технического обслуживания или
ремонта без принудительного перемещения, когда не требуется регулировка тормозов, автомобиль затормаживают ручным тормозом и включают низшую передачу, выключают зажигание (подачу топлива) и под колеса подкладывают упоры. При работах, связанных с провертыванием коленчатого и карданного валов, дополнительно проверяют выключение зажигания или подачи топлива (для дизельных автомобилей), рычаг переключения передач ставят в нейтральное положение, а рычаг ручного тормоза — в нерабочее положение. После выполнения необходимых работ вновь включают низшую передачу и рукоятку ручного тормоза ставят в рабочее положение.
При ремонте автомобилей вне осмотровой канавы, эстакады или подъемника лиц, производящих ремонт, обеспечивают подкатными тележками (лежаками). В случае выполнения ремонтных операций, связанных со снятием колес, следует поставить под вывешенный автомобиль козелки, а под неснятые колеса— упоры (башмаки). Производить какие-либо работы на автомобиле со снятыми колесами, вывешенном только на одних подъемных механизмах (домкратах, талях и т.д.), запрещается. Категорически запрещается подкладывать под вывешенный автомобиль диски колес, кирпичи и прочие предметы.
При смене рессор на автомобилях всех конструкций и типов рессоры предварительно разгружают от массы кузова. Для этого кузова поднимают подъемным механизмом и ставят на козелки, конструкция которых должна гарантировать автомобиль от падения.
Техническое обслуживание и ремонт автомобиля с работающим двигателем не разрешается за исключением регулировки двигателя и опробования тормозов при условии отвода отработавших газов из помещения. Ремонтировать автомобиль-самосвал при поднятом кузове можно только после укрепления кузова прочными металлическими упорами (штангами), исключающими возможность его самопроизвольного опускания. Не разрешается использование вместо упора различных случайных подставок или подкладок (ключей, ломов, деревянных брусьев и т. д.). При замене подъемного механизма обязательна установка второго металлического упора. Работать под поднятым и неразгруженным кузовом без установки упора запрещается.
При ремонте и обслуживании автобусов и грузовых автомобилей с высокими кузовами рабочих обеспечивают лестницами-стремянками со ступенями шириной не менее 15 см. Применять приставные лестницы не разрешается.
В случае ремонта автомобиля-цистерны для перевозки легковоспламеняющихся и взрывоопасных грузов цистерну надежно заземляют. При спуске людей в цистерны и другие емкости из-под
этилированного бензина, легковоспламеняющихся или ядовитых жидкостей для очистки и ремонта принимают следующие меры безопасности:
- полностью удаляют пары,
- выдают работающим спецодежду
- применяют шланговые противогазы,
- спасательные пояса с веревками,
- непрерывно наблюдают за работающими и др.
Работу выполняют не менее двух человек один из которых находится сверху, наблюдает за работой, держит веревку, прикрепленную к спасательному поясу, страхуя работающего в цистерне.
Ремонт топливозаправочных колонок, насосов и другой заправочной аппаратуры без демонтажа производится на открытом воздухе с подветренной стороны или в хорошо вентилируемом помещении, чтобы максимально защитить работающих от вдыхания паров бензина. Во время работы руки следует периодически мыть керосином, а после работы — теплой водой с мылом.
В случае необходимости ремонта днища кузова легкового автомобиля на поворотном стенде, автомобиль надежно укрепляют, топливо из топливных баков и воду из системы охлаждения сливают, плотно закрывают маслозаливную горловину двигателя, аккумуляторную батарею снимают. Если снятие агрегатов и деталей связано с большим физическим напряжением, а также создает неудобства в работе (например, тормозные и клапанные пружины, барабаны, рессорные пальцы и т.д.), следует применять приспособления (съемники), обеспечивающие безопасность при выполнении этой работы. Применять съемник следует только для той операции, для которой он предназначен. При работе со съемником необходимо следить за правильной установкой съемника на детали. Захваты должны надежно и правильно держать деталь. При применении съемника не следует употреблять никаких дополнительных рычагов с целью удлинения воротка съемника.
При разборке автомобиля на агрегаты снимать, транспортировать и устанавливать двигатель, коробку передач, задний мост, передний мост, кузов и раму необходимо при помощи подъемно-транспортных механизмов, оборудованных приспособлениями (захватами), обеспечивающими полную безопасность работ. Запрещается поднимать (даже кратковременно) грузы массой, большей, чем это указано для данного подъемного механизма. Запрещается снимать, устанавливать и транспортировать агрегаты при зачаливании их тросом и канатами без специальных захватов. Тележки для
транспортирования должны иметь стойки и упоры, предохраняющие агрегаты от падения и самопроизвольного перемещения по платформе. До снятия двигателя, коробки передач, заднего моста,
радиатора и других агрегатов или деталей, связанных с системами охлаждения и смазки автомобиля, обязателен предварительный слив масла и воды в специальную тару.
Стенды для монтажно-демонтажных работ при ремонте агрегатов должны соответствовать своему назначению и быть удобными. Устройства для закрепления агрегатов должны исключать возможность смещения или падения агрегатов. Инструменты и приспособления для технического обслуживания и ремонта машин должны быть исправными и соответствовать своему назначению. Нельзя пользоваться неисправными инструментами и приспособлениями.
Заключение.
В данной работе указаны основные неисправности зависимой подвески автомобилей. Представлен технологический процесс замены рессор автомобиля Зил-130. При выполнении представленной работы я научился работе с зависимой подвеской и её узлами. Также выяснил что автомобиль не мог бы двигаться без нее. Также в данной работе представлена общая техника безопасности и техника безопасности при работе с подвеской. Конструкция подвески еще окончательно не определилась в виде оптимального узла для всех типов и классов автомобилей. По-прежнему идет нешуточная борьба конструкторских умов за лучшие технические параметры: отбрасываются решения, которые еще вчера казались гениальными, подхватывается самое лучшее, чего добились конкуренты. Данной работой можно пользоваться как руководством при работе с зависимой подвеской.


Рисунок№6.Ступица переднего колеса: 1 – цапфа; 2 – сальник; 3 – упорная шайба сальника ступицы; 4 – внутренний подшипник ступицы; 5 – болт ступицы; 6 – маслоотражатель ступицы; 7 – прокладка маслоотражателя ступицы; 8 – наружная обойма внутреннего подшипника; 9 – внутреннее стопорное кольцо; 10 – ступица; 11 – наружное стопорное кольцо; 12 – наружная обойма наружного подшипника; 13 – наружный подшипник; 14 – стопорная шайба; 15 – регулировочная гайка ступицы; 16 – замочная шайба; 17 – контргайка ступицы

