| Скачать .docx |
Реферат: Система охлаждения двигателя КАМАЗ
ПЛАН
Введение
1. Общее устройство системы охлаждения двигателя КАМАЗ
2. Техническое обслуживание и ремонт системы охлаждения двигателя КАМАЗ
2.1. Техобслуживание системы охлаждения двигателя КАМАЗ
2.2. Ремонт
2.2.1 Подготовительные работы.
2.2.2 Оборудование, приспособления и инструменты, применяемые при работе
2.2.3 Ремонт системы охлаждения двигателя КАМАЗ
3. Охрана труда, противопожарные мероприятия
3. 1 Техника безопасности
3.2. Меры безопасности перед началом работы
3.3. Меры безопасности во время работы
3.4. Меры безопасности в аварийной ситуации
3.5. Противопожарные мероприятия
Заключение
Список литературы
Введение
Во время работы автомобильного двигателя температура в течение рабочего процесса изменяется от минимальной 80—120° С в конце впуска до максимальной 2000—2200° С в конце сгорания смеси.
Если не охлаждать двигатель, то от действия газов будут сильно нагреваться стенки цилиндров и камер сгорания, головка цилиндров, поршни и клапаны. В этих условиях возможно преждевременное воспламенение рабочей смеси (в карбюраторном двигателе) или заклинивание деталей, т. е. выход двигателя из строя. При высокой температуре уменьшается вязкость масла и оно удерживается на рабочей поверхности цилиндров, поршневых колец и поршней. В результате увеличивается трение и износ трущихся поверхностей взаимно сопрягаемых деталей. Из-за сильного нагрева деталей уменьшается наполнение цилиндров смесью или воздухом и снижается мощность двигателя.
Для того чтобы избежать отрицательных явлений, вызываемых перегревом двигателя, его необходимо охлаждать, для чего служит система охлаждения. Нормальная работа системы охлаждения способствует получению наибольшей мощности двигателя, уменьшению расхода топлива и увеличению срока службы двигателя без ремонта.
Чрезмерное охлаждение двигателя автомобиля также нежелательно, так как оно вызывает перерасход топлива. Горючая смесь, поступающая в цилиндр, частично конденсируется на холодных стенках цилиндра, стекает по ним и смывает смазку. Часть топлива в жидком виде проникает в картер и разжижает масло. Качество масла при этом ухудшается и сроки смены его сокращаются. Трение и износ деталей возрастают, а мощность двигателя снижается.
Рассмотрим систему охлаждения двигателя автомобиля КАМАЗ.
1. Общее устройство системы охлаждения двигателя КАМАЗ
Система охлаждения двигателя жидкостная закрытого типа с принудительной циркуляцией охлаждающей жидкости. Основными элементами системы (рис. 1) являются водяной насос 8, радиатор, термостаты 22, вентилятор 10, гидромуфта привода вентилятора, включатель 15 гидромуфты, расширительный бачок 20, перепускные трубы, жалюзи.

Рис. 1. Схема системы охлаждения:
1 - труба перепускная от радиатора к расширительному бачку; 2 - трубка соединительная от компрессора к бачку; 3 - компрессор; 4, 6 - трубы водосборные; 5 - труба соединительная водяная; 7 - труба перепускная термостатов; 8 - насос водяной; 9 - колено отводящего патрубка водяного трубопровода; 10 - вентилятор; 11 - экран сливной системы охлаждения; 12 - труба подводящая правого ряда цилиндров; 13 - патрубок подводящей трубы; 14 -головка цилиндров; 15 - включатель гидромуфты привода вентилятора; 16 - коробка термостатов; 17 - патрубок отвода охлаждающей жидкости из бачка в водяной насос; 18 - патрубок отвода охлаждающей жидкости в отопитель; 19 - кран контроля уровня охлаждающей жидкости; 20 - бачок расширительный; 21- пробка паровоздушная; 22 - термостат; I - из радиатора; II - в насос при закрытых термостатах; III - в радиатор при открытых термостатах

Рис. 2. Термостат:
1,5- клапаны; 2, 4 - пружины; 3, 6 -стойки; 7, 12 - гайки регулировочные; 8 - шток; 9 -баллон; 10 - масса активная (церезин); 11 - вставка резиновая с шайбой
Температура охлаждающей жидкости в системе плюс 8О...98°С. Тепловой режим двигателя регулируется автоматически термостатами и включателем гидромуфты привода вентилятора, которые управляют направлением потока жидкости и работой вентилятора в зависимости от температуры охлаждающей жидкости в двигателе.
Для ускорения прогрева двигателя, а также поддержания температурного режима двигателя в холодное время года перед радиатором установлены жалюзи.
Термостаты (рис. 2) с твердым наполнителем и прямым ходом клапана, предназначенные для автоматического регулирования теплового режима двигателя, размещены в коробке (см. рис. 1), закрепленной на переднем торце правого ряда блока цилиндров.
На холодном двигателе вход жидкости в радиатор перекрыт клапаном 5 (см. рис. 2), а вход в перепускную трубу к водяному насосу открыт клапаном 1. Охлаждающая жидкость циркулирует, минуя радиатор, что ускоряет прогрев двигателя.
При достижении температуры охлаждающей жидкости 80 "С активная масса — церезин 10, заключенная в баллоне 9, плавится, увеличиваясь в объеме. При этом баллон 9 начинает перемещаться вправо, открывая клапан 5 и закрывая клапан 1. Охлаждающая жидкость начинает циркулировать через радиатор. При диапазоне температур 80.... 93 "С охлаждающая жидкость продолжает поступать через перепускную трубу на вход насоса и через радиатор, клапаны 1 и 5 открыты частично.
При температуре 93°С происходит полное открытие клапана 5, при этом вся жидкость циркулирует через радиатор.
При снижении температуры охлаждающей жидкости до 80 "С и ниже объем церезина уменьшается, и клапаны под действием пружин 2 и 4 термостата занимают первоначальное положение.
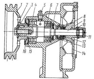
Гидромуфта привода вентилятора (рис. 3) передает крутящий момент от коленчатого вала к вентилятору.
Передняя крышка 1 блока и корпус 2 подшипника соединены винтами и образуют полость, в которой установлена гидромуфта. Ведущий вал 6 в сборе с кожухом 3, ведущее колесо 10, вал 12 и шкив 11, соединенные болтами, составляют ведущую часть гидромуфты, которая вращается в шариковых подшипниках 8, 19. Ведущая часть гидромуфты приводится во вращение от коленчатого вала через шлицевой вал 7. Ведомое колесо 9 в сборе с валом 16, на котором закреплена ступица 15 вентилятора, составляет ведомую часть гидромуфты, вращающуюся в шарикоподшипниках 4, 13. Гидромуфта уплотнена резиновыми манжетами 17, 20.
На внутренних тороидальных поверхностях ведущего и ведомого колес отлиты радиальные лопатки. На ведущем колесе тридцать три лопатки, на ведомом — тридцать две. Межлопаточное пространство колес образует рабочую полость гидромуфты.
Рис. 3. Гидромуфта привода вентилятора:
1 - крышка передняя; 2 - корпус подшипника; 3 - кожух; 4, 8, 13, 19 -подшипники шариковые; 5 - трубка корпуса подшипника; 6 - вал ведущий; 7 - вал привода гидромуфты; 9 - колесо ведомое; 10 - колесо ведущее; 11 - шкив: 12 - вал шкива; 14 - втулка упорная; 15 - ступица вентилятора; 16 - вал ведомый; 17, 20 - манжета с пружинами; 18 - прокладка; 21 – маслоотражатель

Рис. 4. Включатель гидромуфты:
1 -рычаг пробки; 2 - крышка; 3, 8 -шарики; 4 - пробка; 5 - корпус включателя; 6 - клапантермосиловой(корпус); 7-датчик термосиловой; 9 - кольцо
уплотнительное; 10 – пружина.
Передача крутящего момента с ведущего колеса 10 гидромуфты на ведомое колесо 9 происходит при заполнении рабочей полости маслом. Частота вращения ведомой части гидромуфты зависит от количества масла, поступающего в гидромуфту.
Масло поступает через включатель (рис. 4), который управляет работой гидромуфты привода вентилятора. Он установлен в передней части двигателя на патрубке, подводящем охлаждающую жидкость к правому ряду цилиндров.
Включатель имеет три фиксированных положения и обеспечивает работу вентилятора в одном из режимов:
— автоматический — рычаг установлен в положение А
При повышении температуры охлаждающей жидкости, омывающей термосиловой датчик, активная масса, находящаяся в баллоне датчика, начинает плавиться и, увеличиваясь в объеме, перемещает шток датчика и шарик 8 (см. рис. 4).
При температуре жидкости 86...90°С шарик 8 открывает масляный канал. Масло из главной масляной магистрали двигателя по каналам в корпусе включателя, блоке и его передней крышке, трубке 5 (см. рис. 3), каналам в ведущем валу поступает в рабочую полость гидромуфты; при этом крутящий момент от коленчатого вала передается крыльчатке вентилятора.
При температуре охлаждающей жидкости ниже 86 "С шарик под действием возвратной пружины перекрывает масляный канал и подача масла в гидромуфту прекращается; при этом находящееся в гидромуфте масло через отверстие в кожухе 3 сливается в картер двигателя и вентилятор отключается.
— вентилятор отключен—рычаг установлен в положение О (см. рис. 5), масло в гидромуфту не подается, при этом крыльчатка может вращаться с небольшой частотой, увлекаясь трением в подшипниках и уплотнениях гидромуфты и набегающим на вентилятор потоком воздуха при движении автомобиля.
— вентилятор включен постоянно — рычаг установлен в положение II; при этом в гидромуфту постоянно подается масло независимо от температурного режима двигателя, вентилятор вращается постоянно с частотой, приблизительно равной частоте вращения коленчатого вала.

Рис. 5. Положения выключателя гидромуфты привода вентилятора:
I-подача масла из системы смазывания двигателя; II - в гидромуфту
Основной режим работы гидромуфты — автоматический. При отказе включателя гидромуфты в автоматическом режиме (характеризуется перегревом двигателя) включите гидромуфту в постоянный режим (установите рычаг включателя в положение II) и при первой возможности устраните неисправность.
При форсировании глубоких бродов рычаг включателя гидромуфты установите в положение О.
Насос водяной (рис. 6) центробежного типа, установлен на передней части блока цилиндров слева. На шкив 1 насоса крутящий момент передается ремнями от шкива гидромуфты, который вращается с угловой скоростью, равной частоте вращения коленчатого вала.
Валик 9 вращается в подшипниках 4 и 6 полузакрытого типа. Смазывание подшипников в процессе эксплуатации проводится через пресс-масленку 5. Манжета 7 предохраняет подшипники от попадания охлаждающей жидкости при нарушении герметичности уплотнения 13. Шкив Дополнительно закреплен болтом 2.
Для контроля исправности уплотнения в корпусе насоса выполнено дренажное отверстие. Заметное подтекание охлаждающей жидкости через это отверстие является признаком неисправности уплотнения.
Радиатор водяной — трубчато-ленточный, трехрядный, с трубками овального сечения, расположен перед двигателем. Он состоит из верхнего и нижнего бачков, остова и каркаса.
Верхний и нижний бачки припаяны к остову, состоящему из трубок, расположенных в три ряда.. Промежутки между трубками заполнены гофрированной медной лентой, изогнутой змейкой и припаянной к трубкам. К верхнему и нижнему бачкам припаяны две боковые стойки, представляющие собой стальные пластины. Вместе с нижней пластиной образуют они каркас радиатора.
В верхний бачок впаян подводящий патрубок, в нижний — отводящей патрубок.
Радиатор крепят на автомобиле в трех точках на резиновых подушках, степень затяжки которых ограничивается распорными втулками.
Жалюзи — створчатые, управляются из кабины водителя ручкой, расположенной под щитком приборов, справа от рулевой колонки. Чтобы закрыть жалюзи, надо потянуть ручку на себя. Закрывать жалюзи следует при прогревании двигателя, а также при движении в случае понижения температуры охлаждающей жидкости.
Жалюзи радиатора предназначены для регулирования потока воздуха, прокачиваемого через решетку радиатора. Они выполнены в виде набора горизонтальных пластин из оцинкованного железа, объединены общей рамкой и снабжены шарнирным устройством, обеспечивающим одновременный поворот их около осей. Жалюзи прикрепляют к каркасу радиатора перед охлаждающей решеткой.
Вентилятор — осевого типа, пятилопастный, установлен на ведомом валу гидромуфты. Вентилятор вращается в установленном на рамке радиатора диффузоре, который уменьшает подсос лопастями воздуха с боков и тем самым способствует увеличению потока воздуха, просасываемого вентилятором через радиатор.
Бачок расширительный установлен на двигателе с правой стороны по ходу автомобиля и соединен с коробкой термостатов, верхним бачком радиатора и компрессором. Расширительный бачок служит для компенсации изменения объема охлаждающей жидкости при ее расширении от нагревания, а также позволяет контролировать степень заполнения системы охлаждения и способствует удалению из нее воздуха и пара.
В горловине расширительного бачка установлена паровоздушная пробка 21 (см. рис. 4) с впускным (воздушным) и выпускным (паровым) клапанами. Выпускной клапан, нагруженный пружиной, поддерживает в системе охлаждения избыточное давление до 56,9... 78,5 кПа (0,58... 0,80 кгс/см2), впускной клапан, нагруженный более слабой пружиной, препятствует созданию в системе разрежения при остывании двигателя.
Впускной клапан открывается и сообщает систему охлаждения с атмосферой при разрежении 0,98... 12,7
Охлаждающая жидкость заливается в двигатель через горловину расширительного бачка. Уровень жидкости в расширительном бачке контролируется краником 19 контроля уровня, который должен находиться выше крана контрольного уровня, при этом верхний уровень жидкости в бачке должен быть 1/2...2/3
Контроль за температурой охлаждающей жидкости в системе осуществляется указателем на щитке приборов. При возрастании температуры в системе охлаждения до 98 "С в указателе загорается контрольная лампа аварийного перегрева охлаждающей жидкости.

Рис. 6. Насос водяной:
1 - шкив; 2 - болт; 3, 10 - шайбы; 4, 6 - подшипники; 5 - пресс-масленка; 7 - манжета; 8 -кольцо уплотнительное с обоймой; 9 - валик; 11- гайка колпачковая; 12 - кольцо упорное; 13 - уплотнение (сальник); 14 - крыльчатка; 15 - кольцо стопорное; 16 -пылеотражатель
2. Техническое обслуживание и ремонт системы охлаждения двигателя КАМАЗ
2.1. Техобслуживание системы охлаждения двигателя КАМАЗ
Признаками неисправности являются подтекания охлаждающей жидкости, перегрев или чрезмерное охлаждение двигателя. Причинами подтекания жидкости могут быть повреждение шлангов и их соединений, сальника водяного насоса, трещины, и выход из строя прокладок. Перегрев двигателя имеет место при недостаточном количестве охлаждающей жидкости в системе, при образовании накипи, загрязнении радиатора, пробуксовке ремня вентилятора или его обрыве, неисправности термостата, поломке водяного насоса или же при заедании жалюзи радиатора в закрытом положении. Чрезмерное охлаждение двигателя возможно при заедании термостата или жалюзи в открытом положении, отсутствии утеплительных чехлов в зимнее время.
В ежедневное обслуживание входит осмотр герметичности системы и долив охлаждающей жидкости. Если система охлаждения заполнена водой, то в зимнее время при безгаражном хранении автомобиля воду из системы охлаждения, пускового подогревателя, а также из бачка для обмыва ветрового стекла сливают. Перед пуском двигателя систему заполняют горячей водой или подключают двигатель к системе подогрева.
При проведении ТО-l проверяют и при необходимости регулируют натяжение приводных ремней. При ТО-2 проверяют и, если надо, закрепляют вентилятор, радиатор и жалюзи, регулируют натяжение приводных ремней, смазывают подшипники водяного насоса и натяжного устройства ремня вентилятора.
Во время сезонного обслуживания проверяют герметичность системы охлаждения и отопления, а также пускового подогревателя; промывают систему охлаждения; при подготовке к зиме проверяют работу пускового подогревателя. Проверку герметичности проводят визуально; на поверхности шлангов не должно быть трещин, вздутий и расслоений. Для этой проверки лучше использовать прибор, состоящий из воздушного насоса, манометра и устройства для соединения с заливной горловиной радиатора. При опрессовке в верхней части радиатора насосом создают давление около 60 кПа. Если система герметична, то после перекрытия крана стрелка манометра неподвижна; при потере герметичности стрелка укажет на уменьшение давления. Исправность воздушного и парового клапанов пробки радиатора проверяют нажатием на них пальцем.
Промывку системы охлаждения при несильном ее засорении выполняют следующим образом: сливают охлаждающую жидкость, заполняют систему водой; пускают и прогревают двигатель, сливают воду; еще раз так же промывают систему, а затем заполняют ее охлаждающей жидкостью до верхнего среза наливной горловины радиатора при снятой пробке, ставят пробку радиатора на место и заливают жидкость в расширительный бачок на 3-5 см выше метки «MIN». С учетом особенностей конструкции и свойств материалов заводы-изготовители указывают в инструкциях порядок промывки системы охлаждения и рецептуру промывочных жидкостей.
Например, радиатор двигателя КамАЗ-740 снимают и заливают в него раствор, состоящий из 5% каустической соды и 95% воды или 2,5% ингибированной соляной кислоты и 97,5% воды. Температура раствора должна быть 60-80°C и через 30-40 мин раствор сливают и промывают радиатор горячей водой. Для промывки рубашки охлаждения следует применять другой раствор - 1% . кальцинированной соды, 0,5% хромпика и. 98,5% воды.
Перед началом эксплуатации двигателя КАМАЗ необходимо проверить и при необходимости отрегулировать натяжение ремней привода вентилятора, генератора и жидкостного насоса, проверить уровень и при необходимости долить охлаждающую жидкость, топливо в баки, масло в картеры двигателя КАМАЗ, проверить герметичность и при необходимости устранить неисправности в системе охлаждения.
Перед началом работы необходимо проверить уровень жидкости в радиаторе,так как при недостаточном ее количестве нарушается циркуляция жидкости идвигатель перегревается. В систему охлаждения следует наливать чистуюмягкую воду, не содержащую известковых солей. При использовании жесткой воды в радиаторе и водяной рубашке откладывается большое количество накипи, приводящей к перегреву двигателя и снижению его мощности. Частая смена воды в системе охлаждения вызывает усиленное образование накипи. Смягчить воду можно следующими способами: кипячением, добавлением к воде химических веществ и ее магнитной обработкой. Установлено, что, проходя через слабое магнитное силовое поле, вода приобретает новые свойства: теряет способность к накипеобразованию и растворяет ранее образовавшуюся накипь, которая была в системе охлаждения двигателя. Завод допускает работу двигателя при температуре охлаждающей жидкости не более 105 0С.
Для контроля исправности уплотнения в корпусе насоса выполнено дренажное отверстие. Заметное подтекание жидкости через это отверстие свидетельствует о неисправности уплотнения. Необходимо помнить, что закупорка дренажного отверстия приводит к выходу из строя подшипников насоса.
Перед работой необходимо периодически проверять затяжку гайки крепления ступицы шкива, так как ослабление крепления шкива водяного насоса может привести к повреждению вентилятора, радиатора и насоса. При
ослаблении этого соединения следует немедленно подтянуть гайку предварительно вынув шплинт. Усилие затяжки гайки должно быть равным 8,5—10 кгс-м. После подтягивания гайку тщательно шплинтуют.
Закрывать жалюзи следует при прогревании двигателя, а также во время движения в случае понижения температуры охлаждающей жидкости. Жалюзи предназначены для регулирования потока воздуха, просасываемого через решетки радиатора.
Температура охлаждающей жидкости в системе фиксируется указателем на щитке приборов. При возрастании температуры в системе охлаждения до 98°С в указателе загорается контрольная лампа аварийного перегрева охлаждающей жидкости.
Порядок пуска двигателя при помощи пускового подогревателя следующий.
Подготовляют 32—35 л воды для заполнения системы охлаждения. Закрывают жалюзи и открывают капот двигателя. В котел подогревателя через воронку наливают 1,5 л воды и открывают кран. Затем перемещают ручку переключателя в положение II на 45 с; включается электродвигатель ,
открывается электромагнитный клапан, и топливо поступает в камеру сгорания котла. Далее ручку переводят в положение 0 и включают выключатель 24 свечи накаливания. При нагреве контрольной спирали до светло-красного цвета загорается смесь, т. е. происходит вспышка, и раздается хлопок. Первоначально воспламенение топливовоздушной смеси происходит от свечи накаливания. После начала горения смеси включают подогреватель, перемещая ручку переключателя в положение II. Как только в камере сгорания горение смеси станет устойчивым, свечу выключают, и дальнейшее воспламенение топлива происходит от горящей смеси.
В результате сгорания смеси образуются горячие газы, которые проходятпо жаровой трубе и отдают тепло жидкости, залитой в котел. Выходящие изкотла горячие газы по лотку направляются под картер двигателя и нагревают масло; поднимаясь выше, они обогревают двигатель снаружи. В связи с этим необходимо помнить, что подогреватель и двигатель следует содержать в чистоте, так как замасленный двигатель и подтеки топлива могут быть причиной возникновения пожара.
Через 1—2 мин после начала работы подогревателя в котел дополнительноналивают 6 — 8 л воды. Закрывают пробку воронки, прикрывают капот ипродолжают прогрев двигателя. Вода в котле закипает, и образующийся парпроходит в полости блока цилиндров и головок блока и в виде конденсатастекает в котел. Когда двигатель прогреется, из открытой наливной горловинырадиатора пойдет пар. После этого пусковой рукояткой проворачиваютколенчатый вал несколько раз для распределения смазки по подшипникам.
Свободное вращение коленчатого вала будет свидетельствовать о готовностидвигателя к пуску.
Выключают подогреватель, переводя ручку переключателя в положение I(продувка котла), и закрывают кран. После прекращения горения в котле ручку переключателя переводят в положение 0. (При несоблюдении последовательности выключения подогревателя может возникнуть пожар). Выключив подогреватель, пускают двигатель, закрывают сливной кран патрубка радиатора, а систему охлаждения заполняют водой через наливную воронку подогревателя и горловину радиатора.
Если в систему охлаждения залита жидкость, замерзающая при низкой температуре (антифриз), то прежде чем пользоваться пусковым подогревателем,необходимо убедиться, что антифриз не застыл, и строго соблюдать заводскуюинструкцию по подготовке пуска двигателя с антифризом.
Регулировка системы охлаждения
У двигателей КамАЗ-740 натяжение ремня привода генератора и водяного насоса регулируют перемещением генератора по прорези установочной планки. При правильном натяжении ремня его прогиб при нажатии на середину наибольшей ветви с усилием 40-45 Н должен быть 15-22 мм.
2.2. Ремонт
2.2.1 Подготовительные работы.
При постановке автомобиля на ремонт он должен быть вымыт, очищен от грязи и снега, при этом на рулевое колесо вывешивать табличку с надписью " Двигатель не включать, работают люди".
При постановке автомобиля на техническое обслуживание (ТО) или ремонт без принудительного перемещения, автомобиль следует затормозить ручным тормозом и выключить низкую передачу, выключить зажигание. Под колеса подложить упоры (башмаки).
ТО и ремонт автомобиля должны выполняться в гараже с использованием смотровой ямы или на площадке гаража.
При ремонте и ТО двигателя кабину необходимо поднять в первое положение и надежно зафиксировать с помощью ограничителя подъема. Верхняя и нижняя стойки ограничителя должны стопориться крючком защелки. двигателя кабину необходимо поднять в первое положение и надежно зафиксировать с помощью ограничителя подъема. Верхняя и нижняя стойки ограничителя должны стопориться крючком защелки.
Для предварительной разборки двигатель вначале устанавливают на подставку. Вначале демонтируют стартер, снимают выпускной коллектор, болты и кронштейны передней подвески. После выполнения предварительных операций на двигатель монтируют планшайбы (кронштейны) для его установки на стенд-кантователь и закрепляют двигатель на стенде. Разборку двигателя производят в следующем порядке: снимают рычаг переключения передач, диски сцепления, генератор, компрессор, насос гидроусилителя, проводят демонтаж труб вентиляции картера двигателя, снимают фильтр центробежной очистки масла, поддон масляного картера и прокладки поддона, демонтируют масляной насос, снимают топливопровод, фильтр тонкой очистки топлива, жидкостный насос с подводящей трубой и включателем гидромуфты . Окончательная разборка двигателя подразумевает снятие блока цилиндров, распределительного и коленчатого вала.
2.2.2 Оборудование, приспособления и инструменты, применяемые при работе
Для обнаружения негерметичности с потерей жидкости во внутренние полости двигателя применяют опрессовку. Для этой цели используют прибор К-437, при помощи которого проверяют герметичность системы охлаждения и состояние клапанов пробки радатора.
Прибор устанавливают на горловину радиатора вместо снятой пробки. Создают в системе охлаждения избыточное давление 0,06-0,07 МПа (0,6-0,7 кгс/см2). При этом просачивание жидкости из системы не допускается. Пускают двигатель и устанавливают минимальную частоту вращения холостого хода.
При работающем двигателе стрелка манометра не должна колебаться, т. е. давление в системе охлаждения должно быть постоянным. Также проверяют работу парового и воздушного клапанов.
Натяжение ремней привода вентилятора, генератора, компрессора и насоса гидроусилителя проверяют при помощи устройства КИ-8920, К-403 или с применением линейки и рейки .
Ремни должны быть чистыми, без расслоений и трещин. Для проверки натяжения ремней устройство КИ-8920 приводят в исходное положение: указатель нагрузки устанавливают на нуль, а секторы ставят в положение нулевой отметки прогиба ремня. Устанавливают устройство опорными торцами секторов на середину ремня (шток устройства должен быть перпендикулярен к проверяемой ветви ремня), нажимают на корпус устройства с усилием 30-50 Н (3-5 кгс). При этом секторы устройства, поворачиваясь относительно своей оси, укажут величину прогиба ремня. Прогиб ремня между шкивами вентилятора и генератора допускается 15-20 мм, между шкивами вентилятора и компрессора -10-12 мм. При необходимости регулируют натяжение ремней.
Термостат проверяют тогда, когда медленно или очень быстро прогревается двигатель. Подогревая термостат в сосуде с водой, следят за моментом начала и конца открытия клапана, который должен происходить соответственно при температурах 65-70 и 80-850 С. Температуру измеряют ртутным термометром.
Эффективность действия радиатора лучше всего оценивать по перепаду температур в .верхнем и нижнем бачках. Она должна быть 8-12° С. Этим способом определяют засорение трубок радиатора и образование накипи.
Систему охлаждения промывают струей воды под давлением 0,2-0,3 МПа (2-3 кгс/cм2 ) при снятом термостате. Направление промывки должно быть противоположным потоку при работе двигателя. Накипь удаляют при помощи химических растворов. Хорошие результаты дает промывка раствором соляной кислоты с ингибитором, смачивателем и пеногасителем.
Для проверки термостатов определяют температуру начала открытия и ход клапана. Например, термостат двигателя KaмA3-740 проверяют следующим образом :
1. Вынимают термостат, очищают его от накипи и помещают в ванну 5 с водой, установленную на электроплитку 6.
2. Нагревают воду, перемешивая ее и контролируя температуру ртутным термометром с ценой деления не более 1°С.
3. Индикатором 3 проверяют начало открытия клапана, т. е. определяют температуру (80 + 20) С, при которой клапан откроется на 0,1 мм. Клапан откроется полностью в кипящей воде не менее чем на 8,5 мм.
2.2.3 Ремонт системы охлаждения двигателя КАМАЗ
Радиаторы системы охлаждения могут иметь следующие основные дефекты: загрязнение сердцевины, отложение накипи и течь трубок. Загрязнение и накипь удаляют в установках, обеспечивающих подогрев раствора до 60-800 С, его циркуляцию и последующую промывку радиатора водой. Герметичность радиатора проверяют сжатым воздухом под избыточным давлением 0,03-0,05 МПа, погрузив его в ванну с водой. Отверстия закрывают резиновыми пробками, через одну из которых поступает по шлангу воздух от воздушного насоса. Выходящие пузырьки воздуха указывают на наличие дефектов. Когда радиаторы ремонтируют без разборки (не снимая бачков), то испытание на герметичность осуществляют после удаления накипи.
Течь трубок устраняют пайкой. Заменяют на новые заглушенныe трубки и трубки, имеющие большие вмятины. Для замены трубок отпаивают бачки радиатора от сердцевины. Затем нагретыми стальными стержнями, имеющими форму трубок, отпаивают дефектные трубки и плоскогубцами вынимают их из сердцевины. После этого устанавливают новую или запаянную трубку вместе со вставленным в неё стержнем. Затем вынимают стержень и концы установленной трубки развальцовывают. Далее припаивают концы трубок к опорным пластинам сердцевины, а также верхний и нижний бачки. Отремонтированный радиатор проверяют в ванне, предварительно накачав в него воздух.
Основными неисправностями деталей водяного насоса являются сколы и трещины на корпусе насоса, изгиб и износ валика, износ шпоночной канавки.
Сколы на фланце и трещины на корпусе водяного насоса устраняют сваркой. Деталь предварительно нагревают ацетиленокислородным нейтральным пламенем. Трещины можно заделывать эпоксидной смолой. Погнутый валик правят под прессом, а при малом износе восстанавливают хромированием и последующим шлифованием до номинального размера. Изношенную канавку на валу заваривают, а затем фрезеруют новую канавку под углом 90-1800 к старой.
В случае закипания жидкости в системе охлаждения давление пара в радиаторе возрастает. При увеличении давления до 145—155 кН/м2 (1,45—1,55 кгс/см2) открывается паровой клапан, преодолевая сопротивление пружины. Система охлаждения двигателя сообщается с окружающей средой, и пар выходит из радиатора через пароотводную трубку. После остановки двигателя жидкость охлаждается, пар конденсируется и в системе охлаждения создается разрежение. При снижении давления на 1 — 13 кН/м2 (0,01—0,13 кгс/см2) открывается воздушный клапан 26 и в радиатор через отверстия 29 и клапан начинает поступать воздух, проходящий по пароотводной трубке. Работа парового и воздушного клапанов предотвращает возможное повреждение радиатора под действием как внешнего, так и внутреннего давления.
3. Охрана труда, противопожарные мероприятия
3. 1 Техника безопасности
Общие меры безопасности:
К самостоятельной работе по ремонту автомобиля допускаются лица, имеющие соответствующую квалификацию, получившие вводный инструктаж на рабочем месте по охране труда, а также прошедшие проверку электробезопасности. Слесарь, не прошедший своевременно повторный инструктаж по охране труда и соответствующую ежегодную проверку знаний не должен приступать к работе. При поступлении на работу слесарь должен проходить предварительный медосмотр, а в дальнейшем - периодические медосмотры, установленные Минздравом.
Запрещается пользоваться инструментом, приспособлениями, оборудованием, обращению с которыми слесарь не обучен.
Слесарь обязан соблюдать правила внутреннего трудового распорядка, а также правила пожарной безопасности, утвержденные на предприятии. Курить разрешается только в специально отведенных местах. Употреблять спиртные напитки и наркотические вещества перед и (или) в процессе работы запрещается.
Слесарь должен знать, что наиболее опасными и вредными производственными факторами, действующие на него в процессе выполнения работ являются:
· Легковоспламеняющиеся жидкости их пары, газы
· Этилированный бензин
· Оборудование, инструмент, приспособления.
Легковоспламеняющийся жидкости их пары, газ - при нарушении правил пожарной безопасности в обращении с ними могут стать причиной пожара и взрыва. Кроме того, пары и газы, попадая в органы дыхания, вызывают отравление организма.
Этилированный бензин - действует отравляюще на организм, при вдыхании его паров, загрязнении им тела, одежды, попадании его в организм с пищей и питьевой водой.
Оборудование, инструмент, приспособления - при неправильном применении могут привести к травмам
Слесарь должен работать в спецодежде и в случае необходимости использовать другие средства индивидуальной защиты.
В соответствии с Типовыми отраслевыми нормами бесплатной выдачи рабочим и служащим спецодежды, спецобуви и других средств индивидуальной защиты слесарю выдаются: Костюм вискозно-лавсановый, Фартук хлорвиниловый, Сапоги резиновые, Нарукавники хлорвиниловые, Рукавицы комбинированные. При работе с этилированным бензином дополнительно: Фартук резиновый, Перчатки резиновые.
Слесарь должен выполнять только работу, порученную ему непосредственным руководителем. Во время работы он должен быть внимательным, не отвлекаться на посторонние дела и разговоры.
О замеченных нарушениях требований безопасности на своем рабочем месте, а также о неисправностях оборудования, приспособлений, инструмента и средств индивидуальной защиты слесарь должен сообщить своему непосредственному руководителю и не приступать к работе до устранения замеченных нарушений и неисправностей.
Слесарь должен уметь оказывать доврачебную помощь пострадавшему в соответствии с инструкцией по оказанию первой доврачебной помощи при несчастном случае.
О каждом несчастном случае, очевидцем которого он был, слесарь должен немедленно сообщить администрации предприятия, а пострадавшему оказать первую доврачебную помощь, вызвать врача или помочь доставить пострадавшего в здравпункт или ближайшее медицинское учреждение
Если несчастный случай произошел с самим слесарем, он должен по возможности обратиться в здравпункт, сообщить о случившемся администрации предприятия или попросить сделать это кого-то из окружающих
3.2. Меры безопасности перед началом работы
Подготовить необходимые для работы средства индивидуальной защиты. Надеть и заправить спецодежду, застегнуть манжеты рукавов. Получить задание на работу у своего непосредственного руководителя. Не выполнять работу без получения задания и по просьбе водителей или других лиц
Осмотреть и подготовить свое рабочее место, убрать все лишние предметы, не загромождая проходов.
Проверить состояние пола на рабочем месте. Если пол скользкий или влажный, потребовать, что бы его вытерли или посыпали опилками, или сделать это самому.
Проверить наличие и исправность инструмента, приспособлений и оборудования. Не работать неисправным инструментом и приспособлениями или на неисправном оборудовании и не только производить самому устранение неисправностей.
Проверить наличие пожарного инвентаря на участке и в случае отсутствия такового сообщить об этом своему руководителю.
Включить приточно-вытяжную вентиляцию и в случае необходимости местную вентиляцию
Для исключения поражения электрическим током электроинструменты заземляют.
3.3. Меры безопасности во время работы
Приступая к работе по техническому обслуживанию и ремонту автомобиля, принять меры, исключающие проливание топлива из топливного бака, топливопроводов и приборов системы питания. Убедиться в том, что закрыты расходные и магистральные вентили и нет ли в газопроводах газа под давлением
При ремонте принять меры по предотвращению искрообразования путем снятия клемм с аккумулятора или его отключения специальным устройством.
Обезвредить перед разборкой карбюраторы и бензонасосы, работающие на этилированном бензине, а также их детали керосином.
Производить мойку деталей только в местах, отведенных для этой цели. Моечные ванны с керосином по окончании закрывать крышками
Производить разборку и ремонт в специальных верстаках или стендах. Пользоваться только специальными приспособлениями.
Продувку клапанов, трубок и жиклеров топливной аппаратуры производить воздухом из шланга или насосом. Продувать их ртом запрещается. При продувке деталей струей воздуха не направлять ее на рядом работающих людей или на себя.
Во время проверки работы форсунок на стенде не подставлять руку к распылителю.
Проверку надежности пуска двигателя и регулировку минимальных оборотов холостого хода производить на специальных постах, оборудованных местным отсосом газов если посты, расположены в помещении ТО.
Перед запуском двигателя проверить, заторможен ли автомобиль стояночным тормозом и есть ли специальные упоры (башмаки) под колесами, установлен ли рычаг на переключениях передач (контролера) в нейтральное положение.
Для безопасности перехода через осмотровые канавы, а также для работы спереди и с сзади автомобиля пользовать переходными мостиками, а для спуска в осмотровую канаву - специально установленными для этой цели лестницами.
При попадании этилированного бензина на кожу немедленно обмыть облитый участок кожи керосином, а затем вымыть теплой водой с мылом. Если этилированный бензин (капли или пары) попали в глаза, промыть их теплой водой и немедленно обратиться в здравпункт или к врачу.
Если спецодежда облита бензином, обратимся к своему непосредственному руководителю для ее замены
3.4. Меры безопасности в аварийной ситуации
Приостановить работу
Немедленно сообщить руководству автобазы о происшедшим с ним, или по его вине травматическом случае, а также о любом несчастном случае с участием других работников предприятия, свидетелем которого он был.
Принять участие в ликвидации последствий аварии
Оказать пострадавшему при несчастном случае, первую, доврачебную помощь, помочь доставить его в медпункт, при необходимости вызвать медицинских работников на место происшествия.
Меры безопасности по окончании работы
По окончании работы слесарь должен:
Выключить вентиляцию ит оборудование.
Привести в порядок рабочее место, инструмент и приспособления, тщательно очистить от остатков этилированного бензина ветошью обильно смоченной керосином, а затем протереть сухой ветошью, после чего убрать их отведенное место.
Сливать остатки керосина и других легковоспламеняющихся жидкостей в канализацию запрещается.
Снять спецодежду и убрать ее в предназначенное для этого место.
Своевременно сдавать спецодежду и другие средства индивидуальной защиты в химчистку (стирку).
3.5. Противопожарные мероприятия
В ремонтной зоне запрещается:
Пользоваться открытым огнем, переносными горнами, паяльными лампами и т.п. В тех помещения где применяются легковоспламеняющиеся горючие жидкости (бензин, керосин и т.п.), также в помещениях с легковоспламеняющимися материалами (деревообделочные, обойные и т.п.);
Мыть детали бензином и керосином в неустановленных местах
Хранить легковоспламеняющиеся жидкости в количестве, превышающую суточную потребность
Ставить автомобиль при наличии подсекания из бака, а также заправлять автомобиль топливом
Хранить чистый обтирочный вместе с использованным
Применять переносные лампы без защитных сеток
Пользоваться ломами при перекатке бочек с горючим
Открывать пробки бочек с легковоспламеняющимися жидкостями ударами металлических предметов (следует применить спецключ из цветного металла)
Загромождать проходы между стеллажами и выходы из помещений оборудованием, тарой и т.п.
Устанавливать в зоне автомобили в количестве, превышающем норму, или нарушать способ их расстановки
Загромождать запасные ворота, как внутри, так и снаружи
На каждые 50 м2 должен быть один огнетушитель, но не мене двух на каждое помещение
В помещения устанавливают ящики с сухим песком из расчета 0,5 м3 на 100 м2 площади, но не менее одного на каждое отдельное помещение. Ящики окрашивают в красный цвет и снабжают лопатой и совком.
Заключение
Система охлаждения двигателя автомобиля предназначена для отвода от деталей двигателя лишнего тепла и передачи его окружающему воздуху, благодаря чему создается определенный температурный режим, при котором двигатель не перегревается и не переохлаждается. Система охлаждения поглощает 25—35% тепла, выделяющегося во время сгорания топлива. Температура воды, находящейся в рубашке блока цилиндров, должна быть в пределах 80—90° С. Этот температурный режим является наивыгоднейшим, обеспечивающим нормальную работу двигателя, и он не должен изменяться в зависимости от температуры окружающего воздуха и нагрузки двигателя. Большинство отечественных автомобильных двигателей имеет жидкостную (водяную) систему охлаждения.
Список литературы
1. Барун В.Н., Азаматов Р.А., Машков Е.А. и др. Автомобили КамАЗ: Техническое обслуживание и ремонт. – 2-е изд., перераб. и доп. – М.: Транспорт, 1988. – 325 с., ил., табл.
2. Буралёв Ю.В. и др. Устройство, обслуживание и ремонт топливной аппаратуры автомобилей: Учебник для сред. проф.-техн. училищ / Ю.В. Буралёв, О.А. Мортиров, Е.В. Клетенников. – М.: Высш. школа, 1979. – 256 с., ил.
3. Инструкция по безопасности труда для персонала, занятого на ремонте и техническом обслуживании автомашин и дорожно-стоительной техники ИБТ-К–97-85.
4. КамАЗ: что ожидает автогигант в будущем? // Бизнес.–1999.–с. 29
5. Машков Е.А. Техническое обслуживание и ремонт автомобилей КамАЗ–5320, 53211, 53212, 53213, 5410, 54112, 55111, 55102/Иллюстрированное издание–Издательство «Третий Рим», 1997-88с.
6. Осыко В.В. и др. Устройство и эксплуатация автомобиля КамАЗ-4310:Учебное пособие / Осыков В.В., Петриченко И.Я., Алленов Ю.А., Цветков В.Н., Лысов М.А.–М.: Патриот, 1991.–351 с.: ил.
7. Руководство по ремонту и техническому обслуживанию автомобилей КамАЗ-5320, -53211, -53212, -53213, -5410, -54112, -55111, -55102. – М.: Третий Рим, 2000. – 240 с., ил.
8. Титунин Б.А.. Ремонт автомобилей КамАЗ. – 2-е изд., перераб. и доп. – М.: Агропромиздат, 1991. – 320 с., ил.
9. Устройство, техническое обслуживание и ремонт автомобилей: Учеб./Ю.И. Боровских, Ю.В. Буралев, К.А. Морозов, В.М. Никифоров, А.И. Фешенко – М.:: Высшая школа; Издательский центр «Академия», 1997.-528с.: ил.