| Скачать .docx |
Реферат: Автоматическое управление в технике
Автоматическое управление
в технике, совокупность действий, направленных на поддержание или улучшение функционирования управляемого объекта без непосредственного участия человека в соответствии с заданной целью управления. А. у. широко применяется во многих технических и биотехнических системах для выполнения операций, не осуществимых человеком в связи с необходимостью переработки большого количества информации в ограниченное время, для повышения производительности труда, качества и точности регулирования, освобождения человека от управления системами, функционирующими в условиях относительной недоступности или опасных для здоровья (см. Автоматизация производства, Автоматизация управленческих работ, Большая система). Цель управления тем или иным образом связывается с изменением во времени регулируемой (управляемой) величины — выходной величины управляемого объекта. Для осуществления цели управления, с учётом особенностей управляемых объектов различной природы и специфики отдельных классов систем, организуется воздействие на управляющие органы объекта — управляющее воздействие. Оно предназначено также для компенсации эффекта внешних возмущающих воздействий, стремящихся нарушить требуемое поведение регулируемой величины. Управляющее воздействие вырабатывается устройством управления (УУ). Совокупность взаимодействующих управляющего устройства и управляемого объекта образует систему автоматического управления.
Система автоматического управления (САУ) поддерживает или улучшает функционирование управляемого объекта. В ряде случаев вспомогательные для САУ операции (пуск, остановка, контроль, наладка и т.д.) также могут быть автоматизированы. САУ функционирует в основном в составе производственного или какого-либо другого комплекса.
История техники насчитывает много ранних примеров конструкций, обладающих всеми отличительными чертами САУ (регулирование потока зерна на мельнице с т. н. «потряском», уровня воды в паровом котле машины Ползунова, 1765, и т. д.). Первой замкнутой САУ, получившей широкое техническое применение, была система автоматического регулирования с центробежным регулятором в паровой машине Уатта (1784). По мере совершенствования паровых машин, турбин и двигателей внутреннего сгорания всё более широко использовались различные механические регулирующие системы и устройства, достигшие значительного развития в конце 19 — начале 20 вв. Новый этап в А. у. характеризуется внедрением в системы регулирования и управления электронных элементов и устройств автоматики и телемеханики. Это обусловило появление высокоточных систем слежения и наведения, телеуправления и телеизмерения, системы автоматического контроля и коррекции. 50-е гг. 20 в. ознаменовались появлением сложных систем управления производственными процессами и промышленными комплексами на базе электронных управляющих вычислительных машин.
САУ классифицируются в основном по цели управления, типу контура управления и способу передачи сигналов. Первоначально перед САУ ставились задачи поддержания определённых законов изменения во времени управляемых величин. В этом классе систем различают системы автоматического регулирования (CAP), в задачу которых входит сохранение постоянными значения управляемой величины; системы программного управления, где управляемая величина изменяется по заданной программе; следящие системы, для которых программа управления заранее неизвестна. В дальнейшем цель управления стала связываться непосредственно с определёнными комплексными показателями качества, характеризующими систему (её производительность, точность воспроизведения и т. п.); к показателю качества могут предъявляться требования достижения им предельных (наибольших или наименьших) значений, для чего были разработаны адаптивные, или самоприспосабливающиеся системы (См. Самоприспосабливающаяся система). Последние различаются по способу управления: в самонастраивающихся системах (См. Самонастраивающаяся система) меняются параметры устройства управления, пока не будут достигнуты оптимальные или близкие к оптимальным значения управляемых величин; в самоорганизующихся системах (См. Самоорганизующаяся система) с той же целью может меняться и её структура. Наиболее широки, в принципе, возможности самообучающихся систем (См. Самообучающаяся система), улучшающих Алгоритмы своего функционирования на основе анализа опыта управления. Отыскание оптимального режима в адаптивных САУ может осуществляться как с помощью автоматического поиска, так и беспоисковым образом.
Способ компенсации возмущений связан с типом контура управления системы. В разомкнутых САУ на УУ не поступают сигналы, несущие информацию о текущем состоянии управляемого объекта, либо в них измеряются и компенсируются главные из возмущений, либо управление ведётся по жёсткой программе, без анализа каких-либо факторов в процессе работы. Основной тип САУ — замкнутые, в которых осуществляется регулирование по отклонению, а цепь прохождения сигналов образует замкнутый контур, включающий объект управления и УУ; отклонения управляемой величины от желаемых значений компенсируются воздействием через обратную связь, вне зависимости от причин, вызвавших эти отклонения. Объединение принципов управления по отклонению и по возмущению приводит к комбинированным системам. Часто, помимо основного контура управления, замыкаемого главной обратной связью, в САУ имеются вспомогательные контуры (многоконтурные системы) для стабилизации и коррекции динамических свойств. Одновременное управление несколькими величинами, влияющими друг на друга, осуществляется в системах многосвязного управления или регулирования.
По форме представления сигналов различают дискретные и непрерывные САУ. В первых сигналы, по крайней мере в одной точке цепи прохождения, квантуются по времени (см. Импульсная система), либо по уровню (см. Релейная система), либо как по уровню, так и по времени (см. Квантование сигнала).
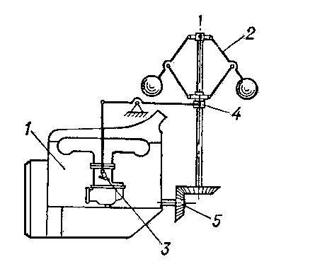
Простейший пример САУ — система прямого регулирования частоты вращения двигателя (рис. 1). Цель управления — поддержание постоянной частоты вращения маховика, управляемый объект — двигатель 1; управляющее воздействие — положение регулирующей заслонки дросселя 3; УУ — центробежный регулятор 2, муфта 4 которого смещается под действием центробежных сил при отклонении от заданного значения частоты вращения вала 5, жестко связанного с маховиком. При смещении муфты изменяется положение заслонки дросселя. Структурная схема рассмотренного примера (рис. 2) типична для многих САУ вне зависимости от их физической природы. Описанная система представляет собой замкнутую одноконтурную непрерывную систему автоматического регулирования механического действия, допускающую линеаризацию (См. Линеаризация) при исследовании.
Промышленность выпускает универсальные регуляторы, в том числе с воздействием по производной, по интегралу (см. Коррекция динамических свойств), экстремальные регуляторы (См. Экстремальный регулятор), для управления различными объектами. Специализированные САУ широко применяются в различных областях техники, например: следящая система управления копировально-фрезерным станком по жёсткому копиру; САУ металлорежущих станков с программным управлением от магнитной ленты, перфоленты или перфокарты (преимущества такого управления заключаются в относительной универсальности, лёгкости перестройки программы и высокой точности обработки деталей); система программного управления реверсивным прокатным станом, включающая в свой контур управляющую вычислительную машину. В относительно медленных технологических процессах в химической и нефтяной промышленности распространены многосвязные САУ, осуществляющие регулирование большого количества связанных величин; так, при перегонке нефти информация о температуре, давлении, расходе и составе нефтепродуктов, получаемая от нескольких сотен датчиков, используется для формирования сигналов управления десятками различных регуляторов. САУ играют важную роль в авиации и космонавтике, например автопилот представляет собой САУ связанного регулирования, а иногда и самонастраивающуюся систему. В военной технике применяются высокоточные следящие системы, часто включающие вычислительные устройства (например, система углового сопровождения радиолокационной станции). При анализе многих физиологических процессов в живом организме, таких как кровообращение, регуляция температуры тела у теплокровных животных, двигательные операции, обнаруживаются характерные черты САУ (см. Кибернетика биологическая).
Задачи синтеза устройств А. у. и анализа процессов в управляемых системах являются предметом теории автоматического управления.
Р. С. Рутман
Теория автоматического управления (ТАУ) изучает принципы построения систем автоматического управления и закономерности протекающих в них процессов, которые она исследует на динамических моделях действительных систем с учётом условий работы, конкретного назначения и конструктивных особенностей управляемого объекта и автоматических устройств, с целью построения работоспособных и точных систем управления.
Первоначально ТАУ развивалась как теория автоматического регулирования (ТАР) и была одним из разделов теоретической и технической механики. На этой стадии ТАУ изучала процессы управления паровыми котлами и электрическими машинами, но раздельно в пределах только теплотехники и только электротехники. Быстрое развитие всех отраслей техники и промышленности сопровождалось совершенствованием методов и средств техники управления; обнаружилась аналогичность процессов управления в технических устройствах, независимо от их природы и назначения. С развитием управления в технике шло также изучение проблем управления в организмах и в экономических системах. Вплоть до середины 20 в. исследования процессов управления в этих разнородных объектах не были связаны. В технике управляющие устройства, внешние по отношению к объектам, создаются отдельно и лишь затем соединяются с объектами в единую систему управления. На основе изучения взаимодействия этих устройств с объектами была выявлена общность процессов управления. Именно поэтому ТАР зародилась в технике и превратилась в самостоятельную техническую науку. В живых организмах и в экономике органы управления составляют неотъемлемую часть этих объектов. Здесь нет необходимости конструирования отдельно действующих органов управления, а изучение всего механизма управления велось разрозненно в соответствующих областях знаний без участия специалистов по управлению. Однако процессы управления, обладающие определенной спецификой в биологии и экономике, потребовали обязательной коллективной работы специалистов различных областей науки и техники, тем более при современном уровне развития науки, когда выявилась также и необходимость взаимного обмена знаниями. Н. Винеру принадлежала мысль об общности процессов управления в технике, живых организмах и в экономике и необходимости совместной деятельности учёных различных специальностей (см. Кибернетика). Этот вывод подготовлялся длительное время и многими другими исследователями. Было обнаружено, что техническая наука — ТАР, способна объяснить процессы управления и влиять на них не только в технике; сфера её применения расширилась, но при этом усложнились цели и методы теории, которая получила новое название «Теория автоматического управления». Для ТАР характерна задача стабилизации заданного состояния объекта. В ТАУ эта задача входит составной частью в проблему приспособления, или адаптации, которая присуща живым организмам и экономическим организациям. Но и для техники эти проблемы весьма актуальны, если учесть переменность параметров объектов управления, работу их при меняющихся условиях, а также оценку эффективности этой работы в чисто экономических терминах, например прибыльность или уменьшение затрат труда и материалов. Так возникла проблема синтеза и анализа систем автоматического управления — основная проблема ТАУ. Решение её требует изучения динамических свойств САУ, для чего необходимо математическое описание поведения всех элементов системы в переходных процессах. В общем случае процессы в объектах описываются системами обыкновенных дифференциальных уравнений или уравнений в частных производных в зависимости от того, имеют ли объекты сосредоточенные или распределенные параметры. Элементы автоматических устройств также описываются системами дифференциальных уравнений. Специфичен для ТАУ последующий переход от линейных уравнений к передаточным функциям — операторным выражениям дифференциальных и разностных уравнений. Передаточные функции позволяют легко представить математическую модель системы в виде структурной схемы, состоящей из типовых динамических звеньев. ТАУ вводит понятия динамических характеристик — передаточных функций, частотных и временных характеристик, упрощающих составление математических моделей системы и последующие анализ и синтез систем. Динамический анализ САУ выясняет их работоспособность и точность. Необходимым условием работоспособности САУ служит их устойчивость (см. Устойчивость системы автоматического управления). Для её исследования разработаны критерии устойчивости, позволяющие определять условия устойчивости и необходимые запасы её по косвенным признакам, минуя весьма трудную операцию интегрирования уравнений движения системы. Устойчивость достигается изменением параметров системы и её структуры. В нелинейных САУ исследуется возможный для этих систем режим автоколебаний (См. Автоколебания). Если же по самому принципу действия САУ, например для релейных систем, эти колебания неизбежны, то устанавливаются допустимые параметры — амплитуда и частота автоколебаний. Точность САУ оценивается показателями, которые в совокупности называется качеством управления (см. Точность систем автоматического управления), Важнейшие показатели качества САУ: статические и динамические погрешности и время регулирования (см. Погрешность в системе автоматического регулирования). Эти показатели определяются сравнением действительного переходного процесса изменения управляемых величин с требуемым законом их изменения; обычно они указываются для одного из типовых законов изменения управляемой величины. В ТАУ, так же как и при анализе устойчивости, пользуются косвенными методами анализа качества, не требующими решения исходных уравнений. Для этого вводятся критерии качества — косвенные оценки показателей качества (см. Качества показатели системы автоматического управления). При действии на САУ случайных возмущений наиболее распространён критерий качества динамической точности — средняя квадратичная ошибка. Эта величина относительно просто может быть связана со статистическими характеристиками возмущающих воздействий и параметрами передаточной функции системы. САУ, в которой достигнут экстремум какого-либо показателя качества, именуется оптимальной системой (См. Оптимальная система). Нелинейные системы обладают более широкими возможностями достижения оптимума определённого показателя качества, чем системы линейные. Это обусловило применение нелинейных связей для повышения качества систем управления. Анализ системы управления устанавливает свойства системы с уже заданной структурой. Построение алгоритма управления и разработка соответствующей ему структуры системы, выполняющей заданную цель при требуемом качестве управления, установление значений параметров этой системы составляет содержание проблемы синтеза. До начала разработки системы управления сообщаются необходимые для этого исходные данные: свойства управляемого объекта, характер действующих на него возмущений, цель управления и требуемая точность управления. К объекту управления относится его управляющий орган, через который передаётся воздействие на объект от управляющего устройства. Известные характеристики управляющего органа сразу же определяют характеристики исполнительного механизма управляющего устройства. Но на этом обрывается цепь частей системы управления, свойства которых определяются однозначно их взаимным влиянием друг на друга. Так вводится понятие неизменяемой части системы управления — неизменяемой в том смысле, что свойства её заданы до начала конструирования алгоритма управления и, как правило, не могут быть изменены. Заданная цель управления определяет и способ управления. В результате выясняется в общих чертах блочная схема системы управления. В основном пользуются 2 методами решения проблемы синтеза — аналитическим и последовательных приближений. При первом либо находится вид передаточной функции автоматического устройства или алгоритм управления, либо при выбранной структуре указанного устройства устанавливаются значения его параметров, дающие экстремум критерию качества. Этот метод позволяет сразу найти оптимальное решение, но он часто приводит к сложными громоздким вычислениям. Во втором методе по заданному критерию качества определяется передаточная функция автоматического устройства и затем для полученной системы сравниваются заданные показатели качества с их действительными значениями. Если приближение оказывается допустимым, расчёт считается законченным и можно приступить к конструированию устройства. Если же приближение оказывается недостаточным, то изменяется вид передаточной функции до получения варианта, удовлетворяющего заданным требованиям точности. При построении сложных систем управления, кроме теоретических методов, применяется Моделирование с применением аналоговых и цифровых вычислительных машин, на которых воспроизводятся уравнения, описывающие всю систему управления в целом, и по результатам расчётов, заканчивающихся при достижении требуемых показателей качества, устанавливается структура устройства управления. Такой метод синтеза близок по идее к методу последовательных приближений. Моделирование позволяет оценить влияние таких факторов, как нелинейность ограничения координат, переменность параметров, которые ставят почти непреодолимые преграды для аналитического исследования. Применение вычислительных машин освобождает от трудностей расчёта. Они также используются в составе САУ для выполнения сложных алгоритмов управления, которые особенно характерны для адаптивных и оптимальных систем и систем с прогнозированием конечного результата управления. Решение проблемы синтеза САУ способствовало появлению новых эффективных принципов управления и развитию важных самостоятельных направлений в ТАУ: оптимальное управление, статистичная динамика и чувствительность систем управления. Теория оптимального управления позволила установить структуры систем управления, обладающих предельно высокими показателями качества при учёте реальных ограничений, накладываемых на переменные. Показатели оптимальности могут быть весьма разнообразными. Выбор их зависит от конкретно поставленной задачи. Такими показателями служат показатели динамических свойств всей системы в целом, критерии экономичности режимов управляемых объектов и др. Распространены оптимальные по быстродействию системы, которые переводят объект из одного состояния в другое за минимальный промежуток времени.
Статистическая динамика систем управления изучает действие на эти системы случайных возмущений. Методы этой теории позволяют синтезировать системы управления, обеспечивающие минимум динамической погрешности, решать задачи построения сглаживающих и прогнозирующих следящих систем, определять динамические свойства управляемых объектов по данным опыта при их нормальном функционировании без внесения пробных возмущений. Статистические методы исследования широко распространены для изучения различных типов систем управления. Большое значение эти методы приобретают для приспосабливающихся систем. Теория чувствительности систем управления изучает зависимость динамических свойств этих систем от их меняющихся параметров и характеристик. Показатель чувствительности служит мерой зависимости указанных свойств от вариаций параметров. Теория чувствительности позволяет в ряде случаев указать пути осуществления беспоисковых самонастраивающихся систем.
Последний вопрос тесно связан ещё с одним направлением в ТАУ, получившим интенсивное развитие в последние годы — общей теорией адаптации, развитой на базе статистических методов и методов линейного программирования в математике. Для ТАУ характерна тесная, непрерывно усиливающаяся и взаимно влияющая связь не только с математикой, но также и с физикой и техническими науками, изучающими свойства объектов, которые позволяют создать детальные динамические модели объектов, необходимые при решении усложнившихся задач автоматического управления.
Лит.: Максвелл Д. К., Вышнеградский И. А., Стодола А., Теория автоматического регулирования, М.,1949; Лернер А. Я. Введение в теорию автоматического регулирования, М., 1958; Фельдбаум А. А., Вычислительные устройства в автоматических системах, М., 1959; его же. Основы теории оптимальных автоматических систем, М., 1963; Теория автоматического регулирования, под ред. В. В. Солодовникова кн. 1, М., 1967.
Рис. 1. Автоматическое управление.

Рис. 2. Автоматическое управление.
