| Скачать .docx |
Реферат: Ходові системи лісових гусеничних машин і сільськогосподарських тракторів
Реферат на тему:
Ходові системи лісових гусеничних машин і с/г тракторів
На гусеничних тракторах застосовується переважно рамна конструкція кістяка (Т-150, Т-4А, ДТ-75В, ДТ-75МВ).
Гусеничний рушій (рис. 1, а) поєднує ведучу зірочку 10, гусеничний ланцюг 8, опорні котки 11, що направляють колесо 3 з натяжним пристроєм і підтримувальні ролики 9.

Рис. 1. Схема підвісок гусеничних тракторів: а – еластична підвіска: 1 – колінчата вісь; 2 — качани; 3 — направляюче колесо; 4 – натяжний гвинт; 5 – натяжна гайка; 6 – кулькова опора; 7 – кронштейн; 8 – гусеничний ланцюг; 9 – підтримувальний ролик; 10 – ведуча зірочка; 11 – опорна ковзанка; 12 – вісь опорної ковзанки; 13 –шарнір балансирної каретки; 14 – шарнір балансирів; 15 – внутрішній балансир; 16 – пружина балансирів підвіски; 17 – зовнішній балансир; 13 – гайка пружини натяжного пристрою; 19 – пружина натяжного пристрою, що амортизує; б – напівтверда підвіска: 1 – задній шарнір підвіски; 2 – ведуча зірочка; 3 – гусеничний ланцюг; 4 – підтримувальний ролик; 5 – опорна ковзанка; 6 – рама гусеничного візка; 7 – направляюче колесо; 8 – пружина натяжного пристрою; 9 – ресорний пристрій; в – робота напівтвердої підвіски з пластинчастою ресорою в момент переїзду трактора через перешкоду: 1 – шарнір, що з'єднує раму трактора з ресорою; 2 – рама трактора; 5 – пластинчаста ресора: 4 – гусеничний візок
Зірочка 10 надає рух (перемотує) гусеничному ланцюгу, що і забезпечує рух трактора.
Гусеничний ланцюг 8 складається з ланок, з'єднаних шарнірно за допомогою пальців. Вона обгинає зірочку 10, що направляє колесо 3, опорні котки 11 і підтримувальні ролики 9 і утворює замкнутий контур.
Площа контакту гусеничного ланцюга з ґрунтом досить велика, тому вага трактора через опорні котки 11 розподіляється на значну поверхню, середній тиск на ґрунт невеликий, а зчеплення з ним добре. До того ж гусеничний ланцюг оснащений грунтозацепами і служить доріжкою для кочення по ній на котках кістяка трактора. Ролики 9 підтримують гусеничний ланцюг і охороняють його від бічного розгойдування під час руху трактора. Направляюче колесо 3 і натяжний пристрій призначені для правильного напрямку руху гусеничного ланцюга, його натягу й амортизації гусеничного рушія.
Гусеничний рушій працює в такий спосіб. Ведучий момент, прикладений до зірочок 10, що сидять на ведучих валах кінцевих передач, змушує гусеничні ланцюги 8 перемотуватися і розстелятися під опорними котками 11. При цьому виникаючі від взаємодії гусеничних ланцюгів 8 із ґрунтом дотичні реакції передаються кістяку і приводять трактор у рух, змушуючи опорні котки 11 перекочуватися по внутрішніх бігових доріжках ланцюга 8, як по рейках.
Гусеничний рушій має ряд переваг перед колісним, до числа яких відносяться високі зчіпні якості і прохідність, низький середній тиск на ґрунт, меншу витрату палива на одиницю виконаної роботи.
Разом з тим трактори з гусеничним рушієм уступають колісним за ваговими показниками, у швидкості руху й універсальності використання в сільськогосподарському виробництві. Плавність ходу, гарне зчеплення з ґрунтом і малий середній тиск на нього, само очистка гусеничних ланцюгів від залипання бруду, менший шум — такі основні вимоги, пропоновані до гусеничних рушіїв.
Загальні пристрої ходової частини
Пристрій ходової частини гусеничного трактора в залежності від його призначення, робочих і транспортних швидкостей може бути різним. Загальноприйняті дві схеми підвісок: еластична і напівтверда. Кожна з цих схем визначає собою також і конструкцію гусеничного рушія.
Еластична підвіска (рис. 1, а) складається з об'єднаних системою важелів і пружних елементів опорних котків, що шарнірно з'єднані з рамою трактора. Котки з’єднуються між собою попарно в каретку балансирної підвіски. У сільськогосподарських тракторів по дві каретки балансирної підвіски на кожну сторону. Каретка складається з з'єднаних між собою шарніром 14 сталевих литих балансирів 15 і 17, що мають вісь хитання. Роль цієї осі виконує шарнір 13 на рамі трактора.
Опорні котки 11 обертаються в підшипниках на осях 12, з яких кожна закріплена у своєму балансирі. Котки 11 мають можливість незалежного пружного переміщення, для чого у верхніх частинах балансирів чашоподібні форми встановлені циліндричні ресорні пружини 16.
Еластична підвіска дозволяє кожній опорному котку копіювати рельєф ґрунту, що дає кращу плавність ходу, особливо при русі на підвищених швидкостях.
Напівтверда підвіска являє собою гусеничний візок (їх два), виконаний з балок різного перетину, на якій встановлюються всі елементи рушія. Рама 6 (рис. 1, б) візка з'єднується з кістяком трактора позаду шарніром 1; спереду на неї спирається кістяк через ресорний пристрій 9, що представляє собою пластинчасту ресору (Т-130, Т-4А). На тракторах Т-70С застосована напівтверда підвіска, у якої гусеничні візки підресорені як спереду, так і позаду. Крім того, як ресорний пристрій використовуються торсіони — пружні стержні, що працюють на скручування і виконують роль ресорного пристрою.
Порівнюючи еластичні і напівтверді підвіски, відзначимо, що при наїзді трактора з напівтвердою підвіскою (рис. 1, в) на нерівність відбувається переміщення всього гусеничного візка; хід трактора менш плавний.

Рис. 2. Типи гусеничних ланцюгів: а – ланка і палець гусениці з відкритим шарніром: 1 – шайба; 2 – шплінт; 3 – палець; 4 – ланка; б – гусениця з закритим шарніром (складена): 1 – палець; 2 – рейка ланки; 3 – втулка; 4 – башмак ланки; 5 – болт, що з'єднує башмак з рейкою
Конструкція гусеничного ланцюга і ведучої зірочки визначається типом зачеплення. Звичайно застосовують цевочне зачеплення, у якому зуб ведучої зірочки входить у зачеплення з цівкою — чи втулкою вушком ланки. Гусеничні ланцюги за типом шарнірів розділяють на відкриті і закриті (захищені).
В гусеничних ланцюгів з відкритим шарніром (рис. 2, а) отвір під палець 3 після виливка ланки 4 не обробляється, ланки з'єднуються пальцями, виготовленими з пруткової сталі також без механічної обробки. Ланцюги з відкритими шарнірами прості у виготовленні і поширені на більшості гусеничних тракторів (Т-150, Т-4А, ДТ-75В, ДТ-75МВ).
У гусеничних ланцюгах із закритим шарніром (рис. 2, б) отвори рейок 2 ланок і запресовані в них втулки 3 і пальці 1 оброблені. Щільна посадка пальців 1 і втулок 3 в рейках і лабіринт В захищають шарнір від влучення абразивних часток (трактори Т-130).
За способом виготовлення ланки ланцюги можуть бути литими і штампованими. В складеній ланці штамповані рейки 2 і башмак 4 з'єднані болтами 5.
В процесі експлуатації шарніри гусеничного ланцюга зношуються. Ланцюг подовжується, провисає, може зіскочити, а нерівномірний натяг правого і лівого ланцюгів викликає відведення трактора убік. Витрата потужності на перемотування збільшується. Щоб уникнути цього, натяг гусеничних ланцюгів регулюють.
Принцип роботи натяжного пристрою в тракторів з еластичною і напівтвердою підвіскою однаковий, але конструкції їх різні.
У передній частині рами трактора з еластичною підвіскою шарнірно закріплена колінчата вісь 1 (рис. 1, а), на якій вільно обертається направляюче колесо 3. Вісь 1 пальцем з'єднана з вилкою 2, крізь яку пропущений гвинт 4; він впирається через гайку 5 у кульову опору 6 кронштейна 7, закріпленого на рамі трактора. На гвинт 4 надіта амортизуюча пружина 19, попередньо затягнута гайкою 18. Ця пружина, діючи на колінчату вісь 1 через вилку 2, прагне повернути вилку вперед.
Положення колінчатої осі (а отже, натяжного колеса) визначається відстанню від осі обертання колеса 3 до кулькової опори 6. ЇЇ можна змінювати, переміщаючи гайку 5 по гвинті 4 (нагвинчування гайки вбік упора супроводжується збільшенням відстані і підвищенням натягу гусеничного ланцюга, і навпаки). Натяжний пристрій дозволяє при необхідності послабити ланцюг настільки, що її можна зняти без особливих утруднень.
Натяжний пристрій виконує також роль амортизатора. При переїзді трактора через перешкоду гусеничний ланцюг накладається на нерівності шляху так, що спочатку використовується запас на її провисання, а потім, коли провисання буде вибрано, відбувається натяг ланцюга і створюється зусилля, що переборює силу попереднього затягування пружини 19. У результаті колінчата вісь 1, переборюючи силу пружини 19, повертається, колесо 3 подається назад, гвинт входить у вилку 2 і удар зм'якшується.
Якщо під час роботи між зірочкою і гусеничним ланцюгом виявиться камінь чи інший сторонній предмет, то навантаження на деталі рушія зростають настільки, що можуть викликати поломки. У подібних випадках натяжний пристрій виконує роль запобіжника.
Переміщення направляючого колеса залежить від пружності і ступеня попереднього затягування пружини 19 і називається пружним ходом направляючого колеса.
В описаній схемі положення направляючого колеса змінюють кривошипом колінчатої осі 1, завдяки чому натяжний пристрій одержав назву кривошипного.
На тракторах з напівтвердою підвіскою натяжний пристрій і направляюче колесо 7 (рис. 1, б) розміщені на рамі 6 гусеничного візка і можуть переміщатися по їхніх полицях разом зі своїми опорами в повзунах, що через вилку з'єднані з натяжним гвинтом, що має пружину 8. Такий пристрій називають повзунковим.
Повзунковий натяжний пристрій застосований в рушіях з напівтвердою підвіскою (Т-130, Т-4А), а кривошипний — у рушіях з еластичною підвіскою (Т-150, ДТ-75В, ДТ-75МВ).
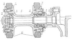
Пристрої ходової частини гусеничних тракторів (трактор Т-150)
Рама (рис. 3) складається з двох поздовжніх балок 7 і 9 (лонжеронів), з'єднаних між собою спереду сталевим литим брусом 13, а посередині — двома поперечними брусами 6 і 8. Попереду до переднього бруса заодно з лонжеронами прикріплені гаки 12 для буксирування трактора. На верхні полки лонжеронів встановлюють радіатор, двигун і кронштейн кабіни.

Рис. 3. Рама трактора Т-150: 1, 2, 3, 4 і 10 — кронштейни; 5 — бугель заднього моста; 6 і 8 — поперечні бруси; 7 і 9 – лонжерони; 11 — упор; 12 — передній гак; 13 — передній брус
До рами прикріплені кронштейни, що зв'язують раму зі складальними одиницями й агрегатами трактора. Кронштейни 3 служать для кріплення підтримувальних роликів і додаткового з'єднання поперечних брусів. Упорні кронштейни 2 призначені для кулькових опор натяжного пристрою направляючого колеса. До кронштейнів 1 кріпляться проміжні ланки амортизуючих пристроїв гусеничного рушія. Кронштейни 10 — опори колінчатих осей, хід яких обмежують упори 11. На розташованих за лонжеронами кронштейнах 4 бугелями 5 кріпиться корпус заднього моста трактора.

Рис. 4. Каретка підвіски трактора Т-150: 1 — кришка; 2 — втулка; 3 — шайба; 4 — болт; 5 — пробка; 6 — цапфа; 7 — прокладка; 8 — балансир; 9 — кронштейн цапф
Підвіска. Рама трактора підвішена на чотирьох підресорених каретках. Кожна каретка складається з двох балансирів 8 (рис. 4), що встановлені на запресованих у кронштейн 9 цапфах 6 і утримуються від спадання упорною шайбою 3 і болтом 4. В отвори балансирів запресовані змінні втулки 2. Втулки 2 і цапфи змазуються через отвір, закритий пробкою 5.

Рис. 5. Опорна ковзанка трактора Т-150: 1 — роликопідшипник; 2 — шпонка; 3 — корпус ущільнення; 4, 7 і 14 — ущільнювальні кільця; 5 — рухливе кільце; б — нерухоме ущільнювальне кільце; 8—стопорна шайба; 9—гайка; 10—штифт; 11 — стопорна склянка; 12— пружина; 13 — лабіринт; 15 — опорна ковзанка; 16 — вісь ковзанки
Опорна ковзанка. У маточині кожного балансира на двох конічних роликопідшипниках 1 (рис. 5) обертається вісь 16 з напресованими опорними ковзанками 15, провертанню і спаданню яких перешкоджають шпонка і гайка 9. У корпусі 3 знаходяться рухоме кільце 5 і гумове кільце 4, що можуть вільно переміщатися вздовж корпуса й утримуються від провертання стопорним стаканом 11. Пружина 12 притискає кільце 5 до нерухомого кільця 6, що встановлено на маточині ковзанки; воно ущільнено гумовим кільцем 7 і зафіксоване від провертання штифтом 10. Лабіринт (безконтактне ущільнення) 13 перешкоджає влученню бруду до підшипників.
Вгорі балансири кареток розпирають дві циліндричні пружини, що зм'якшують поштовхи при наїзді трактора на перешкоду. На балансирах передніх кареток у кронштейнах встановлені гідроамортизатори, призначені для гасіння коливань, що виникають під час руху трактора.
Направляюче колесо 17 обертається в двох конічних підшипниках, що посаджені на шийки колінчатої осі 15 (рис. 6), встановленої у втулках кронштейна 16 рами трактора. З цапфою осі шарнірно зв'язаний шток 2 циліндра 1 гідравлічного натягу гусениці. Корпус циліндра з'єднаний із пружинним амортизатором проміжною ланкою 3.
Амортизатор направляючого колеса складається з двох циліндричних пружин 8 і 9, стиснутих гайкою 7 на натяжному болту 6, один кінець якого, утримуваний регулювальною гайкою 5 у вилці 4, шарнірно з'єднаний із проміжною ланкою 3, а другий через кулькову опору 10 впирається в кронштейн на рамі.

Рис. 6. Направляюче колесо трактора Т-150 з натяжним і пристроєм, що амортизує: 1 — циліндр гідравлічного натягу гусениці; 2 — шток; 3 — проміжна ланка; 4 — вилка; 5 і 7 — гайки; 6 — натяжний болт; 8 — велика пружина; 9 — мала пружина: 10 — кулькова опора; 11 — пробка; 12 — маслянка; 13 — пластинчастий клапан; 14 — корпус клапана; 15 — колінчата вісь; 16 — кронштейн; 17 — направляюче колесо
Підтримувальний ролик 3 (рис. 7) — їх два на кожну сторону трактора — обертається в двох кулькових підшипниках 4 і 6 на осі 5, запресованої в кронштейн 9. Гумові бандажі 10 ролика зм'якшують удари і знижують шум при русі гусениці по роликах. Кронштейн 9 осі прикріплюють болтами до кронштейнів рами.

Рис. 7. Підтримувальний ролик трактора Т-150: 1 — гайка; 2 — кришка; 3 — підтримувальний ролик; 4 і 6 — кульковий підшипники; 5 — вісь; 7 — корпус ущільнення; 8 — ущільнення; 9 — кронштейн підтримуючого ролика; 10 — гумовий бандаж.
Гусеничний ланцюг складений з 47 ланок 4 (рис. 2, а), шарнірно з'єднаних пальцями 3. Ланка має сім вушок і отвори для пальців. Середнє вушко (цівка) служить для зачеплення з зубами ведучого колеса. На внутрішній поверхні ланок зроблені бігові доріжки, по яких котяться опорні ковзанки; до зовнішньої поверхні ланки прилиті шпори, що поліпшують зчеплення з ґрунтом. Для надійного руху трактора з бічним ухилом по мерзлому ґрунті на усіх вушках ланки, за винятком крайніх, шпори повернені на 20° до осі вушок. З однієї сторони пальців 3 виштампувані голівки, що перешкоджають виходу пальців і ушкодженню обшивки трактора. З протилежної сторони пальці утримуються шайбами 1 і стопорними шплінтами 2.
Для натягу гусеничного ланцюга відкручують пробку 11 (рис. 6) і через масельничку 12 у голівці циліндра штоковим шприцом подають солідол у робочу порожнину Г. У циліндрі створюється тиск, що діє через шток 2 на колінчату вісь 15, яка провертаючись, переміщає направляюче колесо і натягає гусеницю.