| Скачать .docx |
Реферат: Торможение объемных двигателей
САНКТ-ПЕТЕРБУРГСКИЙ ГОСУДАРСТВЕННЫЙ МОРСКОЙ ТЕХНИЧЕСКИЙ УНИВЕРСИТЕТ
РЕФЕРАТ
«Торможение объемных двигателей»
СПб. 2007г.
Содержание
Объемные гидродвигатели
Тормозные клапаны
Ограничители расхода
Список использованной литературы
Объемные гидродвигатели
К объемным гидродвигателям относятся:
Гидромоторы, использующие энергию потока жидкости и сообщающие выходному валу неограниченное вращательное движение.
Гидроцилиндры, сообщающие выходному звену поступательное движение.
Поворотные гидродвигатели, сообщающие выходному валу ограниченное вращательное движение.
Гидроцилиндры широко применяют во всех отраслях техники и особенно часто в строительных землеройных, подъемно-транспортных, дорожных машинах, а также в технологическом оборудовании — металлорежущих станках, кузнечно-прессовых машинах.


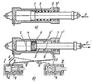
Гидроцилиндр одностороннего действия (рис. 1. а) имеет плунжер 1, перемещаемый силой давления жидкости в одну сторону. Обратный ход плунжера совершается под действием внешней силы F, если она действует непрерывно, или пружины 2. единственное наружное уплотнение плунжера состоит из основного 3 и грязезащитного 3’ уплотняющих элементов. Гидроцилиндр двустороннего действия (рис. 1. б) имеет поршень 4 со штоком 5, уплотненные внутренним 6 и наружным 7 уплотнителями. Разница полной S и кольцевой S’ площадей поршня ведет к различию в используемом давлении p при перемещении влево и вправо, если преодолеваемая внешняя сила F одинакова. Если к цилиндру подводится постоянный расход Q, то разница площадей приводит в зависимости от направления перемещения к различию скоростей движений поршня.
Для устранения этих явлений, когда они нежелательны, такие гидроцилиндры включают при помощи золотника по дифференциальной схеме (см. позиции I и II), при которой штоковая полость 8 непрерывно соединена с питающей линией 9. Если при этом S’=S/2, то при движении вправо (позиция золотника I) и влево (позиция золотника II) скорость v=Q/S’ и сила F=pS’ будут одинаковы. Для получения полной симметрии сил и скоростей применяют гидроцилиндры с двусторонним штоком (рис. 2) с одним внутренним 1 и двумя 2 и 3 наружными уплотнениями. В этом случае конструкция с закрепленным штоком (рис. 2. а) в полтора раза короче, чем конструкция с закрепленным цилиндром (рис. 2. б)


Количество уплотнений, являющихся источниками трения и местами наружных и внутренних утечек определяет объемный и механический КПД гидроцилиндра, а так же его надежность. С этой точки зрения из рассмотренных меньший КПД при прочих равных условиях имеет гидроцилиндр с двусторонним штоком.
Схема трехскоростного гидроцилиндра с двумя уровнями развиваемой силы показана на рис 3. Такие гидроцилиндры распространены в прессовом оборудовании. Быстрый ход сближения осуществляется заполнением полости через подвод 1 при линиях 2 и 3, соединенных с областью слива. Рабочий ход с малой скоростью на коротком пути осуществляется при питании полостей 4 и 6 через подводы 1 и 2. При этом цилиндр, используемый при максимальной рабочей площади, развивает максимальную силу при наименьшем давлении. Быстрый возвратный ход производится при заполнении полости 5 через линию 3, линии 1 и 2 при этом соединены с областью слива.

![]()
Телескопические гидроцилиндры (рис. 4) применяют в случаях, когда желаемый ход превышает допустимую установочную длину гидроцилиндра. Выдвижение секций цилиндра, если он питается через линию 1 от источника постоянного расхода Q будет происходить с разными скоростями и, если преодолеваемая сила F постоянна, при разных давлениях.
При выдвижении первым смещается до упора поршень 2 с малой скоростью при меньшем давлении. После полного выдвижения поршня 2 начинает перемещаться до полного выдвижения поршень 3. При этом скорость увеличивается, а давление возрастает. Выдвигание секций производится либо под действием силы F, либо путём подачи расхода Q через линию 4 в полости 6 и 7 через рукав 5.
Известно применение телескопических цилиндров, имеющих до шести секций.

![]()
|


Частым требованием к гидроцилиндрам является способность удерживать нагрузку при неподвижном поршне без подачи жидкости от насоса. Схема фиксирующего устройства на поршне 5 представлена на рис. 6. При равенстве давления в обеих полостях 6 и 7 цилиндра пружины 1 смещают шарики 2 на коническую поверхность 3, и шарики заклинивают поршень. При подаче жидкости от насоса в одну из полостей в ней появляется давление и скользящий уплотняющий элемент 4 смещается. Таким образом, перед началом движения поршня шарики выталкиваются из кольцевой корпусной щели и не препятствуют движению поршня. Такая система из-за износа стенок цилиндров применима только при малых нагрузках.


При больших нагрузках положение поршня фиксируется гидравлическими замками, представляющими управляемые обратные клапаны.
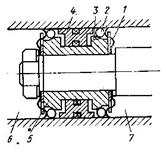
Эффективность работы гидроцилиндров, их КПД зависят в основном от работы уплотнителей поршней и штоков (рис. 7). Уплотнение, показанное на рис. 7,а состоит из резинового кольца 3 с пластиковым упорным кольцом 2 и защитного кольца 1, предохраняющего основное уплотнение от попадания грязи. Конструкция, изображенная на рис. 7,б представляет пакет V-образных манжет: уплотняющая 6 из резины и разделительных 5 из пластика. Гайкой 4 пакет может сжиматься для компенсации износа. На рис. 7,в и г представлены уплотнения поршней двустороннего действия: уплотнение высокого давления манжетами 7 поршня с направляющим поясом 8 и уплотнение двусторонней манжетой, служащей одновременно направляющим элементом. Последнее предназначено для умеренных давлений. Для надежной и продолжительной работы уплотнений и, следовательно, гидроцилиндров необходима обработка рабочих поверхностей цилиндров и штоков до
.



В исправно и длительно работающем уплотнении обязательно должна существовать утечка в виде смазывающей пленки, выносимой из полости на металлической поверхности, скользящей по уплотнению. Работа в режиме граничного или сухого трения без такой пленки сокращает срок службы уплотнений.
При малых давлениях и перемещениях h в качестве гидро- и пневмодвигателей поступательного движения применяют мембранные (рис. 8,а) и сильфонные (рис. 8,б) системы.


Поворотные гидродвигатели
На рис. 9,а изображен однопластинчатый двухкамерный, а на рис. 9,б – двухпластинчатый четырехкамерный двигатели. В конструкции таких гидродвигателей много общего с пластинчатыми гидромашинами. Ротор 4 уплотнен радиально относительно наружного корпуса 3 подвижной 5 и неподвижной 1 пластинами, которые образуют две или больше дуговые камеры 2 и 2’ – рабочие полости, в которые по каналам 6 подается и отводится жидкость. Для сокращения и устранения внутренних утечек по торцам ротора и пластин применяют подгонку боковых крышек с малыми зазорами, поджим одной из крышек с гидростатической разгрузкой или радиальные упругие уплотнения из резины или полимерных материалов. Надежное уплотнение торцов ротора является главной трудностью при создании таких гидродвигателей. Трение и утечки по торцам являются главными потерями энергии. Уплотняющие пластины выполняют для сокращения трения, как правило, гидростатически уравновешенными (рис. 9,в).


При четырехкамерном гидродвигателе развиваемый момент увеличивается, а угловая скорость уменьшается в 2 раза. Так как применение многокамерных систем сокращает возможный угол поворота ротора, число камер более четырех применяют редко.
Тормозные клапаны
Тормозные клапаны применяют в приводах механизмов опускания груза кранов, пневмоколесного хода экскаваторов, погрузчиков и других самоходных машин для исключения противообгонного скоростного режима при действии нагрузок, направление которых совпадает с направлением вращения двигателя.
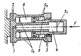
Тормозной клапан устанавливают на выходе из гидроцилиндра. Управление клапаном осуществляется от подводящей линии гидроцилиндра. Открытие клапана зависит от управляющего давления, обратно пропорционального внешней нагрузке. Вследствие этого скорость опускания груза остается примерно постоянной. Золотник, установленный в корпусе клапана, удерживается в положении "Закрыто" пружиной, усилие которой изменяется регулировочным винтом. Для обеспечения устойчивой работы, исключающей колебания золотника клапана, в линии управления установлены два регулируемых дросселя с обратными клапанами, которые независимо один от другого дросселируют подводящий и отводящий потоки рабочей жидкости. Отдельные типы тормозных клапанов часто изготавливают стыкового исполнения с двумя ступенями давления. На клапаны первой ступени управляющее давление действует непосредственно под торец клапана, а на клапаны второй ступени - через дополнительный плунжер меньшего диаметра. Настройка клапана, характеризуемая началом открытия щели, осуществляется поворотом винта.
Рассмотрим устройство и принцип действия тормозного клапана, представленного на рис. 10.


![]()
При подаче давления управления рабочая жидкость поступает из полости подвода У в полость отвода А . Настройка требуемого давления управления, при котором происходит открытие дроссельной щели золотника 6, производится регулировочным винтом 1.
В зависимости от изменения давления в линии управления изменяется площадь открытия дроссельной щели в золотнике 6, благодаря чему изменяется величина потока рабочей жидкости и скорость движения рабочего органа остается примерно постоянной независимо от величины попутной нагрузки.
В этих гидроклапанах для исключения колебаний величины потока, проходящего через щель (рывка при спуске рабочего органа), и настройки, необходимой для конкретного изделия времени срабатывания золотника 6, в линии управления установлены два регулируемых дросселя с обратными клапанами.
Регулировка этих дросселей осуществляется винтами настройки времени 12 и 73. Торможение производится как при опускании, так и при подъеме рабочего органа. Для торможения только в одном направлении к тормозному гидроклапану должен присоединится обратный гидроклапан.
Поток рабочей жидкости из линии управления и дренажных отверстий может отводиться по трубам от присоединительной плиты или непосредственно от корпуса клапана. К тормозному клапану может прифланцовываться обратный клапан, соответствующей установкой которого определяют направление потока при торможении гидродвигателя - от А к В или от В к А. Если обратный клапан не установлен, то торможение осуществляется при обоих направлениях потока. К тормозному клапану может быть присоединен также дополнительный предохранительный клапан.
Тормозные клапаны указанных типов используют для торможения лебедок грузоподъемных механизмов и гидроцилиндров телескопических стрел гидравлических экскаваторов.
Для поддержания заданной оператором скорости перемещения рабочих органов, движущихся под действием попутной внешней нагрузки, и обеспечения фиксации положения рабочего оборудования в гидросистемах самоходных машин применяются клапаны патронного исполнения для встраивания в панели и индивидуальные корпуса. Общий вид такого тормозного гидроклапана и его гидросхема представлены на рис. 9.

![]()
Гидроклапан тормозной представляет собой устройство, обеспечивающее разъединение подводящей А и отводящей В полостей при отсутствии давления управления в полости У и соединение их через регулируемый дроссель, величина проходного сечения которого зависит от величины давления управления. Клапаны можно устанавливать в гидросистеме в любом положении. При монтаже необходимо обеспечить свободный доступ к клапану, особенно к регулировочному винту.
Ограничители расхода
Ограничителем расхода называется клапан, предназначенный для ограничения расхода в гидросистеме или на каком-либо ее участке.
Принципиальная схема ограничителя расхода приведена на рис.12. Он состоит из подвижного поршня 3 и нерегулируемой пружины 6, помещенных внутри корпуса 7. В поршне имеется калибровочное отверстие 2 (нерегулируемый дроссель), а корпусе - окна 4. В сочетании с поршнем 3 окна 4 представляют собой регулируемый дроссель. В исходном положении пружина стремится передвинуть поршень в крайнее левое положение и открыть окна 4. При включении ограничителя расхода в гидросистему жидкость поступает в отверстие 1 и далее проходит через дроссель 2 и окна 4 к отверстию 5. При достижении жидкости через ограничитель расхода у дросселя 2 создается перепад давлений. При увеличении расхода перепад давлений увеличивается и поршень перемещается вправо, частично или полностью перекрывая окна 4. Когда расход в гидросистеме уменьшится, перепад давлений также уменьшится и поршень переместится влево, увеличив открытие окон.


Список использованной литературы
«Объемные гидравлические приводы» Т. М. Башта и др.-М.: Машиностроение, 1969 г.
«Гидравлика, гидромашины и гидроприводы.» Учебник для машиностр. Вузов Т. М. Башта, С. С. Руднев, Б. Б. Некрасов и др. 2-е изд. перераб.-М.: Машиностроение, 1928г