| Скачать .docx |
Реферат: Учебное пособие: Теория и практика управления судном
Содержание
Пояснительная записка
Образец титульного листа
Контрольная работа №1
Расчет пройденного расстояния и времени при пассивном и активном торможении
Расчет безопасной якорной стоянки
Учет инерции судна при швартовных операциях и определение положения мгновенного центра вращения неподвижного судна
Расчет увеличения осадки судна от крена, изменения плотности воды, проседания на мелководье и расчет безопасной ширины фарватера
Контрольная работа №2
Определение положения судна относительно резонансных зон, длины волны и построение резонансных зон
Буксировка судов
1 Расчет однородной буксирной линии
2 Расчет неоднородной симметричной буксирной линии
3 Расчет неоднородной несимметричной буксирной линии
4 Определение высоты волн для безопасной буксировки
5 Определение весовой игры буксирной линии
Снятие
1 Снятие судов с мели стягиванием
2 Снятие судов с мели способом отгрузки
3 Снятие судна с мели при наличии крена, когда внешняя
кромка банки лежит позади миделя
4 Снятие судна с мели дифферентованием в случае, когда лишь носовая часть киля лежит на грунте, а под остальной частью
киля имеется достаточный запас глубины
5 Снятие судна с мели с помощью выгрузки после предварительного перемещения груза с носа в корму, когда лишь носовая часть киля лежит на грунте, а под остальной частью киля имеется достаточный запас глубин
6 Снятие судна с мели дифферентованием, если часть груза снята, и когда лишь носовая часть киля лежит на грунте, а под остальной частью киля имеется достаточный запас глубин
7 Снятие судна с мели при отсутствии запаса глубины под килем с учетом работы машины на задний ход
8 Определение начальной скорости буксировщика при снятии с мели способом рывка
Пояснительная записка к выполнению контрольных работ
Студенты 5-го и 6-го курса заочной формы обучения по дисциплине «Теория и практика управления судном» согласно учебному плану должны выполнить 2 контрольные работы: №1 - на 5-м курсе и №2 - на 6-м .
Номер первой задачи выбирается по последней цифре шифра, а все последующие номера задач определяются путем прибавления к номеру первой задачи числа 10. Например: номер первой задачи 8, второй – 18, третьей - 28 и т.д.
Для всех видов задач приведены примеры их решения.
При выборе примера для решения задач, связанных с пассивным и активным торможением, следует обратить внимание на конструкцию винта (ВФШ, ВРШ) и на начальную скорость торможения.
При вычислениях записи делаются по форме: формула - числовое значение величин (без промежуточных вычислений) - результат.
При графическом решении задач на диаграммах и номограммах, последние должны быть приложены к контрольной работе.
На чистом поле листов диаграмм и номограмм надлежит указать фамилию студента и номер задачи.
Листы контрольной работы должны быть пронумерованы и подшиты.
Образец титульного листа прилагается.
Контрольная работа должна быть зарегистрирована на кафедре и передана для проверки преподавателю до начала экзаменационной сессии.
МІНІСТЕРСТВО ОСВІТИ І НАУКИ УКРАЇНИ
КИЇВСЬКА ДЕРЖАВНА АКАДЕМІЯ ВОДНОГО ТРАНСПОРТУ
імені гетьмана Петра Конашевича-Сагайдачного
Зразок
Контрольна робота № 1
з дисципліни:
“Теорія і практика управління судном”
Студента 5 курсу
заочної форми навчання
факультету судноводіння
Разгуліна В.В.
шифр 057040
Київ-2007
КОНТРОЛЬНАЯ РАБОТА № 1
Тема: “Расчет пройденного расстояния и времени при пассивном и активном торможении судна”
Примеры решения
Пример 1
Определить время падения скорости до V = 0,2 · Vo судна с ВФШ и ДВС после команды СТОП и пройденное за это время расстояние (время свободного торможения и выбег судна).
Масса судна m = 10000т, скорость полного хода Vo = 7,5 м/с, сопротивление воды при скорости Vo Ro = 350 кН, начальная скорость Vн = 7,2 м/с.
Решение.
1. Масса судна с учетом присоединенных масс воды
m1 = 1,1 m = 1,1 10000 = 11000 т
2. Инерционная характеристика судна
Sо
= ![]()
3. Продолжительность первого периода (до остановки винта)
t1
= 2,25 ![]()
4. Скорость в конце первого периода V1 = 0,6Vo , когда останавливается винт
V1 = 0,6 Vo = 0,6 7,5 = 4,5 м/с
5. Расстояние, пройденное в первом периоде, принимая
=0,2
S1
= 0,5 So
ℓn
= 0,5·1768·ℓn![]()
6. Во время второго периода (от скорости V1 = 4,5 м/с до скорости
V = 0,2 Vо = 0,2 · 7,5 = 1,5 м/с)
где
=0,5 - коэффициент сопротивления для ВФШ
7. Расстояние, пройденное во втором периоде
8. Время свободного торможения
tв = t1 + t2 = 115 + 524 = 639 ≈ 640 с
9. Выбег судна
Sв = S1 + S2 = 614 + 1295 = 1909 ≈ 1910 м.
- в радианах
Пример 2
Определить время падения скорости до V = 0,2 Vо судна с ВФШ и ДВС после команды СТОП и пройденное за это время расстояние (время свободного торможения и выбег судна), если свободное торможение осуществляется на скорости Vн ≤ 0,6 Vo
m = 10000 т, Vo = 7,5 м/с, Ro = 350 кН, Vн = 4,0 м/с
Решение
1. m1 = 1,1 m = 1,1 10000 = 11000 т
2. Sо
= ![]()
3. Определим скорость в конце первого периода, когда останавливается винт
V1 = 0,6 Vo = 0,6 7,5 = 4,5 м/с
4. Т.к. Vн < V1 , то винт останавливается мгновенно.
5. V = 0,2 · Vo = 0,2 · 7,5 = 1,5 м/с
6. Время падения скорости от Vн = 4,0 м/с до V = 1,5 м/с
![]()
где εвт = 0,5 – коэффициент сопротивления для ВФШ
Vн = V1
![]()
7.Расстояние, пройденное при падении скорости от Vн = 4,0 м/с до V = 1,5 м/с
![]()
Пример 3
Определить время падения скорости до V = 0,2 · Vо для судна с ВРШ и ГТЗА после команды СТОП и пройденное за это время расстояние (время свободного торможения и выбег судна).
m = 10000 т, Vo = 7,5 м/с, Ro = 350 кН, Vн = 7,2 м/с
Решение.
1. m1 = 1,1 m = 1,1 10000 = 11000 т
2. Sо
= ![]()
3. V = 0,2 Vo = 0,2 7,5 = 1,5 м/с
4. Время падения скорости до V = 1,5 м/с
![]()
где V1 = Vн = 7,2 м/с ,
εвт ≈ 0,7 – коэффициент сопротивления для ВРШ
![]()
5. ![]()
Пример 4
Определить время активного торможения и тормозной путь (нормальное реверсирование) судна с ВФШ и ДВС, если максимальный упор заднего хода Рз.х. = 320 кН.
m = 10000 т, Vo = 7,5 м/с, Ro = 350 кН, Vн = 7,2 м/с
Решение
1. Масса судна с учетом присоединенных масс
m1 = 1,1 m = 1,1 10000 = 11000 т
2. Инерционная характеристика судна
Sо
= ![]()
3. Продолжительность первого периода (до остановки винта)
t1
= 2,25 ![]()
4. Скорость в конце первого периода V1 = 0,6 Vo , когда останавливается винт
V1 = 0,6 Vo = 0,6 7,5 = 4,5 м/с
5. Расстояние, пройденное в первом периоде
S1
= 0,5 So
ℓn
,
где Ре
– тормозящая сила винта, работающего в режиме гидротурбины и составляющая примерно 0,2 Ro
, т.е.
= 0,2
S1
= 0,5 1768 ℓn ![]()
6. Продолжительность второго периода
t2
=
, где V1
= 4,5 м/с
Ре = 0,8 Рз.х. = 0,8 320 = 256 кН
t2
= ![]()
7. Расстояние, пройденное во втором периоде
S2
= 0,5 So
ℓn
т.к. к концу второго периода V = 0, то
S2
= 0,5 So
ℓn
= 0,5 1768 ℓn 
8. Время активного торможения
tι = t1 – t2 = 115 + 168 = 283 с
9. Тормозной путь
Sι = S1 + S2 = 614 + 354 = 968 ≈ 970 м.
Пример 5
Определить время активного торможения и тормозной путь (нормальное реверсирование) судна с ВФШ и ДВС после команды ЗПХ, если упор заднего хода Рз.х. = 320 кН и торможение осуществляется со скорости Vн ≤ 0,6 Vo .
Масса судна m=10000т, скорость полного хода Vo =7,5 м/с, сопротивление воды на скорости Vo Ro =350 кН, начальная скорость Vн =4,0 м/с.
Решение
1. Масса судна с учетом присоединенных масс
m1 = 1,1 m = 1,1 10000 = 11000 т
2. Инерционная характеристика судна
Sо
= ![]()
3. Скорость в конце первого периода, когда останавливается винт
V1 = 0,6 Vo = 0,6 7,5 = 4,5 м/с
4. В случае, если Vн ≤ V1 = 0,6 Vo (Vн = 4,0 м/с, V1 = 4,5 м/с), винт останавливается мгновенно и t1 = 0; S1 = 0.
5. Тормозящая сила винта
Ре = 0,8 Рз.х. = 0,8 320 = 256 кН
6. Время активного торможения
t =
,
где V1 = Vн = 4,0 м/с
t =
= 154 с
7. Тормозной путь
S = 0,5 So
ℓn
,
где V1 = Vн = 4 м/с
S = 0,5 1768 ℓn 
Пример 6
Определить время активного торможения и тормозной путь судна с ВРШ и ГТЗА, если максимальный упор заднего хода Рз.х. = 320 кН.
m = 10000 т, Vo = 7,5 м/с, Ro = 350 кН, Vн = 7,2 м/с
Решение
1. Масса судна с учетом присоединенных масс
m1 = 1,1 m = 1,1 10000 = 11000 т
2. Инерционная характеристика судна
Sо
= ![]()
3. Продолжительность активного торможения
![]()
,
т.к. к концу периода торможения V = 0, то
![]()
, где для ВРШ Ре
= Рз.х.
= 320 кН
![]()

4. Т.к. к концу периода торможения V = 0, то тормозной путь судна
S = 0,5 So
ℓn
, где V1
= Vн
= 7,2 м/с
S = 0,5 1768 ℓn 
![]()
5. ![]()
Задачи
Определить время падения скорости до V = 0,2 Vо после команды СТОП и пройденное за это время расстояние (время свободного торможения и выбег судна)
| № задачи |
m , м |
Vo , м/с |
Ro , кН |
Двигатель |
Vн , м/с |
| 1 |
8545 |
8,8 |
490 |
ДВС, ВРШ |
8,8 |
| 2 |
10210 |
8,7 |
420 |
ДВС, ВРШ |
8,7 |
| 3 |
11130 |
7,5 |
330 |
ДВС, ВФШ |
7,5 |
| 4 |
182000 |
7,7 |
1990 |
ГТЗА, ВРШ |
7,7 |
| 5 |
2725 |
6,1 |
140 |
ДВС, ВФШ |
6,1 |
| 6 |
29170 |
9,5 |
1050 |
ДВС, ВФШ |
7,0 |
| 7 |
11130 |
7,5 |
330 |
ДВС, ВФШ |
3,4 |
| 8 |
20165 |
7,2 |
460 |
ДВС, ВФШ |
3,0 |
| 9 |
61600 |
8,2 |
1080 |
ГТЗА, ВРШ |
3,3 |
| 10 |
2725 |
6,1 |
140 |
ДВС, ВФШ |
3,0 |
Определить время активного торможения и тормозной путь после команды ЗПХ
| № задачи |
m , м |
Vo , м/с |
Ro , кН |
Rз.х. , кН |
Двигатель |
Vн , м/с |
| 11 |
11130 |
7,5 |
330 |
340 |
ДВС, ВФШ |
7,5 |
| 12 |
29170 |
9,5 |
1050 |
1200 |
ДВС, ВФШ |
9,5 |
| 13 |
182000 |
7,7 |
1990 |
1900 |
ГТЗА, ВРШ |
7,7 |
| 14 |
10210 |
8,7 |
420 |
450 |
ДВС, ВФШ |
6,5 |
| 15 |
20165 |
7,2 |
460 |
500 |
ДВС, ВРШ |
5,0 |
| 16 |
87965 |
7,5 |
1120 |
1030 |
ГТЗА, ВРШ |
5,8 |
| 17 |
20165 |
7,2 |
460 |
480 |
ДВС, ВРШ |
3,0 |
| 18 |
61600 |
8,2 |
1080 |
350 |
ГТЗА, ВРШ |
3,3 |
| 19 |
2725 |
6,1 |
140 |
120 |
ДВС, ВФШ |
3,0 |
| 20 |
8545 |
8,8 |
490 |
470 |
ДВС, ВРШ |
4,0 |
Рекомендованная литература:
1. Сборник задач по управлению судами; Учебное пособие для морских высших учебных заведений / Н.А. Кубачев, С.С. Кургузов, М.М. Данилюк, В.П. Махин. – М. Транспорт, 1984, стр. 37 - 43.
2. Управление судном и его техническая эксплуатация; Учебник для учащихся судоводительских специальностей высших инженерных морских училищ. Под редакцией А.И. Щетининой. 3-е издание. – М. Транспорт, 1983, стр. 191 – 196.
3. Управление судном и его техническая эксплуатация. Под редакцией А.И. Щетининой 2-е издание. – М. Транспорт, 1975, стр. 305 – 311.
4. С.И. Демин. Торможение судна. – М. Транспорт, 1975, стр. 5 – 18.
5. Управление судном. Под общей редакцией В.И. Снопкова. – М. Транспорт, 1975, стр. 5 – 12, 25-37.
Тема: “Расчет безопасной якорной стоянки”
Пример
Танкер водоизмещением ∆ = 84500 тонн, длина L = 228 м, средняя осадка dср = 13,6 м, высота борта Нб = 17,4 м, масса якоря G = 11000 кг, калибр якорной цепи dц = 82 мм, глубина места постановки на якорь Нгл = 30 м, грунт – ил, наибольшая скорость течения Vт = 4 уз., угол между направлением течения и ДП θт = 20º, усиление ветра по прогнозу до u = 10-12м/с, угол между ДП и направлением ветра qu = 30º. По судовым документам площадь проекции надводной части корпуса судна на мидель
Аu = 570 м2 , то же на ДП Вu = 1568 м2 .
Определить:
- длину якорной цепи необходимую для удержания судна на якоре;
- радиус окружности, которую будет описывать корма судна;
- силу наибольшего натяжения якорной цепи у клюза.
Решение
1.Вес погонного метра якорной цепи в воздухе
qо = 0,021 dц 2 = 0,021 822 = 141,2 кг/м
2.Вес погонного метра якорной цепи в воде
qw = 0,87 qо = 0,87 141,2 = 122,84 кг/м
3. Высота якорного клюза над грунтом
Нкл = Нгл + (Нб - dср ) = 30 + (17,4 – 13,6) = 33,8 м
4. Удельная держащая сила якоря дана в условии задачи: К =1,3
5. Необходимая длина якорной цепи из расчета полного использования держащей силы якоря и отрезка цепи, лежащего на грунте
, где:
а – длина части якорной цепи, лежащей на грунте; принимаем, а = 50 м;
ƒ - коэффициент трения цепи о грунт дан в условии задачи: ƒ=0,15

6. Определим силу ветра, действующую на надводную часть судна
RA = 0, 61 Сха u² (Аu cos qu + Bu sin qu ), где
Сха – аэродинамический коэффициент задачи дан в условии Сха= 1,46
| qu º |
Сха |
||
| сухогр. судно |
пассаж. судно |
танкер, балкер |
|
| 0 |
0,75 |
0,78 |
0,69 |
| 30 |
1,65 |
1,66 |
1,46 |
| 60 |
1,35 |
1,54 |
1,19 |
| 90 |
1,20 |
1,33 |
1,21 |
RA = 0,61 1,46 122 (570 cos 30º + 1568 sin 30º) =163,850 кН = 16,7 m
7.Определим силу действия течения на подводную часть судна
Rт = 58, 8 Вт Vт 2 sin θт , где:
Вт – проекция подводной части корпуса на ДП судна,
Вт ≈ 0,9 L dcp = 0,9 · 228 · 13,6 = 2790,7 ≈ 2791 м2
Vт – скорость течения в м/с
Vт = 4 уз. ≈ 2 м/с
Rт = 58,8 2791 22 sin 20º = 224,517 кН = 22,9 m
8.Определим силу рыскания судна при усилении ветра
Rин = 0,87 G = 0,87 11000 = 9,57 m = 93,882 кН
9.Сумма действующих на судно внешних сил
∑ R = RА + Rт + Rин = 163,850 + 224,517 + 93,882 = 482,249 кН = 49,2 m
10.Определим минимальную длину якорной цепи, необходимую для удержания судна на якоре, при условии Fг = Fх = ∑ R (н) = 10 · G · К и коэффициенте динамичности Кд = 1,4
, где:
К = 1,3 – удельная держащая сила грунта,
qw = 122,84 кг/м – вес погонного метра якорной цепи в воде

С целью обеспечения безопасности якорной стоянки надлежит вытравить
9 смычек = 225 м якорной цепи.
11. Определим горизонтальное расстояние от клюза до точки начала подъема якорной цепи с грунта
x=

= 214,21 м ≈ 214 м.
Следовательно, длина цепи, лежащая на грунте составляет
а = 225 – 214=11м
12. Радиус окружности, которую будет описывать корма танкера
Rя = а + х + L = 11 + 214 + 228 = 453 м
13. Определим силу наибольшего натяжения якорной цепи у клюза
F2
= 9,81 qw
![]()
Задачи
Определить:
- длину якорной цепи, необходимую для удержания судна на якоре;
- радиус окружности, которую будет описывать корма судна;
- силу наибольшего натяжения якорной цепи у клюза.
| Исходные данные |
Номера задач
|
|||||||||
| 21 |
22 |
23 |
24 |
25 |
26 |
27 |
28 |
29 |
30 |
|
| Тип судна |
Сухо-груз |
Пассаж |
Танкер |
Сухогруз |
Танкер |
Балкер |
Пассаж. |
Балкер |
Сухо груз |
Танкер |
| Водоизмещение ∆, m |
21000 |
10565 |
35930 |
20286 |
30000 |
33090 |
18300 |
55600 |
26200 |
18900 |
| Длина L, м |
150 |
134 |
179 |
155 |
186 |
183 |
195 |
218 |
171 |
152 |
| Ср. осадка dср , м |
9,5 |
6,2 |
10,4 |
9,2 |
9,8 |
7,6 |
8,3 |
12,4 |
10,1 |
8,2 |
| Высота борта Нб , м |
11,7 |
16,3 |
13,6 |
13,4 |
12,6 |
12,1 |
18,9 |
17,0 |
13,1 |
10,4 |
| Площади проекций Аu , м2 надв. части корпуса Вu , м2 |
195 |
410 |
382 |
341 |
360 |
390 |
532 |
405 |
320 |
240 |
| 790 |
2480 |
1320 |
1280 |
1210 |
1290 |
3530 |
1470 |
840 |
960 |
|
| Грунт |
песок |
галька |
ил |
галька |
песок |
ил |
песок |
галька |
ил |
песок |
| Масса якоря G, кг |
5100 |
3650 |
7000 |
5000 |
5850 |
6800 |
6500 |
8600 |
5800 |
4800 |
| Уд. держ. сила якоря К |
2,6 |
3,5 |
2,1 |
3,3 |
2,6 |
2,1 |
2,5 |
3,2 |
2,2 |
2,6 |
| Калибр цепи dц ,мм |
57 |
53 |
72 |
57 |
68 |
72 |
72 |
78 |
68 |
57 |
| Коэф. трения цепи ƒ |
0,35 |
0,38 |
0,12 |
0,38 |
0,35 |
0,12 |
0,35 |
0,38 |
0,12 |
0,35 |
| Глубина Нгл , м |
25 |
30 |
35 |
45 |
40 |
40 |
35 |
30 |
25 |
20 |
| Ветер qu , град u, м/с |
30 10 |
60 10 |
45 14 |
60 8 |
30 12 |
30 14 |
45 10 |
60 10 |
30 8 |
45 10 |
| Течение θт , град Vт , уз. |
60 1 |
30 2 |
45 2 |
30 2 |
20 3 |
40 2 |
45 1 |
50 1 |
45 1 |
30 2 |
| Аэродинамический коэффициент Сха |
1,65 |
1,54 |
1,32 |
1,35 |
1,46 |
1,46 |
1,60 |
1,19 |
1,65 |
1,32 |
Рекомендованная литература:
1. Управление судном и его техническая эксплуатация. Учебник для учащихся судоводительских специальностей высших инженерных, морских училищ. Под редакцией А.И. Щетининой. 3-е издание.- Транспорт, 1983, стр.241-249.
2. Управление судном и его техническая эксплуатация. Учебник для учащихся судоводительских специальностей высших инженерных, морских училищ. Под редакцией А.И. Щетининой. 2-е издание.- М.Транспорт, 1975, стр.336-349.
3. Сборник задач по управлению судами. Учебное пособие для морских высших учебных заведений. Н.А. Кубачев, С.С. Кургузов, М.М. Данилюк, В, П. Махин. – М. Транспорт, 1984, стр.17-20.
4. Управление судном. Под общей редакцией В.И. Снопкова.-
М. Транспорт, 1991, стр. 206-221.
Тема: “Учет инерции судна при швартовных операциях и определение положения мгновенного центра вращения неподвижного судна”
Примеры решения
Пример 1
Определить инерционную характеристику судна tv 1 на скорости VH 1 = 7,2 м/с (14 уз.), если Vo = 7,5 м/с (14,6 уз.), а So = 2500 м.
Примечание: характеристика tv численно равна времени падения скорости от VH до 0,5 VH при свободном торможении.
Решение
tv
1
=
с = 4 м 42 с
Задачи
Определить инерционную характеристику tv на скорости VH .
| Номер задачи |
31 |
32 |
33 |
34 |
35 |
36 |
37 |
38 |
39 |
40 |
| Vo , м/с So , м/с Vн , м/с |
6,1 780 3,0 |
8,8 1490 4,0 |
8,7 2020 3,4 |
7,5 2120 4,0 |
7,2 2520 3,0 |
7,7 2760 3,5 |
9,5 2840 4,0 |
8,2 4220 3,3 |
7,5 4930 3,4 |
7,7 5940 2,6 |
Пример 2
Судно, следуя против течения, подходит к причалу со скоростью VH ' = 3 уз. Относительно грунта. Скорость течения Vт = 2 уз.
Определить на каком расстоянии от причала дать СТОП, чтобы:
а) остановиться у причала без реверса двигателя на задний ход;
б) иметь скорость относительно причала не более V= 0,5 уз.
Инерционная характеристика tv = 7 мин.
Решение
а) VH = VH ' + Vт = 3 + 2 = 5 уз.
Скорость относительно воды у причала:
V = Vт = 2 уз. ; ∆V = VH – V = 5 – 2 = 3 уз.
S =
кб
б) VH = 5 уз.
Скорость относительно воды у причала
V = Vт + 0,5 = 2 + 0,5 = 2,5 уз.; ∆V = VH – V = 5 – 2,5 = 2,5 уз.
S =
кб
Задачи
Судно следует против течения к причалу со скоростью Vн относительно грунта. Определить на каком расстоянии от причала дать СТОП чтобы:
а) остановиться у причала без реверса двигателя на задний ход;
б) иметь скорость относительно причала не более Vуз.
| Номер задачи |
41 |
42 |
43 |
44 |
45 |
46 |
47 |
48 |
49 |
50 |
| Vн , уз. Vт , уз. V, уз. tv , мин. |
2,5 1,5 0,5 3,0 |
3,0 2,0 1,0 4,2 |
4,0 1,0 0,5 5,5 |
3,4 2,0 1,0 6,0 |
2,5 2,5 1,0 8,0 |
3,0 2,0 0,5 9,0 |
4,0 1,0 0,5 7,4 |
4,8 1,5 0,5 11,0 |
3,4 1,0 0,5 16,5 |
2,6 2,0 1,0 18,8 |
Пример 3
Определить расстояние, на котором будет остановлено судно работой винта на задний ход ωз.х.
= 60 об/мин., если скорость судна перед дачей заднего хода VH
= 2 уз. Скорость полного хода Vо
= 16 уз. Частота вращения винта при работе на полный задний ход ωз.хо.
= 105 об/мин. Инерционная характеристика Sо
= 2500 м, тормозная характеристика
= 0,9.
Решение
Sт = 1,3 α (1 + α) Sо
где α = 
Sт = 1,3 0,025 (1 + 0,025) 2500 = 83 м
Задачи
Определить расстояние, на котором будет остановлено судно работой винта на задний ход с частотой вращения ωз.х. , если скорость перед дачей заднего хода Vн . Известна тормозная характеристика судна Рз.х. /Rо , соответствующая частота вращения винта на полный задний ход ωз.хо., инерционная характеристика Sо , скорость полного хода Vо.
| Номер задачи |
51 |
52 |
53 |
54 |
55 |
56 |
57 |
58 |
59 |
60 |
| Vн , уз. ωз.х. , об/мин. Vо , уз. Sо , м ωз.хо. , об/мин. Рз.х. /Rо |
1,5 45 12,0 780 105 1,0 |
2,8 60 17,2 1490 115 1,1 |
2,1 50 17,0 2020 120 1,2 |
1,0 50 14,6 2120 100 1,1 |
1,2 40 14,0 2520 110 1,3 |
0,9 60 15,0 2760 75 0,7 |
1,8 70 18,5 2840 130 1,4 |
2,0 50 16,0 4220 60 0,4 |
1,4 65 14,6 4930 100 1,1 |
1,1 70 15,0 5940 90 0,7 |
Пример 4
Определить кинетическую энергию навала судна Д = 250000 тонн на докфиндер причала при скорости подхода V = 0,1 м/с, коэффициент энергии навала Кн = 0,9, коэффициент присоединенной массы μ = 0,35, g = 9,81 м/с2 .
Решение.
W = κн
тонн
Задачи
Определить кинетическую энергию навала судна
| Номер задачи |
61 |
62 |
63 |
64 |
65 |
66 |
67 |
68 |
69 |
70 |
| Д, тыс.т V, м/с Кн μ |
380 0,05 0,5 0,22 |
370 0,1 0,5 0,23 |
360 0,15 0,6 0,24 |
350 0,2 0,7 0,25 |
340 0,1 0,6 0,26 |
330 0,05 0,7 0,27 |
320 0,2 0,6 0,28 |
310 0,1 0,7 0,29 |
300 0,15 0,7 0,30 |
290 0,05 0,8 0,31 |
Пример 5
Под углом 90º к ДП судна подан буксир на расстоянии d =
от центра тяжести судна (G) в корму. Длина судна L = 300 м. Определить расстояние (К) мгновенного центра вращения (О) от центра тяжести судна (G) и радиус, которым оконечность кормы судна опишет дугу вокруг мгновенного центра вращения.
Решение:
d =
=
= 100 м ;
м ;
а =
- d =
- 100 = 50 м ; R = К + d + а = 56,25+100+50 = 206,25 м
Задачи
Определить положение центра вращения неподвижного судна и радиус, которым оконечность кормы опишет дугу вокруг мгновенного центра вращения
| Номер задачи |
71 |
72 |
73 |
74 |
75 |
76 |
77 |
78 |
79 |
80 |
| L, м d, |
320 L/2 |
320 L/3 |
320 L/4 |
320 L/5 |
320 L/6 |
320 L/8 |
320 L/10 |
320 L/12 |
320 L/16 |
320 L/32 |
Рекомендованная литература:
1. Сборник задач по управлению судами. Учебное пособие для морских высших учебных заведений / Н.А. Кубачев, С.С. Кургузов, М.М. Данилюк, В.П. Махин. – М. Транспорт, 1984, стр. 57-62.
2. Управление судном и его техническая эксплуатация. Учебник для учащихся судоводительских специальностей высших инженерных морских училищ. Под редакцией А.И. Щетининой. 3-е издание. – М. Транспорт, 1983, стр. 284-286.
3. С.Г. Погосов. Швартовка крупнотоннажных судов. – М. Транспорт, 1975, стр. 67-72.
Тема: “Расчет увеличения осадки судна от крена, изменения плотности воды, проседания на мелководье и расчет безопасной ширины фарватера”
Примеры решения
Пример 1
І. Танкер длиной L = 174 м, шириной В = 23,5 м со статической осадкой Тсm = 9,8 м на ровном киле следует со скоростью V = 14 уз (7,2 м/с) на мелководье, Hгл = 14,8 м.
Определить суммарное увеличение осадки от крена судна θ = 3º, при изменении плотности воды от ρ1 = 1,025 m/м3 до ρ2 = 1,008 m/м3 при поправке на пресную воду ∆Т = 213 мм и от проседания на мелководье.
Решение
1. Увеличение осадки от крена
∆Ткр
tg θ =
tg 3º = 0,61 м
Формула используется при θ ≤ 8![]()
2. Увеличение осадки от изменения плотности воды
∆Тпл =
·∆Т =
213 = 0,15 м
3. Увеличение осадки от проседания на мелководье
∆Тv
´ =
·
при 1,5 <
< 4
или ∆Тv
=
при
≤ 1,4
где Кv
– коэффициент, зависящий от
см. таблицу
L/B Кv L/B Кv
4 1,32 8 1,17
5 1,27 9 1,15
6 1,23 12 1,1
7 1,19
=
= 7,4 К = 1,18; ∆Тv
´ =
·
= 0,84 м
4. Увеличение дифферента на корму при коэффициенте общей полноты корпуса
≤ 0,65
∆Тк = Кк ∆Тv
´, где Кк – коэффициент, зависящий от
см. таблицу
L/B Кк
3,5 – 5,0 1,5 – 1,25
5 – 7 1,25 – 1,1
7 – 9 1,1
=
= 7,4 Кк = 1,1
∆Тv = Кк ∆Тv ´ = 1,1·0,84 = 0,92 м
5. Суммарное увеличение осадки
а) на миделе
∆Т= ∆Ткр + ∆Тпл + ∆Тv′ = 0,61 + 0,15 + 0,84 = 1,60 м
б) кормой при острых отводах кормы
∆Тк = ∆Тпл + ∆Тvк = 0,15 + 0,92 =1,07 м
т.е. максимальное увеличение осадки ∆Т = 1,60 м
2. Максимальная динамическая осадка
Тдин = Тсm + ∆Т = 9,80 + 1,60 = 11,40 м
Задачи
Определить суммарное увеличение осадки:
1) от крена судна θ ;
2) при переходе судна из воды с плотностью ρ1 в воду с плотностью ρ2 при поправке на пресную воду ∆Т ;
3) от проседания при плавании на мелководье по формулам Института гидрологии и гидротехники АН СССР для судов с острыми отводами;
4) при увеличении дифферента на корму и максимальную осадку
| Номер задачи |
L, м |
В, м |
Тсm, м |
Θ, град. |
∆Т, мм |
ρ1 m /м 3 |
ρ2 m /м 3 |
Нгл, м |
* V, уз. |
| 81 |
100 |
13,3 |
6,30 |
3 |
85 |
1,030 |
1,000 |
7,80 |
9,5 |
| 82 |
102,3 |
14,1 |
6,35 |
4 |
87 |
1,029 |
1,002 |
8,90 |
10,0 |
| 83 |
104,2 |
15,2 |
6,40 |
5 |
90 |
1,028 |
1,005 |
10,60 |
11,5 |
| 84 |
105,6 |
14,4 |
6,55 |
6 |
92 |
1,027 |
1,007 |
8,80 |
10,5 |
| 85 |
108,1 |
15,3 |
6,70 |
7 |
97 |
1,026 |
1,008 |
10,70 |
10,8 |
| 86 |
110,6 |
15,4 |
6,85 |
8 |
100 |
1,025 |
1,013 |
8,80 |
12,5 |
| 87 |
112,5 |
16,0 |
7,05 |
7 |
116 |
1,024 |
1,008 |
9,40 |
11,8 |
| 88 |
114,4 |
16,3 |
7,10 |
6 |
123 |
1,023 |
1,010 |
11,40 |
13,2 |
| 89 |
116,7 |
16,6 |
7,25 |
5 |
131 |
1,022 |
1,015 |
9,60 |
12,4 |
| 90 |
138,0 |
19,9 |
8,50 |
4 |
175 |
1,021 |
1,004 |
11,90 |
13,0 |
V, уз. перевести в V м/с
Пример 2
Определить приращение осадки судна при плавании на мелководье и в узком канале по Формулам Барраса, когда отношение глубины к осадке
, а отношение площади подводной части миделя судна к площади поперечного сечения канала
. Длина судна L=160 м, ширина В=26,7 м, осадка Тср
=10,80 м , объемное водоизмещение судна
Vоб =34635 м3 , глубина Н=12, 40 м, скорость судна V=8 уз.
Решение
1. Коэффициент общей полноты судна
2. Увеличение осадки на мелководье
![]()
3. Увеличение осадки в канале
![]()
Задачи
| Номер задачи |
L, м |
В, м |
Т , м |
Vоб , м3 |
V, уз |
Нгл , м |
| 91 |
167,4 |
27,4 |
10,65 |
33217 |
9,5 |
12,5 |
| 92 |
174,6 |
28,5 |
9,80 |
34136 |
10,0 |
11,3 |
| 93 |
188,9 |
29,3 |
10,85 |
43238 |
11,5 |
12,8 |
| 94 |
202,4 |
31,6 |
11,25 |
53245 |
12,5 |
13,1 |
| 95 |
210,0 |
35,2 |
12,80 |
71909 |
10,8 |
14,4 |
| 96 |
212,4 |
34,8 |
12,95 |
74662 |
9,7 |
15,0 |
| 97 |
217,3 |
34,5 |
13,05 |
78267 |
13,4 |
15,1 |
| 98 |
221,6 |
33,7 |
13,10 |
80220 |
12,2 |
15,3 |
| 99 |
227,8 |
34,2 |
13,15 |
82983 |
12,0 |
15,8 |
| 100 |
231,5 |
35,7 |
13,25 |
85414 |
11,0 |
15,0 |
Пример 3
По методу NPL определить изменение осадки танкера: L
= 300 м
на скорости 14 уз. при Тcm = 13,5 м;
дифферент ψ = 0, на глубине Нгл=20 м; (см. Приложение 1)
Для использования номограммы NPL необходимо выполнение следующих условий:
- коэффициент полноты объема корпуса судна должен быть 0,80≤ δ≤90
- отношение длины судна к его ширине
;
- отношение глубины моря к осадке 1,1≤
≤1,5 ;
- число Фруда по глубине Frh
= 0,1
0,6;
Решение
1. По номограмме NPL (см. лист. Приложение 1) из точки А, соответствующей значению V = 14 уз., провести вертикаль до пересечения с линией глубины моря Н = 20 м (точка В);
2. Из точки В провести горизонталь на правую часть номограммы до пересечения с линиями заданного дифферента ψ = 0 (точка С – нос, точка С' – корма);
3. Из точек С и С' опустить вертикальные линии до пересечения с линией длины судна L = 300 м (точки D и D');
4. Из точек D и D' провести горизонтали до пересечения осадок и снять результат: приращение осадки носом ∆Тн=+1,98м, приращение осадки кормой ∆Тк=+1,48м
Задачи
| Номер задачи |
L , м |
Тсm, м |
Нгл, м |
Дифферент ψ |
V, уз. |
| 101 |
190 |
9,85 |
13,0 |
0 |
12 |
| 102 |
200 |
11,15 |
15,0 |
1/100 на корму |
12 |
| 103 |
210 |
12,85 |
16,0 |
1/100 на корму |
13 |
| 104 |
230 |
13,10 |
17,0 |
0 |
14 |
| 105 |
240 |
13,55 |
18,0 |
1/500 на нос |
14 |
| 106 |
250 |
14,00 |
17,0 |
1/500 на нос |
15 |
| 107 |
280 |
15,65 |
19,0 |
0 |
12 |
| 108 |
300 |
18,40 |
22,0 |
1/100 на корму |
11 |
| 109 |
330 |
21,70 |
26,0 |
1/100 на корму |
10 |
| 110 |
350 |
23,90 |
28,0 |
0 |
12 |
Пример 4
а) Определить ширину свободного пространства прохождения судна в узкости на прямолинейном участке
L = 174м – длина судна;
В = 23,5м – ширина судна;
* V = 18 уз – скорость судна;
= 200м – наибольшая ошибка;
tu = 10мин = 600с – промежуток времени между обсервациями;
t3 = 3,5 мин=150с – время на определение и прокладку линий положения;
Со = 5 о – учитываемый угол сноса;
Со
=
- ошибка в угле сноса;
ω = 0.1 град/c – средняя угловая скорость поворота;
Z = 30м – необходимый навигационный запас.
* V, уз. перевести в V м/с
Решение
в = 2 δm
+ 2V (tu
+ tз
)
=
= 2 · 200 + 2 · 7,2 (600 + 150)
+ 23,5 + 2 · 30 ≈ 887м.
в) Определить будет ли достаточной ширина фарватера 400 м при проводке судна по створу (непрерывное наблюдение за смещением судна, tu =0, tз = 0) при тех же условиях.
Решение
в = 2 δm
+
= 2 · 200 +
+ 23,5 + 2 · 30= =510 м.
Ширина фарватера не достаточна.
Задачи
а) Определить ширину полосы свободного пространства для прохождения судном узости:
| Номер задачи |
L, м |
В, м |
V, м /с |
δm , м |
tu , с |
tз , с |
С, град. |
∆С, град. |
Z, м |
ω град./с |
| 111 |
126,0 |
17,0 |
6,0 |
200 |
600 |
150 |
5,0 |
2,0 |
30 |
0,1 |
| 112 |
180,0 |
27,2 |
8,0 |
300 |
600 |
150 |
4,0 |
2,0 |
40 |
0,1 |
| 113 |
214,0 |
31,0 |
7,0 |
200 |
600 |
150 |
5,0 |
3,0 |
50 |
0,1 |
| 114 |
245,0 |
38,0 |
6,0 |
300 |
600 |
150 |
4,0 |
2,0 |
50 |
0,2 |
| 115 |
277,0 |
45,0 |
8,0 |
200 |
600 |
150 |
5,0 |
3,0 |
50 |
0,2 |
в) Определить будет ли достаточной ширина фарватера 150 м при проводке судна по створу.
| Номер задачи |
в , м |
L, м |
В, м |
V, м /с |
δm , м |
С, град. |
∆С, град. |
Z, м |
ω град./с |
| 116 |
150 |
165,0 |
25,3 |
3,0 |
25,0 |
12,0 |
5,0 |
10,0 |
0,1 |
| 117 |
200 |
236,0 |
39,0 |
3,0 |
25,0 |
3,0 |
1,0 |
10,0 |
0,1 |
| 118 |
200 |
190,6 |
31,4 |
4,0 |
25,0 |
8,0 |
3,0 |
10,0 |
0,1 |
| 119 |
150 |
172,0 |
22,8 |
3,0 |
25,0 |
3,0 |
1,0 |
10,0 |
0,1 |
| 120 |
150 |
109,0 |
16,6 |
4,0 |
25,0 |
5,0 |
2,0 |
10,0 |
0,1 |
Рекомендованная литература:
1. Сборник задач по управлению судами. Учебное пособие для морских высших учебных заведений / Н.А. Кубачев, С.С. Кургузов, М.М. Данилюк, В.П. Махин. – М. Транспорт, 1984, стр. 48 - 57.
2. Управление судном и его техническая эксплуатация. Учебник для учащихся судоводительских специальностей высших инженерных морских училищ. Под редакцией А.И. Щетининой. 3-е издание. – М. Транспорт, 1983, стр. 383 – 392.
3. Управление судном и его техническая эксплуатация. Под редакцией А.И. Щетининой 2-е издание. – М. Транспорт, 1975, стр. 393 – 401.
Контрольная работа № 2
Тема : «Определение положения судна относительно резонансных зон, длины волны и построение резонансных зон»
Примеры решения
Пример 1
Определение положения судна относительно резонансных зон.
Судно следует в условиях регулярного волнения, когда определение длины волны не представляет затруднений. Сравниваем ее с длиной судна. Определить положение судна относительно резонансных зон.
Дано: Длина судна L = 101,9 м; ширина судна В = 16,7 м; осадка судна
Т = 7,0 м; скорость судна Vs = 10 уз.; поперечная метацентрическая высота h = 0,9 м; курсовой угол направления движения волны q = 45º; длина волны λ = 90 м.
Решение
1. Рассчитать кажущийся период волн:
![]()
2. Находим период бортовой качки судна
; принимаем К = 0,8
3. Определяем период килевой качки
![]()
4. Рассчитываем отношения:
![]()
Выводы:
а) по бортовой качке судно находится в дорезонансной зоне, т.е.
< 0,7;
б) по килевой качке судно находится в резонансной зоне
(0,7 <
< 1,3) и испытывает килевую качку
Задачи
| Исходные данные |
Номер задачи |
|||||||||
| 1 |
2 |
3 |
4 |
5 |
6 |
7 |
8 |
9 |
10 |
|
| В, м |
19,7 |
20,0 |
17,7 |
14,4 |
16,7 |
16,7 |
14,0 |
17,7 |
19,2 |
20,0 |
| Т, м |
9,2 |
8,6 |
7,8 |
6,5 |
7,1 |
6,8 |
5,8 |
7,6 |
6,6 |
8,2 |
| h, м |
0,97 |
0,92 |
0,95 |
0,85 |
0,90 |
0,88 |
0,94 |
0,90 |
1,20 |
0,95 |
| Vs , уз. |
14,0 |
12,0 |
8,0 |
9,0 |
13,0 |
6,0 |
4,0 |
10,0 |
12,0 |
12,0 |
| qº |
130 |
110 |
35 |
80 |
140 |
25 |
15 |
160 |
45 |
120 |
| λ, м |
100 |
40 |
60 |
30 |
80 |
70 |
40 |
130 |
120 |
90 |
Пример 2
Определение длины волны с помощью универсальной диаграммы качки (Приложение 2).
Судно следует в условиях нерегулярного волнения. Для определения средней величины кажущегося периода волн измерили суммарное время прохождения серии волн и вычислили τ как среднее арифметическое.
Определить среднее значение длины волн.
Дано: Скорость судна Vs = 10 уз. ; курсовой угол направления движения волны q = 30º; кажущийся период волн τ ′= 7 с.
Решение
1. Находим в нижней части диаграммы точку, соответствующую значениям Vs = 10 уз. и q = 30º.
2. Проводим из этой точки вертикальную линию в верхнюю часть диаграммы до пересечения с кривой τ′ = 7 с.
3. Ордината полученной точки соответствует длине волны λ = 130 м.
Задачи
| Исходные данные |
Номер задачи |
|||||||||
| 11 |
12 |
13 |
14 |
15 |
16 |
17 |
18 |
19 |
20 |
|
| Vs , уз. |
12 |
10 |
13 |
12 |
12 |
11 |
8,5 |
12 |
16 |
14 |
| q, град. |
35 |
120 |
15 |
95 |
170 |
40 |
105 |
50 |
35 |
120 |
| τ, с |
6 |
12 |
5 |
9 |
17 |
6,5 |
8,5 |
6 |
8 |
14 |
Пример 3
Построение резонансных зон на универсальной диаграмме Ремеза (Приложение 3) по измеренному кажущемуся периоду волн.
Построить резонансные зоны для бортовой и килевой качки.
Дано: Длина судна L = 139,4 м; скорость судна Vs = 12 уз., q = 120º; период собственных поперечных колебаний судна Тθ = 18 с; период собственных продольных колебаний судна Тψ = 8 с, кажущийся период волн τ′= 12 с.
Решение
1. Находим длину волны (см. Пример 2 этой темы): λ = 140 м.
2. Из точки пересечения горизонтали с ординатой, равной λ = 140 м и кривой τ′ = Тθ = 18 с, проводим в нижнюю часть диаграммы линию чистого резонанса по бортовой качке.
3. Рассчитаем
и
(можно воспользоваться шкалой в верхней части диаграммы)
4. Из точек пересечения кривых τ′ = 14 с и τ′ = 26 с с горизонталью λ = 140 м проводим вертикальные линии в нижнюю часть диаграммы. Эти вертикали ограничивают резонансную зону по бортовой качке.
5. Линию чистого резонанса по килевой качке проводим из точки пересечения кривой τ′=Тψ =8 с горизонталью λ=140м. Линии, ограничивающие резонансную зону по килевой качке, проводим из точек пересечения горизонтали λ=140 м с кривыми τ′ =Тψ / 1,3=8/1,3=6 с и τ′ =Тψ /0,7=8/0,7=11 с
Ответ: вертикали, ограничивающие резонансную зону по бортовой качке, отсекают на внешней полуокружности курсовых углов значения 112º и 138º, а по килевой качке значения 45º и 100º.
Задачи
| Исходные данные |
Номер задачи |
|||||||||
| 21 |
22 |
23 |
24 |
25 |
26 |
27 |
28 |
29 |
30 |
|
| Vs , уз. |
14 |
14 |
10 |
12 |
9 |
12 |
11 |
8 |
10 |
13 |
| Тθ , с |
10 |
12 |
14 |
16 |
14 |
10 |
11 |
12 |
10 |
14 |
| Тψ , с |
6 |
6 |
5 |
6 |
5 |
5 |
8 |
5 |
5 |
4 |
| q, град. |
30 |
85 |
45 |
155 |
30 |
10 |
30 |
60 |
0 |
60 |
| τ, с |
4 |
4,5 |
9 |
16 |
8 |
4 |
5 |
7 |
5 |
7 |
Пример 4
Построение резонансной зоны бортовой качки по высоте волны. (Приложение 4)
Судно следует в условиях, когда волнение имеет явно выраженный нерегулярный характер. Определить резонансную зону бортовой качки по высоте волны 3 %-ной обеспеченности, τ рассчитывать с точностью до 1 с.
Дано: Тθ = 20 с; h3% = 4м.
Решение
1. Из точек шкал А и В, соответствующих hв = 4 м, проводим горизонтали до пересечения с кривой τ′ = 20 с в части диаграммы, расположенной выше кривой τ′ = ∞.
2. Из точек пересечения опускаем вертикали, которые на нижней части диаграммы ограничат зону значений V и q, отвечающих чистому резонансу бортовой качки.
3. Рассчитываем Тθ
/ 1,3 = 15,4 с и Тθ
/ 0,7 = 28,6 с. Так же, как и кривая τ′=20с, кривые τ′=
и τ′=
пересекаются горизонталями, упомянутыми в п.1. При этом образуется фигура с 4-мя точками пересечения. Из крайней левой и крайней правой точек пересечения проводим вертикальные линии, которые на нижней части диаграммы ограничат резонансную зону бортовой качки.
Крайней левой точкой пересечения будет точка пересечения кривой
τ′ = 29 с горизонталями h3% = 4м шкалы В, а крайней правой – точка пересечения кривой τ′ = 15 с и горизонталями h3% = 4м шкалы А. Внешнюю полуокружность курсовых углов диаграммы вертикали пересекут в точках со значением 115º и 132º.
Задачи
| Исходные данные |
Номер задачи |
|||||||||
| 31 |
32 |
33 |
34 |
35 |
36 |
37 |
38 |
39 |
40 |
|
| Тθ , с |
16 |
10 |
14 |
15 |
14 |
12 |
10 |
15 |
16 |
14 |
| hв , м |
4 |
5 |
6 |
3 |
2 |
3 |
2 |
5 |
5 |
4 |
Тема: “Расчет условий отсутствия слеминга и штормование судна с застопоренными машинами»
Примеры решения
Пример 1
Расчет условий отсутствия слеминга. Условия отсутствия слеминга можно определить по выражению:
,
где: L – длина судна, м;
Тн – осадка носом, м;
А – коэффициент, зависящий от Fr (число Фруда) и
; Fr =
(м/с);
В – ширина судна, м;
λmax – длина волны максимальная, м;
hв max – высота волны максимальная, м;
При условии отсутствия слеминга коэффициент А должен быть
![]()
Дано. Судно следует навстречу волне. Рассчитать скорость, при которой слеминг будет отсутствовать. L = 139,4 м; В = 17,7 м; Тн = 6,5 м; λmax = 120 м; hв max = 5 м.
Решение:
=
= 0,89 , принимаем А = 0,9;
По А = 0,9 и
= 8 по графику (см. Приложение 5) находим максимально допустимое значение Fr. В нашем случае Fr = 0,14.
Максимально допускаемая скорость судна
V = Fr![]()
Задачи
| Исходные данные |
Номер задачи |
|||||||||
| 41 |
42 |
43 |
44 |
45 |
46 |
47 |
48 |
49 |
50 |
|
| L, м |
139 |
140 |
130 |
96 |
113 |
115 |
93 |
130 |
140 |
96 |
| В, м |
18 |
20 |
18 |
14 |
17 |
17 |
14 |
18 |
20 |
14 |
| Тн , м |
5,2 |
4,8 |
4,2 |
4,3 |
7,0 |
5,8 |
5,2 |
5,8 |
3,4 |
4,0 |
| λmax , м |
120 |
170 |
120 |
100 |
110 |
110 |
100 |
150 |
160 |
100 |
| hв max , м |
4 |
6 |
3 |
3 |
6 |
4 |
5 |
4 |
4 |
3 |
Пример 2
Штормование судна с застопоренными машинами.
Судно может лечь в дрейф в том случае, когда оно, не имея хода, находится в условиях, достаточно удаленных от резонансного режима бортовой качки.
Это возможно при соблюдении условий
λ >
или λ < ![]()
Дано : В = 14 м; h = 0,96 м.
Определить при какой длине волны судно может безопасно лечь в дрейф.
Решение
λ >
=
= 408 м или λ <
=
= 122 м
Ответ: судно может лечь в дрейф, если длина волны будет менее 120 м (результат 408 м практического интереса не представляет.)
Задачи
| Исходные данные |
Номер задачи |
|||||||||
| 51 |
52 |
53 |
54 |
55 |
56 |
57 |
58 |
59 |
60 |
|
| В, м |
12,0 |
19,7 |
20,0 |
14,4 |
16,7 |
16,7 |
14,0 |
14,0 |
17,7 |
12,0 |
| h, м |
1,0 |
1,0 |
0,7 |
1,2 |
0,9 |
0,4 |
0,3 |
0,9 |
0,8 |
0,5 |
Тема: “Выбор оптимальных условий плавания на попутном волнении»
Примеры решения
Пример 1
Построение на универсальной диаграмме качки (Приложение 6) зоны, опасной при плавании на попутном волнении.
Принимаем кажущийся период волны, начиная с которого нахождение на гребне становится опасным
τ′ =
Тθ
Дано : L = 56 м; λ = 60 м; Тθ = 10 с.
Построить опасную (за счет уменьшения остойчивости на гребне волны) зону для судна, следующего на попутном волнении.
Решение
1. Рассчитываем τ′ = 1,54 · Тθ = 1,54 · 10 = 15 с.
2. Из точек пересечения горизонтали, соответствующей λ = 60 м с кривыми τ′ = 15 с (по обе стороны кривой τ′ = ∞) опустим вертикали, которые в нижней части диаграммы ограничат опасную зону. В данном случае в пределах графика горизонталь пересекает только кривую τ′ = 15 с, расположенную выше кривой τ′= ∞. Вертикаль, опущенная, из этой точки пересечения отбивает на полуокружности КУ точки 116º. Зона левее этой вертикали – опасная.
Для полной оценки положения судна, кроме этой зоны, следует построить резонансные зоны по бортовой и килевой качке и только после этого принимать решение о выборе курса и скорости судна для штормования.
Задачи
| Исходные данные |
Номер задачи |
|||||||||
| 61 |
62 |
63 |
64 |
65 |
66 |
67 |
68 |
69 |
70 |
|
| L, м |
144 |
134 |
140 |
130 |
95 |
113 |
115 |
150 |
45 |
75 |
| λ, м |
150 |
130 |
140 |
130 |
100 |
110 |
110 |
150 |
40 |
80 |
| Тθ , м |
12 |
12 |
20 |
18 |
15 |
7 |
19 |
17 |
8 |
10 |
Пример 2
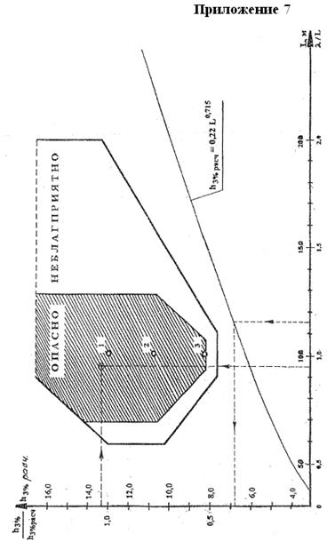
Оценка параметров неблагоприятных попутных волн по вспомогательной диаграмме А.И. Богданова. ( Приложение 7)
Необходимость использования диаграмм Богданова определяется по вспомогательной диаграмме, на которой нанесены области неблагоприятных и опасных параметров, соответствующих неблагоприятных и опасных сочетаний скоростей и курсовых углов.
Дано: L = 116 м; λ = 110 м; hв 3% = 7 м.
Определить необходимость использования диаграмм А.И. Богданова.
Решение
1. На внутренней горизонтальной шкале вспомогательной диаграммы отложим величину длины судна L = 116 м и от этой точки проведем вертикальную линию до кривой, от точки пересечения с которой проведем горизонталь до внутренней вертикальной шкалы, с которой снимем значение hв 3% расчеты или определим эту величину по формуле
h 3% расч. = 0,22 ∙ L0,715 = 0,22 116 0,715 = 6,8 м
2. Рассчитаем отношения
![]()
3. По значениям λ/L=0,95 и hв3% / h3% =1,03 , используя внешнюю оцифровку шкал, проводим горизонтальную и вертикальную линии.
4. Точка пересечения проведенных линий находится в опасной зоне вблизи параметра, обозначенного цифрой 1, где высоты волн очень близки к расчетным.
5. Для определения безопасных курсов и скоростей воспользуемся основными диаграммами Богданова, выбирая ту, которая соответствует данной загрузке судна и наблюдаемой высоте волны 3 % обеспеченности.
Задачи
| Исходные данные |
Номер задачи |
|||||||||
| 71 |
72 |
73 |
74 |
75 |
76 |
77 |
78 |
79 |
80 |
|
| L, м |
110 |
120 |
90 |
140 |
150 |
160 |
126 |
127 |
95 |
137 |
| λ, м |
90 |
130 |
100 |
130 |
160 |
110 |
140 |
120 |
110 |
150 |
| hв3% |
6 |
7 |
7 |
8 |
6 |
8 |
7 |
6 |
7 |
8 |
Пример 3
Выбор оптимальных условий для движения судна.
а) Судно следует в условиях регулярного волнения Vs = 10 уз.; q = 45º;
Тθ = 14 с; Тψ = 6 с; λ = 100 м. (Приложение 8)
Построить резонансные зоны и выбрать маневр изменением курса для выхода из них.
Решение
1.
=
= 11 с;
=
= 20 с;
=
=4,5 с;
=
=8,5 с.
2. Строим резонансные зоны.
3. Приводим волну на курсовой угол q = 96÷125º.
Задачи
| Исходные данные |
Номер задачи |
|||||||||
| 81 |
82 |
83 |
84 |
85 |
86 |
87 |
88 |
89 |
90 |
|
| Vs , уз. |
14 |
12 |
8 |
10 |
6 |
4 |
10 |
12 |
9 |
14 |
| q, град. |
130 |
110 |
75 |
160 |
25 |
15 |
160 |
113 |
114 |
155 |
| Тθ , с |
16 |
17 |
14 |
12 |
14 |
12 |
15 |
17 |
12 |
15 |
| Тψ , с |
7 |
7 |
7 |
6 |
6 |
5,5 |
6,5 |
7,5 |
6 |
6,5 |
| λ, м |
100 |
40 |
60 |
30 |
70 |
40 |
130 |
80 |
100 |
80 |
| Изменить |
Vs |
q |
q |
Vs |
q |
Vs |
q |
q |
Vs |
Vs |
Пример 4
б) Судно следует на попутном волнении. L = 122 м; Vs = 13 уз.; q = 170º;
θ = 13 с; Тψ = 7 с; λ = 100 м. (Приложение 9)
Построить опасную зону и выбрать маневр для безопасного штормования с учетом резонансных зон бортовой и килевой качки.
Решение
1.По методике, изложенной в примере 1 этой темы, строим опасную зону для
τ′ = 1,54 · Тθ ; τ′ = 1,54 · 13 = 20 с.
2. Строим резонансную зону бортовой качки для
τ′ =
=
= 10 с и τ′ =
= 19 с.
3. Строим резонансную зону килевой качки для
τ′ =
= 5,5 с и τ′ =
= 10 с.
4. Можно, оставаясь на прежнем курсе, сбавить ход до 5 уз. Судно будет удерживаться на границе резонансных зон бортовой и килевой качки.
Задачи
| Исходные данные |
Номер задачи |
|||||||||
| 91 |
92 |
93 |
94 |
95 |
96 |
97 |
98 |
99 |
100 |
|
| L, м |
102 |
80 |
110 |
102 |
80 |
123 |
123 |
110 |
42 |
100 |
| Vs , уз. |
11 |
12 |
14 |
13 |
12 |
16 |
17 |
16 |
11 |
16 |
| Тθ , с |
25 |
9 |
14 |
12 |
11,5 |
14 |
19 |
12 |
10 |
12 |
| Тψ , с |
6,5 |
5,5 |
6,5 |
5,5 |
4,5 |
5 |
6,5 |
5 |
4 |
6,5 |
| q, град. |
170 |
165 |
170 |
175 |
165 |
170 |
170 |
160 |
170 |
175 |
| λ, м |
90 |
70 |
100 |
90 |
80 |
110 |
115 |
100 |
40 |
100 |
Рекомендованная литература
для решения задач для плавання в штормовых условиях
1. Управление судном и его техническая эксплуатация. Учебник для учащихся судоводительских специальностей высших инженерных морских училищ. Под редакцией А.И. Щетининой. 3-е издание. – М. Транспорт, 1983, стр. 396 – 403.
2. Управление судном и его техническая эксплуатация. Учебник для учащихся судоводительских специальностей высших инженерных морских училищ. Под редакцией А.И. Щетининой. 2-е издание. – М. Транспорт, 1975, стр. 407 – 414.
3. Сборник задач по управлению судами. Учебное пособие для морских высших учебных заведений. Н.А. Кубачев, С.С. Кургузов, М.М. Данилюк, В.П. Махин. – М. Транспорт, 1984, стр. 68 - 76.
4. Рекомендации по организации штурманской службы на морских судах Украины (РШСУ-98). Одесса, 1998, стр. 95 – 100.
Тема: “Буксировка судов”
І. Расчет однородной буксирной линии
Пример решения
Дано : длина буксирного троса ℓб = 300 м, вес одного погонного метра троса в воздухе q = 92 Н, горизонтальная составляющая натяжения троса
То = 80 кН.
Определить:
1)расстояние между судами АВ = 2х;
2)стрелку провеса буксира ƒ;
3)длину буксирного троса, необходимого для прохода пролива с допустимой стрелкой провеса буксира ƒдоп = 8 м.
Решение
1. Вес одного погонного метра троса в воде q1 = q·0,87 = 92 0,87 = 80 Н.
2. Параметр буксирной линии а
=
.
3. Определим х – половину длины между судами
,
где ℓ - длина участка буксирного троса от вершины буксирной линии до буксирующего или буксируемого судна.
= 0,14944
х = 0,14944
= 0,14944 1000 = 149,44 м
4. Расстояние между судами АВ = 2 х = 2 149,44 = 298,88 м
м
5. Определим
- 1 =
- 1 = 1,01119 – 1 = 0,01119
6. Определим стрелку провеса буксира ƒ=0,01119
= 0,01119 1000=11,2 м
7. Длина буксирного троса с допустимой стрелкой провеса ƒдоп = 8 м
Из формулы
- 1
=
=
= 126,74 м ≈ 127 м
Задачи
| Исходные данные |
Номер задачи |
|||||||||
| 101 |
102 |
103 |
104 |
105 |
106 |
107 |
108 |
109 |
110 |
|
| ℓб , м |
300 |
400 |
400 |
400 |
400 |
600 |
600 |
550 |
350 |
320 |
| q, Н |
84 |
92 |
92 |
104 |
104 |
104 |
104 |
92 |
92 |
84 |
| То, Н |
40 |
70 |
310 |
200 |
120 |
120 |
280 |
200 |
140 |
60 |
| ƒдоп., м |
12 |
10 |
4 |
6 |
10 |
20 |
10 |
10 |
5 |
6 |
I І. Расчет неоднородной симметричной буксирной линии
Пример решения
Дано: симметричная буксирная линия состоит из 2-х участков троса АС и DВ длиной ℓт = 180 м каждый и участка цепи СD длиной 50 м (2ℓц ). Вес одного погонного метра троса в воздухе qmp = 92 Н, цепи qц = 687 Н. Горизонтальная составляющая натяжения буксира То=100 кН.
Определить:
1)расстояние между судами АВ;
2)стрелку провеса ƒЕ.
Решение:
1. Вес одного погонного метра троса и цепи в воде
q'mp = 0,87 92 = 80 Н q'ц = 0,87 687 = 598 Н
2. Параметры буксирной линии тросового и цепного участков буксира
mp
=
ц
= ![]()
3. Достроим буксирную линию ВD до вершины М
,
где ℓц – длина половины цепного участка буксира
![]()
4. Для участка цепи ℓц = 25 м определим

= 0,14915
х1D
= 0,14915
= 0,14915 167 = 24,91 м
- 1 =
- 1 = 0,01114
ƒ'E
= 0,01114
= 0,01114 167 = 1,86 м
5. Для участка ВМ определим ℓ = ℓт + ℓƒ = 180 + 187 = 367 м

= 0,28953
х2В
= 0,28953
= 0,28953 1250 = 361,93 м
- 1 =
- 1 = 0,04221
ƒм
= 0,04221
= 0,04221·1250 = 52,76 м
6. Для участка МД = ℓƒ = 187 м определим

= 0,14905
х2D
= 0,14905
= 0,14905 1250 = 186,31 м
- 1 =
- 1 = 0,01113
ƒ'м
= 0,01113 ·
= 0,01113 1250 = 13,91 м
7. Расстояние между судами
АВ = 2 (х2В
– (х2D
- х1D
)) = 2 (361,93 – (186,31 – 24,91)) = 401,06
м
8. Стрелка прогиба
ƒE
= ƒм
– (ƒ'м
- ƒ'E
) = 52,76 – (13,91 – 1,86) = 40,71 м
м
Задачи
| Исходные данные |
Номер задачи |
|||||||||
| 111 |
112 |
113 |
114 |
115 |
116 |
117 |
118 |
119 |
120 |
|
| ℓm , м |
150 |
150 |
200 |
200 |
200 |
300 |
300 |
250 |
250 |
200 |
| ℓц , м |
25 |
100 |
25 |
50 |
100 |
50 |
100 |
50 |
100 |
150 |
| qm , Н/м |
92 |
76 |
92 |
76 |
104 |
92 |
104 |
104 |
92 |
76 |
| qц , Н/м |
687 |
687 |
853 |
853 |
853 |
687 |
687 |
853 |
853 |
687 |
| То, кН |
50 |
200 |
120 |
400 |
100 |
100 |
250 |
450 |
450 |
600 |
I ІІ. Расчет неоднородной несимметричной буксирной линии
Пример решения
Дано : несимметричная буксирная линия, состоящая из участка троса АD ℓm = 400 м и участка цепи DВ ℓц = 50 м. Вес одного погонного метра троса в воздухе qm = 92 Н, цепи qц = 687 Н. Горизонтальная составляющая натяжения буксира То = 49 кН.
Определить:
1)положение вершины буксирной линии DЕ = ℓх ;
2)проверить решение, вычислив провес буксирной линии в ее вершине по однородной ƒ1 и неоднородной ƒ2 ее части;
3)определить расстояние между судами АВ.
Решение
1. Вес одного погонного метра троса и цепи в воде
q'm = 0,87 · 92 = 80 Н q'ц = 0,87 687 = 598 Н
2. Параметры буксирной линии тросового и цепного участков
m
=
ц
= ![]()
3. Из прилагаемой таблицы для поправочного коэффициента α
|
|
α |
|
α |
|
α |
| 0,00 |
1,000 |
1,00 |
0,368 |
2,00 |
0,135 |
| 0,05 |
0,951 |
1,05 |
0,350 |
2,10 |
0,122 |
| 0,10 |
0,905 |
1,10 |
0,333 |
2,20 |
0,111 |
| 0,15 |
0,861 |
1,15 |
0,317 |
2,30 |
0,100 |
| 0,20 |
0,819 |
1,20 |
0,301 |
2,40 |
0,091 |
| 0,25 |
0,779 |
1,25 |
0,286 |
2,50 |
0,082 |
| 0,30 |
0,741 |
1,30 |
0,272 |
2,60 |
0,074 |
| 0,35 |
0,705 |
1,35 |
0,259 |
2,70 |
0,067 |
| 0,40 |
0,670 |
1,40 |
0,247 |
2,80 |
0,061 |
| 0,45 |
0,638 |
1,45 |
0,235 |
2,90 |
0,055 |
| 0,50 |
0,606 |
1,50 |
0,223 |
3,00 |
0,050 |
|
|
α |
|
α |
|
α |
| 0,55 |
0,577 |
1,55 |
0,212 |
3,10 |
0,045 |
| 0,60 |
0,549 |
1,60 |
0,202 |
3,20 |
0,041 |
| 0,65 |
0,522 |
1,65 |
0,192 |
3,30 |
0,037 |
| 0,70 |
0,497 |
1,70 |
0,183 |
3,40 |
0,033 |
| 0,75 |
0,472 |
1,75 |
0,174 |
3,50 |
0,030 |
| 0,80 |
0,449 |
1,80 |
0,165 |
3,60 |
0,027 |
| 0,85 |
0,427 |
1,85 |
0,157 |
3,70 |
0,025 |
| 0,90 |
0,407 |
1,90 |
0,150 |
3,80 |
0,022 |
| 0,95 |
0, 387 |
1,95 |
0,142 |
3,90 |
0,020 |
|
|
0,018 |
по значению
найдем α = 0,194.
4. Длина участка троса DЕ от точки соединения троса с цепью до вершины буксирной линии
DЕ = ℓх
=
=
= 160,5м
5. Для однородного тросового участка буксирной линии АЕ
ℓ = ℓm - ℓх = 400 – 160,5 = 239,5 м
- 1 =
- 1 = 0,07385
ƒ1 = 0,07385 612 = 45,2 м
6. Для неоднородного участка цепи ВDЕ длина фиктивного участка цепи
MD = ℓф
= ℓх
![]()
7. Для участка DЕ = ℓх = 160,5 м
- 1 =
- 1 = 0,03382
ƒDE = 0,03382 612 = 20,7 м
8. Для участка ВМ = ℓц + ℓф = 50 + 21,47 = 71,47 м
- 1 =
- 1 = 0,32652
ƒВМ = 0,32652 82 = 26,77 м
9. Для фиктивного участка цепи DМ = ℓф = 21,47 м
- 1 =
- 1 = 0,03371
ƒDМ = 0,03371 · 82 = 2,76 м
10. Провес буксира по неоднородной его части
ƒ2 = ƒDE + ƒВМ - ƒDМ = 20,7 + 26,77– 2,76 = 44,71 м
При
ц
/ ℓц
< 4,0 α принимаем равным нулю
Положение вершины найдено правильно, так как ƒ1 = 45,2 м и ƒ2 = 44,71 м практически совпадают.
11. Для участка АЕ = ℓm - ℓх = 400 – 160,5 = 239,5 м

х1А = 0,38198 612 = 233,77 м
12. Для участка DЕ = ℓх = 160,5 м

х1 D = 0,25934 612 = 158,72 м
13. Для участка ВМ = ℓц + ℓф = 50 + 21,47 = 71,47 м

х2В = 0,7876 82 = 64,58 м
14. Для фиктивного участка цепи DМ = ℓф = 21,47 м

х2 D = 0,25893 82 = 21,23 м
15. Расстояние между оконечностями судов
АВ = х1А
+ х1
D
+ х2В
– х2
D
= 233,77+158,72 + 64,58 – 21,23 = 435,84 м
436м
Задачи
| Исходные данные |
Номер задачи |
|||||||||
| 121 |
122 |
123 |
124 |
125 |
126 |
127 |
128 |
129 |
130 |
|
| ℓm , м |
400 |
400 |
400 |
200 |
400 |
400 |
200 |
250 |
300 |
300 |
| qm , Н/м |
92 |
92 |
92 |
92 |
76 |
104 |
92 |
76 |
104 |
104 |
| ℓц , м |
50 |
50 |
50 |
50 |
50 |
75 |
60 |
50 |
100 |
100 |
| qц , Н/м |
687 |
687 |
687 |
687 |
853 |
687 |
687 |
853 |
687 |
687 |
| То, кН |
137 |
245 |
20 |
441 |
93 |
98 |
147 |
245 |
137 |
589 |
І V . Определение высоты волны для безопасной буксировки
Пример решения
Дано : длина буксирного стального троса L = 600 м, диаметр троса
d = 52 мм, тяга на гаке Fr = 98 кН, разрывная прочность буксирного троса Рразр. = 880 кН, расстояние между судами на спокойной воде (То = Fr), АВ = 595,2 м при рывке (То = 0,5 Рразр. ) А'В' = 599,8 м.
Определить высоту волны, при которой возможна безопасная буксировка.
Решение
1. Упругое удлинение троса ∆у =
,
где ε = 36 кН/мм2 – упругость стального троса.
∆у = ![]()
2. Весовое удлинение троса
∆в = А'В' – АВ = 599,8 – 595,2 = 4,6 м
3. Высота волны, при которой возможна безопасная буксировка
h = ∆ = ∆у + ∆в = 2,1 + 4,6 = 6,7 м
Задачи
| Исходные данные |
Номер задачи |
|||||||||
| 131 |
132 |
133 |
134 |
135 |
136 |
137 |
138 |
139 |
140 |
|
| Fr, кН |
98 |
80 |
200 |
30 |
60 |
140 |
200 |
100 |
70 |
290 |
| Рразр. , кН |
840 |
420 |
750 |
800 |
640 |
750 |
910 |
1200 |
840 |
1200 |
| L, м |
550 |
300 |
400 |
400 |
400 |
400 |
600 |
600 |
550 |
850 |
| АВ, м |
544,6 |
299,4 |
399,5 |
392,8 |
398,6 |
399,6 |
599,0 |
594,0 |
544,7 |
841,8 |
| А'В', м |
549,5 |
299,9 |
399,8 |
399,9 |
399,8 |
399,9 |
599,9 |
599,8 |
549,8 |
849,5 |
| d, мм |
45,0 |
32,5 |
43,5 |
41,0 |
39,0 |
43,5 |
47,5 |
52,0 |
45,0 |
52,0 |
V. Определение весовой игры буксирной линии
Пример решения
Дано: неоднородная буксирная линия состоит из стального троса длиной ℓm = 300 м и цепи ℓц = 75 м. Вес одного погонного метра троса в воздухе qm = 76 Н, цепи qц = 687 Н.
Определить весовую игру буксира при изменении горизонтальной составляющей натяжения от То = 118кН до Тодоп =388кН.
Решение:
1.Вес одного погонного метра троса и цепи в воде
q'm = 0,87 · qm = 0,87 76 = 66 Н q'ц = 0,87 qц = 0,87 687 = 598 Н
2.Параметры буксирной линии тросового и цепного участков буксира при
То = 118 кН
mp
=
ц
= ![]()
3. Из прилагаемой таблицы для поправочного коэффициента α
Поправочный коэффициент α
|
|
α |
|
α |
|
α |
| 0,00 |
1,000 |
1,00 |
0,368 |
2,00 |
0,135 |
| 0,05 |
0,951 |
1,05 |
0,350 |
2,10 |
0,122 |
| 0,10 |
0,905 |
1,10 |
0,333 |
2,20 |
0,111 |
| 0,15 |
0,861 |
1,15 |
0,317 |
2,30 |
0,100 |
| 0,20 |
0,819 |
1,20 |
0,301 |
2,40 |
0,091 |
| 0,25 |
0,779 |
1,25 |
0,286 |
2,50 |
0,082 |
| 0,30 |
0,741 |
1,30 |
0,272 |
2,60 |
0,074 |
| 0,35 |
0,705 |
1,35 |
0,259 |
2,70 |
0,067 |
| 0,40 |
0,670 |
1,40 |
0,247 |
2,80 |
0,061 |
| 0,45 |
0,638 |
1,45 |
0,235 |
2,90 |
0,055 |
| 0,50 |
0,606 |
1,50 |
0,223 |
3,00 |
0,050 |
| 0,55 |
0,577 |
1,55 |
0,212 |
3,10 |
0,045 |
| 0,60 |
0,549 |
1,60 |
0,202 |
3,20 |
0,041 |
| 0,65 |
0,522 |
1,65 |
0,192 |
3,30 |
0,037 |
| 0,70 |
0,497 |
1,70 |
0,183 |
3,40 |
0,033 |
| 0,75 |
0,472 |
1,75 |
0,174 |
3,50 |
0,030 |
| 0,80 |
0,449 |
1,80 |
0,165 |
3,60 |
0,027 |
| 0,85 |
0,427 |
1,85 |
0,157 |
3,70 |
0,025 |
| 0,90 |
0,407 |
1,90 |
0,150 |
3,80 |
0,022 |
| 0,95 |
0,387 |
1,95 |
0,142 |
3,90 |
0,020 |
| 4,00 |
0,018 |
по значению
=
найдем α = 0,073
4. Длина участка троса DЕ от точки соединения с цепью до вершины буксирной линии
DЕ = ℓх
=
=
≈ 56,46 м
5. Для фиктивного участка цепи DМ = ℓф
= ℓх
![]()
6. Для участка АЕ
ℓАЕ = ℓm - ℓх = 300 – 56,46 = 243,54 м

= 0,13579
0,13579 х1
А
= 0,13579
m
= 0,13579 · 1788 = 242,79 м
7. Для участка DЕ = ℓх = 56,46 м

= 0,03157
0,03157 х1
D
= 0,03157 ·
m
= 0,03157 · 1788 = 56,45 м
8. Для участка ВМ = ℓц + ℓф = 75 + 6,23 = 81,23 м

0,40146 х2В
= 0,40146
ц
= 0,40146 197 = 79,09 м
9. Для участка DМ = ℓф = 6,23 м

0,03162 х2
D
= 0,03162 ·
ц
= 0,03162 · 197 = 6,23 м
10. Расстояние между оконечностями судов при То = 118 кН
АВ = х1А + х1 D + х2В – х2 D = 242,79 + 56,45 + 79,09 – 6,23 = 372,1 м
11. Параметры буксирной линии тросового и цепного участков буксира при
То доп. = 388 кН
m
' =
ц
' = ![]()
Так как
> 4, α = 0 (см. таблицу «Поправочный коэффициент α»)
12. Длина участка троса DE' от точки соединения с цепью до вершины буксирной линии при То доп. = 388 кН
DE' = ℓх
' =
13. Для фиктивного участка цепи DМ при То доп. = 388 кН
ℓф
' = ℓх
' ![]()
14. Для участка АЕ при То доп. = 388 кН
ℓ'АЕ = ℓт - ℓх ' = 300 – 52 = 248 м

= 0,04218
х'1
А
= 0,0418
m
' = 0,0418 5878 = 247,93 м
15. Для участка DЕ' = ℓх ' = 52 м при То доп. = 388 кН

= 0,00885
х'1
D
= 0,00885
m
' = 0,00885 5878 = 52,02 м
16. Для участка ВМ' = ℓц + ℓф ' = 75 + 5,7 = 80,7 м

х'2В
= 0,12403
ц
= 0,12403 649 = 80,5 м
17. Для участка DМ' = ℓ'ф = 5,7 м

х'2
D
= 0,00878
ц
' = 0,00878 649 = 5,7 м
18. Расстояние между оконечностями судов при То доп. = 388 кН
А'В' = х'1А + х'1 D + х'2В – х'2 D = 247,93 + 52,02 + 80,5 – 5,7 = 374,75 м
19. Весовая игра буксирной линии ∆в = А'В' – АВ = 374,75 – 372,1 = 2,65 м
20. Наибольший провес буксирной линии найдем из однородного участка
АЕ = 243,54 м
- 1 =
- 1 = 0,00923
ƒ = 0,00923
m
= 0,00923 1788 = 16,5 м
Наибольший провес буксирной линии
ƒ = ƒЕ = 16,5 м
Задачи
| Исходные данные |
Номер задачи |
|||||||||
| 141 |
142 |
143 |
144 |
145 |
146 |
147 |
148 |
149 |
150 |
|
| ℓm , м |
300 |
300 |
400 |
400 |
400 |
400 |
600 |
600 |
350 |
350 |
| qm , H/м |
76 |
76 |
76 |
76 |
76 |
76 |
92 |
92 |
71 |
71 |
| ℓц , м |
50 |
100 |
25 |
50 |
75 |
100 |
25 |
75 |
25 |
50 |
| qц , Н/м |
687 |
687 |
853 |
853 |
853 |
853 |
687 |
687 |
853 |
853 |
| То, кН |
118 |
118 |
88 |
88 |
88 |
88 |
137 |
137 |
49 |
49 |
| То доп. , кН |
388 |
388 |
300 |
300 |
300 |
300 |
490 |
490 |
275 |
275 |
Рекомендованная литература:
1.Сборник задач по управлению судами. Учебное пособие для морских высших учебных заведений. Н.А. Кубачев, С.С. Кургузов, М.М. Данилюк, В.П. Махин. – М. Транспорт, 1984, стр. 93 - 108.
2. Управление судном и его техническая эксплуатация. Учебник для учащихся судоводительских специальностей высших инженерных морских училищ. Под редакцией А.И. Щетининой. 3-е издание. – М. Транспорт, 1983, стр. 462 – 490.
3.Управление судном и его техническая эксплуатация. Учебник для учащихся судоводительских специальностей высших инженерных морских училищ. Под редакцией А.И. Щетининой. 2-е издание. – М. Транспорт, 1975, стр. 459 – 481.
4. Управление судном. Под общей редакцией В.И. Снопкова, – М. Транспорт, 1991, стр. 90 - 115.
Тема: “Снятие судов с мели”
Примеры решения
I . Снятие судов с мели стягиванием
Судно сидит на мели всем корпусом. Грунт – глина с песком. Пробоин нет. Силу присоса грунта не учитываем. Расположение судов-спасателей согласно схеме. Судно № 1 – однотипное с аварийным, суда №№ 2,3 – спасатели с упором винта на переднем ходу РПХ 2,3 = 287 кН.
Исходные данные:
Д = 9220 m,
= 115 м, Тн
= 6,5 м, Т¤
= 6,8 м, Тк
= 7,1 м; Тн1
= 5,2 м,
Т¤1 = 6,5 м, Тк1 = 7,8 м; число тонн на 1 м изменения средней осадки
q = 1600 m/м, коэффициент трения стального корпуса судна о грунт
ƒ=0,32, РПХ1 =480кН, абсцисса ЦТ ватерлинии хƒ = - 0,6м, продольная метацентрическая высота Н = 120 м.
Определить количество груза, которое необходимо выгрузить с судна, чтобы оно могло сняться с мели методом стягивания.
Решение.
1.Определим величину потерянного водоизмещения
∆Д = q (Тср – Тср1 )
где Тср
=
м ![]()
Тср – средняя осадка до посадки на мель, м
Тср, Тср1 следует подсчитывать с точностью до 1 см
Тср1
=
м
Тср – средняя осадка после посадки на мель, м
∆Д = 1600 (6,8 – 6,5) = 480 m
2.Определим усилие, необходимое для снятия судна с мели
F = ƒ·∆Д = 0,32 480 = 153,6 m = 1506,8 кН
3.Найдем величину усилия, развиваемого совместно судами-спасателями при стягивании судна с мели
F1 = РПХ1 + 2РПХ 2,3 cos 30º = 480 + 2 287 0,866 = 977,1 кН
5. Количество груза, подлежащего снятию с судна
Р =
m
6. Дифферентующий момент на 1 м
m =
m/м
7. Определим абсциссу ц.т. снимаемого груза
хр
= хƒ
+ ![]()
где ∆Тн = Тн - Тн1 = 6,5 – 5,2 = 1,3 м
∆Тк = Тк – Тк1 =7,1 – 7,8 = -0,7 м
хр
= -0,6 +
м
Задачи
| Исходные данные |
Номер задачи |
|||||||||
| 151 |
152 |
153 |
154 |
155 |
156 |
157 |
158 |
159 |
160 |
|
| Д, m |
127200 |
110000 |
45840 |
33350 |
18560 |
17900 |
17400 |
12740 |
9860 |
9530 |
|
|
235,85 |
235 |
195 |
165 |
140,1 |
140 |
134,5 |
130,3 |
113 |
115 |
| Тн , м |
15,9 |
13,8 |
10,5 |
9,74 |
9,50 |
8,90 |
8,85 |
7,80 |
7,12 |
6,90 |
|
|
16,0 |
14,0 |
10,7 |
9,74 |
9,68 |
8,93 |
9,15 |
7,85 |
7,16 |
7,00 |
| Тк , м |
16,1 |
14,2 |
10,9 |
9,74 |
9,86 |
8,96 |
9,45 |
7,90 |
7,20 |
7,10 |
| Тн1 , м |
13,0 |
11,2 |
8,8 |
7,62 |
6,10 |
7,20 |
8,00 |
6,78 |
5,92 |
5,93 |
|
|
15,15 |
13,55 |
10,1 |
8,95 |
8,85 |
8,58 |
8,95 |
7,65 |
6,90 |
6,80 |
| Тк1 , м |
17,3 |
15,9 |
11,4 |
10,28 |
11,60 |
9,96 |
9,90 |
8,52 |
7,88 |
7,67 |
| q, m /м |
8400 |
8300 |
4670 |
3680 |
2430 |
2330 |
2200 |
1910 |
1600 |
1600 |
| Н , м |
230 |
210 |
255 |
207 |
144 |
146 |
140 |
136 |
120 |
120 |
| хƒ , м |
-0,5 |
-0,5 |
±0 |
-0,2 |
-3,1 |
-1,0 |
+0,6 |
-0,2 |
-0,8 |
-0,2 |
| ƒ |
0,22 |
0,42 |
0,30 |
0,38 |
0,32 |
0,22 |
0,42 |
0,30 |
0,38 |
0,32 |
| РПХ1 , кН |
1679,1 |
1650,2 |
1239 |
771 |
750 |
565,4 |
713,1 |
532,4 |
438,2 |
398,5 |
| РПХ2,3 , кН |
740 |
730 |
560 |
340 |
310 |
325 |
385 |
355 |
315 |
205,6 |
II . Снятие судов с мели способом отгрузки
Судно сидит на мели носовой частью. Пробоин нет. Силу присоса грунта не учитываем.
Исходные данные:
Д = 9220 m,
= 115 м; Тн
= 6,5 м; Тк
= 7,1 м; Тн1
= 5,2 м; Тк1
= 7,8 м; число тонн на 1 м изменения средней осадки q = 1600 m/м, продольная метацентрическая высота Н = 120 м; поперечная метацентрическая высота h = 0,9 м; координаты ц.m. выгружаемого груза из носового трюма х1
= +40 м; z1
= +3 м; из кормового трюма х2
= -40 м; z2
= +8 м; абсцисса ц.m. ватерлинии
хƒ = -0,6 м.
Определить количество груза, которое необходимо выгрузить из носового и кормового трюмов, чтобы судно оказалось на плаву.
Решение.
1. Определим дифферентующий момент на 1 м:
m =
m/м
2. Определим среднюю осадку до и после посадки на мель
Тср
=
м
Тср1
=
м
3. Определим общее количество груза, подлежащего снятию с судна:
Р = ∆Д = q (Тср – Тср1 ) = 1600 (6,8 – 6,5) = 480 m
4. Определим абсциссу точки приложения равнодействующей сил реакции грунта:
хр
= хƒ
+ ![]()
где ∆Тн = Тн - Тн1 = 6,5 – 5,2 = 1,3 м
∆Тк = Тк – Тк1 =7,1 – 7,8 = -0,7 м
хр
= -0,6 +
м
5. Определим количество груза, которое необходимо выгрузить из носового трюма:
Рн
= Р
m
6.Определим количество груза, которое необходимо выгрузить из кормового трюма: Рк = Р – Рн = 480 – 477 = 3 m*
7.Определим осадку носом после снятия груза:
Тн
' = Тн
– Р
6,5 – 480
м
Примечание: в случае отрицательной величины Рк это количество груза нужно погрузить в трюм
8.Определим осадку кормой после снятия груза:
Тк
' = Тк
+ Р
7,1 + 480
м
9.Определим поправки на поперечную и продольную метацентрические высоты
∆h = -
где: ∆Тср
=
м;
z =
м
∆h = -
м;
∆Н = -
= -
м.
Задачи
| Исходные данные |
Номер задачи |
|||||||||
| 161 |
162 |
163 |
164 |
165 |
166 |
167 |
168 |
169 |
170 |
|
| Д, m |
110000 |
45840 |
33350 |
18560 |
17900 |
17400 |
12740 |
9860 |
9530 |
127200 |
|
|
235 |
195 |
165 |
140,1 |
140 |
134,5 |
130,3 |
113 |
115 |
235,85 |
| Тн , м |
13,8 |
10,5 |
9,74 |
9,50 |
8,90 |
8,85 |
7,80 |
7,12 |
6,90 |
15,9 |
| Тк , м |
14,2 |
10,9 |
9,74 |
9,86 |
8,96 |
9,45 |
7,90 |
7,20 |
7,10 |
16,1 |
| Тн1 , м |
11,2 |
8,8 |
7,62 |
6,10 |
7,20 |
8,00 |
6,78 |
5,92 |
5,93 |
13,0 |
| Тк1 , м |
15,9 |
11,4 |
10,28 |
11,60 |
9,96 |
9,90 |
8,52 |
7,88 |
7,67 |
17,3 |
| q, m/м |
8300 |
4670 |
3680 |
2430 |
2330 |
2200 |
1910 |
1600 |
1600 |
8400 |
| Н , м |
210 |
255 |
207 |
144 |
146 |
140 |
136 |
120 |
120 |
230 |
| h, м |
2,0 |
2,6 |
1,03 |
1,03 |
0,96 |
0,95 |
0,97 |
0,99 |
0,91 |
2,5 |
| хƒ , м |
-0,5 |
±0 |
-0,2 |
-3,1 |
-1,0 |
+0,6 |
-0,2 |
-0,8 |
-0,2 |
-0,5 |
| х1 , м |
+82 |
+61 |
+54 |
+50 |
+50 |
+50 |
+45 |
+40 |
+40 |
+82 |
| z1 , м |
+12 |
+7,4 |
+8 |
+10 |
+5 |
+5 |
+5 |
+5 |
+4 |
+12 |
| х2 , м |
-60 |
-35 |
-29 |
-57 |
-50 |
-45 |
-50 |
-40 |
-40 |
-60 |
| z2 , м |
+12 |
+7 |
+8 |
+8 |
+5 |
+6 |
+6 |
+5 |
+4 |
+12 |
III . Снятие судна с мели при наличии крена в случае, когда внешняя кромка банки лежит позади миделя
Судно сидит на мели носовой частью и с креном на правый борт. Пробоин нет.
Исходные данные:
Д = 9220 m,
= 115 м; Тн
= 6,5 м; Тк
= 7,1 м; θ = 0º; Тн1
= 5,2 м; Тк1
= 7,8 м;
θ1 = 5º пр/б; число тонн на 1 м изменения средней осадки q = 1600 m/м; продольная метацентрическая высота Н = 120 м; поперечная метацентрическая высота h = 0,9 м; координаты ц.m. выгружаемого груза из носового трюма х1 =+40 м; из кормового трюма х2 = -40 м; абсцисса ц.m. ватерлинии хƒ = -0,6 м.
Определить количество груза, которое необходимо снять из носового и кормового трюмов судна на мели, а также величину кренящего момента, который необходимо создать, чтобы судно оказалось на плаву.
Решение.
1. Определим величину дифферентующего момента на 1 м:
m =
m/м
2. Определим среднюю осадку до и после посадки на мель:
Тср
=
м
Тср1
=
м
3. Определим общее количество груза, подлежащего снятию с судна:
Р = ∆Д = q (Тср – Тср1 ) = 1600 (6,8 – 6,5) = 480 m
4. Определили абсциссу точки приложения равнодействующей сил реакции грунта:
хр
= хƒ
+ ![]()
где ∆Тн = Тн - Тн1 = 6,5 – 5,2 = 1,3 м
∆Тк = Тк – Тк1 =7,1 – 7,8 = -0,7 м
хр
= -0,6 +
м
5. Определим количество груза, которое необходимо выгрузить из носового трюма:
Рн
= Р
m
6. Определим количество груза, которое необходимо выгрузить из кормового трюма:
Рк = Р – Рн = 480 – 477 = 3 m
Примечание: в случае отрицательной величины Рк это количество груза нужно погрузить в трюм.
7. Определим ординату точки точки приложения равнодействующей силы реакции грунта:
ур
=
м
Примечание: знак «-» при крене на правый борт, а знак «+» при крене на левый борт.
8. Определим значение кренящего момента, который необходимо создать, чтобы судно оказалось на плаву:
Мкр = -∆Д · ур = -480 · (-1,51) = +724,8 мм
Задачи
| Исходные данные |
Номер задачи |
|||||||||
| 171 |
172 |
173 |
174 |
175 |
176 |
177 |
178 |
179 |
180 |
|
| Д, m |
45840 |
33350 |
18560 |
17900 |
17400 |
12740 |
9860 |
9530 |
127200 |
110000 |
|
|
195 |
165 |
140,1 |
140 |
134,5 |
130,3 |
113 |
115 |
235,85 |
235 |
| Тн , м |
10,5 |
9,74 |
9,50 |
8,90 |
8,85 |
7,80 |
7,12 |
6,90 |
15,9 |
13,8 |
| Тк , м |
10,9 |
9,74 |
9,86 |
8,96 |
9,45 |
7,90 |
7,20 |
7,10 |
16,1 |
14,2 |
| Тн1 , м |
8,8 |
7,62 |
6,10 |
7,20 |
8,00 |
6,78 |
5,92 |
5,93 |
13,0 |
11,2 |
| Тк1 , м |
11,4 |
10,28 |
11,60 |
9,96 |
9,90 |
8,52 |
7,88 |
7,67 |
17,3 |
15,9 |
| θ1 , град. |
9º л/б |
8º пр/б |
10º пр/б |
10º л/б |
6º пр/б |
10º л/б |
5º л/б |
8º пр/б |
8º пр/б |
5º л/б |
| q, m/м |
4670 |
3680 |
2430 |
2330 |
2200 |
1910 |
1600 |
1600 |
8400 |
8300 |
| Н , м |
255 |
207 |
144 |
146 |
140 |
136 |
120 |
120 |
230 |
210 |
| h, м |
2,6 |
1,03 |
1,03 |
0,96 |
0,95 |
0,97 |
0,99 |
0,91 |
2,5 |
2,0 |
| хƒ , м |
±0 |
-0,2 |
-3,1 |
-1,0 |
+0,6 |
-0,2 |
-0,8 |
-0,2 |
-0,5 |
-0,5 |
| х1 , м |
+61 |
+54 |
+50 |
+50 |
+50 |
+45 |
+40 |
+40 |
+82 |
+82 |
| х2 , м |
-35 |
-29 |
-57 |
-50 |
-45 |
-50 |
-40 |
-40 |
-60 |
-60 |
IV . Снятие судна с мели дифферентованием в случае, когда лишь носовая часть киля лежит на грунте, а под остальной частью киля имеется достаточный запас глубин
Судно сидит на мели носовой частью. Пробоин нет. Имеется достаточный запас глубин под свободной частью киля. Силу присоса грунта не учитываем.
Исходные данные:
![]()
D =9220 m,
=115 м, Тн
=6,5 м, Т =6,8 м, Тк
=7,1 м; Тн1
=5,2 м, Т 1
=6,5 м,
Тк1 = 7,8 м; число тонн на 1 м изменения средней осадки q = 1600 m/м; продольная метацентрическая высота Н = 120 м; абсцисса ц.m. перемещаемого груза х1 = +40 м; х2 = -40 м; абсцисса внешней кромки банки хА = +25 м.
Определить количество груза Р1 , которое необходимо переместить по судну, чтобы оно оказалось на плаву.
Решение.
1. Определим дифферентующий момент на 1 м:
m =
m/м
2. Определим количество груза, которое необходимо переместить по судну, чтобы оно оказалось на плаву:
Р1
= 
где ∆Тн = Тн - Тн1 = 6,5 – 5,2 = 1,3 м
∆Тк = Тк – Тк1 =7,1 – 7,8 = -0,7 м
Р1
=
= 406,5 m
3. Определим осадку носом после перемещения груза
Тн
'' = Тн
-
м
4. Определим осадку кормой после перемещения груза
Тк
'' = Тк
+
м
Задачи
| Исходные данные |
Номер задачи |
|||||||||
| 181 |
182 |
183 |
184 |
185 |
186 |
187 |
188 |
189 |
190 |
|
| D, m |
18560 |
17900 |
17400 |
12740 |
9860 |
9530 |
127200 |
110000 |
45840 |
33350 |
|
|
140,1 |
140 |
134,5 |
130,3 |
113 |
115 |
235,85 |
235 |
195 |
165 |
| Тн , м |
9,50 |
8,90 |
8,85 |
7,80 |
7,12 |
6,90 |
15,90 |
13,80 |
10,50 |
9,74 |
|
|
9,68 |
8,93 |
9,15 |
7,85 |
7,16 |
7,00 |
16,00 |
14,00 |
10,70 |
9,74 |
| Тк , м |
9,86 |
8,96 |
9,45 |
7,90 |
7,20 |
7,10 |
16,10 |
14,20 |
10,90 |
9,74 |
| Тн1 , м |
6,10 |
7,20 |
8,00 |
6,78 |
5,92 |
5,93 |
13,00 |
11,20 |
8,80 |
7,62 |
|
|
8,85 |
8,58 |
8,95 |
7,65 |
6,90 |
6,80 |
15,15 |
13,55 |
10,10 |
8,95 |
| Тк1 , м |
11,60 |
9,96 |
9,90 |
8,52 |
7,88 |
7,67 |
17,30 |
15,90 |
11,40 |
10,28 |
| q, m/м |
2430 |
2330 |
2200 |
1910 |
1600 |
1600 |
8400 |
8300 |
4670 |
3680 |
| Н , м |
144 |
146 |
140 |
136 |
120 |
120 |
230 |
210 |
255 |
207 |
| х1 , м |
+50 |
+50 |
+50 |
+45 |
+40 |
+40 |
+82 |
+82 |
+61 |
+54 |
| х2 , м |
-57 |
-50 |
-45 |
-50 |
-40 |
-40 |
-60 |
-60 |
-35 |
-29 |
| хА , м |
+35 |
+50 |
+45 |
+45 |
+30 |
+30 |
+50 |
+50 |
+30 |
+30 |
V . Снятие судна с мели с помощью выгрузки после предварительного перемещения части груза с носа в корму в случае, когда лишь носовая часть киля лежит на грунте, а под остальной частью киля имеется достаточный запас глубин
Судно сидит на мели носовой частью и с креном на правый борт. Пробоин нет. Имеется достаточный запас глубин под свободной частью киля. Силу присоса грунта не учитываем.
Исходные данные
:
D =9220 m,
=115 м, Тн
=6,5 м, Т =6,8 м, Тк
=7,1 м;
Тн1
= 5,2 м, Т 1
= 6,5 м, Тк1
= 7,8 м; число тонн на 1 м изменения средней осадки q = 1600 m/м; продольная метацентрическая высота Н = 120 м; количество перемещенного груза Р1
= 200 m; абсциссы перемещенного груза
х1 = +40 м; х2 = -40 м; абсцисса выгружаемого груза х = +40; абсцисса внешней кромки банки хА = +25 м, абсцисса ц.m. ватерлинии хƒ = -0,6 м.
Определить количество груза, которое необходимо снять с судна, чтобы оно оказалось на плаву.
Решение.
1.Определим дифферентующий момент на 1 м: m =
m/м
2.Определим величину потерянного водоизмещения:
∆D = q (Тср – Тср1 ) = 1600 (6,8 – 6,5) = 480 m
3.Определим количество груза, которое необходимо снять с судна, чтобы оно оказалось на плаву, если 200 m перемещено с носа в корму:
Р = 
=
m
где ∆Тн = Тн - Тн1 = 6,5 – 5,2 = 1,3 м ; ∆Тк = Тк – Тк1 =7,1 – 7,8 = -0,7м
Задачи
| Исходные данные |
Номер задачи |
|||||||||
| 191 |
192 |
193 |
194 |
195 |
196 |
197 |
198 |
199 |
200 |
|
| D, m |
17900 |
17400 |
12740 |
9860 |
9530 |
127200 |
110000 |
45840 |
33350 |
18560 |
|
|
140 |
134,5 |
130,3 |
113 |
115 |
235,85 |
235 |
195 |
165 |
140,1 |
| Тн , м |
8,90 |
8,85 |
7,80 |
7,12 |
6,90 |
15,90 |
13,80 |
10,50 |
9,74 |
9,50 |
|
|
8,93 |
9,15 |
7,85 |
7,16 |
7,00 |
16,00 |
14,00 |
10,70 |
9,74 |
9,68 |
| Тк , м |
8,96 |
9,45 |
7,90 |
7,20 |
7,10 |
16,10 |
14,20 |
10,90 |
9,74 |
9,86 |
| Тн1 , м |
7,20 |
8,00 |
6,78 |
5,92 |
5,93 |
13,00 |
11,20 |
8,80 |
7,62 |
6,10 |
|
|
8,58 |
8,95 |
7,65 |
6,90 |
6,80 |
15,15 |
13,55 |
10,10 |
8,95 |
8,85 |
| Тк1 , м |
9,96 |
9,90 |
8,52 |
7,88 |
7,67 |
17,30 |
15,90 |
11,40 |
10,28 |
11,60 |
| q, m/м |
2330 |
2200 |
1910 |
1600 |
1600 |
8400 |
8300 |
4670 |
3680 |
2430 |
| Н , м |
146 |
140 |
136 |
120 |
120 |
230 |
210 |
255 |
207 |
144 |
| Р1 , m |
400 |
200 |
200 |
250 |
200 |
3000 |
2500 |
1000 |
1000 |
800 |
| х1 , х, м |
+50 |
+50 |
+45 |
+40 |
+40 |
+82 |
+82 |
+61 |
+54 |
+50 |
| х2 , м |
-50 |
-45 |
-50 |
-40 |
-40 |
-60 |
-60 |
-35 |
-29 |
-57 |
| хА , м |
+50 |
+45 |
+45 |
+30 |
+30 |
+50 |
+50 |
+30 |
+30 |
+35 |
| хƒ , м |
-1,0 |
+0,6 |
-0,2 |
-0,8 |
-0,2 |
-0,5 |
-0,5 |
±0 |
-0,2 |
-3,1 |
IV . Снятие судна с мели дифферентованием, если часть груза снята, и когда лишь носовая часть киля лежит на грунте, а под остальной частью киля имеется достаточный запас глубины
Судно сидит на мели носовой частью. Пробоин нет. Силу присоса не учитываем. Под свободной частью киля имеется достаточный запас глубины.
Исходные данные:
D = 9220 m,
=115 м, Тн
=6,5 м, Т =6,8 м, Тк
=7,1 м; Тн1
=5,2 м,Т 1
=6,5 м, Тк1
= 7,8 м; число тонн на 1 м изменения средней осадки q = 1600 m/м; продольная метацентрическая высота Н = 120 м; количество снятого груза
Р = 200 m; абсцисса выгруженного груза х = +40 м; абсцисса перемещенного груза х1 = +40, х2 = -40 м; абсцисса внешней кромки банки хА = +25 м, абсцисса ц.m. ватерлинии хƒ = -0,6 м.
Определить количество груза, которое необходимо переместить с носа в корму, чтобы судно оказалось на плаву, если часть груза Р = 200 m груза.
Решение
1. Определим дифферентующий момент на 1 м:
m =
m/м
2. Определим величину потерянного водоизмещения:
∆D = q (Тср – Тср1 ) = 1600 (6,8 – 6,5) = 480 m
3. Определим количество груза, которое необходимо переместить с носа в корму, чтобы судно оказалось на плаву:
Р1
= 
где ∆Тн = Тн - Тн1 = 6,5 – 5,2 = 1,3 м; ∆Тк = Тк – Тк1 =7,1 – 7,8 = -0,7 м
Р1
=
m
Задачи
| Исходные данные |
Номер задачи |
|||||||||
| 201 |
202 |
203 |
204 |
205 |
206 |
207 |
208 |
209 |
210 |
|
| D, m |
17400 |
12740 |
9860 |
9530 |
127200 |
110000 |
45840 |
33350 |
18560 |
17900 |
|
|
134,5 |
130,3 |
113 |
115 |
235,85 |
235 |
195 |
165 |
140,1 |
140 |
| Тн , м |
8,85 |
7,80 |
7,12 |
6,90 |
15,90 |
13,80 |
10,50 |
9,74 |
9,50 |
8,90 |
|
|
9,15 |
7,85 |
7,16 |
7,00 |
16,00 |
14,00 |
10,70 |
9,74 |
9,68 |
8,93 |
| Тк , м |
9,45 |
7,90 |
7,20 |
7,10 |
16,10 |
14,20 |
10,90 |
9,74 |
9,86 |
8,96 |
| Тн1 , м |
8,00 |
6,78 |
5,92 |
5,93 |
13,00 |
11,20 |
8,80 |
7,62 |
6,10 |
7,20 |
|
|
8,95 |
7,65 |
6,90 |
6,80 |
15,15 |
13,55 |
10,10 |
8,95 |
8,85 |
8,58 |
| Тк1 , м |
9,90 |
8,52 |
7,88 |
7,67 |
17,30 |
15,90 |
11,40 |
10,28 |
11,60 |
9,96 |
| q, m/м |
2200 |
1910 |
1600 |
1600 |
8400 |
8300 |
4670 |
3680 |
2430 |
2330 |
| Н , м |
140 |
136 |
120 |
120 |
230 |
210 |
255 |
207 |
144 |
146 |
| Р , m |
200 |
200 |
250 |
250 |
3000 |
2500 |
1000 |
1000 |
800 |
400 |
| х , м |
+50 |
+45 |
+40 |
+40 |
+82 |
+82 |
+61 |
+54 |
+50 |
+50 |
| х1 , м |
+50 |
+45 |
+40 |
+40 |
+82 |
+82 |
+61 |
+54 |
+50 |
+50 |
| х2 , м |
-45 |
-50 |
-40 |
-40 |
-60 |
-60 |
-35 |
-29 |
-57 |
-50 |
| хА , м |
+45 |
+45 |
+30 |
+30 |
+50 |
+50 |
+30 |
+30 |
+35 |
+50 |
| хƒ , м |
+0,6 |
-0,2 |
-0,8 |
-0,2 |
-0,5 |
-0,5 |
±0 |
-0,2 |
-3,1 |
-1,0 |
V . Снятие судна с мели при отсутствии запаса глубины под килем с учетом работы машины на задний ход
Судно сидит на мели носовой частью, грунт – глина с песком. Пробоин нет. Силу присоса грунта не учитываем.
Исходные данные:
![]()
D =9220 m,
=115 м, Тн
=6,5 м, Т = 6,8 м, Тк
=7,1 м; Тн1
=5,2 м, Т 1
=6,5 м,
Тк1 = 7,8 м; число тонн на 1 м изменения средней осадки q = 1600 m/м; коэффициент трения стального корпуса судна о грунт ƒ = 0,32; упор винта заднего хода Рз.х. =384,6 кН; ц.m. выгружаемого груза из носового трюма х1 = +40 м, из кормового трюма х2 = -40 м, абсцисса ц.m. ватерлинии хƒ = -0,6 м; продольная метацентрическая высота Н = 120 м.
Определить количество груза, которое необходимо выгрузить из носового и кормового трюмов, чтобы судно могло сняться с мели самостоятельно, работая машиной на задний ход.
Решение.
1. Определим дифферентующий момент на 1 м:
m =
m/м
2. Определим общее количество груза, подлежащего снятию:
Р = ∆D = q (Тср – Тср1 ) = 1600 (6,8 – 6,5) = 480 m
3. Определим абсциссу точки приложения равнодействующей сил реакции грунта:
хр
= хƒ
+ ![]()
где ∆Тн = Тн - Тн1 = 6,5 – 5,2 = 1,3 м
∆Тк = Тк – Тк1 =7,1 – 7,8 = -0,7 м
хр
= -0,6 +
м
4. Определим усилие, необходимое для снятия судна с мели:
F = g ƒ · ∆D = 9,81 · 0,32 · 480 = 1506,8 кН
5. Определим усилие, необходимое для снятия судна с мели с учетом работы винта на задний ход:
F1 = F – Рз.х. = 1506,8 – 384,6 = 1122,2 кН
6. Определим массу груза, подлежащего снятию с судна, чтобы можно было сняться с мели работой машины на задний ход
Р =
m
7. Определим количество груза, которое необходимо выгрузить из носового трюма:
Рн
= Р
m
8. Определим количесво груза, которое необходимо выгрузить из кормового трюма: Рк = Р – Рн = 357,5 – 355,3 = 2,2 m
Задачи
| Исходные данные |
Номер задачи |
|||||||||
| 211 |
212 |
213 |
214 |
215 |
216 |
217 |
218 |
219 |
220 |
|
| D, m |
12740 |
9860 |
9530 |
127200 |
110000 |
45840 |
33350 |
18560 |
17900 |
17400 |
|
|
130,3 |
113 |
115 |
235,85 |
235 |
195 |
165 |
140,1 |
140 |
134,5 |
| Тн , м |
7,80 |
7,12 |
6,90 |
15,90 |
13,80 |
10,50 |
9,74 |
9,50 |
8,90 |
8,85 |
|
|
7,85 |
7,16 |
7,00 |
16,00 |
14,00 |
10,70 |
9,74 |
9,68 |
8,93 |
9,15 |
| Тк , м |
7,90 |
7,20 |
7,10 |
16,10 |
14,20 |
10,90 |
9,74 |
9,86 |
8,96 |
9,45 |
| Тн1 , м |
6,78 |
5,92 |
5,93 |
13,00 |
11,20 |
8,80 |
7,62 |
6,10 |
7,20 |
8,00 |
|
|
7,65 |
6,90 |
6,80 |
15,15 |
13,55 |
10,10 |
8,95 |
8,85 |
8,58 |
8,95 |
| Тк1 , м |
8,52 |
7,88 |
7,67 |
17,30 |
15,90 |
11,40 |
10,28 |
11,60 |
9,96 |
9,90 |
| q, m/м |
1910 |
1600 |
1600 |
8400 |
8300 |
4670 |
3680 |
2430 |
2330 |
2200 |
| Н, м |
136 |
120 |
120 |
230 |
210 |
255 |
207 |
144 |
146 |
140 |
| ƒ |
0,30 |
0,38 |
0,32 |
0,22 |
0,42 |
0,30 |
0,38 |
0,32 |
0,22 |
0,42 |
| Рз.х. , кН |
425,9 |
350,6 |
318,8 |
1343,3 |
1343,3 |
991,2 |
618,8 |
600,0 |
452,3 |
570,5 |
| хƒ , м |
-0,2 |
-0,8 |
-0,2 |
-0,5 |
-0,5 |
±0 |
-0,2 |
-3,1 |
-1,0 |
+0,6 |
| х1 , м |
+45 |
+40 |
+40 |
+82 |
+82 |
+61 |
+54 |
+50 |
+50 |
+50 |
| х2 , м |
-50 |
-40 |
-40 |
-60 |
-60 |
-35 |
-29 |
-57 |
-50 |
-45 |
VI . Определение начальной скорости буксировщика при снятии с мели способом рывка
Исходные данные:
D = 600 m; скорость полного хода Vо = 6,2 м/с; длина буксирного троса
ℓт = 350 м; разрывное усилие троса Рразр. = 1373,4 кН; площадь сечения троса
Sт = 12,7 10-4 м2 ; модуль упругости стального троса Е = 8 107 кН/м2 .
Определить начальную скорость буксировщика при снятии судна с мели способом рывка.
Решение.
1. Определим предельно допустимую нагрузку буксирного троса
Р =
кН
2. Определим начальную скорость буксировщика
V =
Задачи
| Исходные данные |
Номер задачи |
|||||||||
| 221 |
222 |
223 |
224 |
225 |
226 |
227 |
228 |
229 |
230 |
|
| D, m |
18560 |
17900 |
17400 |
12740 |
9860 |
9530 |
6739 |
5628 |
4050 |
1620 |
| Vo , м/с |
9,2 |
8,1 |
8,1 |
7,4 |
7,45 |
7,6 |
6,7 |
7,0 |
9,6 |
6,94 |
| ℓт , м |
440 |
420 |
420 |
400 |
380 |
380 |
350 |
350 |
800 |
700 |
| Рразр. ,кН |
1025 |
886 |
886 |
764,7 |
764,7 |
612,1 |
457,1 |
457,1 |
2982 |
1765,8 |
| Sт х 10-4 м2 |
7,48 |
6,47 |
6,47 |
6,84 |
5,64 |
4,58 |
4,58 |
4,58 |
19,0 |
12,9 |
Рекомендованная литература:
1.Сборник задач по управлению судами. Учебное пособие для морских высших учебных заведений. Н.А. Кубачев, С.С. Кургузов, М.М. Данилюк, В.П. Махин. – М. Транспорт, 1984, стр. 109 - 121.
2. Управление судном и его техническая эксплуатация. Учебник для учащихся судоводительских специальностей высших инженерных морских училищ. Под редакцией А.И. Щетининой. 3-е издание. – М. Транспорт, 1983, стр. 491 – 509.
3.Управление судном и его техническая эксплуатация. Учебник для учащихся судоводительских специальностей высших инженерных морских училищ. Под редакцией А.И. Щетининой. 2-е издание. – М. Транспорт, 1975, стр. 491 – 516.
8. Управление судном. Под общей редакцией В.И. Снопкова, – М. Транспорт, 1991, стр. 115- 132.
Приложение 1
Номограмма NPL






Диаграмма А.И. Богданова для оценки параметров неблагоприятных
попутных волн

