| Скачать .docx |
Реферат: Стрелочные электроприводы
1. Общие сведения
Стрелочные приводы предназначены для перевода, замыкания и контроля четырех положений остряков стрелочного перевода - нормального (плюсовое), переведенного (минусовое), промежуточного (среднее) и взреза.
Согласно требованиям Правил технической эксплуатации железных дорог Российской Федерации (ПТЭ) стрелочные переводы должны обеспечивать: плотное прилегание прижатого остряка к рамному рельсу при крайних положениях стрелки; незамыкание стрелки при зазоре 4 мм и более между прижатым остряком и рамным рельсом; отвод остряка от рамного рельса на расстояние 125 мм; механическое запирание остряков стрелки для предотвращения их отхода при проходе поезда; защиту от перегрузок двигателя и отжима рамного рельса при попадании постороннего предмета между остряком и рамным рельсом; возможность перевода стрелки вручную (рукояткой).
В зависимости от области применения стрелочные приводы на железных дорогах условно подразделяются на следующие основные группы: для обычных стрелочных переводов с марками крестовин 1/11 и круче, широко распространенных на станциях без высокоскоростного движения; для стрелочных переводов с пологими остряками и подвижным сердечником крестовины высокоскоростных участков железных дорог; для крутых стрелок сортировочных горок.
По виду потребляемой энергии приводы бывают электромеханические, электромагнитные, электропневматические, электрогидравлические.
Электромеханические приводы для перевода стрелок имеют электродвигатель постоянного или переменного тока и механический редуктор, а электромагнитные - тяговые электромагниты (соленоиды). Последние из-за неэкономичности и громоздкости, а также очень высокой скорости перевода тяжелых остряков стрелок железнодорожного транспорта, вызывающей деформацию элементов стрелочного перевода, применяют главным образом для трамвайных стрелок.
Действие электропневматических и электрогидравлических стрелочных переводов основано на применении пневматических и гидравлических двигателей. Преобразование энергии сжатого воздуха или жидкости в механическую работу у этих приводов осуществляется в рабочем цилиндре, имеющем поршень со штоком. Последний через стрелочную тягу связан с остряками стрелки. Перемещение поршня в цилиндре под действием сжатого воздуха или жидкости приводит к переводу стрелки. Контроль положения стрелок с такими двигателями осуществляется по кабельным линиям с использованием электрических контактов.
По виду запирания различают стрелочные приводы с внутренним и внешним запиранием стрелочных остряков. Механизм внутреннего запирания конструктивно располагается в корпусе привода, а внешнего - вне привода непосредственно у стрелочных остряков в виде отдельного замыкателя, управляемого приводом.
По способу восприятия взреза стрелки, т.е. ее принудительного перевода ребордами колес подвижного состава при пошерстном движении (нештатная поездная ситуация), приводы делятся на взрезные и невзрезные. Взрезные приводы имеют устройство, предотвращающее разрушение механизма привода при взрезе, которое выполняется в виде взрезного механизма с гибкой или жесткой (фиксаторная) связью между ведущими и ведомыми элементами привода, обеспечивающими заранее заданное сопротивление перемещению рабочего шибера привода под действием колес подвижного состава. Невзрезные приводы такого механизма не имеют, благодаря чему они более просты и надежны, но при взрезе повреждаются.
По времени перевода стрелочные приводы можно разделить на быстродействующие (время перевода стрелки до 1 с), с нормальным временем перевода (до 5 с) и медленнодействующие (более 5 с).
Быстродействующие приводы применяют на сортировочных горках и в маневровых районах станции, остальные - на станциях, оборудованных электрической централизацией стрелок и сигналов, причем медленнодействующие имеют распространение главным образом на высокоскоростных магистралях, где укладываются стрелки с гибкими остряками большой длины.
Наибольшее распространение на железных дорогах нашей страны и других стран получили электромеханические стрелочные приводы, что обусловлено удобством подачи энергии по территории станции, простотой ее преобразования в механическую работу и надежностью механизма. Появилась тенденция к более широкому применению электрогидравлических приводов с замкнутой гидравлической системой (с насосом).
Несмотря на многообразие конструкций электромеханических стрелочных электроприводов (СЭП) их структурные схемы идентичны. Это объясняется тем, что любое устройство, осуществляющее перевод стрелочных остряков, должно иметь четыре режима работы:
рабочий, при котором СЭП обеспечивает перемещение остряков с нормированным усилием, достигающим 6 кН; контрольный (статический), когда осуществлено механическое запирание остряков в крайнем положении с усилием, исключающим их отход при прохождении поезда, и имеется надежный электрический контроль плотного прилегания одного остряка к рамному рельсу и отведения другого остряка от рамного рельса;
динамический, когда СЭП и элементы его крепления к стрелочному переводу (стрелочная гарнитура СГ) воспринимают динамические воздействия подвижного состава, при которых не должны нарушаться взаимосвязи функциональных узлов СЭП и происходить остаточные деформации, т.е. должна обеспечиваться устойчивость системы "СЭП - стрелочный перевод";
взреза стрелки подвижным составом, в результате которого нарушается контрольный режим и исключается возможность выполнения рабочего режима.
Для обеспечения указанных режимов конструкция стрелочного привода содержит (рис.1): реверсивный электродвигатель Д; фрикционный механизм (муфта) Ф, обеспечивающий ограничение вращательного момента на валу электродвигателя Д во избежание отжима рамного рельса остряком при попадании между ними постороннего предмета и перегрузки двигателя, а также компенсацию инерции движения связанных с электродвигателем Д элементов редуктора в момент окончания перевода стрелки; редуктор Р, являющийся усилителем вращательного момента маломощного (экономия кабеля) электродвигателя Д и преобразователем вращательного движения электродвигателя Д в поступательное движение рабочих тяг гарнитуры, связанных с остряками стрелки; главный вал. Г, передающий переводное усилие от редуктора Р к последующим каскадам силовой передачи; взрезное устройство В, предотвращающее поломку СЭП при взрезе стрелки; запирающий механизм 3, обеспечивающий запирание остряков в их крайнем положении; контрольное устройство К (автопереключатель), осуществляющее электрический контроль работы СЭП во всех режимах; рабочие шиберы Ш, перемещающие остряки стрелки из одного крайнего положения в другое; контрольные линейки Л, связанные с остряками для управления контактами автопереключателя.

Рис.1. Структурная схема стрелочного электропривода
В рабочем режиме вращающий момент от электродвигателя Д передается через фрикционную муфту Ф к шестерням редуктора Р, который вращает главный вал Г с меньшей скоростью и с многократно возросшим моментом. У взрезных приводов на главном валу Г может находится взрезное устройство В, осуществляющее разъединение вала при взрезе стрелки, когда усилие взреза достигает определенного значения. Главный вал Г обеспечивает перемещение двух рабочих шиберов Ш у взрезных приводов и одного - у невзрезных через запирающий механизм 3, выполняемый в различных вариантах, например в виде цилиндрической передачи с ведущей шестерней особой конфигурации (с запирающим зубом). По окончании перевода стрелки, контакты автопереключателя К под действием контрольных линеек Л и запирающего механизма 3 изменяют свое состояние, и электродвигатель Д отключается, а контрольная цепь электропривода замыкается. Под запиранием стрелки подразумевается исключение возможности перемещения стрелочных остряков внутрь колеи при помощи запирающего механизма привода. Перемещению остряков в сторону рамного рельса запирающие механизмы любых конструкций не препятствуют, так как в динамическом режиме они не способны удерживать колею. Эту задачу решают путевые скрепления рамного рельса.
2. Невзрезной стрелочный электропривод СП-6
В нашей стране невзрезной стрелочный привод СП-6 получил повсеместное распространение. Сначала применялся взрезной стрелочный электропривод N3900 зарубежного производства с внешним шарнирно-упорным замыкателем, устанавливаемым в межостряковом пространстве. Однако опыт эксплуатации показал недостаток внешнего замыкателя указанной конструкции, заключающийся в засорении и частом заклинивании механизма, особенно в зимнее время. С 1935 г. стали выпускать взрезной стрелочный электропривод СПВ с внутренним замыкателем, который широко применяли до 1965 г. Повышение скоростей движения и массы поездов обусловило применение новых стрелочных переводов из рельсов тяжелых типов Р50 и Р65 и необходимость более надежного замыкания обоих остряков. Привод СПВ имел недостатки, например самовзрез привода при переводе стрелки из-за близких по значению усилий перевода и взреза. Поэтому начали применять невзрезной привод СП (СП-1, СП-2, СП-3), осуществляющий совместный перевод и замыкание одновременно обоих остряков, имеющий простую конструкцию и повышенную износостойкость.
Внедрению невзрезных электроприводов, допускающих при взрезе поломку того или иного элемента привода или гарнитуры, способствовали полная маршрутизация и осигнализование маневровых передвижений, исключающие возможность движения по стрелкам, если они не замкнуты и не находятся в соответствующем заданному маршруту положении.

Рис.2. Схема установки электропривода на стрелке
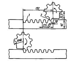
Стрелочный электропривод СП-6 (рис.2) устанавливается на двух фундаментных угольниках 1-5 и 6-10, прикрепленных в узлах (болтовые соединения) 1, 2 и 9, 10 к рамным рельсам, а в узлах 4, 5 и 6, 7 - к корпусу привода. Для придания конструкции большей жесткости и снижения колебаний привода в вертикальной плоскости при динамическом режиме фундаментные угольники скреплены дополнительно в узлах 3, 8 продольной связной полосой, опирающейся на стрелочные брусья. Рабочий шибер Ш привода шарнирно (шарнир Гука, узел 18) связан с рабочей тягой 12-18, которая в узле 12 прикреплена к межостряковой (соединительная) тяге 11-13, а последняя - к острякам. Контрольные линейки Л в узлах 16, 17 шарнирно связаны с контрольными тягами гарнитуры, которые жестко прикреплены к стрелочным острякам в узлах 14, 15. Чтобы предотвратить шунтирование электрической рельсовой цепи элементами стрелочной гарнитуры, в узлах 1, 2, 9-11, 13-15 устанавливают изолирующие фибровые прокладки и втулки.
В соответствии с принципиальной схемой установки рамные рельсы, гарнитура и привод должны представлять собой единую жестко связанную конструкцию для решения нескольких важных задач. Силовой передачей привода должно осуществляться перемещение остряков стрелки на одно и то же заданное расстояние (152 мм) независимо от угона стрелочного перевода относительно шпал (земляного полотна) в процессе эксплуатации, обеспечивающее запирание остряков и контроль их крайнего прижатого к рамным рельсам положения. Должны обеспечиваться дополнительная жесткая связь между рамными рельсами для стабилизации зазора "остряк-рам![]()
![]()
![]()
![]()
![]()
![]()
![]()
ный рельс" и механическая связь рамных рельсов с гарнитурой привода для контроля их местонахождения. Элементы гарнитуры и привода не должны деформироваться при прогибах стрелочного перевода относительно земляного полотна.
Таким образом, установочную схему и компоновку всех узлов привода и гарнитуры определила, по существу, идея реализации дистанционного контроля положения стрелки, заключающаяся в фиксировании контрольным устройством привода перемещения остряков на заданное расстояние относительно жестко связанной конструкции "привод-гарнитура-рельсы". Это обеспечило простоту кинематической схемы привода и сосредоточение его силовых и контрольных органов в одном месте вне рельсовой колеи.
В корпусе 1 привода СП-6 (рис.3) расположены электродвигатель 3 постоянного или переменного тока, редуктор 5 со встроенным в том же блоке фракционным устройством в виде стальных дисков, сжатых пружиной, блок автопереключателя 10, главный вал 6, шибер 8 с кулачковым запирающим механизмом, контрольные линейки 9, штепсельная розетка 4 для подключения переносной осветительной лампы, обогреватели (резисторы) контактов автопереключателя 7, контактное блокировочное устройство 2, управляемое заслонкой (рычаг), которое отключает цепь электродвигателя 3 при переводе стрелки курбельной рукояткой и снятии крышки корпуса 7.

Рис.3. Невзрезной стрелочный электропривод СП-6

Рис.4. Кулачковый запирающий механизм
Электродвигатель 3, получая питание с поста управления или от местного источника постоянного или переменного тока, вращает первый из четырех каскадов зубчатых передач редуктора 5. Это вращение передается через диски фрикционной муфты последующим каскадам редуктора и главному валу б, который при переводе стрелки из одного крайнего положения в другое совершает один неполный оборот (280°). Главный вал связан с рабочим шибером 8 посредством кулачкового запирающего механизма, который представляет собой зубчатую передачу реечного типа (рис.4), ведущая шестерня 2 которой расположена на главном валу и имеет специальную форму двух крайних зубьев (зубья скошены, образуя кулачки). Аналогичную форму имеют два крайних зуба рабочего шибера 1. Поэтому в конце привода стрелки, когда скошенные зубья (шестерни главного вала и шибера) входят в соприкосновение, создается упор, препятствующий передвижению шибера и связанной с ним рабочей тяги стрелочной гарнитуры, остряки стрелки оказываются переведенными и запертыми от перемещения стрелочных остряков внутрь колеи. В сторону рамного рельса кулачковый механизм в запирающем положении обеспечивает возможность свободного движения рабочего шибера 8 (см. рис.3) на 12 мм во избежание разрушения привода при проходе поездов по стрелке. Факт запирания остряков кулачковым механизмом не отражает действительного положения стрелочных остряков, поскольку шибер и рабочая тяга, например, могут оказаться разъединенными до и во время перевода стрелки. Запирание должно контролироваться и происходить одновременно с фактическим приведением остряков в крайнее положение. Эти два события контролируются ножевым рычагом 1 (10) автопереключателя (рис.5, а) и скрепленным с ним переключающим рычагом 4 (7). Верхняя часть рычага 4 (7) снабжена роликом, который западает в вырез шайбы 11, насаженной на главный вал в месте сочленения его с редуктором, фиксируя конечное запирающее положение вала и кулачкового механизма. Но замыкание контрольных К контактов 3 (8) автопереключателя возможно, если одновременно в вырезы контрольных линеек прижатого и отведенного остряков западает клювообразный конец ножевого рычага 1 (10).

Рис.5. Схемы автопереключателя
Клювообразная форма конца рычага 1 (10), называемая часто зубом, обеспечивает возникновение зазора между ним и контрольной линейкой Л после его западания в ее вырез, что необходимо при работе привода в динамическом режиме, когда под действием ударных нагрузок при плотном прижатии этих элементов может произойти "срыв" контроля положения стрелки. Замыканию контрольных К предшествуют размыкание рабочих Р контактов 2 (9) и отключение тока электродвигателя. Для снижения коммутационных напряжений это переключение должно происходить по окончании перевода стрелки с большой скоростью. Поэтому переключающие рычага плюсового и минусового положений стягиваются пружиной 6. Контрольные контакты при переводе (рис.5,
6) стрелки должны размыкаться раньше, чем снимется запирание и остряки начнут двигаться. Эта задача решается в узле сочленения выходного каскада редуктора зубчатого колеса остряка с главным валом, где до начала вращения вала обеспечивается выталкивание ролика переключателя рычага 4 (7), в результате чего контакты 3 (8) размыкаются, а рабочие 2 (9) замыкаются. Таким образом, при переводе стрелки вращение зубчатого колеса выходного каскада редуктора передается на главный вал не сразу, а только при повороте колеса на определенный угол (46°), после чего происходит зацепление колеса с шайбой 5 вала. Этот угол определяет холостой ход привода, необходимый для разворота электродвигателя без нагрузки и переключения контактов из контрольного положения в рабочее. Стопорение от проворота главного вала в запертом положении обеспечивается в сторону рамного рельса кулачковым механизмом, а внутрь колеи - роликовым механизмом переключающего рычага автопереключателя.
Шибер отпирается в начале перевода стрелки, когда скошенный зуб шестерни кулачкового механизма после ее поворота на угол 20° своей боковой гранью начинает перемещать шибер. После поворота шестерни на 32° ее зубья входят в нормальное зацепление с зубьями шибера, и стрелка переводится. В конце перевода шибер останавливается, а шестерня, продолжая вращение, делает поворот еще на 16°, в результате чего скошенный зуб шестерни находит на скошенный зуб шибера, запирая остряки в другом положении.
В случае взреза стрелки шайба 5 и главный вал не проворачиваются, а контрольные линейки перемещаются и скошенной гранью выреза отведенного остряка клювообразный конец ножевого рычага 1 (10) выталкивается на поверхность линеек. Ножевой рычаг 1 (10) в этом случае занимает среднее положение, поскольку не произошел поворот шайбы 5 и переключающего рычага 4, контрольные контакты размыкаются. Ножевой 10 и переключающий 7 рычаги другого положения стрелки своего состояния в это время не меняют, рабочий контакт 9 остается замкнутым. При взрезе кулачковый механизм продолжает удерживать рабочий шибер, поэтому происходит сжатие и, как следствие, деформация (изгиб) рабочей тяги, если усилие взреза было направлено (зависит от положения стрелки в момент взреза) в сторону привода. В этом случае несущая способность рабочей тяги ниже прочности запирающего механизма. Если усилие взреза было направлено от привода, то несущая способность рабочей и межостряковых тяг выше прочности запирающего механизма. Поэтому, несмотря на некоторое растяжение и деформацию тяг, разрушается автопереключатель, например, лопаются подшипники главного вала или болты автопереключателя (возможно его смещение). Привод становится неуправляемым. Таким образом, при взрезе стрелки всегда ломаются различные узлы привода или гарнитуры без разъединения остряков и запирающего механизма, так как специальных ослабленных деталей в нем не предусмотрено. Считается, что взрез стрелки является чрезвычайным событием, требующим послевзрезного осмотра не только привода, но и стрелочного перевода.