| Скачать .docx |
Реферат: Системы диспетчерского контроля
СИСТЕМЫ ДИСПЕТЧЕРСКОГО КОНТРОЛЯ
1. Назначение систем и принципы построения
Системы диспетчерского контроля (ДК) используются на железных дорогах России с 50-х годов прошлого века для автоматического отражения состояния перегонных и некоторых станционных объектов диспетчерского участка. В соответствии с ПТЭ устройства ДК должны обеспечивать поездному диспетчеру телесигнализацию состояния блок участков, главных и приемоотправочных путей промежуточных станций, а также входных и выходных светофоров.
Телесигнализация состояния участка средствами ДК обеспечивает диспетчеру возможность оперативного принятия управляющих решений. Однако из-за отсутствия канала ТУ реализация телефонных команд возможна только при сохранении на станциях автономного управления, т.е. дежурных по станциям. Поэтому при наличии на участке системы ДК эффективность управления повышается, хотя сокращения эксплуатационного персонала не происходит.
На железных дорогах России применялись системы ДК-ЦНИИ-49, БДК-ЦНИИ-57, УДК, а в настоящее время для повсеместного использования рекомендованы компьютерные системы АПК-ДК и АСДК.
Общие принципы построения этих систем:
центральный пост соединен со станциями участка и перегонными сигнальными точками одной физической цепью. При большом удалении ЦП от участка возможно использование каналов ТУ до ближайшей станции;
применяется циклический опрос состояния объектов контроля;
сбор информации на станции с сигнальных точек перегонов производится с частотным разделением двоичных сообщений;
передача информации со станций на ЦП происходит с временным разделением одноименных сообщений разных станций и частотным разделением станций.
2. Система ЧДК
С 1966 г. на сети железных дорог стала применяться система частотного диспетчерского контроля (ЧДК). Основные эксплуатационно-технические характеристики системы приведены далее.
Число контролируемых объектов:
на центральном диспетчерском пункте…………15 х 32 = 480
Длительность цикла проверки состояния
всех объектов контролируемого участка, с……13,6
Линии, каналы связи……………………………..кабельные и воздушные
линии, каналы ТЧ
Дальность действия, км, по линиям:
кабельным, не более............ ……………….…..180
воздушным, не более........ ………………….…300
каналам ТЧ.......................... ……………………не ограничена
Число сообщений, выделяемых по станциям…32 х 6= 192
Включение контролируемых объектов………..параллельное включение
15 станций, 32 объектов
Передача информации об отказах АБ и АПС …с 15 станций двух групп
по 10 объектов в группе.
В системе ЧДК предусмотрена трехуровневая система контроля (рис.1). Информация от сигнальных и переездных установок автоблокировки (АБ) и автоматической переездной сигнализации (АПС) (нижний уровень) непрерывно поступает на промежуточные станции (средний уровень). После обработки она передается на центральный пост поездному диспетчеру и диспетчеру дистанции сигнализации и связи (верхний уровень).
В качестве датчиков занятости блок участков и станционных путей в системе ЧДК используются контакты путевых реле. При числовой кодовой автоблокировке путевое реле работает в импульсном режиме, поэтому для устройств ДК включаются контакты сигнального реле Ж, зависимого от путевого реле и находящегося под током при свободном блок участке и в обесточенном состоянии при занятом. Когда блок-участок свободен, в линию посылается сигнал тональной частоты, который воспринимается соответствующим приемником на станции. Срабатывает реле на его выходе, контакты которого включают индикацию на табло у дежурного промежуточной станции. Информация о положении поездов передается с перегонов на прилегающие станции по проводам линии двойного снижения напряжения (ДСН) от камертонных генераторов ГК, размещаемых в шкафах автоблокировки, и узкополосных приемников, установленных на станциях. В устройствах ЧДК используются генераторы и приемники на 16 фиксированных частот в диапазоне 300-1500 Гц, что обеспечивает включение на одном перегоне в одну цепь ДСН до 16 контролируемых объектов. При большем числе объектов разрезается цепь ДСН и информация передается на две станции. Станции, на которых устанавливается табло контроля перегонов, выбираются с учетом характера эксплуатационной работы, предпочтительнее передача информации о состоянии перегонов на станции с маневровой работой. Генераторы распределяются по перегону так, чтобы по направлению к станции частота сигналов повышалась, поскольку сигналы более высокой частоты имеют большее затухание и могут передаваться на меньшее расстояние.
Приборы ЧДК обеспечивают также непрерывный контроль исправности аппаратуры перегонных и переездных устройств СЦБ. При возникновении повреждения генератор диспетчерского контроля посылает в линию кодированный сигнал, воспринимаемый на одной из примыкающих станций. Соответствующая лампа на табло у дежурного начинает мигать в такт с передаваемым кодом, загораясь в интервалах и погасая в импульсах. Расшифровка сообщений о характере повреждений проводится ДСП визуально по режиму горения контрольных ламп табло.

Рис. 1. Структурная схема системы ЧДК
Примеры формируемых кодовых комбинаций на сигнальных установках, посылаемых объектными генераторами при повреждении устройств числовой кодовой автоблокировки, приведены в табл. 1.
Таблица 1

Целостность нити лампы красного огня контролируется в холодном и горячем состоянии, проверяется также исправность всех монтажных соединений. При использовании генераторов типа ТС-5 или ГКШ сигналы ЧДК формируются встроенным в генераторе манипулятором аналогично без применения трансмиттера КПТ.
На переездных установках при АБ постоянного и переменного тока генератором ГКШ формируются следующие сигналы:
непрерывный сигнал — поезда на участке приближения нет, все контролируемые объекты исправны;
сигнал отсутствует — переезд закрыт, все контролируемые объекты исправны;
импульсный сигнал — неисправность устройств (перегорела нить переездного или заградительного сигнала, неисправен комплект мигания, обесточилось реле ДСН, брус шлагбаума не принял горизонтального положения, отсутствует переменный ток, неисправен конденсаторный блок).
Для уменьшения взаимного влияния цепей постоянного тока устройства ДСН и переменного тока тональной частоты в системе ЧДК предусмотрено следующее:
реле ДСН применены с большим сопротивлением обмоток токам тональной частоты (реле НР2-2000 или АНШ2-1600);
последовательно с источником постоянного тока включен дроссель с большим сопротивлением токам тональной частоты;
последовательно с объектными генераторами включены конденсаторы, которые защищают цепь постоянного тока от шунтирования обмотками выходных трансформаторов.
Информация о положении поездов на перегонах с промежуточных станций передается диспетчеру участка. Кроме того, на центральный пост к ДНЦ дополнительно поступает информация о занятости приемоотправочных путей и состоянии входных и выходных светофоров промежуточных станций. Информация со всех промежуточных станций на центральный пост передается по одной двухпроводной физической (воздушной или кабельной) цепи или каналу ТЧ. Каждая станция передает информацию на одной выделенной для нее частоте, формируемой генератором. В канал связи частоты
-
поступают параллельно и воспринимаются на центральном посту приемниками. Этой аппаратурой каждая станция оказывается соединенной с центральным постом отдельным узкополосным каналом.
Для передачи сигналов применен циклический способ контроля, при котором на каждой станции и центральном посту устанавливаются релейные распределители РДК-2 и тактовые генераторы-приемники ГП-3, управляемые тактовым генератором ГТ2-16, который монтируется на одной из промежуточных станций. Генератор вырабатывает импульсы тактовой частоты
= 1523,4 Гц, длительностью 0,4с со скважностью, примерно равной единице. Импульсы частоты
воспринимаются тактовыми приемниками, размещенными в корпусе генератора ГП-3. Синхронизация осуществляется в каждом цикле посылкой удлиненного интервала, приводящего в исходное состояние распределители всех станций участка и центрального поста.
В длинных цепях, если затухание частотных сигналов превышает допустимое, на промежуточных станциях устанавливается оборудование трансляционного пункта — усилитель УПДК-2.
Распределители промежуточных станций последовательно подключают к линейным генераторам контакты объектных реле. Если рельсовая цепь занята или светофор открыт, в линию на время такта посылается сигнал на частоте генератора, воспринимаемый приемником центрального поста. При свободных рельсовых цепях и закрытых светофорах сигналы не передаются и в таких тактах реле приемника не включаются. Так как генераторы станций работают на различных частотах, в каждом такте передается информация со всех станций участка. За один цикл (15 с) работы распределителя (32 шага) с 15 станций может быть передана информация о положении 480 объектов.
Индикация на табло поездного диспетчера осуществляется тиратронами тлеющего разряда типа МТХ-90, подключенными к дешифрирующей матрице.
Для передачи информации об отказах устройств диспетчеру дистанции сигнализации и связи (ШЧД) на промежуточных станциях устанавливаются блоки передачи информации о повреждениях (БПИ). Каждый такой блок позволяет контролировать 10 перегонных объектов. Информация о повреждениях передается диспетчеру дистанции как обычный сигнал контроля с промежуточной станции и принимается на центральном посту комплектом приемной аппаратуры. Если на ЦП расстояние до табло ШЧД превышает 25 м, применяется дополнительный комплект приемной аппаратуры. Табло ШЧД также имеет матричную структуру, но содержит всего 30 тиратронов (по две группы контролируемых объектов на каждой из 15 станций). При отказе хотя бы одного из 10 объектов группы на табло зажигается тиратрон. Для принятия информации по телефону ШЧД должен уточнить по телефону у дежурного по станции номер сигнальной или переездной установки и характер повреждения.
Система ЧДК может дополняться аппаратурой телеуправления для оперативного включения и выключения устройств электроснабжения и связи, а в отдельных случаях и устройств СЦБ (светофоры, стрелки). Для передачи управляющих приказов на ЦП дополнительно устанавливаются пульт телеуправления и генератор сигналов телеуправления. На промежуточных станциях — линейные приемники, линейные ячейки телеуправления, а также пульт местного управления. Управляющие приказы передаются с ЦП на промежуточные станции по отдельному узкополосному каналу на частоте
= 1640,8 Гц с использованием кодово-распределительного метода избирания. Управляющий приказ представляет собой комбинацию импульсов с временным разделением элементов сигнала, где логической 1 соответствуют импульсы частотой
, а логическому 0 — паузы.
3. Система АСДК
Автоматизированная система диспетчерского контроля (АСДК) представляет собой аппаратно-программный комплекс, обеспечивающий диспетчерский контроль состояния отдельных узлов и устройств автоматики, телемеханики и связи, поездных передвижений, свободности и занятости приемоотправочных путей, рельсовых цепей и блок участков, состояния переездов, входных и выходных светофоров станций и др.
Условно АСДК разделяется на две подсистемы верхнего и нижнего уровней. Объектами контроля АСДК являются устройства ЭЦ на станциях и устройства интервального регулирования на перегонах.
Подсистема нижнего уровня состоит из электрических датчиков состояния контролируемых технических средств (контакты соответствующих реле постовых и перегонных устройств, измерительные панели рельсовых цепей и др.) и контроллеров диспетчерского контроля (КДК), выполняющих сбор цифровой и аналоговой информации, ее обработку и передачу в сеть АСДК.
Контроллер диспетчерского контроля представляет собой многопроцессорную систему, построенную по магистрально-модульному принципу с широкой номенклатурой модулей, обеспечивающих контроль дискретных устройств, а также аналоговых сигналов: измерение напряжений питающих установок и путевых реле различных рельсовых цепей, включая тональные; измерение длительности и частоты сигналов.
В качестве магистрали КДК используется асинхронная, последовательная шина. Децентрализованная внутренняя магистраль позволяет разнесением отдельных модулей сократить объем работ по монтажу и затраты на кабельную продукцию.
Такой подход в построении технических средств позволяет повысить живучесть системы в целом, обеспечить возможность дублирования элементов и резервирования каналов связи, решать на нижнем уровне задачи, требующие значительных вычислительных ресурсов, в том числе по поддержке протоколов глобальных сетей.
Для обеспечения съема и передачи на станции дискретных и аналоговых сигналов от сигнальных и переездных установок аппаратура нижнего уровня содержит:
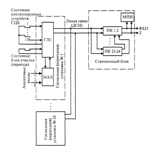
модуль линейный аналоговый (МАЛ), предназначенный для сбора и преобразования в цифровой код аналоговой информации от восьми контролируемых устройств;
генератор линейных сигналов (ГЛС), служащий для сбора дискретных сигналов от 15 контролируемых устройств (контакты реле) я реле состояния блок участка (переезда). Кроме того, ГЛС принимает цифровой код измеренных аналоговых величин и передает его в линию в виде последовательного циклического кода (рис. 2).
Линейные выходы всех генераторов линейных сигналов (до 24) подключаются параллельно к двухпроводной линии связи (кабельной или воздушной), например ДСН.
Одновременная передача информации с 24 сигнальных установок в общую линию связи основана на частотном разделении каналов. Кодирование информации о состоянии 15 контролируемых устройств или аналоговой информации каждым ГЛС выполняется по принципу временного разделения каналов. Состояние каждого контролируемого устройства (контакта реле) или код аналоговой информации передается в дискретной форме модулированными по длительности паузами между частотными посылками. Одновременно модулированными по длительности частотными посылками посылается информация о состоянии блок участка (переезда).

Рис. 2. Структура последовательного кода при передаче дискретной (а) и аналоговой (б) информации
При наличии аналоговой информации от МАЛ на входах ГЛС последовательный циклический код линейного сигнала содержит 4 байта (2 байта дискретной информации и 2 байта аналоговой). За один цикл передачи информации ГЛС передает код о напряжении одного аналогового сигнала. Во втором байте последовательного кода, содержащего аналоговую информацию, включено сообщение о состоянии четырех информационных каналов для сокращения времени получения данных по этим каналам. При передаче любого сообщения модулированными по длительности частотными посылками посылается информация о состоянии блок участка (переезда). При передаче дискретной информации ГЛС формирует импульсную последовательность циклического кода (рис. 3). На этом рисунке Ч — частотная посылка; Б — бесчастотная посылка (пауза).
Информация от каждой сигнальной установки по линии связи (например, ДСН с развязкой конденсаторами от цепей постоянного тока) поступает на станционную приемную аппаратуру и выделяется полосовыми фильтрами модулей приемных каналов ПК. После дешифрации принятого сигнала ПК выставляет информацию я последовательную интерфейсную шину RS-232 для использования аппаратурой верхнего уровня АСДК (рис. 4.) При необходимости, по этому же стыку, информация может быть выведена на модули индикации.

Рис. 3. Структура циклического кода линейного сигнала при передаче дискретной информации
Подсистема верхнего уровня выполняет прием и маршрутизацию потоков информации от КДК, ее обработку и отображение на АРМах сети АСДК. Кроме того, на этом уровне осуществляется связь с внешними вычислительными системами, в том числе с АСОУП и автоматизированной системой службы СЦБ (АС-Ш). В состав подсистемы верхнего уровня входят различные технологические АРМы пользователей (поездного и узлового диспетчеров, сменного инженера дистанции сигнализации и связи, дежурного по станции, электромеханика постов ЭЦ и ГАЦ, диспетчера локомотивного депо, дежурного по пассажирским и грузовым паркам и др.). Все АРМы АСДК поддерживают единый протокол обмена. Сеть АСДК выполняет функции электронной почты и открыта для подключения АРМов других разработчиков. Система ориентирована на работу в центре управления и совместно с АС-Ш.
Основными характеристиками сети АСДК являются: возможность обмена информацией между любыми абонентами сети и информацией произвольного вида, в том числе информацией реального времени; программная поддержка любой конфигурации связи абонентов сети; администрирование доступа в сети; динамическая маршрутизация потоков информации.

Рис. 4. Структурная схема аппаратуры АСДК нижнего уровня
Каждый АРМ реализует ряд общесистемных функций: графическое представление на экране монитора в виде мнемосхем информации о реальном состоянии устройств СЦБ, поездном положении на контролируемых объектах (станциях, перегонах); логический контроль состояния устройств СЦБ; ведение системных протоколов, а также протоколов работы устройств СЦБ, действий персонала, состояния связи; принудительное обращение внимания оператора на возникновение нештатных ситуаций («всплывающие окна»), звуковая сигнализация; настройка и корректировка системных и пользовательских параметров (дата, время, цветовая палетка, печать).
Основные специализированные функции автоматизированных рабочих мест АСДК предназначены для решения технологических задач, стоящих перед оперативным персоналом.
Автоматизированные рабочие места оперативных работников решают задачи: автоматического определения времени прибытия и отправления поездов; автоматического слежения за поездными объектами в пределах зоны контроля; идентификации (автоматической и ручной) подвижных объектов; связи с АСОУП в режиме регламента (сообщение 1042) и по запросам. Кроме этого, АРМы обеспечивают: корректировку операций с поездами при нарушениях в работе АСДК; учет действующих предупреждений и контроль их исполнения; обмен информацией о номерах поездов и операци-ях с поездами через сеть АСДК между АРМами.
Автоматизированное рабочее место поездного диспетчера решает задачи автоматизированного ведения графика движения поездов, в том числе создания экранной формы графика, получения его цветной твердой копии, контроля оборота локомотивов и др.
Автоматизированные рабочие места оперативных работников позволяют сигналам реального времени формировать поездные сообщения в адрес АСОУП, осуществлять автоматизированное ведение журналов движения поездов. Кроме этого, АРМ дежурного по станции может быть дополнен системой автоматического оповещения работающих на путях лиц, пассажиров о движении поездов и программным модулем контроля закрепления поездов и групп вагонов тормозными башмаками.
4. Система АПК-ДК
Аппаратно-программный комплекс диспетчерского контроля (АПК-ДК) является наиболее удачной реализацией функций диспетчерского контроля на современном техническом уровне.
Использование средств вычислительной техники расширило функциональные возможности системы АПК-ДК не только для поездного диспетчера, но позволило решить и основные задачи контроля состояния технических средств систем ЖАТ на перегонах и станциях диспетчерского участка.
Таким образом, система АПК-ДК имеет двойное назначение и обеспечивает:
оперативный съем информации на сигнальных точках перегонов о состоянии рельсовых участков, светофоров и других средств и передачу ее на станции для последующего использования для контроля поездного положения и технического диагностирования перегонных устройств;
оперативный съем информации на станциях о состоянии путевых объектов и технических средств и передачу ее поездному диспетчеру и диспетчеру дистанции сигнализации, связи и вычислительной техники;
обработку и отображение информации у пользователей по ведению исполняемого графика движения; расчету прогнозного графика по текущему поездному положению; расчету показателей работы участка и выдаче справок; логическому определению ложной свободности участка и опасного сближения поездов; анализу работы устройств; определению предотказного состояния устройств; обнаружению отказа; оптимизации поиска и устранению отказа; архивации и восстановлению событий; статистике и учету ресурсов приборов.
На станциях, т.е. на первом (нижнем) уровне управления перевозочным процессом (рис. 5) выполняются сбор, преобразование, концентрация информации о состоянии перегонных и станционных устройств. Далее эта информация может быть отображена на АРМах дежурного по станции и дежурного электромеханика, но обязательно передается на второй уровень управления, т.е. поездному диспетчеру, и на АРМ диспетчера дистанции сигнализации, связи и вычислительной техники.
Состояние перегонных устройств систем ЖАТ контролируют автоматы контроля сигнальных точек (АКСТ), выполненные на базе специализированных контроллеров. Наибольшее распространение имеет блок АКСТ-СЧМ, представляющий собой генератор частоты, формирующий посылаемые в линию связи циклические восьмиимпульсные частотные посылки в соответствии с состоянием контролируемых объектов. При восьми выходных импульсах благодаря манипуляции по длительности импульсов и пауз (интервалов) АКСТ-ЧМ позволяет контролировать состояние семи дискретных датчиков (реле) и двух пороговых датчиков.

Рис. 5. Структурная схема системы АПК ДК
При этом соблюдаются следующие правила:
длительность импульса в один такт соответствует замкнутому состоянию контакта датчика и состоянию «параметр в норме» порогового датчика;
длительность импульса в два такта соответствует разомкнутому состоянию контактного датчика и состоянию «параметр не в норме» порогового датчика;
длительность разделительного интервала между импульсами в один такт соответствует разомкнутому состоянию датчика;
длительность разделительного интервала в два такта соответствует замкнутому состоянию датчика;
длительность паузы между посылками восьмиимпульсных комбинаций установлена равной трем тактам;
длительность такта (0,468 ± 0,007) с.
При проектировании АПК-ДК определяется перечень параметров, контролируемых каждым АКСТ-СЧМ.
Для систем автоблокировки параметры выбирают из следующего перечня: отсутствие основного питания на сигнальной точке; отсутствие резервного питания; перегорание основной нити лампы красного огня; перегорание резервной нити лампы красного огня; перегорание нити лампы разрешающего огня; установленное направление движения; сход изолирующего стыка; пропадание постоянного напряжения блока БС-ДА; занятость блок участка; неисправность АКСТ-СЧМ или линии ДСМ; пропадание обоих фидеров питания на объектах с аккумуляторным резервом; аварийный отказ.
При проектировании для каждого АКСТ-ЧМ устанавливается несущая частота (частота настройки генератора), поскольку все АКСТ перегона работают по общей физической линии с частотным разделением каналов.
На одной физической цепи может работать до 30 АКСТ-ЧМ со следующим разделением частот (табл. 2.).
Таблица 2

На станциях (линейных пунктах) принимается и анализируется информация от АКСТ-СЧМ соответствующими концентраторами (промышленный компьютер). В качестве средства согласования физической линии с сигналами от АКСТ-СЧМ перегонов с портом компьютера используются блоки
СЧД-10 (селектор частот демодулирующий десятиканальный).
Устройство согласования (рис. 6) с физической линией (ДСН) обеспечивает гальваническую развязку от линии, необходимую защиту от импульсных перенапряжений, предварительное усиление и нормирование входного сигнала.

Рис. 6. Структурная схема блока СЧД-10
Синтезатор сетки частот (на основе программируемой логической матрицы) позволяет формировать необходимые частоты (образцы сигналов) для синхронного детектирования частот, поступающих от АКСТ-СЧМ. Десятиканальный цифровой детектор с компаратором уровня сигнала обеспечивает одновременную обработку сигналов от 10 АКСТ.
Выделенные детектором сигналы поступают на устройства усиления и гальванической развязки и индикации и далее с выходов СЧД (оптронные ключи) в концентратор для анализа и последующих преобразований информации.
Работу блока СЧД-10 обеспечивает источник питания, представляющий собой стабилизированный однотактный преобразователь постоянного напряжения 24—32 В в посто-янное напряжение 12 и 5 В.
Для съема информации со станционных устройств в системе АПК-ДК используются приборы ПИК-10 и ПИК-120, выполненные на основе программируемых индустриальных контроллеров (ПИК).
Прибор ПИК-10 имеет 10 аналоговых и 10 цифровых входов и предназначен для следующего:
измерения средних значений напряжений на обмотках путевых реле;
преобразования переменного напряжения на цифровом входе в сигнал логической 1 и логического 0 при его отсутствии;
измерения сопротивления изоляции внешних цепей;
преобразования в цифровой вид измеренных значений напряжения и передачи на внешний процессор в виде 10-разрядного кода;
передачи измеренных значений сопротивления изоляции в виде последовательного цифрового кода на внешний процессор по его запросу;
формирования сигнала включения внешнего модема.
В ПИК-10.2 (рис. 7) внешние измеряемые напряжения подаются на 10 аналоговых дифференциальных входов. Измерения начинаются, если на микроконтроллер от внешнего процессора поступает соответствующая команда.
Аналоговые входы микроконтроллер опрашивает, последовательно подключая каждый из них к общему аналого-цифровому преобразователю АЦП.
Входы переключаются релейно-транзисторным коммутатором. Измеряемое напряжение выпрямляется прецезионным выпрямителем, фильтруется фильтром низкой частоты ФНЧ и в виде однополярного аналогового сигнала с напряжением, равным среднему значению входного сигнала, подается через мультиплексор на АЦП, где преобразуется в восьмибитный код.
При измерении сопротивления изоляции +24 В подключаются к внешнему проводу и измеряют сопротивление току утечки на «землю».
Цепь тока утечки (измерения): +24 В, RB
и
ФНЧ и входные сопротивления аналогового преобразователя дифференциального сигнала в однополярный на внешний провод, подключенный релейно-транзисторным коммутатором аналоговых дифференциальных сигналов, сопротивление изоляции, - 24 В. Для измерения на АЦП через мультиплексор подается напряжение, выделяемое на
и пропорциональное сопротивлению изоляции.
Во избежание влияния на измерение сопротивления изоляции входного переменного напряжения параллельно
подключен конденсатор, образующий совместно с
и RB
низкочастотный фильтр
Для повышения точности измерений напряжения и сопротивления изоляции по каждому каналу полученные данные усредняются за 256 выборок. Это позволяет измерять напряжение с точностью 2%, а сопротивление изоляции 5%.
Десять цифровых входов через оптронные преобразователи подключаются к соответствующим входам портов контроллера.
Если на цифровом входе присутствует переменное напряжение, на выходе оптрона возникает пульсирующее напряжение с амплитудой, соответствующей транзисторно-транзисторной логике (ТТЛ). В противном случае на выходе устанавливается постоянное напряжение +5 В.
Связь микроконтроллера с управляющим внешним процессором устанавливается по двум последовательным линиям Rx и Rx типа «токовая петля» или через интерфейс RS-485 с максимальной скоростью до 9600 Бод. Одновременно к одной линии связи может быть подключено до 16 приборов ПИК-10 с индивидуальными адресами.
На линейных пунктах необходимо контролировать большое число дискретных датчиков — реле ЭЦ. Для этой цели используются приборы ПИК-120 с 120 цифровыми входами, распределенными на 15 независимых групп по восемь входов в каждой.
Дискретные сигналы на входы ПИК-120 подаются специально выделенными контактами реле ЭЦ или через оптронные развязки с клемм пульта управления ЭЦ. Последний вариант предпочтительнее, так как не требует установки дополнительных реле-повторителей при отсутствии свободных контактов у контролируемых основных реле.
Каждый цифровой вход ПИК-120 (рис. 8) имеет оптронный преобразователь для гальванической развязки и общий для групп коммутируемый преобразователь уровня ТТЛ. Информация с входов считывается погруппно, т.е. побайтно, так как в группе содержится восемь входов, подключенных микроконтроллером одновременно.
При наличии напряжения на цифровом входе на соответствующем выходе преобразователя устанавливается низкий потенциал, в противном случае формируется постоянное напряжение + 5 В.
Связь микроконтроллера с ведущим процессором устанавливается по двум последовательным линиям Rx и Rx типа «токовая петля» или конвертором RS-485. Одновременно по одной линии могут работать до 16 приборов ПИК-120.