| Скачать .docx |
Реферат: Принцип роботи та структура автопоїздів
1. Автопоїзди
Автопоїзд складається з двох і більше транспортних засобів, з'єднаних між собою (автомобіль-тягач і причіп, або напівпричіп). Він сприяє підвищенні продуктивності і зниженню собівартості перевезень.
Ефективність використання автопоїздів в основному залежить від тягове динамічних властивостей автомобілів-тягачів.
Класифікація автопоїздів
Вантажні автопоїзди підрозділяються (за призначенням) на:
• універсальні;
• спеціалізовані;
• спеціальні.
Універсальні автопоїзди (автопоїзди з бортовими платформами універсальними фургонами) перевозять різні вантажі.
Спеціалізовані автопоїзди. В цю групу входять автопоїзди з спеціальним кузовами – самоскиди, панелевози для довгомірних вантажів, цистерни, фургони рефрижератори. Призначені для перевезень окремих видів вантажів.
Спеціальні автопоїзди використовуються для перевезень змонтованого на обладнання нетранспортного призначення (рухомі електростанції, компресорі установки, ремонтні майстерні тощо).
За конструкцією автопоїзди відрізняються по розподіленню тягових зусиль вертикальних навантажень, між тяговими і причіпними ланками, а також:; наявністю чи відсутністю ведучих коліс у причіпних ланок.
Якщо автопоїзд не має ведучих коліс у причіпних ланок, то такий автопоїзд називається автопоїздом з пасивними причіпними ланками. У випадку, коли причіп ланки обладнані ведучими колесами, автопоїзд називається автопоїздом активними причіпними ланками.
Вантажні автопоїзди підрозділяються на: причіпні, сідлові, розпуски.
Причіпні автопоїзди підрозділяються на: універсальні, баластні, спеціальні.
Сідлові на: універсальні і спеціалізовані.
Розпуски класифікації не мають. Вони складаються з тягача та причепа (або напівпричепа).
За способом розподілення вертикального навантаження автопоїзд підрозділяються на:
• з незалежним розподілом навантаження (причіпні автопоїзди);
• з залежним розподілом навантаження (сідлові автопоїзди);
• змішані (наприклад, автопоїзди в складі сідлового поїзда, напівпричепа і двохосного причепа).
2. Автомобільні цистерни для перевезень рідин
Автомобільні цистерни перевозять в основному паливо, мастила, харчові та хімічні продукти, зріджені гази. Конструкція цистерн визначається в основному видом рідин, які перевозять та умовами перевезень (наприклад, дорожні умови відстані на які транспортуються тощо). При транспортуванні рідин в процесі руху виникає додаткове навантаження резервуарів внаслідок переміщення центра ваги вантажу. В зв'язку з цим резервуари цих цистерн повинні мати запас міцності, а шасі, на яких вони змонтовані – велику стійкість.
Рідини, за виключенням зріджених газів, перевозяться під атмосферним тиском. Для того, щоб забезпечити можливість "дихати" внутрішньому об'єму резервуара при зміні температури, а також при завантаженні та розвантаженні, цистерни обладнують запобіжними клапанами з фільтрами. Внутрішній тиск при розрідженні буде тим меншим, чим ефективніше працюють запобіжні клапани і чим чистіші фільтри.
Автомобільні цистерни для перевезень рідких харчових продуктів
Резервуари таких автоцистерн виготовляються з хімічно нейтральних матеріалів. При цьому металеві резервуари термоізольовані. Цистерни для перевезень молока монтують на шасі автомобілів ГАЗ-52, ГАЗ-53, ГАЗ-66, ЗІЛ-130, МАЗ-500А. Навантаження цистерн молоком (крім цистерн, змонтованих на шасі автомобілів МАЗ-500А) здійснюється за рахунок розрідження в резервуарі, яке створюється працюючим двигуном. Цистерна на шасі автомобіля МАЗ-500А заповнюється за допомогою ротаційного насосу.
Резервуари цистерни виготовляють із листового алюмінію, який складається з двох самостійних секцій, зварених в стик. У верхній частині кожної секції розташований люк, призначений для мийки та огляду.
На рис. 1 наведена схема наповнення молочної цистерни АЦПТ – 2,8.

Рис. 1 Схема наповнення молочної цистерни АЦПТ – 2,8: 1 – молокопровід; 2 – кран наповнення; 3 – впускний трубопровід; 4, 10 – пробковий кран; 5 – зворотний клапан; 6 – піновловлювач; 7 – запобіжний клапан; 8 – мановакуумметр; 9 – повітропровід
Внизу кожної секції розташований кран 2 наповнення і зливу молока. Наповнення секцій здійснюється за допомогою вакууму. Для його створення в горловині розташований штуцер повітропроводу 9, який з'єднується з впускним трубопроводом 3 двигуна.
В середині люка розташовані поплавці електричної звукової сигналізації, яка попереджує про заповнення резервуару до граничного рівня. В момент, коли рівень молока в секції досягає рівня встановлення електричного контакту (тобто граничного рівня), електрична ланка замикається (через молоко на масу резервуара цистерни) і наповнення закінчується.
На лінії повітропроводу 9 встановлені два пробкових крани 10 (біля горловини люків кожної секції), піновловлювач 6 з мановакуумметром 8, запобіжний клапан 7, загальний пробковий кран 4, а також зворотний клапан 5. Піновловлювач 6 запобігає попаданню молочної піни та молока до впускного трубопроводу двигуна. Зворотний клапан призначений для запобігання попаданню в секції резервуара відпрацьовані газів із двигуна. За допомогою вакуумметра 8 вимірюється розрідження в цистерн (350 мм рт. ст.).
Для наповнення резервуара молокопроводи 1 опускають в баки з молоком Потім відкривають пробковий кран 4 біля піновловлювача і кран секції, щ< заповнюється, перевіряють справність поплавця та зачиняють люки секцій. Після чого приєднують повітропровід, пускають двигун і вмикають електросигналізацію.
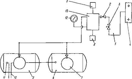
До особливостей конструкції цистерн для перевезення молока слід віднести системи наповнення і регулювання верхнього рівня молока при наповненні (систем) сигналізації). У молоковозів АЦПТ-11, -6,2, -3,3, -0,9 і -2Т-09 цистерна наповнюються за допомогою насосів, встановлених у вантажовідправників. В решт: моделей застосовується вакуумна система наповнення з використанням розрідження, що створюється у впускному трубопроводі двигуна автомобіля. Принципова схема наповнення цистерни молоком показана на рис 2.

Рис. 2 Принципова схема наповнення автомолокоцистерни: 1 – запобіжний клапан; 2 – зворотний клапан; 3 – пробковий кран; 4 – впускний трубопровід двигуна; 5 – повітропровід; 6 – заглушка для зливу; 7 – піногасій; 8, 9 – секції; 10 – молокопровід; 11 – внутрішній клапан; 12 – мановакуумметр; 13 – рідиновідділювач
При роботі двигуна повітря засмоктується із секцій 8, 9 (по черзі) цистерни і в ній створюється розрідження. Можливість створення розрідження в кожній секції окремо забезпечується наявністю в них спеціальних кранів повітропроводів, що знаходяться біля горловини відповідної секції.
Для запобігання попадання парів бензину в секцію в системі встановлений зворотний клапан 2, а для запобігання попадання молока в двигун – рідиновідділювач 13. Для перекриття повітропроводів використовують пробковий кран 3. Величина розрідження контролюється мановакуумметром 12.
На рис. 3 представлена схема системи сигналізації

Рис. 3 Схема системи сигналізації цистерни для перевезення молока: 1 – котушка системи запалення; 2 – перемикач; 3 – замикач; 4 – акумуляторна батарея; 5 – система запалювання двигуна
В горловині кожної секції встановлено замикач 3, який підключений до котушки запалення 1 через перемикач 2, що розташований в кабіні автомобіля. При цьому до заповнення секцій молоком утворюється розімкнута електрична ланка. Перемикач 2 вмикається на передню або задню секції цистерни при заборі молока. Як тільки рівень рідини досягне замикача 3, ланка стає замкнутою, а так як опір на ділянці "замикач-молоко-корпус" значно менший, чим у системі запалювання двигуна 5, то подача енергії в систему припиняється і двигун "глохне".
3. Фермовози
Сучасні фермовози – це, як правило, напівпричіпи скелетної конструкції касетного типу (див. рис. 4).

Рис. 4 Схема автопоїзда-фермовоза: 1 – лебідка; 2 – рама; 3 – залізобетонна ферма; 4 – мостик; 5 – задній візок 6 – опора
Основні технічні вимоги до напівпричепів-фермовозів
Висувають наступні технічні вимоги до напівпричіпів-фермовозів:
1) касета фермовоза виготовляється з можливістю звисання ферми однієї секції, при цьому, допускається задній кут прохідності напівпричепа з вантажем до 15°;
2) забезпечення перевезення ферми довжиною від 12 до 30 м в робочому положенні
3) наявність низькорамної компоновки та вантажної висоти не більше 0,7 м;
4) можливість одночасного транспортування не менше двох ферм однакової довжини загальною масою, що не перевищує вантажопідйомність автопоїзда;
5) касета розраховується на перевезення в ній не менше двох типорозмірів (з довжиною);
6) наявність системи керування колесами;
7) обов'язкова присутність приспосіблень, які фіксують в транспортному положенні ферми і запобігають їх переміщенню під час перевезення;
8) кріплення ферм здійснюється не менше чим у двох точках по довжині конструкція у вузлах верхнього поясу.
На рис. 5 наведена схема приводу поворотного механізму напівпричепа фермовоза.
Схема такого приводу застосовується на напівпричепі-фермовозі ППФ-212 Поворотний пристрій з комбінованим приводом керування передньої осі ходової вузла, який здійснюється прямим і зворотнім зв'язком. Прямий – перехресним тросами від автомобіля-тягача до проміжного блоку, а зворотний – від проміжного блоку до передньої керованої осі.

Рис. 5 Схема приводу напівпричепа-фермовоза ППФ-24: 1 – опорна плита; 2 – ведучий блок; 3 – упори; 4 – шкворень; 5 – проміжний блок; 6 – верхній ведений блок; 7 – тросові тяги; 8 – гвинтова стяжка
Опорна плита 1 встановлена на тягачі. Ведучий блок 2 з упорами 3 підвішений на шворні 4 до передньої частини каркасу (рами) напівпричепа. Проміжні блоки 5 встановлені на каркасі напівпричепа, а верхній відомий блок 6 – на ходовому візку. Ведучий блок 2 і верхній відомий блок 6 з'єднані двома тросами-тягами 7. Натяжіння кожної з тяг поворотного пристрою регулюється гвинтовими стяжками 8. Ходовий візок напівпричепа – двовісний, а поворотна передня вісь – керована.
Автопоїзди плитовози
Призначення цієї групи СРС – перевезення великогабаритних залізобетонних будівельних конструкцій в горизонтальному положенні.
Напівпричепи-плитовози, як правило виготовляються за високорамною схемою з вантажною висотою до 1,8 м. СРС для перевезень плит повинен комплектуватись спеціальними пристроями, "кониками", вантажними площадками, які забезпечують правильне спирання вантажу при транспортуванні та його надійне кріплення на транспортному засобі.
"Коники" і вантажні площадки повинні розсуватися по ширині для забезпечення перевезень декількох виробів одночасно або виробів збільшеного поперечного габаритного розміру.
На рис. 6 зображений універсальний напівпричеп-плитовоз УПЛ-0906 призначений для перевезення плит, перекриттів і покриттів довжиною до 6 м і шириною 3 м. Візок напівпричепа – одновісний, неповоротний. Можливе виконання варіанту пневморесорної підвіски.

![]()
Рис. 6 Напівпричеп-плитовоз УПЛ-0906
На рис. 6 зображений напівпричеп-плитовоз для транспортування залізобетонних плит довжиною до 6 м і 12 м, масою до 14 т. Розсувні "коники" дозволяють при русі без вантажу та з вантажем вписуватись в транспортний габарит за шириною (до 2,5 м).

Рис. 7 Напівпричіп-плитовоз УПЛ-1412

Рис. 8 Напівпричіп-плитовоз ПК-2021
Рама напівпричепа складається з двох плоских ферм, зв'язаних між собою переду накаткою, ззаду – опорними площадками, а в середній частині – поперечинами. Візок і поворотний пристрій уніфіковані з візком і поворотним пристроєм причепа-панелевоза УПП-2008. На рис. 9 зображений напівпричеп-блоковоз ЧМЗАП-9399.

Рис. 9 Напівпричеп-блоковоз ЧМЗАП-9399
При наявності спеціальних розсувних і опорних площадок вдається забезпечувати спирання блоків по кутам або по їх довших сторонах і суміщати центр при об'ємного блоку з повздовжньою віссю симетрії блоковоза. Також є можливим транспортування блоків різної довжини з дотриманням навантажень на спеціальний пристрій та візок причепа. Конструкція блоковоза дозволяє перевозити об'ємні блоки різних типорозмірів, а також інші будівельні конструкції.