| Скачать .docx |
Курсовая работа: Коробка передач автомобиля ГАЗ 3110
Содержание
1. Устройство
2. Техническое обслуживание
3. Ремонт
4. Разборка
5. Осмотр и контроль
6. Сборка
Заключение
1. УСТРОЙСТВО
Коробка передач (рис. 105 и 106) - четырехступенчатая (четыре передачи переднего хода и одна заднего).
Шестерня первичного вала, а также шестерни I, II и III передач, сидящие на вторичном валу, находятся в постоянном зацеплении с шестернями промежуточного вала (блока шестерен) и имеют косые зубья, Все передачи переднего хода снабжены инерционными синхронизаторами. Шестерни заднего хода - непостоянного зацепления, прямозубые, синхронизатора не имеют.
Включение передач переднего хода производятся соединением двух скользящих муфт со шлицевыми венцами на шестернях соответствующих передач. Включение заднего хода производится введением промежуточной шестерни заднего хода в зацепление с прямозубой шестерней промежуточного вала и с зубчатым венцом на муфте включения Iи II передач.
Осевое перемещение шестерни II передачи ограничивается буртом вала и через ступицу — шлицованной упорной шайбой, которая устанавливается в проточке вала таким образом, что ее шлицыхрасполагаются против шлиц вторичного вала. Штифт с пружинкой, расположенные в отверстии во впадине шлиц вторичного вала, фиксируют упорную шайбу в рабочем положении от проворачивания. Осевые перемещения шарикового подшипника, с которым жестко соединен вторичный вал, ограничиваются внутренним буртом удлинителя и стопорным кольцом, которое располагается одновременно в канавке на шариковом подшипнике и в канавке на удлинителе.
Сталебаббитовый подшипник в конце удлинителя служит опорой скользящей вилки карданного вала; надетой на эвольвентные шлицы в задней части вторичного вала.
Ось промежуточного вала удерживается от проворачивания лысками на заднем конце, которые входят в паз удлинителя. Ось промежуточной шестерни заднего хода удерживается от проворачивания и осевых перемещений запрессованных в нее штифтом, входящим в канавки на удлинителе.
Механизм переключения передач (рис. 107 и 108) смонтирован в верхней крышке коробки. Переключение передач производится с помощью рычага, выведенного через пол кузова к месту водителя. С левой стороны механизма переключения располагается включатель света заднего хода.
Для предотвращения самопроизвольного выключения передач имеются фиксаторы, состоящие из шариков и пружин. Блокировочное устройство из двух стопорный плунжеров и стопорного пальца предохраняет коробку от одновременного включения двух передач. При помощи пружин и предохранителей нижняя головка рычага переключения в нейтральном положении всегда располагается в головке штока включения III и IV передач.
Рычаг переключения передач снабжен демпфирующим устройством, устраняющим его дребезжание при резонансе на больших оборотах двигателя.
2. ТЕХНИЧЕСКОЕ ОБСЛУЖИВАНИЕ
Уход за коробкой передач заключается в периодическом наружном осмотре, проверке крепления коробки к картеру сцепления, крепления удлинителя (рис. 109), доливке и смене масла, очистке сапуна в соответствии с указаниями по обслуживанию автомобиля.
Сливать масло следует сразу после поездки, пока оно горячее. Если отработавшее масло оказывается очень грязным и в нем содержатся металлические частицы, коробку следует промыть. Для этого следует:
через наливное отверстие с правой стороны коробки залить в картер 0,9 л рабочего масла;
поднять домкратом одно или оба задних колеса и, включив 1 передачу, пустить двигатель на 2-3 мин.;
слить промывочное масло через сливное отверстие;
заправить картер свежим маслом до уровня наливного отверстия. При заправке коробки не следует проворачивать шестерни, так как при этом будет залито масла больше, чем следует, а это может вызвать течь масла через сальники удлинителя.
Проверку уровня масла производят через наливное отверстие на автомобиле, стоящем на горизонтальной площадке-. Это следует делать через некоторое время после поездки, чтобы дать возможность маслу остыть и стечь со стенок.
В процессе эксплуатации следует обращать особое внимание на состояние сапуна, расположенного с правой стороны удлинителя. Сапун служит для сообщения внутренней полости коробки с атмосферой и его загрязнение приводит к повышению давления и возникновению течи масла.
В начальный период эксплуатации до приработки сальников допускается незначительное (но не в виде капель) просачивание масла и появление масляного налета на днище кузова и зоне колпака скользящей вилки карданного вала.
При демонтаже карданного вала необходимо соблюдать указания раздела "Карданная передача". Отверстие в удлинителе должно быть заглушено специальной заглушкой или запасной скользящей вилкой во избежание вытекания масла из коробки передач. Если специальная заглушка отсутствует, то перед снятием коробки с автомобиля следует предварительно слить из нее масло.

| 5 6 7 8 9 10 11 12 15 14 15 16 17 18 |
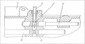
Рис. 105 . Коробка передач (продольный разрез): 1 - первичный вал; 2 - крышка подшипника первичного вала; 3 - муфта подшипника выключения сцепления; 4 - задний подшипник первичного вала; 5 - роликовый подшипник; 6 - стопорное кольцо; 7 - муфта включения III и IV передач; 8 - ступица муфты включения III и ГУ передач; 9 - шестерня III передачи; 10 - шестерня II передачи; 11 - муфта включения I и II передач; 12 - ступица муфты включения I и II передач; 13,15 - упорные шайбы; 14 - шестерня I передачи; 16 - стопорное кольцо; 17 - подшипник; 18 - верхняя крышка коробки передач; 19 - колпак; 20 - седло пружины; 21 - рычаг переключения передач; 22 - удлинитель; 23 - манжеты; 24 - ремонтная заглушка; 25 - сталебаббитовый подшипник; 26 - вторичный вал; 27 - ведущая шестерня привода спидометра; 28 - ведомая шестерня привода спидометра; 29 - штуцер; 30 - пробка; 31 - блок шестерен; 32 - игольчатый подшипник; 33 - ось блока шестерен; 34 - картер ; 35 - пробка маслосливного отверстия; 36 - штифт; 37 - ось промежуточной шестерни заднего хода; 38 -промежуточная шестерня заднего хода; 39 - поролоновые защитные кольца.
![]() |
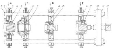
Рис. 106. Валы, шестерни и синхронизаторы четырехступенчатой коробки передач: 1 - кольцо стопорное; 2 - пружина синхронизатора III и IV передач; 3 - сухарь; 4 - штифт; 5 - пружина; 6 - вал вторичный; 7 - шарик; 8 - пружина синхронизатора I и II передач; 9 - шайба упорная шестерни II передачи; 10 - шайба упорная шестерни I передачи; 11 - шайба упорная задней шестерни I передачи; 12 - подшипник; 13 - шестерня спидометра ведущая; 14 - шайба пружинная; 15 - кольцо стопорное; 16 - кольцо стопорное; 17 - шестерня I передачи,; с блокирующим кольцом синхронизатора; 18 - шестерня I передачи в сборе; 19 - кольцо блокирующее синхронизатора I и II передач; 20 -муфта синхронизатора I и II передач со ступицей; 21 - ступица муфты синхронизатора I и II передач; 22 - муфта синхронизатора I и II передач; 23 -шестерня II передачи с блокирующим кольцом синхронизатора в сборе; 24 - шестерня II передачи; 25 - шестерня III передачи с блокирующим кольцом синхронизатора в сборе; 26 - шестерня III передачи; 27 - кольцо блокирующее синхронизатора Ши IV передач со ступицей; 28 - муфта синхронизатора III и IVпередач со ступицей; 29 - ступица муфты синхронизатора Ши IVпередач; 30 - муфта синхронизатора IIIи IVпередач; 31 - вал первичный в сборе; 32 - кольцо установочное; 33 - маслоотражатель; 34 - вал первичный; 35 - ролик; 36 - ось; 37 - шестерня заднего хода в сборе; 38 - ось; 39 - шайба упорная задняя; 40 - ролик; 41 - блок шестерен промежуточного вала; 42 - шайба упорная передняя

Рис. 107 . Механизм переключения передач четырехступенчатой коробки передач: I -прокладка; 2-рукоятка; 3 -крышка коробки передач; 4 - скоба; 5 -шайба; 6- болт; 7 -втулка запорная; 8 -подушка; 9 - втулка распорная; 10- конус; I1 - рычаг - верхняя часть; 12 - уплотнитель; 13 - колпак; 14 - прокладка; 15 - седло; 16 - пружина; 17 - рычаг - нижняя часть; 18 - пружина; 19 - шарик, 20 - стопорный палец штока включения III и IV передач; 21 - прокладка; 22 - пробка; 23 - штифт; 24 - предохранитель включения I и II передачи заднего хода; 25 - пружина предохранителя I и II передач; 26 - заглушка; 27 - заглушка; 28 - шток включения I и II передач; 29 - шток включения III и IV передач; 30 - шток включения заднего хода; 31 - плунжер; 32 - прокладка; 33 - головка штока включения I и II передач; 34 - головка штока включения Ш и 1Упередач; 35 - шайба; 36 - болт; 37 - поддон; 38 - шайба; 39 - винт; 40 - пружина предохранителя заднего хода; 41 - головка штока включения заднего хода; 42 - прокладка; 43 - выключатель света фонаря заднего хода; 44 - вилка включения I и II передач; 45 - вилка включения заднего хода; 46 - рычаг включения заднего хода в сборе; 47 - сухарь рычага включения заднего хода; 48 - чехол защитный; 49 - вилка включения III и IV передач
![]() |
Рис. 108 . Механизм переключения передач и поперечный разрез коробки передач: 1 - картер; 2 -сухарь; 3 - рычаг; 4 - ось рычага; 5 - стопорный болт 6 -штифту 7 - колпак; 8 уплотнитель пола; 9 - нижняя часть рычага переключения передач; 10 - защитный уплотнитель коробки передач; 11 - седло пружины; 12 - верхняя часть рычага переключения передач; 13 - пластмассовый упорный конус; 14 - резиновые подушки; 15 - заглушки; 16 -пружина; 17 - предохранитель; 18 - пластмассовая распорная втулка; 19 -пластмассовая запорная втулка; 20 - пробка маслоналивного отверстия; 21 - пробка маслосливного отверстия

Рис. 109. Картер и удлинитель со вторичным валом четырехступенчатой коробки передач: 1,18 - болт; 2,15,27 - гроверная шайба; 3,5,23 - прокладка; 4 - крышка подшипника; 6 - картер коробки передач; 7 - пробка; 8,24,28 - шпилька; 9 - удлинитель со вторичным валом в сборе; 10 - вал вторичный в сборе; 11 - сапун в сборе; 12 - удлинитель; 13 - сальник в сборе; 14,26 - гайка; 16 - шестерня ведомая привода спидометра; 17 - стопор; 19 - штуцер гибкого вала привода спидометра в сборе; 20 - втулка; 21 - кольцо унлотнительное; 22 - штуцер; 25 - штифт
3. РЕМОНТ
Снятие коробки передач производится в следующем порядке:
установить автомобиль на эстакаду, подъемник или смотровую яму, чтобы обеспечить удобный доступ к коробке передач снизу;
отсоединить от коробки рычаг переключения передач, для чего изнутри кузова поднять наружный резиновый уплотнитель пола, снять резиновый защитный уплотнитель с колпака горловины механизма переключения передач, отвернуть колпак и вытащить рычаг из горловины вверх;
слить масло из коробки передач;
отсоединить от коробки передач карданный вал, выполняя указания по снятию карданного вала (см. раздел "Карданная передача");
отсоединить от коробки передач гибкий вал привода спидометра и провода выключателя света заднего хода;
отвернуть два болта крепления рабочего цилиндра к картеру и поднять вверх рабочий цилиндр с толкателем, не отсоединяя его от трубопровода;
1. Затрудненное переключение передач
а) неполное выключение сцепления, наличие воздуха в гидроприводе выключения сцепления или недостаток жидкости в главном цилиндре выключения;
б) ослабление затяжки стопорных болтов головок или вилок механизма переключения;
в) заусенцы на внутренней поверхности зубьев муфт включения передач:
г) разбиты отверстия под штифты в горловине механизма переключения
Довести до нормы уровень жидкости в бачке главного цилиндра и прокачать систему гидропривода сцепления
Затянуть стопорные болты Зачистить заусенцы
Заменить крышку механизма переключения или отремонтировать, расточив отверстия и запрессовав ступенчатые штифты
2. Нарушение синхронизации включения переднего хода - передачи включаются с треском
а) износ резьбы конической поверхности блокирующего кольца синхронизатора;
Снять коробку передач с автомобиля. Снять механизм переключения и проверить щупом зазор между блокирующим кольцом и прямозубым венцом. Если зазор менее 0,3 мм, то установить новый комплект шестерни и блокирующего кольца или новое блокирующее кольцо, притерев его к поверхности соответствующей шестерни до получения поверхности прилегания не менее
б) деформация блокирующего кольца (кольцо не "закусывает" на конусе при нажатии и повороте от руки)
Установить новое блокирующее кольцо, притерев его к поверхности соответствующей шестерни до получения поверхности прилегания не менее
3. Самопроизвольное выключение передач
а) ослабление затяжки гаек крепления коробки передач к картеру сцепления или гаек крепления удлинителя к картеру коробки передач;
б) износ торцов и поверхности наружных зубьев скользящей муфты-шестерни Т и II передач, промежуточной шестерни заднегохода, венца передачи заднего хода на блоке шестерен
в) износ торцов зубьев муфт включения передач или износ зубьев шлицевого венца на шестернях I, II, III передач или на первичном валу;
г) ослабление пружин фиксаторов
Затянуть гайки
Заменить изношенные детали
Заменить изношенные детали
Установить пружины с нагрузкой 6±0,3 даН (6+0,3 кто) при сжатии до 21 мм
4. Шум в коробке передач
а) износ подшипников;
б) поломка зубьев шестерен;
в) износ или выкрашивание рабочей поверхности зубьев шестерен;
г) пониженный уровень масла в картере;
д) нарушена соосность коленчатого вала и картера сцепления
Заменить подшипники
Заменить поврежденные шестерни
Заменить поврежденные шестерни
Восстановить нормальный уровень масла
Проверить и восстановить соосность (см. раздел "Ремонт двигателя")
5. Течь масла из коробки передач
а) износ манжет удлинителя;
б) износ сталебаббитовой втулки фланца удлинителя;
в) загрязнение сапуна или его повреждение;
г) негерметичность пробок картера и удлинителя;
д) негерметичность заглушек и пробок фиксаторов механизмапереключения передач;
е) ослабление креплений передней крышки, механизма переключения передач и удлинителя;
ж) повреждение прокладок крышек или наличие забоин на привалочных поверхностях
Заменить манжеты
Заменить фланец или запрессовать в него и расточить новую
втулку
Очистить сапун от грязи или заменить новым
Восстановить герметичность пробок
Восстановить герметичность заглушек и пробок
Затянуть болты и гайки креплений
Заменить прокладки, зачистить забоины и притереть привалочные поверхности
вынуть вилку выключения сцепления;
снять соединительный кронштейн подвески трубы глушителя;
отсоединить поперечину от кронштейнов лонжеронов;
отвернуть гайки шпилек крепления коробки передач
к картеру сцепления и снять коробку передач вместе с подшипником выключения сцепления;
снять прокладку, установленную между картером коробки передач и картером сцепления.
4. РАЗБОРКА
Для этого необходимо:
слить масло, если оно не было слито раньше;
снять муфту с подшипником с передней крышки коробки передач;
снять поролоновые кольца;
отсоединить и снять кронштейн подвески трубы глушителя в сборе с нижних шпилек крепления удлинителя к картеру коробки передач;
отсоединить и снять заднюю опору двигателя с поперечиной;
отвернуть болты и снять верхнюю крышку коробки передач в сборе;
снять прокладку между верхней крышкой и картером коробки передач;
вывернуть коническую пробку 30 (см. рис. 105), расположенную в нижней части фланца удлинителя, и через открывшееся отверстие выпрессовать ось блока шестерен вместе с игольчатым подшипником (рис. 110);
опустить блок шестерен на дно картера коробки передач;
отвернуть гайки крепления удлинителя коробки передач и вынуть удлинитель в сборе со вторичным валом из коробки;
снять прокладку между удлинителем и картером коробки;
отвернуть болты крепления передней крышки и снять крышку;
снять прокладку между передней крышкой и картером коробки передач;
выпрессовать первичный вал в сборе с подшипником и кольцом синхронизатора. Для этого в съемник 7823-6089 ввернуть шпильку 6 с бойком 7 и ручкой 8 от съемника 7823-6090 (рис. 111). Установить губки 3 так, чтобы между ними образовалось отверстие и надеть на первичный вал. Сжать губки винтом 4, Придерживания съемник за ручку 8, ударами бойка 7 выпрессовать вал 5 из коробки передач;
вынуть блок шестерен и упорные шайбы блока из картера;
выпрессовать ось промежуточной шестерни и заднего хода, для чего вставить кольцо приспособления 7823-5707 в отверстие подшипника ведущего вала коробки передач, направить оправку на ось и легкими ударами молотка выпрессовать ось (рис. 112 и см. также рис. 316);
вынуть промежуточную шестерню заднего хода из картера коробки передач;
снять с оси и вынуть из картера рычаг включения заднего хода с сухариком.
Разборка первичного вала производится в следующем порядке:
пометить блокирующее кольцо синхронизатора, чтобы при сборке поставить его на старое место;
вынуть ролики из носка первичного вала;
снять стопорное кольцо;
установить первичный вал во вкладыши 4 (на вкладышах выбит номер 7823-6088.00.06), установленные на каретке 2. Упереть винт 12 в центр первичного вала и вращением винта спрессовать с первичного вала подшипник 8 и снять маслоотражатель (рис. 113,В);
снять упорное кольцо с подшипника.
Разборка удлинителя и вторичного вала производится в следующем порядке:
с помощью щипцов 7814-5526 (рис. 114) развести усы стопорного кольца шарикового подшипника вторичного вала (при этом кольцо утопится в выточке удлинителя) и выпрессовать вторичный вал в сборе с подшипником из гнезда в удлинителе, воздействуя на задний конец вторичного вала;
снять стопорное кольцо и пружинное кольцо толщиной 1,8 мм с вторичного вала;
снять с вторичного вала ведущую шестерню привода со стопорным шариком;
установить вторичный вал подшипником 7 во вкладыш 6 (7823-6088.00.07) съемника, как показано на рис. 113,Б и, вращая винт 12, спрессовать со вторичного вала шариковый подшипник;
снять стальную упорную шайбу подшипника и шестерню I передачи с блокирующем кольцом. Поместить блокирующее кольцо синхронизатора, чтобы при сборке вновь поставить его на старое место; проверить наличие совмещенных меток на ступице и муфте-шестерне включения I и II передач, и если их нет, нанести метки, чтобы при сборке установить эти детали в прежнее положение; I
снять со ступицы муфту-шестерню включения I и II ^ передач и вынуть сухари (три штуки);
утопить штифт в отверстие (рис. 115);
![]() |
Рис. 110. Выпрессовка оси блока шестерен

Рис. 111. Демонтаж первичного вала: 1 - гайка; 2 - пружина; 3 - губка; 4 - винт; 5 - первичный вал; 6 - шпилька; 7 - боек; 8 - ручка

Рис. 112. Демонтаж оси промежуточной шестерни
![]() |
Рис. 113. Съемник 7823-6088-01 для снятия подшипников и ступиц с первичного и вторичного валов: I - шпилька; 2 - каретка; 3 - нинт; 4 - вкладыш 7823-6088.00.06; 5 и 9 - ступицы синхронизаторов; 6 - вкладыш 7823-6088.00.07; 7 и 8 - подшипники; 10 - траверса; 11 - гайка; 12 - винт; А - снятие ступицы I и II передачи; Б - снятие подшипника вторичного вала; В - снятие подшипника первичного вала; Г - снятие ступицы III и IV передачи
Повернуть упорную шайбу шестерни II передачи таким образом, чтобы ее шлицы были расположены во впадинах шлиц вторичного вала; снять упорную шайбу, затем вынуть штифт и пружинку;
установить вторичный вал коробки передач ступицей 5 синхронизатора I и II передач во вкладыши 4 (7823-6088.00.06) съемника, как показано на рис. 113,А и, вращая винт 12, спрессовать ступицу 5;
вынуть из ступицы пружины синхронизатора;
снять шестерню II передачи;
снять блокирующее кольцо синхронизатора с шестерни
IIпередачи; поместить блокирующее кольцо синхронизатора, чтобы при сборке поставить его на старое место;
снять стопорное кольцо ступицы муфты включения IIIи IV передач;
проверить наличие совмещенных меток на ступице и муфте включения III и IV передачи и, если их нет, нанести метки;
снять со ступицы муфту включения III и IV передач, вынуть сухари (три штуки);
установить вторичный вал коробки передач ступицей 9 синхронизатора III и IV передач во вкладыш 6 (7823-6088.00.07) как на рис. 113,Г и, вращая винт 12, спрессовать ступицу 9;
вынуть из ступицы пружины синхронизатора;
снять шестерню III передачи с блокирующим кольцом синхронизатора, затем снять и пометить блокирующее кольцо, чтобы при сборке поставить его на старое место;
отвернуть болт и снять стопор крепления штуцера ведомой шестерни привода спидометра;
вынуть из удлинителя штуцер ведомой шестерни и ведомую шестерню привода спидометра;
сжать усы и вынуть из удлинителя стопорное кольцо подшипника вторичного вала. При необходимости, вынуть сальники вторичного вала.
Разборка механизма переключения передач производится в следующем порядке:
вывернуть выключатель света заднего хода с прокладкой;
отвернуть винты и снять штампованную нижнюю крышку механизма переключения передач и прокладку;
установить все штоки в среднее (нейтральное) положение, в котором пазы всех головок расположены друг против друга;
передвинуть шток включения III и IV передач в переднее положение, отвернуть стопорный болт головки
![]() |
Рис. 114. Демонтаж вторичного вала

Рис. 115. Утапливание штифта при снятии упорной шайбы шестерен II передачи включения III и IV передач и снять головку со штока. При затрудненном снятии головки следует вставить для упора распорку между задним торцом вилки включения III и IV передач и бобышкой и сбить головку со штока (рис. 116);
Отвернуть стопорный болт вилки включения III и IV передач и снять вилки со штока, передвинув шток в среднее положение. При затрудненном снятии вилки следует проложить до упора распорку между торцом вилки и бобышкой, выбить шток из вилки, установить его в среднее положение;
передвинуть шток включения I и II передач в переднее положение, отвернуть стопорный болтголовки включения I и II передач и снять головку со штока. При затрудненном снятии головки следует поступить так же, как при снятии головки со штока включения III и IV передач;
передвинуть шток в заднее положение, затем вывернуть пробку, вынуть пружину и шарик фиксатора;
отвернуть стопорный болт вилки включения I и II передач, выбить шток из вилки и снять вилку;
выбить штоком заглушку в заднем торце крышки механизма переключения передач и вынуть шток (рис. 117);
вынуть стопорный плунжер из механизма переключения;
передвинуть шток включения передачи заднего хода в переднее положение, отвернуть стопорный болт головки включения заднего хода и снять головку со штока. При затрудненном снятии головки следует поступить так же, как и при снятии головки со штока включения III и ГУ передач;
передвинуть шток включения передачи заднего хода в заднее положение до упора торца вилки в стенку механизма переключения передач;
вывернуть пробку, вынуть пружину и шарик фиксатора;
отвернуть стопорный болт вилки включения передачи заднего*хода, выбить шток из вилки, снять вилку, выбить штоком заглушку в заднем торце механизма переключения передач и вынуть шток;
вынуть стопорный плунжер из механизма переключения;
вывернуть пробку, вывернуть пружину и шарик фиксатора штока включения III и IV передач;
выбить штоком заглушку в заднем торце механизма переключения, вынуть шток со стопорным пальцем, затем вынуть стопорный палец.
Штифты в горловине крышки коробки, а также пружины и предохранители без надобности вынимать не следует. Если предохранители заедают и плохо возвращаются под действием пружин, следует выбить заглушки и вынуть пружины и предохранители механизма пе7 реключения передач.
Разборка рычага переключения передач производится в следующем порядке:
отвернуть рукоятку и снять уплотнитель пола кузова;
выдернуть шилом пластмассовую запорную втулку 19 (см. рис. 107) и вынуть нижнюю часть рычага 9 переключения передач из верхней;
снять резиновые и пластмассовые детали антивибрационного устройства;
снять уплотнитель колпака, колпак, седло пружины и пружину.
5. ОСМОТР И КОНТРОЛЬ
После разборки детали коробки передач необходимо тщательно промыть и подвергнуть внимательному осмотру для определения разрывов прокладок, забоин и рисок на привалочных поверхностях; смятия и выработки в гнездах под подшипники, оси, штоки и сферическую головку рычага; трещин на картере и крышках; повреждения рабочей кромки сальника уплотнителя; задиров на сталебаббитовом подшипнике удлинителя, сколов и выкрашивания на боковых поверхностях и торцах зубьев шестерен; питтинга на роликах, передней шейке вторичного вала, оси блока шестерен; задиров на упорных стальных и бронзовых шайбах и отверстиях в шестернях; погнутости вилок и штоков механизма переключения; значительных износов на лапках вилок переключения; задиров и заусенцев на штоках; разбалтывания штифтов и смятия отверстий под них в горловине механизма переключения передач. Поврежденные детали необходимо заменить.
6. СБОРКА
Сборку коробки передач необходимо производить в последовательности, обратной разборке.
При сборке необходимо учитывать следующее. Каждая пара шестерен подбирается на заводе по шуму, поэтому замена шестерен может вызвать некоторое увеличение шума коробки передач.
При подборе блокирующих колец к конусам шестерен I, II, III передач и первичного вала необходимо обратить внимание на то, чтобы кольца плотно, без качания, сидели на конусах, и при нажатии и повороте от руки хорошо "закусывали" на конусах. Кольца необходимо притереть к конусам; поверхность контакта кольца с конусом должна быть не менее 80%. Осевой зазор между торцом блокирующего кольца и торцом прямозубого венца на шестернях I, II, III передач и на первичном валу для новых деталей должен быть в пределах 0,8-1,4 мм.
Осевые зазоры шестерен I, И, III передач должны быть в пределах 0,15-0,35 мм, причем осевой зазор шестерен I и II передач обеспечивается конструктивно и не требует регулировки. Осевой зазор шестерни III передачи регулируется подбором и установкой стопорного кольца ступицы III и IV передач требуемой толщины (1,7-0,12 или 2+0,04-0,12 мм).
![]() |
Рис. 116. Снятие головки штока включения III и IV передач
![]() |
Рис. 117. Демонтаж штока включения I и II передач
Ступицы муфт переключения переднего хода напрессовать на вторичный вал в сборе с муфтами, сухарями и пружинками синхронизаторов. При постановке ступиц на вал необходимо подобрать возможно более плотную посадку.
Муфта переключения, собранная со ступицей, должна иметь боковой зазор в шлицах 0,01-0,05 мм; этот зазор необходимо получить индивидуальным подбором, обеспечив при этом легкое осевое перемещение деталей. Отогнутые концы обеих пружинок синхронизаторов должны быть расположены в одном сухаре, а витки пружинок должны быть направлены в разные стороны (рис. 118).
Разноразмерность диаметров роликов подшипника переднего конца вторичного вала, а также роликов подшипников блока шестерен должна быть в пределах 0,005 мм.
Шариковые подшипники следует напрессовать на валы, прикладывая усилие только к внутреннему кольцу шарикового подшипника с использованием оправки 7823-5625 (см. рис. 317).
Все детали коробки передач должны быть смазаны тонким слоем трансмиссионного масла; для удобства сборки допускается смазка роликового подшипника переднего конца вторичного вала, упорных шайб промежуточного и вторичного валов, роликов подшипников блока шестерен, шариковых подшипников, сухарей и других деталей слоем солидола или консталина. Новые подшипники следует устанавливать в заводской консервации. Перед сборкой в обязательном порядке смазать солидолом или консталином сталебаббитовый подшипник удлинителя и кромку сальников.
При сборке коробки передач следует учитывать размеры деталей, допуски и посадки по табл. 10.
Поврежденные прокладки заменить новыми.
При сборке прокладки и крепежные болты необходимо смазать тонким слоем пасты "герметик".
Сборка механизма переключения передач:
смазать детали механизма переключения передач жидким трансмиссионным маслом, пазы головок переключения - коллоидно-графитовым препаратом или солидолом;
вставить в шток включения III и IV передач палец блокировочного устройства;
вставить шток с пальцем в механизм переключения передач;
надеть на шток головку и вилку включения III и IV передач, закрепить их на штоке, завернув стопорные болты так, чтобы при передвижении штока палец не выпал из отверстия;
поставить шарик и пружину фиксатора штока включения III и IV передач, завернуть пробку с шайбой;
установить шток включения III и IV передач в среднее (нейтральное) фиксированное положение;
установить оправку 6999-7575 в отверстие для штока включения I и II передач (рис. 119);
совместить отверстие в оправке с отверстием для стопорного плунжера в крышке;
установить через отверстия в крышке и оправке стопорный плунжер в шток включения III и IV передач;
вынуть оправку и установить шток включения Iи II передач;
надеть на шток головку и вилку включения I и II передач и закрепить их на штоке, завернув стопорные болты;
поставить шарик и пружину фиксатора штока включения Iи II передач', завернуть пробку с шайбой;
установить шток включения I и II передач в среднее фиксированное положение и вынуть оправку;
установить шток включения заднего хода;
надеть на шток головку и вилку включения заднего хода и закрепить их на штоке, завернув стопорные болты;
поставить шарик и пружину фиксатора штока включения заднего хода, завернуть пробку с шайбой;
установить шток включения заднего хода в среднее фиксированное положение;
установить на выключатель света заднего хода прокладку и ввернуть его в верхнюю крышку;
запрессовать три заглушки в задний торец механизма переключения передач и, при необходимости, зачернить их от выпадения;
поставить прокладку и штампованную нижнюю крышку механизма переключения передач, завернув винты крепления крышки.
Сборка рычага переключения передач:
надеть на нижнюю часть рычага 9 (см. рис. 108) последовательно пружину, седло пружины, колпак, защитный уплотнитель, детали антивибрационного соединения верхней и нижней частей рычага переключения, а именно: запорную втулку 19, нижнюю резиновую подушку 14, пластмассовую распорную втулку 18, верхнюю резиновую подушку 14 и упорный конус 13;
вставить нижнюю часть рычага переключения в верхнюю и закрепить запорной втулкой;
надеть на рычаг уплотнитель пола и навернуть на рычаг рукоятку.
Сборка первичного вала:
надеть на подшипник наружное упорное кольцо, затем маслоотражатель и с помощью оправки 7823-5625 напрессовать подшипник на вал;
установить стопорное кольцо;

Рис. 118 . Постановка пружин синхронизатора

Рис. 119 . Установка стопорного плунжера: 1 - крышка механизма переключения передач; 2 - бородок; 3 – стопорный плунжер; 4 - оправка 6999-7575; 5 - стопорный лалец; б - шток III и IVпередач
Bставить ролики в носок первичного вала;
надеть на конус первичного вала блокирующее кольцо синхронизатора.
Сборка вторичного вала и удлинителя:
собрать ступицы с сухарями, пружинами синхронизаторов и муфтами включения передач в соответствии с указаниями, приведенными выше;
запрессовать во вторичный вал штифт упорной шайбы шарикового подшипника. Проверить, чтобы край штифта располагался ниже поверхности шейки под шестерню I передачи;
надеть на вторичный вал шестерню IIпередачи;
напрессовать до упора на вторичный вал подсобранную ступицу с муфтой включения I и II передач так, чтобы сухари синхронизатора вошли в пазы блокирующего кольца шестерни II передачи;
установить в отверстие во впадине шлица вторичного вала штифт с пружинкой и надеть на стальную упорную шайбу шестерни IIпередачи;
утопить штифт, продвинуть и повернуть в канавке стальную упорную шайбу шестерни II передачи таким образом, чтобы ее шлицы установились против шлиц вторичного вала;
освободить штифт и установить шестерню I передачи с блокирующим кольцом. При этом следить, чтобы сухари синхронизатора вошли в пазы блокирующего кольца шестерни Iпередачи;
установить регулировочную шайбу требуемой толщины, обеспечив осевой зазор шестерни I передачи в пределах 0,15-0,35 мм;
надеть на вторичный вал упорную шайбу шарикового подшипника и напрессовать с помощью оправки 7823-5625 шариковый подшипник;
вставить во вторичный вал шарик, надеть ведущую шестерню привода спидометра;
установить пружинное кольцо толщиной 1,8 мм и стопорное кольцо;
надеть на передний конец вторичного вала шестерню IIIпередачи с блокирующим кольцом;
напрессовать на передний конец вторичного вала подсобранную ступицу с муфтой включения III и IV передач так, чтобы сухари синхронизатора вошли в пазы блокирующего кольца;
установить стопорное кольцо ступицы требуемой толщины, обеспечив осевой зазор шестерни III передачи в пределах 0,15-0,35 мм;
запрессовать во фланец удлинителя сальники заподлицо с торцом горловины;
установить стопорное кольцо с отогнутыми концами подшипника вторичного вала в канавку удлинителя;
развести концы стопорного кольца и запрессовать в гнездо на удлинителе заподлицо с торцом закрепленный на вторичном валу шариковый подшипник, воздействуя на передний конец вторичного вала (рис. 120);
освободить концы стопорного кольца и допрессовать подшипник в удлинитель, пока стопорное кольцо не будет располагаться одновременно в канавке на удлинителе и на подшипнике. При этом концы стопорного кольца сойдутся;
установить в удлинитель штуцер и ведомую шестерню привода спидометра, затем стопор штуцера привода и закрепить его болтом.
Сборка коробки передач;
надеть на ось, запрессованную в картер коробки передач, рычаг включения заднего хода с сухарем;
запрессовать штифт в ось промежуточной шестерни заднего хода;
запрессовать ось промежуточной шестерни заднего хода в картер на глубину 15-20 мм от внутренней стенкикартера;
Поместить в картер промежуточную шестерню заднего хода так, чтобы сухарик рычага вошел в канавку на шестерне и надеть шестерню на свободный конец оси;
допрессовать ось до упора штифта в стенку картера. Штифт должен быть расположен строго вертикально, чтобы попасть в канавку на удлинителе;
прилепить к торцам картера на солидоле или консталине упорные шайбы промежуточного вала так, чтобы усы шайб входили в канавки на торцах бобышек картера, а отверстия совпадали с отверстиями в картере;
опустить на дно картера коробки передач блок шестерен, следя за тем, чтобы не сдвинуть упорные шайбы;
запрессовать первичный вал в сборе с шариковым подшипником и блокирующим кольцом в переднее отверстие картера. Проверить установку в первичном валу 14 роликов;
установить прокладку и вставить удлинитель с вторичным валом в сборе в отверстие картера коробки передач, при этом следить, чтобы носок вторичного вала вошел в роликовый подшипник первичного вала, а сухари синхронизатора III и IV передачи вошли в пазы блокирующего кольца, расположенного на первичном валу;
завернуть гайки шпилек крепления удлинителя и установить прокладку и переднюю крышку;
завернуть болты крепления передней крышки и положить коробку передач сливным отверстием вверх;
установить упорные шайбы в требуемое положение с помощью специальной оправки 7820-4797 (рис. 121) через отверстие в переднем торце картера и через коническое отверстие во фланце удлинителя;
прилепить на консистентной смазке ролики подшипников к оси блока шестерен;
вставить ось блока шестерен с подшипниками в картер коробки передач и в отверстие блока шестерен до упора заподлицо с переднем торцом картера так, чтобы канавка на переднем конце оси блока шестерен была расположена горизонтально (рис. 122);
завернуть коническую пробку в фланец удлинителя;
установить прокладку и поставить механизм переключения передач, следя за тем, чтобы лапки вилок вошли в пазы муфт, а паз на вилке включения заднего хода наделся на ось рычага включения промежуточной шестерни заднего хода;
завернуть болты крепления механизма переключения передач и прикрепить к площадке удлинителя заднюю опору двигателя;
установить и закрепить на двух нижних шпильках крепления удлинителя кронштейн подвески трубы глушителя;
смазать маслом хвостовик крышки подшипника первичного вала, надеть два поролоновых кольца и муфту включения сцепления с подшипником в сборе;
при установке коробки передач на автомобиль отцентрировать заднюю опору двигателя согласно указаниям раздела "Ремонт двигателя".

Рис. 120. Установка вторичного вала

Рис. 121. Оправка 7820-4797 для установки упорных шайб блока шестерен

Рис. 122. Установка оси блока шестерен
Таблица 10. Размеры сопрягаемых деталей коробки передач, мм


Заключение
Проведя исследования автомобиля ГАЗ 3110 выяснилось, что у этого автомобиля высокая чистота поломок коробки передач. И я решил внести своё техническое предложения! Моё предложение: заменить все сальники коробке передач на более качественные, « на импортные» с более длительным сроком службы и добавить присадку в масла, тем самым увечить срок службы коробки передач. В моей работе мы видим в 1-й таблице до внесённого мною предложения середину интервала …
Во 2-й таблице мы видим после внесенного мною предложения середина интервала увеличилась белее чем на 30% .
Литература
1. Под редакцией Главного консультанта АО «ГАЗ» Ю.В.Кудрявцев.
2. Автомобиль «ВОЛГО» ГАЗ 3110 – 2001






