| Скачать .docx |
Реферат: Диагностика элементов тормозной системы
Федеральное Агенство по Образованию.
Волгоградский Государственный Технический университет.
Кафедра: ”Техническая эксплуатация и ремонт автомобилей”
Отчет преддипломной практики на тему:
Диагностика элементов тормозной системы
Выполнил: студент группы АЭ - 612
Руководитель дип.работы:__________
Руководитель практики:_________
2007
Содержание
1. ОБЩАЯ ИНФОРМАЦИЯ
1.1. КОНСТРУКТИВНАЯ СХЕМА
1.2. ТЕХНИЧЕСКИЕ ХАРАКТЕРИСТИКИ
1.3. ОСНОВНЫЕ ДАННЫЕ ДЛЯ РЕГУЛИРОВКИ И КОНТРОЛЯ
1.4. ОСНОВНЫЕ ДАННЫЕ ДЛЯ РЕГУЛИРОВКИ И КОНТРОЛЯ
1.5. CПЕЦИАЛЬНЫЙ ИНСТРУМЕНТ
2. ТЕХНИЧЕСКИЕ ОПЕРАЦИИ НА АВТОМОБИЛЕ
2.1.ПРОВЕРКА И РЕГУЛИРОВКА ПОЛОЖЕНИЯ ПЕДАЛИ ТОРМОЗА
2.2.ПРОВЕРКА РАБОТОСПОСОБНОСТИ ОБРАТНОГО КЛАПАНА
2.3. УДАЛЕНИЕ ВОЗДУХА ИЗ ТОРМОЗНОЙ СИСТЕМЫ
2.4. УДАЛЕНИЕ ВОЗДУХА ИЗ ГЛАВНОГО ТОРМОЗНОГО ЦИЛИНДРА
2.5. УДАЛЕНИЕ ВОЗДУХА ИЗ ГИДПРОПРИВОДА ТОРМОЗНОЙ
СИСТЕМЫ 2.6. ПРОВЕРКА ЗУБЧАТОГО РОТОРА ДИСКОВОГО ТОРМОЗНОГО МЕХАНИЗМА
2.7. Установка нового тормозного диска
2.8. ПРОВЕРКА И КОРРЕКЦИЯ БИЕНИЯ ТОРМОЗНОГО ДИСКА
3. АНТИБЛОКИРОВОЧНАЯ ТОРМОЗНАЯ СИСТЕМА ABS
3.1. ОСОБЕННОСТИ
3.2. СИСТЕМА УПРАВЛЕНИЯ ТОРМОЗНЫМ УСИЛИЕМ EBD
3.3. ТЕХНИЧЕСКИЕ ХАРАКТЕРИСТИКИ
3.4. ОСНОВНЫЕ ДАННЫЕ ДЛЯ РЕГУЛИРОВКИ И КОНТРОЛЯ
3.5. CПЕЦИАЛЬНЫЙ ИНСТРУМЕНТ
4. Диагностика неисправности
4.1. ТИПОВОЙ МЕТОД ПОИСКА НЕИСПРАВНОСТЕЙ
4.2. ПРОВЕРКА КОНТРОЛЬНОЙ ЛАМПЫ ИНДИКАЦИИ НЕИСПРАВНОСТЕЙ ABS
4.3. ФУНКЦИЯ ДИАГНОСТИРОВАНИЯ
4.4. СТИРАНИЕ ДИАГНОСТИЧЕСКИХ КОДОВ
4.5. ТАБЛИЦА ПРОВЕРКИ ДИАГНОСТИЧЕСКИХ КОДОВ
4.6. МЕТОДИКА ПРОВЕРКИ ДИАГНОСТИЧЕСКИХ КОДОВ ЭЛЕМЕНТОВ СИСТЕМЫ ABS.(Автомобили с правым рулем)
5. Преимущество АБС перед обычными тормозами
1. ОБЩАЯ ИНФОРМАЦИЯ
Эта тормозная система обеспечивает высокую надежность и долговечность ее работы и обладает улучшенными тормозными свойствами.
1.1. КОНСТРУКТИВНАЯ СХЕМА

1.2. ТЕХНИЧЕСКИЕ ХАРАКТЕРИСТИКИ

1.3. ОСНОВНЫЕ ДАННЫЕ ДЛЯ РЕГУЛИРОВКИ И КОНТРОЛЯ

1.4. ОСНОВНЫЕ ДАННЫЕ ДЛЯ РЕГУЛИРОВКИ И КОНТРОЛЯ

1.5. CПЕЦИАЛЬНЫЙ ИНСТРУМЕНТ

2. ТЕХНИЧЕСКИЕ ОПЕРАЦИИ НА АВТОМОБИЛЕ
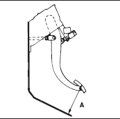
2.1.ПРОВЕРКА И РЕГУЛИРОВКА ПОЛОЖЕНИЯ ПЕДАЛИ ТОРМОЗА
1. Отогните коврик из-под педали тормоза.

2. Измерьте положение педали тормоза по высоте, как показано на рисунке.
Номинальное значение (A):
169,1 -172,1 мм
(От поверхности пола до поверхности накладки педали тормоза)
3. Если положение педали тормоза не соответствует норме, выполните следующее.
(1) Отсоедините разъем выключателя стоп-сигнала.
(2) Снимите вакуумный усилитель
Оставив подсоединенными главный тормозной цилиндр и тормозные трубки, отсоедините только вакуумный усилитель.

(3) Отрегулируйте положение педали тормоза по высоте вращением вилки толкателя, как показано на рисунке.
При повороте вилки толкателя на угол 180 , положение педали тормоза по высоте изменяется на 2,4 мм.
(4) Установите на место вакуумный усилитель
(5) Измерьте положение педали тормоза по высоте, убедитесь в том, что она соответствует номинальному значению. Если измеренная величина не соответствует норме, повторите этапы со (2) по (5).

(6) Вверните выключатель стоп-сигнала (до тех пор пока его резьбовая часть не коснется ограничителя <автомобили с правым расположением органов управления), затем, повернув выключатель примерно на четверть оборота по часовой стрелке, зафиксируйте его в этом положении.
(7) Убедитесь в наличии зазора между выключателем стоп-сигнала и ограничителем, как это видно на рисунке. Проверьте, чтобы стоп-сигналы не зажигались при не нажатой педали тормоза.
(8) Подсоедините разъем выключателя стоп-сигнала.
4. Для моделей автомобилей с автоматической коробкой: проверьте наличие взаимной блокировки цепи ключа зажигания и механизму переключения передач автоматической коробки.
2.2.ПРОВЕРКА РАБОТОСПОСОБНОСТИ ОБРАТНОГО КЛАПАНА
Не снимайте обратный клапан с вакуумного шланга.
1. Отсоедините вакуумный шланг
Если обратный клапан неисправен, замените его вместе с вакуумным шлангом как одну деталь.

2. Проверьте работоспособность обратного клапана с помощью вакуумного насоса.

2.3. УДАЛЕНИЕ ВОЗДУХА ИЗ ТОРМОЗНОЙ СИСТЕМЫ
Рекомендуется к применению тормозная жидкость уровня DOT 3 или DOT 4.
Смешивание тормозных жидкостей разных производителей не допускается: как правило эффективность срабатывания тормозной системы снижается.
2.4. УДАЛЕНИЕ ВОЗДУХА ИЗ ГЛАВНОГО ТОРМОЗНОГО ЦИЛИНДРА
В главном тормозном цилиндре обратный клапан не предусмотрен. Применение следующей процедуры упрощает удаление воздуха из системы (когда в главном тормозном цилиндре
рабочая жидкость отсутствует).
1. Заполните бачок тормозной жидкостью.
2. Нажмите и удерживайте нажатой педаль тормоза.

3. Попросите помощника закрыть пальцем выходное отверстие главного тормозного цилиндра.
4. При закрытом выходном отверстии, отпустите педаль тормоза.
5. Повторите этапы со 2 -4 три-четыре раза, чтобы заполнить главный тормозной цилиндр рабочей жидкостью.
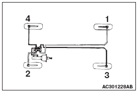
2.5. УДАЛЕНИЕ ВОЗДУХА ИЗ ГИДПРОПРИВОДА ТОРМОЗНОЙ СИСТЕМЫ

Запустите двигатель и удалите воздух из гидропривода тормозов в последовательности, указанной на рисунке.
2.6. ПРОВЕРКА ЗУБЧАТОГО РОТОРА ДИСКОВОГО ТОРМОЗНОГО МЕХАНИЗМА
Тормозные диски должны поддерживаться в исправном техническом состоянии, обеспечивающем нормальную работу тормозной системы.
Перед проворачиванием тормозного диска, необходимо проверить следующее.

2.7. Установка нового тормозного диска
После установки нового тормозного диска, прошлифуйте его рабочую поверхность навесной шлифовальной машинкой. Если не выполнить эту операцию, биение диска превысит предельное значение, что приведет к вибрации при торможении.
При использовании навесной шлифовальной машинки: вначале на шпильки ступицы колеса установите плоские шайбы М12, так как показано на рисунке, после чего установите адаптер шлифовальной машинки. Если установить адаптер без шайб М12, то вследствие неточности при шлифовании, тормозной диск может быть деформирован. Прошлифуйте тормозной диск при всех полностью затянутых гайках крепления адаптера номинальным моментом 100 Н*м. Если не использовать всех гаек крепления, или момент затяжки избыточен или не равен между собой, тормозной диск или барабан могут быть деформированы, в результате чего появляются вибрации при торможении.
2. Если толщина тормозного диска меньше предельного значения, замените его новым. Если изменения по толщине диска превос ходят допустимое значение, прошлифуйте диск навесной шлифовальной машинкой ("MAD, DLQ8700PF" или равнозначной). Если по расчету, окончательная толщина тормозного диска после его шлифования становится тоньше допустимого значения, замените диск.
2.8. ПРОВЕРКА И КОРРЕКЦИЯ БИЕНИЯ ТОРМОЗНОГО ДИСКА
1. Отсоедините суппорт в сборе и подвяжите его проволокой, к кузову автомобиля.
2. Временно установите тормозной диск с гайкой ступицы.

3. Закрепите индикатор часового типа на расстоянии около 5 мм от края диска и измерьте величину биения тормозного диска.
Предельное значение: 0,04 мм

4. Если величина биения превосходит предельное значение, исправьте это следующим образом:
(1) Нанесите на шпильках и тормозном диске метки мелом в местах, где биение диска максимально, как показано на рисунке.

(2) Снимите тормозной диск. Установите индикатор часового типа как показано на рисунке и измерьте осевой люфт колесного подшипника путем перемещения ступицы колеса внутрь и наружу.
Предельное значение: 0,05 мм
(3) Если осевой люфт превосходит предельную величину, разберите ступицу, поворотный кулак/продольный рычаг и проверьте состояние каждого элемента.
(4) Если величина биения не превосходит предельного значения, дефазируйте (сместите поворотом) тормозной диски вновь закрепите его. Вновь проверьте биение тормозного диска.
После установки нового тормозного диска, прошлифуйте его рабочую поверхность навесной шлифовальной машинкой. Если не выполнить эту операцию, биение диска превысит предельное значение, что приведет к вибрации при торможении.

При использовании навесной шлифовальной машинки: вначале на шпильки ступицы колеса установите плоские шайбы М12, так как показано на рисунке, после чего установите адаптер шлифовальной машинки. Если установить адаптер без шайб М12, то вследствие неточности при шлифовании, тормозной диск может быть деформирован.
Прошлифуйте тормозной диск при всех полностью затянутых гайках крепления адаптера номинальным моментом100 Н*м. Если не использовать всех гаек крепления, или момент затяжки избыточен или не равен между собой, тормозной диск или барабан могут быть деформированы, в результате чего появляются вибрации при торможении.
5. Если биение тормозного диска не может быть исправлено его дефазированием замените тормозной диск и прошлифуйте его навесной шлифовальной машинкой ("MAD, DLQ8700PF" или равнозначной).
3. АНТИБЛОКИРОВОЧНАЯ ТОРМОЗНАЯ СИСТЕМА (ABS)
3.1. ОСОБЕННОСТИ
Система 4ABS обеспечивает курсовую устойчивость автомобиля и его управляемость во время резкого торможения. Эта система ABS использует 3-х канальную систему с 4-я датчиками, которая независимо управляет правым и левым передними колесами, а также одновременно управляет задними колесами (выбор понижающего уровня управления - selectlow control*). В основном эта система та же, что и использовалась прежде в автомобилях COLT/LANCER.
Выбор понижающего уровня управления: Система управления, которая сравнивает скорости вращения правого и левого колес и производит одинаковое управляющее воздействие давлением рабочей жидкости на оба колеса в соответствии со скоростью тогоколеса, которое близко к заблокированному состоянию. Эта система имеет следующие особенности:
1.Установленная система управления EBD система электронно -управляемого распределения тормозного усилия) обеспечивает оптимальное тормозное усилие на задние колеса автомобиля.
2.Функция сохранения работоспособности (Fail-safe function) при отказе отдельных элементов обеспечивает безопасность управления автомобилем.
3.Функция диагностирования обеспечивает приемлемую контролепригодность системы ABS.
3.2. СИСТЕМА УПРАВЛЕНИЯ ТОРМОЗНЫМ УСИЛИЕМ EBD
В системе ABS, применяется электронное управление таким образом, чтобы тормозное усилие на задние колеса при торможении регулировалось электромагнитными клапанами в соответствии со степенью замедления автомобиля, а степень пробуксовки передних и задних колес рассчитывалась на основании сигналов, получаемых от различных датчиков системы ABS. Система управления EBD это система, которая обеспечивает высокий уровень управления как тормозной силой автомобиля, так и курсовой устойчивостью автомобиля при торможении. Эта система имеет следующие особенности:
1.Эта система обеспечивает оптимальную тормозную силу в зависимости от нагрузки автомобиля и состояния дорожного покрытия, система снижает необходимую силу нажатия на педаль тормоза, особенно, если автомобиль сильно нагружен или при движении по дороге с хорошими сцепными свойствами.
2.Поскольку при увеличении нагрузки автомобиля система EBD снижает силу нажатия на педаль тормоза, нагрев передних тормозных колодок колес автомобиля также снижается, что, как правило, уменьшает износ тормозных колодок.
3.В этом случае регулятор давления в тормозной системе не требуется.
3.3. ТЕХНИЧЕСКИЕ ХАРАКТЕРИСТИКИ

3.4. ОСНОВНЫЕ ДАННЫЕ ДЛЯ РЕГУЛИРОВКИ И КОНТРОЛЯ
![]()
3.5. CПЕЦИАЛЬНЫЙ ИНСТРУМЕНТ

4. Диагностика неисправности
4.1. ТИПОВОЙ МЕТОД ПОИСКА НЕИСПРАВНОСТЕЙ

ПРИМЕЧАНИЯ В ОТНОШЕНИИ ДИАГНОСТИРОВАНИЯ
1. Система ABS является элементом тормозной системы, которая управляет давлением в гидроприводе тормозов электронным блоком (ECU). Соответственно, следующие признаки могут появляться время от времени, но они являются признаками нормальной работы системы ABS и не означают неисправности системы ABS.
2. При движении по дорогам со снежным покрытием или по гравийным дорогам, тормозной путь автомобилей, оборудованных системой ABS, нередко становится длиннее, чем для остальных автомобилей. Поэтому, рекомендуется посоветовать владельцу автомобиля двигаться по таким дорогам с особой осторожностью, снижать скорость движения автомобиля и не допускать чрезмерной самоуверенности.
3. Режимы проведения диагностирования сильно изменяются в зависимости от типа диагностического кода. Убедитесь в выполнении требований при выполнении проверки в разделе "Комментарии" при повторной проверке наличия признака неисправности.
4.2. ПРОВЕРКА КОНТРОЛЬНОЙ ЛАМПЫ ИНДИКАЦИИ НЕИСПРАВНОСТЕЙ ABS

Проверьте, чтобы убедиться в том, что контрольная лампа загорается в следующих случаях.
1. При установке замка зажигания в положение"ON" - ЗАЖИГАНИЕ ВКЛЮЧЕНО, контрольная лампа индикации неисправности системы ABS горит в течении около 3 секунд, после чего автоматически гаснет.
2. При установке замка зажигания в положение "START" - ЗАПУСК ДВИГАТЕЛЯ, контрольная лампа индикации неисправности системы ABS продолжает гореть.
3. При установке замка зажигания из положения "START" - ЗАЖИГАНИЕ ВКЛЮЧЕНО, в положение "ON" - ЗАЖИГАНИЕ ВКЛЮЧЕНО, контрольная лампа индикации неисправности системы ABS горит в течение около 3 секунд, после чего автоматически гаснет. Контрольная лампа индикации неисправности продолжает гореть, пока автомобиль не достигнет скорости нескольких километров в час. Это состояние ограничивается случаями появления кодов неисправностей: от 21 до 24, от 41 до 44 или от 53 до 55 которые регистрируют возникновение неисправностей. В этом случае электронный блок управления системой ABS оставляет контрольную лампу зажженной до тех пор не будет устранена неисправность, определяемая появившимся кодом неисправности.
4. Если контрольная лампа горит по другой причине, проверьте наличие других кодов неисправностей.
4.3. ФУНКЦИЯ ДИАГНОСТИРОВАНИЯ
4.4СЧИТЫВАНИЕ ДИАГНОСТИЧЕСКИХ КОДОВ
При использовании приборов MUTHII/III
При использовании контрольной лампы индикации неисправности ABS
1. Установите замок зажигания в положение "LOCK" (OFF) - ВЫКЛЮЧЕНО.

2. В этом случае рекомендуется использовать специальный инструмент - жгут проводов для проверки диагностических кодов (МВ991529) для соединения на "массу" клеммы 1 (клемма диагностического контроля) диагностического разъема.
3. Установите замок зажигания в положение "ON" (ЗАЖИГАНИЕ ВКЛЮЧЕНО).
4. Считайте код неисправности по характерному миганию контрольной лампы индикации неисправности системы ABS.

5. Установите замок зажигания в положение "LOCK" (OFF) - ВЫКЛЮЧЕНО.
6. Отсоедините специальный инструмент - жгут проводов для проверки диагностических кодов (МВ991529)
4.4. СТИРАНИЕ ДИАГНОСТИЧЕСКИХ КОДОВ
Когда приборы MUTH-II/III не используются.
Если работа электронного блока управления системой ABS остановлена включением функции "fail-safe", диагностический код не может быть стерт.
1. Установите замок зажигания в положение "LOCK" (OFF) - ВЫКЛЮЧЕНО.

2. В этом случае рекомендуется использовать специальный инструмент - жгут проводов для проверки диагностических кодов (МВ991529) для соединения на "массу" клеммы 1 (клемма диагностического контроля) диагностического разъема.

3. Нажмите педаль тормоза и удерживайте ее.
4. Установите замок зажигания в положение "ON" (ЗАЖИГАНИЕ ВКЛЮЧЕНО).
5. После того как замок зажигания был установлен в положение "ON" (ЗАЖИГАНИЕ ВКЛЮЧЕНО), в течение 3 секунд отпустите педаль тормоза. Повторите процесс нажатия и отпускания педали тормоза в течение 10 раз.
6. Установите замок зажигания в положение "LOCK" (OFF) = ВЫКЛЮЧЕНО.
7. Отсоедините специальный инструмент - жгут проводов для проверки диагностических кодов (МВ991529).
4.5. ТАБЛИЦА ПРОВЕРКИ ДИАГНОСТИЧЕСКИХ КОДОВ
Выберите из таблицы тот диагностический код, который соответствует конкретной неисправности.

4.6. МЕТОДИКА ПРОВЕРКИ ДИАГНОСТИЧЕСКИХ КОДОВ ЭЛЕМЕНТОВ СИСТЕМЫ ABS.(Автомобили с правым рулем)

ПРИНЦИП ДЕЙСТВИЯ.
1.Зубчатый ротор генерирует импульсы напряжения по мере его перемещения в зоне магнитного поля каждого колесного датчика системы ABS.
2.Величина генерируемого напряжения в датчике каждого колеса определяется величиной зазора между зубьями ротора и датчиком колеса системы ABS, а также скоростью вращения колеса.
3.Колесные датчики системы ABS передают частоту импульсов напряжения и его величину, генерируемую каждым импульсом, в электронный блок управления системой ABS.
4.Гидравлический блок модулирует (регулирует) величину тормозного усилия подаваемого индивидуально на каждый тормозной механизм колеса.
СОСТОЯНИЕ НАБОРА ДИАГНОСТИЧЕСКИХ КОДОВ.
Одновременное появление диагностических кодов № 11, 12, 13 и 14 может быть обусловлено разрушением проводки всех четырех датчиков системы ABS.
Наиболее вероятными причинами появления этих кодов неисправностей могут быть:
1.Неисправность колесного датчика системы ABS.
2.Повреждение жгута проводов или разъема.
3.Неисправность гидравлического блока (интегрированного с электронным блоком управления системой ABS).
5. Преимущество АБС перед обычными тормозами
1. Срок службы протектора шин при использовании АБС увеличивается на 5-7 %.
2. Испытаниями установлено, что на скользкой покрытии тормозной путь автомобиля, оснащенного АБС, может быть на 15 % короче, чем у обычной автомашины.
3. Современное АБС обладают достаточно высокой надежностью и могут длительное время работать не выходя из строя. Электронные блоки АБС отказывают крайне редко, поскольку защищены специальными реле и предохранителями.