| Скачать .docx |
Реферат: Бесстыковые рельсовые цепи
Бесстыковые рельсовые цепи
Содержание
1. Особенности и условия применения. 3
2. Зоны дополнительного шунтирования. 5
3. Структура бесстыковой рельсовой цепи. 7
4. Регулировка. 12
5. Кабельная сеть. 17
6. Наложение кодовых сигналов АРС.. 21
7. Способы отыскания и устранение неисправностей. 25
1. Особенности и условия применения
Бесстыковые рельсовые цепи (БРЦ) применяют на линиях, где рельсовые нити пути составлены из цельносварных рельсовых плетей большой длины. Исключение из состава рельсовой линии изолирующих стыков, как малонадежных в эксплуатации элементов, способствует повышению прочности пути, снижению шума и вибрации. Обеспечивается надежная непрерывность цепи возврата тягового тока. В несколько раз сокращается число применяемых металлоемких дроссель-трансформаторов. Они устанавливаются только для выравнивания тягового тока (снижения асимметрии) в местах установки междупутных перемычек, подключения отсасывающих фидеров тяговых подстанций, а также в случаях установки изолирующих стыков, когда необходима точная фиксация границ РЦ. Из-за сокращения числа устанавливаемых дроссель-трансформаторов снижаются потери электроэнергии на тягу поездов.
Работа БРЦ, имеющей потенциальный приемник ПП (подключенный к рельсам и срабатывающий от разности потенциалов между рельсами в месте подключения), отличается от принципа действия РЦ, ограниченной изолирующими стыками, тем, что ее занятие и освобождение поездом фиксируются не в момент вступления и проследования точки подключения аппаратуры, а на некотором расстоянии от концов РЦ, характеризующем зоны дополнительного шунтирования lдш по приближению и удалению поезда. Фактическая длина БРЦ оказывается больше ее физической длины lф, определяемой точками подключения аппаратуры (рис.3.1).

Рис.3.1 Схема бесстыковой рельсовой цепи

Рис.3.2 Структурная схема бесстыковой рельсовой цепи
Как правило, от одного путевого генератора питаются две смежные РЦ, расположенные по обе стороны от точки его подключения к рельсовой линии. Один питающий конец, таким образом, является общим для двух приемников. Например РЦ 1 и 3 (рис.3.2) получают питание от генератора G1, а РЦ 5 и 7 - от генератора G2. Между питающими концами к рельсовой линии подключены два последовательно соединенных путевых приемника, один из которых работает на сигнальной частоте генератора G1, а другой - на сигнальной частоте генератора G2. Во избежание взаимного влияния в смежных рельсовых цепях используются разные несущие частоты сигнального тока.
Для работы БРЦ используются амплитудно-модулированные сигналы с несущими частотами 475, 725 и 775 Гц и частотами модуляции 8 и 12 Гц. При необходимости могут применяться сигналы с несущими частотами 425 и 575 Гц с теми же частотами модуляции. Для надежного исключения взаимного влияния сигналов БРЦ при различных сочетаниях их длин несущие частоты и частоты модуляции чередуются, например 725/8; 775/12; 475/8; 725/12; 775/8; 475112; 725/8 и т.д.
Аппаратура БРЦ размещается централизованно в релейном помещении на станции. Удаление аппаратуры от рельсовой линии может достигать 4 км. С рельсовой линией аппаратура соединяется симметричным сигнальным кабелем с парной скруткой жил. Передающие и приемные цепи размещаются в разных кабелях. Для каждого пути применяется отдельный кабель. В кабельной линии предусматривают свободную пару (резерв) с выходом на каждой сигнальной точке, необходимую при выполнении пуско-наладочных работ и работ по техническому обслуживанию устройств.
При длине кабеля более 2 км применяется схема контроля исправности кабельной линии. Используется по два кабеля для питающих и приемных цепей. В один из них включаются БРЦ, удаленные до 2 км, и схема контроля не применяется. В другой кабель включаются БРЦ, удаленные свыше 2 км, и для этого кабеля необходимо применение схемы контроля кабельных цепей.
Для соединения с рельсовой линией используются согласующие трансформаторы
ПОБС-2АУЗ с коэффициентом трансформации 38, при этом первичная обмотка (выводы I1-I4 при перемычке I2-I3) подключается к кабелю, а вторичная (выводы II3-III3 при перемычке II4-III1) - к рельсовой линии. допускается в качестве согласующих элементов использовать дроссель-трансформаторы ДТМ-0,17-1000 или ДТ-0,6-1000М с коэффициентами трансформации соответственно 40 и 38.
2. Зоны дополнительного шунтирования
Во время движения по линии поезд последовательно занимает и освобождает рельсовые цепи. Шунтирование БРЦ происходит на некотором расстоянии от точки подключения аппаратуры, называемом зоной дополнительного шунтирования по приближению Освобождение БРЦ происходит также на некотором расстоянии от точки подключения аппаратуры выходного конца БРЦ, называемом зоной дополнительного шунтирования по удалению (см. рис.3.1).
Зоны дополнительного шунтирования зависят от частоты сигнального тока, рабочего напряжения на входе приемника, сопротивления рельсовой линии, входного сопротивления конца, коэффициента возврата приемника, реального сопротивления поездного шунта, длины БРЦ и др.
Зона дополнительного шунтирования максимальна в БРЦ, в которой нормальный режим обеспечен при минимально допустимом напряжении источника сигнала, когда напряжение на приемнике минимально при прочих равных условиях.
Зона дополнительного шунтирования минимальна, когда напряжение на входе приемника в нормальном режиме максимально допустимое. Таким образом, уменьшение зоны дополнительного шунтирования связано с увеличением коэффициента перегрузки приемника. Ее уменьшение достигается также снижением входного сопротивления конца БРЦ.
В условиях эксплуатации длина зоны дополнительного шунтирования, как правило, 12-25 м, и ее изменение связано в основном с колебанием напряжения источника питания.
Поскольку коэффициент возврата приемника БРЦ меньше 1, то зона дополнительного шунтирования по приближению меньше зоны дополнительного шунтирования по удалению. Она соответствует такому положению поезда, когда напряжение на входе приемника снижается до значения, соответствующего его порогу отпускания. А зона дополнительного шунтирования по удалению соответствует положению, когда напряжение на входе приемника достигает значения порога срабатывания.
Если необходимо получить минимальную зону дополнительного шунтирования, то повышают напряжение сигнала на входе путевого приемника до максимально допустимого значения, при котором обеспечивается нормальный, шунтовой и контрольный режимы работы БРЦ.
Минимальная гарантированная зона дополнительного шунтирования (12 м) учитывается при определении тормозных путей и выборе точек подключения аппаратуры. От размеров зоны дополнительного шунтирования значительно зависят регулировочные характеристики режима АРС. Для нормального действия поездных устройств АРС необходимо обеспечить нормативный сигнальный ток под приемными катушками на расстоянии lарс, которое равно суммарной длине РЦ и зоны дополнительного шунтирования.
В эксплуатации смена сигнала АРС на поезде в зависимости от длины зоны дополнительного шунтирования, скорости поезда и ряда других факторов может происходить в зоне, точке подключения аппаратуры, а при большой скорости движения - после вступления на рельсовую цепь.
Наличие зоны дополнительного шунтирования необходимо учитывать при установке путевых проходных светофоров, так как при вступлении поезда в эту зону происходит занятие поездом следующей по ходу РЦ и перекрытие светофора на запрещающее показание. Во избежание этого необходимо выносить место установки светофора навстречу движению на расстояние, большее длины зоны дополнительного шунтирования для данной БРЦ. На основании расчетов это расстояние было принято равным 20 м.
3. Структура бесстыковой рельсовой цепи
Аппаратура питающего конца БРЦ включает в себя путевой генератор ГРЦ, путевой усилитель сигнала рельсовой цепи типа ПУ-1, выходной трансформатор ПТЦ, фильтр питающего конца типа ФП8,9 или ФП 11, 14, 15, регулируемый резистор Rд сопротивлением 100 Ом, согласующий трансформатор ПОБС-2А, защитный резистор Rз и кабельную линию между аппаратурой, расположенной в релейном помещении и на пути (рис.3.3).

Рис.3.3 Принципиальная схема БРЦ
Генератором 1/2Г типа ГРЦ формируется амплитудно-модулированный сигнал, который с выводов 3-31 подается на вход путевого усилителя 1/2У (выводы 13-22). Установкой внешних перемычек генератор настраивают на одну из несущих частот: 12-23 - 425 Гц, 12-21 - 475 Гц, 12-22 - 575 Гц, 12-13 - 725 Гц, 12-11 - 775 Гц. Для выработки модулирующей частоты 12 Гц устанавливают перемычку на выводы 33-41-42 блока. Для модулирующей частоты 8 Гц установка внешних перемычек не требуется. Модулированный по амплитуде сигнал на выходе генератора получается при установке перемычки 4-32.
Путевой усилитель 1/2У типа ПУ-1 усиливает входной сигнал и подает его (с выводов 3-23-4) на первичную обмотку трансформатора 1/2ВТ типа ПТЦ. Изменением числа витков его вторичной, секционированной обмотки регулируется сигнал в БРЦ. Далее этот сигнал поступает на вход фильтра 1/2Ф1 (выводы 11-71), тип которого выбирается в зависимости от несущей частоты сигнала, вырабатываемого генератором. Фильтр настраивают на требуемую частоту подбором конденсаторов необходимой суммарной емкости установкой внешних перемычек.
Выход фильтра 1/2Ф1 (выводы 11-12) последовательно соединяется с выходом фильтра 1Ф2 типа ФП-АЛСМ, относящегося к передающей аппаратуре АРС, и подключается к кабельной линии через резистор 1/2Rд. Изменением сопротивления этого резистора добиваются постоянного суммарного сопротивления 100 Ом резистора 1/2Rд и жил кабеля. При удалении аппаратуры БРЦ более чем на 2 км и в случае установки в путевом ящике защитного резистора Rз сопротивление 1/2Rд может быть исключено из схемы БРЦ.
Кабельная линия подключается к рельсам через согласующий трансформатор 1/2 СТ, предназначенный для согласования низкого сопротивления рельсовой линии с высоким сопротивлением аппаратуры. Коэффициент трансформации 1/2СТ равен 38, при этом входными являются выводы первичной обмотки I1-I4 с перемычкой I2-I3, а выходными - выводы II3-III3 с перемычкой II4-III1.
В путевом ящике размещаются предохранители, защищающие аппаратуру БРЦ от воздействия тягового тока, разрядники РВНШ-250 (на открытых участках) для защиты от импульсных перенапряжений и защитные резисторы, обеспечивающие нормативное сопротивление конца БРЦ и защищающие аппаратуру от асимметрии тягового тока.
В качестве согласующих элементов могут применяться дроссель-трансформаторы ДТМ-0,17 или ДТ-0,6 с коэффициентом трансформации соответственно 40 и 38. При этом кабельная линия подключается к дополнительной обмотке, предохранители и защитные резисторы из схемы исключаются, а сопротивление дополнительного резистора Rд при удалении БРЦ от релейного помещения менее чем на 500 м может быть увеличено до 200 Ом. На открытых участках в случае применения дроссель-трансформатора в качестве согласующего элемента разрядник устанавливается в релейном помещении.
Подключение аппаратуры приемного (релейного) конца БРЦ к рельсовой линии аналогично подключению питающего конца.
В состав аппаратуры приемного конца входят два последовательно соединенных по входу приемника смежных БРЦ, которые питаются от разных генераторов. Для приема сигналов БРЦ служат путевые приемники ПРЦМ. Сигнал с рельсовой линии через согласующий трансформатор и кабельную линию поступает на вход путевых приемников (выводы 11-43). Настройка входного контура путевого приемника обеспечивает выделение сигнала с несущей частотой, соответствующей типу данного приемника. К выходам приемников подключены путевые реле АНШ2-1230 для контроля состояния соответствующих рельсовых цепей.
Для повышения устойчивости работы путевого реле при проследовании поездом границы зоны дополнительного шунтирования, когда наблюдается колебание входного сигнала, к выводам 23-62 приемника подключается фронтовой контакт своего путевого реле или его повторителя, с помощью которого изменяется порог срабатывания путевого приемника.
Последовательно со входами путевых приемников включен выход фильтра 2Ф2 устройств АРС. Тыловые контакты управляющих реле АРС предыдущей БРЦ включены в цепь питания путевого реле параллельно его фронтовому контакту для контроля состояния этих реле на отсутствие ложного возбужденного состояния или залипания якорей.
Питание аппаратуры БРЦ осуществляется от сети переменного тока частотой 50 Гц. Напряжение 17,5 В подается на выводы 1-2 генераторов ГРЦ и усилителей ПУ - 1 и на выводы 21-22 приемников ПРЦМ. Питающее напряжение снимается с трансформатора ПОБС-5А, причем питание генераторов и приемников БРЦ осуществляется от разных трансформаторов.
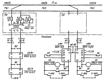
Питающий конец бесстыковой рельсовой цепи на аппаратуре третьего поколения (рис.3.4) составляют путевой генератор ГПЗ и фильтр ФПМ. Генератор 1/2ГП служит для формирования и усиления амплитудно-модулированного сигнала БРЦ. Выходной сигнал с выводов 2-52 поступает на вход путевого фильтра 1/2Ф1 (выводы 11-71), который служит для защиты выходного каскада генератора от импульсных помех и влияния токов АРС. С выхода фильтра (выводы 12-63) сигнал передается в кабельную линию.
На релейном конце, как правило, используется последовательное соединение двух путевых приемников ППМ. Сигнал рельсовой цепи поступает на вход приемника (выводы 11-43). Настройка входного контура путевого приемника обеспечивает выделение сигнала с несущей частотой, соответствующей типу данного приемника. К выходам приемников подключены путевые реле АНШ2-1230 для контроля состояния соответствующих рельсовых цепей.

Рис.3.4 Схема БРЦ на аппаратуре третьего поколения
Для повышения устойчивости работы путевого реле при проследовании поездом границы зоны дополнительного шунтирования, когда наблюдается колебание входного сигнала, как и в БРЦ на аппаратуре второго поколения, к выводам 23-62 приемника подключается фронтовой контакт своего путевого реле или его повторителя, с помощью которого изменяется порог срабатывания путевого приемника. Питание аппаратуры БРЦ осуществляется от сети переменного тока частотой 50 Гц. Напряжение 35 В подается на выводы 41-43 генераторов ГПЗ и напряжение 17,5 В - на выводы 21-22 приемников ППМ. Питающее напряжение снимается с трансформатора ПОБС-5А, причем питание генераторов и приемников БРЦ осуществляется от разных трансформаторов.
Остальное построение схем на аппаратуре третьего поколения аналогично схемам БРЦ на аппаратуре второго поколения.
4. Регулировка
Регулировка БРЦ заключается в установке требуемого напряжения на входе путевого приемника ПРЦМ каждой РЦ. Перед регулировкой проверяется правильность установки напряжений питания блоков ГРЦ, ГIУ-1 и ПРЦМ. Номинальное напряжение питания этих блоков 17,5 В. В процессе эксплуатации оно должно быть 16,7 - 18,4 В.
После включения напряжения питания проверяется наличие выходного напряжения генератора, оно должно быть не менее 1,5 В. Напряжение на выходе усилителя сигнала БРЦ (выводы 3-4 блока ПУ-1) должно быть не менее 15 В. Наличие на выходе усилителя напряжения выше 28 В указывает на самовозбуждение усилителя в паузах сигнала БРЦ, такой усилитель должен быть заменен.
После этого изменением суммарной емкости фильтра питающего конца (ФП-8,9 или ФП-11, 14, 15) осуществляется индивидуальная подстройка фильтра в резонанс, который фиксируется по достижению максимального напряжения на выходе фильтра, при этом напряжения на катушках индуктивности (выводы 11-13) и конденсаторах (выводы 13-71) максимальны и равны между собой. Если напряжение на конденсаторах фильтра превышает напряжение на катушках индуктивности, то суммарную емкость надо увеличить подпайкой дополнительных перемычек или переносом уже существующих перемычек на выводы для подключения конденсаторов с большей емкостью. Если напряжение на конденсаторах меньше напряжения на катушках индуктивности, то суммарную емкость надо уменьшить.
Затем выполняется поочередная регулировка нормального режима работы БРЦ в соответствии с регулировочными таблицами для данной сигнальной частоты и длины РЦ. При регулировке отдельной БРЦ другие источники питания должны быть отключены.
Регулировочные таблицы разрабатываются для: РЦ без изолирующих стыков (ИС); РЦ, ограниченных изолирующими стыками с одной стороны; РЦ, ограниченных изолирующими стыками с двух сторон и работающих на аппаратуре БРЦ. Табл.3.1 является примером регулировочной таблицы для РЦ без ИС.
| Длина кабеля, км | Частота, Гц | Длина РЦ, м | U2птц, В | Smax, ВА | Sср, ВА | Uф, В | Uн, В | Uпп minВ | Uпп maxВ | Uпп рек В |
| 1 | 2 | 3 | 4 | 5 | 6 | 7 | 8 | 9 | 10 | 11 |
| 2,0 2,0 | 475 475 | 25 50 | 2,7 3,5 |
0,8 1,4 |
0,4 0,7 | 8,2 11,0 | 0,09 0,14 | 0,8 0,8 | 1,3 1,45 | 1,1 1,2 |
В регулировочной таблице содержатся сведения о допустимых минимальных и максимальных напряжениях на входе путевого приемника Uпп в условиях эксплуатации. Минимальное значение Uпп min в графе 9 соответствует порогу срабатывания приемника ПРЦМ (0,7 В), взятому с запасом (К3 = 1,15). В графе 10 приведено значение максимально допустимого значения рабочего напряжения на входе путевого приемника ПРЦМ, при котором гарантируются выполнение режимов работы БРЦ и зона дополнительного шунтирования не менее 12 м.
В графе 11 приведены напряжения Uпп рек, соответствующие нормативному сопротивлению балласта (2,0 Ом. км) и минимальному напряжению в сети питания. Эти напряжения рекомендуется устанавливать при регулировке рельсовых цепей. Если длины БРЦ, питаемых от одного генератора, не одинаковы, то напряжение на входе приемника РЦ большей длины может быть меньше рекомендуемого значения.
Напряжение на входе путевого приемника является основным нормативным значением, подлежащим регулированию. Значения напряжений U2птц и Uф (соответственно графы 5 и 8) служат для оценки исправности цепи передачи сигнала.
Допустимое максимальное напряжение U2птц питания на вторичной обмотке выходного трансформатора определяется по критерию выполнения всех режимов работы БРЦ и обеспечения зоны дополнительного шунтирования 12 м при максимальном напряжении питания и максимальном сопротивлении балласта. Расчет ведется с учетом наиболее энергетически неблагоприятных сочетаний длин смежных БРЦ, поэтому в условиях эксплуатации фактическое напряжение U2птц всегда должно быть меньше указанного.
Электрические параметры устройств должны измеряться измерительными приборами, имеющими класс точности не ниже 2,5 с сопротивлением на шкале 1,5 В не менее 1,3 кОм, например Ц4380, Ц4312, или другими с аналогичными параметрами.
После регулировки нормального режима проверяется шунтовой режим работы БРЦ. Для этого на питающий, а затем на релейный концы накладывается нормативный испытательный шунт сопротивлением 0,06 Ом. В обоих случаях напряжение на входе соответствующего путевого приемника должно быть не более 0,56 В, а путевое реле должно быть обесточено. Для проверки правильности монтажа и отсутствия обходных цепей через жилы кабеля необходимо также наложить нормативный шунт и на середине БРЦ. При этом путевое реле также должно отпустить якорь.
Проверка контрольного режима работы БРЦ может быть осуществлена обрывом цепи передачи сигнала, например на кроссовом стативе. Изымается одна соединительная перемычка с банановыми контактами (дужка), при этом путевое реле должно обесточиться. Затем эту дужку ставят на место и изымают другую дужку, путевое реле должно быть без тока. Равенство напряжений на входе приемника в обоих случаях свидетельствует о симметрии кабельной линии.
После проверки режимов работы отдельных БРЦ необходимо проверить отсутствие подпиток путевых приемников от "чужих" генераторов, для чего выключаются все источники сигналов БРЦ и затем включаются по одному. При этом проверяется срабатывание только путевых реле соответствующих БРЦ. И наоборот, включаются все источники сигналов БРЦ, а затем выключаются по одному, и проверяется отпускание якорей соответствующими путевыми реле.
При регулировке БРЦ могут быть измерены и зоны дополнительного шунтирования. Это особенно важно в местах, где длина зоны должна быть ограничена, например в местах установки светофоров, когда отсутствуют изолирующие стыки и светофор вынесен навстречу движению. При измерении зон дополнительного шунтирования организуется связь между работниками релейных помещений и работающими на пути людьми. На некотором расстоянии (примерно 20 м) от входного конца испытуемой БРЦ накладывается шунт сопротивлением, близким 0 (например, два шунта сопротивлением 0,06 Ом). Путевое реле должно остаться под током. Если оно без тока, то необходимо отойти от точки подключения аппаратуры еще на несколько метров. Постепенно приближая шунт к точке подключения аппаратуры испытуемой БРЦ, определяется расстояние, при котором путевое реле отпускает якорь (зона по приближению).
При измерении зон по удалению на БРЦ накладывают два шунта: один нормативным сопротивлением, а другой сопротивлением, близким нулю. Первый шунт накладывают в пределах БРЦ, а второй на некотором расстоянии за точкой подключения аппаратуры испытуемой БРЦ по ходу движения (примерно в 10 м). Путевое реле должно быть обесточено. Перемещая второй шунт вдоль рельсовой линии и увеличивая расстояние от точки подключения аппаратуры, снимают первый шунт и находят расстояние, при котором путевое реле притягивает якорь, Регулировка БРЦ на аппаратуре третьего поколения заключается в установке требуемого напряжения на входе путевого приемника ППМ каждой РЦ. Перед регулировкой проверяется правильность установки напряжений питания путевых генераторов и приемников. Номинальное напряжение питания этих блоков соответственно 35 и 17,5 В.
После включения напряжения питания проверяется наличие выходного напряжения генератора, которое должно быть от 1 до 6 В. После этого изменением суммарной емкости фильтра питающего конца (ФПМ-8,9,11 или ФПМ-11,14,15) осуществляется индивидуальная подстройка фильтра в резонанс, который фиксируется по достижению максимального напряжения на выходе фильтра. При этом напряжения на катушках индуктивности (выводы 11-23) и на конденсаторах (выводы 23-71) максимальны и равны между собой. Если напряжение на конденсаторах фильтра превышает напряжение на катушках индуктивности, то суммарную емкость надо увеличить подпайкой дополнительных перемычек или переносом уже существующих перемычек на выводы для подключения конденсаторов большей емкости. Если напряжение на конденсаторах меньше напряжения на катушках индуктивности, то суммарную емкость следует уменьшить.
Затем выполняется поочередная регулировка нормального режима работы БРЦ в соответствии с регулировочными таблицами для данной сигнальной частоты и длины РЦ. При регулировке отдельной БРЦ другие источники питания должны быть отключены. Табл.3.2 является примером регулировочной таблицы для РЦ без ИС.
| Длина кабеля, км | Частота, Гц | Длина РЦ, м | Uген, В | Uф, В | Uн, В | Smax, ВА | Sср, ВА | Uпп minВ | Uпп maxВ | Uпп рек В |
| 1 | 2 | 3 | 4 | 5 | 6 | 7 | 8 | 9 | 10 | 11 |
| 2,0 2,0 | 480 480 | 25 50 | 2,7 3,5 |
8,2 11,0 |
0,09 0,14 | 0,8 1,4 | 0,4 0,7 | 0,8 0,8 | 1,3 1,45 | 1,1 1,2 |
В такой таблице содержатся сведения о допустимых минимальных и максимальных напряжениях на входе путевого приемника Uпп в условиях эксплуатации. Минимальное значение Uпп min в графе 10 соответствует порогу срабатывания приемника типа ППМ (0,7 В), взятому с запасом (Кз = 1,15). В графе 10 приведено значение максимально допустимого значения рабочего напряжения на входе путевого приемника, при котором гарантируется выполнение режимов работы БРЦ и зона дополнительного шунтирования не менее 12 м.
В графе 11 приведены значения напряжения Uпп рек, соответствующие нормативному сопротивлению балласта (2,0 Ом. км) и минимальному напряжению в сети питания. Эти напряжения рекомендуется устанавливать при регулировке рельсовых цепей. Если длины БРЦ, питаемых от одного генератора, не одинаковы, то напряжение на входе приемника РЦ большей длины может быть меньше рекомендуемого значения.
Напряжение на входе путевого приемника является основным нормативным значением, подлежащим регулированию. Значения напряжений Uген и Uф (соответственно графы 4 и 5) служат для оценки исправности цепи передачи сигнала.
Дальнейшая регулировка БРЦ и проверка выполнения ею режимов работы выполняются аналогично БРЦ на аппаратуре второго поколения.
5. Кабельная сеть
Для соединения станционной аппаратуры рельсовых цепей с напольными устройствами применяется симметричный сигнально-блокировочный кабель с парной скруткой жил. Сопротивление двухпроводной цепи должно быть не более 60 Ом/км, емкость между жилами не более 0,1 мкФ/км.
Для исключения опасного влияния вследствие различного рода повреждений в кабеле (обрыв жил, нарушение изоляции между ними и каждой из жил по отношению к оболочке кабеля, замыкание жилы на землю) используется устройство контроля кабельных цепей. Указанные влияния незначительны, если длина кабеля не превышает 2 км, и включение устройства контроля кабельных цепей не требуется. В связи с этим кабельная линия организуется из четырех кабелей по два для передающих и приемных концов РЦ, из которых кабели длиннее 2 км контролируются, а менее 2 км - эксплуатируются без устройства контроля кабельных цепей.
Устройство контроля кабельных цепей осуществляет непрерывную проверку состояния изоляции жил кабеля с отключением передающей аппаратуры РЦ в случае обрыва, одно - или двухполюсного замыкания цепей между собой и через оболочку кабеля, а также при замыкании жилы на землю. После выявления и устранения повреждения устройство автоматически переходит в исходное рабочее состояние.

Рис.3.5 Схема контроля исправности кабельных цепей
Схема (рис.3.5) предназначена для контроля исправности четырех питающих (передающих) и четырех релейных (приемных) кабельных цепей. Имеются две идентичные схемы контроля, в одну из которых включены питающие цепи, а в другую - релейные. Каждая из них состоит из последовательно соединенных источника питания, в качестве которого используется блок БВ (БВ3), и контрольных реле, включенных между контролируемыми цепями. Одно из крайних контрольных реле (11-13 ПКЛ или 13-15 РКЛ) подключено между контролируемой цепью и заземлителем, а другое (НПКЛ или НРКЛ) - между кабельной цепью и одним из полюсов блока питания. Основное назначение реле НПКЛ и НРКЛ - не нарушать симметрию первых по схеме кабельных цепей.
Контрольные реле АНШ 2-1230 предназначены для фиксирования (через отпускание якоря) снижения напряжения на обмотках вследствие какой-либо неисправности в кабельной цепи. Это реле выбрано из-за наличия в его характеристиках нормированных граничных значений напряжения отпускания якоря 1,7-2,8 В при напряжении полного притяжения якоря 7,0 В. Количество реле, обеспечивающих контроль жил одного кабеля, превышает число контролируемых кабельных цепей (пар жил) на 1, что обусловлено введением реле НПКЛ и НРКЛ в цепи контроля кабелей соответственно питающего и релейного концов. При исправном состоянии кабельных цепей контрольные реле возбуждены, получая питание от блока БВ через контролируемые цепи и резисторы R1 - R3 в питающем кабеле и резисторы R4 - R6 в релейном. Возбуждено также и общеконтрольное реле НКЛ через фронтовые контакты всех контрольных реле ПКЛ и РКЛ. На табло дежурного по станции горит ровным светом белая контрольная лампа. Резисторы R1 - R6 типа МЛТ-2 предназначены для снижения напряжения на обмотках контрольных реле в режиме контроля до значения, превышающего верхнее значение напряжения отпускания якоря этого типа реле (2,8 В) на 30%, что составляет 3,64 В при контрольном токе 2,96 мА, обтекающем кабельные цепи. В режиме запуска, когда резисторы R2, R3, R5 и R6 зашунтированы тыловыми контактами реле НКЛ, напряжение на каждом из контрольных реле должно быть выше напряжения полного притяжения якоря этих реле (7 В) на 25%, что составляет 8,75 В. Для достижения указанных значений напряжений на обмотках контрольных реле ПКЛ и РКЛ сопротивления резисторов R1 - R6 подбираются для каждой конкретной схемы контроля кабельных цепей.
Фронтовыми контактами общеконтрольных реле замыкается цепь питания генераторов рельсовых цепей.
В случае повреждения любой из кабельных цепей, например при размыкании или замыкании ее с другой цепью или землей, отпускают якоря (одно или сразу несколько) соответствующие реле, которые отключают питание общеконтрольного реле. В случае размыкания кабельной цепи контрольные реле лишаются питания, и на табло загорается в мигающем режиме контрольная красная лампа. При сообщении между жилами или понижении сопротивления изоляции между ними и землей лишается питания одно или несколько контрольных реле, включенных между цепями, реле НПКЛ и НРКЛ остаются под током. На табло мигает белая лампа.
Общеконтрольное реле НКЛ, которое с замедлением отпускает якорь, переводит устройство контроля в режим запуска, шунтируя контактами резисторы R2, R3, R5 и R6. Для получения замедления на отпускание якоря реле НКЛ используется типовой блок БКР-76, который подключается параллельно обмоткам реле. Соответствующими перемычками на блоке обеспечивается включение конденсатора С емкостью 1000 мкФ и резистора R сопротивлением 51 Ом для получения времени замедления примерно 1 с.
Питающие трансформаторы НТПК и НТРК типа ПТ-25А или ПОБС-3АУ3 обеспечивают преобразование напряжения сети переменного тока 220 В в напряжение нужного значения на входах блоков питания цепей контроля кабельных жил питающего и релейного концов рельсовых цепей.
В общем случае при монтаже кабельной линии и различных переключениях в ней должны исключаться случаи соединений жил одной пары с жилами других пар (распаривание). После окончания работ в кабельной сети, связанных с переключением пар, необходимо провести проверку правильности их выполнения в следующем порядке: проверить изоляцию жил кабеля; подключить к кабелю входы приемных устройств всех рельсовых цепей в соответствии с проектом; исключить передачу сигналов АРС (изъятием предохранителя в цепи питания блока усилителя или другим способом); подключить выход одного передающего устройства рельсовой цепи к соответствующей по проекту паре кабеля, при этом путевые реле свободных рельсовых цепей, к которым подключено передающее устройство, должны встать под ток, а путевые реле других рельсовых цепей остаться без тока; выполнить аналогичные проверки для передающих устройств других рельсовых цепей. Если возбуждение путевых реле происходит только от передающего устройства собственной рельсовой цепи, то кабельная магистраль может быть включена в эксплуатацию. В противном случае должны быть приняты меры по исключению неправильных соединений в кабеле.
6. Наложение кодовых сигналов АРС
Применение бесстыковых рельсовых цепей исключает возможность посылки кодовых сигналов АРС в хвост поезду (ДАУ-АРС), поскольку они могут быть восприняты идущим сзади поездом. Для БРЦ наиболее приемлемым решением является использование системы "Днепр",
в которой кодовые сигналы АРС, несущие информацию о допустимой скорости движения на данной и последующей РЦ, передаются в голову поезда с момента занятия БРЦ. Для формирования кодовых сигналов (КС) в системе "Днепр" используются одновременно две частоты переменного тока. В табл.3.3 приведено распределение кодовых сигналов и сигнальные показания на пульте машиниста, соответствующие этому распределению.
В двухчастотном КС более низкая частота несет информацию о текущем (основном) значении допустимой скорости, более высокая - предупредительную информацию об ожидаемом значении допустимой скорости на следующей РЦ. Если эта скорость равна или больше значения основной допустимой скорости, то в качестве второй сигнальной частоты используется частота 325 Гц. На пульте машиниста в этом случае горит лампа РС (равенство скоростей). Таким образом, машинист предупреждается лишь о необходимости снижения скорости к следующей по ходу движения РЦ или имеет информацию о равенстве скоростей.
Таблица 3.3
| Индекс КС | Частота, Гц | Сигнальное показание, км/ч | ||
| основная | предупредит | основное | предупредит | |
| 16 | 75 | 325 | 80 | РС(80) |
| 12 | 125 | 70 | ||
| 13 | 175 | 60 | ||
| 14 | 225 | 40* | ||
| 15 | 275 | 0* | ||
| 26 | 125 | 325 | 70 | РС(70) |
| 23 | 175 | 60 | ||
| 24 | 225 | 40 | ||
| 25 | 275 | 0* | ||
| 36 | 175 | 325 | 60 | РС(60) |
| 34 | 225 | 40 | ||
| 35 | 275 | 0 | ||
| 44 | 225 | 225 | 40 | - |
| 45 | 275 | 0 | ||
| 46 | 225 | 325 | 40 | РС(40) ** |
| 1 | 75 | - | 40 | - |
| 2 | 125 | - | - | |
| 3 | 175 | - | - | |
| 4 | 225 | - | - | |
| 6 | 325 | - | ||
| 5 | 275 | - | 0 | - |
* - не используется
** - признак направления
Для передачи кодового сигнала направления (КС-Н) используется комбинация сигнальных частот 225 и 325 Гц. При этом она несет информацию о допустимой скорости 40 км/ч. На поезде сигнал направления дешифрируется и фиксируется, если машинист находится в том вагоне поезда, в сторону которого в рельсовую линию передается КС-Н.
Кодовый сигнал направления передается в рельсовую линию только перед светофором полуавтоматического действия на станциях с путевым развитием с момента задания маршрута и открытия светофора, а также кратковременно или постоянно с момента занятия РЦ перед выходным светофором на промежуточной станции.
Поскольку с потерей одной из двух сигнальных частот достоверность принятой информации снижается, то все одиночно принимаемые сигналы разрешающей частоты (кроме 275 Гц) дешифрируются как сигнал о допустимой скорости 40 км/ч.
Сигнальные частоты АРС формируются групповыми устройствами, в которых содержатся шесть групповых и один резервный комплекты аппаратуры (рис.3.6). Каждый комплект включает в себя генератор G типа ПГ-АЛСМ, усилитель У типа ПУ-2, выходной трансформатор ВТ типа ПТЦ, фильтр Ф типа ФП-АЛСМ и контрольное реле К типа АНВШ2-2400 с мостовой схемой выпрямления и последовательно соединенными обмотками.
Каждый из генераторов в основных комплектах настраивается на одну из шести сигнальных частот 75, 125, 175, 225, 275 или 325 Гц, а генератор резервного комплекта PG - на частоту 275 Гц. С выхода генератора сигнал подается на вход усилителя У и далее на выходной трансформатор ВТ.
Фильтры Ф1 - Ф6, РФ выделяют основную гармонику усиленного сигнала, который поступает на их входы с трансформатора ВТ, и обеспечивают с контрольными реле 1К - 6К, РК контроль вырабатываемой соответствующими генераторами частоты и значения сигнала. В основных комплектах фильтр настроен постоянно на частоту генератора, к которому он подключен. Фильтр РФ резервного комплекта перестраивается одновременно с генератором PG посредством схемы настройки, выполненной на контактах контрольных реле 1К - 6К. Если какое-нибудь из контрольных реле отпускает якорь, его контакты перестраивают резервный генератор и фильтр на соответствующую частоту и подключают к требуемой сигнальной шине, отключив от нее неисправный комплект. При одновременной неисправности двух комплектов замещается комплект, обеспечивающий передачу сигнала о более высокой допустимой скорости движения, поэтому отказ не окажет существенного влияния на пропускную способность линии.

Рис.3.6. Схема передачи сигнальных частот АРС от групповых устройств в индивидуальное передающее устройство
Шины сигнальных частот Ш75, Ш125, Ш175, Ш225, Ш275 и Ш325 подключаются к аппаратуре их формирования через цепи аварийного переключения основной и резервной аппаратуры. Сигнал от групповых комплектов через устройство формирования кодовых сигналов ФКС и цепи выбора частот ЦВЧ поступает на вход индивидуальных передающих устройств АРС ИПУ каждой БРЦ. Устройство ФКС обрабатывает информацию о поездном положении по состоянию путевых реле, функционировании групповых устройств по состоянию контрольных реле и в соответствии с этим вырабатывает управляющий сигнал для ИПУ, определяя частотный состав, время и адрес посылки кодового сигнала. В состав ФКС входят повторители путевых реле, управляющие реле по допустимым скоростям движения поезда (80, 70, 60 и 40 км/ч), реле фиксации хвоста поезда и реле сравнения допустимых скоростей.
Цепи ЦВЧ построены на контактах реле устройства ФКС. Они обеспечивают подключение в нужный момент времени входа ИПУ к групповой шине сигнальной частоты, которая соответствует поездной ситуации и режиму работы (формирование основной или предупредительной сигнализации).
Индивидуальное передающее устройство ИПУ обеспечивает передачу сигнальной частоты АРС в рельсовую линию. В состав ИПУ входят путевой усилитель У типа ПУ-1, выходной трансформатор ВТ типа ПТЦ и путевой фильтр Ф типа ФП-АЛСМ. Наложение сигналов АРС на БРЦ выполняют подключением аппаратуры передающих устройств АРС к рельсовой линии через питающие и приемные концы БРЦ. Выходы путевых фильтров АРС, с которых снимаются сигналы, соединяют последовательно на питающем конце РЦ с выходом путевого фильтра БРЦ, а на приемном - со входами путевых приемников.
По управляющему сигналу устройства ФКС сигнальная частота АРС поступает от групповой шины через цепи ЦВЧ на вход индивидуального усилителя и далее на выходной трансформатор и фильтр. Для передачи сигнальной частоты в рельсовую линию используют выходные выводы 42-21 фильтра. Емкостный выход фильтра обеспечивает согласование передающих устройств АРС с аппаратурой БРЦ и кабельной линией.
Регулировку сигнала АРС для обеспечения его нормативного уровня в рельсовой линии осуществляют в соответствии с регулировочными таблицами, изменяя число витков вторичной обмотки выходного трансформатора.
Устройство ИПУ включается в режим работы предупредительной сигнализации с момента вступления поезда на предыдущую БРЦ и переключается в режим основной сигнализации с момента занятия данной БРЦ. При свободных данной и предыдущей БРЦ кодовые сигналы в рельсовую линию не передаются.
7. Способы отыскания и устранение неисправностей
Чтобы определить в БРЦ место отказа, используют способ последовательного поиска с учетом особенности БРЦ, заключающийся в том, что питание смежных БРЦ, как правило, осуществляется от общего питающего конца, а приемники смежных БРЦ включаются последовательно в одну сигнальную пару.
Ложная занятость двух смежных БРЦ, имеющих общий питающий конец, может быть вызвана неисправностью в наиболее вероятном месте повреждения - на питающем конце. Необходимо измерить напряжение на кроссовом выводе питающего конца, не изымая дужек. При этом следует пользоваться селективным прибором или исключить подачу кодовых сигналов АРС с питающего конца. Если измеренное напряжение равно выходному напряжению путевого фильтра, указанному в карточке БРЦ, то причиной отказа является обрыв кабельной линии или неисправность в путевом ящике питающего конца. Если напряжение на кроссовом выводе близко к "0", то необходимо воспользоваться имитатором нагрузки питающего конца (первичная обмотка трансформатора ПОБС-2А с резистором сопротивлением 0,6 Ом, подключенным к выводам II3-III3 при перемычке II4-III1), который подключается к монтажным гнездам кроссового статива. При этом дужки изымаются. Если напряжение на нагрузке равно выходному напряжению путевого фильтра, то неисправностью является короткое замыкание в кабельной линии. Если напряжение на нагрузке близко к "0", то неисправность находится в релейном помещении, и отказ следует искать методом последовательных измерений на элементах питающего конца.
Если выявлена ложная занятость только одной БРЦ, то наиболее вероятным местом повреждения является рельсовая линия или путевой приемник.
При ложной занятости двух смежных БРЦ, имеющих общий приемный конец, неисправность следует искать в соединительном кабеле или в схеме приемного конца. Для локализации места неисправности лучше всего воспользоваться имитатором нагрузки приемного конца (резистор МЛТ-2 сопротивлением примерно 200 Ом), который включается в гнезда кроссового статива, со стороны кабельной линии, при этом дужки релейного конца изымаются. Если напряжение на нагрузке не менее 1,5 В, то кабельная линия исправна и отказ следует искать в релейном помещении. В противном случае, если напряжение на нагрузке близко 0, то неисправностью является обрыв кабельной линии или большое переходное сопротивление в монтаже в путевом ящике релейного конца.
Неисправность поездных устройств АРС при нормальной работе БРЦ обнаруживается по реакции поездных устройств АРС. Для поиска неисправности необходимо проверить наличие напряжения питания на выводах 1-2 путевого усилителя сигналов АРС, оно должно быть 16,7-18,4 В. Выходное напряжение усилителя (выводы 3-4) при передаче сигнала АРС должно быть не менее 25 В.