| Скачать .docx |
Дипломная работа: Анализ эксплуатации автомобильного парка на автотранспортном предприятии АО Ульяновск-транссервис
Содержание
Введение
1. Анализ эксплуатации автомобильного парка
1.1 Характеристика грузового автотранспортного предприятия АО «Ульяновск-транссервис»
1.2 Эксплуатационные показатели работы предприятия
1.3 Количественный и качественный состав водителей
1.4 Характеристика производственно-технической базы предприятия
1.5 Характеристика технического обслуживания автомобилей
1.6 Анализ оснащённости оборудованием зон и участков автотранспортного предприятия
1.7 Оценка оснащённости технологическим оборудованием в зонах и на участках
2. Совершенствование технического обслуживания грузовых автомобилей
2.1 Организационная структура технической службы АТП
2.2 Технологический процесс производства
2.3 Диагностирование автомобилей
2.3.1 Виды диагностирования
2.3.2 Характеристика зоны диагностики
2.3.3 Организация диагностирования автомобилей
2.4 Техническое обслуживание автомобилей
2.4.1 Виды технического обслуживания и их характеристика
2.4.2 Режимы видов технического обслуживания и их корректирование
2.4.3 Периодичность технического обслуживания
2.5 Расчёт производственной программы комплекса технического обслуживания
2.6 Расчёт трудоёмкости технического обслуживания и ремонта
2.6.1 Составление годового плана-графика проведения технического обслуживания и ремонта
2.7 Расчёт необходимого количества ТСМ для выполнения транспортных работ
2.7.1 Расчёт потребного количества дизельного топлива и бензина
2.7.2 Расчёт потребного количества дизельного топлива по нормам
2.7.3 Расчёт потребного количества смазочных материалов
2.8 Технологический расчёт производственного комплекса
2.8.1 Расчёт зоны ТО-1
2.8.2 Расчёт зоны ТО-2
2.8.3 Расчёт зоны текущего ремонта
2.8.4 Расчёт обслуживающего персонала линии диагностики
2.9 Оснащённость рабочих мест инструментом и приспособлениями
2.9.1 Разработка рабочих мест зоны технического обслуживания ТО-1
2.9.2 Разработка рабочих мест зоны технического обслуживания ТО-2
2.10 Расчёт производственной программы уборочно-моечных работ
2.11 Расчёт вспомогательных трудовых затрат по предприятию
3. Конструкторская разработка.
3.1 Анализ существующих конструкций
3.2 Устройство и принцип работы подъемника
3.3 Технологические расчеты
3.3.1 Определение усилия необходимого на подъем тележки
3.4 Прочностные расчёты
3.4.1 Расчёты на прочность основных оборотных единиц
3.5 Правила эксплуатации подъемника
3.6 Экономическое обоснование конструкторской разработки
4. Безопасность и экологичность проекта
4.1 Безопасность проекта
4.1.1 Анализ состояния безопасности труда на автотранспортном предприятии «Ульяновск-транссервис»
4.1.2 План мероприятий по улучшению условий и охраны труда на грузовом автотранспортном предприятии «Ульяновск-транссервис»
4.1.3 Расчёт искусственной вентиляции СПТО
4.2 Экологичность проекта
5. Технико-экономическое обоснование проекта
5.1 Эффективность организационно-технических мероприятий по методике Центравтотех
5.2 Расчёт основных производственных фондов
5.3 Расчёт экономической эффективности от внедрения мероприятий, предусмотренных проектом
Выводы
Литература
Приложения
Введение
Автомобильный транспорт нашей страны в настоящее время является одним из основных мобильных средств транспортирования грузов. На долю автотранспорта общего назначения приходится около 60 % всего грузооборота России [20].
В задачи инженерной службы входит укрепление материально-технической базы, повышение концентрации транспортных средств в крупных автомобильных хозяйствах, улучшение технического обслуживания и ремонта, укрепление ремонтной базы и повышение организации работ по техническому обслуживанию и ремонту машин.
Весь комплекс работ по обеспечению технически исправного состояния подвижного состава состоит из технического обслуживания и ремонта.
Техническое обслуживание предназначено для:
- поддержания подвижного состава в работоспособном состоянии и надлежащем внешнем виде;
- снижения интенсивности изнашивания деталей;
- предупреждения внезапных отказов и неисправностей;
- выявления неисправностей для их своевременного устранения.
Техническое обслуживание имеет профилактический характер, оно выполняется принудительно в порядке по мере выполнения определённого объёма работ (пробег, время работы подвижного состава). Возрастающее значение при ТО и ремонте приобретает диагностика, которая позволяет получать объективную оценку технического состояния, выявить неисправности агрегатов и узлов подвижного состава и установить способы их устранения, не подвергая агрегаты разборке.
Диагностика при ТО позволяет выявить фактическую потребность в выполнении трудоёмких работ, необходимость в которых возникает не при каждом обслуживании.
Расширению масштабов применения диагностики способствует её эффективность, создание и промышленный выпуск для этого соответствующего оборудования и приборов, а также результаты научного усовершенствования методов диагностики.
Профилактические и ремонтные воздействия преследуют одну и ту же цель – обеспечение технически исправного состояния подвижного состава. При этом цель должна достигаться при минимальных трудовых и материальных затратах, приходящихся на единицу произведённой транспортной работы.
Уровень затрат зависит от многих факторов: типа подвижного состава и его пробега с начала эксплуатации, дорожно-климатических условий эксплуатации, квалификации водителей, мощности автотранспортного предприятия и его материально-технической базы и др.
Однако при прочих равных условиях важнейшим фактором, от которого зависит уровень суммарных материальных и трудовых затрат на техническое содержание подвижного состава, является соотношение профилактических и ремонтных воздействий. Например, уменьшение затрат на выполнение профилактических воздействий могло бы быть обеспечено вследствие уменьшения периодичности технических обслуживаний. Однако, это вызывает более частую потребность в текущем ремонте и, следовательно, заметный рост затрат на текущий ремонт. При этом необходимо отметить, что ремонтные воздействия в силу специфики их выполнения (большая трудоёмкость, высокая квалификация исполнителей, использование запасных частей, применение сложного оборудования и др.) обходятся дороже, чем профилактические. Поэтому затраты на них в автотранспортных предприятиях, как правило, выше, чем профилактические в два и более раза.
Цель данного проекта заключается в анализе существующей организации ТО и текущего ремонта подвижного состава в предприятиях, разработка конкретных мероприятий, позволяющих повысить коэффициент технической готовности парка и расчёта оптимальных для данного предприятия периодичности технических обслуживаний и ремонтов, что позволяет успешнее выполнять поставленные предприятием плановые задания с минимальными трудовыми и материальными затратами.
1. АНАЛИЗ ЭКСПЛУАТАЦИИ АВТОМОБИЛЬНОГО ПАРКА
1.1 Характеристика грузового автотранспортного предприятия АО «Ульяновск-транссервис»
Город Ульяновск Ульяновской области, в котором расположено автотранспортное предприятие (АТП), относится к центральной климатической зоне с умеренным температурным режимом. Климат резко континентальный с температурой в зимнее время до минус 30 о С и летом – до плюс 35 о С. Продолжительность безморозного периода составляет 120…130 дней. Заморозки в воздухе заканчиваются во второй декаде мая месяца, первые заморозки наблюдаются в третьей декаде сентября. Годовая сумма осадков – около 400 мм.
Хранение автомобилей осуществляется в закрытом отапливаемом помещении, а прицепов – на открытой стоянке предприятия. Категория условий эксплуатации, характеризующая условия работы автомобилей, колеблется в зависимости от вида выполняемых работ между I и II.
Подвижным составом АТП выполняются транспортные перевозки, обеспечивающие производственную деятельность АК «Волга-Днепр», а также перевозится сырьё для предприятий г. Ульяновска и Ульяновской области, реализуемая продукция фабрик и заводов, строительные материалы, обслуживаются предприятия торговли и питания, работают, осуществляются междугородние перевозки.
Таблица 1.1 Структурный состав автомобильного парка
| Марка |
Кол–во, шт. |
Грузоподъёмность, кг |
Годовая наработка 1 авт-ля, тыс. км |
Наработка с начала эксплуатации, тыс. км |
| 1 |
2 |
3 |
4 |
5 |
| МАЗ – 64229 |
16 |
35700 |
90 |
440 |
| МАЗ – 64229(нов) |
3 |
35700 |
90 |
150 |
| ЗИЛ - 433100 |
1 |
6000 |
85 |
28 |
| ЗИЛ – 433512 |
4 |
5000 |
60 |
570 |
| ЗИЛ – 431410 |
2 |
6000 |
75 |
670 |
| ГАЗ – 2705 (Газель) |
1 |
1500 |
65 |
29 |
| ГАЗ – 2703 (Газель) |
2 |
2009 |
75 |
260 |
Анализируя состав автомобильного парка, следует отметить, что средний возраст автомобилей составляет 4,15 года. Это говорит о том, что подвижной состав автохозяйства достаточно «молодой», его обновление производится регулярно.
Ориентация технического обслуживания и текущего ремонта на предприятии осуществляется на обслуживание автомобилей семейства МАЗ, которые составляют 65,5 %, ЗИЛ – 24 %, ГАЗ – 10,5 %.
1.2 Эксплуатационные показатели работы предприятия
Предприятие осуществляет перевозки общехозяйственных грузов всех классов, с доведёнными плановыми заданиями; как по объёму перевозок, так и по грузообороту справляется почти ежемесячно. Однако бизнес-план грузоперевозок по обслуживаемой зоне в объёмном показателе выполняется далеко не по всем клиентам, что объясняется большой отдалённостью предприятий от пунктов снабжения и реализации, также отвлечением на неплановую клиентуру и в не меньшей степени – недостатка подвижного состава.
Основные эксплуатационные показатели использования автопарка представлены в таблице 1.2.
Таблица 1.2 Эксплуатационные показатели автопарка
| Наименование показателя |
Годы |
||
| 2007 |
2008 |
2009 |
|
| 1 |
2 |
3 |
4 |
| Среднесписочное количество автомобилей, ед. |
27 |
27 |
29 |
| Общая грузоподъёмность, т |
714,3 |
714,3 |
721,8 |
| Простои в ремонте, автомобиле-дни |
1072 |
1258 |
1483 |
| Коэффициент технической готовности |
0,745 |
0,715 |
0,670 |
| Коэффициент выпуска парка |
0,742 |
0,708 |
0,629 |
| Режим работы, ч |
9,6 |
9,6 |
9,8 |
| Коэффициент использования пробега |
0,91 |
0,94 |
0,89 |
| Коэффициент использования грузоподъёмности |
1,044 |
0,975 |
0,950 |
| Среднесуточный пробег, км |
300 |
283 |
276 |
| Среднее расстояние перевозок, км |
364 |
255 |
254 |
| Перевезено груза, тыс. т |
2,078 |
3,390 |
3,515 |
| Годовой объём работ, тыс. т.км |
4 292 728 |
7 000 756 |
8 436 537 |
Среднесуточный пробег рассчитывается по формуле:
км,(1.1)
где: Nрд – количество дней работы автомобиля в году;
Lc г – средняя годовая наработка по всем автомобилям, рассчитываемая как средневзвешенное значение по формуле:
тыс. км,(1.2)
где Lсг – среднегодовой пробег автомобиля i -й марки, тыс. км;
ni – количество автомобилей i -й марки.
Для 2008 года:
тыс. км,
км
Режим работы автомобилей на предприятии составляет 9,6 часов, однако это достигнуто в основном за счёт превышения норм рабочего времени водительского состава, что недопустимо в соответствии с конституционным законодательством об охране труда.
Организация работы автомобилей в 2 –х сменном режиме проводится слабо. Большое количество водителей привлекается к обслуживанию и ремонту автомобилей.
Эксплуатационной службой проводится определённая работа по использованию автомобилей в обоих направлениях, коэффициент использования пробега на протяжении нескольких лет сохраняется в пределах близких к 0,9, однако эта работа сводится лишь к удержанию достигнутого, а не дальнейшего увеличения названного показателя.
Предприятие имеет автомобили в основном автомобили большой грузоподъёмности (МАЗ-6422 – фургоны с полуприцепами). Среди автомобилей средней грузоподъёмности – в основном фургоны и бортовые автомобили. Прицепной парк достаточно велик. Для внутрихозяйственных доставок в подвижной состав включены грузовые автомобили малой грузоподъёмности марки «Газель» (около 10 %. Коэффициент использования грузоподъёмности на предприятии удерживается близким к 1,0. Это свидетельствует о хорошем использовании подвижного состава. Однако имеющие место случаи перегруженного состояния транспортного средства ведут к аварийному износу техники и значительному снижению безопасности движения.
Анализируя выполнение бизнес-планов грузоперевозок по месяцам, необходимо отметить, что объём грузоперевозок распределён в течение года достаточно равномерно, чтобы утверждать об отсутствии какой-либо сезонности в выполнении транспортных работ. Некоторое отклонение объёма выполненных работ от среднего значения связано в основном с состоянием дорог (преимущественно в зимний период).
Анализируя структурный состав парка необходимо отметить, что обновление подвижного состава различной грузоподъёмности происходит равномерно, что стабилизирует показатель средней грузоподъёмности подвижного состава, а также положительно влияет на такие показатели, как коэффициент технической готовности и коэффициент выпуска парка.
Однако, не смотря на это на предприятии достаточно велики простои неисправных автомобилей из-за недоработки технической службы в плане организации плановых мероприятий, связанных с ремонтно-обслуживающими воздействиями.
Данные по количеству простоев за последние три года представлены в таблице 1.3.
Таблица 1.3 Количество дней простоев автомобилей на обслуживании и ремонте
| Марка автомобилей |
Количество авт-лей данной марки |
Количество простоев |
|||||
| 2007 г. |
2008 г. |
2009 г. |
|||||
| На 1 авт-ль |
Всего по марке |
На 1 авт-ль |
Всего по марке |
На 1 авт-ль |
Всего по марке |
||
| МАЗ – 64229 |
16 |
50 |
800 |
60 |
960 |
65 |
1040 |
| МАЗ – 64229 |
3 |
--- |
--- |
--- |
--- |
17 |
51 |
| ЗИЛ - 433100 |
1 |
--- |
--- |
--- |
--- |
45 |
135 |
| ЗИЛ – 433512 |
4 |
48 |
192 |
52 |
208 |
56 |
224 |
| ЗИЛ – 431410 |
2 |
40 |
80 |
42 |
84 |
43 |
86 |
| ГАЗ – 2705 (Газель) |
1 |
--- |
--- |
--- |
--- |
10 |
10 |
| ГАЗ – 2703 (Газель) |
2 |
--- |
--- |
10 |
20 |
12 |
24 |
Как видно из таблицы, количество простоев ежегодно возрастает.
Простои в ремонте увеличиваются по следующим причинам:
- несоблюдение периодичности техобслуживания (превышение пробега до очередного ТО достигает 2-х и более кратного значения);
- некачественное проведение работ, предусмотренных плановыми воздействиями по техническому обслуживанию (ТО), и текущих ремонтов (ТР), особенно – при вынужденном ремонте в полевых условиях, что приводит к интенсивному износу и преждевременным отказам подвижного состава и массовой постановке автомобилей на текущий ремонт.
Представленные данные (см. табл. 1.2) показывают, что за период последних трёх лет значение коэффициента выпуска парка падает с 0,742 до 0,629.
Исходя из вышеизложенного, для более эффективного выполнения планов грузоперевозок необходимо некоторое улучшение организации процесса технического обслуживания и текущего ремонта подвижного состава.
1.3 Количественный и качественный состав водителей
Автотранспортное предприятие специализируется на междугородных перевозках. При этом задействованы в основном автомобили высокой грузоподъёмности. В связи с этим важное значение имеет классность и стаж водителей.
Среднесписочный состав водителей на момент декабря 2009 года – 29 человек. В том числе:
- водителей I класса25 человек;
- водителей II класса4 человека;
- водителей III классанет;
По стажу работы контингент водителей распределяется следующим образом:
- до 5 лет2 человека;
- от 5 до 10 лет2 человека;
- от 10 лет и выше25 человек.
Оценка классности водительского состава по бальной системе определяется с помощью формулы:
(1.3)
где: Б i – балл данной классности:
– I класс – 5 баллов,
– II класс – 4 балла,
– III класс – 3 балла,
ni – количество водителей данной классности, чел.
Б max = 5 – максимальный балл;
n общ – общее количество водителей, чел.
![]()
Оценка стажа водительского состава по балльной системе:
(1.4)
здесь:Б i – балл данного стажа:
– свыше 10 лет – 5 баллов,
– от 5 до 10 лет – 4 балла,
– менее 5 лет – 3 балла,
ni – количество водителей данного стажа, чел.
Б max = 5 – максимальный балл;
n общ – общее количество водителей, чел.
![]()
Коэффициент классности водителей предприятия находится на очень высоком уровне. Это достигается за счёт классности водителей со значительным стажем , о чём свидетельствует коэффициент стажа, равный 0,96.
1.4 Характеристика производственно-технической базы предприятия
Предприятие имеет собственную ремонтную мастерскую, площадь которой составляет 2088 м2 , в том числе: площадь зон ТО и ТР – 1800 м2 , площадь вспомогательных цехов и участков – 288 м2 .
В ремонтной мастерской имеется 8 ремонтных канав на 8 машино-мест, в том числе:
– для проведения ТО-1 – 2 канавы, 2 машино-места;
– для проведения ТО-2 – 3 канавы, 3 машино-места;
– для проведения ТР – 3 канавы, 3 машино-места;
Для проведения операций по техническому обслуживанию имеется в наличии оборудование, представленное в таблице 1.4.
Таблица 1.4 Оборудование для проведения технического обслуживания
| Наименование оборудования |
Количество |
| Напольный гайковёрт |
1 |
| Гайковёрт для гаек колёс |
2 |
| Тележка для снятия и перевозки колёс |
2 |
| Солидолонагнетатель |
2 |
| Съёмник КПП |
0 |
| Подъёмник для снятия колёс |
1 |
| Подъёмник ПТ-20 |
2 |
Для мойки автомобилей перед постановкой на ТО или ТР имеются две открытые летние шланговые мойки.
Из подъёмно-транспортных механизмов имеются 1 кран-балка и 1 электро-тельфер.
В ремонтной мастерской установлены металлообрабатывающие станки, структурный и количественный состав которых представлен в таблице 1.5.
Таблица 1.5 Оборудование для проведения технического обслуживания
| Наименование станков |
Количество |
| Токарно-винторезные |
2 |
| Кругло-шлифовальные |
1 |
| Плоскошлифовальные |
0 |
| Сверлильные |
2 |
| Фрезерные |
0 |
| Расточные |
1 |
| Настольно-сверлильные |
1 |
| Заточные |
1 |
Сварочный участок имеет 1 пост электросварки на переменном токе и 1 пост газовой сварки.
Кузнечное отделение отсутствует. Для подкачки шин и продувочных работ имеется электрическая компрессорная установка. Мойка для мойки двигателей и агрегатов отсутствует. Для проверки и регулировки электрооборудования имеется стенд КИ-968. Шинный участок отсутствует. Организованы аккумуляторный и инструментальный участок с соответствующим оборудованием.
1.5 Характеристика технического обслуживания автомобилей
Техническое обслуживание на предприятии производится самими водителями и (при выполнении ТО-2) слесарями по ТО в соответствии с заявками, выписываемыми на контрольно-техническом пункте (КТП) механиком КТП.
Отдел технического контроля на предприятии отсутствует. Ответственными за постановку автомобилей на ТО являются начальники колонн. Заявка поступает заведующему авторемонтной мастерской (АРМ), который направляет слесарей в ту или иную зону технического обслуживания. После проведения ТО в заявке указывается исполнитель, и заявка поступает к заведующему АРМ для регистрации в лицевой карте автомобиля о проведённом обслуживании.
При существующем положении проведение ТО на предприятии постоянно не соблюдается периодичность обслуживания, превышение нормы пробега до очередного воздействия составляет 1,3 раза и более.
Первичной документацией по учёту пробега является путевой лист, а данные путевого листа в лицевые карты автомобиля заносятся с большим запозданием.
Вопреки требованиям по организации технического обслуживания в АРМ отсутствуют контрольные осмотры автомобилей, прошедших обслуживание, со стороны отдела технического контроля (ОТК). В результате работы по ТО производятся некачественно и не в полном объёме.
Как правило, на ТО-1 направляются автомобили с сопутствующим ремонтом, из-за чего автомобили простаивают в зоне ТО-1 до суток и более, нарушая ритм ремонтного производства. Отсутствие централизованного поста сдерживает производительность труда ремонтных рабочих. Дозаправка, смена моторных и трансмиссионных масел производится примитивными средствами, что способствует потерям ценных нефтепродуктов, нарушению санитарных норм, противопожарных требований, а также требований охраны труда в целом. Кроме того, такая организация труда препятствует нормальному сбору отработанных масел для их регенерации и повторного использования.
При наличии кран-балки в зоне ТО-2 отсутствуют средства малой механизации. Так например, коробка перемены передач и редуктор заднего моста автомобилей ЗИЛ снимаются вручную, что небезопасно для рабочих, выполняющих демонтаж и монтаж этих агрегатов.
Реконструкция имеющихся производственных площадей – зон ТО и участков ремонта – на предприятии в ближайшие 5 лет не намечается. При этом в зоне ТО-2 на 1 машино-место естественное освещение значительно ниже допустимых норм, имеющееся искусственное освещение выполнено без учёта нормативов, оговаривающихся санитарными нормами и правилами (СанПиН).
Искусственная вентиляция в зоне ТО-2 отсутствует, хотя технология проведения ТО-2 предполагает осуществление регулировок двигателя, в том числе – работающего. Это – также нарушение требований техники безопасности.
Итак, слабая организация технического обслуживания и ремонта подвижного состава проявляется прежде всего в следующем:
- отсутствие норм времени ТО и ТР непосредственно на участках;
- отсутствие знаний о нормах времени ТО и ТР у исполнителей этих видов работ;
- недостаточный уровень механизации;
- отсутствие службы технического контроля, слабый контроль инженерно-технических работников (ИТР) ремонтной мастерской за ходом ТО и ремонта;
- несоблюдение отдельных требований техники безопасности, в частности - недостаточная освещённость производственных помещений и отсутствие искусственной вентиляции в зоне ТО.
Учитывая значительную роль транспорта общего пользования в общем объёме транспортных перевозок и принимая во внимание приведённый анализ деятельности предприятия в обеспечении достаточной эксплуатационной надёжности подвижного состава следует заключить следующее. Существующая организация технического обслуживания и текущего ремонта подвижного состава требует совершенствования. Необходима разработка мероприятий по совершенствованию организации производственно-технической службы предприятия.
1.6 Анализ оснащённости оборудованием зон и участков автотранспортного предприятия
Анализ оснащённости оборудованием зон и участков автотранспортного предприятия (АТП) обеспечивает цели – выявление и использование внутренних резервов повышения эффективности производства.
Технический уровень – это техническое состояние оборудования, включая оборудование общего пользования и его прогрессивность (производительность, точность, степень амортизации и др.), прогрессивность применяемого технологического процесса, материалоёмкость и энергоёмкость.
С учётом этого разработаны нормокомплекты для оснащения зон и участков. Нормокомплекты включают в себя наиболее прогрессивное технологическое оборудование, инструмент и оснастку, выпускаемые заводами РО «Росавтоспецоборудование» и заводами других министерств и ведомств, поставляемые в структуры российского автотранспорта.
Средства механизации, оснастка и инструмент, входящие в нормокомплекты, обеспечивают в зонах и на участках АТП выполнение всех работ по техническому обслуживанию и ремонту автомобилей и их узлов и агрегатов.
На основе анализа результатов разрабатываются организационно-технические мероприятия, предусматривающие доведение зон и участков до нормативного уровня.
1.7 Оценка оснащённости технологическим оборудованием в зонах и на участках
Одним из факторов, определяющих эффективность деятельности инженерно-технической службы автотранспортных предприятий является оснащённость технологическим оборудованием, которое оценивается процентом оснащённости технологическим оборудованием.
Расчёт процента общей оснащённости технологическим оборудованием производится по формуле:
(1.5)
где: Ообщ – процент общей оснащённости технологическим оборудованием АТП;
К – количество нормокомплектов в АТП;
Н – нормативное количество нормокомплектов в АТП.
![]()
Таким образом, оснащённость анализируемого автотранспортного предприятия технологическим оборудованием находится на недостаточно высоком уровне.
2. Совершенствование технического обслуживания грузовых автомобилей
2.1 Организационная структура технической службы АТП
Поддержание подвижного состава в работоспособном состоянии является одной из основных задач инженерно-технической службы автотранспортного предприятия (АТП).
Повышение производительности труда ремонтных и вспомогательных рабочих и эффективности работы систем обслуживания и ремонта является важной составной частью решения общей проблемы повышения эффективности работы подвижного состава. Однако эффективность работы систем обслуживания и ремонта в настоящее время находится на низком уровне. Надёжность работы подвижного состава на линии по наработке на отказ в ряде случаев не превышает 5000…7000 км.
Анализ причин неудовлетворительной эффективности работы систем технического обслуживания и ремонта показывает, что они условно могут подразделяться на две группы: объективные и организационные [10].
Общий объём простоев, таким образом, разделяется на две крупные составляющие (таблица 2.1).
Таблица 2.1 Удельный вес причин простоя автотранспорта в АТП
| Причины |
Удельный вес, % |
| 1 |
2 |
| Объективные причины |
|
| Отсутствие запасных частей |
4 |
| Условия эксплуатации |
10 |
| Возраст парка машин |
18 |
| Слабая производственная база |
15 |
| Прочие |
18 |
| Всего по объективным причинам |
65 |
| Организационные причины |
|
| Низкая трудовая дисциплина |
11 |
| Слабая организация работ |
18 |
| Всего по организационным причинам |
35 |
Если устранение недостатков, отнесённых к группе объективных причин, не всегда зависит от усилий, предпринимаемых силами АТП, то вторая группа причин обусловлена главным образом низким организационным и управленческим уровнем работы систем технического обслуживания и ремонта в АТП. Ликвидация этих недостатков может значительно улучшить эффективность транспортной работы подвижного состава АТП.
Структура систем технического обслуживания и ремонта подвижного состава на предприятии состоит из нескольких взаимосвязанных подсистем (рис. 2.1).
Основу структуры составляют три подсистемы производства: основное, вспомогательное и обслуживающее. Основное производство включает работы по ежесменному обслуживанию (ЕО), техобслуживаниям №№ 1 и 2 (ТО-1, ТО-2) и текущему ремонту (ТР). Вспомогательные участки – производственные цеха – выполняют механические, тепловые, малярные, обойные, электротехнические и другие работы. Обслуживающее производство включает в себя склады, транспортную группу для самообслуживания и др.
В организационную структуру технической службы кроме выше рассмотренных подсистем, входят следующие подразделения: технический отдел (ТО), отдел главного механика (ОГМ), отдел материально-технического снабжения (ОМТС), отдел технического контроля (ОТК).
В организационную структуру технической службы входит также технический отдел, который разрабатывает планы мероприятий по научной организации труда (НОТ), внедрению новой техники и прогрессивных технологий и производственных процессов, разрабатывает и проводит мероприятия по охране труда, изучает причины производственного травматизма, ведёт учёт расхода ТСМ, учёт и контроль пробега резинотехнических изделий – шин, ведёт учёт и контроль за своевременностью проведения ТО, осуществляет отчётность по технической службе [10].

Рисунок 2.1 Организационная структура системы обслуживания и ремонта подвижного состава АТП
Отдел главного механика отвечает за содержание в технически исправном состоянии технологическое оборудование, за правильностью его использования. Главный механик не является начальником производства, он отвечает за расстановку ремонтных рабочих и ремонт автомобилей, осуществляет заполнение табеля.
Отдел материально-технического снабжения обеспечивает предприятие необходимыми материалами (запасные части, агрегаты, ТСМ, строительные материалы и т.д.), составляет заявки на приобретение извне.
Отдел технического контроля проверяет техническое состояние при выпуске на линию и возвращении, обнаруживая неисправность, определяет вид необходимого воздействия и подаёт заявку в ремонтную зону на то или иное ТО или ремонт.
Между подсистемами и отделами существует многосторонняя взаимосвязь на всех уровнях.
2.2 Технологический процесс производства
Под технологическим процессом производства понимается последовательность технических воздействий на автомобиль на автотранспортном предприятии.
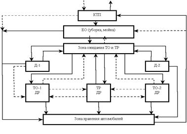
На КТП (рис. 2.2) осуществляется инвентарный и технический приём автомобиля с линии, проверяется и оформляется принятой в АТП документацией в виде заявки [10].

![]()
- основное движение; возможное движение.
КТП – контрольно-технический пункт; ЕО – ежесменное обслуживание; ТО – техническое обслуживание; ТР – текущий ремонт; Д-1 – диагностика общая; Д-2 – диагностика поэлементная; ДР – диагностика, выполняемая во время ТО и ремонта автомобилей.
Рисунок 2.2 Схема технологического процесса ТО и ТР
Затем автомобили проходят моечно-уборочное обслуживание, после чего исправные автомобили направляются в зону хранения, а нуждающиеся в ТО или ремонте – в соответствующие производственные зоны.
После выполнения ТО или ремонта автомобили направляются в зону хранения. Если количество автомобилей , возвращающихся с линии в единицу времени больше пропускной способности, то часть автомобилей направляется в зону ожидания ТО и ремонта и поступают на посты ТО и ремонта по мере высвобождения мест. Предприятие пользуется АЗС общего пользования, и автомобили заправляются топливом и маслом перед возвращением или утром после получения путевого листа.
В производстве организован пост диагностики, который часть автомобилей после ЕО, перед обслуживанием и ремонтом подвергает диагностированию. Затем автомобили поступают на посты обслуживания и ремонта. Выпуск автомобилей на линию обычно осуществляется из зоны хранения через КТП.
2.3 Диагностирование автомобилей
Диагностирование автомобилей обеспечивает получение необходимой информации для деятельности отдела управления производством, производственного комплекса и комплекса подготовки производства, позволяющей наиболее рационально использовать трудовые и материальные ресурсы. Своевременное обнаружение и устранение дефектов повышает эксплуатационную надёжность подвижного состава, способствует повышению коэффициента выпуска парка [18].
Средствами диагностирования служат специальные приборы и стенды. Они делятся на внешние и встроенные, являющиеся составной частью автомобиля. При диагностировании используются не только измерительные технические средства, но и субъективные методы, при которых используются возможности человека: его органы чувств, опыт, навыки. В простейших случаях применяют субъективное диагностирование, соответственно, в сложных – объективное (приборное).
2.3.1 Виды диагностирования
В настоящее время предусматриваются следующие виды технического диагностирования:
- Д-1 – предназначено для определения комплексными параметрами технического состояния систем, обеспечивающих безопасность движения автомобиля. В результате Д-1 выдаётся заключение о возможности дальнейшей работы автомобиля без регулировочных работ и ремонтных воздействий или необходимости устранения выявленных неисправностей;
- Д-2 – определение технического состояния узлов и агрегатов автомобиля, выявление конкретных скрытых неисправностей с целью их устранения. В результате Д-2 составляется поэлементный диагноз и по нему прогнозируется ресурс исправной работы или устанавливаются объёмы регулировочных и ремонтных воздействий, необходимых для поддержания исправного состояния автомобиля до очередного Д-2;
- ВД – диагностирование по заявкам водителей, выборочный контроль по планам ОТК предприятия, выборочные проверки качества выполненных ремонтных работ;
- ДР – контрольно-диагностические работы с применением переносного и передвижного оборудования, выполняемые при регулировочных работах по принципу «контроль – регулировка – контроль» на постах ТО и ремонта, а также в зоне диагностирования.
2.3.2 Характеристика зоны диагностики
В зоне диагностики устанавливается оборудование станции комплексной диагностики Береговского опытно-экспериментального завода объединения «Укрсельхозтехника» (см. таблицу 2.2).
Таблица 2.2 Оборудование зоны диагностики
| Наименование |
Модель |
| Стенд для проверки тормозных качеств грузовых автомобилей |
КИ-4998 ГОСНИТИ |
| Стенд для проверки установки передних колёс грузовых автомобилей |
КИ-4877 ГОСНИТИ |
| Стенд для проверки тяговых качеств грузовых автомобилей |
КИ-4956 ГОСНИТИ |
| Осциллограф |
Э – 206 |
| Прибор для проверки автомобильного электрооборудования |
Э – 214 |
| Прибор для проверки прерывателей-распределителей |
Э – 213 |
| Стенд передвижной электронный |
Э – 205 |
| Прибор стробоскопический переносной |
Э – 102 |
| Прибор для проверки контрольно-измерительных приборов автомобиля |
Э – 204 |
| Прибор для проверки технического состояния цилиндро-поршневой группы автомобильных двигателей |
К – 69 |
| Прибор универсальный для проверки рулевого управления автомобиля |
К – 403 НИИАТ |
| Прибор переносной для проверки гидроусилителя и гидронасоса |
К – 405 НИИАТ |
| Прибор для проверки и регулировки правильности установки автомобильных фар |
ЦКБ – 10 – 303 |
2.3.3 Организация диагностирования автомобилей
Автомобиль, по прибытии на КТП, проходит технический осмотр. При этом проверяется общее состояние автомобиля, комплектность и фиксируется информация водителей о неисправностях, выявленных во время выполнения транспортных работ [3].
![]()
![]()
![]()
После выполнения уборочно-моечных работ (ЕО) автомобили направляются на стоянку ( маршрут движения ) или в зону ожидания технического воздействия или непосредственно на посты Д-1 и, после Д-1 исправные автомобили (назначенные по графику на ТО-1) направляются на стоянку ( маршрут ).
Автомобили, признанные при Д-1 исправными, но назначенными по графику на ТО-1, направляются в зону ТО-1 для выполнения регламентных работ ( маршрут ) или в случае занятости мест в зоне ТО-1 – в зону ожидания ( маршрут).
Автомобили, признанные при Д-1 неисправными, направляются по указанию механика в зону ТР и, при необходимости, на линию ТО-1 (маршрут ).
![]()
Если в процессе Д-1 характер неисправности не возможно установить, то проводится поэлементное поисковое диагностирование Д-2
( маршрут Д-1 Д-2).
![]()
Автомобили, направленные на Д-2 и Д-2-ВД при возвращении, при необходимости подвергаются уборочно-моечным работам, после чего поступают через зону ожидания на линию Д-2 ( маршрут ), после Д-2, Д-2-ВД автомобили поступают на стоянку ( маршрут ) и на следующий день выезжают на линию.
За 1…2 дня до постановки автомобиля на ТО-2 или ТР автомобили подвергаются диагностированию Д-2, результаты диагностирования отмечаются в контрольно-диагностической карте Д-2.
При обнаружении неисправности, причины и характер, которых не возможно установить механиком на КТП, автомобиль также направляется в зону диагностирования Д-2.
![]()
Автомобили, которые по результатам диагностирований Д-2 и Д-2-ВД не могут быть допущены к дальнейшей эксплуатации, направляются механиком в зону ТР или ТО-2 непосредственно ( маршрут , ) или через зону ожидания (маршрут ).
В тех случаях, когда потребность в замене каких либо узлов или агрегатов очевидна, автомобиль направляется в зону ТР ( маршрут ).
При диагностировании Д-1 регулировочные работы не производятся, их выполняют на постах ТО-1 с последующим диагностированием ДР на месте выполнения работ или в зоне диагностирования (маршрут ).
Во время диагностирования Д-2 на каждом посту выполняются необходимые регулировочные работы. Автомобили, признанные неработоспособными, подлежат ремонту в межсменное время с поступающим заключительным диагностирование ДР отремонтированных узлов и агрегатов.
Автомобили, признанные после технических воздействий работоспособными, поступают на стоянку.
Перед диагностированием, в процессе и после его выполнения, информация о техническом состоянии каждого автомобиля поступает к начальнику производства.
2.4 Техническое обслуживание автомобилей
2.4.1 Виды технического обслуживания и их характеристика
Разрабатываемая организация технического обслуживания предполагает 4 вида ТО подвижного состава автомобильного транспорта: ежедневное техническое обслуживание (ЕО), техническое обслуживание №1 (ТО-1), техническое обслуживание №2 (ТО-2), сезонное техническое обслуживание (СО) [10].
Ежедневное техническое обслуживание предназначено для осуществления контроля, направленного на обеспечение безопасности движения, поддержания надлежащего внешнего вида, заправки автомобиля топливом, смазкой, охлаждающей жидкостью. Выполняется в межсменное время после возвращения подвижного состава с линии.
Первое (ТО-1) и второе (ТО-2) технические обслуживания предназначены для снижения интенсивности изнашивания деталей, выявления и предупреждения отказов и неисправностей путём своевременного выполнения контрольно-диагностических, смазочных, крепёжных, регулировочных, электротехнических, шинных и др. работ.
Сезонное обслуживание (СО) предназначено для подготовки подвижного состава к эксплуатации соответственно в холодное или тёплое время года. Выполняется два раза в год, как правило совмещается с выполнением очередного ТО-1 или ТО-2.
2.4.2 Режимы видов технического обслуживания и их корректирование
Каждый из видов технического обслуживания подвижного состава характеризуется режимом, то есть периодичностью и трудоёмкостью обязательно выполняемых работ. Режим технического обслуживания зависит от категории условий эксплуатации (технической характеристики дорог, типа и состояния покрытий, а также – интенсивности движения), модификации подвижного состава и организации его работы, природно-климатической зоны, пробега с начала эксплуатации, размеров автотранспортного предприятия [10].
В автотранспортных предприятиях оптимальные режимы технического обслуживания устанавливаются путём корректировки режимов при помощи коэффициентов в зависимости от следующих факторов:
- модификация автомобиля – К1 ;
- категории условий эксплуатации: модификации подвижного состава и организации его работы – К2 ;
- природно-климатические условия – К3 ;
- пробег с начала эксплуатации – К4 ;
- размеры предприятия – К5 .
2.4.3 Периодичность технического обслуживания
Как показывает анализ деятельности автотранспортного цеха, преимущественная категория эксплуатации автомобилей – II.
Периодичность технических обслуживаний определяется по формуле [18]:
L ТО-1 = L `ТО-1 . К2 , км(2.1)
L ТО-2 = L `ТО-2 . К2 , км(2.2)
где: L ТО-1 , L ТО-2 – скорректированная периодичность соответственно первого и второго технического обслуживания, км;
L `ТО-1 , L `ТО-2 – периодичность технического соответственно первого и второго обслуживания для I категории условий эксплуатации, км;
К2 – коэффициент, корректирующий периодичность в зависимости от категории эксплуатации. Для II категории К2 = 0,8 [18].
Для автомобилей МАЗ:
L ТО-1 = 4000 . 0,8 = 3200 км
L ТО-2 = 12009 . 0,8 = 9600 км
Аналогично определяем периодичность ТО для остальных марок автомобилей. Результаты корректирования сводим в таблицу 2.3.
Таблица 2.3 Периодичность технического обслуживания подвижного состава
| Марка автомобиля |
Периодичность |
|
| ТО-1 |
ТО-2 |
|
| Автомобили МАЗ |
3200 |
12800 |
| ЗИЛ – 433512 |
3200 |
12800 |
| ЗИЛ - 433100 |
2400 |
9600 |
| ЗИЛ – 431410 |
3200 |
12800 |
| ГАЗ – 2705 (Газель) |
1600 |
6400 |
| ГАЗ – 2703 (Газель) |
1600 |
6400 |
2.5 Расчёт производственной программы комплекса технического обслуживания
Для определения количества технических воздействий принимаем методику, основанную на цикле пробега до капитального ремонта, на примере автомобиля МАЗ – 64229 [18].
Всего автомобилей данной марки – 19 единиц. Из них прошедших или требующих капитального ремонта – 16 единиц.
Определим коэффициент, степени изношенности парка К3 :
(2.3)
где: А` - количество автомобилей, не подлежащих капитальному ремонту;
А`` - количество автомобилей, прошедших или подлежащих капитальному ремонту.
![]()
Определим пробег автомобиля данной марки до капитального ремонта с учётом корректирующих коэффициентов:
L кр = L н кр . К1 . К2 . К3 . Ки , тыс. км,(2.4)
где: L н КР – нормативный пробег автомобиля с начала эксплуатации до капитального ремонта, тыс. км. Для автомобилей МАЗ – 64229: L н кр = 280 тыс. км [18];
К1 = 1,15 – коэффициент, учитывающий тип автомобиля [18];
К2 = 0,8 – коэффициент, учитывающий условия эксплуатации (см. раздел 2.4.3);
К3 – коэффициент, учитывающий природно-климатические условия. Для центральной климатической зоны К3 = 1,0 [18];
Ки = 0,83 – коэффициент, учитывающий степень изношенности парка [18];
L КР = 280 . 1,15 . 0,8 . 1,0 . 0,83 = 213,81 214 тыс. км
Определим коэффициент, учитывающий простои автомобиля на ТО и ТР по аналогии с определением степени изношенности парка.
![]()
Определим простои автомобилей на ТО и ТР на 1000 км пробега:
Q = Q н . Кп . Ксм , дней (2.5)
Где: Q н = 0,55 – нормативный простой, дней;
Ксм = 0,75 – коэффициент сменности.
Q = 0,55 . 1,33 . 0,75 = 0,55 дня
Простой автомобиля в капитальном ремонте
Дкр = Дн КР + Дтр , дней (2.6)
где: Дн КР = 23 – нормативный простой автомобиля в капитальном ремонте, дней[18];
Дтр = 2 – время на транспортировку на авторемзавод, дней.
ДКР =23 + 2 = 25 дней
Определим число воздействий на один автомобиль за цикл:
N
КР
=
(2.7)
Здесь NКР ц – целое значение количества капитальных ремонтов.
(2.8)
Определим количество дней эксплуатации за цикл одного автомобиля:
дней(2.9)
где: L сс = 0,27 – среднесуточный пробег автомобиля (см. раздел 1), тыс. км;
Количество дней простоя на ТО, ТР и КР за цикл:
дня(2.10)
Коэффициент технической готовности парка машин марки МАЗ-64229:
(2.11)
Переводной коэффициент от цикла к году:
(2.12)
Число воздействий на парк автомобилей МАЗ-64229 за год:
N КР = N ц КР . . А = 1 . 0,331 . 19 = 6 (2.13)
N ТО-2 = N ц ТО-2 . . А = 15 . 0,331 . 19= 94 (2.14)
N ТО-1 = N ц ТО-1 . . А = 50 . 0,331 . 19=314 (2.15)
Аналогично определим количество воздействий по каждой марке и модификации автомобилей. Данные сводим в таблицу 2.2.
Таблица 2.4 Количество технических воздействий на автомобиль в год
| Марка автомобиля |
Количество воздействий по видам |
||
| КР |
ТО-2 |
ТО-1 |
|
| МАЗ – 64229 |
6 |
94 |
314 |
| ЗИЛ - 433100 |
1 |
16 |
52 |
| ЗИЛ – 433512 |
2 |
31 |
105 |
| ЗИЛ – 431410 |
1 |
15 |
103 |
| ГАЗ – 2705, 2703 (Газель) |
1 |
18 |
112 |
| Итого |
11 |
174 |
686 |
2.6 Расчёт трудоёмкости технического обслуживания и ремонта
Трудоёмкость технического обслуживания определяют, исходя из трудоёмкости воздействий на базовую модель с учётом результирующего коэффициента корректирования [18].
Трудоёмкость первого (второго) технического обслуживания определится по формуле:
t ТО-1 (ТО-2) = t н ТО-1 (ТО-2) . К , чел.. ч(2.16)
где: t н ТО-1 (ТО-2) – нормативная трудоёмкость первого (второго) технического обслуживания базового автомобиля, чел.. ч;
К – корректирующий коэффициент, определяемый как:
К = К1 . К5 (2.17)
здесь: К1 – коэффициент, зависящий от модификации автомобиля (см. [18]);
К5 – коэффициент, зависящий от размера предприятия (см. там же).
Трудоёмкость ТО-1 и ТО-2 для автомобиля МАЗ-64229:
t ТО-1 = 2,04 . 1,15 . 1,05 = 2,46 чел.. ч
t ТО-2 = 9,52 . 1,15 . 1,05 = 11,5 чел.. ч
Трудоёмкость ТР на 1000 км пробега автомобиля
t ТР = t н ТР . К , чел.. ч (2.18)
Здесь: t н ТР = 3,2 – нормативная удельная трудоёмкость текущего ремонта на 1 тыс. км пробега, чел.. ч/тыс. км [18];
К – корректирующий коэффициент, определяемый как:
К = К1 . К2 . К3 . К4 . К5 (2.19)
где: К1 = 1,15 – коэффициент, зависящий от модификации автомобиля;
К2 = 1,2 – коэффициент, зависящий от категории эксплуатации;
К3 = 1,0 – для центральной климатической зоны
К4 = 1,45 – коэффициент, зависящий от пробега автомобиля с начала эксплуатации;
К5 = 1,14 – коэффициент, учитывающий размеры предприятия.
К = 1,15 . 1,2 . 1,0 . 1,45 . 1,14 = 2,28
t ТР = 3,2 . 2,28 = 7,3 чел.. ч
Для всего парка автомобилей марки МАЗ-64229:
ТТО-1 = t ТО-1 . n ТО-1 , чел.. ч(2.20)
ТТО-1 = 2,46 . 314 = 772 чел.. ч
ТТО-2 = t ТО-2 . n ТО-2 , чел.. ч(2.21)
ТТО-2 = 11,5 . 94 = 1081 чел.. ч
, чел..
ч(2.22)
где: L Г – годовой пробег автомобиля, км;
N а – количество автомобилей.
чел..
ч
Аналогично определяем трудоёмкость воздействий для каждой марки автомобилей. Данные сносим в таблицу 2.5.
Таблица 2.5 Трудоёмкость технических воздействий
| Марка автомобилей |
Трудоёмкость, чел..ч |
||
| ТР |
ТО-1 |
ТО-2 |
|
| МАЗ – 64229 |
12476 |
773 |
1081 |
| ЗИЛ - 433100 |
543 |
122 |
133 |
| ЗИЛ – 433512 |
1423 |
241 |
241 |
| ЗИЛ – 431410 |
958 |
243 |
123 |
| ГАЗ – 2705, 2703 (Газель) |
1389 |
268 |
141 |
| Итого |
16789 |
1646 |
1717 |
2.6.1 Составление годового плана-графика проведения технического обслуживания и ремонта
При планировании работы зон обслуживания и ремонта годовой план-график проведения ТО и ТР облегчает планирование всех работ и увязку деятельности отдельных зон и цехов [20].
В основу составления годового плана-графика ТО и ТР заложен годовой бизнес-план предприятия с разбивкой его по кварталам и месяцам. В данном проекте, исходя из годового бизнес-плана с учётом специфики перевозок и природно- климатических условий, годовое распределение технических обслуживаний выглядит следующим образом (см. табл. 2.6):
Таблица 2.6 Годовое распределение количества технических обслуживаний
| Месяц |
Количество ТО по месяцам |
|
| ТО-1 |
ТО-2 |
|
| 1 |
2 |
3 |
| Январь |
137 |
143 |
| Февраль |
132 |
138 |
| Март |
133 |
139 |
| Апрель |
142 |
147 |
| Май |
143 |
148 |
| Июнь |
144 |
151 |
| Июль |
142 |
157 |
| Август |
137 |
148 |
| Сентябрь |
127 |
125 |
| Октябрь |
128 |
128 |
| Ноябрь |
131 |
131 |
| Декабрь |
138 |
148 |
| Итого |
1646 |
1717 |
2.7 Расчёт необходимого количества ТСМ для выполнения транспортных работ
2.7.1 Расчёт потребного количества дизельного топлива и бензина
Рассчитывая потребное количество дизельного топлива и бензина необходимо знать планируемый пробег по маркам автомобилей и нормы расхода топлива на 100 км пробега. А также [18]:
- в зимний период эксплуатации нормы расхода топлива увеличиваются до 10 %;
- на выполненную транспортную работу на 100 км дополнительно рассчитывается: бензина – 2 л, дизельного топлива – 1,3 л;
- на внутригаражные разъезды и на технические нужды предприятия, на приработку деталей двигателей с ремонта и т.д. – до 0,5 % от общего потребного количества топлива;
- на автомобили, вышедшие с капитального ремонта, или новые автомобили допускается увеличение расхода топлива до 5 % на период обкатки.
2.7.2 Расчёт потребного количества дизельного топлива по нормам
Для одного автомобиля марки МАЗ-64229:
- летняя норма расхода топлива (дизельного) на 100 км пробега q = 37,3 л = 37,3 . 0,8 = 29,84 кг [11].
- среднегодовой пробег автомобилей данной марки L = 90000 км;
- транспортная работа автомобиля А = 83000 км
Потребное количество топлива по норме:
,кг(2.24)
кг
Надбавка на выполненную работу:
,кг(2.24)
кг
Зимняя надбавка:
,кг(2.25)
кг
Общая потребность в топливе:
, кг(2.26)
кг
Для всех автомобилей марки МАЗ-64229:
Qт МАЗ-64229 = nМАЗ-64229 . Qт МАЗ-64229 = 19 . 29278 = 556282 кг
Для одного автомобиля марки ЗИЛ-431410:
- летняя норма расхода топлива (бензина) на 100 км пробега q = 26,5 л = 26,5 . 0,73 = 19,35 кг;
- среднегодовой пробег автомобиля L = 75000 км;
- транспортная работа автомобиля А = 63000 км
Потребное количество бензина:
кг
Надбавка на выполненную работу:
,кг(2.27)
кг
Зимняя надбавка:
кг
Общая потребность в топливе:
кг
Для всех автомобилей марки ЗИЛ-431410:
Qт ЗИЛ-431410 = n ЗИЛ-431410 . Qт ЗИЛ-431410 = 2 . 16499 = 32998 кг
Аналогично производим расчёт для всех марок автомобилей.
Данные сводим в таблицу 2.7.
Таблица 2.7 Годовая потребность топливо-смазочных материалов, кг
| Марка автомобиля |
Потребное количество ТСМ |
|||||
| Бензин |
Диз.топл. |
Моторное масло |
Трансм. масло |
Спец. Масло |
Консист. Смазка |
|
| МАЗ – 64229 |
|
556282 |
10291 |
5396 |
556 |
334 |
| ЗИЛ - 433100 |
|
14066 |
219 |
84 |
14 |
7 |
| ЗИЛ – 433512 |
|
41328 |
645 |
207 |
41 |
21 |
| ЗИЛ – 431410 |
32998 |
|
508 |
99 |
33 |
14 |
| ГАЗ – 2705, (Газель) |
8652 |
|
130 |
26 |
4 |
2 |
| ГАЗ – 2703 (Газель) |
17947 |
|
269 |
54 |
9 |
4 |
| Итого |
59597 |
611676 |
12062 |
5866 |
657 |
382 |
2.7.3 Расчёт потребного количества смазочных материалов
Для автомобилей марки МАЗ-64229 нормы расхода смазочных материалов на 100 кг топлива составят [18]:
- Qм – моторных масел q м = 1 ,85 %;
- Qтр – трансмиссионных масел qтр = 0,97 %;
- Qсп – специальных масел qсп = 0,1 %;
- Qкс –консистентных смазок qкс = 0,062 %.
Таким образом, годовой расход смазочных материалов составит:
,кг(2.28)
кг
кг
кг
кг
Для автомобилей марки ЗИЛ-431410 нормы расхода смазочных материалов на 100 кг топлива составят [18 ]:
- Qм – моторных масел q м = 1,54 %;
- Qтр – трансмиссионных масел qтр = 0,3 %;
- Qсп – специальных масел qсп = 0,1 %;
- Qкс –консистентных смазок qкс = 0,04 %.
Таким образом, годовой расход смазочных материалов составит:
,кг
,кг
,кг
,кг
Аналогично производим расчёт для всех марок автомобилей. Данные сносим в таблицу 2.7.
2.8 Технологический расчёт производственного комплекса
2.8.1 Расчёт зоны ТО-1
Определяем программу на один рабочий день (суточную программу) [20].
(2.29)
где: n ТО-1 = 686 – годовая программа (см. раздел 2.5);
Др = 253 – количество рабочих дней в году.
![]()
Принимаем N с ТО-1 = 3 единиц.
Для выполнения ТО-1 принимаем тупиковую технологию.
Определяем среднесписочное количество рабочих для выполнения операций по ТО-1:
,чел.(2.30)
где: Фн = 2070 – годовой фонд рабочего времени [15], ч;
ТТО-1 = 1646 – суммарная трудоёмкость выполнения ТО-1 для всего парка автомобилей (см. раздел 2.6), чел.. ч.
чел.
Принимаем РТ = 1 чел.
Определим штатный состав рабочих:
,чел.(2.31)
где: Фд = 1840 – действительный годовой фонд рабочего времени [15], ч.
чел.
Принимаем Рш = 1 чел.
Определим ритм производства:
,мин.(2.32)
где: ТР = 8 – продолжительность работы, ч;
N с ТО-1 – суточная программа ТО-1, чел.. ч.
мин.
Определим такт поста ТО-1:
, мин.(2.33)
где: t ТО-1 ср = 3,55 – средняя по маркам автомобилей трудоёмкость одного воздействия ТО-1, чел.. ч ;
Р – среднее число рабочих, занятых одновременно на посту, чел.;
tn – время дополнительных работ ( 0,5…1,0 мин.).
мин.
Определим число постов:
.(2.34)
Принимаем n = 1 пост.
2.8.2 Расчёт зоны ТО-2
Программа на один рабочий день
(2.37)
где: n ТО-2 = 174 – годовая программа (см. раздел 2.6);
![]()
Принимаем N с ТО-2 = 1 единице.
Для выполнения ТО-2 принимаем тупиковую технологию.
Определяем среднесписочное количество рабочих для выполнения операций по ТО-2:
,чел.(2.38)
где: ТТО-2 = 1717 – суммарная трудоёмкость выполнения ТО-2 для всего парка автомобилей (см. раздел 2.6), чел.. ч.
чел.
Принимаем РТ = 1 чел.
Определим штатный состав рабочих:
,чел.(2.39)
чел.
Принимаем Рш = 1 чел.
Определим ритм поста ТО-2:
,мин.(2.40)
где: N с ТО-2 – суточная программа ТО-2, чел.. ч.
мин.
Определим такт поста ТО-2:
,мин.(2.41)
где: t ТО-2 ср = 10,5 – средняя по маркам автомобилей трудоёмкость одного воздействия ТО-2, чел.. ч ;
Р = 1 - число рабочих, одновременно задействованных на одном посту, чел.
,мин.
Определим число постов:
.(2.42)
Принимаем n = 1 пост.
2.8.3 Расчёт зоны текущего ремонта
Определим число постов:
(2.43)
где: t с =8 –время работы смены, ч ;
ТТР = 16789 – годовая трудоёмкость текущего ремонта по всем автомобилям автопарка, чел.. ч;
b – коэффициент трудоёмкости, равный для постовых работ 35…40 %. Принимаем b = 0,4 .
Дрз = 253 – количество рабочих дней в году;
с – количество смен в день. Принимаем с = 1 ;
Р = 2 – количество рабочих, одновременно задействованных на посту;
= 0,6…0,95 – коэффициент использования рабочего времени. Принимаем =0,8 .
![]()
Принимаем количество постов текущего ремонта n ТР = 2 .
Определим среднесписочное количество рабочих:
чел.(2.44)
Определим штатное количество рабочих:
чел.(2.45)
Принимаем штатное количество рабочих, задействованных на постах ТО-2, равным РТРш = 4 чел.
2.8.4 Расчёт обслуживающего персонала линии диагностики
Трудоёмкость диагностирования при ТО-1 составляет 15 мин., при ТО-2 – 60 мин. Таким образом трудоёмкость диагностирования составит:
ч(2.46)
чел.(2.47)
Принимаем Рд = 1 чел.
чел.(2.48)
Поскольку объём работ, выполняемых на посту диагностики, приходящийся на одного рабочего, весьма мал, целесообразно возложить эти работы на одного из штатных работников на посту ТО-2. Таким образом, штатное число рабочих на посту диагностики становится равным Рд ш = 0 чел.
2.9 Оснащённость рабочих мест инструментом и приспособлениями
2.9.1 Разработка рабочих мест зоны технического обслуживания ТО-1
Рабочее место – это технологическая карта, в которой указано наименование работ и порядок их выполнения, трудоёмкость по каждой операции, наименование оснастки для проведения операций, технические условия, предъявляемые к объекту (узлу, агрегату, соединению), карта смазки автомобиля.
Проектом предусматривается проведение обслуживания ТО-1 по поточной технологии. При этом контрольно-диагностические операции выполняются на участке диагностики
Каждое рабочее место должно быть укомплектовано в соответствии с нормативно-технологической документацией [6].
Принимаем оснащённость каждого рабочего места в соответствии с таблицей 2.8.
Таблица 2.8 Оснащённость рабочего места поста ТО-1
| Наименование инструмента, оборудования |
Марка инструмента, оборудования |
Количество, ед. |
| Технологическая оснастка |
||
| Отвёртка |
2334 – ПМ |
1 |
| Плоскогубцы |
2334 – ПМ |
1 |
| Комплект ключей |
1 |
|
| Организационная оснастка |
||
| Стол |
И – 303 Н |
1 |
| Стул |
1 |
|
| Шкаф инструментальный |
1 |
|
| Линейка мерная |
1 |
|
| Маслёнка |
1 |
|
| Стол-тележка |
1 |
|
| Гайковёрт для гаек колёс |
1 |
|
| Ключ балонный |
1 |
|
| Кувалда |
1 |
|
| Молоток 150 г |
1 |
|
| Молоток 400 г |
1 |
|
| Набор инструментов |
П – 108 |
1 |
| Установка смазочно-заправочная |
ЦКБ – 3141 |
1 |
| Стол-ванна |
1 |
|
| Солидолонагнетатель |
390 |
1 |
| Воронка для слива масла |
МВ – 064 |
1 |
2.9.2 Разработка рабочих мест зоны технического обслуживания ТО-2
Проектом предусматривается проведение обслуживания на тупиковых постах. При этом контрольно-диагностические операции выполняются на участке диагностики, а смазочно-заправочные работы проводятся на посту смазки линии ТО-1.
Для выполнения суточного задания предусматривается 2 тупиковых поста.
Оснащённость рабочих мест инструментами и приспособлениями принимаем в соответствии с таблицей 2.9.
Таблица 2.9 Оснащённость рабочего места поста ТО-2
| Наименование инструмента, оборудования |
Марка инструмента, оборудования |
Количество, ед. |
| 1 |
2 |
3 |
| Технологическая оснастка |
||
| Подъёмник |
ПТ – 20 |
1 |
| Тележка для снятия колёс грузовых автомобилей |
1115 М |
2 |
| Прибор для определения окружных люфтов трансмиссии автомобилей |
К-428 |
1 |
| Прибор для проверки переднего моста автомобилей |
НИИАТ Т-1 |
1 |
| Прибор универсальный для проверки рулевого управления автомобилей |
НИИАТ К-402 |
1 |
| Гайковёрт для гаек стремянок рессор грузовых автомобилей |
СФИКТБ ИЗ-12 |
1 |
| Комплект инструментов слесаря-монтажника |
22165 |
4 |
| Организационная оснастка |
||
| Стол бригадира |
1 |
|
| Инструментальный шкаф |
1 |
|
| Стеллаж-вертушка |
1 |
|
| Оборудование электрика и аккумуляторщика |
||
| Прибор для проверки и регулировки установки фар |
ЦПГ – К – 303 |
1 |
| Прибор для проверки электрооборудования автомобилей |
К – 301/35 |
1 |
| Прибор для очистки и проверки свечей |
Э – 203 |
1 |
| Комплект приборов для обслуживания аккумуляторных батарей |
Э – 401 |
1 |
| Комплект инструментов для технического обслуживания электрооборудования |
2443 |
1 |
Рабочие места укомплектовываются в соответствии с нормативно-технологической документацией: перечень работ, порядок их выполнения, нормативная трудоёмкость по каждой операции, наименование оснастки, технические условия.
2.10 Расчёт производственной программы уборочно-моечных работ
Автомобили осуществляют перевозки как продовольственных, так и непродовольственных товаров. В связи с этим для автомобилей, перевозящих продовольственные товары, целесообразно производить уборочно-моечные работы с периодичностью один раз в четыре дня эксплуатации или по мере необходимости.
Перед постановкой в зону ТО и ТР автомобиль в обязательном порядке проходит уборочно-моечные работы [20].
Исходя из коэффициента выпуска парка подсчитываем ежедневное количество автомобилей, требующих уборочно-моечные работы:
(2.49)
где: N а =29 – общее количество автомобилей;
а = 0,693 – среднегодовое значение коэффициента выпуска парка (см. раздел1);
![]()
Программа на один день уборочно-моечных работ составляет:
ПУМР = ПТО-1 + ПТО-2 + ПТР + ПЭ (2.50)
где: ПТО-1 – ежедневное количество автомобилей, требующих воздействий ТО-1;
ПТО-2 – ежедневное количество автомобилей, требующих воздействий ТО-2;
ПТР – ежедневное количество автомобилей, требующих воздействий ТР;
ПЭ – ежедневное количество автомобилей, требующих уборочно-моечные работы.
ПУМР = 3 + 1 + 1 + 5 = 10 единиц
Для проведения уборочно-моечных работ в проекте предусматриваем мойку механизированную ЦКБ – 1152 с установкой вне помещения под навесом. Обслуживающий персонал – один оператор.
2.11 Расчёт вспомогательных трудовых затрат по предприятию
В состав вспомогательных работ входят работы по самообслуживанию предприятия и работы общепроизводственного характера [10].
Трудоёмкость вспомогательных работ принимаем согласно положения в размере 12…15 % для предприятий с числом автомобилей до 200 единиц.
Таким образом трудоёмкость вспомогательных работ определится по формуле:
Твсп = 0,12 . Тпр , чел.. ч(2.51)
где: Тпр = 20152 – производственные затраты труда, чел.. ч.
Твсп = 0,12 . 20152 = 2418 чел.. ч
Исходя из состава и примерного распределения вспомогательных работ по подразделениям и группам, определим количество вспомогательных рабочих.
Для электромеханического участка среднесписочное количество вспомогательных рабочих определится по формуле:
чел.(2.52)
Штатное количество вспомогательных рабочих на электромеханическом участке:
чел.(2.53)
Принимаем количество вспомогательных рабочих на электромеханическом участке равным 1 чел.
Аналогично производим расчёт штата вспомогательных рабочих по остальным производственным участкам. Результаты расчётов сносим в таблицу 2.10.
Таблица 2.10 Размеры штата вспомогательных рабочих на АТП
| Структура штата вспомогательных рабочих |
Трудоёмкость, % |
Состав штата вспомогательных рабочих |
|
| расчётный |
принятый |
||
| Электромонтёры |
9 |
0,11 |
1 |
| Слесари по оборудованию |
9 |
0,11 |
1 |
| Сварщики |
7 |
0,1 |
1 |
| Столяры |
6 |
0,09 |
1 |
| Операторы котельной |
8 |
0,11 |
1 |
| Уборщики |
8 |
0,11 |
1 |
| Кладовщики |
9 |
0,11 |
1 |
| Разнорабочие |
20 |
0,26 |
1 |
| Итого |
8 |
||
3. конструкторская разработка
3.1 Анализ существующих конструкций
В пунктах технического обслуживания необходимо иметь подъемник, опрокидыватель для более лучшего обслуживания автомобилей, тракторов и тракторных прицепов. Подъемники существуют разных типов: винтовые подъемники, силовые, гидравлические, электромеханические. К винтовым подъемникам относятся ручные домкраты, это самый простейший тип, который используется в экстренных случаях, в дорожных условиях. Силовые подъемники используются на смотровых ямах, где по необходимости приходится поднимать или переднюю часть рамы, или заднюю. Все эти подъемники уже мало применяются, так как они мало эффективны. Эти подъемники поднимают на небольшие высоты и небольшой грузоподъемностью. Сейчас применяются более эффективные подъемники, которые могут использоваться для поднятия всех марок автомобилей, тракторов и тракторных прицепов. Они отличаются большей грузоподъемностью, высотой подъема и большей просматриваемостью днища поднимаемого объекта.
На подъемник типа П-238 производится много затрат для устан6овки под разные типы тракторных прицепов. Передвижка стоек производится вручную, слесарями и требует большой трудоемкости.
Это не очень эффективно. В проекте предлагается модернизация этого подъемника. Передние стойки подъемника стационарно крепятся в бетон и соединяются балкой поперечно. Задние стойки так же соединены балкой поперечно, но они двигаются по рельсам на тележках и фиксируются. Передвижение по рельсам производится от электродвигателя через редуктор. Эта модернизация подъемника освобождает от трудоемкого процесса слесарей, им уже не приходится руками на тележках перекатывать стойки под нужные размеры.
3.2 Устройство и принцип работы подъемника
Подъемник предназначен для вывешивания рам автомобилей и тракторных прицепов типа 2ПТС-4, 2ПТС-6.
Тип подъемника – передвижной, электромеханический.
Подъемник состоит из четырех передвижных стоек с индивидуальным проводом и пульта управления. Стойка подъемника состоит из рамы, каретки, электродвигателя , редуктора, ходового винта с гайкой механизма подъема и опускания стойки. С пульта осуществляется управление одновременно подъемом и опусканием всех стоек. Индивидуальное включение производится непосредственно со стойки.
В комплект входят подставки для вывешивания автомобилей под балки мостов и за раму.
В случае остановки электродвигателя одной из стоек отключается питание всех электродвигателей, а при отклонении от вертикального положения хотя бы одной из стоек блокируется включение всех электродвигателей подъемника.
Проект модернизации подъемника заключается в креплении стационарно в бетон двух из четырех стоек и соединении их балкой поперечно, а другие две стойки так же соединенные балкой перемещаются на тележках по рельсам и фиксируются. Положение их зависит от марки тракторного прицепа. Данная модернизация проекта рассчитана на базу от 3,8 до 6,5 метра для тракторных прицепов 2ПТС-У и 2ПТС-6, а так же можно поднимать и обслуживать автомобили марки ГАЗ-53, КАМАЗ-5320.
Основная техническая характеристика подъемника сохранена.
техническая характеристика
Грузоподъемность комплекта-16000
Высота подъема, мм-1600
Скорость подъема, м/сек-0,006 – 0,01
Суммарная мощность привода, квт- 12
Габаритные размеры, мм:
Стойки - 1220 x 1200 x 2760
Масса, кг
Стойки - 625
3.3 Технологические расчеты
3.3.1 Определение условия необходимого на подъем тележки
Оптимальный тип передачи определяем с учетом ряда факторов: эксплуатационных условий, характера изменения нагрузки в процессе работы, заданного сроком службы, требования техники безопасности, удобства обслуживания и ремонта стоимости привода и его монтажа.
В зависимости от конкретных условий берем механическое приводное устройство электродвигатель – редуктор с применением червячной передачи.
Проектирование приводного устройства начнем с расчета механического усилия действующего на передачу винт-гайка, с учетом полной загрузки тракторного прицепа.
Масса прицепа – 2,5т = 2500кг
Грузоподъемность – 4,5т = 4500кг
Определим максимальную массу тракторного прицепа
Рм = 4500+2500=7000=70кН
Результатирующая сила будет рассчитываться на четыре опоры подъемника одинаково:
Р1-4
=
(3.1)
Р1-4
=
=17,5кН
Определим частоту вращения:
(3.2)

Определяем окружное усилие грузового вала. Оно будет определяться суммой усилий создаваемых в переходе винт-гайка, силой трения гайки и винта.
Т=Fокр . r(3.3)
отсюда:
Fокр
=![]()
Fокр
=
Определяем угловую скорость на тихоходном валу редуктора по формуле:
(3.4)
![]()
Определяем мощность на тихоходном валу редуктора по формуле:
Р=
(3,5)
Подсчитываем общее КПД передач по формуле:
(3.6)
![]()
Расчетную мощность электродвигателя рассчитываем по формуле:
Рэл.д.
=
(3.7)
Рэл.д.
=
Принимаем по таблице 2.2 (Чернавский) электродвигатель 4А80В4УЗ: N=1,5квт; n=1500об/мин.
Рассчитаем общее передаточное отношение
iобщ
=
(3.5)
iобщ
=![]()
Принимаем по стандарту ближний iобщ =57
Вращающий момент электродвигателя рассчитывается по формуле:
Тэл.д.
=
(3.6)
Тэл.д.
=![]()
Отсюда находим вращающий момент тихоходного вала редуктора
Т=Тобщ. . i=12,8. 56=553н.м.(3.7)
Принимаем стандартный редуктор РУУ-100 с передаточным отношением i=40.
3.4 Прочностные расчеты
3.4.1 Расчеты на прочность основных сборочных единиц
Основная причина выхода из строя винтов и гаек передач – износ резьбы. В качестве критерия износостойкости резьбы винтовой пары принимаем давление между резьбами винта и гайки, которое не должно превышать допустимого, зависящего от материалов винтовой пары и условий ее эксплуатации. При проектировочном расчете винты и гайки на износостойкость резьбы пользуются формулой:
(3.8)
Рассчитаем винт и гайку винтового подъемника грузоподъемностью F=160кН для подъема груза на высоту l=1600мм.
Для определения по формуле 3.8 среднего диаметра резьбы винта и гайки из расчета резьбы на износостойкость примем отношение высоты гайки к среднему диаметру резьбы
k=
и допускаемое давление для резьбы [g]=10МПа. Тогда:
=![]()
Размеры резьбы. Высота профиля резьбы.
h=0,1. d2 (3.9)
h=0,1. 80=8мм
Наружный диаметр резьбы по формуле:
d=d2 +h(3.10)
d=80+8=88мм
Внутренний диаметр резьбы по формуле:
d1 =d2 -h(3.11)
d1 =80-8=72мм
Шаг резьбы определяем по формуле:
Р=2. h(3.12)
Р=2. 8=16мм
Ход резьбы определяем по формуле:
Рh =n. р(3.13)
число заходов резьбы n=1
Рh =1. 16=16мм
Из формулы:
Рh
=
(3.14)
найдем угол подъема резьбы
(3.15)
следовательно, угол подъема резьбы ![]()
Коэффициент трения стали по бронзе при слабой смазке примем f=0,1.
4. Безопасность и экологичность проекта
4.1 Безопасность проекта
4.1.1 Анализ состояния безопасности труда на автотранспортном предприятии «Ульяновск-транссервис»
Руководство и ответственность за организацию работы по охране труда в АТпЦ возлагается на директора. Директор предприятия ежегодно назначает приказом ответственных за состояние и организацию работы по охране труда и предупреждению пожаров на производственных участках.
Ответственный за работу по охране труда в отрасли механизации – главный инженер предприятия. Свою работу по охране труда главный инженер хозяйства выполняет согласно обязанностям: направляет работу специалистов, руководителей цехов, обеспечивает безопасные условия труда, составляет заявки, следит за эксплуатацией технических средств, а также за знанием работниками безопасных приемов труда, приостанавливает работы, проводимые с грубым нарушением правил техники безопасности, но в то же время в работе главного инженера есть недостатки: не составлены маршруты передвижения транспортных средств, не ведутся послерейсовые медицинские осмотры водителей, не обеспечивает подразделения наглядными пособиями и техническими средствами обучения, нет уголка по технике безопасности в мастерской, что затрудняет обучение работников, работники недостаточно обеспечены спецодеждой.
Работу по охране труда в нефтехозяйстве ведет заведующий нефтебазой. Он следит за техническим состоянием оборудования, контролирует отпуск нефтепродуктов, обеспечивает хранение и прием ТСМ, обеспечивает выполнение стандартов, правил, инструкций, указаний по вопросам охраны труда и предупреждению пожаров, приостанавливает производство работ в случае возникновения угрозы жизни и здоровья людей. Недостатком в работе заведующего нефтебазой является отсутствие уголка по охране труда, просроченные аптечки на пункте заправки.
В целом по хозяйству работа по охране труда ведется в соответствии с «Положением об организации работы по охране труда». К недостаткам руководителя предприятия можно отнести: плохое обеспечение рабочих спецодеждой, недостаточная организация медицинских осмотров, отсутствие кабинетов и уголков по охране труда, что отражается на безопасности труда.
При профсоюзном комитете создана комиссия по охране труда во главе с инженером по технике безопасности. Комиссия работает в соответствии с разработанным планом, принимает участие в подготовке соглашения по охране труда и социальным вопросам, контролирует его выполнение. В 2008 году комиссией была проведена проверка соблюдения администрацией законодательства о рабочем времени, в частности среди рабочих мастерской и на нефтескладе. По результатам проверки было принято соответствующее решение.
Число травм среди работающих снижается, что видно из таблицы 4.1.
Таблица 4.1 Данные анализа производственного травматизма и заболеваний
| Наименование показателя |
Годы |
||
| 2007 |
2008 |
2009 |
|
| Среднесписочное количество работающих, чел. |
40 |
40 |
42 |
| Затраты по охране труда, руб. - по плану - фактически |
69000 18980 |
57000 18390 |
69700 19130 |
| Затраты на охрану на одного работника, руб. |
474,45 |
459,67 |
455,55 |
| Количество травм (по акту НI) |
2 |
1 |
1 |
| Число дней нетрудоспособности из-за травм |
105 |
31 |
23 |
| Материальные потери из-за травматизма, руб. |
156800 |
172830 |
168304 |
| Материальные потери из-за заболеваний, руб. |
340100 |
287800 |
301405 |
| Коэффициент частоты, Кr |
14,6 |
8,06 |
6,53 |
| Коэффициент тяжести, Кт |
52,5 |
31,0 |
23,0 |
| Коэффициент потерь, Кп |
766,5 |
249,9 |
150,2 |
| Число дней нетрудоспособности из-за заболеваний |
167 |
149 |
184 |
Используя учетно-отчетную документацию устанавливаем динамику производственного травматизма и заболеваний за последние три года, проведем расчеты оценочных показателей. Данные анализа сводим в таблицу 4.1.
Анализируя показатели таблицы 4.1, мы видим, что при снижении количества травм и коэффициента частоты вдвое происходит снижение коэффициента тяжести в той же пропорции. Причинами несчастных случаев стало несоблюдение техники безопасности при ремонте, а также личная невнимательность потерпевших.
4.1.2 План мероприятий по улучшению условий и охраны труда на автотранспортном предприятии «Ульяновск-транссервис»
Таблица 4.2 План мероприятий по охране труда
| № п/п |
Наименование мероприятий |
ГОСТ, СанПиН, СНиП |
Место проведения |
Сроки выполнения |
Ответственный |
| 1. |
Совершенствование системы освещения |
ГОСТ 12.4.021-75 СанПиН 2.2.4.548-96 СНиП 2.04.05-91 |
Мастерская |
Август-октябрь |
Зав. мастерской |
| 2. |
Обеспечение рабочих спецодеждой |
ГОСТ 12.4.011-89 ССБТ |
АТП |
Август |
гл. инженер |
| 3. |
Организация послерейсовых медосмотров |
ГОСТ 12.3.002-75 ССБТ |
АТП |
Август |
Директор АТП |
| 4. |
Оборудование кабинетов и уголков по охране труда |
ГОСТ 12.0.004-90 ССБТ |
АТП |
Октябрь-декабрь |
Инженер по ОТ |
| 5. |
Комплектация рабочих мест средствами индивидуальной защиты |
ГОСТ 12.4.011-89 ССБТ |
Мастерская |
Август |
Инженер по ОТ |
4.1.4 Расчёт искусственной вентиляции СПТО
В связи с периодическим интенсивным выделением вредных газов (при работе двигателей внутреннего сгорания, при паяльных, сварочных и прочих работах) целесообразно устанавливать механическую вытяжную вентиляцию.
Исходные данные:
Назначение помещения : техническое обслуживание и устранение неисправностей (ТО и УН).
Размеры помещения : см. риунок 4.1.
1 – цех технического обслуживания и устранения неисправностей (ТО и УН); 2 – пост полной диагностики; 3 – мастерская; 4 – помещение для хранения масла; 5 – вентилятор местной вентиляции; 6 – вентилятор общеобменной вентиляции; 7 – пост газоэлектросварки.
Рисунок 4.1 Схема системы механической вентиляции СПТО
Характер загрязнений : отработавшие газы: окислы азота NOх , окись углерода СО, альдегиды; сварочные газы, пары топлива (бензин, дизтопливо, керосин).
Пожарная опасность : в цехе ТО и УН – П-I по ПУЭ.
Теплоизлучения : в сварочном цехе, на посту полной диагностики.
Предельно-допустимые концентрации вредных веществ :
- В цехе ТО и УН, на посту полной диагностики:
- -- азота оксиды5
- --бензин топливный100
- На сварочном посту -
- -- марганец0,3
- -- хром1,1
- -- соединения фтора1
Назначаем местную вентиляцию (на посту полной диагностики и сварочном посту) в совокупности с общей (в цехе ТО и УН).
Разрабатываем схему общеобменной и местных систем вентиляции (рис. 4.1).
Определяем количество выделяемых загрязнений в течение 1 ч.
для цеха ТО и ТР при работе автомобильных дизелей:
, мг/ч(4.1)
где: V ц – рабочий объём цилиндров двигателя, л. Принимаем среднее значение по автомобилям V ц = 4 л.
р0 – объёмная часть вредных веществ в отработавших газах, %.
для дизелей – окиси углерода 0,05…0,07;
окислов азота 0,007…0,009;
альдегидов 0,02…0,05 [7];
t = 2 – время работы двигателя за 1 час, мин.
Для дизелей:
окиси углерода
мг/ч
окислов азота
мг/ч
альдегидов
мг/ч
Объём воздуха, который необходимо подавать в помещение с целью уменьшения количества вредных веществ до ПДК:
, м3
/ч(4.2)
где: g ПДК – ПДК веществ, мг/м3 (см. [7] табл. 23);
g н – концентрация вредных веществ в приточном воздухе, мг/м3 (см.там же);
Для окиси углерода при работе карбюраторного двигателя
, м3
/ч
Для остальных веществ просчитываем аналогично.
LN Ох = 115,97 м3 /чL А = 4385 м3 /ч
Общее количество воздуха, удаляемого общеобменной вентиляцией:
L = L СО + LNOx + L А = 871 + 116 + 4385 = 5372, м3 /ч.
Рассчитаем объём воздуха, удаляемого местной вытяжной вентиляцией (вытяжным зондом) на посту полной диагностики:
, м3
/ч(4.3)
где: F – площадь рабочего проёма местного отсоса, м2 . Из конструкторских соображений принимаем F = 0,0314 м2 (при диаметре трубы d = 0,2 м).
опт – оптимальная скорость отсоса выделяемых вредных веществ, м/с (см. табл.25, приложения 1 [7]).
Кз = 1,1…1,5 – коэффициент запаса, учитывающий износ оборудования.
м3
/ч.
Для сварочного поста часовой расход воздуха местной вытяжной вентиляции определится по формуле:
, м3
/ч(4.4)
где: G – масса израсходованных электродов, кг/ч;
g – содержание вредных компонентов в электродах, г/кг (см. табл. 26, приложения 1 [7]).
К = – содержание выделяющихся токсичных веществ, % (при ручной дуговой сварке марганца 3 %, хрома 0,4 %, фтористых соединений 3,4 %) [7].
С учётом расхода электродов G = 0,4 кг/ч расход воздуха в местной вентиляции сварочного поста определится, как:
, м3
/ч
, м3
/ч
, м3
/ч
L мест.св = LMn мест + LCr мест + L Р мест = 364 + 207 + 694 = 1265 , м3 /ч.(4.5)
L мест.общ = L мест.ПД + L мест.св = 102,9 + 1265 = 1367,9 = 1368 , м3 /ч.(4.6)
Общее количество воздуха, удаляемого общеобменной вентиляцией и местными отсосами:
L уд = L + L мест.общ = 5372 + 1368 = 6740 , м3 /ч.(4.7)
Общее количество приточного воздуха равно количеству удаляемого воздуха: L пр = L уд = 6740 м3 /ч .
Принимаем приточную вентиляцию естественную (не механическую).
Определяем местные сопротивления разработанной вытяжной системы вентиляции:
, Па(4.8)
где: ρ – плотность воздуха, определяемая, как 353/ (273+t). При 23о С =1,193 кг/м3 ;
ν – скорость движения воздуха в воздуховоде, м/с. Принимаем [7]);
λ – коэффициент сопротивления движению воздуха в участке воздуховода. Для металлических труб = 0,02 [7];
l – длина участка, м;
d – диаметр воздуховода, м. Определяется, как:
, м(4.9)
νМ – коэффициент местных потерь напора ( для колена 90о М =1,1 [7]).
Для воздуховода поста диагностики (см. рис. 4.1) местные сопротивления определятся, как:
, Па
Аналогично определяем сопротивления в воздуховоде сварочного поста. Нсв = 56,47 Па.
, м(4.10)
Но = НПД + Нсв = 64,57 + 56,47 = 121,04 Па
По необходимой производительности и полному сопротивлению выбираем вентиляторы для системы общеобменной и местной вентиляции. Принимаем в системе 4 вентилятора, работающих параллельно ввиду значительной потребной производительности системы). Производительность вентилятора общеобменной системы L = 5372 м3 /ч. ). Производительность вентилятора местной системы L = 1368 м3 /ч. По известным величинам суммарных потерь напора, используя номограмму (см. рис. 8 [7]), выбираем номера вентиляторов N , КПД вентиляторов в и безразмерные параметры А :
Для местного вентилятора: N = 3 ; в = 0,60 ;А = 2500 .
Для общеобменного вентилятора: N = 41/ 2 ; в = 0,56 ;А = 2500 .
Частота вращения вентилятора:
N в = А/ N (4.11)
N в местн = 2500/3 = 833 мин.-1
N в общеобм = 2500/4,5 = 556 мин.-1
Условие уменьшения шума – D в n в <1800 . Отсюда, диаметр рабочего колеса вентилятора D в определится, как:
, м(4.12)
, м
Мощность каждого электродвигателя:
, кВт(4.13)
Принимаем тип электродвигателей – взрывобезопасный. Установленная мощность равна:
Руст = Р . К = 2,86 . 1,05 = 3,003 , кВт(4.14)
где К – коэффициент запаса мощности. Для осевого вентилятора при Р = 2,86 кВт К=1,05 .
Площадь открываемых фрамуг (ввиду отсутствия приточной вентиляции):
, м2
(4.15)
где рс = 1,0 – расчётная скорость в проёме фрамуги, м/с [2].
4.2 Экологичность проекта
На современном этапе развития сельскохозяйственного производства все сильнее проявляется воздействие его на природу. Применение энергоемких технологий, интенсивных технологий возделывания сельскохозяйственных растений, небрежное отношение к богатствам природы приводит к нарушения экологического равновесия, загрязнению окружающей природы.
Действие на биосферу планеты проявляется и в мировом масштабе, так ежегодное сжигание миллиардов тонн угля, нефти и газа увеличивает содержание углекислоты в атмосфере. Из недр земли ежегодно извлекается масса химических элементов, которая рассеивается, нарушая естественное соотношение их в биосфере. Атмосферу и воду загрязняют сельскохозяйственные ядохимикаты и отходы сельскохозяйственного производства. Нарастающее загрязнение окружающей среды становится глобальной проблемой человечества. Охрана природы является одной из важнейших задач государства. Охрана природы отражена в основном законе – Конституции РФ, в основе земельного законодательства, лесного законодательства, об охране животного мира и в других нормативных актах. Контроль за соблюдением природоохранных мероприятий осуществляют: комиссия Президиума Совета министров, комитет по управлению охраной природы, Госкомгидромет и другие государственные организации.
Следует шире внедрять комплексные безотходные технологические производства, обеспечивающие полное использование природных ресурсов, сырья и материалов, исключающие или существенно снижающие вредное воздействие на окружающую среду. Нужно обеспечить рациональное использование земель, защиту их от ветровой и водной эрозии, оползней, подтопления, заболачивания, иссушения, засоления. Такие направления деятельности в области сельского хозяйства ставят необходимость защиты природы.
Определенная работа по охране окружающей среды проводится на автотранспортном предприятии «Ульяновск-транссервис». В целях предотвращения загрязнения окружающей среды нефтепродуктами на АТП проводится ряд мероприятий по предотвращению их потерь. Все резервуары в нефтехозяйстве своевременно окрашиваются в светлые тона (белый цвет), оборудованы дыхательными клапанами. Заправка машин происходит закрытым способом. Производится сбор и отправка отработавших моторных масел на пункт регенерации.
Однако имеются недостатки: нет обваловки нефтесклада, отсутствует четкая система сбора отработанного масла, имеются случаи утечки нефтепродуктов при заправке топливных баков, а также течи в местах соединения трубопроводов, кранах.
При эксплуатации и техническом обслуживании автотранспорта в условиях АТП в окружающую среду возможно попадание вредных веществ, указанных в таблице 4.3.
Таблица 4.3 Вредные вещества и их предельно-допустимые концентрации (ПДК) в атмосферном воздухе населённых мест
| Наименование веществ |
ПДК (среднесуточная), мг/м3 |
| Окись углерода СО |
0,085 |
| Азота оксиды (в пересчёте на NO2) |
0,085 |
| Бензин топливный |
0,05 |
| Кислота серная |
0,1 |
| Свинец и его неорганические соединения |
0,0007 |
| Сероводород |
0,008 |
| Альдегиды |
0,012 |
В целях предотвращения загрязнения окружающей среды, ее рационального использования внимание специалистов хозяйства должно быть направлено на следующие направления:
- строгое соблюдение установленных правил по применению, хранению и утилизации топливо-смазочных материалов, предусматривающих недопущение попадания ТСМ и технических жидкостей в почву и грунтовые воды;
- рациональное использование земли, ее охране, осуществление комплекса мероприятий по борьбе с водной и ветровой эрозией;
- предотвращение загрязнения почвы, водоисточников возбудителями болезней и инфекционных заболеваний;
- внимательное отношение к доставке и заправке ТСМ. Озеленение территории автотранспортного предприятия;
- охрана лесов и защитных лесонасаждений от вырубки, пожаров, повреждений механизмами, техническими жидкостями;
- пропаганда природоохранных знаний с увязкой задач производства и охраны природы в целом.
Мероприятия по обеспечению экологической безопасности на АТП выполняются частично. Нужно обратить внимание на такие факторы как: большой выброс выхлопных газов вблизи АЗС. Особенно в утренние часы, в момент скопления транспортных средств. Рекомендуется принять следующие меры:
- установить знаки, запрещающие стоянку с работающим двигателем;
- производить заправку всех транспортных средств не в одно и то же время, а в течение дня и т.д.
Прибор, разработанный нами в данном проекте является экологичным, так как он предполагает сжигание наиболее экологичного топлива – природного газа. Установка применяется внутри помещений, имеет электромеханический привод, достаточную бесшумность работы, и малую вибрацию, что не нарушает экологии окружающей местности.
При практической реализации оговорённых мероприятий охрана природы приобретет гарантию улучшения и сохранения всех природных ресурсов.
5. ТЕХНИКО-ЭКОНОМИЧЕСКОЕ ОБОСНОВАНИЕ ПРОЕКТА
5.1 Эффективность организационно-технических мероприятий по методике Центравтотех
В основу расчёта экономической эффективности дипломного проекта взята «Методика расчёта экономической эффективности внедрения новой техники на автомобильном транспорте», разработанной Центравтотех [12].
В данном проекте предусмотрено:
- организация диагностирования автомобилей;
- организация ТО-1 по тупиковой технологии;
- укомплектование зон ТО и ТР необходимым оборудованием, приборами, приспособлениями и инструментом по нормативам.
Внедрение вышеуказанных мероприятий, по данным НИИАТ, оказывает следующее влияние на технико-экономические показатели [12] (таблица 5.1).
Таблица 5.1 Исходные данные к технико-экономическому обоснованию проекта
| Наименование мероприятия |
Изменяемый технико-экономический показатель |
Изменение, % |
|
| повыш. |
пониж. |
||
| 1 |
2 |
3 |
4 |
| Организация диагностирования автомобилей |
Коэффициент выпуска парка |
2…4 |
|
| Трудоёмкость ТО |
4…6 |
|
|
| Расход топлива |
1…2 |
|
|
| Расход запасных частей и материалов |
8…10 |
|
|
| Организация ТО по тупиковой технологии |
Трудоёмкость ТО |
|
|
| Оснащение и механизация предприятия |
Затраты на топливо |
|
|
| Оснащение и механизация предприятия |
Затраты на смазочные, обтирочные и др. материалы |
|
|
| ТО и ремонт подвижного состава |
|
|
|
| Износ и ремонт шин |
|
|
|
5.2 Расчёт основных производственных фондов
- Балансовая стоимость имеющихся зданий и сооружений – 11500 тыс. руб.
- Балансовая стоимость подвижного состава – 14300 тыс. руб.
- Балансовая стоимость комплекса машин и оборудования – 4600 тыс. руб.
Общая сумма основных фондов имеющихся в предприятии без стоимости подвижного состава составляет 15600 тыс. руб.
Проектом предусмотрено:
- Строительство механизированного поста смазки и заправки автомобилей (по типовому проекту Ценравтотех) стоимостью – 1250 тыс. руб.
- Реконструкция наружной мойки автомобилей с установкой моечной механизированной машины, стоимостью - 600 тыс. руб.
- Приобретение и монтаж оборудования для линии диагностики и постов ТО-1, стоимостью - 2450 тыс. руб.
- Оснащение и механизация зоны ТО-2 и ремонта согласно табеля оснащённости предприятия до норматива, стоимостью – 3500 тыс. руб.
Дополнительные затраты составляют:
1250 + 600 + 2450 + 3500 = 7800 тыс. руб.
в т.ч.:на сооружения – 1550 тыс. руб.
на рабочее оборудование – 6250 тыс. руб.
5.3 Расчёт экономической эффективности от внедрения мероприятий, предусмотренных проектом
В результате внедрения мероприятий коэффициент технической готовности составит – 0,9.
При этом коэффициент выпуска парка на линию составит:
(5.1)
где: ар – расчётный коэффициент готовности;
ас – сложившаяся величина коэффициента технической готовности;
а bp – сложившийся коэффициент выпуска парка на линию;
Для оценки эффективности внедрения проектных мероприятий произведём расчёты основных экономических показателей для двух вариантов организации производства предприятия – до внедрения и после него. Результаты расчётов сносим в таблицу 5.2.
Таблица 5.2 Экономические показатели проекта
| Показатель |
До внедрения |
После внедрения |
| 1 |
2 |
3 |
| Списочное количество единиц подвижного состава |
29 |
29 |
| Время в наряде, ч |
8,0 |
8,0 |
| Коэффициент технической готовности |
0,67 |
0,8 |
| Коэффициент выпуска парка |
0,629 |
0,7 |
| Среднесуточный пробег парка, км |
8700 |
9682 |
| Общий годовой пробег, тыс. км |
3175,5 |
3533,9 |
| Средняя по парку грузоподъёмность, т |
24,89 |
24,89 |
| Коэффициент использования пробега |
0,94 |
0,94 |
| Коэффициент использования грузоподъёмности |
0,975 |
0,975 |
| Среднее расстояние перевозок, тыс. км |
0,255 |
0,255 |
| Перевезено груза за год, тыс. т |
302,205 |
336,313 |
| Выполнено работы за год, тыс. т-км |
902 073 |
1117187 |
| Цена 1 т бензина / дизтоплива, руб./т |
9300 / 8700 |
|
| Стоимость основных производственных фондов (здания + оборудование) (без стоимости подвижного состава), тыс. руб. |
11500 + 4600 = 16100 |
13050 + 10850 = = 23900 |
| Переменные расходы на 1 т-км: |
||
| - Затраты на топливо (сокращение на 10%), тыс. руб. |
58758 |
55820 |
| - Затраты на смазочные, обтирочные и др. материалы (сокращение на 15 %), тыс. руб. |
5876 |
5288 |
| - Затраты на техническое обслуживание и ремонт подвижного состава (сокращение на 35 %), тыс. руб. |
2938 |
2497 |
| - Затраты, связанные с износом и ремонтом шин (сокращение на 10%), тыс. руб. |
1763 |
1675 |
| Итого переменных расходов, тыс. руб. |
69335 |
65281 |
| Постоянные расходы, тыс. руб.: |
||
| - Амортизационные отчисления на здания и сооружения (норма – 4,1 % от балансовой стоимости) |
471,5 |
598,6 |
| - Амортизационные отчисления на оборудование(норма – 8 % от балансовой стоимости) |
368 |
1368 |
| - Расходы на содержание производственных помещений и оборудования (отопление, канализация, электроэнергия и др.) – (норма – 2 % от балансовой стоимости) |
322 |
634 |
| Итого постоянных расходов, тыс. руб. |
1161,5 |
2600,6 |
| Себестоимость 1 т-км, руб./т-км |
0,7815 |
0,6076 |
| Общее снижение себестоимости 1 т-км от снижения переменных и постоянных расходов, руб./1 т-км |
0,1739 |
|
В расчётах экономических показателей используются следующие формулы:
1. Общий годовой пробег по автопарку:
, тыс. км(5.2)
где: L сс – среднесуточный пробег автопарка в целом, км.
2. Перевезено груза за год:
тыс. т-км(5.3)
где: g ср – средняя по парку грузоподъёмность, т;
Кигп – коэффициент использования грузоподъёмности;
l – среднее расстояние перевозок, тыс. км;
3. Годовая наработка автопарка (выполнено работы):
А = L г . G . Кип , тыс. т-км(5.4)
где: G – количество перевезённого автопарком груза за год, тыс. т.
Кип – коэффициент использования пробега;
4. Стоимость основных производственных фондов после внедрения проекта (без стоимости подвижного состава):
Сопф п = Сопф исх. + Сдоп , тыс. руб.(5.5)
где: Сопф исх. – стоимость основных производственных фондов без стоимости подвижного состава в исходном варианте, тыс. руб.;
Сдоп – дополнительные затраты на здания и сооружения и на рабочее оборудование, тыс. руб.
5. Годовые денежные затраты на топливо (смазочного материала):
руб.(5.6)
где: Ц – цена 1 кг топлива (смазочного материала), руб./кг:
Ц = ЦЛ . QТСМ , руб./кг(5.7)
- для бензина А-76 ЦЛ б = 6,5 руб./л;
- для дизельного топлива: ЦЛ д/т = 6 руб./л;
QТСМ - физическая плотность топлива, кг/л. Принимаем для бензина и дизтоплива среднюю плотность равную 0,7 кг/л, для смазочных масел – равную 0,81 кг/л.
Q ТСМ – годовой расход топлива (смазочного материала) (см. раздел 2), кг.
6. Переменные затраты после внедрения проекта:
, тыс. км(5.8)
где: Спер исх. – переменные затраты в исходном варианте, тыс. руб.;
ξ – норма сокращения переменных затрат при совершенствовании технического обслуживания [12], %.
7. Постоянные затраты после внедрения проекта:
, тыс. км(5.9)
где: Б – балансовая стоимость (зданий, оборудования или зданий и оборудования вместе), тыс. руб.;
γ – норма амортизационных отчислений [15], %.
8. Себестоимость 10 т-км:
, руб./10 т-км(5.10)
где: Спер – переменные годовые затраты, тыс. руб.;
Спост – постоянные годовые затраты, тыс. руб.
Годовая экономия от снижения себестоимости 10 т-км составит:
Спер – Сп пер – К. Ен , тыс. руб.(5.11)
где: Спер – переменные расходы, руб.;
С` пер – переменные расходы по проекту, руб.;
К – капиталовложения, предусмотренные проектом, руб.;
Ен = 0,10 – нормативный коэффициент эффективности капитальных вложений.
69335 – 65281 – 0,1. 7800 = 3274 тыс. руб.
Срок окупаемости:
года(5.12)
Сводим результаты экономического обоснования проекта в таблицу 5.3.
Таблица 5.3 Технико-экономические показатели проекта
| Показатель |
Вариант |
Сравнение вариантов проектируемого с исходным, % |
|
| Исходный (базис) |
Проектируемый (проект) |
||
| Коэффициент технической готовности |
0,67 |
0,8 |
120 |
| Коэффициент выпуска парка |
0,629 |
0,7 |
110 |
| Выполнено работы за год, тыс. т-км |
902 073 |
1 117 187 |
106 |
| Себестоимость 1 т-км, руб. |
0,78 |
0,61 |
78 |
| Годовой экономический эффект, руб. |
--- |
3 274 000 |
--- |
| Срок окупаемости, лет |
--- |
2,38 |
--- |
Анализ приведённых данных показывает, что внедрение на предприятии мероприятий по организации ТО и ремонта подвижного состава, а также мероприятий по механизации технологических процессов, разработанных в проекте, позволяет увеличить коэффициент технической готовности и коэффициент выпуска парка на линию, позволяет выполнить предприятию дополнительный объём перевозок. Вместе с тем сокращение затрат на проведение технических мероприятий по обслуживанию и текущему ремонту автомобилей, повышение производительности труда исполнителями, способствует снижению себестоимости транспортной работы за счёт переменных расходов, что в свою очередь повышает выработку на одну авто-тонну, увеличивает доходы предприятия в целом.
Выводы
На основании анализа эксплуатации автомобильного парка на автотранспортном предприятии АО «Ульяновск-транссервис» выявлено следующее:
- оснащённость предприятия технологическим оборудованием находится на недостаточно высоком уровне.
- существующая организация технического обслуживания и текущего ремонта подвижного состава требует совершенствования.
- необходима разработка мероприятий по совершенствованию организации производственно-технической службы предприятия.
Для улучшения эксплуатации подвижного состава АТП разработана организационная структура системы обслуживания и ремонта подвижного состава АТП, а также предложен комплект оборудования для диагностирования и технического обслуживания. Определён оптимальный штат рабочих на участках диагностики и ТО.
С целью снижения затрат на предэксплуатационные прогревы автомобилей разработана соответствующая установка, позволяющая достичь экономического эффекта до 3 247 тыс. руб. ежегодно.
Годовой экономический эффект от внедрения проекта – 3 274 тыс. руб. Срок окупаемости капиталовложений – 2,38 года.
Литература
1. Архангельский Ю.А. Охрана труда на предприятиях автомобильного транспорта. – М.: Транспорт, 1979. – 145 с.
2. Бондаровский Ф.П. Детали машин и ПТМ. – М.: Машгиз, 1962. – 256 с.
3. Борц А.Д., Занин Я.К., Иванов Ю.В. Диагностика технического состояния автомобиля. – М.: Транспорт, 1979. – 241 с.
4. Вайсман Ю.Г. и др. Сборник задач по вентиляционной технике. – М.: Колос, 1965. – 203 с.
5. Власов Н.С. Методика экономического обоснования дипломных проектов. – М.: Колос, 1967. – 89 с.
6. Гаражное и ремонтное оборудование. Каталог-справочник. – М.: ЦБНТИ, 1974. – 422 с.
7. Зотов Б.И, Курдюмов В.И. Проектирование и расчёт средств обеспечения безопасности. – М.: Колос, 1997. – 136с.
8. Зотов Б.И., Лапшин Ю.А. Безопасность жизнедеятельности на производстве. Методическое пособие по выполнению подраздела «Безопасность проекта» в дипломных проектах для студентов факультета механизации сельского хозяйства. – Ульяновск, ГСХА, 2000. – 74с.
9. Иванов М.Н. Детали машин. – М.: Высшая школа, 1976. – 386 с.
10. Карташов В.П., Мальцев В.М. Организация технического обслуживания и ремонта автомобилей. – М.: Транспорт, 1979. – 184 с.
11. Колесник П.А. Техническое обслуживание и ремонт автомобилей. – М.: Транспорт, КАЗНИПИАТ – ГлавтрансНИИпроект, 1976. – 315
12. Методика расчёта экономической эффективности внедрения новой техники на автомобильном транспорте. – М.: Центравтотех, 1990. – 112 с.
13. Положение о ТО и ремонте подвижного состава автомобильного транспорта. – М.: Колос, 1989. – 39 с.
14. Салов А.И. Охрана труда на предприятиях автомобильного транспорта. – М.: Транспорт, 1980. – 115 с.
15. Сафарова Л.Н. Методические указания к экономическому обоснованию дипломных проектов по организации ремонта машин. Ульяновск, 1985. – 68 с.
16. Синяговский М.С. Сопротивление материалов. – М.: Колос, 1968. – 421 с.
17. Справочник инженера-экономиста автомобильного транспорта. – Киев: Техника, 1976. – 243 с.
18. Техническая эксплуатация автомобилей. Учебник для ВТУЗов. Под ред. Кромаренко Г.В. – М.: Транспорт, 1972. – 256 с.
19. Технологические рекомендации по внедрению технической диагностики автомобилей. – М.: ЦБНТИ, Минавтотранс РСФСР, 1980. – 34 с.
20. Чернис В.Н., Луйи И.А., Бедиян М.Н. Техническая эксплуатация автомобильного транспорта. – Киев: Техника, 1987. – 174 с.
ПРИЛОЖЕНИЕ А
|
|
Инструкция по охране труда
при работе с установкой для группового подогрева автомобилей
I. Общие требования безопасности
1. Настоящая инструкция распространяется на работы связанные с предпусковым подогревом основных агрегатов автомобилей.
2. К работе на агрегате допускаются лица:
- достигшие 18-летнего возраста;
- обученные правилам безопасной работы с установкой.
3. До начала работы необходимо:
- получить инструктаж на рабочем месте;
- изучить методику работы с установкой.
- ознакомиться и усвоить правила настоящей инструкции;
4. Разрешается выполнять только порученную работу.
5. Работать разрешается только в спецодежде.
6. На рабочем месте необходимо иметь:
- медицинскую аптечку:
- огнетушитель порошковый.
7. Запрещается работа с установкой при её технической неисправности.
8. Запрещается работать с установкой в состоянии алкогольного или наркотического опьянения.
9. Необходимо соблюдать следующие правила пожарной безопасности:
- не допускать попадания горючих материалов на электродвигатель и привод вентилятора;
- не допускать разгерметизации топливопровода и его соединений;
- работать с установкой только при исправных аварийных автоматических клапанах.
10. За невыполнение требований настоящей инструкции и правил дорожного движения виновные привлекаются к ответственности в соответствии с существующими законодательствами.
II . Требования безопасности перед началом работы
1. Осмотреть установку и убедиться в её исправности.
2. Убедиться в укомплектованности установки набором исправного вспомогательного инструмента и приспособлениями.
3. Убедиться в отсутствии помех для работы вентилятора.
4. Одеть спецодежду. Она должна быть подогнана по фигуре, застёгнута и заправлена. Не должно быть развевающихся и болтающихся частей одежды.
III . Требования безопасности во время работы
1. Запрещается использовать агрегат при:
- обнаружении оголённых электропроводов;
- неисправности предохранителей;
- неисправности или неполном количестве крепёжных деталей установки;
- обнаружении разгерметизации топливопровода установки;
- истечении срока очередного освидетельствования;
2. Запрещается находиться в кинематической зоне работы установки.
3. Ремонтные работы и обслуживание стенда проводить только при полном отключении подачи топлива и отключении установки из электросети.
4. Не оставлять без надзора работающую установку.
5. В случае появления утомления необходимо остановить установку, произвести комплекс упражнений, повышающих тонус организма, или отдохнуть.
IV . Требования безопасности в аварийных ситуациях
1. В случае аварийной ситуации отключить подачу топлива и, затем, электропитание установки.
2. В случае травмирования оказать первую медицинскую помощь пострадавшему, организовать его доставку в ближайшую больницу.
3. Сообщить об аварии или травме непосредственному начальнику (заведующему мастерской), скорой помощи.
4. При возникновении пожара сообщить в пожарную службу и приступить к его локализации и ликвидации. По возможности привлечь силы со стороны.
V . Требования безопасности по окончании работы
1. Перекрыть кран подачи топлива к установке.
2. Отключить установку от электрической сети.
3. Привести себя в порядок, снять спецодежду, переодеться в чистую одежду.
4. Доложить о выполнении задания, состоянии техники и всех выявленных отклонениях в работе руководителю подразделения.