| Скачать .docx |
Реферат: Газораспределительный механизм
ГАЗОРАСПРЕДЕЛИТЕЛЬНЫЙ МЕХАНИЗМ
Газораспределительный механизм служит для открытия и закрытия клапанов, что позволяет наполнять цилиндры двигателя горючей смесью (карбюраторные двигатели) или воздухом (дизели), выпускать отработавшие газы и наделено изолировать камеру сгорания от окружающей среды во время тактов сжатия и рабочего хода.
МЕХАНИЗМЫГАЗОРАСПРЕДЕЛЕНИЯ ИВЗАИМОДЕЙСТВИЕИХДЕТАЛЕЙ
Четырехтактные автомобильные двигатели имеют клапанные механизмы Газораспределения, в которых впуск горючей смеси и выпуск отработавших газов происходит при помощи впускных и выпускных клапанов. В двухтактных двигателях газораспределение осуществлено при помощи шатунно-кривошипного механизма или смешанной системы.
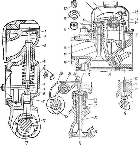
В зависимости от расположения клапанов различают газораспределительные механизмы с нижними клапанами (рис. 1, а), расположенными в блоке цилиндров, и с верхними клапанами, размещенными в головке блока (рис. 1, б и в). При размещении клапанов в головке блока камера сгорания имеет наиболее рациональную форму и меньшую поверхность теплоотдачи, что благоприятно отражается на рабочем цикле: улучшается наполнение цилиндров горючей смесью или воздухом; удобнее регулировать клапаны. Однако такой газораспределительный механизм сложнее, более металлоемок и дороже, чем механизм с нижними клапанами. В карбюраторных двигателях» применяют оба газораспределительных механизма, а в дизелях только механизм с верхними клапанами.
На большинстве автомобильных двигателей распределительные валы установлены в блоке цилиндров — нижнее расположение вала (рис. 1 а, и б). Распределительные валы устанавливают и на головках блока {рис. 1, в) — верхнее расположение вала (двигатели автомобилей Москвич-2140», «Жигули» и др.). В этом случае газораспределительный механизм проще, но имеет довольно сложный цепной привод. Обычно газораспределительный механизм приводится в движение от коленчатого вала через соответствующие шестерни. При вращении распределительного вала кулачок 10 (см. рис. 1, а) набегает на толкатель 9, который поднимается вверх и регулировочным болтом 7 нажимает на стержень клапана 2. Головка клапана отходит от седла /, и цилиндр соединяется с впускным или выпускным трубопроводом. Пружина 4 клапана сжимается. После наполнения или счистки цилиндра кулачок выходит из-под толкателя, и клапан под действием пружины опускается на седло. Клапан передвигается в направляющей втулке 5, запрессованной в блок цилиндров. Пружина одним концом опирается на тарелку 6, соединенную с клапаном при помощи сухарей 5, а другим — в кольцевую проточку блока цилиндров. Положение регулировочного болта в толкателе фиксируется контргайкой 8 (двигатели автомобилей ЗИЛ-130К и ГАЗ-52-04).
Во время такта сжатия и рабочего хода -клапан 16 |рис. 1, б) неподвижен а под действием пружины 19 плотно прижат к седлу 15.

Рис. 1. Газораспределительные механизмы:
а - с нижним расположением клапанов к распределительного вала; б — с верхним расположением клапанов и нижним расположением распределительного вала; в — с верхним расположением клапанов и распределительного вала; 1, 15 и 39 — седла клапанов; 2, 16 и 35 — клапаны; 3, 17 и 38 — направляющие втулки; 4 и 19 — пружины; 5 и 13 — сухари; 6 и 12 — тарелки пружин клапанов; 7 — регулировочный болт; 8, 22 и 33 — контргайки; 9 и 27 — толкатели; 10, 25 и 29 — кулачки распределительных валов; 11 — маслоотражательный колпачок клапана; 14 — свеча зажигания; 18 — опорная шайба; 20 — крышка головки блока; 21 и 30 — коромысла; 23 и 52 — регулировочные винты; 24 и 51 — оси коромысел;. 25 - штанга; 26 - блок цилиндров; 54 — наконечник; 55 - внешняя пружина; 37 - внутренняя пружина
При вращении распределительного вала кулачок 23 набегает на толкатель 27 и поднимает его вместе со штангой 25 вверх. Штанга поворачивает на оси 24 коромысло 21, которое нажимает на стержень клапана. Вследствие этого клапан опускается вниз и цилиндр двигателя соединяется с впускным или выпускным трубопроводом. При дальнейшем вращении распределительного вала кулачок выходит из-под толкателя 27, и клапанный механизм под действием пружины возвращается в первоначальное положение. Толкатель, перемещающийся в отверстии блока 26 цилиндров, опускается вниз. В короткое плечо коромысла ввернут регулировочный винт 23, имеющий контргайку 22. Клапан с пружиной 19 соединяется при помощи тарелки 12 и сухарей 13. Пол нижний конец пружины установлена опорная шайба 18.
При вращении распределительного вала, установленного на головке блока (рис. 1 в), кулачок 29 набегает на плечо коромысла 30, и оно поворачивается на оси 31. Наконечник 34 регулировочного винта 32 нажимает на стержень клапана 55, пружины 36 и 37 сжимаются, и клапан открывается. После выхода кулачка из-под коромысла клапан под действием пружин плотно садится на седло 9.
ДЕТАЛИ ГАЗОРАСПРЕДЕЛИТЕЛЬНОГО МЕХАНИЗМА
Распределительные шестерни. Распределительный вал приводится во вращение шестернями (рис. 2 а, б и в), реже цепью (рис. 2, г). Отечественные карбюраторные двигатели, за некоторым исключением, имеют шестеренный привод распределительного вала, состоящий, как правило, из двух шестерен. Одна шестерня установлена на коленчатом валу, а другая — на распределительном. Обе шестерни имеют косые зубья для плавного зацепления и уменьшения шума при работе. С этой же целью шестерни распределительных валов двигателей автомобиля ГАЗ изготовляют из текстолита. Распределительные шестерни, установленные на коленчатых валах, делают из стали или легированного чугуна. Дизель автомобиля КамАЗ-5320 (рис. 2, в) имеет пять распределительных шестерен, расположенных в задней части блока цилиндров»
При вращении шестерни 20 (рис. 2, г) в движение приходит бесконечная цепь, приводящая в действие распределительный вал и масляный насос (двигатель автомобиля «Жигули»). При эксплуатации автомобиля цепь постепенно изнашивается и вытягивается. Натяжной механизм позволяет своевременно подтягивать цепь, а успокоитель 26 — гасить ее колебания.

Рис. 2. Приводы газораспределительного механизма:
а --дизеля ЯМЗ-236; б — двигателей автомобилей ЗИЛ-130, ГАЗ-53А и др.; в — дизеля автомобиля КамАЗ-5320; г — двигателя автомобиля ВАЗ-2106 «Жигули»; 1 и 27 — шестерни привода масляного насоса; 2, 14 я 15 — шестерни промежуточные; 3, 10, 13 и 20 — распределительные шестерни коленчатого вала; 4, 7 и 11 — метки; 5, 12, 16 и 25— шестерни распределительного вала; 6 и 17 — шестерни привода топливного насоса; 8 — шестерня привода вентилятора; 9 — ведомая шестерня привода топливного насоса; 18 — шестерня привода насоса гидроусилителя руля; 19 — шестерня привода компрессора; 21 = ведомая ветвь цепи; 22 — башмак натяжного механизма; 23 — натяжной механизм; 24 — распределительный вал; 26 _=- успокоитель; 28 = ведущая ветвь цепи
В четырехтактном двигателе за рабочий цикл в каждом цилиндре по одному разу должны открываться и закрываться впускной и выпускной клапаны, т. е. распределительный вал должен сделать один оборот, а коленчатый вал — два. Для этого шестерня распределительного вала, если привод состоит из двух шестерен, имеет в 2 раза больше зубьев, чем шестерня коленчатого вала. При сборке двигателя необходимо по меткам соединять шестерни, установленные на коленчатом и распределительном валах, а при сборке дизеля также и шестерни привода топливного насоса.
Распределительный вал. Для своевременного открытия и закрытия впускных и выпускных клапанов на распределительном валу имеются кулачки. Закрытие и открытие клапанов обеспечивается распределительным валом и пружинами клапанов. Распределительный вал 1 (рис. 3) вместе с кулачками 5

Рис.3. Распределительный вал дизеля ЯМЗ-236 и сопрягаемые с ним детали:
1 - распределительный вал; 2—шестерня распределительного вала; 3 — ведущая шестерня привода топливного насоса; 4 —упорный фланец; 5 — передняя опорная втулка; 6 — задняя опорная втулка; 7 — опорные шейки; 8 — кулачки распределительного вала; 9 — шпонка штампуют из стали (двигатели автомобилей ГАЗ-24 «Волга», ЗИЛ-130, МАЗ-5335, КамАЗ-5320 и др.) или отливают из серого чугуна (двигатели автомобилей «Москвич» и «Жигули»).
У четырехцилиндрового двигателя распределительный вал имеет восемь кулачков, у шестицилиндрового — двенадцать, у восьмицилиндрового — шестнадцать, т. е. по два кулачка на цилиндр. Каждый кулачок управляет одним клапаном — впускным или выпускным.
На распределительном валу могут находиться также шестерня привода распределителя зажигания и масляного насоса (двигатели автомобилей ГАЗ-53А, ЗИЛ-130) и эксцентрик привода топливного насоса. Эксцентрик может быть изготовлен как одно целое с распределительным валом или привернут к нему болтом (двигатель автомобиля ГАЗ-53А). Рабочие поверхности кулачков, опорных шеек, эксцентриков и шестерен стальных распределительных валов подвергают термической обработке и шлифованию для увеличения их надежности и износостойкости. У чугунных валов для этих же целей кулачки и опорные шейки отбеливают.
В качестве подшипников для распределительного вала чаще всего применяют запрессованные в блок цилиндров втулки, залитые антифрикционным сплавом. Диаметры опорных шеек распределительного вала обычно одинаковые (двигатели автомобилей ГАЗ-53А и ЗИЛ-130), но бывают и разные для облегчения сборки (автомобиль ГАЗ-24 «Волга»).
КРИВОШИПНО-ШАТУННЫЙ МЕХАНИЗМ
Кривошипно-шатунный механизм преобразует прямолинейное возвратно-поступательное движение поршней, воспринимающих силу давления газов, во вращательное движение коленчатого вала.
Детали КШМ делят на две группы, это подвижные и неподвижные детали:
подвижные: поршень с кольцами, поршневой палец, шатун, коленчатый вал, маховик.
неподвижные: блок цилиндров (является остовом двигателя внутреннего сгорания), головка блока, прокладка, поддон (картер).
Принцип действия
Прямая схема: Поршень под действием давления газов совершает поступательное движение в сторону коленчатого вала. С помощью кинематических пар «поршень-шатун» и «шатун-вал» поступательное движение поршня преобразовывается во вращательное движение коленчатого вала. Коленчатый вал состоит из:
шатунные шейки
коренные шейки
противовес
Кривошипно-шатунный гидравлический поворотный механизм
Обратная схема: Коленчатый вал под действием приложенного внешнего крутящего момента совершает вращательное движение, которое через кинематическую цепь «вал-шатун-поршень» преобразовывается в поступательное движение поршня.
Применение
Кривошипно-шатунный механизм используется в двигателях внутреннего сгорания, поршневых компрессорах, поршневых насосах.
К первым относятся поршень с кольцами и поршневым пальцем, шатун, коленчатый вал и маховик, ко вторым - блок цилиндров, головка блока, прокладка головки блока и поддон (картер), В обе группы входят также и крепежные детали.
БЛОК ЦИЛИНДРОВ
Блок цилиндров или блок-картер является остовом двигателя. На нем и внутри него располагаются основные механизмы и детали систем двигателя. Блок 1 цилиндров (рис.1) может быть отлит из серого чугуна (двигатели автомобилей ЗИЛ-130, МАЗ-5335, КамАЗ-5320) или из алюминиевого сплава (двигатели автомобилей ГАЗ-24 "Волга", ГАЗ-53А и др.). Горизонтальная перегородка делит блок цилиндров на верхнюю и нижнюю части, В верхній плоскости блока и в горизонтальной перегородке расточены отверстия для установки гильз цилиндров. В цилиндре, являющемся направляющей при движении поршня, совершается рабочий цикл двигателя. Гильзы могут быть мокрыми или сухими. Гильзу цилиндра называют мокрой, если она омывается жидкостью системы охлаждения, и сухой, если непосредственно не соприкасается с охлаждающей жидкостью.

Рис.1. Блок цилиндров и головка блока V-образного двигателя:
1 - блок цилиндров; 2 - прокладка головки блока; 3 - камера сгорания; 4 - головка блока; 5 - гильза цилиндра; 6 - уплотнительное кольцо; 7 - шпильки
Цилиндры могут быть отлиты из серого чугуна вместе со стенками водяной рубашки 2 (рис.2, а) в виде одного блока 1 или в виде отдельных гильз 4, 5 и 6 (рис.2, б, в и г), устанавливаемых в блок. Двигатели, имеющие цилиндры, изготовленные в виде сменных мокрых гильз, проще ремонтировать и эксплуатировать (двигатели автомобилей ГАЗ-24 "Волга", ГАЗ-53А, ЗИЛ-130, МАЗ-5335, КамАЗ-5320 и др.).
Внутренняя поверхность цилиндра, внутри которой перемещается поршень, называется зеркалом цилиндра. Ее тщательно обрабатывают для уменьшения трения при движении в цилиндре поршня с кольцами я часто закаливают для повышения износостойкости и долговечности. Гильзы в блок цилиндров устанавливают так, чтобы охлаждающая жидкость не проникала в них и в поддон, а газы не прорывались из цилиндра. Необходимо предусмотреть и возможность изменения длины гильз в зависимости от температуры двигателя. В целях фиксации вертикального расположения гильз они имеют специальный бурт для упора в блок цилиндров и установочные пояса.


Рис.2. Схемы цилиндров двигателей:
а - без гильз, но с короткой вставкой (автомобилей ЗИЛ-157К, ГАЗ-52-04); б и б"с "мокрой" гильзой (дизели ЯМЗ-236 и автомобиля КамАЗ-5320); г - с "мокрой" гильзой, в которую запрессована коротка я вставка (на автомобилях ГАЗ-24 "Волга", ГАЗ-53А, ЗИЛ-130 и др.); 1 - блок цилиндров 2 - водяная рубашка; 3 - вставка; 4, 5 и 6 - гильзы цилиндров; 7 - уплотнительные кольца (резиновые или медные, устанавливаемые под бурт)
Мокрые гильзы в нижней части уплотняют резиновыми кольцами, размещаемыми в канавках блока цилиндров (двигатели автомобиля КамАЗ-5320), в канавках гильз (двигатели автомобилей МАЗ-5335, ЗИЛ-130 и др.), или медными кольцевыми прокладками, устанавливаемыми между блоком и опорной поверхностью нижнего пояса гильзы (двигатели автомобилей ГАЗ-24 "Волга", ГАЗ-53А и др.) - Верхний торец гильзы выступает над плоскостью блока цилиндров на 0,02-0,16 мм, что способствует лучшему обжатию прокладки головки блока и надежному уплотнению гильзы, блока и головки блока.
Во время работы двигателя в верхней части цилиндров сгорает рабочая смесь. Горение сопровождается выделением продуктов окисления, которые вызывают коррозию цилиндров. Для повышения износостойкости цилиндров в некоторых двигателях применяют вставки 3 из антикоррозионного чугуна. Их запрессовывают в блок цилиндров (двигатели автомобилей ЗИЛ-130К, ГАЗ-52-04) или в гильзы цилиндров (двигатели автомобилей ГАЗ-24 "Волга", ГАЗ-53А, ЗИЛ-130 и др.). Это усложняет технологию изготовления двигателя. В перспективе конструкторы предполагают использовать специальные металлы, что позволит отказаться от применения вставок в цилиндрах.
Поперечные вертикальные перегородки внутри блока цилиндров совместно с передней и задней стенками обеспечивают его необходимую прочность и жесткость. В этих перегородках, а также в передней и задней стенках блока расточены гнезда под верхние половины коренных подшипников коленчатого вала. Нижние половины коренных подшипников помещены в крышках, прикрепленных к блоку на шпильках или болтами.
В V-образных двигателях один из рядов блока цилиндров несколько смещен относительно другого, что вызвано расположением на шатунной шейке коленчатого вала двух шатунов: одного для правого, а другого - для левого блоков. Так, в V-образных двигателях автомобилей ГАЗ-53А левый блок цилиндров смещен вперед (по ходу автомобиля) на 24 мм, а автомобилей ЗИЛ-130 - на 29 мм относительно правого блока. Нумерация цилиндров указана вначале для правого блока цилиндров (по ходу автомобиля), а затем для левого; ближайший к вентилятору цилиндр имеет номер один и т.д.