| Скачать .docx |
Реферат: Принцип работы автоматической коробки передач
Принцип работы АКП.
История создания АКПП
В Европе фирма Mercedes выпустила в 1914г. небольшую партию автомобилей с коробкой передач, которую можно условно назвать автоматической.
В конце 1930-х г. двадцатого столетия такие фирмы, как Chrysler, Ford и GMC, вплотную подошли к освоению серийного производства автомобилей с автоматической трансмиссией, и первой из них была GMC, которая в 1940г стала устанавливать трансмиссию с АКПП.
Hydramatic на автомобили Oldsmobile и Cadillac. Эта трансмиссия имела в своем составе трехскоростную коробку передач с гидравлической системой управления переключением передач.
Дальнейшее развитие автоматических коробок передач, вплоть до начала 80-х годов ХХ века, шло по пути совершенствования технологии производства и повышения качества и надежности механической части АКПП. Каких-либо принципиально новых решений здесь не использовалось.
В то же время гидравлическая система управления АКПП постоянно модернизировалась. Ее стремились довести до полного совершенства тем, чтобы обеспечить максимальную комфортность поездки на автомобиле. В качестве примера можно привести фирму Mercedes, которая для своих автоматических коробок передач 722.3, 722.4, 722.5 разработала оригинальную и уникальную по сложности гидравлическую схему блока управления.
Начиная с 80-х годов прошлого столетия производители автомобилей стали использовать электронную систему управления автоматической коробкой передач. Впервые это сделала в 1983г фирма Toyota. Затем в 1987г Ford для управления повышающей передачей и блокировочной муфтой гидротрансформатора также стал использовать в трансмиссиях A4LD электронный блок. Фирма Chrysler в 1984г представила ультрасовременные трансмиссии А604 и А606 (41ТЕ и 42LE) для переднеприводных автомобилей с полностью электронной и весьма прогрессивной для того времени системой управления. К 1991г GMC разработала трансмиссии 4L60-E и 4T60-E также с полностью электронной системой управления.
На сегодняшний день можно выделить две тенденции развития трансмиссий с АКПП.
Одна из них характеризуется постоянным увеличением числа передач. В начале 80-х годов ХХ столетия в автоматических коробках передач появилась четвертая (повышающая) передача, что было вызвано потребностью значительно улучшить топливно-экономические показатели автомобилей. Одновременно для достижения той же цели стала использоваться блокировка гидротрансформатора. Затем в начале 90-х годов того же столетия с целью улучшения динамических характеристик автомобилей были разработаны пятискоростные АКПП (появилась еще одна понижающая передача). В начале 2001 года немецкая фирма BMW стала устанавливать на свои автомобили шестискоростную автоматическую коробку передач фирмы ZF-6HP26. Здесь, в отличии от пятискоростных АКПП, появилась вторая повышающая передача. И наконец, в последнее время такие фирмы, как Honda, Audi, Nissan и др., стали активно использовать трансмиссии с бесступенчатым изменением передаточного отношения (CVT).
В соответствии со второй тенденцией развития трансмиссий с АКПП происходит совершенствование электронного блока управления и его программного обеспечения. Поначалу это были простые системы, в задачу которых входило определение моментов переключения передач и обеспечение требуемого качества этих переключений. Затем появились программы, которые анализировали манеру управления водителя и самостоятельно принимали решение по выбору алгоритма переключения передач (спортивного или экономичного). В дальнейшем была добавлена функция ручного управления, позволившая водителю самостоятельно определять моменты переключения передач, как это происходит при наличии механической КПП. Кроме того параллельно с расширением возможностей по управлению АКПП происходило совершенствование программы самодиагностики.
АКП.
Традиционные АКПП состоят из гидротрансформатора, планетарных редукторов, фрикционных и обгонных муфт, соединительных валов и барабанов. Также иногда применяется тормозная лента, затормаживающая один из барабанов относительно корпуса АКПП при включении той или иной передачи. Рассмотрим вкратце главные компоненты автоматической трансмиссии и функции, которые они выполняют (рис. 1)
Рис.1. Главные компоненты автоматической трансмиссии :
1) Гидротрансформатор (ГТ) – соответствует сцеплению в механической трансмиссии, но не требует непосредственного управления со стороны водителя.
2) Планетарный ряд - соответствует блоку шестерен в механической коробке передач и служит для изменения передаточного отношения в автоматической трансмиссии при переключении передач.
3) Тормозная лента, передний фрикцион, задний фрикцион – компоненты, посредством которых осуществляется переключение передач.
4) Устройство управления – осуществляет контроль за переключением передач в трансмиссии со встроенной электронной системой управления.
Автоматическая трансмиссия переключает передачи самостоятельно в зависимости от скорости автомобиля и обеспечивает водителю приятные и комфортные условия для вождения автомобиля. От водителя лишь требуется вручную выбрать направление движения машины: вперёд или назад.
Гидротрансформатор
Гидротрансформатор (ГТ) (или torque converter в зарубежных источниках) служит для передачи крутящего момента непосредственно от двигателя к элементам автоматической коробки передач (АКП) и состоит из следующих основных частей (рис. 2):
- насосное колесо или насос (pump);
- плита блокировки ГТ (lock - up piston);
- турбинное колесо или турбина (turbine);
- статор (stator);
- обгонная муфта (one - way clutch).
Рис. 2. Общее устройство гидротрансформатора
Для иллюстрации принципа действия ГТ как элемента, передающего крутящий момент, воспользуемся примером с двумя вентиляторами (рис.3). Один вентилятор (насос) включён в сеть и создаёт поток воздуха. Второй вентилятор (турбина) - выключен, однако, его лопатки, воспринимая поток воздуха, создаваемого насосом, вращаются. Скорость вращения турбины меньше, чем у насоса, она как бы проскальзывает по отношению к насосу. Если применить этот пример по отношению к ГТ, то в нём в качестве вентилятора, включённого в сеть (насоса), выступает крыльчатка насосного колеса.
Рис. 3. Пример с вентиляторами
Насосное колесо механически связано с двигателем. В качестве выключенного вентилятора (турбины) выступает турбинное колесо, соединённое через шлицы с валом АКП. Подобно вентилятору - насосу, крыльчатка насосного колеса ГТ, вращаясь, создаёт поток, только уже не воздуха, а жидкости (масла). Поток масла, как и в случае с вентилятором - турбиной, заставляет вращаться турбинное колесо ГТ. В данном случае ГТ работает как обыкновенная гидромуфта, лишь передавая посредством жидкости крутящий момент от двигателя на вал АКП, не увеличивая его. Увеличение оборотов двигателя не приводит к сколь - ни будь существенному увеличению передаваемого крутящего момента.
Снова возвратимся к иллюстрации с вентиляторами. Поток воздуха, крутящий лопатки вентилятора - турбины, рассеивается впустую в пространстве. Если же этот поток, сохраняющий значительную остаточную энергию, направить снова к вентилятору - насосу, он начнёт вращаться быстрее, создавая более мощный поток воздуха, направленный к вентилятору - турбине. Тот, соответственно, тоже начнёт вращаться быстрее. Это явление известно как преобразование (увеличение) крутящего момента.
В ГТ в процесс преобразования крутящего момента помимо насосного и турбинного колёс включён статор, который изменяет направление потока жидкости. Подобно воздуху, вращавшему лопатки вентилятора - турбины, поток жидкости (масла), вращавший турбинное колесо ГТ, всё ещё обладает значительной остаточной энергией. Статор направляет этот поток обратно на крыльчатку насосного колеса, заставляя её вращаться быстрее, увеличивая тем самым крутящий момент. Чем меньше скорость вращения турбинного колеса ГТ по отношению к скорости вращения насосного колеса, тем большей остаточной энергией обладает масло, возвращаемое статором на насос, и тем большим будет момент, создаваемый в ГТ.
Рис. 4. Статор ГТ удерживается обгонной муфтой Рис. 5. Статор ГТ вращается свободно
Турбина всегда имеет скорость вращения меньшую, чем насос. Это соотношение скоростей вращения турбины и насоса максимально при неподвижном автомобиле и уменьшается с увеличением его скорости. Поскольку статор связан с ГТ через обгонную муфту, которая может вращаться только в одном направлении, то, благодаря особой форме лопаток статора и турбины поток масла направляется на обратную сторону лопаток статора (рис. 4), благодаря чему статор заклинивается и остаётся неподвижным, передавая на вход насоса максимальное количество остаточной энергии масла, сохранившееся после вращения им турбины. Такой режим работы ГТ обеспечивает максимальную передачу им крутящего момента. Например, при трогании с места ГТ увеличивает крутящий момент почти втрираза.
По мере разгона автомобиля проскальзывание турбины относительно насоса уменьшается и наступает момент, когда поток масла подхватывает колесо статора и начинает вращать его в сторону свободного хода обгонной муфты (см. рис. 5). ГТ перестаёт увеличивать крутящий момент и переходит в режим обычной гидромуфты. В таком режиме ГТ имеет КПД, не превышающий 85%, что приводит к выделению в нём излишнего тепла и, в конечном счёте, увеличению расхода топлива двигателем автомобиля.
Для устранения этого недостатка используется блокировочная плита (см. рис. 6а ). Она механически связана с турбиной, однако, может перемещаться влево и вправо. Для её смещения влево поток масла, питающий ГТ, подаётся в пространство между плитой и корпусом ГТ, обеспечивая их механическую развязку, то есть, плита в таком положении никак не влияет на работу ГТ.
При достижении автомобилем высокой скорости по особой команде от устройства управления АКП поток масла изменяется так, что он прижимает блокировочную плиту вправо к корпусу ГТ (см. рис. 6б ). Для увеличения силы сцепления на внутреннюю сторону корпуса наносится фрикционный слой. Происходит механическая блокировка насоса и турбины посредством плиты. ГТ перестаёт выполнять свои функции. Двигатель жёстко связывается с входным валом АКП. Естественно, при малейшем торможении автомобиля блокировка немедленно выключается.
Существуют и другие способы блокировки ГТ, однако, суть всех способов одна - исключить проскальзывание турбины относительно насоса. В зарубежных источниках такой режим работы ГТ называется Lock - up ( лок - ап)
Корпус ГТ выполняет ещё одну очень важную функцию. С его помощью осуществляется привод масляного насоса АКП. Для этого используется дополнительный валик, размещённый внутри вала турбины. С корпусом ГТ этот валик связан шлицевым соединением. Во многих АКП масляный насос вращается непосредственно горловиной ГТ.
1) Необходимость планетарных рядов .
Хотя ГТ и способен увеличивать крутящий момент, система планетарных рядов в АКП необходима по следующим причинам:
- при преодолении автомобилем подъёмов или во время его резкого разгона в трансмиссии необходимо создать крутящий момент больший, чем может создать один ГТ;
- автомобиль должен быть способен двигаться не только вперёд, но и назад.
2) Планетарные ряды .
В отличие от простой механической трансмиссии, в которой используются параллельные валы и сцепляющиеся между собой шестерни, в автоматических трансмиссиях в подавляющем большинстве используются планетарные передачи.
Преимущества планетарной передачи заключаются в её компактности, использовании лишь одного центрального вала и в способе переключения передач, осуществляемом путём блокировки одних и разблокировании других элементов планетарного ряда.
В автомобиле с простой механической трансмиссией водитель для переключения передач вынужден постоянно и последовательно выжимать педаль сцепления и отпускать педаль газа. Автоматическая трансмиссия автоматически переключает передачи в нужное время. Для этого водителю достаточно манипулировать лишь педалью газа, нажимая или отпуская её.
Планетарная передача обеспечивает ровное, без рывков, переключение скоростей движения автомобиля без потерь мощности двигателя, толчков и ударов, обычно ассоциируемых с моментом переключения передачи в простой трансмиссии.
3) Структура и теория планетарного ряда .
Планетарный ряд (planetary gear, см. рис. 7) состоит из следующих элементов:
- солнечной шестерни (sun gear);
- сателлитов (pinion gears);
- эпицикла (internal gear);
- водила (carrier).
Рис. 7. Планетарный ряд

Рис. 8. Принцип 2-й передачи в АКП
Солнечная шестерня находится в центре. Сателлиты вращаются вокруг солнечной шестерни, в то время как она вращается вокруг своей собственной оси. Эпицикл охватывает сателлиты, которые поддерживают водило. Все сателлиты вращаются одновременно и в одном направлении.
Переключение скорости вращения в планетарном ряду происходит тогда, когда 2 из 3 - х элементов планетарного ряда (солнечная шестерня, эпицикл, водило) находятся в определённых условиях - блокированы или разблокированы в различной комбинации. Что же это за условия?
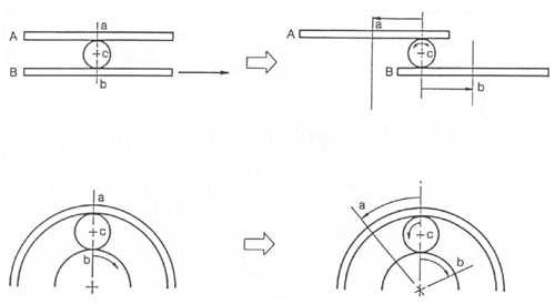
Рассмотрим простой пример. На рис. 8 показан шарик С между досками А и В. Доска В зафиксирована неподвижно, а доска А двигается в направлении, показанном стрелкой. В этом случае шарик с двигается в том же направлении, что и доска А, только медленнее её.
Если применить этот пример к планетарному ряду, то в качестве доски А выступит эпицикл, в качестве доски В - солнечная шестерня и в качестве шарика С - сателлиты. Если зафиксировать солнечную шестерню и повернуть эпицикл в направлении стрелки, сателлит будет вращаться в том же направлении, что и эпицикл. Однако, как и в случае с досками и шариком, сателлит вращается медленнее, чем эпицикл. Такое соотношение скоростей вращения эпицикла и сателлитов в планетарном ряду АКП осуществляется на второй передаче
Рис. 9. Принцип 1-й или пониженной передачи в АКП
Подумаем, что произойдёт, если заставить двигаться сателлиты, а, следовательно, и водило, ещё медленнее. В предыдущем примере доска В была зафиксирована, а доска А - двигалась. На этот раз будем медленно двигать доску В в направлении, противоположном движению доски А. Как показано на рис. 9, шарик движется медленнее, чем в предыдущем случае. Что при этом происходит в планетарном ряде?
Скорость, с которой водило (шарик) передвигается эпициклом (доской А), уменьшается по отношению к скорости вращающейся в обратном направлении солнечной шестерни (доски В). В результате, скорость вращения водила меньше, чем в предыдущем случае со второй передачей. Такое соотношение скоростей водила и эпицикла осуществляется при включении в АКП первой или пониженной (low gear) передачи.
Рис. 10. Принцип 3-й передачи в АКП
Что произойдёт, если двигать доску А и доску В в одинаковом направлении и с одинаковой скоростью? Шарик С между досками не может двигаться самостоятельно, следовательно, он двигается вместе с ними (рис. 10). Если в планетарном ряду эпицикл и солнечная шестерня вращаются в одинаковом направлении и с одинаковой скоростью, водило вращается в том же направлении и с той же скоростью. Такое соотношение скоростей данных элементов планетарного ряда осуществляется при включённой третьей (drive) передаче.
Рис. 11. Принцип задней передачи в АКП
Попробуем двигать доску В в направлении, показанном стрелкой (рис. 11). Шарик С остаётся неподвижным, вращаясь только вокруг своей оси. В этом случае доска А двигается в направлении, противоположном направлению движения доски В. Применим эту ситуацию к планетарному ряду. Если водило зафиксировано и солнечная шестерня вращается по часовой стрелке (рис. 11), сателлиты вращаются и двигают эпицикл против часовой стрелки. В этом случае, если считать, что солнечная шестерня передаёт входной момент, а эпицикл - выходной, то применительно к автоматической трансмиссии получим передачу заднего хода (reverse gear).
Рис. 12. Принцип 4-й передачи в АКП
Наконец зафиксируем доску В и будем двигать шарик С в направлении стрелки (рис. 12). Тогда доска А двигается с большей скоростью и в том же направлении, что и шарик. Снова применим эту ситуацию к планетарному ряду. Если солнечная шестерня (доска В) заблокирована, а водило (шарик С) вращается по часовой стрелке (рис. 12), сателлиты вращаются в том же направлении вокруг солнечной шестерни. Скорость вращения эпицикла складывается из собственной скорости вращения сателлитов и скорости их вращения вокруг неподвижной солнечной шестерни. Другими словами, эпицикл вращается быстрее, чем водило. Такое соотношение в трансмиссии характерно для четвёртой (overdrive) передачи.
Схема планетарного ряда
Как правило, для переключения передач в 3 - скоростной автоматической трансмиссии используются 2 планетарных ряда, в 4 - скоростной - 3 планетарных ряда, но бывают и исключения, например, АКП AXOD (Ford).
| Рассмотрим механизмы, посредством которых осуществляется блокировка различных элементов планетарного ряда в АКП и, следовательно, включение (выключение) различных передач. Этими механизмами являются тормоза и фрикционы.
1) Тормозная лента (brake band). Тормозная лента служит для временной блокировки элементов планетарного ряда на корпус АКП. Несмотря на свои небольшие размеры, лента обладает весьма сильной удерживающей способностью. Подобно тормозным башмакам, она использует для блокировки эффект самозажатия. Когда тормозная лента отпускается, толчок, возникающий при переключении передач, смягчается, поскольку элемент планетарного ряда, который удерживала лента, начинает вращаться в сторону, противоположную направлению приложения силы торможения ленты. Другими словами, когда лента отпускается, она стремится освободить себя быстрее. Итак, перечислим основные достоинства тормозной ленты: Принцип действия тормозной ленты. Один конец тормозной ленты крепится неподвижно на корпусе АКП, другой - к поршню сервопривода. Когда масло подаётся в полость включения сервопривода (рис.13), поршень сервопривода, передвигаясь под давлением масла (по рисунку влево), зажимает тормозную ленту, осуществляя тем самым блокировку элемента планетарного ряда. При подаче масла в полость отключения сервопривода давление масла в обеих полостях выравнивается, поршень сервопривода под действием возвратной пружины возвращается в исходное положение (вправо), тормозная лента высвобождается.
Рис. 13. Тормозная лента . 2) Система фрикционов (clutch system). Целесообразность использования фрикционных дисков в автоматических трансмиссиях обусловлена их следующими преимуществами: Принцип действия фрикционов. Пакет фрикционов состоит из частей, показанных на рис. 14. Входной крутящий момент передаётся с барабана (drum) на ведущие диски. Ведомые диски поддерживаются втулкой (hub), которая передаёт выходной крутящий момент. Поршень (piston) приводится в действие давлением масла. Двигаясь под давлением масла вправо (по рисунку), поршень посредством конического диска (dished plate) плотно прижимает ведущие диски пакета к ведомым. Заставляя их вращаться как единое целое и осуществляя передачу крутящего момента от барабана к втулке. Как только давление масла падает, поршень под действием возвратной пружины (return spring) перемещается влево, ведущие и ведомые диски разжимаются, крутящий момент через пакет больше не передаётся. Рис. 14. Составные части фрикциона . Даже когда фрикцион выключен, в барабане, который вращается с большой скоростью, масло, оставшееся между барабаном и втулкой, отбрасывается под действием центробежной силы к внутренней стенке барабана. Вследствие этого возникает остаточное давление масла, которое прикладывается к поршню, вынуждая его к перемещению и подвключению фрикциона. Это приводит к преждевременному износу дисков и прочим неприятностям. Существуют 2 метода устранения подобного явления (рис. 15). Метод1
. Метод2
. Рис. 15. Методы устранения подвключения выключенного фрикциона . 2) Обгонная муфта (one - way clutch). Обгонная муфта может вращаться лишь в одном направлении. Она состоит из подвижного внутреннего кольца (inner race), зафиксированного наружного кольца (outer race) и кулачков (рис.16). Рис. 16. Обгонная муфта . Принцип действия. Когда внутреннее кольцо вращается по часовой стрелке, оно проскальзывает через кулачок (см. рис. 16). Когда же внутреннее кольцо пытается вращаться против часовой стрелки, оно поднимает кулачок и он, заклиниваясь, не даёт кольцу возможности вращаться в этом направлении. |
Утверждаю
Преподаватель
военной кафедры
_________________________
"____" _____________ 2010г.
Реферат на тему
Принцип работы АКП
Выполнил:
2010г.