| Скачать .docx |
Реферат: Клапан пантографа КП 17-09 (КП-1)
Выпускная письменная квалификационная работа
Задание.
Профессия: «Слесарь электроподвижного состава»
Группа: «СЭ-XX»
Фамилия, Имя: XXX.
Тема: Клапан пантографа КП 17-09 (КП-1).
Содержание задания:
«Назначение, устройство, работа клапана пантографа КП 17-09 (КП-1). Текущий ремонт и обслуживание клапана пантографа КП 17-09 (КП-1). Экономическая часть. Охрана труда на ж/д транспорте.»
Графическая
часть:______________________________
Дата выдачи
задания:____________________________
Срок:
сдачи:______________________________
Тема: клапан пантографа КП 17-09 (КП-1)
План.
1. Введение
2. Назначение клапана пантографа КП 17-09 (КП-1)
3. Устройство и работа клапана пантографа КП 17-09 (КП-1)
4. Ремонт и техническое обслуживание
5. Экономическая часть
6. Охрана труда на ж/д транспорте
7. Список используемой литературы
Введение.
С развитием благосостояния страны происходит увеличение предприятий и, следовательно, происходит заметное увеличение товаров, которые надо постоянно доставлять с предприятия на другое предприятие, а так же на склады и другие торгующие и производящие организации. Из-за чего требуется большое количество транспорта, такого как, железнодорожный, авиационный и автомобильный транспорт. Так как авиационный и автомобильный транспорт не может осилить такие потоки грузов, а уж тем более, речной транспорт, то далее тема пойдёт именно о железнодорожном сообщении, а если быть ещё точнее, то об электрическом железнодорожном сообщении.
История электрической железной дороги начинается с 1920 года. В 1920м году был разработан план ГОЭЛРО, в нём было уделено большое внимание увеличению провозной и пропускной способности железных дорог за счёт электрической тяги и, уже, в 1926 году был электрифицирован первый участок Баку – Сураханы, протяженностью 19 километров. Далее перевели на электрическую тягу участок Москва – Мытищи протяженностью 18 километров. Позже на Кавказе электрифицировали участок протяженностью 63 километра Хашури – Зестафон, это уже был первый магистральный участок, и это уже был 1932 год.
Далее в истории железных дорог началась «революция» - были электрифицированы все напряженные участки, где грузооборот был наиболее максимальным. К началу второй мировой войны общая протяженность электрифицированных участков составила около 500 километров. Сейчас электрифицировано более половины железных дорог России.
После введения электрической тяги появились новые проблемы – это нехватка мощности двигателей электровозов. Для решения этой проблемы было решено повысить напряжение в контактной сети с 1500 вольт до 3000, а так же в целях экономии от потерь начали применять переменное напряжение на 25000 вольт. Также освоили технологию рекуперативного (электрического) торможения, это торможение позволяет вернуть в контактную сеть значительное количество энергии за счёт силы движения поезда.
Нигде кроме, как у нас в России нет такого развития железнодорожного сообщения. Общая протяженность всех путей составляет полную окружность земного шара. Только железная дорога может перевезти миллионы тон груза в год. Во времена СССР развитие железнодорожного транспорта было на первом мете мире. Так уже 1932 году был построен мощный, по тем временам, электровоз ВЛ-19. Одновременно с веткой электровозов постоянного тока развивалось ветка электровозов и переменного тока.
Вся стабильная работа зависит не только от напряжения на контактном проводе, но и от воздуха. Конечно, без воздуха не может не работать ни один контактор, но и не будет тормозов, а так же не поднимется ни один пантограф. Поэтому далее пойдёт речь именно о приборах, которые позволяют пантограф и включить контактор. Это клапан пантографа КП 17-09 и электропневматический вентиль. Эти приборы одна из главных составляющих любого электровоза.
Назначение клапана пантографа КП 17-09 (КП-1).Электропневматические клапаны применяют в тех случаях когда требуется моментально пропустить большое количество сжатого воздуха для какого-либо прибор, например в поршень пантографа для его поднятия или опускания (для опускания пантографа электропневматический клапан работает естественно в обратном направлении т.е. на выпуск воздуха), а также их применяют там где невозможно использовать обычные электромагнитные вентили из-за их малой впускной и выпускной способности.
Электропневматический клапан КП 17-09, называемый также клапаном токоприемника (пантографа), применяют для управления подъемом и опускании токоприемников. Также аналогичные по устройству клапаны КП 1, его применяют для подачи воздуха к звуковым сигналам (тифонам) на отечественных электровозах, КП 016Т для подачи сжатого воздуха к цилиндрам противоразгрузочного устройства, а также в устройстве автоматического торможения при срыве рекуперации независимо от положения рукоятки крана машиниста на электровозах ВЛ-10. Также аналогичен по устройству и клапан песочницы КП 1А.
На более современных электровозах начали применяться клапаны КП-41 и КП -39 вместо КП 17-09 и КП 1 соответственно. В них стали применять резиновые уплотнения вместо клапанов и резиновые манжеты на поршнях вместо кожаных.
Здесь были затронуты электропневматические клапаны такие как КП-016Т и КП-1А, которые далее не будут фигурировать в описании, из-за того что принцип работы и устройство, а также назначение у них практически такое же как и у КП 17-09 и КП-1.
Все электропневматические клапаны обычно работают в паре с электромагнитными вентилями типа ВВ и ВКВ.
Технические характеристики:
Рабочее давление 3,75 – 6,75 кгс/см².
Ток срабатывания при давлении 5 кгс/см² 0,185 А.
Масса 7,67 кг.
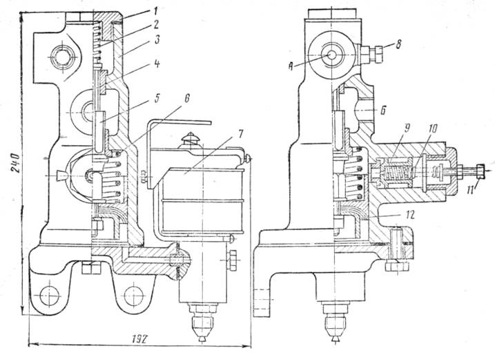
Высота 240 мм.
Ширина с вентилем 192 мм.

Устройство и работа
клапана пантографа КП 17-09 (КП-1).
Так как электропневматические клапаны работают со сжатым воздухом большого давления, они имеют массивный корпус, изготовленный из литого чугуна 3. Через отверстие А соединена с источником сжатого воздуха, средняя полость соединена с цилиндром токоприемника через отверстие Б. Нижняя полость соединена через дросселирующее устройство с атмосферой. В нижней полости расположен поршень 12 с кожаным уплотнением, он же в свою очередь отжимается вниз пружиной 6. На короткий шток поршня опирается клапан 5, а на него клапан 4. На этот клапан сверху нажимает пружина 2.
Включение клапана осуществляется с помощью включающего вентиля (при подаче напряжения на его обмотку). При невозбужденном вентиле поршень 12 находится внизу, в это же время клапан 4 закрыт, а клапан 5 открыт и цилиндр токоприемника соединен с атмосферой через отверстие 5.
Для подъема пантографа машинист нажимает на пульте управления соответствующие кнопки, и тем самым подает напряжение на обмотку вентиля 7. Сжатый воздух от источника поступает под поршень и, поднимая его, сжимает пружины 6 и 2, закрывает клапан 5 и открывает клапан 4. Сжатый воздух от источника через отверстие А поступает по широкому каналу клапана 4 и через отверстие Б направляется к цилиндру пантографа. Когда катушка вентиля отключается, поршень опускается и, закрывая клапан 4, открывает клапан 5. Через этот клапан воздух направляется в дросселирующее устройство, состоящего из клапана 9, прижимаемого пружиной.
Дросселирующее устройство предназначено для кратковременного, быстрого сбора воздуха из цилиндра пантографа. Это необходимо для того чтобы, в момент отрыва полоза токоприемника от контактного провода не образовалось электрической дуги, которая приводит к быстрому износу, как токоприемника, так и контактного провода. Быстрый спуск воздуха происходит из-за того, что в первый момент давление в цилиндре очень велико и воздух отодвигает клапан 9 и выходит через образовавшееся отверстие. При снижении давления клапан закрывается, и воздух выходит обычным путем через узкий винтовой канал. Замедление спуска воздуха предназначено для исключения удара токоприемника по буферу. Давление смещения клапана регулируют болтом 11. Этот болт позволят более точно настроить расстояние, на которое полоз пантографа резко оторвется от контактного провода. Верхняя полость клапана закрыта пробкой. Время наполнения цилиндра регулируют изменением отверстия. А винтом 8.
Ремонт и техническое обслуживание производится с целью предупреждения и устранения неисправностей и состоит в следующем:
1) Протирка и очистка от загрязнений внешней части корпуса.
2) Удаление старой смазки, прочистка с помощью керосина или солярки.
3) Проверка износа манжет и при необходимости замена их.
4) Проверка натяжения пружин и в случае их износа обязательная замена.
5) Заполнение трущихся частей свежей смазкой.
6) Закрытие корпуса, проверка его герметичности.
7) Регулировка необходимых регулировочных винтов для правильной работы клапана.
8) Проверка работы клапана на тестовом стенде.
Все работы выполняются в цеху с предварительным снятием его с электровоза. При неисправном корпусе (трещины, сколы, отсутствие герметичности и других неисправностях) производится его замена.
Экономическая часть.
1. Расходы на оплату труда:
а) Снятие и установка клапана – 11 руб.
б) Разборка, ремонт, и сборка клапана – 173 руб. 40 коп.
в) Испытание – 6 руб. 44 коп.
Итого: 200 руб. 84 коп. + премия 75% 150 руб. 63 коп. + выслуга лет 10% 20 руб. 10 коп.
Всего на оплату труда 370 руб. 57 коп.
2. Начисление на фонд заработной платы – 37% 173 руб. 48 коп.
3. Расходы на материалы:
а) Манжеты 15 руб.
б) Притирка клапана 40 руб.
в) Замена пружины 25 руб.
г) Замена корпуса 57 руб.
Итого: 137 руб.
4. Накладные расходы ( 0.25% от стоимости материала) 136 руб. 70 коп.
Себестоимость 870 руб. 08 коп.
Охрана труда на железнодорожном транспорте.
1. Категорически запрещается производить какие-либо операции по обнаружению неисправностей, снимать щиты и входить в высоковольтную камеру при:
а) Поднятом токоприемнике.
б) Движении электровоза.
в) Вращении якоря тягового двигателя.
г) Разблокировке конечных выключателей.
2. Ключ кнопочного выключателя должен находиться у лица производящего работу в высоковольтной камере.
3. Перед заменой низковольтных предохранителей следует обесточить и выключить соответствующие кнопки.
4. При отыскивании и устранении неисправностей в высоковольтной камере должны быть выключены разъединители, а также должны быть открыта дверь в высоковольтную камеру.
5. При осмотре тяговых двигателей необходимо выполнять пункт 4, отключив ножи от двигателя.
6. Категорически запрещается:
а) Производить временное соединение высоковольтных цепей, проложенного провода в кабине машиниста, в коридорах и машинных помещений.
б) Следование электровоза без постановки снятых при осмотре съемных щитов в высоковольтной камере коллекторных люков, высоковольтных щитов и машин.
в) Включение и закрепление во включенном положении клапанов пантографа, а также непосредственной части проводки питания помимо кнопок.
7. Осмотр аккумуляторных батарей разрешается производить только пользуясь в закрытом источнике света.
8. При отключении высоковольтных цепей необходимо надеть резиновые перчатки высоковольтные (диэлектрические).
9. Подбивочные, обтирочные, смазочные концы и материалы должны храниться в закрытом металлическом ящике.
10. Подниматься на крышу можно только убедившись в действительном опускании обоих пантографов электровоза.
Осмотр и ремонт крышевого оборудования можно выполнять только при горящем освещении, ходить по крыше нужно осторожно, особенно зимой, когда мостики покрыты изморозью и очень скользкие. На крыше электровоза постоянного тока при отсутствии напряжения в контактной части в случае крайней необходимости разрешено выполнять следующие работы:
а) Проверку состояния пантографов (полозов), механизмов полозов, шарнирных соединений.
б) Осмотр и проверку креплений подводящего кабеля, отсоединение провода и смену прожекторных ламп, отсоединение резиновых рукавов от пантографа и регулировка тифона
11. Категорически запрещается подниматься, растягивать в ручную подвижные рамы пантографа и приближаться на расстояние не менее 1 метра от контактной сети находящейся под напряжением.
Список используемой литературы.
1. «Устройство и ремонт электровозов постоянного тока», С.А.Алябьев, Е.В.Горчаков, С.И.Осипов, Э.Э.Ридель, В.Н.Хлебников. – «Транспорт» 1977г.
2. «Электропоезд ЭР2 – инструкционная книга», Г.С. Люблинская. – «Транспорт» 1966г.
3. «Железнодорожный транспорт – энциклопедия», Н.С. Конарев. «Большая Российская Энциклопедия» 1995г.