| Скачать .docx |
Реферат: Роторно-поршневые двигатели
НЕГОСУДАРСТВЕННОЕ ЧАСТНОЕ ОБРАЗОВАТЕЛЬНОЕ УЧРЕЖДЕНИЕ
ВЫСШЕГО ПРОФЕССИОНАЛЬНОГО ОБРАЗОВАНИЯ
КУБАНСКИЙ СОЦИАЛЬНО - ЭКОНОМИЧЕСКИЙ ИНСТИТУТ
ИНЖЕНЕРНЫЙ ФАКУЛЬТЕТ
Реферат
«Роторно-поршневые двигатели»
Выполнил студент
группы 05-ЧС
Ярмолюк В.В.
Краснодар 2009г.
Роторный двигатель, двигатель внутреннего сгорания, в котором энергия сгорающих газов преобразуется в механическую с помощью ротора, совершающего вращательное или вращательно-возвратное движение относительно корпуса. Идея создания Роторный двигатель, известного также как коловратный или роторно-поршневой, была впервые выдвинута в 16 в. Зарегистрировано несколько тыс. патентов на Роторный двигатель
Первая попытка постройки действующего образца Роторный двигатель относится к 1799, однако практически пригодные двигатели появились лишь в 1957 (Ванкеля двигатель).
В процессе работы объёмы полостей, формируемые поверхностями ротора и корпуса, периодически изменяются — непрерывно повторяются циклы сжатия и расширения рабочего тела. Т. о., в Роторный двигатель возможны те же рабочие процессы (двухи четырёхтактные), которые характерны для поршневых двигателей внутреннего сгорания.
Современные Роторный двигатель выполняются как с одной, так и с двумя и тремя рабочими секциями (2 или 3 ротора, сидящих на общем эксцентриковом валу).
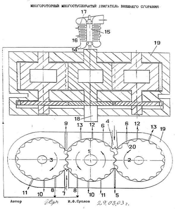
1. Многороторный многоступенчатый двигатель внутреннего сгорания
Рассмотрим пример роторного двигателя, многоступенчатого принципа действия, компактно расположенного в одном корпусе на центральном роторе имеется турбина и вал отбора мощности. В предложенном двигателе использована работа шестерёнчатых пневмодвигателей работающих без расширения рабочего тела высокого давления. Единственно известный в технике мотор, работает без расширения рабочего газа, в процессе вращения роторов, «с полным наполнением рабочих камер сжатым газом (межзубовых впадин) , и использован в данном изобретении. Это значит, что если в рабочую камеру шестерёнчатого двигателя подается холодный газ с давлением 20 или 50 атм., то каждый ротор, провернувшись на 1/18 часть оборота (количество впадин на роторе) отсекает порцию газа во впадине последним «зубом» выходящим из рабочей камеры и уносит те же 20 или 50 атм. сжатого газа через выходную камеру, в атмосферу БЕЗ РАСШИРЕНИЯ!!! Вот этот совершивший работу, но не расширившийся газ, уносимый во впадинах из рабочей камеры на пути к выходной камере, используется еще раз, через изобретенные промежуточные паро(газо)проводные каналы, выполненные в корпусе двигателя по патенту № 1722239 и в данной заявке на патент. Двигатель работает следующим образом: из парогенератора высокого давления (не показан), пар, например 20…50 атм., подается во вход 4 (в рабочую камеру) первой ступени двигателя, представляющую собой два ротора 1, 2. Под действием давления пара «зубчатые» роторы 1, 2 вращаются в направлениях указанных стрелками. Из паронесущих впадин 20 отработанный пар высокого давления выходит в первые два промежуточных паропроводных канала 6 и поступает в рабочую камеру 7 второй ступени двигателя, состоящего из роторов 1 и 3. Роторы 1, 3 второй ступени двигателя вращаются от отработанного пара в первой ступени двигателя в направлениях указанных стрелками. Из паронесущих впадин 20 второй ступени двигателя (роторы 1 и 3) пар поступает через первых два промежуточных паропроводных канала 8 в основной вход 14 турбины 15. Остаток пара, находящийся во впадинах 20 первой ступени двигателя (роторы 1, 2), переносится до следующих двух каналов 12 и поступает на промежуточную ступень 16 турбины 15.
Также на промежуточную ступень 16 турбины 15 поступает пар от роторов второй ступени через каналы 10 среднего давления. Остаточное давление пара во впадинах 20 от роторов обоих ступеней через каналы 13 и 11 поступает на промежуточную ступень 17 турбины 15.
В прототипе и в данной заявке рабочий газ используется в двух ступенях высокого давления и в турбине. Если начальное рабочее давление газа увеличить до 80-100 атм., то можно использовать каскад из трех и более таких ступеней высокого давления, состоящих из трех и более боковых роторов, вращающихся вокруг центрального ротора и одну турбину. Общий КПД такого двигателя будет еще выше. Один шестеренчатый пневмодвигатель работает без расширения газа, имеет КПД 65-72%, КПД газовых турбин более 80%.

2. Роторно-поршневой двигатель. Что такое роторно-поршневой двигатель (сокращенно - РПД)? Это бензиновый мотор с искровым зажиганием, работающий по четырехтактному циклу (рис. 1). В блоке цилиндров - статоре, внутренняя поверхность которого представляет сложную кривую - эпитрохоиду, вращается ротор (рис. 2). Его функция аналогична той, что выполняют поршень с шатуном в обычном моторе. Крутящий момент передается на эксцентриковый вал. Газообмен происходит через впускные и выпускные окна, а смесь в вытянутой камере сгорания последовательно поджигают две свечи.
РПД меньше и легче поршневого двигателя, равного по мощности, в полтора-два раза. Да и по конструкции «ротор» проще и надежнее, к тому же не требует частого обслуживания. Но коль есть плюсы, найдутся и минусы. Например, повышенный расход масла и бензина. Считается, что РПД трудно загнать в жесткие экологические рамки. Мощностные характеристики таковы, что требуется изменять трансмиссию автомобиля (например, максимум момента достигается на очень высоких оборотах - до 8000 об/мин!). В какой-то степени это болезни роста, ведь РПД моложе традиционных моторов на полвека...
Рис 1: Принцип работы роторно-поршневого двигателя
![]() |

Время шло, поршневые моторы матерели, угрожая в любой момент превзойти по силам РГЩ. Кроме того, на производителей давили основные заказчики -спецслужбы, которым был нужен мощный и в то же время компактный двигатель. Прелесть РГЩ в том, что его легко «умножить на два» - добавить еще один статор и ротор.
Первым двухсекционным мотором, сделанным у нас, стал 120-сильный ВАЗ-411. Мотор получился удачным -15 лет его устанавливали под капот «жигу-лей». Первые две машины передали спецслужбам летом 80-го, а всего выпустили более 200 автомобилей. Позже родился преемник с широкими секциями и увеличенной мощностью (99,3 кВт/135 л. с).

С появлением переднеприводных моделей вазовское КБ начало активно работать над новым мотором. Опытный двухлитровый ВАЗ-414 немного отличался от предшественника. Статор - самый ответственный и дорогой элемент был уже не открытого, а коробчатого типа. Подобная конструкция надежнее - деталь меньше страдает от перегрева и имеет большую жесткость. Правда, отливать заготовку и обрабатывать внутренние каналы такого корпуса сложнее. Окончательным вариантом для переднеприводных моделей стал карбюраторный ВАЗ-415 приведенным объемом 2,6 л. Электронный впрыск, как обязательный атрибут всех будущих моторов, уже разработан, но применяется только на авиационных «ванкелях». Когда он спустится с небес на землю - одному Богу известно.
К сожалению, развитие автомобильных РПД на ВАЗе приостановилось. Все же эти моторы требуют... собственных автомобилей. А в условиях массового производства держать на конвейере специальную модель «под РПД» не всегда удобно. Впрочем, японская «Мазда» последовательно доказывает обратное.
Не так давно в нашей стране всерьез рассматривали роторно-поршневой мотор как замену ныне господствующих в автомобильном мире двигателей Отто и Дизеля. Казалось бы - собирай секции в длиннющую «колбасу» и получишь ряд унифицированных (!) моторов мощностью до 1000 л. с! Увы, стыковать больше двух секций очень сложно технологически. Впрочем, модульный принцип мог быть реализован с помощью угловых редукторов: секции РПД располагались вертикально, как цилиндры обычного мотора, а редукторы передавали крутящий момент на общий горизонтальный выходной вал! Относительно маломощные РПД предполагали устанавливать на легковые автомобили и небольшие самолеты, посильнее - на грузовики, пассажирский и железнодорожный транспорт. Красивая идея так и не воплотилась в жизнь...
3. ВАЗ о своих роторно-поршневых двигателях. Есть интересные аргументы в их пользу.
Первые страницы истории вазовских РПД начали заполняться довольно давно. О них нам любезно согласились рассказать стоявшие у самых истоков Николай Максимович Головко и Евгений Артемович Башинджагян.
Н.М.Головко:
- Я до сих пор бережно храню технический отчет, написанный но итогам поездки в Японию в 1973 году. Это был период ажиотажа вокруг двигателя Ванкеля. Принципиально новый движок привлекал, прежде всего, значительно меньшим, по сравнению с традиционным поршневым, весом, низкой шумностью, хорошей уравновешенностью. Несколько повышенный — на 8-10 процентов — расход топлива на том этапе не смущал. Думалось, что его удастся в последующем снизить после доводки. Не останавливали даже видимые сразу сложности в обработке деталей двигателя, в первую очередь ротора, статора, элементов уплотнения. Для всего этого требовалось принципиально новое оборудование, повышенный класс обработки.
Но если европейцы, японцы и американцы могут, то мы чем хуже?.. Специальная пресса раз за разом сообщала о внимании в мире к РПД. Лицензию у Ванкеля закупают 25 крупнейших автомобильных фирм. Массовый выпуск роторно-поршневых двигателей начинает японская "Тойе-Когио", впоследствии переименованная в "Мазду", и "Ауди НСУ", входящая в концерн "Фольксваген". В Люксембурге создается завод "Комотор", рассчитанный на выпуск миллиона принципиально новых двигателей в год с участием, насколько помню, "Ситроена", ФИАТа, "Ауди НСУ" и других солидных фирм. В этой обстановке "Тот, кто опоздал — тот проиграл".
... Где-то в начале 1973 года Правительством СССР принимается решение о разработке общегосударственной программы по РПД, и, как первый шаг, направление в Японию представительной делегации во главе с В.Н. Поляковым. Чтобы уяснить внимание к этому вопросу, скажу, что задание на командировку утверждалось (а затем принималось) лично зам. председателя Совмина страны В.Н.Новиковым. В составе делегации были А.И. Вольский, возглавлявший в ту пору отдел машиностроения ЦК КПСС, помощник премьера М.И.Малахов, представители Госплана, ГКНТ, "Лицензинторга", министерства станкостроительной промышленности, НАМИ. О перспективной нацеленности свидетельствовало то, что рабочий, сказал бы так, костяк группы составляли вазовцы — будущий начальник СКБ РПД Б.С. Поспелов, М.А.Коржов от конструкторской службы, и я, от технологической.
Вернулись с настроением, что этим заниматься надо. Мнение еще больше укрепилось через полгода, когда мы выехали практически в том же составе в Германию. На фирму "Ауди НСУ", которая выкупила у Ванкеля право распоряжаться его разработками. Немцы пытались быстрее получить дивиденды с этой новинки, усиленно убеждали нас в необходимости покупки у них лицензии, и будь мы хоть немного более сведущи в этом деле, глядишь и согласились. Но мы просто боялись наделать глупостей и показать себя полными профанами: если по конструкции РПД в НАМИ собрали хоть какую-то информацию, то технологии никто не знал.
И в Германии перед нами не очень-то открывались. О том, чтобы сфотографировать, что-то зарисовать, даже внимательно рассмотреть, и речи быть не могло. Все в общем плане, "на проходе".
О лицензии не договорились. Это огромные деньги. Но технология производства уже начала прорисовываться. Вместе со мной писали ее Карпушкин Леша, Соловьев Слава, чуть позднее подключился Акоев Владимир Михайлович, — всю технологическую работу вело поначалу МСП. Вскоре уже можно было начать привязку "к месту". Да и В.Н.Поляков торопил: "Надо, не мешкая, создавать экспериментальное производство". Тогда и сориентировались на базу учебного центра — там же 10 тысяч квадратных метров производственных площадей.
Начали добывать станки, приспособления под нашу технологию. К этому плотно подключился Б.С.Поспелов. Все, что только можно было достать у военных, еще где... Пробивная мощь у него была огромная. М.А.Коржов также уделял большое внимание новинке. Причем технологическое обоснование закладывалось многовариантное, под самые различные типы РПД, включая и маленькие, для моторных лодок, для мотоциклов.
В это время большинство крупнейших мировых фирм заметно охладело к двигателю Ванкеля.
— У меня есть свое понимание этого. Здесь сказала свое слово большая политика. Принципиально РПД доказал свое право на жизнь. Но для широкого внедрения его требовались очень серьезные средства, коренная перестройка всех сложившихся производственных потоков и, по сути, списание в убыток колоссальных и далеко еще не возмещенных вложений в традиционные "поршневики". Понятно, что кое-кому показалось выгоднее сбить прыть у "Ванкеля", осадить его, по крайней мере, на главном направлении — в массовом автомобилестроении. Подтверждением тому довольно успешное продвижение РПД для мотоциклов, моторных лодок. Мне даже довелось увидеть установки на основе РПД для германского бундесвера, почти бесшумные. Надо ли говорить, какое значение это имеет для подводного флота?
Мое глубочайшее убеждение — последнее слово здесь еще не сказано.
Хочу подчеркнуть, что мы старались всегда смотреть трезво на вещи. Даже самые рьяные ревнители двигателя Ванкеля не ведут речь, что он может заменить в ближайшей перспективе двигатель поршневой. Тем более что и сам Ванкель не проектировал свой двигатель сугубо под автомобиль. Он, наделенный, несомненно, искрой Божией, мыслил гораздо шире.
Инженерные разработки, выполненные в разных фирмах и странах, подтвердили практическую возможность выпуска двигателя, имеющего ряд крайне привлекательных свойств по сравнению с традиционным поршневым, уже почти достигшим своего потолка. Прежде всего, по весо-габаритным характеристикам: на единицу мощности РПД имеет значительно меньший объем.
Была подтверждена сама возможность создания двигателя, в котором бы отсутствовало возвратно-поступательное движение. А ведь с этим связаны основные износы, виброактивность и т.д. Плюс меньше деталей в двигателе. Все это родило надежду, что если довести рабочий процесс по крайней мере до уровня поршневого двигателя, даже с учетом крупных затрат по развертыванию нового производства, РПД может вполне претендовать на самый массовый выпуск и даже, выскажу свое мнение, претендовать на революционный скачок в деле освоения ресурсосберегающих технологий.
Назову, ради справедливости, и основные доводы противников РПД. Кроме сугубо спекулятивных посылок (зачем отказываться от традиционных технологий, в которые уже вложено столько средств?), это несколько повышенный расход топлива у нынешних роторников, низкий ресурс уплотнений камеры сгорания, ряд претензий по экологии, — опять же в значительной мере основываясь на данных 60-х годов. Что я причислил бы к неизбежным детским болезням.
Мне довелось беседовать на эту тему с зарубежными учеными, инженерами, бизнесменами. Господин Гарсайт много лет возглавлял известную фирму "Нортон". "Я не могу назвать ни одной технической причины, по которой этот проект мог бы быть отклонен". То же самое заявил директор фирмы "Ванкель" господин Айерман, бывший главный конструктор фирмы "Ауди" господин Штейнварт.
Давайте непредвзято заглянем за тот же "бугор". Фирма "Мазда" выпускает в год порядка 60 тысяч автомобилей с роторно-поршневым двигателем и успешно продает их, обеспечивая надежность и самые высокие требования по экологии. Англичане продолжают работать над роторной тематикой. Американцы несколько сократили масштабы и, тем не менее... Они увидели в РПД новые заманчивые возможности, сориентировав этот двигатель для транспортных средств войск специального назначения, быстрого реагирования. Осознав, что лезть с РПД на рынок массового автомобилестроения с его жесткой конкуренцией и необходимостью огромных капиталовложений неразумно, они решили опереться и использовать уникальные особенности роторника. Это прежде всего габаритные характеристики: обычно военная техника имеет очень плотную "упаковку" и выигрыш каждого дюйма свободного пространства значит весьма много. Второе — стоимостные показатели. РПД относительно дешевый двигатель. И третье — по специфике рабочего процесса этот двигатель менее требователен к октановому числу бензина. Они развили эту особенность и решили задачу создания всеядного двигателя. Что горит, на том он и должен работать: бензин, керосин, дизтопливо, спирт, газовое топливо. Ведь военная техника может оказаться в регионах, где нет или крайне трудно обеспечить ее традиционным топливом.
Если уж мы вышли на эту несколько скользковатую тему, назову факты, прошедшие в открытой печати. Во время вооруженного конфликта с Египтом и Сирией Израиль использовал беспилотные авиационные разведчики поля боя, на которых стояли роторно-поршневые двигатели мощностью 100-150 лошадиных сил.
- Весьма любопытно, но давайте сначала поговорим о развитии автомобильного профиля РПД.
- 18 апреля 1974 года появился приказ по "АВТОВАЗу" о создании специального конструкторского бюро по роторно-поршневым двигателям. Работа развернулась буквально по всем направлениям. Началось формирование коллектива "роторщиков", костяком которого стали вазовцы. Были приглашены двигателисты с авиационных предприятий Куйбышева. Молодежный костяк бюро составила большая группа выпускников Тольяттинского политехнического института.
Объединенными усилиями ВАЗа, НАМИ, НАТИ, ВНИИмотопрома и других институтов создавались первые образцы отечественного роторного двигателя и основы его производства.
Внимательно изучались образцы лучших зарубежных роторно-поршневых двигателей фирм "Ауди НСУ", позднее "Мазды", "Фихтель и Закс", Удалось заимствовать оттуда ряд решений, но, по большому счету, подбор материалов, пар трения, технологию изготовления, системы охлаждения и смазки двигателя создавали сами. Некоторые из тех пионерных решений, определившие идеологию первых РГЩ, актуальны и по сей день. Назову хотя бы систему управления зажиганием. Первоначально проводились безуспешные попытки внедрения механического "двухэтажного" распределительного зажигания по типу "Мазды". Однако привод его "безобразил" двигатель, и после того как МА Коржов познакомился в Штутгарте с версией управления зажиганием немецкого изобретателя Хартига, на основе ее началась разработка электронно-цифровой системы зажигания для РГД, ив 1975 году уже появились первые собственные системы электронного зажигания.
Параллельно с разработкой блока управления зажиганием, что само по себе было проблемным из-за отсутствия электронной базы в автомобилестроении, велась разработка датчиков контроля параметров двигателя, исполнительных устройств, освоение всей этой новой техники на заводах отрасли. Более 50 разработок были подтверждены авторскими свидетельствами.
Я бы назвал период с 1973 по 1980 год самым ярким в биографии РПД на ВАЗе и в стране. Это был период осуществления больших дел по всем направлениям роторной тематики, больших надежд и первых сомнений. Уже ко Дню машиностроителя 1974 года была изготовлена первая опытная партия РГЩ, и начались стендовые испытания. Сначала это был односекционный, чуть позднее развернулись работы по двухсекционному двигателю.
Все это уже на фоне несколько изменившегося в мире отношения к РПЦ. Мировой энергетический кризис середины 70-х годов и более жесткие требования к расходу топлива, а затем и усиление экологических требований добавили противников РПД Главный аргумент в том, что из-за щелевой неоптимальной камеры сгорания организовать хороший рабочий процесс в РПД невозможно, он всегда будет проигрывать поршневому двигателю. А учитывая необходимость крупных инвестиций во все стадии жизненного цикла этого двигателя, индустриализация его нецелесообразна.
...Ванкель не был профессиональным двигателистом. Точнее его было бы назвать просто талантливым и удачливым изобретателем, наткнувшимся на свою "золотую жилу". Он умер в 1988 году, в возрасте 86 лет, далеко не бедным человеком. Продажа лицензий на РПЦ, акции фирмы "НСУ" позволили ему сколотить приличное состояние.
80-е годы стали для коллектива СКВ РПД периодом борьбы за выживание. К этому времени большинство европейских и американских фирм, занимавшихся автомобилями с РПД, включая "Дженерал Моторс", к концу 70-х годов свернули свои "роторные" программы. На плаву осталась только упорная японская "Мазда".
Представьте себе спортсмена — бегуна, слегка задержавшегося на старте, но затем резво пустившегося догонять основную группу соперников и вдруг обнаружившего, что впереди никого нет, нет даже и финишной ленточки...
К Олимпийским играм 1980 года в Москве СКВ РПД подготовил для спецслужб МВД и КГБ партию скоростных вазовских автомобилей с двухсекционными роторно-поршневыми двигателями мощностью 120 л. с. Машины понравились, шла их доводка.
Часть автомобилей с РПД поступила в свободную продажу.
- Я вспоминаю рассказ Е.А. Башинджагяна, как он, уже, будучи зам. министра автомобильной промышленности, ошеломлял сотрудников ГАИ на правительственной Рублевке. Его машина прямо от светофора брала с первой на третью передачу и стремительно уходила в отрыв. Еще бы, под капотом было 140 "лошадей". Колеса чуть ли не дымились, как у первых реактивных самолетов при посадке.
- Ничего удивительного. Нам даже пришлось ограничивать возможности двигателя в части реализации мощности. Зажали на выпуске штатную выпускную систему, зажали мощностные характеристики системами питания. — Чтобы автомобиль ненароком не превратился в самолет? - Не смейтесь, и это могло произойти, окажись еще под колесами хороший трамплинчик. Но, прежде всего, чтобы ресурс ходовой части РПД был в рамках поршневого. Вместе с тем приобретая дополнительные качества с точки зрения динамики и скорости.
Вообще ниша скоростных автомобилей у нас в стране не культивировалась до недавних пор. В отличие от западных моделей так называемого псевдоспортивного класса. Это не чисто Спортивный гоночный автомобиль, но и не автомобиль общего пользования. Многие западные фирмы на базе одного кузова выпускают несколько модификаций с разными двигателями: 1,3 -1,6,1,8-2 литра. И в России появился сектор, пусть пока и небольшой, людей богатых, которые могут позволить себе купить автомобиль с несколько повышенным расходом топлива, но зато дающий "простор душе".
У нас есть партнер в Бельгии, тоже инженер, со своей фирмой, зараженный идеей РПД. Он занимается тем, что покупает у "Мазды" двигатели и ставит их на европейские автомобили. Он предлагает поставлять ему двигатели, а он будет работать как наш дилер в Европе.
Как только структуры госбезопасности, министерства внутренних дел, и в частности ГАИ, оказались на "голодном пайке", мы потеряли очень крупного заказчика. Которому и мы, думаю, были нужны и полезны. И не среагируй вовремя... А так, бросив главные силы на автомобили общего пользования, мы смогли к лету 97-го года провести сертификацию 8-го, 9-го, 99-го и 15-го автомобилей с роторно-поршневыми двигателями мощностью 140 л. с. Получив тем самым право продавать их.
Уже выстроился целый модельный ряд наших роторников: ВАЗ-413, ВАЗ-414, ВАЗ-415. Последний сумел унаследовать от 413-го двухсекционника его надежность (именно на нем была отработана специальная система смазки "угловых" уплотнений ротора, позволяющая обеспечить его надежную и длительную работу — "Волги" с таким мотором ходили по 300 тысяч километров), а от 414-го — компоновочные решения, позволяющие сделать его универсальным по применяемости для любых вазовских моделей, от "классики" и "Нивы" до "восьмерки" и "десятки".
Семейство 415-х двигателей, имеющих сжатие 9,4 единицы, рассчитано на бензин с октановым числом 93 (возможно применение и 76-го бензина, хотя для этого требуется некоторое изменение системы зажигания), и на стандартные "жигулевские" масла.
Обслуживание "роторника" проще, чем его поршневого собрата. Ведь у РПД нет газораспределительного механизма, а, следовательно, отпадает трудоемкая операция по регулировке клапанных зазоров. Во время технического обслуживания лишь меняются свечи, фильтры и масла.
Если же говорить о мощностных возможностях нашего 415-го двигателя, то сейчас мы работаем над форсированной версией этого двигателя к спортивной "десятке". Он обеспечит мощность в 240-250 л. с. (то, что показывает японская "Мазда"), а в перспективе и до 300 л. с. Если же оснастить его еще системой турбонаддува, имеется реальная возможность снимать 450-500 л. с.
Первые выступления этого роторника на больших соревнованиях (под управлением нашего же гонщика Бориса Маслова) не просто подтвердили наши надежды, но и вызвали своеобразный шок у вазовских конкурентов. Думаю, появление на трассах соревнований "десятки" с доведенным 415-м РПЦ откроет если не новую главу, то главку в развитии этого увлекательного вида спорта.
Больше того, мы все время приспосабливали свои двигатели под какие-то автомобили. А сегодня, убежден, пришла пора разрабатывать автомобили под наши РПЦ.
По существу на сегодняшний день создан двигатель, который может служить базовым для автомобилей ВАЗ, АЗЛК, "Ижмаша". Среднего класса, аналог поршневому двухлитровому.
Есть достаточно серьезные наработки с нижегородцами в части адаптации нашего мотора на автомобиль ГАЗ-3102. Мы сертифицировали этот двигатель, мы уже начали его выпускать и поставлять ГАЗу, но требовались дополнительные вложения в производство для развития массового выпуска, а у Волжского автомобильного, отдавшего все свои ресурсы "десятке", машине ВАЗ-2110, возможностей ддя этого не нашлось. Хотя уверен, сделанный задел втуне не пропадет.
- Владимир Андреевич, еще раз хочу вспомнить разговор с Евгением Артемовичем Башинджагяном. Как неожиданное задание по РПЦ было получено распоряжением из Кремля. "Понимаете, очередной визит вМоскву на самом высоком уровне.Машину сопровождает почетный эскорт, мотоциклисты. На мощных, но неимоверно чадящих мотоциклах. Когда они влетели в Кремль, там во внутреннем дворике чад стоял.
Был тогда во "ВНИИмотопроме" энтузиаст РПЦ, который и предложил использовать вазовские односекционные движки на киевские мотоциклы М-72. Что себя полностью оправдало. Мощность — 40 лошадиных сил, торцевые уплотнения вполне обеспечивали характеристики, чистоту выхлопа. У мотоциклов с нашими РПЦ уже вполне хватало силенок, чтобы не отставать от правительственных "членовозов" на скорости 170-180 километров в час".
- Это стало хорошей проверкой наших сил, возможностей и, по сути, освоением новой размерности двигателя. На базе ее были в дальнейшем созданы лодочный мотор, авиационный двигатель для мотодельтапланов и легких самолетов.
Руководители КБ самарского завода имени Фрунзе просто вцепились в наш РПД для своих "Вихрей". Вместе с ними мы провели серию испытаний, получили отличные характеристики, встал вопрос о начале серийного выпуска, но все уперлось в отсутствие средств. Перестройка, переход к рынку развязали нам руки в выборе партнеров, но и с голыми пятками (и карманами) тоже далеко не уйдешь.
Подобная же ситуация возникла с пермяками. Они, мне говорили, спят и видят поставить РПД на свои моторные лодки. Что бы то ни было, эту тематику не бросаем. Как только возникнут условия для тиражирования, тут же реализуем наши разработки.
Интересным, многообещающим видится создание компрессора на базе роторно-поршневого двигателя, что впрямую связано с ресурсосберегающими технологиями. Влезли в эту проблему и неожиданно оказались в эпицентре схватки межнациональных корпораций. Одна из крупных японских фирм уже настроилась выпускать такие компрессора. Об этом прознали конкуренты, изготовители поршневых компрессоров. Начался прессинг... через производителей электромагнитных муфт, необходимого узла управления компрессорной системой. "Если будете поставлять электромагнитные муфты для компрессоров с РПД — и неизвестно еще, что там получится, — мы ликвидируем все свои заказы у вас". Очередное подтверждение, что мировой рынок в целом расписан, поделен и, чтобы выйти сюда с какой-то новой продукцией, нужно вложить дополнительные средства, соизмеримые с основной технологической подготовкой.
Трудно, очень трудно, дорого, и все же пробиваться туда надо.
Совсем недавно проявилось еще одно близкое к этому направление. Использование РПД в холодильной технике и даже весьма многообещающих так называемых "тепловых насосах", черпающих энергию "из ничего", из разницы температур, например, подземных и наземных вод.
Не ради же красного словца возникло изречение: кто владеет холодом, тот владеет миром. Холодильные установки, кондиционеры... Сфера применения криогенной техники расширяется на глазах. И для нее как нельзя лучше подходит РПД. Одна из западногерманских фирм, фирма "Вебасто", которая занимается климатическими установками для большегрузных автомобилей, комбайнов и т.д., прямо заявила нам при встрече: если только найдем в мире надежного поставщика, мы готовы сменить поршневые компрессоры на роторные.
- Мы выполнили по заказу военно-морского флота серию разработок на основе РПД, существенно повышающих тактикотехнические возможности вооружения. Уже шли согласования крупных военных заказов, обеспеченных солидными инвестициями — под конкретное роторно-поршневое производство. Настроение в коллективе было приподнятое. Все работали с удивительным подъемом, переходя иной раз даже дозволенные границы техники безопасности. Стремление как можно быстрее получить желаемые результаты толкало участников натурных испытаний в самое пекло. "Изделия", как мы их называли, работали на токсичном топливе и должны были после завершения серии испытаний пройти дезактивацию. Но тот же Б.С. Поспелов, чтобы выявить причину какого-то сбоя, лез в еще "тепленький" движок и потом его приходилось откачивать. Может это в чем-то и приблизило его кончину в январе 1988 года, в возрасте 59 лет. Он отдал всего себя этому делу.
Государственные испытания прошли успешно, но это уже мало что значило на фоне надвигающегося развала судостроительной промышленности Союза...
Вообще-то нам везло на экзотику. С моряками мы научили РПД плавать, и с ними же, но в Нижнем Новгороде, учили РПД передвигаться на границе двух сред — воздуха и воды.
Известное центральное конструкторское бюро по судам на подводных крыльях имени Р.Е. Алексеева, создав класс скоростных судов — экранопланов водоизмещением порядка 400 тонн и скоростью 450 километров в час, начало осваивать и малый класс этих судов. Кстати, американцы, получив со спутников из космоса снимки экранопланов, назвали их "чудовищами Каспийского моря", так необычайны и опасны они были с военной точки зрения.
Так вот, 8-местные судна на динамической воздушной подушке "Волга-2" и экраноплан "Стриж" были построены и доведены во многом благодаря оснащению их мощными и легкими роторно-поршневыми двигателями и непосредственному участию СКВ РПД. Проблемы, трудности с доводкой забываются, в памяти же остается ни с чем не сравнимое чувство полета над водой, заснеженной Волгой, и братство людей, делающих одно дело.
В Москве, в аппаратах ЦК КПСС и Совмина готовилось постановление, призванное поддержать роторно-поршневое двигателестроение, развернуть серийное производство РПД различного, в том числе и "морского" назначения, однако уже в конце 80-х годов, на фоне ухудшающегося социально-экономического положения в стране, стало ясно, что ожидать активного участия государства в подобных проектах не приходится.
Использовании наших РПД в авиации, то это отдельная большая глава в биографии СКВ. Причем двигателей существенно, качественно новых. Не случайно же авиационники при встречах с нами, автомобилистами, любят напоминать, что в небе нет обочин. В случае отказа мотора приткнуться некуда. Отсюда первое требование: объект, который взлетел, он должен благополучно сесть. Прежде всего надежность и уже затем все прочее: ресурс, весогабаритные характеристики, расход топлива, расходы на техническое обслуживание и поддержание летной годности в процессе жизненного цикла.
... СКБ РПД входило уже в состав научно-технического центра, возглавлял который тогда В.В. Каданников. И когда он позвонил мне с просьбой принять представителей известной вертолетной фирмы Миля, я был внутренне готов к этому.
Началась раскрутка. Мы провели макетную комиссию, был, по существу, создан образец этого вертолета и двигатель под него, приступили к стендовым испытаниям, 5-местный многоцелевой вертолет для летных училищ, войсковых структур и гражданской авиации. Машина с двумя роторно-поршневыми двигателями, работающими на один объединяющий редуктор — для решения задач высокой надежности в полете: даже если отказывает один двигатель, вертолет летит на другом.
Уже нарабатывалась версия серийного производства таких авиационных двигателей на Воронежском заводе. Все шло по нарастающей. Новый аппарат обрел имя — Ми-34В, а его гражданская модификация шла под аббревиатурой Ми-34 ВАЗ. Такая двойственность тоже, думаю, понятна. С самого начала головным заказчиком значилось Минобороны, ВВС. Пошли оттуда приличные деньги, но только первые три года, затем этот ручеек финансирования беднел-беднел и фактически иссяк.
Тем не менее, духом не упали. В 1996 году по результатам работы комиссии Авиационного регистра Межгосударственного комитета мы получили сертификат разработчиков авиационных двигателей. В 1997 году началась сертификация непосредственно авиационных РПД как нашего конечного изделия. Члены макетной комиссии, — а там собраны ведущие специалисты страны, отлично представляющие ситуацию, коньюктуру и в России, и в мире, — признали, что мы опережаем своих основных конкурентов на 7-8 лет.
Ведется разработка и сертификация легкого вертолета КБ им. Миля с авиационным РПЦ с постановкой в серийное производство на Казанском вертолетном заводе. Результатом последних лет стала адаптация нашего РПЦ на 8-местном самолете-амфибии Бе-103 КБ им. Бериева в Таганроге, на 5-местном самолете ИЛ-103 КБ им. Илюшина на Луховицком авиазаводе, на 5-местном самолете F-115 и 8-местном экраноплане на Нижегородском заводе "Сокол". Прогнозируемый объем потребности в авиационных РГЩ составляет по России на ближайшие 7-8 лет 2-2,5 тысячи штук в год. Есть потребность в них и для маломерных судов.
Нашими планами предусматривается создание многотопливных двигателей, работающих не только на автомобильном бензине, но и на авиационном керосине и дизельном топливе.
Выход на рынок авиационной техники с перспективными двигателями сам по себе стимулирует развитие российской авиации (с хорошим двигателем полетят и ворота), позволяет в определенной мере контролировать это направление. Не говоря о том, что по своей специфике авиадвигатель — продукция не только наукоемкая, дорогая, но и "долгоживущая", позволяющая обеспечить занятость не одному поколению высококвалифицированных работников.
Разумно ли будет потерять столь дорого давшийся опыт?..
3. Новое о роторных двигателях
В. М. Нисковских предложил в вариант роторного двигателя. В нём роторы имеют лопасти и расположены соосно с цилиндрами. Удалось обойтись без деталей, совершающих возвратно-поступательное движение. Ролики с пазами под лопасти находятся в зубчатом зацеплении с валом, на котором установлены роторы.
Принцип действия роторного двигателя состоит в следующем. В нём имеются два цилиндра разного объёма с роторами, расположенными на общем валу. Если соединить полость нагнетания малого цилиндра с полостью расширения большого через теплообменник и нагреватель, а полость расширения малого цилиндра через теплообменник и холодильник с полостью нагнетания большого, то при нагревании рабочего тела (газа) роторы начнут вращаться, а рабочее тело будет непрерывно циркулировать, последовательно проходя через цилиндры, нагреватель, теплообменник и холодильник
Список литературы
1. Зинкевич В.Д. и др. Поршневые и шестеренные пневмодвигатели горношахтного оборудования. М.Недра. 1982 г
2. Ханин Н. С. и Чистозвонов С. Б., Автомобильные роторно-поршневые двигатели, М., 1964; Мотоцикл. Теория, конструкция, расчет, М., 1971.
