| Скачать .docx |
Курсовая работа: Характеристики локомотивов
Федеральное Агентство Железнодорожного Транспорта
Московский Государственный Университет
Путей и Сообщения (МИИТ)
Институт Транспортной техники
и организации производства (ИТТОП)
Кафедра: «Локомотивы и локомотивное хозяйство»
Курсовая работа
По дисциплине: «Локомотивы»
Выполнил: студент Меркулов П.М.
Группы: ТЛТ – 351
Принял: проф. Киселёв В.И.
Москва 2008
ЗАДАНИЕ
по выполнению курсовой работы «ЛОКОМОТИВЫ»
Студент: Меркулов П.М. Группа: ТЛТ-351_
ДАНО: тепловоз М62
1. Эффективная мощность силовой установки локомотива Ne: 1470 кВт
2. Число секций: 1
3. Допустимая статическая нагрузка от оси на рельсы(2П): 194 кН
4.Тип передачи: электрическая (постоянного тока)
5. Индивидуальное задание:
6. Прототип тепловоза М62
НЕОБХОДИМО рассчитать или выбрать:
1. Сцепной вес, кН;
2. Служебный вес, кН;
3. Основные габаритные размеры экипажа, тип и диаметр колес колесных пар;
4. Составить принципиальную и структурную схему экипажа;
5. Подобрать основное оборудование машинного отделения, разместить его и выполнить развеску на локомотиве;
6. Тяговую характеристику тепловоза.
7. Проверить возможность прохождения локомотива по кривой
заданного радиуса.
8.Выполнить индивидуальное задание
Задание выдал: профессор Киселёв В.И.
Задание принял: студент группы ТЛТ – 351 Меркулов П.М.
Содержание
Введение
1. Определение основных параметров тепловоза
2. Выбор конструкции экипажной части тепловоза
2.1. Кузов тепловоза
2.2. Главная рама
2.3 Опорно-возвращающее устройство
2.4. Шкворневой узел
2.5. Ударно-тяговое устройство
2.6. Конструктивные особенности тележки
2.7. Моторно-осевой подшипник
2.8. Тяговый редуктор
2.9. Тяговый электродвигатель ЭД-118А
3. Выбор оборудования и его компоновка на тепловозе
4. Определение тяговой характеристики тепловоза
5. Гасители колебаний
Список литературы
Введение

Тепловоз М62, ПЧ Новосокольники ОКТ ж.д., октябрь 1996 г.
В начале 1960-х г.г. на железных дорогах стран Восточной Европы, вслед за СССР, наметилась тенденция к постепенной замене паровой тяги на тепловозную. В значительной мере этому способствовало введение в эксплуатацию осенью 1964 г. крупнейшего в мире нефтепровода "Дружба", после чего нефть из СССР в больших количествах пошла в страны "народной демократии", и что позволило решить проблему нехватки дизельного топлива в Восточной Европе.
Незадолго до этого, в соответствии с рекомендациями Совета экономической взаимопомощи (СЭВ), в который входили страны Восточного Блока, было принято решение о том, что постройка магистральных тепловозов для железных дорог стран-членов СЭВ будет производится на заводах СССР. Советский Союз имел мощную материально-техническую базу для выпуска тепловозов, и был в состоянии организовать их изготовление и поставку на экспорт практически в любых необходимых количествах.
Первым заказчиком стала Венгерская Народная Республика. Между дирекцией локомотивной службы железных дорог Венгрии (MÁV) и внешнеторговой организацией "Машиноимпорт" начались переговоры о поставке из Советского Союза магистральных тепловозов, и в результате был подписан первый контракт. Заказ на производство локомотивов был размещён на Ворошиловградском (в тот период – Луганском) тепловозостроительном заводе.
На основании заключённого контракта Государственный комитет тяжелого, энергетического и транспортного машиностроения 27 февраля 1963 г. утвердил техническое задание, а ВСНХ СССР распоряжением №50 РС от 6 мая 1963 г. и Совет Министров УССР распоряжением №639-72 РС от 15 мая 1963 г. обязали Луганский завод создать тепловоз для поставки в Венгерскую народную республику. Технический проект тепловоза был разработан в мае 1963 г. конструкторами бюро перспективною проектирования отдела главного конструктора, под непосредственным руководством главного конструктора завода А.Н.Коняева, заместителя главного конструктора В.Р.Степанова и начальника бюро В.Е.Майского, рассмотрен и утвержден 29 мая 1963 г. Донецким совнархозом, 13 июня 1963 г. – Государственным комитетом по координации научно-исследовательских работ при Совете Министров УССР и 29 нюня 1963 г. – Госкомитетом тяжелого, энергетического и транспортного машиностроения.
По требованию заказчика, Венгрии, новый тепловоз получил обозначение М62. В соответствии с системой, принятой на венгерских железных дорогах, это расшифровывалось как "MOOTORVEDUR" – дизельный локомотив, 6-осный, 2-й тип (тепловозы серии М61 поставлялись в Венгрию из Дании, фирмой "NOHAB").
Однако, судя по всему, уже тогда было решено, что новый тепловоз будет поставляться на экспорт не только в Венгрию, но и в другие зарубежные страны, прежде всего – Восточной Европы.
При поставке тепловозов в социалистические страны тепловоз назывался М62 только в Венгрии. В Польше он получил индекс SТ44 , в ГДР сначала BR V200, потом BR 120. в ЧССР Т679.1, а потом изменили на 781, в КНР — К62, на Кубе — 61.6.
Работы по созданию нового экспортного локомотива велись на Луганском заводе в 1963-1964 г.г. В результате, исходя из перечисленных требований, был спроектирован односекционный, двухкабинный, шестиосный, фактически – грузопассажирский тепловоз, который в целом получился несколько более лёгким (нагрузка на ось 19,4 тс), чем основная продукция завода того времени – тепловозы серии ТЭ3. Кузов тепловоза был выполнен в габарите европейских железных дорог 02-Т.
На тепловозе установили дизель 14Д40, который ранее на луганских машинах практически не применялся. Дизель 14Д40 (12ДН23/30) производства Коломенского тепловозостроительного завода – двухтактный, 12-цилиндровый, с двухрядным V‑образным расположением цилиндров, прямоточной клапанно-щелевой продувкой и комбинированной двухступенчатой системой наддува. При номинальной частоте вращения вала 750 об/мин развивает мощность 2000 л.с. (1470 кВт). Имея такую же мощность, как и дизель 2Д100 тепловоза ТЭ3, 14Д40 был значительно легче и компактней последнего. Кроме того, на тепловозе установили водомаслянный теплообменник.
Тяговый генератор – ГП-312, постоянного тока, с независимым возбуждением и принудительной вентиляцией. Вместе с дизелем образует дизель-генераторный агрегат 14ДГ, смонтированный на главной раме. Передача мощности – постоянного тока.
Большинство остальных узлов, агрегатов и вообще конструкционных решений нового тепловоза (тяговые электродвигатели ЭД-107, вспомогательные электрические машины, электрическая аппаратура, компрессор КТ-7, секции холодильника, аккумуляторные батареи и многое другое оборудование) были перенесены на М62 с тепловозов ТЭ3, которые в тот период в больших количествах производились на Луганском заводе, и 2ТЭ10Л, серийное производство которых здесь только что началось. Схема возбуждения тягового генератора (аппаратная, каскадная, с магнитным усилителем) – такая же, как на 2ТЭ10Л (с №003).
Экипажная часть с трёхосными челюстными тележками и опорно-осевым подвешиванием ТЭД также, в целом, мало чем отличалась от ТЭ3 последних выпусков и 2ТЭ10Л, однако здесь были внесены некоторые изменения, чтобы обеспечить возможность работы на колее как 1435, так и 1524 мм. Кроме того, тележки экспортных М62 были выполнены с четырьмя тормозными цилиндрами и двухсторонним нажатием колодок. Конструкционная скорость – 100 км/ч.
К концу 1963 г. чертежи были разработаны и выданы в производство. В апреле-мае 1964 г. были построены два опытных образца – тепловозы М62-1 и М62-2.
Опытные тепловозы М62 после окончания испытаний в разное время эксплуатировались на Юго-Восточной, Львовской и Среднеазиатской железных дорогах, а в 1971 г. были сняты с поездной работы и переданы на Октябрьскую ж.д. в ПМС. Самый первый тепловоз серии, М62, эксплуатировавшийся в последние годы в дистанции пути Новосокольники (ПЧ-45 ОКТ ж.д.), в декабре 1996 г. был передан в состав музейной экспозиции Центрального музея Октябрьской ж.д. и в настоящее время его можно увидеть в музее на Варшавском вокзале Санкт-Петербурга.
1. Определение основных параметров тепловоза
Исходные данные:
Мощность Ne: 1470 кВт
Число секций: 1
Нагрузка (2П): 194 кН
Тип передачи: электрическая
Минимальный радиус кривой: 110 м
1.1 Сцепной вес секции
Сцепной вес секции тепловоза Pсц зависит от допустимой статической нагрузки от оси на рельсы (2П), числа осей секции локомотива и рода службы локомотива, кН
![]()
![]()
где а – коэффициент, учитывающий род службы проектируемого тепловоза; можно принять: для грузовых тепловозов а = 1;
[2П] – допустимая статическая нагрузка от оси колесной пары на рельсы, кН;
- число сцепных осей секции; принимается в соответствии с колесной формулой локомотива-аналога.
Тогда:
(кН)
1.2 Диаметр движущих колес Дк
Определяется величиной допустимых контактных напряжений на единицу длины диаметра колеса, мм
![]()
где [2р] – допустимая удельная нагрузка на 1 мм длины диаметра колеса, кН/мм; принимается в пределах для грузовых тепловозов
[2р]=0,24-0,27кН/мм.
(мм)
Полученная расчетная величина Дк унифицируется, то есть приводится к стандартным диаметрам бандажей новых колес. В соответствии с ГОСТ 25463-82 диаметры бандажей новых колес для тепловозов составляют 1050 и 1220 мм.
Дк=1050 мм
1.3 Длина секции проектируемого тепловоза L т.
Длина секции проектируемого тепловоза по осям автосцепок Lт (рис.1) пропорциональна эффективной мощности силовой установки Nе.

Рис. 1. Расположение основных элементов кузова и подкузовных частей
Предварительно величина Lт может быть определена с помощью следующих эмпирических зависимостей, мм
Lт = Ne · (10 – 0,0012 · Ne)
При проектировании локомотива должно быть выполнено следующее условие:
Lтmin ≤ Lт ≤ Lтmax
Минимальная длина секции тепловоза Lтmin может быть определена из следующего выражения, мм:
Lтmin = 1000 · Pсц /[qn ]
где [qn ] – предельно допустимая нагрузка на 1 метр пути, кН/м;
для магистральных железных дорог можно принять [qn ] = 73,5 кН/м.
Максимальная длина секции тепловоза по Lтmax осям автосцепок в соответствии с ГОСТ 25463-82 и техническими требованиями на магистральные тепловозы нового поколения мощностью 2500-3500 кВт в одной секции с электрической передачей устанавливается не более 22800 мм.
Lт = 1470 · (10 – 0,0012 · 1470) = 12106,92 (мм)
Lтmin = 1000 · 1200 / 73,5 = 15836,74 (мм)
15836,74 < 12106,92 < 22800
т.к полученная длина меньше минимально допустимой, то возьмем длину тепловоза 17400 (мм).
1.4 База секции тепловоза I б
Предварительно, база секции Iб может быть установлена из следующего выражения, мм
Iб = е · Lт
где е – эмпирический коэффициент; принимается равный для тепловозов с трехосными тележками и длиной до 20 м е = 0,5 – 0,52
Iб = 0,5 · 17400 = 8700 (мм)
1.5 Длина основных элементов кузова
Длина основных элементов кузова и подкузовных частей проектируемого магистрального тепловоза свзаны между собой уравнением габаритного баланса локомотива
nк · Iк + Iмаш + Iхол = nт · Iт + 2 · Iсв + Iмт
где Iк – длина кабины машиниста, мм;
Iмаш – длина машинного отделения, мм;
Iхол – длина холодильника, мм;
Iт – длина тележки, мм;
Iсв – длина свеса рамы локомотива относительно наружных габаритов тележки, мм;
Iмт – длина межтележечного пространства, мм;
nк – число кабин машиниста секции тепловоза;
nт – число тележек секции тепловоза.
Длина машинного отделения Iмаш зависит от мощности и габаритных размеров силовой установки тепловоза, м
Iмаш = (10-3 · Ne + 8,5) / (0,76 – 0,74 · 10-3 · Ne)
Iмаш = (10-3 · 1470 + 8,5) / (0,76 – 0,74 · 10-3 · 1470) = 13,31 (мм)
Длина кабины машиниста Iк с учетом норм техники безопасности и производственной санитарии может быть принята равной Iк = 2 м.
Длина тележки Iт зависит в первую очередь от осевой формулы, а также типа привода колесных пар и эффективной мощности силовой установки. В первом приближении длину тележки Iт можно определить из следующего выражения, м:
Iт = (1,7÷1,9) · nо
где nо – число сцепных осей в тележке
Iт = 1,9 · 3 = 5,7 (м)
Длина холодильника Iхол может быть определена из следующего эмпирического выражения, м
Iхол = 5,6 · 10- 4 · Ne + 1,14
Iхол = 5,6 · 10-4 · 1470 + 1,14 = 1,96 (м)
Длина свеса рамы локомотива Iсв можно принимать равной Iсв = 1,25 м
Длина межтележечного пространства Iмт зависит от емкости топливного бака тепловоза и первоначально может быть определена из уравнения, м:
Iмт = nк · Iк + Iмаш + Iхол – nт · Iт – 2 · Iсв
Iмт = 2 · 2 + 13,31 + 1,96 – 2 · 5,7 – 2 · 1,25 = 5,37 (м)
nк · Iк + Iмаш + Iхол = nт · Iт + 2 · Iсв + Iмт
2 + 13,31 + 1,96 = 2 · 5,7 + 2 · 1,25 + 5,37
19,27 = 19,27
1.6 Ширина и высота проектируемого тепловоза
Максимальная ширина строительного очертания локомотива Вл ограничена габаритом подвижного состава 1-Т (ГОСТ 9238-83) и может быть принята равной:
Вл = 3400 мм
Высота строительного очертания тепловоза Нл определяется от уровня верха головки рельса. В соответствии с габаритом подвижного состава 1-Т максимальное значение величины Нл составляет:
Нл = 5300 мм
2. Выбор конструкции экипажной части тепловоза

Рис. 2 Структурная схема экипажной части локомотива
2.1 Кузов тепловоза
В кузове размещено оборудование и посты машиниста. Кузов должен: защищать обслуживающий персонал и оборудование от воздействия атмосферной среды; обладать достаточной прочностью, жесткостью и долговечностью, предусматривать компоновку, обеспечивающую свободный доступ к элементам оборудования и замену его; обеспечивать безопасность обслуживающего персонала. Масса главной рамы с кузовом колеблется от 20 до 25% общей массы металла тепловоза, отсюда следует, что рама с кузовом весьма металлоемки и выбор их рациональной конструкции является важной и сложной задачей.
На магистральных тепловозах применяются два основных типа кузовов: с несущей рамой и цельнонесущей. В кузове с несущей рамой главная рама рассчитывается на воспринятое всех нагрузок независимо от степени участия в ее работе кузова. Характерным примером является рамно-кузовная система тепловозов ТЭЗ, 2ТЭ10Л, 2ТЭ10В.
В последнее время находят применение конструкции несущего кузова ферменной (тепловоз ТЭП60) или оболочковой (тепловозы ТЭ10, ТЭ109) конструкции. В кузовах такого типа свариваются в единое целое главная рама, топливный бак и стенки кузова. Получается единая пространственная система, воспринимающая все виды нагрузок. При такой конструкции за счет снижения массы рамы достигается снижение массы всего кузова. Однако несущие кузова более трудоемки в изготовлении. Кузова с несущей рамой получили наиболее широкое распространение в Советском Союзе, особенно для массового серийного выпуска тепловозов на Ворошиловградском тепловозостроитель-ном заводе имени Октябрьской революции.
Кузов тепловоза. На тепловозе М62 кузов спроектирован на базе кузова с несущей рамой тепловозов ТЭЗ н 2ТЭ10Л. Чтобы повысить прочность и жесткость стенки кузова над дизелем по всему периметру с трех сторон сварены с рамой и смежными элементами, а не соединены болтами, как на тепловозах ТЭЗ и 2ТЭ10Л. Внутренняя обшивка кузова крепится самонарезными шурупами М4, непосредственно ввертываемыми в металлические полки каркаса. Крепление обшивки непосредственно к металлическому каркасу снизило трудоемкость изготовления, а отмена деревянных брусков, применяющихся на тепловозах ТЭЗ и 2ТЭ10Л для крепления обшивки, улучшила противопожарную безопасность тепловоза.
Основным преимуществом кузова с несущей рамой является возможность организаций посекционной блочной сборки отдельных частей кузова в специализированных цехах и участках. В сборочный цех подаются готовые части кузова со смонтированным на нем оборудованием. Для транспортировки между цехами частей кузова используются специальные автомашины с приспособлением для погрузки и разгрузки. Такая организация производства позволяет сравнительно легко организовать складирование технологического задела кузовов на территории завода, не занимая железнодорожных путей. Дизель-генератор и другие механизмы во время сборки тепловозов устанавливают на открытой раме, что позволяет расширить фронт работ и облегчает подачу кузовов к местам их установки. После установки основного оборудования трубопроводов и монтажа проводов отдельные части кузовов с закрепленными на них механизмами опускают на раму и приваривают к ней и между собой.
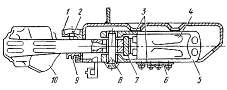
Кузов тепловоза М62 (рис. 3) состоит из четырех частей: несущей рамы 4, блока передней кабины с кузовом над камерой электрооборудования (проставки) 1, блока задней кабины с холодильной камерой 3; кузова над дизелем 2 и путеочистителей 5. Конструкция передней и задней кабины одинаковая. В 1964г. кузов был всесторонне испытан на прочность. Испытания показали, что кузов полностью удовлетворяет требованиям прочности по усталости, а также прочности при предельных статической и ударной нагрузках 250 тс. Кроме того, кузов обладает необходимой прочностью при аварийной подъемке тепловоза. При аварийной подъемке полностью экипированного тепловоза его можно поднимать вместе с тележкой за один конец рамы (за выступы для крепления буферов), если рама опирается противоположным концом на другую тележку. При этом тележка поднимается вместе с кузовом при помощи специального устройства, размещенного в шкворне рамы.

Рис. 3 Кузов тепловоза:
1 — блок передней кабины с кузовом над камерой электрооборудования; 2—кузов над дизелем; 3 — блок задней кабины с холодильной камерой;
4 — несущая рама; 5 — путеочиститель
Положительную роль в уменьшении шума в кабине машиниста сыграла выбранная компоновка тепловоза, предусматривающая установку промежуточных стенок между кабинами и дизельным помещением, образующих тамбуры. Уменьшению шума также способствовала установка дизель-генератора на резиновых амортизаторах и глушителя выпуска отработавших газов дизеля. Спектрограмма шума в кабине машиниста представлена на рис. 4.

Рис. 4 Спектры шума в кабинах А и Б тепловозов М62 и 2ТЭ116:
1 - место машиниста кабины А тепловоза М62;
2 — место машиниста кабины Б тепловоза М62;
3 — место машиниста секции А тепловоза 2ТЭ116; 4 — место машиниста секции Б тепловоза 2ТЭ116; 5 — спектрограмма воздушного шума в кабине машиниста тепловоза 2ТЭ10Л в обычном исполнении
2.2 Главная рама
Рама кузова сварной конструкции. Основными несущими элементами рамы (рис. 5) являются две продольные балки 10, выполненные из двутавровых балок № 45а, усиленных сверху и снизу полосами сечением 18 X 340 мм. Наружный контур рамы выполнен из швеллера № 16. По концам к продольным балкам приклепаны заклепками и прерывистой сваркой литые стяжные ящики 7. В них установлены поглощающие аппараты, к которым крепятся автосцепки СА3 или тяговый крюк. На переднем торце стяжных ящиков предусмотрено место для крепления буферов, а снизу прикреплены путеочистители.
Продольные балки между собой соединены вертикальными поперечными листами толщиной 10—14 мм, а с обносным швеллером — фигурными кронштейнами. Внутри рамы между продольными балками вварены воздухопроводы для подачи воздуха на охлаждение тяговых двигателей и уложены кондуиты из цельнотянутых труб, в которые заложены силовые кабели и провода цепей управления. Низ рамы между продольными балками покрыт стальными листами толщиной 6 мм, а остальная часть покрыта листами толщиной 10—12 мм. На верхней части рамы между продольными балками имеются углубления для размещения дизель-генератора и гидропривода вентилятора холодильной камеры.
Между продольными балками и обносным швеллером приварены настильные листы толщиной 4 мм. В местах, где настильные листы образуют пол тепловоза, приварены рифленые листы толщиной 4 мм. В средней части рамы с наружной стороны продольных балок приварены по два кронштейна 5 для крепления топливного бака. Снизу рамы на листах толщиной 18 мм приварены два литых шкворня наружным диаметром 300 мм, имеющих сменные кольца. Вокруг каждого шкворня на диаметре 2730 мм расположены четыре шаровых опоры 11 для передачи веса надтележечного строения. Рама в этих местах имеет усиления. В зоне передних и задних опор на усиленном кронштейне к обносному швеллеру приварены опоры 6 для подъема тепловоза на домкратах при ремонтах. Недалеко от шкворня между обносным швеллером и продольными балками вварены четыре бункера песочной системы 9 емкостью по 125 кг каждый.

| Рис. 5. Главная рама: 1 —опора компрессора; 2 — опора вентилятора; 3 — опора заднего распределительного редуктора; 4 — опора гидропривода; вентилятора; 5 — крон-штейн; 6 - опора для подъёма тепловоза; 7 - стяжной ящик; 8 - опора дизель-генератора; 9 - бункер песочницы; 10 - продольная балка; 11- шаровая опора |
Все литые детали рамы тепловоза — стяжные ящики, шкворни, опоры для подъемки — отлиты из стали 25ЛП. Шкворневые кольца выполнены из стали 50 и термообработаны до твердости НВ-255—305. Продольные двутавровые балки и усиливающие полосы изготовлены из стали ВСтЗсп, все остальные детали — из стали БСтЗнт. Сварка применена в основном полуавтоматическая в среде углекислого газа. Для приварки литых деталей применен электрод Э42 или полуавтоматическая сварка под слоем флюса. Сварную раму обрабатывают на специальном станке, где с одной установки одновременно снизу обрабатываются восемь отверстий диаметром 100A3 для шаровых опор и подрезаются их торцы, а сверху фрезеруются и сверлятся платики для установки дизель-генератора и других механизмов. Заданная точность обработки гарантируется настройкой станка.
2.3 Опорно-возвращающее устройство
Нагрузка от кузова передается через восемь роликовых опор, размещенных около шкворней, по четыре на каждую тележку. Общий вес тепловоза составляет 116,5 тс, а вес обеих тележек свыше 50 тс, следовательно, на обе тележки приходится нагрузка 66,5 тс, а на одну опору — порядка 8,5 тс. Тележки тепловоза имеют возможность поворачиваться относительно кузова в горизонтальной плоскости на угол 4°. Осью вращения является шкворень диаметром 300 мм, предназначенный для передачи продольных и поперечных горизонтальных сил ot тележки на раму кузова.
Шаровые опоры (рис. 6) рамы кузова передают нагрузку на гнезда 2, в свою очередь нагружающие опорные плиты 9, опирающиеся на ролики 10. Расстояние между роликами фиксировано обоймами 6, имеющими отверстия, в которые вставлены хвостовики роликов. Положение нижней опорной плиты 5 на раме тележки определено цилиндрическими выступами диаметром 70 мм. Весь механизм опоры расположен в литом корпусе 4, заполненном маслом, уровень которого определяется по маслоуказателю 1. Необходимая плотность в стыке корпуса и нижней опорной плиты достигается уплотняющей резиновой прокладкой 12 и нажимным кольцом 11. К раме корпус 4 крепится четырьмя болтами. Опора имеет штампованную крышку 8, предназначенную для предохранения от выплескивания масла и закрепления брезентового чехла, защищающего опору от попадания пыли и влаги. На прямом участке пути ролики занимают среднее положение. При повороте рамы тележки нижняя опорная плита перемещается относительно верхней, ролики перекатываются на наклонные поверхности, а гнездо скользит по верхней опорной плите. Горизонтальная составляющая давления ролика на плиту передается на раму тележки и называется возвращающей силой, поскольку она стремится вернуть тележку в исходное положение. При постоянном угле наклона α момент, возвращающий тележку в первоначальное положение, подсчитывается по формуле Мв = Рт tg αR где Рт — нагрузка на все четы опоры тележки, a R — радиус окружности, на которой расположены опоры. При перемещении в опорах возникают силы трения по поверхностям плоскостей (А, Б, В, Г). Таким образом, отклонению тележки препятствуют не только возвращающий момент, но и момент трения. Для обеспечения величины трения, необходимой для гашения колебаний тележки, каждая опора повернута на угол 5° между поперечной осью опоры и радиусом, соединяющим центр шкворня тележки с центром цилиндрического выступа нижней опоры.
Тепловоз М62 имеет следующую характеристику опорно-возвра-щающих роликовых механизмов: угол наклона плоскостей опорных плит а = 2°; угол поворота опор (ß = 5°; возвращающий момент Мв = 1500 кгс • м; момент трения Мтр = 1170 кгс • м; общий момент М0 = 2670 кгс • м.
На поверхности качения роликов и опорных плит возникают высокие контактные напряжения, поэтому ролики и опорные плиты изготавливают из высококачественных сталей. Твердость роликов после поверхностной закалки HRC= 54-60, а опорных плит после цементации и закалки HRC > 56. Гнездо опоры изготовлено из стали 45. Цилиндрический поясок гнезда закаливается т. в. ч. до твердости HRC > 50. Корпус опоры отлит из стали 35Л1. Для повышения износостойкости и упрощения ремонта поверхностей трения по плоскостям к корпусу приварены пластины толщиной 5 мм из марганцовистой стали 60Г.

Рис. 6. Опорно-возвращающее устройство:
1 — маслоуказатель; 2 — гнездо; 3 — шаровая опора; 4 — корпус; 5 — нижняя опорная плита; 6 — обойма; 7 —планка; 8 — крышка; 9 — верхняя опорная плита; 10 — ролик; 11— кольцо;12 — прокладка; А, Б, В, Г — поверхности
2.4 Шкворневой узел
Соединение рамы кузова с тележкой изображено на рис. 183. При подъемке тепловоза за приливы буферов рамы кузова тележка может подниматься вместе с кузовом при помощи специальной гайки 4, навинчиваемой на болт 1, приваренный к раме кузова. При подъемке кузова гайка своим фланцем упирается в дно шкворневой балки 5 тележки и поднимает ее. Для стопорения гайки применяется болт 3 с левой резьбой. Снизу шкворневое гнездо закрывается крышкой 2 с резиновым уплотнением 6, При сборке устанавливают зазор 6 ± 1 мм между фланцем гайки и дном шкворневой балки. Этот зазор необходим для обеспечения перемещения кузова относительно рамы тележки при накатывании роликов опор на наклонные поверхности плиты.

Рис. 7. Шкворневой узел:
1, 3 — болты; 2 — крышка; 4 — гайка; 5 — шкворневая балка; 6 — уплотнение
2.5 Ударно-тяговое устройство
Тепловоз оборудован ударно-тяговыми устройствами (рис.8), в которых автосцепку 10 типа СА-3 соединена с помощью к чина 8 и тягового хомута 5 с фрикционным аппаратом 4. Фрикционный аппарат служит для смягчения толчков и ударов, неизбежных при трога ни и с места и торможениях. Надежная работа автосцепки в значительной степени зависит от правильной ее установки по высоте. На требуемой высоте автосцепку удерживает центрирующая балочка 9, подвешенная к розетке /на маятниковых болтах 2. Фрикционный аппарат поддерживается планкой 6, прикрепленной болтами к стяжному ящику рамы. Гайки болтового крепления стопорятся контргайками и шплинтами.

Рис. 8 Ударно-тяговое устройство:
1 — розетка; 2 – маятниковый болт; 3 — прокладка: 4 — фрикционный аппарат; 5-тяговый хомут; 6 - планка: 7 - упорная плита; 8 – клин; 9 — центрирующая балочка; 10 - автосцепка
2.6 Конструктивные особенности тележки
Вес рамы и кузова тепловоза через восемь шаровых опор передается на две трехосные тележки (рис.9), имеющие индивидуальный привод колесной пары от тягового электродвигателя. Большая часть узлов тележки полностью унифицирована с аналогичными узлами тележки тепловозов ТЭЗ и 2ТЭ10Л. Тележки — шкворневые, имеют буксы челюстного типа, одноступенчатое рессорное подвешивание и опорную осевую подвеску тяговых электродвигателей. На тепловозе применены буксы (рис.10) качения с роликовыми подшипниками, для смазки которых служит консистентная смазка. Осевые упоры букс работают на жидкой смазке. В буксах крайних колесных пар установлены упругие осевые упоры, а средней колесной пары — жесткие. Корпус 16 буксы отлит из углеродистой стали. К поверхностям контакта корпуса с челюстями рамы тележки из износоустойчивой стали приварены наличники. Для смазки наличников в корпусе предусмотрены специальные полости, заполняемые смазкой через отверстия, закрытые крышкой 7. Смазка из полостей по трубкам при помощи фитилей подается к поверхностям трения наличников. В корпусе установлены два роликовых подшипника 15, разделенные дистанционными кольцами 14 и 13. Внутреннее кольцо подшипника посажено на ось с натягом 0,035 — 0,065 мм. Перед посадкой на ось кольцо нагревают до температуры 100—120° С. Разность радиальных зазоров в подшипниках одной буксы после сборки должна быть не более 0,03 мм.
В передней части корпуса имеется отверстие, закрытое пробкой 10, через которое в процессе эксплуатации добавляется консистентная смазка в подшипники. С задней стороны корпус буксы закрыт крышкой 12 с двухкамерным лабиринтным уплотнением. Внутреннее лабиринтное кольцо 11 напрессовано на ось колесной пары. Перед напрессовкой кольцо нагревается до температуры 140—160° С. На торце крышки двумя болтами крепится ограничительная планка 6, предохраняющая буксу от самопроизвольного снятия с оси при монтажных работах. Передняя часть корпуса закрыта крышкой 19. Перегородка 17 образует в крышке полость для масла, необходимого для смазки осевого упора, и изолирует ее от полости подшипников с консистентной смазкой.
Тележка показана под нагрузкой полностью экипированного тепловоза



Рис. 9. Тележка:
1 — рама тележки; 2 — колесная пара; 3 — роликовая букса; 4 — рессорное подвешивание; 5 - рычажная передача тормоза; 6 - тормозной цилиндр; 7 - опорно-возвращающее устройство; 8 — тяговый электродвигатель

Рис. 10 Роликовая букса
1 – пружина; 2 – прокладка; 3 – осевой упор; 4 – опора балансира; 5 – арка;
6 – ограничительная планка; 7 – крышка масленки; 8 – фитиль; 9 – осевой упор для буксы средней колесной пары; 10 – пробка; 11 – кольцо лабиринтное; 12 – крышка; 13, 14 – кольца дистанционные; 15 – роликоподшипник; 16 – корпус буксы; 17 – перегородка; 18 – фитиль в сборе; 19 – крышка передняя; 20 – регулировочная прокладка; 21 – крышка упора
К крышке 19 буксы крайней колесной пары крепится крышка упора 21, в которой помещается осевой упор 3 с пружиной /. Осевой упор 3 в свою очередь крепится к крышке 21 двумя болтами, при этом (у нового осевого упора) расстояние от торца крышки 21 до торца осевого упора должно быть 55 мм и разность размеров Г, замеренных в четырех точках, должна быть не более 0,2 мм. Кроме того, при сборке упругого упора устанавливается предварительный натяг пружины /, равный 1500 кг, при этом высота пружины вместе с прокладками под ней должна быть 160 ± 1 мм.
В буксах средних колесных пар крышка упора 21 и пружина / отсутствуют и осевой упор 9 крепится болтам и непосредственно к крышке 19 (жесткий осевой упор). Поверхности контактов осевых упоров с торцами осей снабжены бронзовой армировкой. Смазка в зону трения осевого упора с торцом оси колесной пары подводится с помощью войлочного фитиля 18, закрепленного на пластинчатой пружине, которая болтами крепится к осевому упору. На верхней части корпуса буксы установлена арка 5 с опорами балансира 4, через которые на буксы передается вертикальная нагрузка.
В эксплуатации должен быть установлен строгий контроль за величиной свободных осевых разбегов колесных пар, которые зависят от зазора между наличниками челюсти тележки и наличниками буксы, а также от зазора между осевыми упорами букс и торцами оси. Величина зазора между наличниками буксы и рамы тележки выводится как среднее арифметическое двух замеров, производимых на уровни оси колесной пары. Величина зазора между осевыми упорами и торцами оси колесной пары определяется непосредственно замерами высоты упора и расстояния между торцами крышки и оси. Осевой разбег регулируется прокладками 20 между передней крышкой и крышкой упора 21 (осевым упором 9). Суммарный свободный осевой разбег крайних колесных пар в раме тележки установлен 3+1 мм, а средних колесных пар — 28+1 мм. Кроме свободного разбега 3+1 мм, крайняя колесная пара может перемещаться на 11 мм в каждую сторону за счет упругости пружины 1. Осевой разбег регулируется так же, как на тепловозах ТЭЗ и 2ТЭ10Л.
2.7 Моторно-осевой подшипник
Тяговый электродвигатель опирается - на ось через два разъемных моторно-осевых подшипника (рис.11). Верхний вкладыш 1 устанавливается в прилив остова двигателя, а нижний 3, имеющий окно под фитиль 12 смазывающего устройства,— в корпусе подшипника 17, который крепится к остову двигателя четырьмя болтами 18. Момент затяжки болтов 127—145 кг • м. От проворота вкладыши удерживаются шпонкой 2.

Рис. 11. Моторно-осевой подшипник:
1, 3 - вкладыши; 2 —шпонка; 4 — коробка; 5 —пружнна; 6 — направляющая;
7, 8 — оси; 9 — фиксатор; 10 —рычаг; 11 — пружина; 12— фитиль; 13 - крышка;
14, 18 — болты; 15 —корпус; 16 — скоба; 17 — корпус моторно-осевого подшипника; 19 — щуп
В отличие от ранее применяемых вкладышей с цилиндрической расточкой, имеющих по краям так называемые холодильники, установлены вкладыши с гиперболической расточкой рабочей поверхности и уменьшенными размерами окна для подвода смазки. Опыт эксплуатации тепловозов показал, что вкладыши с цилиндрической расточкой вследствие перекосов
контактируют с осью крайними частями рабочей поверхности, к которым затруднен проход смазки. Значительные удельные давления в сочетании с плохой смазкой поверхности скольжения приводят к интенсивному износу как самих вкладышей, так и шеек оси и тем самым к дополнительным перекосам, неблагоприятно влияющим на работу зубчатого зацепления тягового редуктора.

Рис. 12. Внутренняя расточка вкладышей моторно-осевого подшипника тягового электродвигателя ЭД-118А
Продольная конфигурация рабочей поверхности вкладыша (рис. 12) выбрана из условий компенсации взаимного перекоса оси колесной пары и вкладышей при односторонней тяговой передаче для обеспечения достаточной поверхности зоны контакта: ось — вкладыш. Величина радиуса Rх * подсчитывается по эмпирической формуле для различных значений х

Здесь же приведен вариант внутренней расточки вкладышей, который может применяться в условиях эксплуатации и представляет собой цилиндр, переходящий в конус по концам вкладышей. Диаметральный зазор в новых моторно-осевых подшипниках 0,5—0,89 мм, который определяется путем замера отдельно шейки оси колесной пары и вкладышей на собранном тяговом двигателе. Этот зазор должен устанавливаться и при выпуске тепловоза из текущего ремонта. Максимальный диаметральный зазор в процессе эксплуатации допускается не более 2 мм. Во всех случаях разность зазоров левого и правого вкладышей не должна превышать 0,3 мм. Осевой разбег тягового электродвигателя на оси колесной пары устанавливается в пределах 1,0—2,6 мм, в эксплуатации допускается до 5 мм, при этом износ торцов вкладышей одного из двух подшипников не должен превышать 3 мм.
Внутренняя полость корпуса моторно-осевого подшипника служит ванной для заливки масла. Уровень масла контролируется по масло-указателю и должен быть выше риски минимального уровня. Максимальный уровень смазки ограничивается нижней кромкой заправочного отверстия. Масло в места трения между вкладышами и осью подается с помощью фитиля (польстера) смазывающего устройства. Корпус 15 польстера (см. рис. 11) — штампованный из листа, сварной, установлен и закреплен тремя болтами М16×25 из стали 40Х на приливах в корпусе моторно-осевого подшипника. В плоских направляющих 6 корпуса 15 помещена коробка 4, в которой при помощи скоб 16 закреплен фитиль 12. Между коробкой 4 и направляющими 6 установлены фасонные пластинчатые пружины 5, одними концами прикрепленные к коробке 4 и входящие своими выступами на другом конце в соответствующие пазы на коробке 4. Пластинчатые пружины 5 обеспечивают плотное прижатие коробки 4 к направляющим и одновременно предотвращают перемещение коробки при вибрации. На оси 8, закрепленной на стенках корпуса 15, установлена пружина 11, которая одним концом упирается в ось 7 корпуса, а другим — на перемычку рычага 10. Рычаг 10 установлен на оси 8 и своими лапками упирается в заплечики коробки 4, прижимая таким образом фитиль 12 к шейке оси колесной пары.
Зазор между заплечиками коробки 4 и корпусом 15 польстера в рабочем положении должен быть 9,3—21,8 мм (контролируется на колесно-моторном блоке). Люфт коробки 4 с фитилем 12 относительно направляющих 6 не допускается и коробка должна перемещаться без заедания. Усилие нажатия коробки 4 с фитилем к шейке оси составляет 4 - 6 кгс.
На оси 7 установлен пружинный фиксатор 9, удерживающий рычаг 10 в поднятом положении (для облегчения выемки коробки польсте-ра) и препятствующий установке крышки 13 до возвращения рычага 10 в рабочее положение. Коробку 4 с фитилем 12 извлекают при снятой крышке 13, отведя вверх рычаг 10, установив его на фиксатор 9.
Фитиль состоит из трех пластин каркасного войлока с размерами 157 X 90 X 13 мм, общей толщиной 38—39 мм. Фитиль, набранный из просушенных в течение 2 — 3 ч при температуре 60 — 70° С войлочных пластин, устанавливают в коробку и прошивают двумя скобами. Выступление рабочего торца фитиля относительно кромки коробки 16 ± 1 мм, в эксплуатации — не менее 10 мм. При меньшем выступании фитиль подтягивают, при этом укорочение общей длины фитиля допускается не более 40 мм. Перед установкой в подшипник фитиль пропитывают горячим осевым маслом (температура 50 – 60° С) в течение 2-3 ч. В корпус моторно-осевого подшипника заливается осевое масло марок Л, 3 или С в соответствии с климатическими условиями эксплуатации тепловозов.
Применение вкладышей с гиперболической расточкой рабочей поверхности, уменьшение размеров окна во вкладыше для подвода смазки и применение польстеров улучшили работу моторно-осевых подшипников. Уменьшение величины браковочного зазора в моторно-осевом подшипнике до 1,5—2,0 мм также благоприятно сказалось на увеличении долговечности зубчатой передачи.
2.8 Тяговый редуктор
Передача вращающего момента от тягового электродвигателя на ось колесной пары осуществляется с помощью тягового редуктора (рис.13), который не имеет принципиальных конструктивных отличий от тягового редуктора тепловоза 2ТЭ10Л. Ведущая шестерня 5 посажена на конус вала якоря тягового электродвигателя тепловым способом с осевым натягом 1,3—1,45 мм. Перед посадкой на вал проверяется пятно прилегания сопрягаемых поверхностей, которое должно быть не менее 75%. Перед посадкой шестерня нагревается до температуры 150—170° С. Напрессованная шестерня крепится гайкой, затянутой моментом 50 кгс * м. Чтобы применить маслосъем при опрессовке шестерни, в вале имеется канал, соединяющий посадочную поверхность с отверстием на торце вала.

Рис. 13. Колесно-моторный блок:
1 - тяговая передача; 2 — моторно-осевой подшипник; 3 — букса; 4 — зубчатое колесо; 5 — ведущая шестерня; 6 — тяговый электродвигатель; 7 — колесный центр с бандажом; 8, 9 — маслоотбойные кольца; 10 — полукольцо; 11, 13, 19 — войлочные уплотнения; 12, 15 — вкладыши моторно-осевых подшипников; 14 — штифт; 16, 23 — колесные центры; 17 — хомут; 18 — кожух тяговой передачи; 20 — крышка подшипника; 21 — ступица зубчатого колеса; 22 —маслоуловитель
Ведущая шестерня изготовлена из стали 20ХНЗА. Поверхности зубьев и впадин цементируются с последующей закалкой, при этом обеспечивается твердость рабочей поверхности зуба не менее HRC-59, твердость ядра зуба и обода HRC-30 - 45
Для снижения влияния перекосов, возникающих в тяговом режиме в зацеплении, при шлифовании зубья шестерни выполняются с односторонним прямолинейным скосом, суживающим зуб в сторону остова двигателя. Величина скоса принята равной 0,20—0,24 мм (угол скоса 4,56"—5,'55"). Глубина цементированного слоя после шлифовки 1,6— 1,9 мм. Зубчатое колесо изготовлено из стали 45ХН с секторной закалкой рабочих поверхностей зубьев и накатыванием впадин. Твердость ядра зуба и обода должна быть HR=255—311, твердость рабочих поверхностей зубьев после закалки т. в. ч. — HRC=50—58. Глубина закаленного слоя 3—5 мм. Поверхности впадин зубьев упрочнены накаткой роликом, при этом обеспечивается глубина накатанного слоя более 2 мм с твердостью не менее чем на 10% выше исходной твердости.
Зона шлифования ограничена только рабочими поверхностями зубьев с обеспечением плавного перехода от шлифованной поверхности к накатанной. Допускаются только местные касания впадин шлифовальным кругом с чистотой обработки. Зубчатые колеса по всему контуру зуба после закалки и шлифования проверяют магнитным дефектоскопом. На ступицу зубчатого колеса насажено маслоотбойное кольцо с натягом 0,3—0,9 мм. Температура нагрева кольца перед посадкой — 200—300° С.
2.9 Тяговый электродвигатель ЭД-118А
Предназначен для привода колесных пар тепловоза через одноступенчатый прямозубый редуктор. Тяговый электродвигатель ЭД-118А является электрической машиной постоянного тока с последовательным возбуждением. На тепловозе установлено 6 ТЭД, по одному на каждую ось. В электродвигателе имеются 4 главных и 4 дополнительных полюса. Главные полюсы создают магнитный поток. Дополнительные полюсы в сочетании с электрографитными щетками обеспечивают нормальную коммутацию без подгара коллектора и электрощеток.
Якорь представляет собой вращающуюся часть электродвигателя и состоит из сердечника напрессованного на вал коллектора, в петушки которого впаяны концы секции, уложенной в сердечник якорной обмотки. Сердечник нашихтован на вал из штампованных листов электротехнической стали. Обмотка якоря петлевая с уравнительными соединениями. Коллектор арочного типа собран из штампованных пластин твердотянутой коллекторной меди, имеющей в поперечном сечение форму трапеции.
Для облегчения массы коллектора в медных пластинах выштампованы отверстия.

Рис.6. Тяговый электродвигатель ЭД-118А.
22-вкладыши моторно-осевого подшипника, 23-корпус моторно-осевого подшипника, 24-механизм смазывающего фитиля моторно-осевого подшипника.
3. Выбор оборудования и его компоновка на тепловозе
При определении весогабаритных характеристик основных узлов и оборудования следует ориентироваться на аналогичные параметры тепловоза-прототипа.
Для выполнения развески используется схема (эскиз) расположения узлов и оборудования (рис. 1,1).
Развеска позволяет определить положение центра тяжести верхнего строения тепловоза и распределение нагрузок по его тележкам и колесным парам.
Таблица 1
Весогабаритные характеристики основных узлов и оборудования секции тепловоза
| № |
Наименование узла или оборудование |
Вес Gi кН |
Плечо li м |
Момент Mi кН* м |
| 1. |
Кабина машиниста |
4 |
1,5 |
6 |
| 2. |
Высоковольтная камера |
29 |
3,2 |
92,8 |
| 3. |
Выпрямительная установка |
10 |
5,5 |
55 |
| 4. |
Стартер генератора |
7,8 |
6,3 |
49,14 |
| 5. |
Тяговый генератор |
58,8 |
6,5 |
382,2 |
| 6. |
Рама тепловоза |
77,1 |
9,4 |
724,74 |
| 7. |
Дизель |
217 |
9,4 |
2039,8 |
| 8. |
Электродвигатель компрессора |
3 |
14,4 |
43,2 |
| 9. |
Шахта холодильника |
50 |
17,4 |
870 |
| Итого: |
∑Gi=453,7 |
∑Mi=4262,68 |
Xцт = ∑Mi ÷ ∑Gi
где ∑Mi - суммарный момент сил тяжести узлов и оборудования, входящих в верхнее строение тепловоза, кН* м;
∑Gi - вес верхнего строения тепловоза, кН;
Xцт = 4262,68 ÷ 453,7 = 9,4 (м)
Для определения нагрузок на тележки используют уравнения статики. Раму тепловоза представляем в виде балки, расположенной на двух мнимых опорах. Нагрузки на тележки заменяют реакциями РА и РБ мнимых опоров (рис. 1,1) на схеме также указываются геометрическая середина тепловоза (Lт/2) и координата Xцт центра тяжести ∑Gi верхнего строения тепловоза, а также вектор силы тяжести ∑Gi.

Рис. 1,1 Схема для определения неравномерности распределения нагрузок по тележкам локомотив;
Несовпадение центра тяжести Xцт и геометрического центра тяжести верхнего строения тепловоза ∆Х можно определить из выражения, мм
∆Х = | Xцт' – Xцт |
Xцт - центр тяжести тепловоза, м
Xцт' = Lт ÷ 2
Xцт' = 19,27 ÷ 2 = 9,64 (м)
∆Х = | 9,64 - 9,4 | = 0,24 (м)
Определим, равномерно ли распределена нагрузка на колёсные пары (и тележки) локомотива. Для определения нагрузок на тележки используют уравнения статики. В соответствии со схемой сил, показанной на схеме для определения неравномерности распределения нагрузок по тележкам локомотива, уравнение проекций всех сил на вертикальную ось ординат Z будет иметь вид:
РА + РБ - ∑Gi = 0 (1)
Уравнение моментов этих сил относительно точки «О»
PA * lА + PБ * lБ - ∑Gi * Xцт = O (2)
где PA и PБ - реакции в мнимых опорах тележек, вызванные действием силы тяжести (веса) ∑Gi, верхнего строения тепловоза, кН;
lА и lБ - расстояния от оси моментов Z до мнимых опор А первой (по ходу) и Б второй тележек, м
Из уравнения (1):
PA = ∑Gi - PБ (3)
Подставим (3) в (2) и найдём из получившегося уравнения PБ :
PБ = ∑Gi (Xцт - lА ) ÷ (lБ - lА )
PБ = 453,7 * (9,4 - 4,2) ÷ (14,1 - 4,2) = 233,7 кН.
Подставив значение PБ в уравнение (3), найдём PA :
PA = 453,7 – 233,7 = 220 кН.
По нормам, применяемых при проектировании тепловоза, неравномерность распределения нагрузок ∆2П по колесным парам разных тележек не должна превышать величины ±0,03. В этом случае величина ∆2П может быть определена из следующего выражения, кН:
∆2П = |2П1 - 2П2 | ÷ 2П
где 2П - нагрузка от каждой из колесных пар первой тележки, кН.
2П1 = (РА + Gт) ÷ Nт
где Gт - вес тележки тепловоза, кН;
Nт - количество осей в тележке, кН;
2П1 - нагрузка от каждой из колесных пар второй тележки, кН
2П1 = (220 + 147) ÷ 3 = 122,3 кН
2П2 = (РБ + Gт) ÷ Nт
2П2 = (233,7 + 147) ÷ 3 = 126,9 кН
2П2 - нагрузка от колесной пары на рельсы при равномерном распределении нагрузок по колесным парам тепловоза, кН.
Тогда:
∆2П = |122,3 – 126,9| ÷ 194 = 0,024
4. Определение тяговой характеристики тепловоза
Первое ограничение касательной силы тяги тепловоза - по «сцеплению»
FК max ≤ ψK * PСЦ
где Рсц - сцепной вес локомотива с учётом числа секций, кН;
ψK - расчетный коэффициент сцепления. Определение значений расчетного коэффициента сцепления для тепловоза М62
ψK = 0,118 + [5 ÷ (27,5 + v)]
Воспользовавшись выражением FК max ≤ ψK * PСЦ рассчитаем ограничение тяговой характеристики FК = f (v) по сцеплению.
Таблица 2
Результаты расчетов ограничения кривой FК = f (v) по сцеплению.
| V км/ч |
0 |
5 |
10 |
15 |
20 |
25 |
30 |
| ψK |
0,299 |
0,271 |
0,251 |
0,235 |
0,223 |
0,213 |
0,201 |
| FК кН |
384 |
315,4 |
292,2 |
273,5 |
259,6 |
247,9 |
234 |
Второе ограничение касательной силы тяги - по мощности силовой установки.
FК = 3600 * Ne * φ ÷ v
где Ne - эффективная мощность дизеля кВт;
φ - коэффициент использования мощности дизеля, φ = 0,72
По формуле FК = 3600 * Ne * φ ÷ v рассчитаем ограничение тяговой характеристики FК = f (v) no мощности силовой установки.
Таблица 3
Результаты расчетов ограничения кривой FК = (vк) по мощности дизеля
| V км/ч |
10 |
20 |
30 |
40 |
50 |
60 |
70 |
80 |
90 |
100 |
| FК кН |
381 |
190,5 |
127 |
95,3 |
76,2 |
63,5 |
54,4 |
47,6 |
42,3 |
38,1 |
После всех расчетов построим расчетную тяговую характеристику проектируемого тепловоза (см. приложение рис. 1).
5. Гасители колебаний
Тепловоз, как и любой локомотив, фактически движется не по ровным и гладким рельсам, какими они кажутся на вид, а по рельсам, имеющим неровности. Такие же неровности есть и на поверхности катания колес. По мере износа (в период эксплуатации локомотива, между обточками колесных пар) эти поверхности становятся неточными окружностями. Если бы неровностей не было, если бы рельсы и колеса, катящиеся по ним, были идеальными, если бы жесткость пути на всех участках была одинаковой, не возникало бы ни ударов, ни толчков, а следовательно, и колебаний тепловоза. Но этого практически не бывает. При наезде колеса на неровности рельсов, .и особенно на стыки, возникают удары, и тем сильнее, чем выше скорость. Сила ударов, напоминающих удары молота по наковальне, при скорости 100—120 км/ч достигает нескольких сотен килоньютонов (десятков тонно-сил). Кроме ударов в вертикальном направлении, возникают динамические усилия и в горизонтальной плоскости. Динамические нагрузки передаются оборудованию тепловоза также при вписывании его в кривые участки пути.
Ясно, что вовсе избавиться от ударов невозможно. Но зато можно уменьшить их силу, а следовательно, спасти дизель и другое оборудование, размещенное в кузове, да и сам кузов и рамы тележек от разрушения, а локомотивную бригаду избавить от сильной утомительной тряски. Что же для этого нужно сделать? Очевидно, надо преградить дорогу ударам. Условно разъединим колесные пары с буксами от рам тележек и в местах разрыва поставим упругий барьер — комплекс упругих тел, соединяющих буксы колесных пар с рамами тележек. В этом случае цепь, по которой передается кинетическая энергия ударов, будет прервана упругими телами, т. е. телами, обладающими упругой деформацией. Одним из наиболее распространенных видов упругих тел, применяемых на транспортных средствах, является листовая рессора (от французского ressort, что означает упругость). Ознакомимся с ее устройством.

Рис. 1 Схема образования листовой рессоры
На рис. 1а изображена прямоугольная стальная пластинка АВ, опирающаяся посередине на призму. К концам ее подвешен груз, вес которого заставляет пластинку прогнуться (см. штриховую линию). В каждом сечении изогнутая пластинка будет испытывать разные напряжения.
Чем ближе сечение к призме, т. е. к месту закрепления, тем больше напряжение, чем дальше от места закрепления, тем меньше напряжение. А нужно, чтобы пластинка равной толщины имела одинаковые напряжения во всех сечениях.
Как этого добиться? Пластинке необходимо придать форму ромба АБВГ (рис. 1б). Если опереть ромбообразную пластинку посередине на призму и подвесить по концам груз, то в любом ее сечении аа, бб и т. д. будут одинаковые напряжения, так как при такой форме, как это нетрудно догадаться, площадь поперечного сечения, а следовательно, и момент сопротивления.
От латинского слова deformatio – искажение - изменение формы или размеров тела пластинки (в направлении от ее концов к середине) будет возрастать пропорционально изгибающему моменту. Такие пластинки в форме ромбов относят к телам, которые носят название тел равного сопротивления изгибу. При ромбообразной форме все листы рессоры при изгибе имели бы примерно одинаковые напряжения. Но ромбообразные листы неудобно применять в подвижном составе из-за слишком большой ширины. Чтобы ширина рессоры была небольшой и в то же время сохранились качества тела равного сопротивления, поступают так: ромбообразный лист разрезают на несколько листов небольшой ширины (линии разреза приведены на рис. 1б). Затем полученные листы соединяют попарно (в нашем примере 2—2, 3—3, 4—4, 5—5 и 6—6) и накладывают друг на друга (рис. 1в) с таким расчетом, чтобы наверху был самый длинный и широкий (коренной) лист (практически берут два-три коренных листа). Под коренным листом размещаются остальные более короткие листы. Количество листов в рессоре выбирается в зависимости от их размеров и величины нагрузки. Собранные таким образом листы охватывают хомутом в средней их части.
Более просто устроена пружина — винтовая (цилиндрическая) рессора, навитая из одного прутка. Какими же свойствами должна обладать листовая рессора или винтовая пружина, чтобы она лучше смягчала толчки и удары?
Необходимо, чтобы рессорная система была как можно мягче, т.е. чтобы, по возможности, больше прогибалась. Гибкость - одна из важнейших характеристик упругих свойств рессоры. Обычно гибкость рессорной системы устанавливают в зависимости от скорости. Чем выше конструкционная скорость локомотива, тем гибче должна быть рессора. Она лучше смягчает воспринимаемые толчки и удары при наезде колес на неровности пути, однако гибкость ограничивается прочностью рессор. Такой же важной характеристикой упругих свойств рессоры является жесткость - величина, обратная гибкости, т.е. нагрузка, вызывающая прогиб рессоры на 1 мм. Статический прогиб рессор у современных локомотивов достигает 100 — 115 мм и даже 150—170 мм (при пневматическом или двухступенчатом рессорном подвешивании и последовательном включении упругих элементов, размещаемых между рамой тележки и кузовом локомотива).
Гибкость рессорного подвешивания листовых рессор увеличится, если они станут работать совместно с винтовыми (пружинными) рессорами (рис. 2). Чтобы более равномерно распределить нагрузку между осями тележки, отдельные рессоры часто соединяют одну с другой посредством балансиров. Балансир напоминает коромысло: средней своей частью он опирается на специальную опору буксы, на которой может качаться.

Рис. 2 Схема работы рессорного подвешивания
С листовыми рессорами балансиры соединены с помощью подвесок. Внешние концы крайних балансиров через стойку связаны с двойными пружинами, опирающимися на раму тележки. Таким образом, на этот конец балансира нагрузка от рамы передается через две пружины, что позволяет снизить напряженность их работы. На рессоры нагрузка от рамы тележки передается через хомуты, соприкасающиеся с нижней плоскостью боковин тележки посредством подкладок. Механизм, составленный из рессор, балансиров, подвесок, поводков, шарнирных соединений, гасителей колебаний, условились называть рессорным подвешиванием. Оно призвано равномерно распределять (выравнивать) нагрузку между отдельными колесными парами, т. е. снижать динамическое воздействие на путь.
Соединение рессор и пружин одной стороны тележки с помощью балансиров позволяет поддерживать примерно одинаковую нагрузку на колесные пары во время движения тепловозов. Такая комбинированная подвеска рессорного подвешивания называется сбалансированной. Каждая тележка тепловозов ТЭЗ, ТЭ10, ТЭП60, ТЭ1, ТЭ2 имеет две такие самостоятельные (левую и правую), не связанные между собой системы, или, как принято говорить, две «точки» рессорного подвешивания. Точкой рессорного подвешивания при сбалансированном подвешивании называют группу сбалансированных рессор и пружин. При индивидуальном подвешивании на каждой буксе есть соответствующая «точка» подвешивания. Они располагаются симметрично с обеих сторон тележки и работают независимо друг от друга. В двух тележках получается, таким образом, четырехточечное сбалансированное рессорное подвешивание. Однако описанная система подвешивания имеет недостатки. Если бы рессоры и пружины были идеальными, то колесо поднималось и опускалось бы под кузовом (рамой тележки) в соответствии с неровностью рельса, а кузов (рама тележки) оставался на одном и том же уровне от верхнего строения пути. Но идеальные рессоры невозможны.
Тогда возникает вопрос: что произойдет с рамой тележки, кузовом после того, как действие толчков и ударов кратковременно прекращается, т. е. после того, как колесо пройдет неровность? Благодаря приобретению энергии они начнут колебаться подобно маятнику, выведенному ударом из положения равновесия. Такие колебания маятника, в данном случае кузова и рамы тележек, называются свободными, или собственными. Эти колебания в зависимости от трения в рессорном подвешивании будут постепенно уменьшаться, затухать.
Спрашивается, какая рессора обладает большим трением — листовая или пружина? Ясно, что в самой листовой рессоре между листами появляется трение и тем больше, чем больше в ней листов.
Хорошо ли это? И да, и нет. Да, потому что листовая рессора, обладая значительным трением между листами, лучше, чем пружина, поглощает колебания подрессоренных масс и в этом отношении является как бы фрикционным гасителем колебаний. Плохо, так как многолистовая рессора из-за большого трения между листами прогибается очень мало. Чтобы уменьшить трение между листами, их перед сборкой рессоры тщательно смазывают, обычно графитовой смазкой. Но смазка во время эксплуатации тепловоза высыхает, и тогда многолистовая рессора превращается в «массивную» балочку (балансир). При высокой скорости возрастают динамические нагрузки, что влечет за собой существенный прогиб рессор, но трение в шарнирах и инерция системы подвешивания препятствуют эффективному выравниванию нагрузок. В результате многолистовая рессора при высокой скорости не успевает среагировать (прогнуться) на проезжаемые неровности. Вот почему на тепловозах ТЭЗ 18-листовые рессоры уступили место 8-листовым рессорам с большей толщиной листов, которые позволяют уменьшить внутреннее трение. Но и эта мера не достигает цели: балансиры и рессоры, обладающие значительной инерцией, усугубляемой трением в шарнирах, не успевают справиться с выравниванием (перераспределением) «молниеносных» динамических нагрузок между колесными парами, т. е. даже хорошо сбалансированное рессорное подвешивание при больших скоростях движения плохо выполняет свои функции при прохождении колесами неровностей пути.
На тепловозах 2ТЭ116, 2ТЭ10В, ТЭ109 от листовых рессор отказались. Их место заняли пружины, которые устанавливают на каждой буксе без балансирной связи с пружинами буксы смежной колесной пары. Такое рессорное подвешивание не только намного легче и дешевле, но и проще в обслуживании и в отличие от сбалансированного называется индивидуальным. В современном локомотивостроении индивидуальное подвешивание нашло преимущественное применение, а сбалансированное рессорное подвешивание используется в основном на старых тепловозах, предназначенных для обслуживания тяжелых грузовых поездов с относительно невысокой скоростью движения.
Рассмотрим вкратце устройство пружинной подвески. Каждая букса имеет по два кронштейна, на гнезда которых опираются две одинаковые пружины. На самом деле, чтобы снизить напряжения в витках, каждая пружина может состоять из наружной, внутренней и средней, т. е. комплектуется из трех пружин. Однако винтовые пружины обладают малым внутренним трением (так как нет листов, а значит, и нет трения между ними). Поэтому пружина по сравнению с листовой рессорой колеблется дольше, т. е. не способствует быстрому затуханию колебаний. Кроме того, пружина не может предотвратить явление резонанса — опасное явление, при котором частота колебаний от неровностей рельсов совпадает с частотой собственных колебаний локомотива. Неужели же тут нет выхода?
Наиболее простое средство — это параллельно с пружиной (рис. 3) разместить демпфирующее устройство, создающее искусственное трение, которого нет у винтовой пружины.

Рис. 3 Размещение демпфирующего элемента параллельно пружине
Рис. 4 Схема двухступенчатого подвешикания
Один из способов вызвать трение — зажать между вкладышами стальной поршень, «шток» которого соединить с буксой, а корпус этого устройства — с рамой тележки. Тогда при перемещениях буксы поршень станет тереться о вкладыши. Возникающая между их поверхностями сила трения будет гасить колебания движущегося тепловоза. Устройство это получило название фрикционного гасителя колебаний. Изменяя силу прижатия вкладышей к поршню, можно регулировать развиваемую силу трения. В этом и состоит суть действия описанного гасителя, который работает вместе с винтовыми пружинами.
Искусственное трение создают, используя также жидкость или воздух, в соответствии с чем различают гидравлические и пневматические гасители. Кроме того, в некоторой степени гашение колебаний подрессоренных масс способствуют резиновые элементы, применяемые в узлах связи букс с рамой тележки и рамы тележки с кузовом.
Читателю уже известно, что высокий статический прогиб рессорного подвешивания — одно из важных условий плавности хода тепловоза, т. е. малой чувствительности его к неровностям пути, особенно при высоких скоростях движения. Существуют другие способы (помимо описанных) увеличить гибкость рессорного подвешивания. На локомотивах, развивающих скорость свыше 100 км/ч, а также при повышенной нагрузке от оси на рельсы (более 250 кН/ось, или 25 тс/ось) устраивается двухэтажное, или, как принято говорить, двухступенчатое, подвешивание (рис. 4). Первая ступень размещается обычно между буксами колесных пар и рамой тележки, вторая между рамой тележки и кузовом. Благодаря смягчающему действию сначала первой, а затем второй ступени кузов получает более плавные колебания. Таким образом, вес кузова вместе с весом оборудования, находящимся в кузове, передается колесным парам через обе ступени рессорного подвешивания, а вес рамы тележки, включая часть веса тяговых электродвигателей при опорно-осевом их подвешивании и другого оборудования только через одну ступень. В результате общий статический прогиб двухступенчатого подвешивания значительно увеличивается по сравнению с одноступенчатым. Однако двухступенчатое подвешивание все же усложняет конструкцию локомотива. На отечественных локомотивах в основном применяется одноступенчатое подвешивание.
А что если отказаться от традиционной конструкции рессор и призвать на помощь сжатый воздух, воспользоваться его упругостью? Подвижной цилиндр с поршнем, наполненный сжатым воздухом давлением рв — это же простейшая пневматическая рессора. Как и обычная металлическая, эта рессора в зависимости от величины нагрузки будет сжиматься или распрямляться, т. е. каждому изменению нагрузки (Q-\-q) соответствует определенное положение цилиндра (высота h\ давление р\). Иными словами, под действием нагрузки, приходящейся на пневморессору (в нашем примере на цилиндр), воздух, заключенный в ограниченном пространстве, будет то сжиматься (рессора становится жестче), то расширяться (рессора становится мягче). Но такая простая по устройству пневморессора имеет упругость меньшую, чем обычная металлическая рессора, и поэтому применение ее нецелесообразно.
Нельзя ли сделать так, чтобы высота h пневморессоры (высота между тележкой и кузовом), т. е. жесткость ее, оставалась постоянной независимо от величины нагрузки, чего нет и не может быть у металлической рессоры? Если бы это удалось, тогда кузов локомотива или вагона оставался бы на предварительно заданной высоте: он бы не реагировал на состояние пути, на изменение вертикальных нагрузок, возникающих в результате движения, так что даже из стакана, наполненного до краев водой, не выплеснулось бы ни капли несмотря на большую скорость поезда. Вот это комфорт!
Сжатый воздух за счет изменения его давления в пневморессоре позволяет решить эту задачу, причем автоматически с помощью, например, высото-регулирующего клапанного механизма. На рис. 5 для наглядности показан не клапанный, а менее совершенный золотниковый механизм.

Рис. 5 Схема работы пневматической рессоры с высоторегулирующем механизмом
Если кузов нагружается, пневморессора сжимается (в нашем примере цилиндр опускается); золотник вводит в цилиндр (в рессору) некоторое количество дополнительного воздуха, кото-, рый стремится возвратить пневморессору на первоначальную высоту, т. е. равновесие восстанавливается. Если кузов разгружается (нагрузка уменьшается), рессора поднимается (распрямляется), то золотник выпускает часть воздуха и равновесие снова восстанавливается: после этого золотник перекрывает впускное и выпускное отверстия. В этом состоит одно из преимуществ пневморессоры перед стальной рессорой, жесткость которой, как указывалось, не регулируется.
В такой конструкции практически невозможно избежать утечек воздуха через неплотности между поршнем и цилиндром. На подвижном составе эта задача решена с помощью непроницаемых резиновых баллонов, наполненных воздухом, — пневморессор (рис. 6). Для питания пневморессор сжатым воздухом они подключаются к напорной воздушной магистрали локомотива.

Рис. 6 Схема пневматического подвешивания.
При увеличении нагрузки Q кузова, т. е. при сжатии пневморессоры, в баллон дополнительно впускается сжатый воздух, а при ее распрямлении — выпускается. Благодаря изменению давления внутри пневматической рессоры высота ее под статической нагрузкой локомотива, передающейся от веса подрессоренных частей, поддерживается практически постоянной. Механизм, предназначенный для компенсации утечек воздуха, должен срабатывать только при значительном статическом прогибе рессор (например, при проходе стыков рельсов, стрелочных переводов), а при обычных (небольших) колебаниях тепловоза он срабатывать не должен. Такие быстро протекающие колебания кузова и рамы должны поглощаться резиновыми элементами, которые для этого последовательно включаются в рычажный привод высоторегулирующего механизма. Стоит же вертикальным колебаниям превысить допускаемую величину (амплитуду), на которую рассчитаны резиновые элементы, как в действие вступает уже сам высоторегулирующий механизм, автоматически открывающий или закрывающий доступ воздуха в рессору.
Пневматическое рессорное подвешивание не требует включения в систему специальных амортизаторов гашения динамических колебаний. Почему? Потому, что пневморессора со тележки тепловоза 2ТЭ10В соединяется с дополнительным воздушным резервуаром: по пути в рессору сжатый воздух из резервуара проходит через дроссельные отверстия, играющие роль гасителя колебаний, так как они оказывают сопротивление перетеканию воздуха.
Список литературы
1. С.П. Филонов «Тепловоз М62» М., Транспорт, 1977, 280с
