| Скачать .docx |
Реферат: Подвеска автомобиля
Подвеска

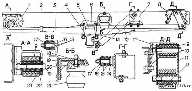
Рис. 6.1. Передняя подвеска: 1, 4, 5 и 10 — кронштейны; 2 — лонжерон рамы; 3 — амортизатор; 6 — рессора; 7 — накладка; 8 — чашка; 9 — резиновая рессора сжатия; 11 — серьга; 12 — стремянка; 13 — балка; 14 — гайка; 15 — палец; 16 — резиновые втулки; 17, 20 и 21 — шайба; 18 — резинометаллические шарниры; 19 — болт

Рис. 6.2. Задняя подвеска автофургонов: 1, 2, 9 и 10 — кронштейн; 3 — подушка; 4 — дополнительная рессора; 5 — накладка; 6 — прокладка; 7 — стремянка; 8 — лонжерон рамы; 11 — серьга; 12 — резинометаллический шарнир; 13 — рессора; 14 — амортизатор; 15 — подушка рессоры; 16 — резиновая втулка; 17 и 22 — гайка; 18, 20 и 21 — шайба; 19 — болт

Рис. 6.3. Задняя подвеска автобусов: 1, 18 — кронштейны; 2 — лонжерон рамы; 3 — рессора; 4 — стремянка; 5 — накладка; 6 — буфер; 9 — резинометаллические шарниры; 10 — болт; 11 — серьга; 12 — амортизатор; 13 — подушка рессоры; 14, 17, 20 и 23 — шайбы; 15 — резиновые втулки; 16 — палец; 19 — распорная втулка; 21 — резиновая рессора сжатия; 22 — тарельчатая шайба
Передняя и задняя подвески автофургонов и автобусов ( рис. 6.1 , 6.2 , 6.3 ) выполнены на продольных рессорах с гидравлическими амортизаторами.
В передней подвеске над основной рессорой установлена резиновая рессора сжатия, в задней подвеске над основной рессорой установлена дополнительная рессора (в задней подвеске автобусов вместо дополнительной рессоры устанавливается резиновая рессора сжатия).
Передние и задние рессоры автомобилей по длине несимметричны (от центрового болта до ушка).
При монтаже передних и задних рессор более короткий конец должен быть обращен вперед.
В подвеске могут применяться как малолистовые, так и многолистовые рессоры. В случае необходимости разборки рессор их листы перед сборкой смазывают графитной смазкой.
Крепление передних концов рессор к раме выполнено при помощи резинометаллических шарниров, задних концов рессор — при помощи резинометаллических шарниров и серег. Для правильной работы этих шарниров затяжку их гаек следует производить при выпрямленных рессорах.
Уход за подвеской заключается в периодической проверке крепления рессор, амортизаторов, гаек стремянок.