| Скачать .docx |
Реферат: Задняя подвеска автомобилей КамАЗ
Задняя подвеска автомобилей КамАЗ
Задняя подвеска автомобиля КамАЗ — балансирная, на двух полуэллиптических рессорах , с реактивными штангами с резинометаллическими шарнирами. Концы рессор скользящие по опорам, приваренным к балкам мостов. Ось балансира выполнена цельной, без стяжки. Пальцы реактивной штанги азотированы, опоры рессор усилены.
Рессоры в средней части прикреплены стремянками 7 к башмаку 19 рессоры. Концы рессор установлены в опорах 11. При прогибе рессор концы их скользят в опорах. При ходе мостов вниз рессоры удерживаются в опорах пальцами 8, зафиксированными от осевых перемещений шплинтами и шайбами. Для ограничения хода мостов вверх и смягчения их ударов о раму на лонжеронах установлены буферы 1. Толкающие усилия и реактивные моменты передаются на раму шестью реактивными штангами 4. Шарниры реактивных штанг самоподвижные.

Рис. 205. Установка задней подвески (поперечный вид)

Рис. 205. Установка задней подвески (продольный вид) 43101, 43114, 43118: 1 - мост промежуточный; 2 -рама; 3 - рычаг реактивный верхний; 4 - шпильки; 5 -штанги реактивные; 6, 10, 13 - болты; 7 - стремянка рессоры; 8 - накладка рессоры; 9 - гайка стремянки; 11 - палец опоры; 12 - подкладка буфера; 14 - буфер; 15 - крышка шарового пальца; 16 - опора; 17 - мост задний; 18, 22 - рычаги реактивные нижний; 19 -кронштейн оси балансира; 20 - пробка заливного отверстия; 21 - рессора
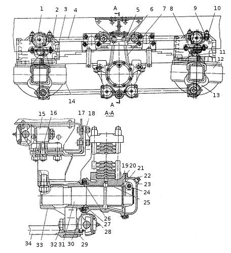
Рис. 207. Задняя подвеска автомобилей КамАЗ: 1 - буфер задней рессоры; 2 - рычаг реактивный; 3 - рессора; 4 - штанга реактивная; 5 - гайка; 6 - накладка рессоры; 7 - стремянка рессоры; 8 - палец опоры рессоры; 9, 16- шпильки; 10 - втулка разжимная; 11 - опора рессоры; 12 - мост задний; 13 - кронштейн нижней реактивной штанги; 14 - мост промежуточный; 15 -кронштейн верхней реактивной штанги; 17 - лонжерон; 18 - прокладка кронштейна задней подвески; 19 - башмак рессоры; 20 - прокладка крышки башмака; 21 - гайка крепления башмака; 22 - пробка заливная; 23 - крышка башмака; 24 - болт стяжной гайки крепления башмака; 25 - втулка башмака; 26 - кольцо уплотнительное; 27 -кольцо упорное; 28 - манжета; 29 - гайка крепления стяжки кронштейнов; 30 -обойма манжеты; 31 - ось башмака; 32 -гайка крепления шарового пальца; 33 -кронштейн балансира; 34-стяжка кронштейнов балансира
Балансирное устройство автомобилей КамАЗ -5320, КамАЗ-55102 и КамАЗ-5410 состоит из двух осей 31, запрессованных в кронштейны 33, и башмаков 19 с запрессованными в них втулками 25 из антифрикционного материала. Кронштейны балансирного устройства соединены стяжкой 34 и закреплены шпильками на кронштейнах задней подвески, которые в свою очередь крепятся болтами к лонжеронам рамы. В крышке 23 имеется отверстие с пробкой для заливки масла.
Для предотвращения вытекания смазки в башмаках установлены резиновые армированные манжеты, а для защиты уплотнений от грязи — уплотнительные кольца. Башмаки 19 закреплены на осях разрезными гайками, стянутыми болтами 24.
Подвеска задняя автомобилей КамАЗ -53212, Ка-мАЗ-55111 и КамАЗ-54112 (рис. 208 ), в отличие от задней подвески, изображенной на рис. 207 , имеет балансирное устройство с одной осью, запрессованной в кронштейн оси балансира и выполняющей роль стяжки. Опоры рессоры и нижние реактивные рычаги для улучшения ремонтоспособности выполнены съемными. Опоры зафиксированы от перемещения установочными пластинами. Для ограничения хода мостов вниз на опорах рессор установлены ограничители качания мостов.

Рис. 208. Подвеска задняя