| Похожие рефераты | Скачать .docx |
Курсовая работа: Работы по регулировке карбюратора автобуса, его замены и текущего ремонта
Содержание
1. Общая характеристика ОАО «ПАТП-3»
2. Краткая история развития предприятия
3. Генплан. Характеристика территории ПАТП-3
4. Состав и структура парка
5. Характеристика производственно-технической базы
6. Характеристика основных производственных помещений
6.1 Зона ЕО (УМР)
6.2 Зоны ТО и ТР
6.3 Производственные участки
7. Организационная структура ПАТП-3
8. Технологический процесс ТР карбюратора двигателя автобуса ПАЗ 3205
8.1 Особенности ТР карбюратора
8.2 Перечень работ на регулировку карбюратора, его замену и текущий ремонт
8.3 Используемые эксплуатационные материалы
8.4 Применяемое технологическое оборудование
1. Общая характеристика ОАО «ПАТП -3»
Открытое акционерное общество « Пассажирское автотранспортное предприятие № 3» ОАО «ПАТП - 3».
Основной статус предприятия пассажирские перевозки. ОАО « ПАТП-3» имеет лицензии на обслуживание пригородных, междугородних - внутриобластных и межобластных маршрутов; удостоверение допуска на обслуживание международных маршрутов на Украину и Беларусь, а также выполняет пассажирские перевозки по разовым заказам. Предприятие имеет статус социально значимых перевозок, т.е. перевозит пассажиров, пользующихся правом льготного проезда в автобусах пригородного сообщения.
ОАО «ПАТП - 3» занимается обслуживанием и ремонтом подвижного состава.
Предприятие обслуживает: 19 пригородных маршрутов; 9 внутриобластных маршрутов; 5 межобластных маршрутов; 4 международных маршрута.
Типичные маршруты движения подвижного состава ОАО «ПАТП-3» представлены в приложении А
Балансовая стоимость основных фондов на 1.01.2010 г. составляет 43733 млн.рублей, Коэффициент износа основных фондов - 65,8%. В общем объеме основных фондов доля активной части (подвижного состава) составляет 70,4 %, коэффициент износа подвижного состава - 68,8 %. В последние годы происходит обновление подвижного состава. В 2005 г. приобретено 16 автобусов, в 2006 г. - 21 автобус, в 2007 г. - 21 автобус. Приобретались автобусы марки Радимич, МАЗ-105 и МАЗ-103. В 2007 г. обновление производилось за счет средств транспортного сбора в лизинг, а также за счет кредитов банка также в лизинг.
2. Краткая история развития предприятия
1921 год – в Курской губернии создана первая автотранспортная организация из 15-ти автомобилей и мотоциклов.
1925 год – в Курской транспортной конторе числилось грузовых автомобилей – 7 ед.; автобусов - 6 ед.; легковых автомобилей -1ед.;мотоцикловг 1 ед.; лошадей- 42 головы.
1934 год – организован Курский трест автогужевых перевозок «Автогужконтора».
1934 год – в Курске появились первые два автобуса отечественного производства. Был открыт маршрут « Красная площадь - Ямской вокзал».
1939 год – «Автогужтрест» реорганизуется в « Автомобильное управление».
1946 год – создается Курская автоколонна № 9.
1953 год – построен гараж, произошло разделение на два автохозяйства – пассажирское и грузовое. Автоколонна №9 переехала в новый гараж.
1963 год – Автоколонна № 9 преобразована в Автоколонну № 1307.
1972 год – построен новый гараж и коллектив автоколонны второй раз справляет новоселье.
1973 год – создана Курская база централизованного технического обслуживания грузовых автомобилей (БЦТО) на территории, ранее принадлежавшей автоколонне № 1307.
1979 год – База централизованного технического обслуживания грузового автотранспорта ликвидирована, образована автоколонна 1307.
1981 год – автоколонна 1307 переименована в «ПАТП-3».
2002 год – Курское ПАТП-3 переименовано в ОГУП «Курское ПАТП -2005 год - ОГУП «Курское ПАТП-3» переименовано в ОАО «ПАТП-3»
2005 год – ОГУП «Курское ПАТП-3» переименовано в ОАО «ПАТП-3»
3. Генплан. Характеристика территории ПАТП-3
Предприятие располагается в центральном округе г. Курска по ул. Энгельса 177 б. Площадь территории предприятия составляет 14,56 га. На предприятии насчитывается 252 единиц автотранспорта, в том числе 207 автобусов.
На территории предприятия размещаются:
- административно-бытовой корпус (АБК);
- ремонтные зоны ТО – 1, ТО – 2, ТР;
- блок производственных участков (столярный, ремонтно-механический, малярный, кузнечно-меднецкий, экспериментальный, аккумуляторный, сварочный, шиномонтажный и другие участки);
- АЗС и склад ГСМ (для хранения и выдачи керосина и антифриза);
- мойка автомобилей с очистными сооружениями;
- склад запчастей;
- здание диспетчерской и столовая;
- закрытые и открытые стоянки автотранспорта и прочие здания.
Подробный генеральный план предприятия с обозначением всех производственных, складских, административных и вспомогательных помещений представлен в приложении Б.
4. Состав и структура парка
Состав и структура парка ПАТП-3 представлена в таблице 1.
Таблица 1 – Состав и структура парка автобусов ПАТП3
| Марка автобусов | Количество Автобусов всего |
Пробег с начала эксплуатации, тыс.км | ||||
| до 100 | 101-300 | 301-550 | 551-700 | свыше 700 | ||
| ИК-250, 256 | 43 | - | 1 | - | - | 42 |
| Мерседес | 2 | - | - | - | - | 2 |
| МАН, Неоплан | 3 | - | - | - | - | 3 |
| ИК-280 | 50 | - | - | - | - | 50 |
| ИК-260 | 14 | - | - | - | - | 14 |
| МАЗ-152 А | 4 | 3 | 1 | - | - | - |
| МАЗ-251 | 1 | 1 | - | - | - | - |
| МАЗ-103 | 10 | 2 | 8 | - | - | - |
| МАЗ-104 | 2 | - | - | - | - | 2 |
| МАЗ-105 | 32 | 5 | 20 | 7 | - | - |
| МАЗ-256 | 2 | - | 2 | - | - | - |
| Неман-52012 | 1 | 1 | - | - | - | - |
| МАРЗ-5266 | 2 | 1 | 1 | - | - | - |
| Газель | 45 | - | 17 | 28 | - | - |
| Люблин-35141 | 5 | - | 5 | - | - | - |
| Радимич | 21 | 17 | 4 | - | - | - |
| ПАЗ-4203002 | 1 | - | 1 | - | - | - |
| ПАЗ-32050,3205 | 14 | 1 | 9 | 3 | 1 | |
| ИТОГО | 252 | 31 | 69 | 38 | 1 | 113 |
По результатам проведенного анализа парка ПАТП-3 средний возраст подвижного состава составляет 15 лет.
Основными моделями парка транспортных средств ОАО «ПАТП-3» являются автобус ИК-280 и автобус ПАЗ 3205.
Икарус 280 - городской сочленённый автобус Венгерской фирмы Ikarus, изготовляющийся с 1973 года (рисунок 1).

Рисунок 1- городской автобус ИК-280
Двигатель расположен под полом пассажирского салона в пределах колёсной базы. Помимо дизеля RABA, автобусы оснащали двигателями компаний MAN, DAF, Cummins. У модификаций, поставляемых в Россию, кабина водителя полностью отделена от салона, расположение сидений - трёхрядное. Подвеска пневматическая,с регулятором уровня положения кузова. Тормозные механизмы всех колёс барабанные.
В 1994 году сборку автобусов Икарус 280 освоил Московский завод "Тушино-Авто". Сначала это была досборка почти готовых машин, затем завод сам освоил многие производственные операции.
Основные достоинства автобуса - хорошая приспособленность к российским условиям, неприхотливость, удобная планировка салона и высокая пассажировместимость. К недостаткам можно было отнести очень холодный салон в зимний период.
Таблица 2 – Основные технические характеристики автобуса ИК-280
| Параметры | Значение параметров |
| 1 | 2 |
| Назначение | городской |
| Габаритные размеры, мм | 16500x2500x3200 |
| Колёсная база, мм | 5400 / 6200 |
| Число мест для сидения | 37+1 |
| Число дверей для пассажиров | 4 |
| Дорожный просвет, мм | 330 |
| Снаряженная масса, кг | 12500 |
| Полная масса, кг | 20395 |
| Двигатель | RABA MAN 2156 Диаметр цилиндра 121 мм количество цилиндров 6 |
| Рабочий объём двигателя, л | 10,35 |
| Мощность двигателя, л.с. | 185 при 2200 об/мин |
| Вместимость топливного бака, л. | 250 |
| Коробка передач | FSA S6 120U |
| Число ступеней КП | 6/1 |
| Максимальная скорость, км/ч | 66 |
| Вместимость, чел. | 210 |
На сегодняшний день автобусы ПАЗ 3205 являются одними из наиболее распространенных автобусов малого класса в России (рисунок 2).

Рисунок 2 – Габаритный чертеж автобуса ПАЗ 3205
Пассажирский автобус ПАЗ 3205 имеет бензиновый двигатель ЗМЗ 5234.10, общее кол-во мест 41, из которых посадочных 28, мощность 95 (130) - 3200 кВ (л.с.) при об/мин. Это двухдверный пассажирский автобус с коробкой передач ПАЗ 3205 70-1700010-10. Автобус ПАЗ 3205 по своим габаритам относится к автобусам малого класса, имея в длину 6925 мм, в ширину 2500 мм и в высоту 2960 мм.
Автобус ПАЗ 3205 достаточно прост в техническом обслуживании. Он выгоден, так как ПАЗ 3205 быстро окупается в коммерческом использовании, а также имеет отличное соотношение цены-качества. Плюс ПАЗ 3205 имеет оптимальные технические характеристики. На сегодня этот автобус является одним из самых популярных в своем классе, так как имея небольшие габариты, он достаточно юркий и изворотливый. А использование ПАЗ 3205 в коммерческих целях принесет Вам быстрый доход.
Таблица 3 – Основные технические характеристики автобуса ПАЗ 3205
| Параметры | Значение параметров |
| Кузов | Несущий, вагонной компоновки |
| Колёсная формула | 4х2 |
| Общее число мест | 36-42 |
| Число мест для сидения | 21-25 |
| Максимальная скорость, км/ч | 80-90 |
| Контрольный расход топлива при 60 км/ч, л/100 км | 18-20,5 |
| Ёмкость топливного бака, л | 105 |
| Тормозная система | пневматическая, двухконтурная с ABS |
| Длина, мм | 6 925 |
| Ширина, мм | 2 500 |
| Высота, мм | 2 960 |
| База, мм | 3 600 |
| Полная масса, кг | 8 060 — 8 185 |
| Комплектуется двигателями | ЗМЗ-5234.10, Cummins B 3.9 140 CIV-1, ММЗ 245.7 |
| Вентиляция | 3 люка в крыше, форточки на боковых окнах |
| Рулевой механизм | МАЗ-64229 с гидроусилителем руля |
5. Характеристика производственно-технической базы
Для поддержания парка автомобилей в технически исправном состоянии предприятия автомобильного транспорта располагают производственно-технической базой, которая представляет собой совокупность зданий, сооружений, оборудования, оснастки и инструмента, предназначенных для ТО, ТР и хранения подвижного состава, а также для создания необходимых условий работы персонала. Основное требование к ПТБ - обеспечение требуемого уровня технической готовности подвижного состава для выполнения перевозок при наименьших трудовых и материальных затратах.
Уровень развития ПТБ оказывает существенное влияние на показатели работы АТП.
Важнейшей характеристикой, определяющей состояние ПТБ, является структура основных производственных фондов, в которой для АТП общего пользования подвижной состав составляет примерно 60%, а производственно-техническая база 40%. Такое распределение основных фондов объясняется частично характером перевозочного процесса, не требующего никаких иных средств производства, кроме подвижного состава, и недостаточным обеспечением АТП производственно-технической базой.
Уровень развития ПТБ во многом определяется размерами и формами организации производственной деятельности АТП.
На автомобильном транспорте развитие ПТБ осуществляется за счет нового строительства АТП, расширения, реконструкции и технического перевооружения действующих предприятий. Преобладающей формой развития ПТБ является реконструкция и техническое перевооружение предприятий. Это связано с тем, что средства, затрачиваемые на реконструкцию и техническое перевооружение, окупаются в среднем в 3 раза быстрее, чем при создании аналогичных производственных мощностей за счет нового строительства, и, кроме того, сокращается потребность в рабочей силе.
6. Характеристика основных производственных помещений
6.1 Зона ЕО (УМР)
Зона ЕО (УМР) служит для уборки, мойки и сушки автомобиля. Посты уборочно-моечных работ на «ПАТП-3» располагаются в отдельных помещениях, что связано с характером выполняемых операций (шум, брызги, испарения). Зона ЕО оснащена механизированной щеточной мойкой автобусов стационарного типа, благодаря чему снижется трудоемкость работы персонала зоны УМР. Мойка производиться с применением щелочных моющих растворов. Схема здания мойки с репликацией представлена в приложении В.
6.2 Зоны ТО и ТР
Технологическая планировка зон и участков представляет собой план расстановки постов, автомобиле-мест ожидания и хранения, технологического оборудования, производственного инвентаря, подъемно-транспортного и прочего оборудования. Планировочное решение зон ТО и ТР на ОАО «ПАТП-3» разрабатывается с учетом требований СНиП II-93-74. Подробная планировка производственных корпусов с репликацией и с обозначением основного оборудования представлена в приложении В.
Посты ТО и ТР размещены с соблюдением необходимых нормируемых расстояний между автобусами, а также между автобусами и элементами здания. На данном предприятии применяются посты поточного и тупикового типов
Посты диагностирования расположены или в обособленных помещениях. Все посты диагностирования тупикового типа.
Наиболее распространенными осмотровыми устройствами в зонах ТО и ТР являются канавы и подъемники. В соответствии со СНиП II-93-74 для удобства работы и обеспечения безопасности при наличии двух и более параллельных канав, расположенных рядом, они соединяются между собой открытой траншеей (тупиковые) или тоннелем (проездные), что можно наблюдать в цехе ТР ОАО «ПАТП-3». Ширина траншей и тоннелей на предприятии не менее 2 м, так как в них расположены рабочие места и технологическое оборудование. Высота тоннеля от пола до низа перекрытия или несущих конструкций для автомобилей над приямками в местах прохода людей не менее 1,8 м. Из траншей предусматриваются выходы по лестницам в производственные помещения: один на 5 автомобилей. При большем числе автомобилей устроены дополнительный выход на каждые 10 автомобилей. Ширина выхода не менее 0,7 м.
Лестницы из канав, траншей в целях безопасности не располагаются под автомобилями и на путях их движения, а расположены в свободних и безопасных местах
На уровне пола тупиковых канав постов ТО-2 и ТР располагается оборудование для слесарных и некоторых других работ. При этом ширину открытой траншеи, соединяющей канавы, составляет до 4 - 6 м, благодаря чему в ней размещается все необходимое оборудование.
Перечень всего необходимого оборудования, расположенного в зонах ЕО, ТО, ТР а также на прочих производственных зонах и участках представлен в приложении Г.
Периодичности и удельные трудоемкости ТО и КР основных моделей парка ОАО «ПАТП-3» представлены в приложении Д.
Свод начислений, в котором указывается состав, численность и зарплата персонала представлены в приложении Е.
6.3 Производственные участки
Участок по ремонту двигателей
Основными видами ремонтных работ двигателя являются: замена кривошипно-шатунного механизма, разборка на узлы и детали, очистка, мойка, разбраковка, комплектовка, сборка из узлов и деталей, разборка, ремонт и сборка узлов двигателя, а также испытание и регулировка. Все технологическое оборудование на участке ремонта двигателей должно быть расставлено с соблюдением технологической последовательности выполнения ремонтных работ. Двигатели, прошедшие текущий ремонт по замене деталей кривопшино-шатунного механизма, поступают в отделение по обкатке и испытанию двигателей.
Агрегатный участок
Работы по ремонту агрегатов включают разборочно-сборочные и ремонтно-восстановительные операции. Агрегаты, снятые с автобуса, частично или полностью разбираются на стендах. Сцепление, ступицы колес и другие узлы разбираются в приспособлениях, монтируемых на верстаках. Для выпрессовки подшипников, втулок и других деталей применяются съемники и прессы.
Для выполнения всех ремонтных работ агрегаты и детали подвергаются мойке в моечной машине, расположенной в смежном помещении. Транспортируют их кран-балкой и погрузчиком.
Участок по ремонту топливной аппаратуры
Работы по ремонту и регулировке системы питания двигателей заключаются в полной разборке и сборке топливных насосов, форсунок, устранением обнаруженных дефектов, регулировке, проверке на герметичность, распыление, производительность. Приборы, требующие ремонта, перед разборкой подвергаются наружной мойке в моечной установке и обдувке сжатым воздухом.
Электротехнический участок
Электротехнические работы состоят из проверки, ремонта, регулировки и испытания приборов электрооборудования автобусов. Приборы очищаются от пыли и грязи, осматриваются и испытываются на специальных стендах. Подлежащие ремонту приборы разбираются на детали, узлы и промываются.
Ремонт приборов электрооборудования производится путем замены негодных деталей. Отремонтированные приборы регулируются и испытываются, после чего передаются в оборотный фонд ил склад. Рабочие места оснащены специальным оборудованием.
Аккумуляторный участок
В условиях автотранспортных предприятий производится капитальный ремонт аккумуляторных батарей и их техническое обслуживание. В соответствии с технологией производства и требованиями техники безопасности аккумуляторный участок расположен в двух смежно-изолированных помещениях.
Медницкий участок
К основным работам, выполняемым на участке, относится ремонт радиаторов, топливных баков, топливо- и маслопроводов, также проверка герметичности и удаление накипи.
Медницкий участок оснащается верстаком для испытания и ремонта радиаторов, паяльником на основе газовой горелки, ванной для испытания топливных баков, прессом для правочных работ, ручными ножницами для резки листового металла, слесарными верстаками, стеллажами и приспособлениями. Участок целесообразно размещать вблизи зоны текущего ремонта автомобилей.
Жестяницкий участок
Основными операциями при ремонте кузова являются:
• выправление помятых поверхностей;
• устранение перекосов и прогибов;
• замена разрушенных частей панелей новыми;
• заварка трещин и разрывов.
Эти операции производят разными способами в зависимости от сложности, местонахождения и размеров поврежденной части кузова. Повреждения обшивки и оперений кузова исправляются, как правило, вручную при помощи специальных инструментов (металлических и деревянных молотков, различных оправок) и приспособлений.
Кузнечно-рессорный участок
К кузнечно-рессорным работам относятся ремонт и изготовление деталей с применением нагрева (правка, горячая клепка, ковка деталей) и ремонт рессор.
Разборка и сборка рессор производится на верстаках с тисками. Изношенные втулки заменяются новыми. Собранная рессора испытывается под нагрузкой на прессе с проверкой величин остаточной стрелы прогиба.
Кузнечно-рессорный участок оснащается кузнечным горном наковальней и комплектом кузнечных инструментов. Для подачи воздуха к горну применяются вентиляторы низкого давления (150—200 мм вод. Ст.). Кроме того, участок оснащается печью для нагрева, рессорных листов, правочной плитой (1,0x1,5 м), слесарным верстаком, верстачным прессом, сверлильным станком, стеллажами для хранения рессор и рессорных листов и ванной для закалки листов.
Шиномонтажный участок
Шиномонтажный участок служит для выполнения демонтаж и монтажа шин, ремонта дисков колес, а также вулканизации и ремонта камер и покрышек.
Для вывешивания колес, снятых с автобусов, применяются гидравлические подъемники, а для отвертывания гаек крепления дисков колес – электромеханические или пневматические гайковерты.
Арматурно-кузовной участок
Арматурно-кузовные работы включают арматурно-слесарные и стекольные работы.
Арматурно-слесарные работы состоят из работ по снятию, ремонту и установке механизмов кузова (замков, стеклоподъемников, петель), их регулировке, устранению неплотностей в проемах кузова, а также из работ по подгонке капотов, крышек багажника в проемах кузова, а также по подгонке капотов, крышек багажника и дверей по месту в проемах кузова после ремонта.
Обойный участок
Обойные работы заключаются в ремонте подушек и спинок сидений, внутренней обивки салона кузова и чехлов утепления радиатора и двигателя.
Для раскройки материала (кожзаменитель, сукно, полотно) применяются шаблоны; сшивают материал на швейной машине.
Для разборки и сборки подушек спинок и сидений используются верстаки. Обойные материалы, готовые сиденья и спинки хранятся на специальных стеллажах.
Малярный участок
К малярным работам относятся частичная или полная окраска кузова автобуса, окраска номерных знаков и нанесение надписей по трафарету.
При местной окраске кузова старый слой краски, ржавчины и другие загрязнения удаляются скребками, смывочными растворами и наждачной шкуркой. Для обезжиривания поверхность, притирается ветошью, смоченной в уайт-спирите, с последующей притиркой насухо чистой марлей или ветошью. Труднодоступные места обдуваются сжатым воздухом. На подготовленную к окраске поверхность наносится грунт равномерным тонким слоем, Неровности, обнаруженные после грунтовки выравниваются нитро-шпаклёвкой. Высохший слой шпаклевки шлифуется водостойкой шкуркой, промывается, вытирается насухо ветошью, затем окрашивается в три слоя. При окраске методом распыления применяется краскораспылительная установка. Такая окраска автобуса производится в камерах, оборудованных гидравлическим фильтром с насосом и водораспыливающей и вентиляционной системами. Свежий воздух должен поступать сверху, а вытяжные решетки должны располагаться в полу помещения.
Окрашенный автобус поступает в специальную камеру для сушки. Помещение малярного участка должно быть раздельно на отделения одно из них – для подготовительных работ, другое – для окраски пульверизационным способом.
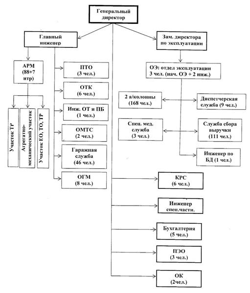
7. Организационная структура ПАТП-3

Схема 1 – Структура управления ОАО «ПАТП-3»
8. Технологический процесс ТР карбюратора двигателя автобуса ПАЗ 3205
8.1 Особенности ТР карбюратора
Работы по регулировке карбюратора, замене и его текущий ремонт будут выполняться: на посту ТР, где будут производить регулировку, замену карбюратора, и участок ремонта топливной аппаратуры, где проведут ремонт карбюратора (схема 2). Причем на автомобиль, (в случае невозможности регулировки) будут устанавливать исправный карбюратор из оборотных запасов. Такая схема проведения ТР необходима, чтобы быстрее устранить неисправность (заменить неисправный карбюратор или отрегулировать его) и тем самым уменьшить простой автомобиля в ремонте, быстрее выпустить его на линию. Ремонт снятого карбюратора будет производится в свободное от заявок время с целью пополнения фондов оборотных запасов.
Зона текущего ремонта
![]() |
Схема 2 – Последовательность проведения замены и ТР карбюратора двигателя автобуса ПАЗ 3205.
8.2 Перечень работ на регулировку карбюратора, его замену и текущий ремонт
Работы по регулировке карбюратора:
1. регулировка холостого хода;
2. регулировка токсичности выхлопных газов;
Перечень работ на замену карбюратора:
1. снятие карбюратора;
2. установка карбюратора (включает работы по регулировке холостого хода и токсичности выхлопных газов).
Перечень работ ТР карбюратора не имеет строго определенной последовательности, т.к. могут возникать различные неисправности одновременно, т.е. их комбинации. Поэтому последовательность работ текущего ремонта (наиболее вероятного) будет иметь вид:
1. разборка карбюратора;
2. промывка и продувка всех жиклеров и каналов карбюратора;
3. снятие игольчатого клапана;
4. установка игольчатого клапана;
5. сборка карбюратора.
Замена карбюратора:
1. снятие карбюратора:
- открыть дверь моторного отсека;
- снять тросики привода воздушной и дроссельной заслонок;
- отсоединить тросики привода воздушной и дроссельной заслонок;
- отсоединить от карбюратора топливопроводы;
- отсоединить от карбюратора шланг вакуумного регулятора опережения зажигания;
- отсоединить шланги подогрева горючей смеси;
- открепить и снять карбюратор в сборе;
2. установка карбюратора:
- присоединить шланги подогрева горючей смеси;
- установить карбюратор вместе с прокладкой на впускной коллектор и закрепить;
- присоединить к карбюратору топливопроводы;
- присоединить к карбюратору шланг вакуумного регулятора опережения зажигания;
- присоединить тросики привода воздушной и дроссельной заслонок;
- установить воздушный фильтр;
- закрыть дверь моторного отсека.
Продувка карбюратора:
1. разборка карбюратора:
- снять крышку поплавковой камеры;
- отсоединить корпус поплавковой камеры от корпуса смесительной камеры;
- выкрутить все жиклеры и продуть их;
- удалить осадок на дне поплавковой камеры;
- продуть топливные и воздушные каналы во всех частях карбюратора;
- проверить работу всех систем карбюратора, при необходимости устранить неисправности.
2. Сборка карбюратора:
- поставить все жиклеры на свои места;
- закрутить все пробки;
- соединить корпус поплавковой камеры с корпусом смесительной камеры;
- установить крышку поплавковой камеры.
Замена игольчатого клапана:
- снять крышку поплавковой камеры;
- снять поплавок;
- достать иглу и выкрутить «седло» игольчатого клапана;
- закрутить новое «седло» и поставить новый игольчатый клапан;
- установить поплавок;
- проверить уровень топлива в поплавковой камере;
- присоединить крышку поплавковой камеры.
8.3 Используемые эксплуатационные материалы
1. Керосин. Карбюратор необходимо промыть от отложений из-за низкого качества бензина и недостаточно чистого воздуха идущего для образования горючей смеси. Для этой цели чаще всего используют керосин, т.к. он обладает хорошим растворяющим эффектом и быстро испаряется.
2. Бензин А-76.
Т.к. карбюратор смешивает воздух и бензин для образования горючей смеси, то для его проверки и регулировки необходим бензин. Двигатель ЗМЗ-53 работает на бензине марки А-76.
8.4 Применяемое технологическое оборудование
Как правило, оборудование, необходимое по технологическому процессу для проведения работ текущего ремонта, принимается в соответствии с технологической необходимостью выполняемых с его помощью работ, так как оно используется периодически и не имеет полной загрузки за рабочую смену Варианты выбора оборудования представлены в таблице 2
Таблица 2 – Применяемое технологическое оборудование
| Наименование работ | Варианты технологического оборудования | Выбранный вариант | ||
| Вариант 1 | Вариант 2 | Вариант 3 | ||
| Продувка карбюратора | 1. Компрессор модели 1101-В5 | 2. Компрессор модели 155-2В5 | 3. Компрессор ГП-0,15/10 модели 1136-В2 | Вариант 3 – компрессор воздушный поршневой гаражный ГП-0,15/10 модели 1136-В2 производства Бежецкого завода – позволяет создавать максимальное давление воздуха 10 кгс/см2 , производительность 0,15 м3 /мин, мощность электродвигателя 1,5 кВт. |
| Разборочно-сборочные работы | Комплект инструмента марки 2445 для регулировщика- карбюраторщика: специальные ключи, специальные отвертки, пять открытых двусторонних гаечных ключей размерами от 7х8 до 14х17 мм. | Содержит все необходимые инструменты. | ||
| Регулировка карбюратора | Стационарный пост К-262 | Содержит все необходимое для контроля и регулировки карбюратора. | ||
| Крепежные работы | Комплект инструмента марки 2445. | Содержит все необходимые инструменты, а также он необходим для разборочно-сборочных работ и регулировок карбюратора. | ||
Похожие рефераты:
Организация поста технического обслуживания и ремонта карбюраторов двигателей легковых автомобилей
Исследование особенностей технической эксплуатации ходовой части автомобилей "Toyota"
Оценка ассортимента и конкурентоспособности автомобилей
Развитие сервисного обслуживания автомобилей
Организация перевозок и управление на транспорте
Проектирование зоны диагностики АТП
Устройство и принцип работы автомобиля ЗиЛ-130
Исследование процесса технической эксплуатации топливных форсунок системы распределённого впрыска
Анализ эффективности работы двигателя внутреннего сгорания
Мероприятия по совершенствованию технической базы школы подготовки водителей
